JP2017190895A - 基材の液切り装置 - Google Patents

基材の液切り装置 Download PDF

Info

Publication number
JP2017190895A
JP2017190895A JP2016079704A JP2016079704A JP2017190895A JP 2017190895 A JP2017190895 A JP 2017190895A JP 2016079704 A JP2016079704 A JP 2016079704A JP 2016079704 A JP2016079704 A JP 2016079704A JP 2017190895 A JP2017190895 A JP 2017190895A
Authority
JP
Japan
Prior art keywords
base material
substrate
gas injection
support
liquid
Prior art date
Legal status (The legal status is an assumption and is not a legal conclusion. Google has not performed a legal analysis and makes no representation as to the accuracy of the status listed.)
Granted
Application number
JP2016079704A
Other languages
English (en)
Other versions
JP6720659B2 (ja
Inventor
順士 堀
Junshi Hori
順士 堀
雄 宮島
Takeshi Miyajima
雄 宮島
Current Assignee (The listed assignees may be inaccurate. Google has not performed a legal analysis and makes no representation or warranty as to the accuracy of the list.)
AGC Inc
Original Assignee
Asahi Glass Co Ltd
Priority date (The priority date is an assumption and is not a legal conclusion. Google has not performed a legal analysis and makes no representation as to the accuracy of the date listed.)
Filing date
Publication date
Application filed by Asahi Glass Co Ltd filed Critical Asahi Glass Co Ltd
Priority to JP2016079704A priority Critical patent/JP6720659B2/ja
Publication of JP2017190895A publication Critical patent/JP2017190895A/ja
Application granted granted Critical
Publication of JP6720659B2 publication Critical patent/JP6720659B2/ja
Active legal-status Critical Current
Anticipated expiration legal-status Critical

Links

Images

Landscapes

  • Cleaning In General (AREA)
  • Drying Of Solid Materials (AREA)

Abstract

【課題】曲面形状を有する基材の洗浄後、確実に液切りして、洗浄痕の発生を防止できる基材の液切り装置を提供する。【解決手段】基材の液切り装置100は、少なくとも一部に曲面形状を有する基材Pを支持する基材支持部31と、気体を噴射する気体噴射部33と、基材支持部31と気体噴射部33とを相対移動させる相対移動機構とを備える。相対移動機構は、相対移動に伴う基材表面の法線方向の変化に応じて、気体噴射部33からの気体噴射方向と基材表面の法線方向とのなす吹き当て角θを調整する。【選択図】図2

Description

本発明は、基材の液切り装置に関する。
ガラス材等からなる基材を、その表面にスクリーン印刷やパッド印刷等の各種の印刷方法により所望のパターンを印刷し、美観に優れた装飾用部品として使用することがある。基材表面を印刷する際、塵埃や微小な異物、或いは付着した油脂等を除去するため、予め洗浄液により基材表面を洗浄する必要がある。そして、基材表面の洗浄後は、圧縮空気を基材に吹き当てて基材表面に付着している処理液を除去する液切りが行われる。この液切り方法として、例えば特許文献1,2のような技術が知られている。
特許文献1の構成においては、処理液によって洗浄された基材を所定方向に搬送しながら、この基材の搬送方向と交差する方向に対して傾斜して配設されたエアーナイフから上記基材に気体を噴射することで、基材を乾燥させている。
また、特許文献2の構成においては、基材の搬入方向に対し所定の角度で設置されたエアーナイフと、エアーナイフを上下動させる上下動手段と、を備え、基材の搬送位置を検出する位置検出センサの出力に応じてエアーナイフを上下させて、基材に対する気体の風圧を制御している。
特許第4718043号公報 特開2009−204248号公報
しかしながら、特許文献1の構成では、基材の被乾燥面が曲面形状、特に凹面形状であると、低い部分に処理液が溜まってしまい、気体の噴射量を増やしても処理液を除去しきれず、洗浄痕が残ってしまうおそれがある。また、特許文献2の構成も同様に、基材の乾燥面が曲面形状を有していると処理液を完全に除去できず、改善の余地があった。
また、基材を保持具で保持して搬送する場合、基材と保持具との接触部に処理液が残り易く、残存する処理液によって洗浄痕が生じてしまうおそれがある。
本発明は、曲面形状を有する基材の洗浄後、確実に液切りして、洗浄痕の発生を防止できる基材の液切り装置を提供することを目的とする。
本発明は、下記構成からなる。
少なくとも一部に曲面形状を有する基材に気体を吹き付けて、前記基材に付着している処理液を除去する基材の液切り装置であって、
前記基材を支持する基材支持部と、
気体を噴射する気体噴射部と、
前記基材支持部と前記気体噴射部とを相対移動させ、前記基材の一端部から他端部までの基材表面に前記気体噴射部からの気体噴流を吹き当てる相対移動機構と、
を備え、
前記相対移動機構は、吹き当て角調整部により前記相対移動に伴う前記基材表面の吹き当て位置における法線方向の変化に応じて、前記気体噴射部からの気体噴射方向と前記法線方向とのなす吹き当て角を調整する機能を有する基材の液切り装置。
本発明の基材の液切り装置によれば、曲面形状を有する基材の洗浄後、基材表面を確実に液切りでき、洗浄痕の発生を防止できる。
基材の液切り装置が搭載された基材処理装置の模式図である。 基材の液切り装置の要部側面図である。 エアーナイフから基材に向けて気体を噴射する様子を示す気体噴射部の模式的な斜視図である。 液切り装置の制御ブロック図である。 (A)〜(E)は基材支持部に支持される基材が、エアーナイフに対して相対移動しながら搬送されて基材表面に付着する処理液を液切りする工程を段階的に示す基材支持部の動作説明図である。 第2構成例の基材の液切り装置の要部側面図である。 (A)は第3構成例の基材支持部である第1支持具の斜視図、(B)は第3構成例の基材支持部である第2支持具の斜視図である。 (A)は第4構成例の基材支持部である第1支持具の斜視図、(B)は第4構成例の基材支持部である第2支持具の斜視図である。 基材支持部に固定支持される基材に対して、エアーナイフが移動可能に配設された液切り装置の要部側面図である。
以下、本発明の実施形態について、図面を参照して詳細に説明する。
図1は基材の液切り装置が搭載された基材処理装置の模式図である。
基材処理装置200は、基材Pを洗浄処理して、乾燥処理する装置である。この基材処理装置200は、洗浄装置300、基材の液切り装置100、及び第1搬送部11、第2搬送部13、第3搬送部15を備える。以降、基材の液切り装置100を、液切り装置100と略称する。ここで用いる基材Pは、少なくとも一部に曲面形状を有するガラス材として説明する。基材Pは、無機ガラス、有機ガラスの他、種々の素材であってもよい。
第1搬送部11は、不図示の基材供給部から供給された基材Pを洗浄装置300に搬送する。第2搬送部13は、洗浄装置300から搬出された基材Pを液切り装置100に搬送する。第3搬送部15は、液切り装置100から搬出された基材Pを不図示の後段の処理部に向けて搬送する。
第1搬送部11、第2搬送部13、及び第3搬送部15は、搬送ベルト21が、駆動ローラ17及びガイドローラ19に巻き掛けられて走行するベルトコンベアとして構成される。この他にも、ローラコンベアによる搬送、ピッチ送り機構による搬送、カセット等の容器に基材Pを装填しての搬送等であってもよい。特に、ベルトコンベアやローラコンベアによれば、簡易で高効率に搬送できる。
各搬送部11,13,15は、少なくとも一部に曲面形状を有する基材Pであっても安定して搬送できる。より具体的な搬送方式としては、例えば、Vベルト等の断面が比較的小さい概略紐状の搬送ベルトを有するベルトコンベアを2台平行に配置して、基材Pの対向する2辺の端部を保持して搬送する方式であってもよい。又は、一定ピッチでの移動が可能なウォーキングビームに、基材Pの形状に合致した保持台を設置して、基材Pを保持台に載せながら搬送するピッチ送り機構による方式であってもよい。その場合、曲面形状を有する基材Pを効率的に搬送するには、基材Pを少なくとも3点で保持するのが望ましい。そこで、ピッチ送り機構による搬送では、基材Pの支持点を少なくとも3点設ける。更に、カセット等の容器に基材Pを装填して搬送する方式であってもよい。何れの方式であっても、後段の洗浄工程では洗浄水(処理液)を使用するため、搬送部には耐水性が求められる。上記した搬送部の構成によれば、曲面形状を持つ基材Pを回転させずに安定して搬送できる。
洗浄装置300は、第1搬送部11と第2搬送部13との間に配置され、基材表面に洗浄液等の処理液を噴射供給して、回転ブラシ23を接触させて洗浄する。
液切り装置100は、第2搬送部13と第3搬送部15との間に配置され、気体噴射部であるエアーナイフ33から噴出する圧縮空気等の気体噴流を基材Pに吹き当てて、洗浄装置300で使用された処理液の残存液を液切りする。気体噴射部としては、一方向に気体噴流を噴射できればよく、ブロワーや波動ノズル等を用いることもできる。
上記構成の基材処理装置200は、第1搬送部11に搬入された基材Pを、第1搬送部11により洗浄装置300に搬送し、基材表面に処理液を噴射供給し、回転駆動される回転ブラシ23を基材表面に接触させて洗浄する。洗浄後の基材Pは、第2搬送部13により液切り装置100に搬送される。液切り装置100は、搬入された基材Pを、エアーナイフ33から噴射される圧縮空気によって液切りした後、第3搬送部15により次工程へ搬出する。
ここで、液切り装置100について、詳細に説明する。
<液切り装置の構成>
液切り装置100は、基材Pに圧縮空気等の気体噴流を吹き当て、基材Pに付着している処理液を除去する。一般に、気体噴流による液切りは、比較的平坦な広い面の乾燥に利用され、効率的に処理できる。しかし、曲率が比較的大きい曲面形状を有する基材に対しては、気体噴流の基材表面への吹き当て位置と吹き当て角によっては、処理液を基材表面に残存させる可能性がある。そこで、本構成の液切り装置100は、気体噴流の基材表面への吹き当てにより、確実に液切りができるように基材Pを最適な姿勢に調整可能な構成としている。
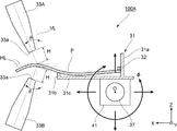
図2は基材の液切り装置の要部側面図である。
本構成の液切り装置100は、基材Pを支持する基材支持部31と、気体を噴射して気体噴流を生成するエアーナイフ33と、基材支持部31を移動させる移動ステージ41と、を備える。エアーナイフ33には、図1に示す圧縮空気等の気体を供給するエア供給部39が接続される。
基材支持部31は、基材Pの形状に適合したフレーム部材を有する。このフレーム部材は、基材Pを傾斜状態で支持させた場合でも基材Pを落下させずに支持する。フレーム部材は、基材係止部31a、31bと、これら基材係止部31a、31bを連結する連結部31cと、を有する。基材係止部31aは、フレーム部材上に載置された基材Pの搬送方向上流端である気体噴流の吹き当て終了端Pbに当接して、搬送方向前後の位置決めを行う。基材係止部31bは、吹き当て終了端Pbよりも気体噴流の吹き当て開始端Pa側の位置で基材Pを支持し、搬送方向に直交するY方向に位置決めする。なお、基材係止部31aには、基材Pの吹き当て終了端Pbを係止する引っ掛け部32が設けられている。
基材支持部31による基材Pの支持方式は、基材Pを自重による摩擦で支持する支持方式の他、基材支持部31に吸着部を設けて基材Pを真空吸着する支持方式であってもよい。
本構成の液切り装置100は、エアーナイフ33が液切り装置100の不図示の固定部に固定される。また、基材支持部31が、相対移動機構である移動ステージ41に搭載され、移動ステージ41と共にエアーナイフ33に向けて移動する。これにより、基材支持部31とエアーナイフ33とが相対移動可能となっている。
移動ステージ41は、基材支持部31を、搬送方向となるX軸方向、及び上下方向であるZ軸方向に移動自在に支持し、支持軸37の中心軸Oを中心とする回転方向φに回転自在に支持する。なお、移動ステージ41は、更にY軸方向に移動可能に構成されてもよい。その場合、より広いY方向幅の基材Pの液切りを実施できる。
上記構成の液切り装置100によれば、基材支持部31に支持される基材Pが、XZ面内の任意の位置へ移動可能となり、且つ、基材支持部31に支持された基材Pに対する気体噴流の吹き当て角θを、任意の角度に調整可能となる。
図3はエアーナイフ33から基材Pに向けて圧縮空気を噴射する様子を示すエアーナイフ33の模式的な斜視図である。
エアーナイフ33は、図1に示すエア供給部39に接続され、エア供給部39から供給される圧縮空気を気体噴射口33aから基材Pに向けて噴射する。気体噴射口33aは、エアーナイフ33の下部に設けられ、Y方向に沿った少なくとも一つのスリット状の開口を有する。また、気体噴射口33aの開口は、スリット状に限らず、複数の開口が均等ピッチで配置されたものであってもよい。
上記構成のエアーナイフ33によれば、気体噴射口33aから噴出される圧縮空気が、図中矢印A方向で示す垂直下方に向けて吹き付けられる。よって、基材P上の吹き当て位置となる仮想線La上では、エアーナイフ33からの気体噴流が均等に吹き当てられる。
図4に液切り装置100の制御ブロック図を示す。
移動ステージ41は、基材支持部31をX軸方向へ駆動するX軸方向駆動部43と、Z軸方向へ駆動するZ軸方向駆動部45と、回転方向φに駆動するφ方向駆動部47とを有する。X軸方向駆動部43とZ軸方向駆動部45は、基材Pとエアーナイフ33とを水平方向及び垂直方向に移動させる直動駆動部として機能する。また、φ方向駆動部47は、基材支持部31とエアーナイフ33の少なくとも一方を他方に対して回転させる回転駆動部として機能する。
移動ステージ41は、吹き当て角調整部51から出力される駆動信号に基づいて駆動される。吹き当て角調整部51は、処理される基材Pの管理番号等を入力する入力部53と、複数の基材Pの大きさ、形状、素材等の基本情報を記憶する記憶部55と、演算部57と、を含んで構成される。演算部57は、エアーナイフ33と基材Pの目標位置に対応するX軸方向駆動信号、Z軸方向駆動信号、φ方向駆動信号を、それぞれX軸方向駆動部43、Z軸方向駆動部45、φ方向駆動部47に出力する。
これにより、吹き当て角調整部51は、図2に示すようにエアーナイフ33と基材支持部31との相対移動に伴う基材表面の法線方向NLの変化に応じて、エアーナイフ33からの気体噴流の噴射方向VLと基材表面の法線方向NLとのなす吹き当て角θを調整する。
本構成の場合、エアーナイフ33が固定側となり、移動ステージ41が可動側となる。そのため、移動ステージ41により基材Pの姿勢を、X軸方向、Z軸方向、φ方向に調整しながら、基材表面に吹き当てられる気体噴流の位置と吹き当て方向とを最適にしつつ、基材PをX方向に搬送する。
ここで、エアーナイフ33の気体噴射口33aから噴射される気体噴流の流速は、20m/s〜120m/sが好ましい。流速が20m/s以上であることにより、基材表面の処理液を吹き飛ばせる。また、流速が120m/s以下であることにより、基材Pが風圧により振動することなく、基材Pとエアーナイフ33との相対位置を一定の範囲に保ち、処理液を安定して吹き飛ばせる。
また、基材表面の法線方向NLとのなす角である気体噴流の吹き当て角θは、法線方向NLを0°とし、気体噴流吹き当て後の基材Pの吹き当て開始端Pa側を正の角度側、気体噴流吹き当て前の基材Pの配置側を負の角度側とすると、+30°〜+70°とすることが好ましい。吹き当て角θが上記範囲であると、エアーナイフ33の気体噴射口33aから噴射される気体噴流は、基材Pの吹き当て開始端Pa側から終了端Pbに向けて、残存する処理液を良好に除去できる。吹き当て角θが30°未満であると、基材表面の処理液が吹き当て開始端Pa側にも移動して、基材表面に残存させてしまうおそれがある。+70°を超えると、基材表面の処理液が終了端Pb側へ流れにくくなる。
ここで、エアーナイフ33の気体噴射口33aから基材Pに向けて噴射される気体噴流の噴射方向VLの線上で、気体噴流が吹き当てられる基材Pの表面と交差する位置をPtとする。その場合、エアーナイフ33の気体噴射口33aの短辺中心Eから、基材Pの気体噴流の吹き当て位置Ptまでの距離Hは、基材P上の気体噴流の吹き当て位置によらず、常に設定した範囲に維持するのがよい。
距離Hは、上記した流速の範囲では、50〜200mmの範囲とすることが気体噴流の均一性が高められるため好ましい。距離Hが50mm未満であると、気体噴射口33a近傍の局所的に不均一となる流量の影響を受けムラが生じ、距離Hが200mmを超えると、十分な気体噴流の吹き当て強さが得にくくなる。
また、エアーナイフ33は、図示例のように単独で使用してもよく、複数個をY方向やX方向に並べて使用しても良い。例えば、一対のエアーナイフ33を、噴射方向VLが基材Pの搬送方向に関して互いに逆向きになるように、ハの字状に配置してもよい。これにより基材Pの中心から基材Pの端面方向に処理液を流せ、効率的に乾燥できる。また、エアーナイフ33の気体噴射口33aが上面視においてY軸とは平行とならないように配置してもよい。更に、供給する圧縮空気を温風としても良い。
上記構成の液切り装置100によれば、吹き当て角調整部51の演算部57が、入力部53から入力された基材Pの管理番号に対応して記憶部55に記憶されている基本情報を参照し、X軸方向駆動部43を駆動する。また、演算部57は、Z軸方向駆動部45をZ方向に移動させて、エアーナイフ33の気体噴射口33aと基材Pとの距離を予め定めた設定した範囲の距離Hに維持する。更に、演算部57は、φ方向駆動部47を駆動して、基材支持部31を支持軸37の中心軸Oを中心に回転させて、気体噴流の噴射方向VLと、気体噴流の基材Pへの吹き当て位置における基材表面の法線方向NLとのなす吹き当て角θを、前述の角度範囲に維持する。
次に、本構成の基材の液切り装置100の液切り工程の手順を説明する。
図5(A)〜(E)は基材支持部に支持される基材が、エアーナイフ33に対して相対移動しながら搬送されて基材表面に付着する処理液を液切りする工程を段階的に示す基材支持部の動作説明図である。
まず、図5(A)に示すように、基材支持部31に支持された基材Pは、移動ステージ41によってエアーナイフ33の直下に向けて搬送される。
そして、図5(B)に示すように、基材Pの吹き当て開始端Paを、エアーナイフ33直下における、気体噴射口33aと吹き当て開始端Paとの距離Hを設定した範囲の高さに配置する。また、エアーナイフ33からの気体噴流の噴射方向VLと、基材P上の気体噴流の吹き当て位置における法線方向NLと、のなす吹き当て角θを、前述した角度範囲にする。これにより、エアーナイフ33からの気体噴流に対する基材Pの吹き当て姿勢が調整される。
吹き当て姿勢を調整する際、φ方向駆動部47の駆動による基材Pの回転によって、基材Pの吹き当て開始端PaのXZ面内における位置が変化する。この基材Pの回転によるX軸方向、及びZ軸方向のずれは、演算部57により予め求められる。演算部57は、回転によるX軸方向、Z軸方向のずれ量を加味して、移動ステージ41にX方向、Z方向、φ方向の目標座標を求め、この目標座標へ移動させる駆動信号を生成する。
図5(B)に示すように、エアーナイフ33からの気体噴流が、基材Pの吹き当て開始端Paに吹き当てられ、洗浄工程で基材表面に付着した洗浄水等の処理液が基材Pの吹き当て終了端Pbに向けて吹き飛ばされる。
そして、図5(C)、(D)、(E)に示すように、移動ステージ41は、演算部57からの駆動信号に基づいて、エアーナイフ33の気体噴射口から基材Pの噴射気体の吹き当て位置までの距離Hを設定した範囲に維持したまま、且つ気体噴流の吹き当て角θを前述した角度範囲に設定しながら、基材PをX方向に搬送する。
上記の気体噴流の吹き当てによって、基材表面に残存する処理液が吹き飛ばされ、液切りされる。エアーナイフ33の気体噴射口33aから噴射される気体噴流は、常に基材Pの吹き当て開始端Pa側から終了端Pb側に向けて吹き当てられるので、処理液が確実に吹き飛ばされ、曲面形状を有する基材Pの凹部に溜まることがない。また、エアーナイフ33の気体噴射口33aと基材Pとの距離Hが設定した範囲に維持されるので、基材Pの全面に亘って均等に気体噴流が吹き当てられ、ムラなく液切りできる。なお、上記所定の範囲とは、設定した距離Hから±20mmの範囲を意味する。上記の液切り工程は1回に限らず、複数回実施してもよい。また、気体噴射口33aは、長方形状である他、正面視で曲線形状であってもよい。
液切り工程が完了した基材Pは、第3搬送部15へ移載されて次工程へ運搬される。液切り後の基材Pを運搬する第3搬送部15は、乾燥状態である必要があるため、搬送方向上流側の第2搬送部13とは分離されているのが望ましい。
以上説明した本構成の基材の液切り装置100は、少なくとも一部に曲面形状を有する基材Pを支持する基材支持部31と、気体を噴射するエアーナイフ33と、基材支持部31とエアーナイフ33とを相対移動させ、基材Pの一端部から他端部までの基材表面にエアーナイフ33からの気体噴流を吹き当てる移動ステージ41とを備える。移動ステージ41は、基材Pとエアーナイフ33とを水平方向及び垂直方向に相対移動させる直動駆動部と、基材支持部31とエアーナイフ33の少なくとも一方を他方に対して回転させる回転駆動部を有して構成される。そして、相対移動に伴う基材表面の法線方向の変化に応じて、エアーナイフ33からの気体噴射方向と基材表面の法線方向とのなす吹き当て角を調整する吹き当て角調整部51を備える。
この液切り装置100によれば、曲面形状を有する基材Pであっても、洗浄後の基材Pを、吹き当て姿勢を随時調整しながら搬送するので、基材Pの凹部等に処理液を残さず、確実に液切りでき、洗浄痕を残さずに乾燥できる。なお、基材Pの曲率は、曲率半径で50〜10000mmであり、100〜5000mmが好ましく、1000〜3000mmがより好ましい。
移動ステージ41は、固定されたエアーナイフ33に対して基材支持部31を移動させる構成であるため、エアーナイフ33と比較して軽量な基材支持部31の姿勢を変更する機構で済み、液切り装置100の機構を簡素化でき、基材Pの姿勢変更の自由度を高められる。また、エアーナイフ33を基材Pの形状にしたがって移動させる際に、エアーナイフ33と搬送部等の周辺の設備との干渉による制約を少なくできる。
また、吹き当て角調整部51は、エアーナイフ33からの気体噴流を、基材Pの吹き当て開始端Paから終了端Pbに向けて吹き当てるので、吹き当て後の基材表面の液残りを確実に防止できる。
更に、吹き当て角調整部51は、エアーナイフ33の気体噴射口33aから基材Pの気体噴流の吹き当て位置までの距離を設定した範囲になるよう調整するので、気体噴射口33aからの気体噴流を基材Pへ均等に吹き当て可能となり、基材Pの全面に亘ってムラなく液切りできる。
そして、表面が滑らかで洗浄痕が目立つガラス材であっても、確実な液切りが実施でき、良好な乾燥表面が得られる
<第2構成例>
次に、基材の液切り装置の第2構成例を説明する。
図6は第2構成例の液切り装置の要部側面図である。本構成の液切り装置100Aは、エアーナイフ33A、33Bが基材Pの上面側と下面側とに合計一対設けられている。その他は、図2に示す液切り装置100と同様である。以降の説明では、同一の部材や部分に対しては同一の符号を付与して、その説明を簡略化又は省略する。
本構成の液切り装置100Aは、基材支持部31の上面側にエアーナイフ33Aが配置され、下面側にエアーナイフ33Bが配置される。各エアーナイフ33A,33Bの気体噴流の吹き当て条件は、表裏面で基本的には同一にし、前述した通りの流速で、距離Hや吹き当て角θを所定の範囲に設定する。なお、表裏面における気体噴流の吹き当て条件は、表裏面のそれぞれで液切りが達成できればよく、互いに異なっていてもよい。
この液切り装置100Aによれば、基材支持部31の上方及び下方にそれぞれエアーナイフ33A,33Bが配置されるので、基材Pの表裏両面に気体噴流が同時に吹き当てられ、基材Pの各表面に付着する処理液が同時に吹き飛ばされる。これにより、基材Pの表裏面の液切りが一度にでき、生産効率が向上する。
<第3構成例>
次に、基材の液切り装置の第3構成例を説明する。
基材の液切り後に処理液が基材表面に残存すると、最終的に処理液が残存した基材表面に汚れが形成される。この処理液の残存は、乾燥中の基材Pの保持方法に起因して発生することがある。例えば、気体噴流による液切りの場合、コンベア等の搬送装置と接触している部分には処理液が残り、これが汚れの原因となる場合がある。搬送方法としてローラコンベアを使用する場合は、ローラの配置間隔を拡げ、基材Pと搬送装置との接触を避けて処理液が残る問題を解決できるが、この方法では、概略平坦な基材Pに限定される。曲率の大きな曲面を有する基材Pには、搬送装置から基材Pを安定して保持可能な支持具へ基材Pを移載して乾燥し、乾燥完了後に搬送装置へ再度移載するのがよい。
上記のような支持具への移載を行う具体的な基材支持部の構成例を以下に説明する。
図7(A)は第3構成例の基材支持部である第1支持具の斜視図、(B)は第3構成例の基材支持部である第2支持具の斜視図である。
第1支持具61は、図7(A)に示すように、基材Pの搬送方向上流側に設けられる第1ロッド63と、第1ロッド63の基端とは反対の先端から二股に分岐して搬送方向下流側に向けて延設された一対の第2ロッド65A,65Bとを有する。一対の第2ロッド65A,65Bは、基材Pの搬送方向上流側の端部に当接する一対の基材係止部67A,67Bと、基材Pの搬送方向に直交する端部に当接する一対の基材係止部69A,69Bと、を有する。
基材係止部69Aは第2ロッド65Aの先端部に上方に突出して設けられ、基材係止部69Bは第2ロッド65Bの先端部に上方に突出して設けられる。基材係止部67A,67Bは、第2ロッド65A、65Bの第1ロッド63との接続部側にそれぞれ上方に突出して設けられる。
第2支持具71は、図7(B)に示すように、搬送方向下流側から上流側に向けて延びる第1ロッド73と、第1ロッド73の長手方向の途中で、十字に交差して接続される第2ロッド75とを有する。
第1ロッド73は、搬送方向上流側の先端部に、基材Pの搬送方向上流側の端部に当接する基材係止部77を有する。また、第2ロッド75は、それぞれの先端部に、基材Pの搬送方向に直交する端部に当接する基材係止部79A,79Bを有する。
第1支持具61の基材係止部67A,67B,69A,69Bと、第2支持具71の基材係止部77,79A,79Bは、基材Pに対してそれぞれ異なる位置に配置される。また、基材Pの第1支持具61の第1ロッド63及び一対の第2ロッド65A,65Bと、第2支持具71の第1ロッド73及び第2ロッド75とは、上下方向に重ねた場合に、相互に干渉しないようになっている。
上記構成の支持具によれば、第1支持具61により支持された基材Pは、第2支持具71が第1支持具61の下方から上昇して基材係止部77が基材係止部67A,67Bとの間に挿入される。また、基材係止部79A,79Bが基材Pの端部を挟み込む。次いで、第1支持具61を下降させると、第1支持具61の基材係止部67A,67B,69A,69Bの基材Pとの係合が外れ、基材Pが第2支持具71のみに支持される。
つまり、第1支持具61と第2支持具71とを昇降駆動する図示しない持ち替え機構を駆動することにより、第1支持具61により支持された基材Pを、第1支持具61から第2支持具71に持ち替えできる。
基材支持部を、上記の第1支持具61、第2支持具71、及び持ち替え機構を用いて構成することで、液切り効果を更に高められる。即ち、洗浄装置から搬送されてきた基材Pを最初に第1支持具61により支持させる。そして、第1支持具61により支持された基材Pを前述した気体噴流を吹き当てることで処理液を除去する。しかし、このときの第1支持具61の基材係止部67A,67B,69A,69Bと基材Pとの接触部分には、気体噴流が到達し難く、処理液が残ることがある。そこで、第1支持具61に支持された基材Pを第2支持具71に持ち替え、前述した気体噴流を吹き当てる。第2支持具71は、待機時においても処理液と触れておらず、常に乾燥した状態に保持されている。そのため、処理液を除去した後の第1支持具61から基材Pを持ち替えることにより、第1支持具61の各基材係止部67A,67B,69A,69Bに残存していた処理液は除去され、基材Pの全面を確実に液切りできる。また、上記の残存していた処理液は、各基材係止部67A,67B,69A,69Bの吹き当て方向下流側で堰き止められることがなく、基材P上に残存することがない。
上記のように、気体噴流の吹き当てが、基材Pの搬送方向下流側から上流側に向けた一方向に行う場合、第2支持具71の基材係止部79A,79Bは、第1支持具の基材係止部69A,69Bよりも搬送方向下流側、即ち、噴流の上流側に配置されることが望ましい。これによれば、基材係止部69A,69Bに残存した処理液が、持ち替え後に基材係止部79A,79Bに流れ着くことなく、処理液の液残りを確実に防止できる。
<第4構成例>
次に、基材の液切り装置の第4構成例を説明する。
図8(A)は第4構成例の基材支持部である第1支持具の斜視図、(B)は第4構成例の基材支持部である第2支持具の斜視図である。本構成の基材支持部は、基材を吸着支持する吸着部を備え、第1支持具と第2支持具とが上下方向に重なることなく配置される点で前述の第3構成例の基材支持部とは異なっている。
第1支持具81は、図8(A)に示すように、基端側となる基材Pの搬送方向上流側から下流側に向けて延びる第1ロッド83と、搬送方向と直交する方向に延びる第2ロッド85とが、第1ロッド83の基端とは反対の先端にT字型に接続される。
第1ロッド83は、上方に突出して頂部が基材Pに当接する突起部87を有し、第2ロッド85は、その両端部に突起部87と同様の一対の突起部89A,89Bを有する。また、第1ロッド83には、突起部91が立設され、その頂部には、基材Pを吸着保持する吸着部93が設けられている。この吸着部93は、基材Pの吸着状態で各突起部87,89A,89Bと基材Pとの間に垂直抗力を発生させて、基材Pを第1支持具81に着脱自在に固定させる。この吸着部93は、例えば、真空ポンプ等の吸引機構と、大気圧開放用のバルブとを備え、基材Pを着脱自在に支持する。また、吸着部93の吸着方式はこれに限らない。
第2支持具101は、図8(B)に示すように、図8(A)に示す第1支持具81とほぼ同一形状の部材であり、180°旋回した状態で使用される。第1支持具81は基材Pの搬送方向上流側を支持し、第2支持具101は基材Pの搬送方向下流側を支持する。なお、第1支持具81と第2支持具101の各突起部87,89A,89Bの先端は、ゴム等の柔軟な部材により覆われていてもよい。
第1支持具81と第2支持具101は、それぞれ基材Pの異なる位置を支持するため、液残りの発生を防止できる。また、第1支持具81、第2支持具101は、基材Pを吸着支持する構成であるので、必要に応じて基材Pを裏返すことも可能となり、基材Pの姿勢変更を容易に実施できる。
<相対移動機構の他の例>
以上説明した各構成の液切り装置は、相対移動機構として移動ステージ41を備え、固定されたエアーナイフ33に向けて移動ステージ41が移動する構成であるが、これに限らない。
図9は、基材支持部31に固定支持される基材Pに対して、エアーナイフ33が移動可能に配設された液切り装置100Bの要部側面図である。本構成の液切り装置100Bは、基材支持部31が固定され、この基材支持部31に支持される基材Pに対してエアーナイフ33がY軸と平行な線を中心に回転しつつX、Z方向に移動する。このとき、エアーナイフ33は、基材Pの吹き当て位置からの距離Hを、設定した範囲に維持しながら移動する。また、エアーナイフ33は、気体噴流の噴射方向VLと、基材P上の吹き当て位置における法線方向NLと、の吹き当て角θを、前述した所定範囲に維持しながら気体噴流を基材Pに向けて噴射する。
また、基材支持部31をX軸方向とZ軸方向に移動させ、エアーナイフ33を前述のφ方向に回転させる構成にしてもよい。
本構成の液切り装置100Bによれば、エアーナイフ33を固定せず、移動可能、回転可動に支持することで、基材支持部31の動作を単純にでき、基材支持部31を駆動する移動ステージの構造を簡素化できる。
<乾燥処理の他の例>
上記説明では、気体噴射部からの気体噴流による基材Pの液切りについて説明したが、液切りによる乾燥処理は、これに限らない。例えば、水分が気化するのに充分な温度に加温した空気を基材Pに当てて、基材P表面の水分の蒸発を促進する温風乾燥や、表面の水分を揮発性の高い液体に置換して蒸発を促進する置換乾燥等も適用でき、基材Pの形状や表面の性状によって適宜、選択される。
温風乾燥では、例えば、基材支持部の上に置いた基材Pの周囲に、30〜100℃に加熱した空気流を定常的に流して、水分の蒸発を促進しながら乾燥処理を実施する。空気流を加温すれば、水分の乾燥がより促進される。更に、気体噴射部からの噴流を加温した温風とすることで、更に効率的な乾燥を実現できる。
<基材処理装置の洗浄工程の詳細>
次に、図1に示す基材処理装置200で実施する洗浄工程について説明する。
(洗浄工程)
図1に示すように、基材Pの洗浄工程は、基材Pを搬送手段の上で位置決めした後、基材Pの形状に合致した保持台に移載して、基材Pを保持台上で固定した状態で実施する。基材Pの搬送手段への投入作業は、搬送手段を停止させ、基材Pを1枚ずつ主要な洗浄面を上にして搬送手段の上に載置する。
基材Pの洗浄方法としては、基材Pの洗浄面に平行な軸を持つ回転ブラシ23によるブラシ洗浄や、基材Pの洗浄面に概略垂直な回転軸を持つ回転パッドによるパッド洗浄、噴射水による噴水洗浄、超音波を利用した超音波洗浄等がある。これら各種の洗浄方法は、基材Pの形状や洗浄すべき汚れの種類によって適宜選択される。
ブラシ洗浄は、比較的平坦な広い面の洗浄に適し、また、比較的厚い汚れの除去に適する。パッド洗浄は、比較的急な面(曲率が大きい面)の洗浄まで適用でき、比較的厚い汚れの除去に適する。噴水洗浄は、曲率が大きい面の洗浄までできるが、固着力の弱い水溶性の汚れの除去に適する。超音波洗浄は、曲率が大きい面の洗浄まで適用できるが、非常に薄い汚れ層の除去に適する。
ブラシ洗浄やパッド洗浄では、保持台に固定された基材Pに洗浄水が供給され、洗浄水を供給しながらブラシやパッドを回転させて基材Pに接触させる。この動作により、基材P表面のキズの発生を抑制すると共に除去した汚れを連続して排出できる。また、洗浄水には、必要に応じて洗浄剤や研磨材を加えてもよい。その場合、洗浄後に洗浄剤や研磨剤を除去するためのリンス処理を実施する。
洗浄で使用する洗浄水としては、精密フィルタでろ過処理を施した純水や、イオン交換膜で処理を施したRO水が使用される。洗浄水は、達成すべき洗浄度に応じて選択され、例えば、より高い洗浄度が求められる場合には純水を使用する。また、洗浄水を30℃〜70℃に加温すれば洗浄能力がより高められる。
また、洗浄で使用される洗浄剤としては、アニオン系界面活性剤などの中性洗剤が使用される。なお、これらは例として挙げたものであり、その他、種々の洗浄材を使用できる。また、洗浄で使用される研磨剤としては、酸化セリウムや重炭酸ナトリウム等が一般的に使用される。なお、これらは例として挙げたものであり、その他、種々の研磨材を使用できる。
ブラシ洗浄やパッド洗浄においては、回転するブラシやパッドの位置を、基材Pの形状に応じて移動させる。ブラシの材質はMCナイロン(登録商標)等のポリアミド樹脂等が一般的に用いられ、汚れの種類によって材質、太さ、長さが選定される。パッドの材質は、ウレタン等の柔軟性のある樹脂が一般的であり、汚れの種類によって材質、硬度が選定される。基材Pの形状や大きさによっては、ブラシやパッドは複数本を同時に使用しても良く、また、組み合わせて使用しても良い。
噴水洗浄は、単体或いは面状のノズルから洗浄水を噴射して、洗浄体表面に衝突させて汚れを除去する。ノズルは固定でも可動式でも良く、可動式であれば、より広い面積の洗浄が可能である。汚れの種類によっては、中性洗剤等の洗浄剤を併用しても良く、洗浄後に洗浄剤を除去するためのリンス処理を実施する。また、洗浄水を30℃〜70℃に加温すれば、洗浄能力をより高められる。
超音波洗浄は、洗浄液中に浸漬された基材Pに対して超音波加振子を振動させて洗浄液に圧力振動を発生させて、圧力波の作用で基材P表面の汚れを除去する。超音波加振子の振動数は、一般的に30〜60kHzであり、更には40〜50kHzが望ましい。汚れの種類によっては、アルカリ洗剤等の洗浄剤を併用しても良く、洗浄後に洗浄剤を除去するためのリンス処理を実施する。また、洗浄水を30℃〜70℃に加温すれば洗浄能力をより高められる。
一般に、洗浄中の基材Pは、搬送手段によって保持されるので、適用可能な搬送方法は、使用する洗浄方法によっても決まる。例えば、ブラシ洗浄やパッド洗浄を使用する場合、概略平坦な基材Pであればローラコンベアを選択できるが、曲率が大きな曲面を持つ基材Pでは、洗浄時の姿勢が安定せず、均一な洗浄が実現できないおそれがある。そのため、曲率が大きな曲面形状を持つ基材Pでは、搬送手段から基材Pを安定して保持できる保持台等の保持手段へ基材Pを移載して、洗浄完了後に搬送手段へ再度移載するのが好ましい。基材Pの保持手段としては、例えば、基材Pの形状に合わせた真空吸着型等の保持手段が適用できる。
基材Pの保持手段が、基材Pの反転が可能である場合、基材Pの表裏面の洗浄が可能となる。基材Pを反転させるには、例えば、基材Pを支持する保持台の回転により行える。すなわち、搬送面上に停止している基材Pを、保持台により下面から吸着固定し、吸着固定された基材Pを保持台の回転により反転させる。
このように保持台を回転させる設備の具体例としては、例えば、搬送方向に概略垂直、且つ概略水平な回転軸に固定された少なくとも2本の棒状の保持台と、この保持台の上面に設けられた吸着装置を備えた反転装置が挙げられる。この反転装置は、搬送装置の下部に格納され、保持台は搬送装置と干渉しない位置に配置される。回転軸は、モータ、シリンダによるリンク機構等により回転駆動される。モータを使用する場合には、安定した反転動作が可能になるため好ましい。吸着装置は、吸着パッドと真空制御装置で構成される。吸着パッドは、例えばウレタンゴム等のゴムが使用できる。
洗浄工程が完了した基材Pは、搬送手段へ移載されて前述した乾燥工程へ運搬される。乾燥工程への運搬は、コンベア等の搬送手段でも良く、或いは、基材支持部31へ直接移載する方法でもよい。洗浄後の乾燥までの運搬過程では、イソプロピルアルコール等の置換液中に浸して置換処理を行っても良い。
本発明は上記の実施形態に限定されるものではなく、実施形態の各構成を相互に組み合わせることや、明細書の記載、並びに周知の技術に基づいて、当業者が変更、応用することも本発明の予定するところであり、保護を求める範囲に含まれる。
例えば、基材Pの液切り工程を含む乾燥工程、洗浄工程では、様々な方式から任意に選択可能であるが、その方式によっては、基材Pの位置決めが必要なこともある。このため、任意の位置で基材Pの水平方向の位置決めを実施する位置決め機能があれば更に良い。位置決め方法としては、例えば、シリンダ等を用いて基材Pの側面を押して基準位置に当接して位置決めする方式や、カメラを使って基材Pが基準位置に到達すると同時にコンベアの走行を停止する方法等がある。より良い精度での位置決めを実現するには、基材Pの側面を押す方式が望ましい。
以上の通り、本明細書には次の事項が開示されている。
(1) 少なくとも一部に曲面形状を有する基材に気体を吹き付けて、前記基材に付着している処理液を除去する基材の液切り装置であって、
前記基材を支持する基材支持部と、
気体を噴射する気体噴射部と、
前記基材支持部と前記気体噴射部とを相対移動させ、前記基材の一端部から他端部までの基材表面に前記気体噴射部からの気体噴流を吹き当てる相対移動機構と、
を備え、
前記相対移動機構は、吹き当て角調整部により前記相対移動に伴う前記基材表面の吹き当て位置における法線方向の変化に応じて、前記気体噴射部からの気体噴射方向と前記法線方向とのなす吹き当て角を調整する機能を有する基材の液切り装置。
この基材の液切り装置によれば、曲面形状を有する基材であっても、基材の凹部等に処理液を残さずに確実に液切りでき、洗浄痕を残さずに乾燥できる。
(2) 前記吹き当て角調整部は、前記気体噴射方向を前記基材の吹き当て開始端から吹き当て終了端に向ける機能を有する(1)の基材の液切り装置。
この基材の液切り装置によれば、気体噴射部からの気体噴流を、吹き当て方向の先方に向けて吹き当て位置を移動させるため、簡単に基材表面の液残りを生じにくくできる。
(3) 前記相対移動機構は、前記気体噴射部の気体噴射口から前記基材の前記気体噴流の吹き当て位置までの距離を設定した範囲に維持する(1)又は(2)の基材の液切り装置。
この基材の液切り装置によれば、気体噴射口から基材の吹き当て位置までの距離を設定した範囲に維持するため、基材表面へ気体噴流を吹き当てる圧力が吹き当て位置において均等になり、基材の全面に亘ってムラなく液切りができる。
(4) 前記相対移動機構は、前記気体噴射部の気体噴射口から前記基材の前記気体噴流の吹き当て位置までの距離を設定し、前記設定した距離に対して±20mmとなる範囲に維持する(1)又は(2)に記載の基材の液切り装置。
この基材の液切り装置によれば、気体噴射口から基材の吹き当て位置までの距離を設定しこれに対して±20mmとなる範囲に維持するため、基材表面へ気体噴流を吹き当てる圧力が吹き当て位置において均等になり、基材の全面に亘ってムラなく液切りができる。
(5) 前記相対移動機構は、固定された前記気体噴射部に対して前記基材支持部を移動させる(1)〜(4)のいずれか一つの基材の液切り装置。
この基材の液切り装置によれば、固定された気体噴射部に対して基材支持部を移動させるので、気体噴射部と比較して軽量な基材支持部の姿勢を変更する機構で済み、液切り装置の機構を簡素化でき、基材Pの姿勢変更の自由度を高められる。
(6) 前記気体噴射部は、前記基材支持部の上方及び下方にそれぞれ配置された(1)〜(5)のいずれか一つの基材の液切り装置。
この基材の液切り装置によれば、基材支持部の上方及び下方にそれぞれ気体噴射部が配置されるので、基材の両面を一度に液切りでき、タクトアップが図れ、生産効率が向上する。
(7) 前記基材支持部は、前記基材を吸着保持する吸着部を有する(1)〜(6)のいずれか一つの基材の液切り装置。
この基材の液切り装置によれば、吸着により基材が確実に保持され、基材を反転する等の姿勢変更が容易に可能となる。
(8) 前記基材支持部は、前記基材の端部を支持する複数の基材係止部を有する(1)〜(7)のいずれか一つの基材の液切り装置。
この基材の液切り装置によれば、基材係止部で基材を支持することで、基材との接触点が少なくなり、液残りが生じにくくなる。
(9) 前記基材支持部は、
前記基材の互いに異なる位置を支持する第1支持具及び第2支持具と、
前記第1支持具と前記第2支持具のうち一方に支持された前記基材を他方に持ち替えさせる持ち替え機構と、
を備える(1)〜(8)のいずれか一つの基材の液切り装置。
この基材の液切り装置によれば、第1支持具及び第2支持具が、基材の互いに異なる位置を支持するため、基材支持具と基材との接触部に液残りが生じても、持ち替えさせることにより、生じた液残りを除去できる。
(10) 前記基材は、ガラス材である(1)〜(9)のいずれか一つの基材の液切り装置。
この基材の液切り装置によれば、表面が滑らかで洗浄痕が目立つガラス材であっても、確実な液切りが実施でき、良好な乾燥表面が得られる。
31 基材支持部
33 エアーナイフ(気体噴射部)
33a 気体噴射口
41 移動ステージ(相対移動機構)
43 X軸方向駆動部
45 Z軸方向駆動部
47 φ方向駆動部
51 吹き当て角調整部
61,81 第1支持具
67A,67B,69A,69B,77,79A,79B 基材係止部
71,101 第2支持具
87,89A,89B 突起部
93 吸着部
100,100A,100B 基材の液切り装置
P 基材

Claims (10)

  1. 少なくとも一部に曲面形状を有する基材に気体を吹き付けて、前記基材に付着している処理液を除去する基材の液切り装置であって、
    前記基材を支持する基材支持部と、
    気体を噴射する気体噴射部と、
    前記基材支持部と前記気体噴射部とを相対移動させ、前記基材の一端部から他端部までの基材表面に前記気体噴射部からの気体噴流を吹き当てる相対移動機構と、
    を備え、
    前記相対移動機構は、吹き当て角調整部により前記相対移動に伴う前記基材表面の吹き当て位置における法線方向の変化に応じて、前記気体噴射部からの気体噴射方向と前記法線方向とのなす吹き当て角を調整する機能を有する基材の液切り装置。
  2. 前記吹き当て角調整部は、前記気体噴射方向を前記基材の吹き当て開始端から吹き当て終了端に向ける機能を有する請求項1に記載の基材の液切り装置。
  3. 前記相対移動機構は、前記気体噴射部の気体噴射口から前記基材の前記気体噴流の吹き当て位置までの距離を設定した範囲に維持する請求項1又は請求項2に記載の基材の液切り装置。
  4. 前記相対移動機構は、前記気体噴射部の気体噴射口から前記基材の前記気体噴流の吹き当て位置までの距離を設定し、前記設定した距離に対して±20mmとなる範囲に維持する請求項1又は請求項2に記載の基材の液切り装置。
  5. 前記相対移動機構は、固定された前記気体噴射部に対して前記基材支持部を移動させる請求項1〜請求項4のいずれか一項に記載の基材の液切り装置。
  6. 前記気体噴射部は、前記基材支持部の上方及び下方にそれぞれ配置された請求項1〜請求項5のいずれか一項に記載の基材の液切り装置。
  7. 前記基材支持部は、前記基材を吸着保持する吸着部を有する請求項1〜請求項6のいずれか一項に記載の基材の液切り装置。
  8. 前記基材支持部は、前記基材の端部を支持する複数の基材係止部を有する請求項1〜請求項7のいずれか一項に記載の基材の液切り装置。
  9. 前記基材支持部は、
    前記基材の互いに異なる位置を支持する第1支持具及び第2支持具と、
    前記第1支持具と前記第2支持具のうち一方に支持された前記基材を他方に持ち替えさせる持ち替え機構と、
    を備える請求項1〜請求項8のいずれか一項に記載の基材の液切り装置。
  10. 前記基材は、ガラス材である請求項1〜請求項9のいずれか一項に記載の基材の液切り装置。
JP2016079704A 2016-04-12 2016-04-12 基材の液切り装置 Active JP6720659B2 (ja)

Priority Applications (1)

Application Number Priority Date Filing Date Title
JP2016079704A JP6720659B2 (ja) 2016-04-12 2016-04-12 基材の液切り装置

Applications Claiming Priority (1)

Application Number Priority Date Filing Date Title
JP2016079704A JP6720659B2 (ja) 2016-04-12 2016-04-12 基材の液切り装置

Publications (2)

Publication Number Publication Date
JP2017190895A true JP2017190895A (ja) 2017-10-19
JP6720659B2 JP6720659B2 (ja) 2020-07-08

Family

ID=60085901

Family Applications (1)

Application Number Title Priority Date Filing Date
JP2016079704A Active JP6720659B2 (ja) 2016-04-12 2016-04-12 基材の液切り装置

Country Status (1)

Country Link
JP (1) JP6720659B2 (ja)

Cited By (3)

* Cited by examiner, † Cited by third party
Publication number Priority date Publication date Assignee Title
JP2019117022A (ja) * 2017-12-27 2019-07-18 東レ株式会社 水切り装置、水切り方法およびウェブの製造方法
CN112644899A (zh) * 2019-10-11 2021-04-13 广西大学 一种用于清洁物料容器桶内壁的环形风刀
CN114659352A (zh) * 2022-03-16 2022-06-24 德州市立尊焊丝有限公司 一种焊丝气吹装置

Cited By (4)

* Cited by examiner, † Cited by third party
Publication number Priority date Publication date Assignee Title
JP2019117022A (ja) * 2017-12-27 2019-07-18 東レ株式会社 水切り装置、水切り方法およびウェブの製造方法
CN112644899A (zh) * 2019-10-11 2021-04-13 广西大学 一种用于清洁物料容器桶内壁的环形风刀
CN114659352A (zh) * 2022-03-16 2022-06-24 德州市立尊焊丝有限公司 一种焊丝气吹装置
CN114659352B (zh) * 2022-03-16 2023-08-29 德州市立尊焊丝有限公司 一种焊丝气吹装置

Also Published As

Publication number Publication date
JP6720659B2 (ja) 2020-07-08

Similar Documents

Publication Publication Date Title
KR101049926B1 (ko) 판재의 종형 가공 라인
TW201030879A (en) Cleaning module for a substrate and apparatus for processing a substrate having the same
JP2017190895A (ja) 基材の液切り装置
JP3611563B2 (ja) 板材の縦型加工ライン
JP2012232269A (ja) 基板浮上型搬送機構用スリットコート式塗布装置
KR101623277B1 (ko) 기판 처리 장치
KR100841501B1 (ko) 기판 처리 방법 및 기판 처리 장치
JP6060140B2 (ja) 乾式指紋洗浄装置
JP2543007B2 (ja) ウエ−ハ枚葉洗浄装置
KR102320081B1 (ko) 처리 장치, 이것을 구비한 도금 장치, 반송 장치, 및 처리 방법
KR0186043B1 (ko) 세정용 브러시를 가지는 기판세정장치 및 기판 세정방법
JP2002126662A (ja) 液晶セルの洗浄装置
JP5917610B2 (ja) 基板処理装置
JP2006326754A (ja) ポリシング装置
JP4721968B2 (ja) スピンナ洗浄装置
CN101081396A (zh) 基板固定盘清洗单元、清洗装置及清洗方法
JP2021034439A (ja) ウェーハ洗浄機構
JP2003007668A (ja) 半導体ウェーハの洗浄装置及び洗浄方法
US20230182262A1 (en) Substrate cleaning device and substrate polishing device
KR101108372B1 (ko) 현상 처리 장치 및 현상 처리 방법
JPH06208982A (ja) 半導体ウェーハの洗浄・乾燥装置
CN117121164A (zh) 晶圆吸附卡盘机构的清洗装置
WO2024185448A1 (ja) シート状物の異物除去装置、シート状物の製造装置およびシート状物の製造方法
JPH01231977A (ja) 積層治具洗浄装置
JPS6315421A (ja) 付着液体除去方法

Legal Events

Date Code Title Description
A621 Written request for application examination

Free format text: JAPANESE INTERMEDIATE CODE: A621

Effective date: 20190131

A977 Report on retrieval

Free format text: JAPANESE INTERMEDIATE CODE: A971007

Effective date: 20191126

A131 Notification of reasons for refusal

Free format text: JAPANESE INTERMEDIATE CODE: A131

Effective date: 20191203

A521 Request for written amendment filed

Free format text: JAPANESE INTERMEDIATE CODE: A523

Effective date: 20200131

TRDD Decision of grant or rejection written
A01 Written decision to grant a patent or to grant a registration (utility model)

Free format text: JAPANESE INTERMEDIATE CODE: A01

Effective date: 20200519

A61 First payment of annual fees (during grant procedure)

Free format text: JAPANESE INTERMEDIATE CODE: A61

Effective date: 20200601

R150 Certificate of patent or registration of utility model

Ref document number: 6720659

Country of ref document: JP

Free format text: JAPANESE INTERMEDIATE CODE: R150

R250 Receipt of annual fees

Free format text: JAPANESE INTERMEDIATE CODE: R250

R250 Receipt of annual fees

Free format text: JAPANESE INTERMEDIATE CODE: R250

R250 Receipt of annual fees

Free format text: JAPANESE INTERMEDIATE CODE: R250