JP2017167478A - 液晶表示装置及びそのマザー基板 - Google Patents

液晶表示装置及びそのマザー基板 Download PDF

Info

Publication number
JP2017167478A
JP2017167478A JP2016055280A JP2016055280A JP2017167478A JP 2017167478 A JP2017167478 A JP 2017167478A JP 2016055280 A JP2016055280 A JP 2016055280A JP 2016055280 A JP2016055280 A JP 2016055280A JP 2017167478 A JP2017167478 A JP 2017167478A
Authority
JP
Japan
Prior art keywords
organic passivation
passivation film
liquid crystal
crystal display
display device
Prior art date
Legal status (The legal status is an assumption and is not a legal conclusion. Google has not performed a legal analysis and makes no representation as to the accuracy of the status listed.)
Pending
Application number
JP2016055280A
Other languages
English (en)
Inventor
石川 智一
Tomokazu Ishikawa
智一 石川
侑祈 倉本
Yuki Kuramoto
侑祈 倉本
ひとみ 長谷川
Hitomi Hasegawa
ひとみ 長谷川
Current Assignee (The listed assignees may be inaccurate. Google has not performed a legal analysis and makes no representation or warranty as to the accuracy of the list.)
Japan Display Inc
Original Assignee
Japan Display Inc
Priority date (The priority date is an assumption and is not a legal conclusion. Google has not performed a legal analysis and makes no representation as to the accuracy of the date listed.)
Filing date
Publication date
Application filed by Japan Display Inc filed Critical Japan Display Inc
Priority to JP2016055280A priority Critical patent/JP2017167478A/ja
Priority to US15/450,405 priority patent/US10209576B2/en
Publication of JP2017167478A publication Critical patent/JP2017167478A/ja
Pending legal-status Critical Current

Links

Images

Classifications

    • GPHYSICS
    • G02OPTICS
    • G02FOPTICAL DEVICES OR ARRANGEMENTS FOR THE CONTROL OF LIGHT BY MODIFICATION OF THE OPTICAL PROPERTIES OF THE MEDIA OF THE ELEMENTS INVOLVED THEREIN; NON-LINEAR OPTICS; FREQUENCY-CHANGING OF LIGHT; OPTICAL LOGIC ELEMENTS; OPTICAL ANALOGUE/DIGITAL CONVERTERS
    • G02F1/00Devices or arrangements for the control of the intensity, colour, phase, polarisation or direction of light arriving from an independent light source, e.g. switching, gating or modulating; Non-linear optics
    • G02F1/01Devices or arrangements for the control of the intensity, colour, phase, polarisation or direction of light arriving from an independent light source, e.g. switching, gating or modulating; Non-linear optics for the control of the intensity, phase, polarisation or colour 
    • G02F1/13Devices or arrangements for the control of the intensity, colour, phase, polarisation or direction of light arriving from an independent light source, e.g. switching, gating or modulating; Non-linear optics for the control of the intensity, phase, polarisation or colour  based on liquid crystals, e.g. single liquid crystal display cells
    • G02F1/133Constructional arrangements; Operation of liquid crystal cells; Circuit arrangements
    • G02F1/1333Constructional arrangements; Manufacturing methods
    • G02F1/1339Gaskets; Spacers; Sealing of cells
    • GPHYSICS
    • G02OPTICS
    • G02FOPTICAL DEVICES OR ARRANGEMENTS FOR THE CONTROL OF LIGHT BY MODIFICATION OF THE OPTICAL PROPERTIES OF THE MEDIA OF THE ELEMENTS INVOLVED THEREIN; NON-LINEAR OPTICS; FREQUENCY-CHANGING OF LIGHT; OPTICAL LOGIC ELEMENTS; OPTICAL ANALOGUE/DIGITAL CONVERTERS
    • G02F1/00Devices or arrangements for the control of the intensity, colour, phase, polarisation or direction of light arriving from an independent light source, e.g. switching, gating or modulating; Non-linear optics
    • G02F1/01Devices or arrangements for the control of the intensity, colour, phase, polarisation or direction of light arriving from an independent light source, e.g. switching, gating or modulating; Non-linear optics for the control of the intensity, phase, polarisation or colour 
    • G02F1/13Devices or arrangements for the control of the intensity, colour, phase, polarisation or direction of light arriving from an independent light source, e.g. switching, gating or modulating; Non-linear optics for the control of the intensity, phase, polarisation or colour  based on liquid crystals, e.g. single liquid crystal display cells
    • G02F1/133Constructional arrangements; Operation of liquid crystal cells; Circuit arrangements
    • G02F1/1333Constructional arrangements; Manufacturing methods
    • G02F1/133345Insulating layers
    • GPHYSICS
    • G02OPTICS
    • G02FOPTICAL DEVICES OR ARRANGEMENTS FOR THE CONTROL OF LIGHT BY MODIFICATION OF THE OPTICAL PROPERTIES OF THE MEDIA OF THE ELEMENTS INVOLVED THEREIN; NON-LINEAR OPTICS; FREQUENCY-CHANGING OF LIGHT; OPTICAL LOGIC ELEMENTS; OPTICAL ANALOGUE/DIGITAL CONVERTERS
    • G02F1/00Devices or arrangements for the control of the intensity, colour, phase, polarisation or direction of light arriving from an independent light source, e.g. switching, gating or modulating; Non-linear optics
    • G02F1/01Devices or arrangements for the control of the intensity, colour, phase, polarisation or direction of light arriving from an independent light source, e.g. switching, gating or modulating; Non-linear optics for the control of the intensity, phase, polarisation or colour 
    • G02F1/13Devices or arrangements for the control of the intensity, colour, phase, polarisation or direction of light arriving from an independent light source, e.g. switching, gating or modulating; Non-linear optics for the control of the intensity, phase, polarisation or colour  based on liquid crystals, e.g. single liquid crystal display cells
    • G02F1/133Constructional arrangements; Operation of liquid crystal cells; Circuit arrangements
    • G02F1/1333Constructional arrangements; Manufacturing methods
    • G02F1/133351Manufacturing of individual cells out of a plurality of cells, e.g. by dicing
    • GPHYSICS
    • G02OPTICS
    • G02FOPTICAL DEVICES OR ARRANGEMENTS FOR THE CONTROL OF LIGHT BY MODIFICATION OF THE OPTICAL PROPERTIES OF THE MEDIA OF THE ELEMENTS INVOLVED THEREIN; NON-LINEAR OPTICS; FREQUENCY-CHANGING OF LIGHT; OPTICAL LOGIC ELEMENTS; OPTICAL ANALOGUE/DIGITAL CONVERTERS
    • G02F1/00Devices or arrangements for the control of the intensity, colour, phase, polarisation or direction of light arriving from an independent light source, e.g. switching, gating or modulating; Non-linear optics
    • G02F1/01Devices or arrangements for the control of the intensity, colour, phase, polarisation or direction of light arriving from an independent light source, e.g. switching, gating or modulating; Non-linear optics for the control of the intensity, phase, polarisation or colour 
    • G02F1/13Devices or arrangements for the control of the intensity, colour, phase, polarisation or direction of light arriving from an independent light source, e.g. switching, gating or modulating; Non-linear optics for the control of the intensity, phase, polarisation or colour  based on liquid crystals, e.g. single liquid crystal display cells
    • G02F1/133Constructional arrangements; Operation of liquid crystal cells; Circuit arrangements
    • G02F1/1333Constructional arrangements; Manufacturing methods
    • G02F1/1335Structural association of cells with optical devices, e.g. polarisers or reflectors
    • G02F1/133509Filters, e.g. light shielding masks
    • G02F1/133514Colour filters
    • GPHYSICS
    • G02OPTICS
    • G02FOPTICAL DEVICES OR ARRANGEMENTS FOR THE CONTROL OF LIGHT BY MODIFICATION OF THE OPTICAL PROPERTIES OF THE MEDIA OF THE ELEMENTS INVOLVED THEREIN; NON-LINEAR OPTICS; FREQUENCY-CHANGING OF LIGHT; OPTICAL LOGIC ELEMENTS; OPTICAL ANALOGUE/DIGITAL CONVERTERS
    • G02F1/00Devices or arrangements for the control of the intensity, colour, phase, polarisation or direction of light arriving from an independent light source, e.g. switching, gating or modulating; Non-linear optics
    • G02F1/01Devices or arrangements for the control of the intensity, colour, phase, polarisation or direction of light arriving from an independent light source, e.g. switching, gating or modulating; Non-linear optics for the control of the intensity, phase, polarisation or colour 
    • G02F1/13Devices or arrangements for the control of the intensity, colour, phase, polarisation or direction of light arriving from an independent light source, e.g. switching, gating or modulating; Non-linear optics for the control of the intensity, phase, polarisation or colour  based on liquid crystals, e.g. single liquid crystal display cells
    • G02F1/133Constructional arrangements; Operation of liquid crystal cells; Circuit arrangements
    • G02F1/1333Constructional arrangements; Manufacturing methods
    • G02F1/1339Gaskets; Spacers; Sealing of cells
    • G02F1/13394Gaskets; Spacers; Sealing of cells spacers regularly patterned on the cell subtrate, e.g. walls, pillars
    • GPHYSICS
    • G02OPTICS
    • G02FOPTICAL DEVICES OR ARRANGEMENTS FOR THE CONTROL OF LIGHT BY MODIFICATION OF THE OPTICAL PROPERTIES OF THE MEDIA OF THE ELEMENTS INVOLVED THEREIN; NON-LINEAR OPTICS; FREQUENCY-CHANGING OF LIGHT; OPTICAL LOGIC ELEMENTS; OPTICAL ANALOGUE/DIGITAL CONVERTERS
    • G02F1/00Devices or arrangements for the control of the intensity, colour, phase, polarisation or direction of light arriving from an independent light source, e.g. switching, gating or modulating; Non-linear optics
    • G02F1/01Devices or arrangements for the control of the intensity, colour, phase, polarisation or direction of light arriving from an independent light source, e.g. switching, gating or modulating; Non-linear optics for the control of the intensity, phase, polarisation or colour 
    • G02F1/13Devices or arrangements for the control of the intensity, colour, phase, polarisation or direction of light arriving from an independent light source, e.g. switching, gating or modulating; Non-linear optics for the control of the intensity, phase, polarisation or colour  based on liquid crystals, e.g. single liquid crystal display cells
    • G02F1/133Constructional arrangements; Operation of liquid crystal cells; Circuit arrangements
    • G02F1/1333Constructional arrangements; Manufacturing methods
    • G02F1/1345Conductors connecting electrodes to cell terminals
    • G02F1/13458Terminal pads
    • GPHYSICS
    • G02OPTICS
    • G02FOPTICAL DEVICES OR ARRANGEMENTS FOR THE CONTROL OF LIGHT BY MODIFICATION OF THE OPTICAL PROPERTIES OF THE MEDIA OF THE ELEMENTS INVOLVED THEREIN; NON-LINEAR OPTICS; FREQUENCY-CHANGING OF LIGHT; OPTICAL LOGIC ELEMENTS; OPTICAL ANALOGUE/DIGITAL CONVERTERS
    • G02F1/00Devices or arrangements for the control of the intensity, colour, phase, polarisation or direction of light arriving from an independent light source, e.g. switching, gating or modulating; Non-linear optics
    • G02F1/01Devices or arrangements for the control of the intensity, colour, phase, polarisation or direction of light arriving from an independent light source, e.g. switching, gating or modulating; Non-linear optics for the control of the intensity, phase, polarisation or colour 
    • G02F1/13Devices or arrangements for the control of the intensity, colour, phase, polarisation or direction of light arriving from an independent light source, e.g. switching, gating or modulating; Non-linear optics for the control of the intensity, phase, polarisation or colour  based on liquid crystals, e.g. single liquid crystal display cells
    • G02F1/133Constructional arrangements; Operation of liquid crystal cells; Circuit arrangements
    • G02F1/136Liquid crystal cells structurally associated with a semi-conducting layer or substrate, e.g. cells forming part of an integrated circuit
    • G02F1/1362Active matrix addressed cells
    • G02F1/1368Active matrix addressed cells in which the switching element is a three-electrode device

Landscapes

  • Physics & Mathematics (AREA)
  • Nonlinear Science (AREA)
  • Mathematical Physics (AREA)
  • Chemical & Material Sciences (AREA)
  • Crystallography & Structural Chemistry (AREA)
  • General Physics & Mathematics (AREA)
  • Optics & Photonics (AREA)
  • Engineering & Computer Science (AREA)
  • Manufacturing & Machinery (AREA)
  • Microelectronics & Electronic Packaging (AREA)
  • Liquid Crystal (AREA)

Abstract

【課題】マザー基板から取り出すことができる液晶表示パネルの数を増やす。【解決手段】TFT基板100と対向基板200が前記対向基板200の周辺に形成されたシール部において接着し、前記TFT基板100において前記対向基板が対向していない部分に端子部が形成された液晶表示装置であって、前記TFT基板100には、前記端子部の端部に沿って土手状の有機パッシベーション膜102が形成され、前記有機パッシベーション膜102には段部1023が形成され、前記有機パッシベーション膜102の前記段部1023より前記端部側における膜厚は、前記段部より内側の膜厚よりも大きいことを特徴とする液晶表示装置。【選択図】図9

Description

本発明は表示装置に係り、特に、液晶表示パネルをマザー基板から多く取得できる技術に関する。
液晶表示装置では画素電極および薄膜トランジスタ(TFT)等を有する画素がマトリクス状に形成されたTFT基板と、TFT基板に対向して対向基板が配置され、TFT基板と対向基板の間に液晶が挟持されている構成となっている。そして液晶分子による光の透過率を画素毎に制御することによって画像を形成している。
液晶表示パネルは、1個ずつ形成したのでは効率が悪いので、マザー基板に多数の液晶表示パネルを形成し、マザー基板が完成した後、個々の液晶表示パネルをマザー基板から分離して取り出すことが行われている。液晶表示パネルをマザー基板から分離する際、分離線に沿ってスクライビングを行い、衝撃を加えて個々の液晶表示パネルを分離する。
特許文献1には、マザー基板から、個々の液晶表示パネルを分離する技術が記載されている。
WO2011/132445
1枚のマザー基板から多数の液晶表示パネルを得ることができれば、液晶表示パネルの製造コストの低減になる。マザー基板が出来るだけ多数の液晶表示パネルを取り出すためには、マザー基板における液晶表示パネル間に間隔を設けないことが理想である。
一方、液晶表示装置は、外形をある値に抑えたまま、表示領域を大きくしたいという要求が強い。この要求に応えるためには、額縁の幅を小さくするとともに、端子部の面積を小さくする必要ある。端子部には、液晶表示パネルに電力や信号を供給するための端子が形成されている。マザー基板の状態において、隣接する液晶表示パネルからシール材や配向膜がこの端子部にはみ出してくると、端子の接続不良をきたす。
また、画面が高精細になるにしたがって、端子のピッチが小さくなる。端子には、端子金属を覆ってITO(Indium Tin Oxide)が形成されている。ITOはフォトリソグラフィによってパターニングされるが、ITOの残渣が存在すると、端子間のショートの問題が生ずる。
本発明の課題は、以上のような問題点を解決し、液晶表示装置の信頼性を維持しながら、マザー基板から多数の液晶表示パネルを取得することを可能にすることである。
本発明は上記問題を克服するものであり、具体的な主な手段は次のとおりである。
(1)TFT基板と対向基板が前記対向基板の周辺に形成されたシール部において接着し、前記TFT基板において前記対向基板が対向していない部分に端子部が形成された液晶表示装置であって、前記TFT基板には、前記端子部の端部に沿って土手状の有機パッシベーション膜が形成され、
前記有機パッシベーション膜には段部が形成され、前記有機パッシベーション膜の前記段部より前記端部側における膜厚は、前記段部より内側の膜厚よりも大きいことを特徴とする液晶表示装置。
(2)有機パッシベーション膜を有するTFT基板と対向基板が前記対向基板の周辺に形成されたシール部において接着し、前記TFT基板において前記対向基板が対向していない部分に端子部が形成され、前記シール部に囲まれた領域に表示領域が形成された液晶表示装置であって、前記端子部の反対側の辺の前記シール部おいて、前記対向基板には、前記辺に沿って土手状スペーサが形成され、前記土手状スペーサは、前記辺の端部に沿って第1の膜厚を有する第1の部分と、前記第1の部分よりも内側に前記第1の膜厚よりも大きい第2の膜厚を有する第2の部分を有し、前記TFT基板には前記土手状スペーサに対応する位置に第1の土手状有機パッシベーション膜が形成され、前記第1の土手状有機パッシベーション膜の先端は、前記土手状スペーサの前記第1の部分と対向していることを特徴とする液晶表示装置。
本発明の液晶表示装置の平面図である。 図1のA−A断面図である。 従来例のマザー基板における液晶セルの配置図である。 マザー基板に液晶セルを隙間なく配置した場合の平面図である。 図4における問題点を示す図4のB−B断面である。 図5の領域Aに対応するTFT基板側の平面図である。 図6のD−D断面図である。 有機パッシベーション膜の形成範囲を示す平面図である。 本発明における図4のB−B断面に相当する断面図である。 図10の領域Bに対応するTFT基板側の平面図である。 図10のF−F断面図である。 本発明における有機パッシベーション膜の形成範囲を示す平面図である。 図9におけるマザー基板を分離線に沿って分離した後における液晶表示パネルの端子部の断面図である。 図9におけるマザー基板を分離線に沿って分離した後における液晶表示パネルのシール部の断面図である。 土手状有機パッシベーション膜に段差を形成する方法を示す模式断面図である。 土手状スペーサに凹部を形成する方法を示す模式断面図である。 本発明の他の形態を示す断面図である。 本発明のさらに他の形態を示す断面図である。
以下に実施例を用いて本発明の内容を詳細に説明する。
図1は本発明が適用される液晶表示パネルの例を示す平面図であり、図2は、図1のA−A部分の断面図である。図1の液晶表示パネルは、例えば、携帯電話等に使用される液晶表示装置に使用される。図1および図2において、TFT基板100と対向基板200がシール材160によって接着し、TFT基板100と対向基板200の間に液晶300が挟持されている。TFT基板100は対向基板200よりも大きく形成され、TFT基板100が対向基板200と重畳していない部分は端子部150となっている。
図1において、表示領域20の外側が額縁領域になっており、額縁領域にシール材160が形成されている。図1に示すような液晶表示装置では、表示領域20を出来るだけ大きくすることが要求されており、その結果、額縁領域の幅waは1mm以下あるいは、0.7mm以下となっている。
表示領域20では、走査線11が第1の方向に延在し、第2の方向に配列している。また、映像信号線12が第2の方向に延在し、第1の方向に配列している。走査線11と映像信号線12で囲まれた領域が画素13となっている。高精細の表示装置では、画素13が小さくなり、映像信号線12のピッチは、30μm以下である場合も存在する。
図1において、TFT基板100が対向基板200と重畳していない部分である端子部150には、液晶表示パネルに電力や信号を供給するフレキシブル配線基板を接続するための端子が形成されている。また、走査線11や映像信号線12を駆動するためのドライバICがCOG(Chip On Glass)等によって接続されるが、このための端子も形成されている。
図2において、TFT基板100と対向基板200がシール材160によって接着し、内部に液晶300が封入されている。TFT基板100の端子部150の上からは、対向基板200を除去する必要があるので、分離線450において、対向基板200の端材210を除去する。端材210を除去する方法は、分離線450の部分にスクライビングを入れ、衝撃を加えて、除去する。一方、液晶表示パネルは、分離線400において、TFT基板100側と対向基板200にスクライビングを入れ、衝撃を加えることによってマザー基板から分離される。
図3は、従来例によるマザー基板における液晶表示パネルの配置例である。以後、マザー基板から分離されていない状態の個々の液晶表示パネルを液晶セルと呼ぶこともある。図3において、表示領域を囲んで、ディスペンサ等によってシール材160が塗布される。端子部150側では、シール材160が2本形成されている。また、端子部150と反対側の短辺側には、分離線400を挟んでダミーのシール材が形成されている。スクライビング時のガラスの撓みを防止して、スクライビングを均一に行うためである。
図3において、横方向では液晶セルが密接して形成されているが、縦方向では、距離dだけ分離して液晶セルが配置されている。端子部150において、隣接する他の液晶セルからのシール材160や配向膜の影響が端子部150に及ぶことを防止するためである。また、端子部150にはITOで覆われた端子が小さなピッチで多数存在しているが、液晶セルを縦方向にdだけ分離して配置することによって、ITOの残渣の影響によるショートを防止するための構成をとることが可能になっている。
しかし、図3に示すdの部分は捨てられることになるので、マザー基板からの液晶セルの取り出し個数を上げるには不利である。そこで、製造コストの要請から、縦方向においても、隙間を作らず、液晶セルを隣接して形成することが要求されている。
図4は縦方向にも液晶セルを隙間なく配置した例を示すマザー基板の平面図である。図4では、端子部において、隣接する液晶セルと分離線400が共有されている。そうすると、端子部150において、隣接する液晶セルのシール部の構造の影響が現れる。
図5は、図4のB−B断面図である。分離線400より左側が端子部150であり、分離線400より右側が図4において下方向に隣接する液晶セルのシール部である。図5において、TFT基板100の上には、絶縁層101が形成されている。絶縁層101は、ゲート絶縁膜、層間絶縁膜等を含む層である。絶縁層101の上に有機パッシベーション膜102が形成されている。有機パッシベーション膜102は、表示領域において、走査線101あるいは映像信号線102等の配線と画素電極あるいはコモン電極とを絶縁する役割を有している。有機パッシベーション膜102は、上記配線と、画素電極あるいはコモン電極との容量カップリングを小さくするために、厚く形成され、例えば、2乃至5μm程度である。
有機パッシベーション膜102は、図5の領域Aの部分であるスクライビング部においては、スクライビングおよびその後の衝撃による液晶セルの分離を容易にするためのスペーサとしても使用される。したがって、分離線400の部分では、有機パッシベーション膜が土手状に存在している。以降、分離線400に位置する土手状の有機パッシベーション膜を有機パッシベーション膜102Aとして表現する。
図8は、有機パッシベーション膜が存在している部分を示すTFT基板100の平面図である。図8において、表示領域20には全面に有機パッシベーション膜102が形成されている。また、分離線400、450に対応する部分にも有機パッシベーション膜102Aが形成されている。図8における分離線450は対向基板200側に形成されるので、図8では、対応する場所としての意味で点線450で示している。
図8において、表示領域20の外側には、表示領域20を囲むようにして、有機パッシベーション膜102の存在しない、有機パッシベーション膜溝部1021が形成されている。水分は、樹脂を透過して外部から液晶表示パネル内部に侵入するが、有機パッシベーション膜102はアクリル樹脂、シリコン樹脂等の樹脂で形成されているので、この水分を遮断するために有機パッシベーション膜の溝部1021が形成されている。
また、端子部150では、端子の導電部を露出させるため、有機パッシベーション膜は不要である。しかし、分離線400あるいは450においては、スペーサとしての有機パッシベーション膜が必要なので、有機パッシベーション膜102Aが端子部を枠状に囲むように形成されている。
図5に戻り、図5の有機パッシベーション膜溝1021は、図8に示す有機パッシベーション膜溝1021に対応するものである。また、分離線400付近を除いては、端子部には有機パッシベーション膜102は形成されていない。図5において、有機パッシベーション膜102、102Aの上には、SiN等によって無機絶縁膜103が形成されている。無機絶縁膜103は、表示領域において、例えば、画素電極とコモン電極を絶縁するために使用される。
図5における端子部150側には、端子が形成されている。端子には表示領域側から延在してきた、例えば、映像信号線と同層で形成された端子金属50が形成されている。端子金属50の上では、無機絶縁膜103にコンタクトホールが形成され、コンタクトホール部分は端子ITO51によって覆われている。ITOは化学的に安定なので、端子金属50を保護する。なお、ITO51は表示領域において画素電極を形成する時に同時に形成することができる。
図5における第1の問題点は、ITO51をパターニングする際、ITO残渣52が有機パッシベーション膜102Aの根本に残ってしまうことである。つまり、有機パッシベーション膜102,102Aは、例えば、3μm程度と厚いために、土手状の有機パッシベーション膜102Aの根本が十分に露光されない、または、土手状の有機パッシベーション膜102Aの根本にエッチング液が十分に侵入しないという現象が生ずる。このために、土手状の有機パッシベーション膜102Aの根本にITO残渣52が生ずる。
ITO残渣52が発生すると、端子間がITO残渣52によってショートしてしまうという問題を生ずる。図6は、図5の領域Aに対応するTFT基板100側の平面図である。図5の領域Aは、図6におけるC−C断面に対応する。図6において、土手状の有機パッシベーション膜102Aの土手の根本まで、端子を構成するITO51が形成されている。端子と反対側である、シール部側の土手状の有機パッシベーション膜102Aの根本にはITO残渣52が存在している。
ITO残渣52が存在すると、図6に示すように、端子間がショートされてしまうという重大な問題を生ずる。図7は、図6のD−D断面図である。図7において土手状の有機パッシベーション膜102Aの根本には、ITOの残渣52が存在している。図7における土手状の有機パッシベーション膜102Aの左側のITO残渣52が端子間のショートを引き起こす。
このようなITOの残渣52によるショートの問題は、端子部の面積が大きければ、例えば、端子を土手状の有機パッシベーション膜102Aから十分な距離を取って形成する、等の手段をとることも出来るが、表示領域の面積を大きくし、液晶表示パネルの外形を抑えようとすると、端子部の面積を十分にとることができない。
一方、表示領域において、画素電極が形成された後、液晶を初期配向するために、配向膜104が形成される。配向膜104は、当初は液体であり、フレキソ印刷あるいはインクジェットによって形成される。液体の配向膜材料は、塗布後、流動するので、ストッパーが十分ではないと、マザー基板において、他の液晶セルの端子部にも流入してしまう。
図5はこの問題を示している。図5において、隣接する液晶セルのシール部において、右側の液晶セルの配向膜104はストップされずに、土手状有機パッシベーション膜102Aを超えて左側に隣接する液晶セルの端子の上にまで流入している。配向膜104は、200℃程度で焼成された後、絶縁膜となる。端子に配向膜104が存在すると導通不良を生ずる。したがって、隣接液晶セルからの配向膜104の流入は抑えなければならない。
図5において、TFT基板100と対向して対向基板200が配置している。対向基板200にはブラックマトリクス201が形成され、その上にカラーフィルタ202が形成されている。カラーフィルタ202は、シール部においては、TFT基板100と対向基板200のギャップの調整に用いられている。このカラーフィルタ202には例えば青カラーフィルタが用いられる。カラーフィルタ201およびブラックマトリクス201を覆ってオーバーコート膜203が形成されている。
図5において、オーバーコート膜203の上には、壁状スペーサ204が形成されている。壁状スペーサ204は、TFT基板100と対向基板200の間隔を規定する他に、対向基板200側の配向膜104が液晶セルの端部にまで流れ込まないようにする役割も有している。液晶セルと液晶セルの境界の分離線400に対応して土手状スペーサ205が形成されている。壁状スペーサ204も土手状スペーサ205も表示領域において、TFT基板100と対向基板200の間隔を規定する柱状スペーサ等と同じプロセスで形成される。
図5において、TFT基板100と対向基板200はシール材160によって接着している。シール材160は、シール部のみに存在することが望ましいが、図5においては、土手状スペーサ205と土手状有機パッシベーション膜102Aとの隙間から隣接する液晶セルの端子部にはみ出している。シール材160のはみ出しは、端子の面積が大きければ大きな問題にならないが、高精細になって端子面積が小さくなると導通不良の原因となる。
このように、液晶セルを隙間なく、マザー基板に配置すると、端子部において、ITO残渣52による端子のショート、配向膜104の隣接液晶セルへの流入による端子の導通不良、シール材160の隣接液晶セルへのはみ出しによる端子の導通不良の問題を生ずる。
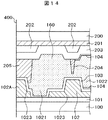
図9はこのような問題を解決する本発明の構成を示す断面図である。図9は、図4におけるB−B断面に相当する。図9において、TFT基板100の上に絶縁層101が形成されている。絶縁層101の上に有機パッシベーション膜102,102Aが形成されている。有機パッシベーション膜102,102Aの役割は図5で説明したものと同様である。図9の特徴は、分離線400に対応する部分における土手状の有機パッシベーション膜102Aが段部1023を有しているということである。土手状の有機パッシベーション膜102Aの底部から段部1023までの高さh1は、例えば1μmであり、段部1023から土手状の有機パッシベーション膜102Aの頂点までの高さh2は、例えば2μmである。
ITOの残渣52は、土手状の有機パッシベーション膜102Aの溝の深さが2μmを超えると急激に増加する。図9では、土手状有機パッシベーション膜102Aは段部1023を有しているので、有機パッシベーション膜溝1021の深さは2μmと1μmとで段階的に分かれており、いずれの深さもITO残渣52が発生しにくい深さとなっている。しがって、図5の場合と異なり、端子ITO51のショートを防止することができる。
図10は、図9の領域Bに対応するTFT基板100の平面図である。図9のTFT基板100側における領域Bは、図10のE−E断面に相当する。図9および図10に示すように、土手状有機パッシベーション膜102Aの段部1023にも根本にもITOの残渣は存在していない。
図11は、図10のF−F断面図である。図10および図11に示すように、土手状有機パッシベーション膜102Aのいずれの段部1023にも、また、土手状有機パッシベーション膜102Aの根本にもITOの残渣は存在しない。したがって、ITOの残渣によって端子ITO51がショートされるということは無い。
図9の他の特徴は、土手状スペーサ205の先端に凹部が形成され、この凹部に土手状有機パッシベーション膜102Aの先端が挿入されていることである。言い換えると、土手状有機パッシベーション膜102Aの先端が土手状スペーサ205の凹部に対向している。このように、土手状有機パッシベーション膜102Aの先端が土手状スペーサ205に形成された凹部に挿入されていることによって、シール材160が隣接する液晶セルの端子部にはみ出しにくい構成となっている。したがって、はみ出したシール材160によって隣接する液晶セルの端子を覆って導通不良を生じさせる現象を回避することができる。なお、図9における凹部は、土手状有機パッシベーション膜102Aが挿入されるものであるから、溝状に形成されている。
図9のさらに他の特徴は、有機パッシベーション膜溝1021のさらに内側に第2の有機パッシベーション膜の溝1022が形成され、その結果第2の土手状有機パッシベーション膜102が形成されていることである。第2の有機パッシベーション膜溝1022の深さは、第1の有機パッシベーション膜溝1021の深さよりも浅く、h2である。h2は例えば2μmである。したがって、第2の有機パッシベーション膜溝1022の底は、絶縁層101でなく、有機パッシベーション膜102となっている。
図9に示すように、第2の有機パッシベーション膜溝1022が存在することによる第2の土手状有機パッシベーション膜102によって、配向膜の流れを阻止することができる。また、第2の土手状有機パッシベーション膜102によって配向膜をストップできない場合であっても、第1の土手状有機パッシベーション膜102によって配向膜104の流れを阻止することができる。
図12は、TFT基板100における、有機パッシベーション膜102の形状を示す平面図である。有機パッシベーション膜102の平面図の基本的な構成は図8で説明したものと同様である。図12が図8と異なる点は、有機パッシベーション膜溝1021の内側、すなわち、表示領域20側に第2の有機パッシベーション膜溝1022が形成されていることである。
第2の有機パッシベーション膜溝1022の深さは、図9に示すh2であり、例えば2μmである。第1の有機パッシベーション膜溝1021の深さはh1+h2であり、例えば3μmである。したがって、第1の有機パッシベーション膜溝1021の方が、配向膜104をストップする能力は優れているが、本発明では、第2の有機パッシベーション膜溝1022を加えることによって、配向膜104の流れをストップする機会をより多くしている。
なお、図9において、溝の深さの関係は、h2>h1である。あるいは、h1<(h1+h2)/2である。このような構成とすることによって、第2の有機パッシベーション膜溝1022による配向膜104の流れを阻止する効果をより上げることができる。
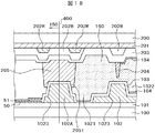
図13および図14は、マザー基板に形成された隣接する液晶セルを分離線400において分離した場合の、第1の液晶セルの端子部の断面図と第1のセルに隣接する第2の液晶セルにおけるシール部の断面図である。図13は、第1の液晶セルの端子部の断面図である。図13においては、対向基板側は、図2における端材210として捨てられるので、TFT基板100側の構成のみが残っている。
図13において、TFT基板100の上に絶縁層101が形成され、その上に段部1023を有する土手状有機パッシベーション膜102Aの片側が残っている。図13において、土手状有機パッシベーション膜102の根本には、ITOの残渣は存在していないので、端子がITOの残渣によってショートされる危険はない。また、シール材の端子へのはみ出しも配向膜の端子への流入もないので、端子の接続不良は回避することができる。
図14は第1の液晶セルに隣接する第2の液晶セルのシール部の断面図である。図14において、土手状スペーサ205と土手状有機パッシベーション膜102Aは、分離線400によって半分に分断されている。図14のこの構成を言い換えると、土手状スペーサ205は第1の部分と、縁部であって、第1の部分よりも膜厚の大きい第2の部分を有し、土手状有機パッシベーション膜102Aの先端は、土手状スペーサ205の第1の部分と対向していると言い換えることが出来る。
その他の構成は、図9において説明したとおりである。このように、本発明によれば、マザー基板内に液晶セルを隙間なく連続して配置しても、隣接する液晶セルのシール部の影響による、端子の接続不良、あるいは、ITO残渣による端子のショートを防止することができる。
図15は、図9における土手状有機パッシベーション膜102Aに段部1023を設ける方法を示す模式断面図である。有機パッシベーション膜102Aは感光性の樹脂が使用される。この感光性の樹脂は、光が照射された部分において、樹脂が硬化し、光が当たらない部分は、現像液によって除去される。
図15において、土手状有機パッシベーション膜102Aの段部1023は、ハーフ露光によって形成することができる。段部1023の高さは、ハーフ露光における光の強度によって調整することができる。すなわち、土手状有機パッシベーション膜102Aとして有機パッシベーション膜をフルに残したい部分は、マスクの透過領域503を通してフル露光を行い、有機パッシベーション膜を除去したい部分にはマスクの遮光領域501を対応させる。そして、有機パッシベーション膜の段部1023に続く膜厚の小さい部分は、マスクのハーフトーン部502を通して露光することにより形成することができる。
図16は、対向基板200において、凹部を有する土手状スペーサ205を形成する方法を示す模式断面図である。土手状スペーサ205の凹部もハーフ露光技術を用いて形成することができる。土手状スペーサ205には例えば感光性のアクリル樹脂を用いることができる。図16において、土手状スペーサ205の両側の膜厚が大きい部分はマスクの透明部分503を介してフル露光を行う。土手状スペーサ205を除去したい部分には、マスクの遮光部分501を対応させる。土手状スペーサ205の凹部の部分にはマスクのハーフトーン部502を対応させて露光し、所定の厚さとする。図16において、土手状スペーサ205の凹部の深さh4あるいは土手状スペーサの凹部における土手状スペーサの厚さh3は、ハーフ露光の露光強度を調整することによって制御することができる。
図17は、本発明の他の構成を示す断面図である。土手状スペーサ205の凹部に土手状有機パッシベーション膜102Aを挿入する目的は、シール材160を端子部側にはみ出させないことである。この目的のためには、土手状スペーサ205の縁部2051は、土手状有機パッシベーション膜102Aの両側ではなく、片側に存在していればよい。図16は、端子側の縁部を省略してシール部側にのみ土手状スペーサの縁部2051を形成したものである。
この構成であれば、土手状有機パッシベーション膜102Aを土手状スペーサ205の凹部に挿入する必要がないので、TFT基板100と対向基板200の位置合わせが容易になるというメリットを有する。図17のその他の構成は図9と同様である。
図18は、本発明のさらに他の変形例を示す断面図である。図18が図9と異なる点は、土手状スペーサ205の高さを調整するカラーフィルタを2層用いている点である。つまり、土手状スペーサ205の縁部2051に対応して赤カラーフィルタ202Rを配置し、この部分は、赤カラーフィルタ202Rと青カラーフィルタ202Bの積層となっている。一方、土手状スペーサの他の部分には、青カラーフィルタ202Bのみ形成されている。
すなわち、土手状スペーサ205の縁部2051では、土台が高くなっているので、縁部の高さと凹部の高さの差をつけやすい。言い換えると、土手状スペーサ205の凹部を形成するために、ハーフ露光にたよる割合を小さくすることができ、その分ハーフ露光のプロセス条件の裕度を上げることができる。図18のその他の構成は図9と同様である。
図17の構成も図18の構成も、図9の構成の場合と同様の効果を得ることができる。
11…走査線、 12…映像信号線、 13…画素、 20…表示領域、 50…端子金属、 51…端子ITO、 52…ITO残渣、 100…TFT基板、 101…絶縁層、 102、102A…有機パッシベーション膜、 103…無機絶縁膜、 104…配向膜、 150…端子部、 160…シール材、 200…対向基板、 201…ブラックマトリクス、 202…カラーフィルタ、 202B…青カラーフィルタ、 202R…赤カラーフィルタ、 203…オーバーコート膜、 204…壁状スペーサ、 205…土手状スペーサ、 210…端材、 300…液晶、 400、450…分離線、 501…マスクの遮光部、 502…マスクのハーフトーン部、 503…マスクの透過部、 1021…有機パッシベーション膜溝、 1022…有機パッシベーション膜の第2の溝、 1023…有機パッシベーション膜の段部

Claims (13)

  1. TFT基板と対向基板が前記対向基板の周辺に形成されたシール部において接着し、前記TFT基板において前記対向基板が対向していない部分に端子部が形成された液晶表示装置であって、
    前記TFT基板には、前記端子部が形成されている前記TFT基板縁部に沿って土手状の有機パッシベーション膜が形成され、
    前記有機パッシベーション膜の前記端子部側の側面には、少なくとも一つの段差部が形成されることを特徴とする液晶表示装置。
  2. 前記有機パッシベーション膜の底部から段差部までの膜厚をh1とし、前記段差部から前記有機パッシベーション膜の頂点までの膜厚をh2とした場合、h2>h1であることを特徴とする請求項1に記載の液晶表示装置。
  3. 前記端子部には、端子が形成され、前記端子には前記有機パッシベーション膜は形成されていないことを特徴とする請求項1に記載の液晶表示装置。
  4. 有機パッシベーション膜を有するTFT基板と、対向基板と、前記TFT基板と前記対向基板とが前記対向基板の周辺に形成されたシール部において接着され、前記TFT基板において前記対向基板が対向していない部分に端子部が形成され、前記シール部に囲まれた領域に表示領域が形成された液晶表示装置であって、
    前記端子部が形成された辺と反対側の辺において、
    前記TFT基板には、当該対向基板縁部に沿って土手状の第1の有機パッシベーション膜が形成され、
    前記第1の有機パッシベーション膜の表示領域側の側面には、少なくとも一つの段差部が形成され、
    前記対向基板には、前記第1の有機パッシベーション膜に対応する位置に第1のスペーサが形成され、
    前記第1の有機パッシベーション膜の先端は、前記第1のスペーサと対向していることを特徴とする液晶表示装置。
  5. 前記第1の有機パッシベーション膜の底部から前記段差部までの膜厚をh1とし、前記段差部から前記第1の有機パッシベーション膜の頂点までの膜厚をh2とした場合、h2>h1であることを特徴とする請求項4に記載の液晶表示装置。
  6. 前記第1のスペーサは、前記第1の有機パッシベーション膜の頂点から側面の一部に掛けて接触する部分を有することを特徴とする請求項4に記載の液晶表示装置。
  7. 前記第1の有機パッシベーション膜の表示領域側には、前記表示領域を囲むように、土手状の第2の有機パッシベーション膜が形成され、
    前記第1及び第2の有機パッシベーション膜の間に第1の溝が形成され、前記第2の有機パッシベーション膜の表示領域側には第2の溝が形成され、
    前記第2の有機パッシベーション膜の側面には、少なくとも一つの段差部が形成されることを特徴とする請求項4に記載の液晶表示装置。
  8. 前記第2の有機パッシベーション膜の底部から前記段差部までの膜厚をh1とし、前記段差部から前記第2の有機パッシベーション膜の頂点までの膜厚をh2とした場合、h2>h1であることを特徴とする請求項4に記載の液晶表示装置。
  9. 前記対向基板には、前記第2の有機パッシベーション膜と対向する位置に第2のスペーサが形成されていることを特徴とする請求項4に記載の液晶表示装置。
  10. 前記第1および第2のスペーサと前記対向基板の間には、第1のカラーフィルタ層が形成されていることを特徴とする請求項4に記載の液晶表示装置。
  11. 前記第2のスペーサと前記対向基板の間には、さらに第2のカラーフィルタ層が形成されていることを特徴とする請求項10に記載の液晶表示装置。
  12. TFT基板と対向基板が表示領域ごとに形成される複数のシール部によって接着されてなる複数の液晶セルが形成されるマザー基板において、
    前記TFT基板には、前記液晶セルの縁領域に沿って土手状の第1の有機パッシベーション膜が形成され、前記各液晶セルの表示領域内には第2の有機絶縁膜が形成され、
    前記第1の有機パッシベーション膜と前記第2の有機パッシベーション膜の間には、前記第2の有機パッシベーション膜を取り囲む形で第1の溝部が形成され、
    前記第1の有機パッシベーション膜は、前記液晶セルごとに、端子部用の開口領域として第2の溝部が形成され、
    前記第1の溝部と前記第2の溝部にある前記第1の有機パッシベーション膜で各液晶セルの分断領域となることを特徴とするマザー基板。
  13. 前記分断領域の対向基板には、スペーサが形成され、前記スペーサは、前記第1の有機パッシベーション膜と接するように形成されることを特徴とする請求項12に記載のマザー基板。
JP2016055280A 2016-03-18 2016-03-18 液晶表示装置及びそのマザー基板 Pending JP2017167478A (ja)

Priority Applications (2)

Application Number Priority Date Filing Date Title
JP2016055280A JP2017167478A (ja) 2016-03-18 2016-03-18 液晶表示装置及びそのマザー基板
US15/450,405 US10209576B2 (en) 2016-03-18 2017-03-06 Liquid crystal display device and mother substrate thereof

Applications Claiming Priority (1)

Application Number Priority Date Filing Date Title
JP2016055280A JP2017167478A (ja) 2016-03-18 2016-03-18 液晶表示装置及びそのマザー基板

Publications (1)

Publication Number Publication Date
JP2017167478A true JP2017167478A (ja) 2017-09-21

Family

ID=59855523

Family Applications (1)

Application Number Title Priority Date Filing Date
JP2016055280A Pending JP2017167478A (ja) 2016-03-18 2016-03-18 液晶表示装置及びそのマザー基板

Country Status (2)

Country Link
US (1) US10209576B2 (ja)
JP (1) JP2017167478A (ja)

Cited By (5)

* Cited by examiner, † Cited by third party
Publication number Priority date Publication date Assignee Title
KR20190079738A (ko) * 2017-12-27 2019-07-08 삼성디스플레이 주식회사 표시장치의 제조방법
JP2019159232A (ja) * 2018-03-16 2019-09-19 凸版印刷株式会社 液晶表示装置
WO2020179244A1 (ja) * 2019-03-01 2020-09-10 株式会社ジャパンディスプレイ 表示装置
JP2022092232A (ja) * 2020-12-10 2022-06-22 株式会社ジャパンディスプレイ 液晶デバイス
JP2023507054A (ja) * 2019-12-19 2023-02-21 グーグル エルエルシー ディスプレイパネルにおけるセンサのための電力線デザイン

Families Citing this family (2)

* Cited by examiner, † Cited by third party
Publication number Priority date Publication date Assignee Title
US10866465B2 (en) * 2019-03-25 2020-12-15 Himax Display, Inc. Display panel and manufacturing method thereof
CN112133734B (zh) * 2020-09-29 2022-08-30 湖北长江新型显示产业创新中心有限公司 显示面板及显示装置

Family Cites Families (4)

* Cited by examiner, † Cited by third party
Publication number Priority date Publication date Assignee Title
JP3172167B2 (ja) * 1990-07-12 2001-06-04 セイコーエプソン株式会社 電気光学装置および電気光学装置の製造方法
JP4783115B2 (ja) * 2005-10-18 2011-09-28 東芝モバイルディスプレイ株式会社 基板装置
WO2011132445A1 (ja) 2010-04-23 2011-10-27 シャープ株式会社 分断誘導溝形成方法、液晶マザーパネル、及び分断方法
JP2013029722A (ja) * 2011-07-29 2013-02-07 Sony Corp 表示装置および電子機器

Cited By (8)

* Cited by examiner, † Cited by third party
Publication number Priority date Publication date Assignee Title
KR20190079738A (ko) * 2017-12-27 2019-07-08 삼성디스플레이 주식회사 표시장치의 제조방법
KR102341854B1 (ko) 2017-12-27 2021-12-23 삼성디스플레이 주식회사 표시장치의 제조방법
JP2019159232A (ja) * 2018-03-16 2019-09-19 凸版印刷株式会社 液晶表示装置
WO2020179244A1 (ja) * 2019-03-01 2020-09-10 株式会社ジャパンディスプレイ 表示装置
JP2023507054A (ja) * 2019-12-19 2023-02-21 グーグル エルエルシー ディスプレイパネルにおけるセンサのための電力線デザイン
JP7564871B2 (ja) 2019-12-19 2024-10-09 グーグル エルエルシー ディスプレイパネルにおけるセンサのための電力線デザイン
JP2022092232A (ja) * 2020-12-10 2022-06-22 株式会社ジャパンディスプレイ 液晶デバイス
JP7558783B2 (ja) 2020-12-10 2024-10-01 株式会社ジャパンディスプレイ 液晶デバイス

Also Published As

Publication number Publication date
US10209576B2 (en) 2019-02-19
US20170269404A1 (en) 2017-09-21

Similar Documents

Publication Publication Date Title
JP5553531B2 (ja) 液晶表示装置
US10288945B2 (en) Liquid crystal display device
US10712619B2 (en) Liquid crystal display device
JP2017167478A (ja) 液晶表示装置及びそのマザー基板
US9575370B2 (en) Liquid crystal display device
KR102334140B1 (ko) 표시 장치 및 그 제조 방법
JP5156517B2 (ja) 液晶表示装置
US20110007233A1 (en) Liquid crystal display device
JP2017111290A (ja) 液晶表示装置
JP2016109807A (ja) 液晶表示装置
JP2004272012A (ja) 表示装置
JP5563020B2 (ja) 液晶表示装置
JP5275650B2 (ja) 液晶表示装置
WO2016157399A1 (ja) 液晶パネル及び液晶表示装置
JP2020074029A (ja) 液晶表示装置
JP7183366B2 (ja) 液晶表示装置
JP6367415B2 (ja) 液晶表示装置
JP2010123909A (ja) 電気光学装置及びその製造方法
JP2009251565A (ja) 液晶表示装置の製造方法
JP5492326B2 (ja) 液晶表示装置の製造方法
JP6121508B2 (ja) 液晶表示装置及びその製造方法
JP2019082738A (ja) 液晶表示装置
WO2016151860A1 (ja) 液晶パネルのコンタクトホール形成方法、液晶パネル及び液晶表示装置
JP2010175607A (ja) 液晶表示装置
KR20070023971A (ko) 액정표시장치 및 그 제조방법