JP2017041602A - 車載電子装置 - Google Patents

車載電子装置 Download PDF

Info

Publication number
JP2017041602A
JP2017041602A JP2015163926A JP2015163926A JP2017041602A JP 2017041602 A JP2017041602 A JP 2017041602A JP 2015163926 A JP2015163926 A JP 2015163926A JP 2015163926 A JP2015163926 A JP 2015163926A JP 2017041602 A JP2017041602 A JP 2017041602A
Authority
JP
Japan
Prior art keywords
wall portion
circuit board
side wall
damping member
vehicle
Prior art date
Legal status (The legal status is an assumption and is not a legal conclusion. Google has not performed a legal analysis and makes no representation as to the accuracy of the status listed.)
Granted
Application number
JP2015163926A
Other languages
English (en)
Other versions
JP6451554B2 (ja
Inventor
真義 山田
Masayoshi Yamada
真義 山田
Current Assignee (The listed assignees may be inaccurate. Google has not performed a legal analysis and makes no representation or warranty as to the accuracy of the list.)
Denso Corp
Original Assignee
Denso Corp
Priority date (The priority date is an assumption and is not a legal conclusion. Google has not performed a legal analysis and makes no representation as to the accuracy of the date listed.)
Filing date
Publication date
Application filed by Denso Corp filed Critical Denso Corp
Priority to JP2015163926A priority Critical patent/JP6451554B2/ja
Publication of JP2017041602A publication Critical patent/JP2017041602A/ja
Application granted granted Critical
Publication of JP6451554B2 publication Critical patent/JP6451554B2/ja
Active legal-status Critical Current
Anticipated expiration legal-status Critical

Links

Images

Landscapes

  • Mounting Of Printed Circuit Boards And The Like (AREA)

Abstract

【課題】側壁部に設けられた取り付け部により、車両に取り付けられる車載電子装置において、車両振動にともなう回路基板の振動を抑制すること。
【解決手段】車載電子装置は、電子部品22が実装された回路基板12と、内部空間26を規定する壁部として、上壁部30、下壁部32、及び側壁部34を有し、内部空間に回路基板を収容する筐体14と、車両に取り付けるために内部空間の外部に設けられ、側壁部に連なる取り付け部16と、を備えている。回路基板は、下壁部の内面32aに設けられた台座部44と台座部44上に配置された熱伝導部材48により支持されている。取り付け部が連なる側壁部は、自身の内面34aから突出する凸部46を有し、この凸部に、制振部材18が嵌合されている。回路基板は、制振部材を介して筐体に固定されている。
【選択図】図2

Description

本発明は、回路基板と、壁部により規定される内部空間に回路基板を収容する筐体と、上壁部の内面及び下壁部の内面の少なくとも一方に設けられ、回路基板を支持する支持部と、を備え、側壁部に連なる取り付け部により、車両に取り付けられる車載電子装置に関するものである。
回路基板と、壁部により規定される内部空間に回路基板を収容する筐体と、上壁部の内面及び下壁部の内面の少なくとも一方に設けられ、回路基板を支持する支持部と、を備える車載電子装置が、特許文献1に開示されている。
この車載電子装置において、筐体は、一面が開口する箱状の筐体本体と、筐体本体の開口を閉塞する蓋体とにより構成されている。筐体は、壁部として、回路基板の一面に対向する上壁部(蓋体)と、一面と反対の裏面に対向する下壁部(筐体本体)と、上壁部と側壁部を連結する側壁部(筐体本体)と、を有している。下壁部の内面には、回路基板を支持する支持部(ボス)が設けられている。回路基板は、ねじによって支持部に固定されている。また、側壁部には段差が設けられ、回路基板の周辺部分が段差に載置されている。
特開平11−284374号公報
上記した車載電子装置は、たとえば側壁部に連なる取り付け部により、車両に取り付けられる。この取り付け構造の場合、車両振動は、取り付け部を介して側壁部に伝播する。上記したように、回路基板の周辺部分は段差に載置されているため、車両振動は、主として下壁部(及び上壁部)に伝播し、支持部を通じて回路基板に入力される。車両振動の入力により、回路基板は、支持部による支持位置を節として上下に撓むように振動する。回路基板の周辺部分は段差に載置されており、固定されていないため、振動を抑制できるのは、支持部による支持位置周辺のみである。
また、段差によって下方向への振動を抑制することができる。しかしながら、段差部によって上方向への振動を抑制することはできない。仮に回路基板の周辺部分を段差に固定したとしても、段差による支持位置が節となり、支持部による支持位置と段差による支持位置との間の部分が腹となって振動する。
本発明は上記問題点に鑑み、側壁部に連なる取り付け部により、車両に取り付けられる車載電子装置において、車両振動にともなう回路基板の振動を抑制することを目的とする。
ここに開示される発明は、上記目的を達成するために以下の技術的手段を採用する。なお、特許請求の範囲及びこの項に記載した括弧内の符号は、ひとつの態様として後述する実施形態に記載の具体的手段との対応関係を示すものであって、発明の技術的範囲を限定するものではない。
開示された発明のひとつは、一面(20a)と、一面と厚さ方向において反対の裏面(20b)と、を有し、一面及び裏面の少なくとも一方に電子部品(22)が実装された回路基板(12)と、
内部空間(26)を規定する壁部(28)として、一面側に配置された上壁部(30)と、裏面側に配置された下壁部(32)と、上壁部と下壁部とを連結する側壁部(34)と、を有し、内部空間に回路基板を収容する筐体(14)と、
上壁部の内面(30a)及び下壁部の内面(32a)の少なくとも一方に設けられ、回路基板を支持する支持部(44,48)と、
内部空間の外部に設けられ、側壁部に連なる取り付け部(16)と、
を備え、
取り付け部により、車両に取り付けられる車載電子装置であって、
取り付け部が連なる側壁部は、自身の内面(34a)から突出する凸部(46)を有し、
筐体を構成する材料よりも損失係数が大きい材料を用いて形成され、凸部に対応する第1凹部(54)を有し、第1凹部と凸部との嵌合により筐体に固定された制振部材(18)をさらに備え、
回路基板は、制振部材を介して筐体に固定されていることを特徴とする。
本発明では、側壁部が内面から突出する凸部を有しているため、取り付け部から側壁部へ伝わる車両振動が凸部を介して制振部材に伝播しやすい。また、振動は、剛性の高いほうに伝播しやすいが、側壁部において凸部を設けた部分の剛性が他の部分よりも高まっているため、車両振動が凸部を介して制振部材に伝播しやすい。このように凸部を設けることで、車両振動を側壁部から制振部材に効果的に入力させることができる。制振部材は筐体よりも損失係数が大きいため、車両振動を、厚さ方向において凸部両側に位置する制振部材により、効果的に減衰させることができる。
また、車両振動を側壁部から制振部材に効果的に入力させることができるため、上壁部や下壁部に伝播される車両振動を従来に較べて低減することができる。これにより、車両振動が、支持部を通じて回路基板に入力されるのを抑制することができる。
以上により、本発明によれば、側壁部に設けられた取り付け部により、車両に取り付けられる車載電子装置において、車両振動にともなう回路基板の振動を抑制することができる。
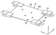
第1実施形態に係る車載電子装置の概略構成を示す斜視図である。 図1のII-II線に沿う断面図である。 上ケースを外した状態を示す斜視図である。 上ケースを示す斜視図である。 車載電子装置の組み付け方法を示す図である。 車載電子装置の組み付け方法を示す図である。 車載電子装置の組み付け方法を示す図である。 制振部材周辺を拡大した図である。 第2実施形態に係る車載電子装置において、制振部材周辺を拡大した図であり、図8に対応している。 その他変形例を示す図であり、図8に対応している。
以下、本発明の実施形態を、図面を参照して説明する。なお、以下に示す各図において、共通乃至関連する要素には同一の符号を付与するものとする。また、回路基板の厚さ方向をZ方向、Z方向に直交する一方向をX方向と示す。まら、Z方向及びX方向の両方向に直交する方向をY方向と示す。特に断りのない限り、XY面に沿う形状を平面形状とする。
(第1実施形態)
先ず、図1〜図4に基づき、本実施形態に係る車載電子装置10について説明する。
図1〜図4に示すように、車載電子装置10は、回路基板12と、回路基板12を収容する筐体14と、車両への取り付け部16と、制振部材18と、を備えている。車載電子装置10は、たとえば車両に搭載されたエンジンを制御する防水構造のエンジンECU(Electric Control Unit)として構成されている。
図2及び図3に示すように、回路基板12は、樹脂などの電気絶縁性基材に配線が配置されてなる配線基板20と、配線基板20に実装された電子部品22と、を有している。配線基板20は、プリント基板とも称される。配線基板20は平面略矩形状をなしており、矩形を規定する隣り合う2辺の一方がX方向に略平行とされ、他方がY方向に略平行とされている。詳しくは、図3に示すように、Y方向が配線基板20の長手方向、X方向が短手方向となっている。
電子部品22は、配線基板20におけるZ方向の一面20a及び一面20aと反対の裏面20bのうち、少なくとも一方に実装されている。本実施形態では、一例として、配線基板20の一面20aに電子部品22が実装されている。一面20aは、回路基板12の一面でもあり、裏面20bは回路基板12の裏面でもある。
電子部品22としては、MOSFETなどのスイッチング素子、ダイオード、コンデンサ、抵抗、マイコンなどを採用することができる。図2に示すように、配線基板20には、電子部品22のうち、発熱量の大きい部品に対応してサーマルビア24が形成されている。
筐体14は、回路基板12を収容する内部空間26を規定する壁部28を有している。壁部28は、一面20a側に配置される上壁部30と、裏面20b側に配置される下壁部32と、上壁部30と下壁部32とを連結する側壁部34と、を含んでいる。上壁部30及び下壁部32は、Z方向からの投影視において、回路基板12を内包している。側壁部34は、Z方向からの投影視において、回路基板12を取り囲んでいる。図2及び図3では、側壁部34と取り付け部16との境界を破線で示している。筐体14は、樹脂や金属を用いて形成されている。
本実施形態では、筐体14全体が、金属(たとえばアルミニウム)を用いて形成されている。図1〜図4に示すように、筐体14は、主として回路基板12の一面20a側に配置される上ケース36と、主として裏面20b側に配置される下ケース38と、Z方向に直交する一方向において、回路基板12を間に挟むように配置される一対の横ケース40と、を有している。そして、上ケース36、下ケース38、及び一対の横ケース40を、嵌合やねじ締結によって組み付けることで、筐体14が構成されている。
筐体14は、平面略矩形状の配線基板20に対応して4つの側壁部34を有している。上ケース36は、上壁部30とともに、2つの側壁部を構成している。下ケース38は、下壁部32を構成している。横ケース40は、側壁部34の残りを構成している。詳しくは、横ケース40が、回路基板12に対してY方向の両側に配置されている。このように、一対の横ケース40の間に回路基板12が配置されている。一対の横ケース40は、2つの側壁部34を構成している。
上ケース36は、図4に示すように、配線基板20(回路基板12)に対応してY方向を長手方向とし、X方向を短手方向とする平面略矩形状の上壁部30を有している。上壁部30の内面30aの外周縁部のうち、Y方向に略平行な辺に対応する部分から、側壁部34がZ方向に延設されている。一対の側壁部34は、上壁部30に対してX方向における両端に設けられている。各側壁部34は、X方向に所定の厚みを有し、YZ面に沿う平面形状が略矩形状をなしている。
下ケース38は、筐体14において、一面が開口する箱の開口部を閉塞するものである。
下ケース38は、筐体14において、上ケース36の上壁部30に対向配置されている。下ケース38(下壁部32)も、配線基板20に対応してY方向を長手方向とし、X方向を短手方向とする平面略矩形状をなしている。
一対の横ケース40は、相対する一対の側壁部34を有している。一対の側壁部34は、Y方向に所定の厚みを有しており、ZX面に沿う平面形状が略矩形状となっている。また、横ケース40を構成する側壁部34には、取り付け部16が連なっている。
取り付け部16は、車載電子装置10を車両に取り付けるための部分である。取り付け部16は、横ケース40(筐体14)の一部分として設けられている。取り付け部16は、内部空間26の外側に設けられ、側壁部34に連なっている。すなわち、筐体14におけるY方向両端に取り付け部16が設けられている。取り付け部16は、略U字状の外周面を有しており、このU字状がX方向に延設された柱状をなしている。
取り付け部16には、図示しない締結部材が挿通される孔42が、X方向に沿って形成されている。孔42は、X方向において両端に開口している。これにより、締結部材は、X方向においていずれの側からも挿入可能となっている。
さらに筐体14は、台座部44と、凸部46と、を有している。台座部44は、厚さ方向であるZ方向において回路基板12を支持するために、上壁部30の内面30a及び下壁部32の内面32aの少なくとも一方に設けられている。台座部44は、筐体14の一部分として形成されている。
本実施形態では、台座部44が、下壁部32の内面32aに設けられている。台座部44は、電子部品22の生じた熱を筐体14に逃がす放熱機能も有している。このため、台座部44は、電子部品22のうち、発熱量の大きい部品に対応して設けられている。そして、台座部44と回路基板12との間に、熱伝導部材48が介在している。熱伝導部材48としては、放熱ゲルなど熱伝導性に優れるとともに柔軟性を有する周知のものを採用することができる。このため、電子部品22の生じた熱を、回路基板12のサーマルビア24、熱伝導部材48、及び台座部44を介して、筐体14に逃がすことができる。
回路基板12は、台座部44と、台座部44上に配置された熱伝導部材48とにより支持されている。このため、台座部44及び熱伝導部材48が、特許請求の範囲に記載の支持部に相当する。
凸部46は、取り付け部16が連なる側壁部34の内面34aから突出している。凸部46は、側壁部34の一部分である。凸部46の構成材料は、側壁部34(横ケース40)と同一でも良いし、別材料でも良い。たとえば樹脂の射出成形により筐体14が形成される場合、金属材料からなる凸部46をインサート部品として側壁部34に一体化させることができる。本実施形態では、凸部46が金属材料を用い形成されており、側壁部34と凸部46が連続して一体的に形成されている。
凸部46は、側壁部34の内面34aのうち、制振部材18を固定する位置に形成されている。換言すれば、制振部材18を介して回路基板12を筐体14に固定する位置に形成されている。図3に示すように、回路基板12の四隅部分に対応して、Y方向両端の側壁部34であってX方向両端付近に、凸部46がそれぞれ形成されている。各凸部46は、平面略矩形状をなしており、隣り合う2辺の一方がX方向に略平行とされ、他方がY方向に略平行とされている。
さらに筐体14は、シール溝50と、シール突起52と、を有している。シール溝50には図示しないシール材が配置され、シール材に接触するように、対応するシール溝50にシール突起52が挿入配置されている。シール材は、筐体14の内部空間26をエンジンコンパートメントに対して水密に封止し、内部空間26に水が侵入するのを防止する機能を果たすものである。すなわち、シール材は、内部空間26を防水空間とするものである。シール材は、上ケース36と下ケース38との対向部位間、上ケース36と横ケース40との対向部位間、下ケース38と横ケース40との対向部位間にそれぞれ介在する。シール材としては、例えばシリコン系の湿気硬化型接着材を用いることができる。
上記した対向部位を構成する一方にシール溝50が形成され、他方にシール突起52が形成されている。下ケース38(下壁部32)の内面32aには、上ケース36における側壁部34及び一対の横ケース40の側壁部34に対応してシール溝50が形成されている。シール溝50は、内部空間26を取り囲むように環状に形成されている。
上ケース36には、下ケース38の下壁部32及び横ケース40の側壁部34に対応してシール突起52が形成されている。シール突起52は、内部空間26を取り囲むように環状に形成されている。詳しくは、上壁部30の内面30aにおけるY方向両端に、X方向に沿ってシール突起52が形成されている。また、上ケース36の側壁部34の先端面(下壁部32との対向面)にシール突起52が形成されている。さらには、上ケース36の側壁部34におけるY方向の端面、すなわち横ケース40の側壁部34との対向部分にも、シール突起52が形成されている。
横ケース40の側壁部34の下面、すなわち下ケース38の下壁部32との対向部分には、シール突起52が形成されている。一方、横ケース40の側壁部34の上面、すなわち上ケース36の上壁部30との対向部分には、シール溝50が形成されている。横ケース40の側壁部34における上ケース36の側壁部34(Y方向端面)との対向部分にも、シール溝50が形成されている。なお、上ケース36の側壁部34におけるY方向端面と、横ケース40の側壁部34における対向面は、組み付け時にシール材を抉らないように、テーパ面(傾斜面)となっている。
制振部材18は、車両振動が伝播されたときに運動エネルギを熱エネルギに変換し、これにより車両振動を減衰させるものである。制振部材18は、筐体14を構成する材料よりも損失係数の大きい材料を用いて形成されている。そのような構成材料としては、たとえばゴム、制振合金などを採用することができる。制振合金としては、たとえば双晶型のM2052合金(Mn−Cu−Ni−Fe系合金)を採用することができる。M2052合金は、加工しやすい、損失係数がゴムと同程度であり、制振性能が高い、減衰できる周波数域が広い、などの利点を有する。本実施形態では、制振部材18が、ゴムを構成材料として形成されている。
制振部材18は、凸部46に対応して形成され、凸部46が嵌合する第1凹部54を有している。また、制振部材18は、回路基板12が圧入される第2凹部56を有している。制振部材18は平面略矩形状をなしており、隣り合う2辺の一方がX方向に略平行とされ、他方がY方向に対して略平行とされている。第1凹部54は、少なくとも凸部46の形成された内面34aと対向する側面(以下、対向面と示す)に開口している。第1凹部54は、対向面を含む隣り合う2つの側面に開口してもよいし、対向面とその両隣りに位置する計3つの側面に開口してもよい。本実施形態では、3つの側面に開口している。
第2凹部56は、少なくとも対向面と反対の側面(以下、反対面と示す)に開口している。本実施形態において、第2凹部56は、回路基板12の隅部を保持できるように、反対面を含む隣り合う2つの側面に開口している。回路基板12は、Z方向上下に位置する制振部材18によって挟持されている。
また、本実施形態では、制振部材18が、接着材58により、下ケース38(下壁部32)の内面32aに固定されている。しかしながら、接着材58を有さず、制振部材18が、凸部46との嵌合のみによって筐体14に支持される構成を採用することもできる。
次に、図3〜図7に基づき、上記した車載電子装置10の組み付け方法について説明する。
先ず図5に示すように、制振部材18を回路基板12に取り付ける。このとき、破線矢印で示すように、制振部材18と回路基板12とをX方向に相対的に移動させて、制振部材18の第2凹部56に、回路基板12の隅部を圧入する。この圧入により、回路基板12の4つの隅部に、制振部材18をそれぞれ取り付ける。
次いで、図6に示すように、制振部材18を取り付けた回路基板12と、一対の横ケース40とを組み付け、ユニット62を形成する。このとき、破線矢印で示すように、制振部材18を取り付けた回路基板12と横ケース40とをY方向に相対的に移動させて、制振部材18の第1凹部54に、横ケース40の側壁部34の内面34aから突出する凸部46を挿入し、凸部46を第1凹部54に嵌合させる。この嵌合(圧入)により、回路基板12のY方向両側に、制振部材18を介して横ケース40をそれぞれ取り付ける。
なお、嵌合に加えて、凸部46を制振部材18に接着固定することもできる。この場合、第1凹部54に図示しない接着材を塗布し、その後、凸部46を挿入すればよい。たとえば、制振部材18に、Z方向に延び、第1凹部54に連通する孔を設け、この孔を通じて、第1凹部54に接着材を塗布(注入)してもよい。
また、図7に示すように、先ず下ケース38を準備する。そして、下壁部32の内面32aに設けられたシール溝50のうち、横ケース40の側壁部34との対向部分に、シール材60を塗布する。また、内面32aのうち、制振部材18との対向部分に接着材58を塗布する。さらには、台座部44の突出先端面に熱伝導部材48としての放熱ゲルを塗布する。下ケース38の準備については、図5及び図6に示す工程と並行して実施してもよいし、図5及び図6に示す工程の後に実施してもよい。図7では、熱伝導部材48、接着材58、及びシール材60の塗布位置を明確化するため、ハッチングを施している。
次いで、シール材60、接着材58、及び熱伝導部材48が配置された下ケース38上に、上記したユニット62を配置する。これにより、下ケース38のシール溝50に横ケース40のシール突起52が挿入されるとともに、シール溝50に配置されたシール材60にシール突起52が接触する。また、制振部材18が、下ケース38の内面32aに配置された接着材58に接触し、制振部材18が下ケース38に接着固定される。また、台座部44上に配置された熱伝導部材48に回路基板12の裏面20bが接触する。詳しくは、裏面20bのうち、サーマルビア24の形成部分が熱伝導部材48に接触する。そして、回路基板12は、熱伝導部材48及び台座部44を介して下ケース38に支持される。以上により、図3に示した状態となる。
次いで、図3の組み付け状態に対し、図示は省略するが、シール材60を下ケース38のシール溝50及び横ケース40のシール溝50に塗布する。ここで、下ケース38のシール溝50とは、シール溝50のうち、上ケース36との対向部分である。図3の組み付け状態で、下ケース38のシール溝50及び横ケース40のシール溝50は互いに連なり、回路基板12を取り囲むように環状をなす。この環状のシール溝50にシール材60を塗布する。
シール材60の塗布後、図4に示した上ケース36を組み付ける。このとき、上ケース36のシール突起52が、上記したシール溝50内に配置され、シール溝50に配置されたシール材60にシール突起52が接触する。これにより、内部空間26が防水空間となる。そして、図示しないねじ締結により、車載電子装置10を得ることができる。
次に、図8に基づき、制振部材18の周辺の構造について詳細に説明する。図8は、図2について制振部材周辺を拡大した図である。
凸部46は、上記したように、取り付け部16が連なる側壁部34の内面34aから突出している。凸部46は、図8に示すように、取り付け部16と側壁部34との連結方向(並び方向)に突出している。凸部46は、内部空間26を規定する面である内面34aにおいて、Z方向の中心部分から突出している。図8では、内面34aの中心位置を通る中心線を、一点鎖線で示している。このため、凸部46と上壁部30の内面30aとの距離が、凸部46と下壁部32の内面32aとの距離と等しくなっている。加えて、本実施形態では、回路基板12と凸部46が同一平面(YX面)に位置する。すなわち、Z方向において、凸部46の位置が、回路基板12(配線基板20)の位置とほぼ等しい配置となっている。
制振部材18は、図8に示すように、Z方向の厚みがY方向において一定ではなく、互いに厚さの異なる薄肉部64と、厚肉部66を有している。薄肉部64は、上壁部30の内面30a及び下壁部32の内面32aから離れている。薄肉部64は、筐体14から浮いており、筐体14に非接触である。厚肉部66は、薄肉部64よりも厚い部分である。本実施形態では、厚肉部66が、接着材58により、下ケース38(下壁部32)に固定されている。
上記した第2凹部56は薄肉部64に形成され、第1凹部54は厚肉部66に形成されている。したがって、凸部46の周辺部分が厚肉部66であり、回路基板12の周辺部分が薄肉部64である。すなわち、制振部材18のうち、筐体14(横ケース40)への固定の根元部分が厚肉部66であり、先端側が薄肉部64である。
制振部材18は、上記した中心線に対して線対称構造となっている。第1凹部54は、Z方向において厚肉部66のほぼ中心位置に形成されている。このため、厚肉部66において、凸部46と上壁部30との間に位置する部分と、凸部46と下壁部32との間に位置する部分との厚さが、互いにほぼ等しくなっている。また、第2凹部56は、Z方向において薄肉部64のほぼ中心位置に形成されている。換言すれば、薄肉部64において、回路基板12よりも上壁部30側に位置する部分と、回路基板12よりも下壁部32側に位置する部分との厚さが、互いにほぼ等しくなっている。
凸部46と回路基板12とは、Y方向において離間している。同じく、第1凹部54と第2凹部56も連通しておらず、互いに離間している。第1凹部54と第2凹部56との間に、薄肉部64と厚肉部66の境界が存在する。
次に、上記した車載電子装置10の効果について説明する。
ところで、車両振動は、取り付け部16から側壁部34へ伝わる。本実施形態では、取り付け部16が連なる側壁部34の内面34aから、凸部46が突出している。凸部46は、取り付け部16と側壁部34との連結方向、すなわち車両振動の伝播方向に突出している。したがって、側壁部34に伝播した車両振動が、凸部46を介して制振部材18に入力されやすい。
また、振動は、剛性の高いほうに伝播しやすいことが知られている。本実施形態では、凸部46を設けることで、側壁部34において凸部46を設けた部分の剛性が他の部分よりも高まっている。したがって、車両振動が凸部46を介して制振部材18に入力されやすい。
このように凸部46を設けることで、車両振動を側壁部34から制振部材18に効果的に入力させることができる。制振部材18は、筐体14において車両振動が入力される位置、すなわち側壁部34の近傍に配置されている。したがって、図8に白抜き矢印で示すように、取り付け部16から側壁部34に伝わる車両振動の主たる部分(大部分)を、制振部材18に入力させることができる。上記したように、制振部材18は筐体14よりも損失係数が大きい。また、Z方向において、凸部46の両側に制振部材18が位置する。したがって、たとえばZ方向の車両振動を、凸部46の両側の制振部材18により、効果的に減衰させることができる。
また、車両振動を、側壁部34から制振部材18に効果的に入力させることができるため、図8に示すように、上壁部30や下壁部32に伝播される車両振動を従来に較べて低減することができる。
また、台座部44は、Z方向に突出している。すなわち、台座部44は、上壁部30や下壁部32における車両振動の伝播方向とは異なる方向に突出している。このため、上壁部30や下壁部32から、台座部44(支持部)に車両振動が伝播し難く、伝播したとしても僅かである。
このように、凸部46の効果によって上壁部30や下壁部32に伝播される車両振動は僅かであり、その上、台座部44(支持部)には伝播しがたい。したがって、車両振動が、支持部を構成する台座部44及び熱伝導部材48を通じて、回路基板12に入力されるのを抑制することができる。
以上により、本実施形態の車載電子装置10によれば、車両振動にともなう回路基板12の振動を抑制することができる。
本実施形態では、上記構成に加えて以下に示す構成を採用している。
本実施形態では、制振部材18に第2凹部56が設けられ、この第2凹部56に回路基板12が圧入されている。このような構成を採用すると、回路基板12と制振部材18との接触面積を増加させることができる。したがって、回路基板12が振動したとしても、この振動を効果的に減衰させることができる。また、回路基板12の振動を抑制しつつ、筐体14への回路基板12の固定構造を簡素化することができる。
本実施形態では、制振部材18が、薄肉部64と厚肉部66を有し、薄肉部64は、上壁部30の内面30a及び下壁部32の内面32aから離れている。また、薄肉部64に第2凹部56が形成され、厚肉部66に第1凹部54が形成されている。すなわち、薄肉部64によって回路基板12が保持され、凸部46の周辺に厚肉部66が位置する。このような構成を採用すると、上壁部30及び下壁部32の少なくとも一方から薄肉部64に車両振動が伝播するのを抑制することができる。よって、回路基板12に伝わる車両振動をさらに効果的に低減できる。
本実施形態では、厚肉部66が下壁部32の内面32aに接着固定されている。言うなれば、下ケース38(又は制振部材18)が接着材58を有しており、厚肉部66は下ケース38に接触している。このような構成を採用すると、側壁部34から下壁部32に伝播した振動の一部が、下壁部32から厚肉部66に入力される。したがって、このような振動を、厚肉部66によって減衰させることができる。よって、車両振動が、支持部を構成する台座部44及び熱伝導部材48を通じて、回路基板12に入力されるのを、効果的に抑制することができる。なお、厚肉部66が上壁部30の内面30aに接触する場合にも同様の効果を奏することができる。厚肉部66を、内面30a,32aの両方に接触させてもよい。
本実施形態では、凸部46が、側壁部34の内面34aにおけるZ方向の中心部分から突出している。そして、制振部材18の厚さは、凸部46よりも上壁部30側の部分と凸部46よりも下壁部32側の部分とで略等しいものとなっている。このような構成を採用すると、凸部46が偏って配置される構成に較べて、凸部46の両側それぞれに配置される制振部材18の厚さを厚く、且つ、均等にすることができる。したがって、凸部46から制振部材18に伝播するZ方向の車両を効率よく減衰させることができる。また、凸部46と上壁部30、又は、凸部46と下壁部32との距離が遠くなるため、車両振動が、制振部材18から上壁部30又は下壁部32に伝播するのを抑制することができる。
(第2実施形態)
本実施形態は、先行実施形態を参照できる。このため、先行実施形態に示した車載電子装置10と共通する部分についての説明は省略する。
本実施形態では、図9に示すように、凸部46と回路基板12とが、Z方向においてずれて設けられている。図9において、凸部46は、第1実施形態同様、側壁部34の内面34aにおいて、Z方向の中心部分から突出している。Z方向において、凸部46の中心位置は一点鎖線上にある。一方、回路基板12は、内面34aの中心からずれ、下壁部32寄りに配置されている。Z方向において、回路基板12(配線基板20)の中心位置は、一点鎖線よりも下壁部32に近い位置となっている。このため、制振部材18は、上記した中心線に対して線対称になっていない。それ以外の点は、第1実施形態と同じである。
このような構成を採用すると、車載電子装置10のY方向の長さを変えることなく、凸部46から回路基板12までの距離を長くすることができる。これにより、回路基板12に伝わる車両振動をさらに低減することができる。
上記実施形態の構造は、あくまで例示であって、本発明の範囲はこれらの記載の範囲に限定されるものではない。本発明の範囲は、特許請求の範囲の記載によって示され、さらに特許請求の範囲の記載と均等の意味及び範囲内での全ての変更を含むものである。
防水構造の車載電子装置10の例を示したが、非防水構造にも適用することができる。
筐体14の構造は上記例に限定されない。たとえば、袋形状の本体部と、袋を閉じる蓋体と、を有する筐体14にも適用できる。この場合、蓋体が側壁部の一部分をなし、蓋体の内面に凸部46が設けられ、この凸部46に制振部材18が取り付けられる構成を採用することができる。本体部の底面に設けた支持部により、回路基板12のうち、制振部材18と反対側の端部を支持することもできる。また、底面にも凸部46を設けておき、この凸部46に制振部材18を取り付け、回路基板12の挿入方向両側に制振部材18を配置することもできる。
台座部44と熱伝導部材48により支持部が構成される例を示した。しかしながら、支持部としては、上壁部30の内面30a及び下壁部32の内面32aの少なくとも一方に設けられ、回路基板12を支持するものであればよい。支持部の少なくとも一部が筐体14の一部として構成されても良いし、別部材を筐体14に固定することで支持部としてもよい。たとえば台座部44のみにより支持部が構成されてもよいし、熱伝導部材48のみにより支持部が構成されてもよい。
取り付け部16が筐体14の一部分として構成される例を示した。しかしながら、筐体14とは別部材である取り付け部16が、側壁部34に固定された構成を採用することもできる。
回路基板12が制振部材18の第2凹部56に圧入される例を示した。しかしながら、制振部材18への回路基板12の固定は、上記例に限定されない。たとえば図10に示すように、薄肉部64上に図示しない接着材を介して回路基板12が固定された構成を採用することもできる。
制振部材18が、薄肉部64と厚肉部66を有する例を示したが、これに限定されない。たとえば一定厚の制振部材18を採用することもできる。
下ケース38が接着材58を有しており、厚肉部66が下ケース38に接触する例を示した。しかしながら、厚肉部66が上ケース36に接触する構成を採用することもできる。接触態様としては、筐体14が接着材58を有するものに限定されず、厚肉部66を内面30a,32aの少なくとも一方に直接的に接触させてもよい。すなわち、接着材58を介さずに、厚肉部66を内面30a,32aの少なくとも一方に接触させてもよい。さらには、厚肉部66が、内面32aに非接触の構成を採用することもできる。ただし、制振部材18において、凸部46から上壁部30側の部分の厚み、凸部46から下壁部32側の部分の厚みがそれぞれ厚いほうが、車両振動の減衰のためには好ましい。したがって、内面30a,32a間の距離が同じであるならば、制振部材18が内面30a,30bの少なくとも一方に直接的に接触、或いは、接着材58を介して接触する構造の方が、より効果的に車両振動を減衰させることができる。
凸部46が、側壁部34の内面34aであって、Z方向の中心部分から突出する例を示した。しかしながら、中心からずれて突出する構成を採用することもできる。また、凸部46の突出方向もY方向に沿うものに限定されない。すなわち、内面34aに直交するものに限定されない。たとえば斜めに突出する凸部46を採用することもできる。制振部材18が嵌合できる形状、突出方向であればよい。
制振部材18による回路基板12の固定位置は、回路基板12の四隅に限定されない。たとえば、平面略矩形状の回路基板12において、相対する2辺の中央部分を固定する構成を採用することもできる。
10…車載電子装置、12…回路基板、14…筐体、16…取り付け部、18…制振部材、20…プリント基板、20a…一面、20b…裏面、22…電子部品、24…サーマルビア、26…内部空間、28…壁部、30…上壁部、30a…内面、32…下壁部、32a…内面、34…側壁部、34a…内面、36…上ケース、38…下ケース、40…横ケース、42…孔、44…台座部、46…凸部、48…熱伝導部材、50…シール溝、52…シール突起、54…第1凹部、56…第2凹部、58…接着材、60…シール材、62…ユニット、64…薄肉部、66…厚肉部

Claims (7)

  1. 一面(20a)と、前記一面と厚さ方向において反対の裏面(20b)と、を有し、前記一面及び前記裏面の少なくとも一方に電子部品(22)が実装された回路基板(12)と、
    内部空間(26)を規定する壁部(28)として、前記一面側に配置された上壁部(30)と、前記裏面側に配置された下壁部(32)と、前記上壁部と前記下壁部とを連結する側壁部(34)と、を有し、前記内部空間に前記回路基板を収容する筐体(14)と、
    前記上壁部の内面(30a)及び前記下壁部の内面(32a)の少なくとも一方に設けられ、前記回路基板を支持する支持部(44,48)と、
    前記内部空間の外部に設けられ、前記側壁部に連なる取り付け部(16)と、
    を備え、
    前記取り付け部により、車両に取り付けられる車載電子装置であって、
    前記取り付け部が連なる前記側壁部は、自身の内面(34a)から突出する凸部(46)を有し、
    前記筐体を構成する材料よりも損失係数が大きい材料を用いて形成され、前記凸部に対応する第1凹部(54)を有し、前記第1凹部と前記凸部との嵌合により前記筐体に固定された制振部材(18)をさらに備え、
    前記回路基板は、前記制振部材を介して前記筐体に固定されていることを特徴とする車載電子装置。
  2. 前記制振部材は第2凹部(56)を有し、
    前記第2凹部に前記回路基板が圧入されていることを特徴とする請求項1に記載の車載電子装置。
  3. 前記制振部材は、前記上壁部の内面及び前記下壁部の内面から離れて配置された薄肉部(64)と、前記厚さ方向において前記薄肉部よりも厚くされた厚肉部(66)と、を有し、
    前記薄肉部に前記第2凹部が形成され、前記厚肉部に前記第1凹部が形成されていることを特徴とする請求項2に記載の車載電子装置。
  4. 前記厚肉部は、前記上壁部の内面及び前記下壁部の内面の少なくとも一方に接触配置されていることを特徴とする請求項3に記載の車載電子装置。
  5. 前記凸部は、前記側壁部の内面における前記厚さ方向の中心部分から突出しており、
    前記制振部材の厚さが、前記凸部よりも前記上壁部側の部分と前記凸部よりも前記下壁部側の部分とで等しいことを特徴とする請求項1〜4いずれか1項に記載の車載電子装置。
  6. 前記凸部と前記回路基板とが、前記厚さ方向にずれて設けられていることを特徴とする請求項1〜5いずれか1項に記載の車載電子装置。
  7. 前記制振部材は、ゴムを材料として形成されていることを特徴とする請求項1〜6いずれか1項に記載の車載電子装置。
JP2015163926A 2015-08-21 2015-08-21 車載電子装置 Active JP6451554B2 (ja)

Priority Applications (1)

Application Number Priority Date Filing Date Title
JP2015163926A JP6451554B2 (ja) 2015-08-21 2015-08-21 車載電子装置

Applications Claiming Priority (1)

Application Number Priority Date Filing Date Title
JP2015163926A JP6451554B2 (ja) 2015-08-21 2015-08-21 車載電子装置

Publications (2)

Publication Number Publication Date
JP2017041602A true JP2017041602A (ja) 2017-02-23
JP6451554B2 JP6451554B2 (ja) 2019-01-16

Family

ID=58203193

Family Applications (1)

Application Number Title Priority Date Filing Date
JP2015163926A Active JP6451554B2 (ja) 2015-08-21 2015-08-21 車載電子装置

Country Status (1)

Country Link
JP (1) JP6451554B2 (ja)

Citations (7)

* Cited by examiner, † Cited by third party
Publication number Priority date Publication date Assignee Title
JPS6228489U (ja) * 1985-08-05 1987-02-20
JPH0219913U (ja) * 1988-07-18 1990-02-09
JPH02297998A (ja) * 1989-05-12 1990-12-10 Hitachi Ltd 自動車用制御装置の基板とケースの接着方法
JPH0455169U (ja) * 1990-09-18 1992-05-12
JPH11230263A (ja) * 1998-02-17 1999-08-27 Kenwood Corp 電子機器の部材保持構造
JPH11284374A (ja) * 1998-03-30 1999-10-15 Matsushita Electric Ind Co Ltd 車載制御機器の収納筐体
JP2012142435A (ja) * 2010-12-28 2012-07-26 Nippon Seiki Co Ltd 基板の収納装置

Patent Citations (7)

* Cited by examiner, † Cited by third party
Publication number Priority date Publication date Assignee Title
JPS6228489U (ja) * 1985-08-05 1987-02-20
JPH0219913U (ja) * 1988-07-18 1990-02-09
JPH02297998A (ja) * 1989-05-12 1990-12-10 Hitachi Ltd 自動車用制御装置の基板とケースの接着方法
JPH0455169U (ja) * 1990-09-18 1992-05-12
JPH11230263A (ja) * 1998-02-17 1999-08-27 Kenwood Corp 電子機器の部材保持構造
JPH11284374A (ja) * 1998-03-30 1999-10-15 Matsushita Electric Ind Co Ltd 車載制御機器の収納筐体
JP2012142435A (ja) * 2010-12-28 2012-07-26 Nippon Seiki Co Ltd 基板の収納装置

Also Published As

Publication number Publication date
JP6451554B2 (ja) 2019-01-16

Similar Documents

Publication Publication Date Title
CN107439058B (zh) 控制器
JP3864873B2 (ja) 電子制御装置
JP2006019674A (ja) 電子装置の筐体構造
WO2015194666A1 (ja) 電気接続箱及びコネクタハウジング
JP7342732B2 (ja) 電子装置
JP2015115533A (ja) 電子装置
JP2002299867A (ja) 電子制御機器
JP5884137B2 (ja) 電気接続箱
JP2016103382A (ja) 電子制御装置
JP2012090482A (ja) 防水ケース及び車載電子機器
JP6451554B2 (ja) 車載電子装置
JP6458715B2 (ja) 電子制御装置
JP4534915B2 (ja) 電磁継電器
JP2007201283A (ja) 電子制御装置及び電子制御装置の筐体
JP2015233087A (ja) 筐体
JP2007329413A (ja) 電子装置
JP7247486B2 (ja) 筐体
JP7224789B2 (ja) 車両用電子制御装置
JP2007335254A (ja) 電子制御装置
JP4197292B2 (ja) 電子装置
JP6307871B2 (ja) 電子制御装置
JP2006211776A (ja) 電気接続箱
JP6508014B2 (ja) 電子制御装置
JP2005142213A (ja) 電子回路基板の収容ケース
JP5399857B2 (ja) 車載用回路基板ケース

Legal Events

Date Code Title Description
A621 Written request for application examination

Free format text: JAPANESE INTERMEDIATE CODE: A621

Effective date: 20171107

A977 Report on retrieval

Free format text: JAPANESE INTERMEDIATE CODE: A971007

Effective date: 20180726

A131 Notification of reasons for refusal

Free format text: JAPANESE INTERMEDIATE CODE: A131

Effective date: 20180821

A521 Request for written amendment filed

Free format text: JAPANESE INTERMEDIATE CODE: A523

Effective date: 20181005

TRDD Decision of grant or rejection written
A01 Written decision to grant a patent or to grant a registration (utility model)

Free format text: JAPANESE INTERMEDIATE CODE: A01

Effective date: 20181113

A61 First payment of annual fees (during grant procedure)

Free format text: JAPANESE INTERMEDIATE CODE: A61

Effective date: 20181126

R151 Written notification of patent or utility model registration

Ref document number: 6451554

Country of ref document: JP

Free format text: JAPANESE INTERMEDIATE CODE: R151

R250 Receipt of annual fees

Free format text: JAPANESE INTERMEDIATE CODE: R250

R250 Receipt of annual fees

Free format text: JAPANESE INTERMEDIATE CODE: R250

R250 Receipt of annual fees

Free format text: JAPANESE INTERMEDIATE CODE: R250

R250 Receipt of annual fees

Free format text: JAPANESE INTERMEDIATE CODE: R250