JP2016205802A - 熱交換器 - Google Patents

熱交換器 Download PDF

Info

Publication number
JP2016205802A
JP2016205802A JP2016051273A JP2016051273A JP2016205802A JP 2016205802 A JP2016205802 A JP 2016205802A JP 2016051273 A JP2016051273 A JP 2016051273A JP 2016051273 A JP2016051273 A JP 2016051273A JP 2016205802 A JP2016205802 A JP 2016205802A
Authority
JP
Japan
Prior art keywords
region
convex
guide wall
flow
heat exchanger
Prior art date
Legal status (The legal status is an assumption and is not a legal conclusion. Google has not performed a legal analysis and makes no representation as to the accuracy of the status listed.)
Granted
Application number
JP2016051273A
Other languages
English (en)
Other versions
JP2016205802A5 (ja
JP6327271B2 (ja
Inventor
勇輔 高木
Yusuke Takagi
勇輔 高木
安浩 水野
Yasuhiro Mizuno
安浩 水野
Current Assignee (The listed assignees may be inaccurate. Google has not performed a legal analysis and makes no representation or warranty as to the accuracy of the list.)
Denso Corp
Original Assignee
Denso Corp
Priority date (The priority date is an assumption and is not a legal conclusion. Google has not performed a legal analysis and makes no representation as to the accuracy of the date listed.)
Filing date
Publication date
Application filed by Denso Corp filed Critical Denso Corp
Priority to DE112016001793.6T priority Critical patent/DE112016001793T5/de
Priority to US15/566,589 priority patent/US10107553B2/en
Priority to PCT/JP2016/001972 priority patent/WO2016166963A1/ja
Priority to CN201680021947.8A priority patent/CN107532865B/zh
Publication of JP2016205802A publication Critical patent/JP2016205802A/ja
Publication of JP2016205802A5 publication Critical patent/JP2016205802A5/ja
Application granted granted Critical
Publication of JP6327271B2 publication Critical patent/JP6327271B2/ja
Active legal-status Critical Current
Anticipated expiration legal-status Critical

Links

Images

Classifications

    • HELECTRICITY
    • H01ELECTRIC ELEMENTS
    • H01LSEMICONDUCTOR DEVICES NOT COVERED BY CLASS H10
    • H01L23/00Details of semiconductor or other solid state devices
    • H01L23/34Arrangements for cooling, heating, ventilating or temperature compensation ; Temperature sensing arrangements
    • H01L23/46Arrangements for cooling, heating, ventilating or temperature compensation ; Temperature sensing arrangements involving the transfer of heat by flowing fluids
    • H01L23/473Arrangements for cooling, heating, ventilating or temperature compensation ; Temperature sensing arrangements involving the transfer of heat by flowing fluids by flowing liquids
    • FMECHANICAL ENGINEERING; LIGHTING; HEATING; WEAPONS; BLASTING
    • F28HEAT EXCHANGE IN GENERAL
    • F28DHEAT-EXCHANGE APPARATUS, NOT PROVIDED FOR IN ANOTHER SUBCLASS, IN WHICH THE HEAT-EXCHANGE MEDIA DO NOT COME INTO DIRECT CONTACT
    • F28D1/00Heat-exchange apparatus having stationary conduit assemblies for one heat-exchange medium only, the media being in contact with different sides of the conduit wall, in which the other heat-exchange medium is a large body of fluid, e.g. domestic or motor car radiators
    • F28D1/02Heat-exchange apparatus having stationary conduit assemblies for one heat-exchange medium only, the media being in contact with different sides of the conduit wall, in which the other heat-exchange medium is a large body of fluid, e.g. domestic or motor car radiators with heat-exchange conduits immersed in the body of fluid
    • F28D1/04Heat-exchange apparatus having stationary conduit assemblies for one heat-exchange medium only, the media being in contact with different sides of the conduit wall, in which the other heat-exchange medium is a large body of fluid, e.g. domestic or motor car radiators with heat-exchange conduits immersed in the body of fluid with tubular conduits
    • F28D1/053Heat-exchange apparatus having stationary conduit assemblies for one heat-exchange medium only, the media being in contact with different sides of the conduit wall, in which the other heat-exchange medium is a large body of fluid, e.g. domestic or motor car radiators with heat-exchange conduits immersed in the body of fluid with tubular conduits the conduits being straight
    • F28D1/05316Assemblies of conduits connected to common headers, e.g. core type radiators
    • F28D1/05325Assemblies of conduits connected to common headers, e.g. core type radiators with particular pattern of flow, e.g. change of flow direction
    • FMECHANICAL ENGINEERING; LIGHTING; HEATING; WEAPONS; BLASTING
    • F28HEAT EXCHANGE IN GENERAL
    • F28DHEAT-EXCHANGE APPARATUS, NOT PROVIDED FOR IN ANOTHER SUBCLASS, IN WHICH THE HEAT-EXCHANGE MEDIA DO NOT COME INTO DIRECT CONTACT
    • F28D1/00Heat-exchange apparatus having stationary conduit assemblies for one heat-exchange medium only, the media being in contact with different sides of the conduit wall, in which the other heat-exchange medium is a large body of fluid, e.g. domestic or motor car radiators
    • F28D1/02Heat-exchange apparatus having stationary conduit assemblies for one heat-exchange medium only, the media being in contact with different sides of the conduit wall, in which the other heat-exchange medium is a large body of fluid, e.g. domestic or motor car radiators with heat-exchange conduits immersed in the body of fluid
    • F28D1/03Heat-exchange apparatus having stationary conduit assemblies for one heat-exchange medium only, the media being in contact with different sides of the conduit wall, in which the other heat-exchange medium is a large body of fluid, e.g. domestic or motor car radiators with heat-exchange conduits immersed in the body of fluid with plate-like or laminated conduits
    • F28D1/0308Heat-exchange apparatus having stationary conduit assemblies for one heat-exchange medium only, the media being in contact with different sides of the conduit wall, in which the other heat-exchange medium is a large body of fluid, e.g. domestic or motor car radiators with heat-exchange conduits immersed in the body of fluid with plate-like or laminated conduits the conduits being formed by paired plates touching each other
    • F28D1/0325Heat-exchange apparatus having stationary conduit assemblies for one heat-exchange medium only, the media being in contact with different sides of the conduit wall, in which the other heat-exchange medium is a large body of fluid, e.g. domestic or motor car radiators with heat-exchange conduits immersed in the body of fluid with plate-like or laminated conduits the conduits being formed by paired plates touching each other the plates having lateral openings therein for circulation of the heat-exchange medium from one conduit to another
    • F28D1/0333Heat-exchange apparatus having stationary conduit assemblies for one heat-exchange medium only, the media being in contact with different sides of the conduit wall, in which the other heat-exchange medium is a large body of fluid, e.g. domestic or motor car radiators with heat-exchange conduits immersed in the body of fluid with plate-like or laminated conduits the conduits being formed by paired plates touching each other the plates having lateral openings therein for circulation of the heat-exchange medium from one conduit to another the plates having integrated connecting members
    • FMECHANICAL ENGINEERING; LIGHTING; HEATING; WEAPONS; BLASTING
    • F28HEAT EXCHANGE IN GENERAL
    • F28FDETAILS OF HEAT-EXCHANGE AND HEAT-TRANSFER APPARATUS, OF GENERAL APPLICATION
    • F28F3/00Plate-like or laminated elements; Assemblies of plate-like or laminated elements
    • F28F3/02Elements or assemblies thereof with means for increasing heat-transfer area, e.g. with fins, with recesses, with corrugations
    • F28F3/025Elements or assemblies thereof with means for increasing heat-transfer area, e.g. with fins, with recesses, with corrugations the means being corrugated, plate-like elements
    • F28F3/027Elements or assemblies thereof with means for increasing heat-transfer area, e.g. with fins, with recesses, with corrugations the means being corrugated, plate-like elements with openings, e.g. louvered corrugated fins; Assemblies of corrugated strips

Landscapes

  • Engineering & Computer Science (AREA)
  • Physics & Mathematics (AREA)
  • Thermal Sciences (AREA)
  • Mechanical Engineering (AREA)
  • General Engineering & Computer Science (AREA)
  • General Physics & Mathematics (AREA)
  • Condensed Matter Physics & Semiconductors (AREA)
  • Computer Hardware Design (AREA)
  • Microelectronics & Electronic Packaging (AREA)
  • Power Engineering (AREA)
  • Cooling Or The Like Of Semiconductors Or Solid State Devices (AREA)
  • Cooling Or The Like Of Electrical Apparatus (AREA)
  • Geometry (AREA)

Abstract

【課題】熱交換器の熱性能を向上させる。
【解決手段】扁平形状に形成された流路管と、流路管の内部に配置された板状のインナーフィンと、を備え、インナーフィンは、熱媒体が流通する主流路を複数の細流路に分割するウェーブフィン340cと、ウェーブフィン340cに接続された案内壁37とを有し、ウェーブフィン340cに、複数の細流路のうちウェーブフィン340cを挟んで隣り合う2つの細流路を連結する開口部36が形成されており、案内壁37は、ウェーブフィン340cの開口部36の周りの端部のうち、熱媒体の流れの下流側に位置する部分に接続され、ウェーブフィンから細流路に突出し、先端が熱媒体の流れの上流側に対向しているか、または、ウェーブフィン340cの開口部36の周りの端部のうち、熱媒体の流れの上流側に位置する部分に接続され、ウェーブフィン340cから細流路に突出し、先端が熱媒体の流れの下流側に対向している。
【選択図】図7

Description

本発明は、ウェーブフィンを有する熱交換器に関するものである。
従来、半導体素子を内蔵した半導体モジュール等の発熱体の放熱を行うために、発熱体を両面から挟持するように流路管を配設して構成される熱交換器が知られている。このような熱交換器では、発熱体と流路管とが交互に積層された構成となっており、積層された複数の流路管は、連通部材によって連通され、冷却媒体が各流路管に流通するよう構成されている。
この種の熱交換器において、熱交換性能を向上させるために、流路管内に仕切部材を配設して1つの流路管内に熱媒体流路を流路管の厚み方向に2段形成するとともに、2段に形成された熱媒体流路のそれぞれにインナーフィンを配置したものが開示されている。
例えば、特許文献1に記載の熱交換器では、伝熱面積を増大させる部品としてウェーブフィンを使用している。
特開2012−9826号公報
特許文献1に記載のウェーブフィンにより熱交換器の熱性能を向上させることができるが、熱交換器のさらなる熱性能向上が求められている。
本発明は上記点に鑑みて、熱交換器の熱性能を向上させることを目的とする。
上記目的を達成するため、請求項1に記載の発明では、扁平形状に形成され、熱交換対象物と熱交換する熱媒体が内部を流通する流路管(3)と、流路管の内部に配置され、熱交換対象物と熱媒体との伝熱面積を増大させる板状のインナーフィン(34)と、を備え、インナーフィンは、熱媒体が流通する主流路を複数の細流路に分割するウェーブフィン(340c)と、ウェーブフィンに接続された案内壁(37)とを有し、ウェーブフィンは、流路管の長手方向であるx方向に垂直でかつ流路管の厚み方向であるz方向に垂直なy方向の一方側に向かって凸の形状とされた第1凸部(340d)と、y方向の他方側に向かって凸の形状とされた第2凸部(340e)とが中間部(340f)を介して交互に並ぶことにより、z方向に垂直な断面形状が波形状とされており、ウェーブフィンに、複数の細流路のうちウェーブフィンを挟んで隣り合う2つの細流路を連結する開口部(36)が形成されており、案内壁は、ウェーブフィンの開口部の周りの端部のうち、2つの細流路のうち一方の細流路における熱媒体の流れの下流側に位置する部分に接続され、ウェーブフィンから一方の細流路に突出し、先端が一方の細流路における熱媒体の流れの上流側に対向しているか、または、ウェーブフィンの開口部の周りの端部のうち、一方の細流路における熱媒体の流れの上流側に位置する部分に接続され、ウェーブフィンから一方の細流路に突出し、先端が一方の細流路における熱媒体の流れの下流側に対向している。
これによれば、案内壁の先端が熱媒体の流れの上流側に対向する場合、案内壁の先端に熱媒体が衝突する。そのため、伝熱を促進し、熱交換器の熱性能を向上させることができる。
また、案内壁が、ウェーブフィンの開口部周りの端部のうち熱媒体の流れの下流側に位置する部分に接続され、ウェーブフィンから細流路に突出することにより、細流路を流れる熱媒体の一部が開口部を通って隣の細流路に流れ込み、細流路のうちウェーブフィン付近における剥離の発生が抑制される。そのため、熱交換器の熱性能を向上させることができる。
また、案内壁の先端が熱媒体の流れの下流側に対向する場合においても、細流路を流れる熱媒体の一部が開口部を通って隣の細流路へ流れ込むことにより、剥離の発生が抑制され、熱交換器の熱性能を向上させることができる。
なお、上記各手段の括弧内の符号は、後述する実施形態に記載の具体的手段との対応関係の一例を示すものである。
第1実施形態における熱交換器を用いた積層型熱交換器の正面図である。 図1のII−II断面図である。 図2のIII−III断面図である。 図2のIV方向における流路管の矢視図である。 中間プレートの一面側にインナーフィンが搭載された様子を示す図である。 インナーフィンにおける第1フィンが形成された領域の斜視図である。 図3のVII−VII断面図である。 図6の部分拡大図である。 図7のIX−IX断面図である。 従来の熱交換器における細流路の断面図であって、図7に相当する図である。 従来の熱交換器における剥離の様子を示す断面図であって、図12に相当する図である。 図3のVII−VII断面図である。 従来の熱交換器におけるウェーブフィンの断面図であって、図14に相当する図である。 図7のIX−IX断面図である。 第2実施形態における細流路の断面図であって、図7に相当する図である。 第2実施形態のインナーフィンにおける第1フィンが形成された領域の斜視図であって、図8に相当する図である。 第2実施形態における細流路の断面図であって、図12に相当する図である。 第3実施形態における細流路の断面図であって、図12に相当する図である。 第3実施形態におけるウェーブフィンの断面図であって、図14に相当する図である。 第4実施形態における細流路の断面図であって、図12に相当する図である。 他の実施形態における連通路の配置を示す断面図であって、図7に相当する図である。 他の実施形態における連通路の配置を示す断面図であって、図7に相当する図である。 他の実施形態における連通路の配置を示す断面図であって、図7に相当する図である。 他の実施形態における連通路の配置を示す断面図であって、図7に相当する図である。 他の実施形態におけるウェーブフィンの断面図であって、図9に相当する図である。 他の実施形態におけるウェーブフィンの断面図であって、図9に相当する図である。 他の実施形態における細流路の断面図であって、図28に相当する図である。 図15の部分拡大図である。
以下、本発明の実施形態について図に基づいて説明する。なお、以下の各実施形態相互において、互いに同一もしくは均等である部分には、同一符号を付して説明を行う。
(第1実施形態)
本発明の第1実施形態について図1〜図14を用いて説明する。ここでは、本実施形態の積層型熱交換器1により熱交換対象物として複数の電子部品2を冷却する冷却器を構成する例について説明するが、本実施形態の積層型熱交換器1を他の用途に用いてもよい。また、本実施形態の積層型熱交換器1を加熱のために用いてもよい。電子部品2は、例えば、走行用電動機に対して三相交流電圧を出力するインバータ回路に適用されるパワーカードである。積層型熱交換器1は、熱交換器に相当する。
積層型熱交換器1は、流路管3と、流路管3の内部に配置されたインナーフィン34と、を備えている。積層型熱交換器1は、図1に示すように、複数の流路管3を、隣り合う流路管3との間に形成される隙間に電子部品2を配設した状態で積層配置して構成されている。
流路管3は、電子部品2と熱交換する熱媒体が内部を流通するものである。熱媒体としては、例えば、エチレングリコール系の不凍液を混入した水、水やアンモニア等の自然冷媒等を用いることができる。図2に示すように、流路管3は、短手方向の一対の周縁部が長手方向に沿って並行に延在すると共に、長手方向の周縁端部の形状が半円形状となっている。なお、流路管3の積層方向に垂直で、かつ、流路管3の長手方向に垂直な方向を、流路管3の短手方向とする。また、流路管3の積層方向を、流路管3の厚み方向とする。また、図3に示すように、流路管3は、長手方向と直交する流路断面が扁平形状に形成されている。流路管3の長手方向、短手方向、厚み方向はそれぞれx方向、y方向、z方向に相当する。
なお、図2は図1のII−II線における断面図であるが、流路管3の形状を明確にするために、電子部品2の図示を省略している。また、図2には、流路管3の内部に配置されているインナーフィン34を点線で示してある。また、図2、図3、図5、図6では、後述する開口部36および案内壁37の図示を省略している。
流路管3は、アルミニウムや銅等の高い熱伝導性を有する金属製のプレートを積層し、これらのプレートを接合して構成されている。流路管3は、図3に示すように、一対の外殻プレート31、32と、中間プレート33とを有する。
外殻プレート31、32は、流路管3の外殻を構成する板部材であり、外殻プレート31、32を通して電子部品2と熱媒体との熱交換が行われる。中間プレート33は、長方形状の板部材で構成され、外殻プレート31、32の間に、外殻プレート31、32それぞれと対向するように配置されている。中間プレート33の流路管3の長手方向における両端部には、後述する突出管部35の開口部に対応して、円形の開口部が形成されている。
外殻プレート31、32および中間プレート33の間に、熱媒体が流通する媒体流路30が形成されている。また、外殻プレート31と中間プレート33との間、外殻プレート32と中間プレート33との間に、インナーフィン34が配置され、後述する第1フィン340、第2フィン341により、主流路である媒体流路30が複数の細流路に分割される。
インナーフィン34は、熱媒体と電子部品2との伝熱面積を増大させる部品である。インナーフィン34は、例えば、アルミニウム等の高い熱伝導性を有する金属製の板状のプレートをプレス加工して形成される。インナーフィン34の詳細については後述する。
流路管3は、外殻プレート31と中間プレート33との間、外殻プレート32と中間プレート33との間にそれぞれインナーフィン34を配置し、外殻プレート31、32、中間プレート33の周縁部の内側をろう材により接合することで構成されている。また、インナーフィン34は、外殻プレート31、32に対してろう材により接合されている。
このような構造により、隣り合う2つの流路管3の間に形成される隙間に電子部品2を配設して積層型熱交換器1を構成する際に、積層方向の外側から加わる力により流路管3が変形することを抑制できる。なお、中間プレート33は、その周縁部が外殻プレート31、32の間に狭持されていてもよい。
図2に示すように、流路管3の長手方向の両側には、突出管部35が設けられている。積層型熱交換器1は、突出管部35も備えている。突出管部35は、隣り合う流路管3を連結する配管であり、図4に示すように、流路管3の積層方向に開口すると共に、流路管3の積層方向に突出した円筒状とされている。複数の流路管3のうち、積層方向の最も外側に位置する一対の流路管3以外の流路管3には、積層方向の両側に突出管部35が設けられている。一方、複数の流路管3のうち、積層方向の最も外側に位置する一対の流路管3には、隣り合う流路管3に対向する一面にだけ突出管部35が設けられている。複数の流路管3は、突出管部35同士を嵌合させると共に、突出管部35の側壁同士を接合することにより連結されている。これにより、隣り合う流路管3は、互いの媒体流路30が連通している。
流路管3の長手方向の両側に設けられた一対の突出管部35のうち、一方を供給ヘッダ部11、他方を排出ヘッダ部12とする。供給ヘッダ部11は、流路管3の媒体流路30へ熱媒体を供給する配管であり、排出ヘッダ部12は、流路管3の媒体流路30から熱媒体を排出する配管である。
図1に示すように、複数の流路管3のうち、積層方向の最も外側に配置される一対の流路管3の一方には、媒体導入部4および媒体導出部5が接続されている。媒体導入部4は、熱媒体を積層型熱交換器1に導入するための配管であり、媒体導出部5は、熱媒体を積層型熱交換器1から導出するための配管である。媒体導入部4および媒体導出部5は、ろう付け等の接合技術により流路管3に接合されている。積層型熱交換器1は、媒体導入部4、媒体導出部5も備える。
熱媒体は、図示しないポンプにより、媒体導入部4を通して積層型熱交換器1へ供給され、媒体導出部5を通して積層型熱交換器1から排出される。また、積層型熱交換器1を流れる熱媒体は、図示しないポンプにより流量を一定とされている。
インナーフィン34の構成について図5〜図9を用いて説明する。インナーフィン34は、複数の第1フィン340と、複数の第2フィン341とを有している。図5に示すように、インナーフィン34のうち、複数の第1フィン340が形成された領域を領域34b、領域34bより熱媒体流れ上流側の端部を端部34a、下流側の端部を端部34cとする。
第1フィン340は、熱媒体が流通する主流路である媒体流路30を複数の細流路に分割するものである。図3、図6に示すように、インナーフィン34のうち、複数の第1フィン340が形成された領域34bは、流路管3の長手方向と直交する断面形状が波形状となっており、波形の頂点付近は外殻プレート31、32、中間プレート33と接している。
1つの第1フィン340のうち、流路管3の厚み方向の一方の向きに凸の形状とされ、外殻プレート31または32と接する部分を頂部340aとし、流路管3の厚み方向の他方の向きに凸の形状とされ、中間プレート33と接する部分を底部340bとする。第1フィン340のうち、頂部340aと底部340bとを接続する部分を壁面部340cとする。
インナーフィン34のうち第1フィン340が形成された領域34bは、頂部340aと底部340bとが壁面部340cを介して交互に並ぶことにより、流路管3の長手方向に垂直な断面形状が波形状とされている。具体的には、第1フィン340は、底部340b、壁面部340c、頂部340a、壁面部340c、底部340bが順に並ぶ構成とされている。このような第1フィン340が互いの底部340bを接続させて複数並ぶことにより、インナーフィン34のうち、複数の第1フィン340が形成された領域34bは、流路管3の長手方向に垂直な断面形状が波形状とされている。
図7に示すように、壁面部340cは、凸部340dと、凹部340eと、中間部340fとをそれぞれ複数有する。壁面部340cは、凸部340dと凹部340eとが、凸部340dと凹部340eとを連結する中間部340fを介して交互に並ぶことにより、流路管3の厚み方向に垂直な断面形状が波形状とされている。
凸部340dは、流路管3の厚み方向に垂直な断面形状が流路管3の短手方向の一方側に向かって凸の曲線状とされており、凹部340eは、流路管3の厚み方向に垂直な断面形状が流路管3の短手方向の他方側に向かって凸の曲線状とされている。凸部340d、凹部340eはそれぞれ第1凸部、第2凸部に相当する。中間部340fは、流路管3の厚み方向に垂直な断面形状が直線状とされている。
このような凸部340d、凹部340e、中間部340fにより壁面部340cを構成することで、壁面部340cは、流路管3の厚み方向から見て、流路管3の長手方向に三角波形状に屈曲する形状となっている。壁面部340cは、ウェーブフィンに相当する。
第2フィン341は、第1フィン340とともに細流路を形成するものであり、流路管3の長手方向と平行となるように、端部34a、端部34cに形成されている。第2フィン341は、流路管3の厚み方向から見て直線形状となっている。また、インナーフィン34のうち第2フィン341が形成された端部34a、端部34cは、流路管3の長手方向と直交する断面形状が波形状となっている。
インナーフィン34において、端部34aに形成された第2フィン341と、第1フィン340と、端部34cに形成された第2フィン341により連続する1本のフィンが構成されている。
図7に示すように、壁面部340cには、壁面部340cを挟んで隣り合う2つの細流路を連結する開口部36が複数形成されている。開口部36は、本実施形態では、凸部340dから中間部340fに至る部分と、凹部340eから中間部340fに至る部分とに形成されている。
壁面部340cには案内壁37が接続されており、インナーフィン34は案内壁37も有する。案内壁37は、前縁効果により熱伝達を改善し、また、熱媒体を隣の細流路に案内して剥離の発生を抑制するためのものである。
案内壁37は、壁面部340cの開口部36の周りの端部のうち、開口部36により連結される2つの細流路のうち一方の細流路における熱媒体の流れの下流側に接続され、壁面部340cから一方の細流路に突出しており、先端が熱媒体の流れの上流側に対向している。案内壁37は、複数の開口部36それぞれに対応して配置されており、インナーフィン34は、案内壁37を複数有する。
本実施形態では、図7に示すように、凸部340dと案内壁37、凹部340eと案内壁37とが、滑らかに接続されている。また、本実施形態では、図8に示すように、案内壁37のうち、熱媒体の流れに対向する端部以外の端部は、頂部340a、底部340bまたは壁面部340cに接続されている。
このような開口部36および案内壁37は、インナーフィン34の材料となる板状のプレートの切断と、切断部の曲げとを同時に行うプレス加工により形成できる。この場合、切断部付近に位置する部分のうち、加工後に切断部よりも媒体流路30の上流側となる部分は第1フィン340の一部となり、下流側となる部分は第1フィン340から起こされて案内壁37となる。また、案内壁37および第1フィン340との境界と、切断部の側面のうち第1フィン340側に残る部分とで囲まれた部分は、開口部36となる。また、インナーフィン34の材料となる板状のプレートにあらかじめ切れ目を入れておき、切れ目を入れたプレートをプレス加工することにより、開口部36および案内壁37を形成してもよい。
上述したように、本実施形態では、熱媒体は案内壁37の先端に対向する向きに流れる。図7に示すように、案内壁37は、このような向きで熱媒体が流れる場合に熱媒体が凸部340dから凹部340eに向かって流れる領域R1では、凹部340eの凸の側に壁面部340cから突出している。また、案内壁37は、熱媒体が凹部340eから凸部340dに向かって流れる領域R2では、凸部340dの凸の側に壁面部340cから突出している。なお、熱媒体は、図7の紙面左側から右側に向かって流れる。
また、細流路における熱媒体の流れのうち、案内壁37により隣の細流路に案内されずに同じ細流路に残る流れを本流、案内壁37により隣の細流路に案内される流れを分流とすると、本流の流路断面積は、分流の流路断面積よりも大きい。
ここで、図7の直線L1は、案内壁37のうち熱媒体の流れに対向する先端を通り、本流における熱媒体の流通方向に垂直な平面を示し、直線L2は、案内壁37のうち熱媒体の流れに対向する先端を通り、分流における熱媒体の流通方向に垂直な平面を示している。また、本流の流路断面積を、直線L1で示される平面において、頂部340aまたは底部340bと、壁面部340cと、外殻プレート31、32または中間プレート33と、案内壁37とで囲まれた部分の面積とする。また、分流の流路断面積を、直線L2で示される平面において、頂部340aまたは底部340bと、壁面部340cと、案内壁37とで囲まれた部分の面積とする。
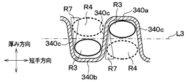
また、本実施形態では、図9に示すように、案内壁37が、壁面部340cを挟んで隣り合う2つの細流路のうち一方の細流路の領域R3に突出し、熱媒体を他方の細流路の領域R4に案内している。
ここで、領域R3、領域R4は、それぞれ、流路管3の短手方向における各細流路の幅が流路管3の厚み方向において変化することにより各細流路に形成された、所定の幅よりも幅が狭い領域、幅が広い領域である。
インナーフィン34は、金属製の板状のプレートをプレス加工して製造される。そのため、頂部340a、壁面部340c、中間プレート33で囲まれる細流路のうち、頂部340a側の領域の流路管3の短手方向における幅w1は、中間プレート33側の領域の幅w2よりも小さい。また、底部340bと、壁面部340cと、外殻プレート31または外殻プレート32とで囲まれる細流路のうち、底部340b側の領域の流路管3の短手方向における幅w3は、外殻プレート31または外殻プレート32側の領域の幅w4よりも小さい。
本実施形態では、各細流路において、流路管3の厚み方向において頂部340aからの距離と底部340bからの距離とが互いに等しく、流路管3の厚み方向に垂直な平面の両側に位置する領域をそれぞれ領域R3、R4とする。流路管3の厚み方向において頂部340aからの距離と底部340bからの距離とが互いに等しい部分の幅(上述の所定の幅に相当する)をw5とすると、領域R3の幅は幅w5よりも小さく、領域R4の幅は幅w5よりも大きい。
領域R3は、細流路において、この平面と、頂部340aまたは底部340bとで挟まれた領域である。領域R4は、細流路において、この平面と、外殻プレート31、32、または、中間プレート33とで挟まれた領域である。図9の直線L3は、領域R3と領域R4との境界を示している。領域R3、R4は、それぞれ、第1領域、第2領域に相当する。
上記した構成において、熱媒体は媒体導入部4から直接、あるいは、供給ヘッダ部11を通って流路管3に流れ込み、流路管3から直接、あるいは排出ヘッダ部12を通って媒体導出部5から導出される。このとき、電子部品2と熱媒体との熱交換により、電子部品2が冷却される。
流路管3においては、熱媒体は、複数形成された波形状の細流路を蛇行して流れる。図10、図11は、開口部36が形成されていない従来の熱交換器の断面図である。
本実施形態では、案内壁37の先端が熱媒体の流れの上流側に対向している。これにより、案内壁37の先端に熱媒体が衝突し、前縁効果により伝熱が促進されるため、熱交換器の熱性能が向上する。
また、図10に示すように開口部36が形成されていない従来の熱交換器では、図11の矢印A1で示すように熱媒体が蛇行して流れる際に、剥離が発生する。剥離は、図11の領域R5で示すように、熱媒体が2つの凸部340dまたは2つの凹部340eにより形成されたカーブを通り過ぎたとき、カーブの内側だった方の壁面部340c付近に発生する。剥離部は流れが遅く、流れが速い部分よりも伝熱促進への寄与が小さい。また、剥離の発生により流路管3における圧力損失が増加する。そのため、剥離の発生により熱交換器の性能が低下する。
これに対し、本実施形態では、開口部36が形成され、案内壁37が、壁面部340cの開口部36周りの端部のうち熱媒体の流れの下流側に位置する部分に接続され、壁面部340cから壁面部340cを挟んで隣り合う2つの細流路のうち一方の細流路に突出している。そのため、図12の矢印A2で示す蛇行流れの一部が、矢印A3で示すように、開口部36を通って開口部36が形成されていない場合に剥離が発生する部分である壁面部340cの付近に流れ込み、この部分における剥離の発生が抑制される。図12の領域R6は、本実施形態において剥離が発生する部分であり、開口部36が形成されていない場合に剥離が発生する領域R5よりも小さい。
このように、本実施形態では、剥離の発生が抑制され、インナーフィン34と熱媒体とが接する部分のうち、伝熱促進に寄与する部分の面積が増加し、また、圧力損失の増加が抑制される。これにより、熱交換器の熱性能が向上する。なお、このとき、上記のように本流の流路断面積が分流の流路断面積よりも大きいため、開口部36を通らず、同じ細流路を流れ続ける本流の流量は、開口部36を通って隣の細流路に流れ込む分流の流量よりも大きく、本来の蛇行流れは維持されている。
このように、本実施形態の熱交換器を用いて構成された積層型熱交換器1では、開口部36および案内壁37を形成することにより、インナーフィン34を、伝熱をより促進できる形状とし、熱交換器の熱性能(熱交換量)を向上させることができる。
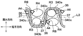
また、従来のウェーブフィンにおいて、幅が広い領域では、幅が狭い領域に比べて流速が遅く、図13の領域R7で示すように、剥離部が大きい。また、積層型熱交換器1を冷却に用いる場合、流速の影響から、幅が広い領域では、幅が狭い領域に比べて熱媒体の温度が高い。
このようなウェーブフィンの特性を考えると、幅が狭い領域を通る熱媒体を、隣り合う細流路の幅が広い領域に流し込むことで、熱媒体の速度分布と温度分布を効果的に改善し、熱交換器の熱性能を向上させることができると推察される。
これについて、本実施形態では、案内壁37が、隣り合う2つの細流路のうち一方の細流路の領域R3に突出し、図14の矢印A4で示すように、熱媒体を他方の細流路の領域R4に案内している。そのため、熱媒体の速度分布と温度分布が改善され、剥離の発生が抑制される。図14の領域R8は、本実施形態において剥離が発生する部分であり、開口部36が形成されていない場合に剥離が発生する領域R7よりも小さい。これにより、熱交換器の熱性能をさらに向上させることができる。
なお、剥離の発生を抑制することにより流路管3における圧力損失の増加が抑制される一方、案内壁37の細流路への突出により圧力損失が増加する。これに対し、本実施形態では、案内壁37を上記のように配置して効率よく剥離の発生を抑制し、これにより圧力損失の増加を大きく抑制することで、剥離の発生を抑制しつつ熱交換器全体での圧損の上昇を抑制し、熱交換器の熱性能をさらに向上させることができる。
また、本実施形態では、案内壁37が、幅が狭く熱媒体の流速が大きい領域R3に突出している。これにより、熱媒体が案内壁37の先端に流速の大きい状態で衝突するため、前縁効果による伝熱促進が大きくなり、熱交換器の熱性能をさらに向上させることができる。
なお、案内壁37は、各細流路において、熱媒体の流速が最大となる部分に形成されていることが好ましい。これにより、熱媒体が案内壁37の先端に流速の大きい状態で衝突するため、前縁効果による伝熱促進が大きくなり、熱交換器の熱性能をさらに向上させることができる。
また、凸部340d、凹部340eの内側で、かつ、領域R4に含まれる部分では、特に剥離が発生しやすい。そのため、この部分に分流が流れ込むように開口部36および案内壁37を配置することが好ましい。
(第2実施形態)
本発明の第2実施形態について説明する。本実施形態は、第1実施形態に対して開口部36および案内壁37の位置を変更したものであり、その他に関しては第1実施形態と同様であるため、第1実施形態と異なる部分についてのみ説明する。
本実施形態では、図15、図16に示すように、開口部36が、凸部340dおよび凹部340eに形成されている。凸部340dに形成された開口部36に対応する案内壁37は、凸部340dに接続され、凸部340dの凸の側に壁面部340cから突出している。凹部340eに形成された開口部36に対応する案内壁37は、凹部340eに接続され、凹部340eの凸の側に壁面部340cから突出している。
また、案内壁37は、流路管3の厚み方向に垂直な少なくとも一部の断面において、距離d1が距離d2よりも大きくなるように配置されている。
ここで、d1は、壁面部340cのうち連続するそれぞれ1つの凸部340d、中間部340f、凹部340eに含まれる部分と、この凹部340eに接続された案内壁37とで構成される部分の、流路管3の短手方向における一方側の表面において、一方側の最も外側に位置する部分と、他方側の最も外側に位置する部分との間の、流路管3の短手方向における距離である。
なお、本実施形態では、壁面部340cのうち連続するそれぞれ1つの凸部340d、中間部340f、凹部340eに含まれる部分と、この凹部340eに接続された案内壁37とで構成される部分の、流路管3の短手方向における他方側の表面において、一方側の最も外側に位置する部分と、他方側の最も外側に位置する部分との間の、流路管3の短手方向における距離もd1とされている。
また、d2は、壁面部340cのうち連続するそれぞれ1つの凸部340d、中間部340f、凹部340eに含まれる部分の、流路管3の短手方向における一方側の表面において、一方側の最も外側に位置する部分と、他方側の最も外側に位置する部分との間の、流路管3の短手方向における距離である。
なお、本実施形態では、壁面部340cのうち連続するそれぞれ1つの凸部340d、中間部340f、凹部340eに含まれる部分の、流路管3の短手方向における他方側の表面において、一方側の最も外側に位置する部分と、他方側の最も外側に位置する部分との間の、流路管3の短手方向における距離もd2とされている。
また、本実施形態では、壁面部340cのうち連続するそれぞれ1つの凸部340d、中間部340f、凹部340eに含まれる部分と、この凸部340dに接続された案内壁37とで構成される部分の、流路管3の短手方向における一方側の表面において、一方側の最も外側に位置する部分と、他方側の最も外側に位置する部分との間の、流路管3の短手方向における距離をd3とすると、d3=d1とされ、距離d3は距離d2よりも大きくされている。また、流路管3の短手方向の他方側の表面についても同様である。
本実施形態においても、開口部36が形成されているため、図17の矢印A5で示す蛇行流れの一部が、矢印A6で示すように、開口部36が形成されていない場合に剥離が発生する部分に流れ込み、この部分における剥離の発生が抑制される。図17の領域R9は、本実施形態において剥離が発生する部分であり、開口部36が形成されていない場合に剥離が発生する領域R5よりも小さい。これにより、第1実施形態と同様に、熱交換器の熱性能を向上させることができる。
また、本実施形態では、流路管3における熱媒体の流路を長くして局所的な流速を増加させることにより熱交換器の熱性能を向上させるというウェーブフィンの効果を、さらに高めることができる。
例えば、実開昭54−115654号公報に記載の熱交換器では、伝熱効果の向上のために、フィンに切り起こし部を設けて乱流促進を図っている。しかし、この熱交換器では、蛇行する冷媒流れを逃がす形に切り起こし部が形成され、ウェーブフィンの特徴である蛇行流れを崩す形となっているため、局所流速の増速による伝熱促進効果が得られない。
これに対し、本実施形態では、凸部340d、凹部340eに形成された開口部36に対応する案内壁37が、それぞれ、凸部340d、凹部340eの凸の側に壁面部340cから突出している。また、案内壁37は、壁面部340cと案内壁37とで構成される部分のうち、インナーフィン34の厚み方向に垂直な少なくとも一部の断面において、距離d1、d3が、距離d2よりも大きくなるように配置されている。
これにより、熱媒体の蛇行流れの深さが案内壁37が形成されていない場合に比べて大きくなっている。つまり、インナーフィン34の寸法、インナーフィン34を通過する熱媒体の流量を一定とした場合、本実施形態では、蛇行流れを深くし、実質的に流路を長くして、局所的な流速を増加させ、熱交換器の熱性能をさらに向上させることができる。
(第3実施形態)
本発明の第3実施形態について説明する。本実施形態は、第1実施形態に対して熱媒体の流れの向きを変更したものであり、その他に関しては第1実施形態と同様であるため、第1実施形態と異なる部分についてのみ説明する。
図18に示すように、本実施形態では、第1実施形態とは逆の向きに熱媒体が流れている。つまり、本実施形態では、案内壁37は、壁面部340cの開口部36の周りの端部のうち、開口部36により連結される2つの細流路のうち一方の細流路における熱媒体の流れの上流側に接続され、壁面部340cから一方の細流路に突出しており、先端が熱媒体の流れの下流側に対向している。
このような構成では、図19の矢印A9で示すように、熱媒体が開口部36を通って領域R4から領域R3に流れ込み、第1実施形態と同様に、熱媒体の速度分布と温度分布が改善される。これにより、図18、図19に示すように、本実施形態において剥離が発生する領域R10、R11は、開口部36が形成されていない場合に剥離が発生する領域R5、R7よりも小さくなる。このように、本実施形態においても、剥離の発生を抑制し、熱交換器の熱性能を向上させることができる。
また、本実施形態では、図18の矢印A7で示す本流が、矢印A8で示す分流によりカーブの外側へ引っ張られて、第1実施形態よりも蛇行流れが深くなる。したがって、局所的な流速の増加により、熱交換器の熱性能をさらに向上させることができる。
(第4実施形態)
本発明の第4実施形態について説明する。本実施形態は、第2実施形態に対して熱媒体の流れの向きを変更したものであり、その他に関しては第2実施形態と同様であるため、第2実施形態と異なる部分についてのみ説明する。
図20に示すように、本実施形態では、第2実施形態とは逆の向きに熱媒体が流れ、案内壁37の先端は、熱媒体の流れの下流側に対向している。
このような構成の本実施形態では、図20の矢印A10で示す本流が、矢印A11で示す分流によりカーブの外側へ引っ張られて、第2実施形態よりも蛇行流れが深くなる。これにより、本実施形態において剥離が発生する領域R12は、第2実施形態において剥離が発生する領域R9よりも小さくなる。また、蛇行流れが深くなることにより、局所的な流速が増加する。したがって、熱交換器の熱性能をさらに向上させることができる。
(他の実施形態)
なお、本発明は上記した実施形態に限定されるものではなく、特許請求の範囲に記載した範囲内において適宜変更が可能である。
また、上記第1、第2実施形態の図7、図15では、すべての壁面部340cに開口部36を形成しているが、一部の壁面部340cにのみ開口部36を形成してもよい。例えば、図21、図22に示すように、開口部36が形成された壁面部340cと、開口部36が形成されていない壁面部340cとが交互に並んでいてもよい。
また、上記第1実施形態では、領域R1および領域R2に開口部36を形成したが、領域R1のみ、または、領域R2のみに開口部36を形成してもよい。また、開口部36を、領域R1および領域R2に形成するか、領域R1のみに形成するか、領域R2のみに形成するかを、複数の壁面部340cそれぞれで変化させてもよい。例えば、図23に示すように、開口部36が領域R1のみに形成された壁面部340cと、領域R2のみに形成された壁面部340cとが交互に並んでいてもよい。
また、上記第2実施形態では、凸部340dおよび凹部340eに開口部36を形成したが、凸部340dのみ、または、凹部340eのみに開口部36を形成してもよい。また、開口部36を、凸部340dおよび凹部340eに形成するか、凸部340dのみに形成するか、凹部340eのみに形成するかを、複数の壁面部340cそれぞれで変化させてもよい。例えば、図24に示すように、開口部36が凸部340dのみに形成された壁面部340cと、凹部340eのみに形成された壁面部340cとが交互に並んでいてもよい。
また、上記第1実施形態では、流路管3は、一対の外殻プレート31、32と、中間プレート33とを有しているが、流路管3が、中間プレート33を有していなくてもよい。また、流路管3にインナーフィン34が1つのみ配置されていてもよい。
また、上記第1実施形態では、案内壁37が領域R3に突出し、熱媒体を隣の細流路の領域R4に案内しているが、案内壁37の一部が、領域R4に突出し、熱媒体を隣の細流路の領域R3に案内していてもよい。この場合、開口部36のうち、隣り合う2つの細流路のうち案内壁37が突出している一方の細流路の領域R3と他方の細流路の領域R4とを連結する部分の面積は、一方の細流路の領域R4と他方の細流路の領域R3とを連結する部分の面積よりも大きくされている。つまり、分流の領域R3における流路断面積は、領域R4における流路断面積よりも大きくされており、分流の流路断面の幾何学中心P1は、領域R3に存在する。
また、開口部36および案内壁37の形状を、上記第1〜第4実施形態とは異なる形状としてもよい。ただし、隣り合う2つの流路管3の間に形成される隙間に電子部品2を配設して積層型熱交換器1を構成することにより、流路管3には積層方向の外側から力が加わる。このとき、例えば図25に示すように案内壁37が屈曲した形状とされていると、屈曲部37aに応力が集中するため、インナーフィン34および流路管3が変形しやすくなる。したがって、開口部36および案内壁37の形状を、案内壁37に応力が集中しにくい形状とし、案内壁37の座屈強度を高めることが好ましい。例えば、上記第1〜第4実施形態のように開口部36の断面形状を三角形状とし、あるいは、図26に示すように開口部36の断面形状を台形状とし、案内壁37の流路管3の長手方向に垂直な断面形状を、頂部340aと底部340bとを接続する直線状とすることが好ましい。
また、上記第2、第4実施形態において、凸部340dおよび凹部340eの形状を他の形状としてもよい。例えば、図27に示すように、流路管3の厚み方向に垂直な断面において、凸部340dのうち開口部36の両側に位置する部分の形状がそれぞれ直線状とされ、中間部340fと共に平坦な面を形成していてもよい。
ただし、上記第2、第4実施形態の効果を高めるためには、熱媒体が隣の細流路へ滑らかに流れ込むことが好ましい。そのため、上記第2、第4実施形態のように、凸部340dの開口部36の周りの端部のうち案内壁37とは反対側の端部から中間部340fに至る部分の流路管3の厚み方向に垂直な断面形状を、凸部340dの凸の側に向かって凸となるように丸みを帯びた形状とすることが好ましい。これにより、図28の矢印A12で示すように、熱媒体が隣の細流路へ滑らかに流れ込む。また、凹部340eの開口部36の周りの端部のうち案内壁37とは反対側の端部から中間部340fに至る部分の流路管3の厚み方向に垂直な断面形状を、凹部340eの凸の側に向かって凸となるように丸みを帯びた形状とすることが好ましい。
また、上記第2、第4実施形態の効果を高めるためには、開口部36の幅が大きいことが好ましい。これについて、上記第2、第4実施形態では、凸部340d、凹部340eから中間部340fに至る部分の丸みを帯びた形状により、開口部36の幅w7が、図27での開口部36の幅w6に比べて大きくされており、上記の効果を高めることができる。
また、上記各実施形態は、互いに無関係なものではなく、組み合わせが明らかに不可な場合を除き、適宜組み合わせが可能である。
例えば、インナーフィン34が、上記第1実施形態における開口部36が形成され、案内壁37が接続された壁面部340cと、上記第2実施形態における開口部36が形成され、案内壁37が接続された壁面部340cとを有していてもよい。また、1つの壁面部340cに、上記第1実施形態における開口部36が形成され、案内壁37が接続され、上記第2実施形態における開口部36が形成され、案内壁37が接続されていてもよい。
3 流路管
34 インナーフィン
340c 壁面部
340d 凸部
340e 凹部
340f 中間部
36 開口部
37 案内壁

Claims (12)

  1. 扁平形状に形成され、熱交換対象物と熱交換する熱媒体が内部を流通する流路管(3)と、
    前記流路管の内部に配置され、熱交換対象物と熱媒体との伝熱面積を増大させる板状のインナーフィン(34)と、を備え、
    前記インナーフィンは、前記熱媒体が流通する主流路を複数の細流路に分割するウェーブフィン(340c)と、前記ウェーブフィンに接続された案内壁(37)とを有し、
    前記ウェーブフィンは、前記流路管の長手方向であるx方向に垂直でかつ前記流路管の厚み方向であるz方向に垂直なy方向の一方側に向かって凸の形状とされた第1凸部(340d)と、前記y方向の他方側に向かって凸の形状とされた第2凸部(340e)とが中間部(340f)を介して交互に並ぶことにより、前記z方向に垂直な断面形状が波形状とされており、
    前記ウェーブフィンに、前記複数の細流路のうち前記ウェーブフィンを挟んで隣り合う2つの細流路を連結する開口部(36)が形成されており、
    前記案内壁は、前記ウェーブフィンの前記開口部の周りの端部のうち、前記2つの細流路のうち一方の細流路における前記熱媒体の流れの下流側に位置する部分に接続され、前記ウェーブフィンから前記一方の細流路に突出し、先端が前記一方の細流路における前記熱媒体の流れの上流側に対向しているか、または、前記ウェーブフィンの前記開口部の周りの端部のうち、前記一方の細流路における前記熱媒体の流れの上流側に位置する部分に接続され、前記ウェーブフィンから前記一方の細流路に突出し、先端が前記一方の細流路における前記熱媒体の流れの下流側に対向している熱交換器。
  2. 前記一方の細流路において、前記熱媒体が前記案内壁の先端に対向する向きに流れる場合に、前記熱媒体が前記第1凸部から前記第2凸部に向かって流れる領域(R1)では、前記案内壁が前記ウェーブフィンから前記他方側に突出している請求項1に記載の熱交換器。
  3. 前記一方の細流路において、前記熱媒体が前記案内壁の先端に対向する向きに流れる場合に、前記熱媒体が前記第2凸部から前記第1凸部に向かって流れる領域(R2)では、前記案内壁が前記ウェーブフィンから前記一方側に突出している請求項1に記載の熱交換器。
  4. 前記開口部が前記第1凸部に形成されており、
    前記ウェーブフィンのうち連続するそれぞれ1つの前記第1凸部、前記中間部、前記第2凸部に含まれる部分と、該第1凸部に接続された前記案内壁とで構成される部分の、前記一方側の表面において、前記一方側の最も外側に位置する部分と、前記他方側の最も外側に位置する部分との間の、前記y方向における距離をd1とし、
    前記ウェーブフィンのうち連続するそれぞれ1つの前記第1凸部、前記中間部、前記第2凸部に含まれる部分の、前記一方側の表面において、前記一方側の最も外側に位置する部分と、前記他方側の最も外側に位置する部分との間の、前記y方向における距離をd2としたとき、
    前記案内壁が前記ウェーブフィンから前記一方側に突出することにより、前記距離d1が前記距離d2よりも大きくされている請求項1ないし3のいずれか1つに記載の熱交換器。
  5. 前記第1凸部の前記開口部の周りの端部のうち前記案内壁とは反対側の端部から前記中間部に至る部分の前記z方向に垂直な断面形状が、前記一方側に向かって凸となるように丸みを帯びた形状とされている請求項4に記載の熱交換器。
  6. 前記開口部が前記第2凸部に形成されており、
    前記ウェーブフィンのうち連続するそれぞれ1つの前記第1凸部、前記中間部、前記第2凸部に含まれる部分と、該第2凸部に接続された前記案内壁とで構成される部分の、前記一方側の表面において、前記一方側の最も外側に位置する部分と、前記他方側の最も外側に位置する部分との間の、前記y方向における距離をd3とし、
    前記ウェーブフィンのうち連続するそれぞれ1つの前記第1凸部、前記中間部、前記第2凸部に含まれる部分の、前記一方側の表面において、前記一方側の最も外側に位置する部分と、前記他方側の最も外側に位置する部分との間の、前記y方向における距離をd4としたとき、
    前記案内壁が前記ウェーブフィンから前記他方側に突出することにより、前記距離d3が前記距離d4よりも大きくされている請求項1ないし5のいずれか1つに記載の熱交換器。
  7. 前記第2凸部の前記開口部の周りの端部のうち前記案内壁とは反対側の端部から前記中間部に至る部分の前記z方向に垂直な断面形状が、前記他方側に向かって凸となるように丸みを帯びた形状とされている請求項6に記載の熱交換器。
  8. 前記2つの細流路それぞれにおいて、前記y方向における細流路の幅が前記z方向において変化することにより、所定の幅よりも幅が狭い第1領域(R3)と、前記所定の幅よりも幅が広い第2領域(R4)とが形成されており、
    前記案内壁が、前記一方の細流路の前記第1領域に突出しており、
    前記開口部が、該一方の細流路の前記第1領域と、前記2つの細流路のうち他方の細流路の前記第2領域とを連結している請求項1ないし7のいずれか1つに記載の熱交換器。
  9. 前記案内壁が、前記一方の細流路の前記第1領域および前記第2領域に突出しており、
    前記開口部が、該一方の細流路の前記第1領域と、前記他方の細流路の前記第2領域とを連結するとともに、該一方の細流路の前記第2領域と、該他方の細流路の前記第1領域とを連結しており、
    前記開口部のうち、該一方の細流路の前記第1領域と該他方の細流路の前記第2領域とを連結する部分の面積は、該一方の細流路の前記第2領域と該他方の細流路の前記第1領域とを連結する部分の面積よりも大きくされている請求項8に記載の熱交換器。
  10. 前記インナーフィンが、前記ウェーブフィンと、前記z方向の一方の向きに凸の形状とされた頂部(340a)と、他方の向きに凸の形状とされた底部(340b)とをそれぞれ複数有し、前記頂部と前記底部とが前記ウェーブフィンを介して交互に並ぶことにより、前記x方向に垂直な断面形状が波形状とされている請求項1ないし9のいずれか1つに記載の熱交換器。
  11. 前記案内壁の前記x方向に垂直な断面形状が、前記頂部と前記底部とを接続する直線状とされている請求項10に記載の熱交換器。
  12. 前記流路管が、対向する2つの外殻プレート(31、32)と、前記2つの外殻プレートの間において、前記2つの外殻プレートと対向するように配置された中間プレート(33)と、を有し、前記インナーフィンが、前記2つの外殻プレートの一方と前記中間プレートとの間に配置されている請求項1ないし11のいずれか1つに記載の熱交換器。
JP2016051273A 2015-04-17 2016-03-15 熱交換器 Active JP6327271B2 (ja)

Priority Applications (4)

Application Number Priority Date Filing Date Title
DE112016001793.6T DE112016001793T5 (de) 2015-04-17 2016-04-11 Wärmetauscher
US15/566,589 US10107553B2 (en) 2015-04-17 2016-04-11 Heat exchanger
PCT/JP2016/001972 WO2016166963A1 (ja) 2015-04-17 2016-04-11 熱交換器
CN201680021947.8A CN107532865B (zh) 2015-04-17 2016-04-11 热交换器

Applications Claiming Priority (2)

Application Number Priority Date Filing Date Title
JP2015085241 2015-04-17
JP2015085241 2015-04-17

Publications (3)

Publication Number Publication Date
JP2016205802A true JP2016205802A (ja) 2016-12-08
JP2016205802A5 JP2016205802A5 (ja) 2017-07-27
JP6327271B2 JP6327271B2 (ja) 2018-05-23

Family

ID=57487645

Family Applications (1)

Application Number Title Priority Date Filing Date
JP2016051273A Active JP6327271B2 (ja) 2015-04-17 2016-03-15 熱交換器

Country Status (4)

Country Link
US (1) US10107553B2 (ja)
JP (1) JP6327271B2 (ja)
CN (1) CN107532865B (ja)
DE (1) DE112016001793T5 (ja)

Cited By (12)

* Cited by examiner, † Cited by third party
Publication number Priority date Publication date Assignee Title
WO2019009235A1 (ja) * 2017-07-03 2019-01-10 国立研究開発法人宇宙航空研究開発機構 燃焼室の冷却機構
JP2019029412A (ja) * 2017-07-26 2019-02-21 株式会社デンソー 熱交換器
US20190162483A1 (en) * 2017-11-29 2019-05-30 Honda Motor Co., Ltd. Cooling apparatus
WO2019198368A1 (ja) * 2018-04-09 2019-10-17 株式会社デンソー 熱交換器
JP2019216177A (ja) * 2018-06-12 2019-12-19 株式会社Soken 部品冷却装置
JP2020061425A (ja) * 2018-10-08 2020-04-16 株式会社デンソー ウェーブフィンおよび熱交換器
WO2020100687A1 (ja) * 2018-11-13 2020-05-22 株式会社デンソー 熱交換器
JP2020079693A (ja) * 2018-11-13 2020-05-28 株式会社デンソー 熱交換器
JP2020155734A (ja) * 2019-03-22 2020-09-24 トヨタ自動車株式会社 冷却器
WO2021166482A1 (ja) * 2020-02-18 2021-08-26 株式会社デンソー 熱交換器
JP2023011369A (ja) * 2021-07-12 2023-01-24 昭和電工株式会社 冷却装置の製造方法、冷却装置
JP2023076552A (ja) * 2018-11-22 2023-06-01 株式会社Soken 電子部品冷却装置

Families Citing this family (11)

* Cited by examiner, † Cited by third party
Publication number Priority date Publication date Assignee Title
JP6627720B2 (ja) * 2016-11-04 2020-01-08 株式会社デンソー 積層型熱交換器
WO2018230431A1 (ja) * 2017-06-12 2018-12-20 株式会社デンソー 熱交換器およびコルゲートフィン
DE112018006027T5 (de) 2017-11-27 2020-09-17 Dana Canada Corporation Verbesserte wärmeübertragungsfläche
JP2020012589A (ja) * 2018-07-18 2020-01-23 本田技研工業株式会社 熱交換器
DE102018217652A1 (de) * 2018-10-15 2020-04-16 Danfoss Silicon Power Gmbh Strömungsverteiler zum Kühlen einer elektrischen Baugruppe, ein Halbleitermodul mit einem derartigen Strömungsverteiler und ein Verfahren zu dessen Herstellung
CN109612311A (zh) * 2019-01-17 2019-04-12 广东环葆嘉节能科技有限公司 一种换热组件及换热器
WO2021199407A1 (ja) * 2020-04-02 2021-10-07 三菱電機株式会社 伝熱板および熱交換素子
JP7613948B2 (ja) 2021-03-01 2025-01-15 株式会社Kelk 処理液温調装置
US11940232B2 (en) * 2021-04-06 2024-03-26 General Electric Company Heat exchangers including partial height fins having at least partially free terminal edges
CN113783086B (zh) * 2021-09-27 2025-03-21 北京热刺激光技术有限责任公司 散热组件及光纤激光器
US12405064B2 (en) * 2022-11-04 2025-09-02 Honeywell International Inc. Heat exchanger including cross channel communication

Citations (6)

* Cited by examiner, † Cited by third party
Publication number Priority date Publication date Assignee Title
JPS63189784A (ja) * 1987-01-14 1988-08-05 マーストン・パルマー・リミテッド 熱交換器
JP2002350083A (ja) * 2001-05-22 2002-12-04 Calsonic Kansei Corp 熱交換器用インナーフィン
JP2003042677A (ja) * 2001-07-27 2003-02-13 Calsonic Kansei Corp 熱交換器用インナーフィン
JP2003106785A (ja) * 2001-07-25 2003-04-09 Denso Corp 排気熱交換装置
JP2005337609A (ja) * 2004-05-27 2005-12-08 Denso Corp 熱交換器
JP2006105577A (ja) * 2004-09-08 2006-04-20 Usui Kokusai Sangyo Kaisha Ltd フィン構造体および該フィン構造体を内装した伝熱管並びに該伝熱管を組込んだ熱交換器

Family Cites Families (35)

* Cited by examiner, † Cited by third party
Publication number Priority date Publication date Assignee Title
US3473210A (en) * 1967-01-19 1969-10-21 United Aircraft Prod Method of making a heat exchanger
JPS54115654U (ja) 1978-02-02 1979-08-14
JPS6012088U (ja) * 1983-06-30 1985-01-26 カルソニックカンセイ株式会社 熱交換器
US4621687A (en) * 1984-10-11 1986-11-11 Nihon Radiator Co., Ltd. Flat tube heat exchanger having corrugated fins with louvers
JPS6256786A (ja) * 1985-09-06 1987-03-12 Hitachi Ltd 熱交換器
JPH0674677A (ja) * 1992-08-27 1994-03-18 Mitsubishi Heavy Ind Ltd 積層型熱交換器の製造方法
JP2604049Y2 (ja) * 1993-10-29 2000-04-10 株式会社テネックス 熱交換器の伝熱フィン
US5722485A (en) * 1994-11-17 1998-03-03 Lennox Industries Inc. Louvered fin heat exchanger
US5752567A (en) * 1996-12-04 1998-05-19 York International Corporation Heat exchanger fin structure
FR2757259B1 (fr) * 1996-12-18 1999-03-05 Valeo Thermique Moteur Sa Ailette metallique perfectionnee pour echangeur de chaleur, notamment pour vehicule automobile
JP3823584B2 (ja) * 1999-02-15 2006-09-20 日産自動車株式会社 熱交換器
US6883598B2 (en) * 1999-03-16 2005-04-26 Outokumpu Oyj Cooling element for a heat exchanger
US6401809B1 (en) * 1999-12-10 2002-06-11 Visteon Global Technologies, Inc. Continuous combination fin for a heat exchanger
US20040173344A1 (en) * 2001-05-18 2004-09-09 David Averous Louvered fins for heat exchanger
US6805193B2 (en) * 2002-01-24 2004-10-19 Valeo, Inc. Fin louver design for heat exchanger
DE102004012796A1 (de) * 2003-03-19 2004-11-11 Denso Corp., Kariya Wärmetauscher und Wärmeübertragungselement mit symmetrischen Winkelabschnitten
DE102004057526B4 (de) * 2003-12-03 2020-08-20 Denso Corporation Stapelkühler
DE102004001306A1 (de) * 2004-01-07 2005-08-04 Behr Gmbh & Co. Kg Wärmeübertrager
FR2867697B1 (fr) * 2004-03-16 2007-06-01 Air Liquide Structure de garnissage ondule-croise
US20060219396A1 (en) * 2005-04-04 2006-10-05 Denso Corporation Lamination-type cooler
US20070240865A1 (en) * 2006-04-13 2007-10-18 Zhang Chao A High performance louvered fin for heat exchanger
CN201066252Y (zh) * 2007-06-18 2008-05-28 深圳市华阳通科技发展有限公司 一种带有翅片的热交换器
US20090173479A1 (en) * 2008-01-09 2009-07-09 Lin-Jie Huang Louvered air center for compact heat exchanger
JP2009204182A (ja) * 2008-02-26 2009-09-10 Denso Corp 熱交換器
JP5320846B2 (ja) * 2008-06-20 2013-10-23 ダイキン工業株式会社 熱交換器
CN101846479B (zh) * 2009-03-25 2012-02-22 三花丹佛斯(杭州)微通道换热器有限公司 用于换热器的翅片以及采用该翅片的换热器
US20120043064A1 (en) * 2009-04-28 2012-02-23 Mitsubishi Electric Corporation Total heat exchange element
JP5545260B2 (ja) 2010-05-21 2014-07-09 株式会社デンソー 熱交換器
CN101865625B (zh) * 2010-06-29 2012-09-05 三花丹佛斯(杭州)微通道换热器有限公司 翅片和具有该翅片的换热器
JP5609339B2 (ja) * 2010-07-09 2014-10-22 株式会社デンソー オイルクーラ
JP2012026407A (ja) * 2010-07-27 2012-02-09 Denso Corp インタークーラ
JP5983565B2 (ja) * 2013-08-30 2016-08-31 株式会社デンソー 冷却器
CN203719507U (zh) * 2013-12-27 2014-07-16 无锡佳龙换热器股份有限公司 一种低阻力翅片
US9960100B2 (en) * 2014-03-20 2018-05-01 Fuji Electric Co., Ltd Cooler and semiconductor module using same
JP5884055B2 (ja) 2014-05-09 2016-03-15 パナソニックIpマネジメント株式会社 熱交換器および熱交換器用オフセットフィン

Patent Citations (6)

* Cited by examiner, † Cited by third party
Publication number Priority date Publication date Assignee Title
JPS63189784A (ja) * 1987-01-14 1988-08-05 マーストン・パルマー・リミテッド 熱交換器
JP2002350083A (ja) * 2001-05-22 2002-12-04 Calsonic Kansei Corp 熱交換器用インナーフィン
JP2003106785A (ja) * 2001-07-25 2003-04-09 Denso Corp 排気熱交換装置
JP2003042677A (ja) * 2001-07-27 2003-02-13 Calsonic Kansei Corp 熱交換器用インナーフィン
JP2005337609A (ja) * 2004-05-27 2005-12-08 Denso Corp 熱交換器
JP2006105577A (ja) * 2004-09-08 2006-04-20 Usui Kokusai Sangyo Kaisha Ltd フィン構造体および該フィン構造体を内装した伝熱管並びに該伝熱管を組込んだ熱交換器

Cited By (26)

* Cited by examiner, † Cited by third party
Publication number Priority date Publication date Assignee Title
WO2019009235A1 (ja) * 2017-07-03 2019-01-10 国立研究開発法人宇宙航空研究開発機構 燃焼室の冷却機構
JP2019029412A (ja) * 2017-07-26 2019-02-21 株式会社デンソー 熱交換器
US20190162483A1 (en) * 2017-11-29 2019-05-30 Honda Motor Co., Ltd. Cooling apparatus
JP2019102505A (ja) * 2017-11-29 2019-06-24 本田技研工業株式会社 冷却装置
CN109990639A (zh) * 2017-11-29 2019-07-09 本田技研工业株式会社 冷却装置
DE112019001845B4 (de) * 2018-04-09 2024-03-07 Denso Corporation Wärmetauscher
WO2019198368A1 (ja) * 2018-04-09 2019-10-17 株式会社デンソー 熱交換器
JP2019216177A (ja) * 2018-06-12 2019-12-19 株式会社Soken 部品冷却装置
JP7002410B2 (ja) 2018-06-12 2022-02-04 株式会社Soken 部品冷却装置
JP2020061425A (ja) * 2018-10-08 2020-04-16 株式会社デンソー ウェーブフィンおよび熱交換器
JP7151352B2 (ja) 2018-10-08 2022-10-12 株式会社デンソー ウェーブフィンおよび熱交換器
JP2020079693A (ja) * 2018-11-13 2020-05-28 株式会社デンソー 熱交換器
US12163744B2 (en) 2018-11-13 2024-12-10 Denso Corporation Heat exchanger
WO2020100687A1 (ja) * 2018-11-13 2020-05-22 株式会社デンソー 熱交換器
JP7480487B2 (ja) 2018-11-13 2024-05-10 株式会社デンソー 熱交換器
JP7503681B2 (ja) 2018-11-22 2024-06-20 株式会社Soken 電子部品冷却装置
JP2023076552A (ja) * 2018-11-22 2023-06-01 株式会社Soken 電子部品冷却装置
JP2020155734A (ja) * 2019-03-22 2020-09-24 トヨタ自動車株式会社 冷却器
JP2021131168A (ja) * 2020-02-18 2021-09-09 株式会社デンソー 熱交換器
KR20220127298A (ko) * 2020-02-18 2022-09-19 가부시키가이샤 덴소 열교환기
JP7532799B2 (ja) 2020-02-18 2024-08-14 株式会社デンソー 熱交換器
WO2021166482A1 (ja) * 2020-02-18 2021-08-26 株式会社デンソー 熱交換器
KR102759214B1 (ko) * 2020-02-18 2025-01-24 가부시키가이샤 덴소 열교환기
US12215931B2 (en) 2020-02-18 2025-02-04 Denso Corporation Heat exchanger
JP2023011369A (ja) * 2021-07-12 2023-01-24 昭和電工株式会社 冷却装置の製造方法、冷却装置
JP7707706B2 (ja) 2021-07-12 2025-07-15 株式会社レゾナック 冷却装置の製造方法、冷却装置

Also Published As

Publication number Publication date
CN107532865A (zh) 2018-01-02
US20180112933A1 (en) 2018-04-26
JP6327271B2 (ja) 2018-05-23
US10107553B2 (en) 2018-10-23
DE112016001793T5 (de) 2017-12-28
CN107532865B (zh) 2019-08-20

Similar Documents

Publication Publication Date Title
JP6327271B2 (ja) 熱交換器
JP6512266B2 (ja) 半導体装置
JP5983565B2 (ja) 冷却器
JP5157681B2 (ja) 積層型冷却器
CN109479385B (zh) 层叠型散热器的芯
JP6439485B2 (ja) 熱交換器
WO2016166963A1 (ja) 熱交換器
JP4941398B2 (ja) 積層型冷却器
JP6614068B2 (ja) 熱交換器
JP5316470B2 (ja) 積層型熱交換器
JP6926777B2 (ja) 熱交換器
JP7000777B2 (ja) 熱交換器
JP4522725B2 (ja) ヒートシンク
JP2020004766A (ja) 冷却器
JP2011247432A (ja) 積層型熱交換器
JP2011242089A (ja) 積層型熱交換器
JP5382185B2 (ja) 積層型冷却器
JP7736658B2 (ja) 熱交換器
JP7431719B2 (ja) パワーデバイス用冷却器
JP2011243693A (ja) 積層型熱交換器
JP4983664B2 (ja) 冷却装置
JP2020088357A (ja) 熱交換器
JP2018093115A (ja) 冷却器
JP2018125391A (ja) 熱交換器
JP2011165957A (ja) 積層型冷却器

Legal Events

Date Code Title Description
A521 Request for written amendment filed

Free format text: JAPANESE INTERMEDIATE CODE: A523

Effective date: 20170615

A621 Written request for application examination

Free format text: JAPANESE INTERMEDIATE CODE: A621

Effective date: 20170615

TRDD Decision of grant or rejection written
A01 Written decision to grant a patent or to grant a registration (utility model)

Free format text: JAPANESE INTERMEDIATE CODE: A01

Effective date: 20180320

A61 First payment of annual fees (during grant procedure)

Free format text: JAPANESE INTERMEDIATE CODE: A61

Effective date: 20180402

R151 Written notification of patent or utility model registration

Ref document number: 6327271

Country of ref document: JP

Free format text: JAPANESE INTERMEDIATE CODE: R151

R250 Receipt of annual fees

Free format text: JAPANESE INTERMEDIATE CODE: R250

R250 Receipt of annual fees

Free format text: JAPANESE INTERMEDIATE CODE: R250

R250 Receipt of annual fees

Free format text: JAPANESE INTERMEDIATE CODE: R250

R250 Receipt of annual fees

Free format text: JAPANESE INTERMEDIATE CODE: R250

R250 Receipt of annual fees

Free format text: JAPANESE INTERMEDIATE CODE: R250