JP2015190332A - 軸流送風機、換気装置及び冷凍サイクル装置 - Google Patents

軸流送風機、換気装置及び冷凍サイクル装置 Download PDF

Info

Publication number
JP2015190332A
JP2015190332A JP2014066296A JP2014066296A JP2015190332A JP 2015190332 A JP2015190332 A JP 2015190332A JP 2014066296 A JP2014066296 A JP 2014066296A JP 2014066296 A JP2014066296 A JP 2014066296A JP 2015190332 A JP2015190332 A JP 2015190332A
Authority
JP
Japan
Prior art keywords
edge
axial
outer peripheral
radius
blade
Prior art date
Legal status (The legal status is an assumption and is not a legal conclusion. Google has not performed a legal analysis and makes no representation as to the accuracy of the status listed.)
Granted
Application number
JP2014066296A
Other languages
English (en)
Other versions
JP6076286B2 (ja
Inventor
誠治 中島
Seiji Nakajima
誠治 中島
直彦 本間
Naohiko Homma
直彦 本間
Current Assignee (The listed assignees may be inaccurate. Google has not performed a legal analysis and makes no representation or warranty as to the accuracy of the list.)
Mitsubishi Electric Corp
Original Assignee
Mitsubishi Electric Corp
Priority date (The priority date is an assumption and is not a legal conclusion. Google has not performed a legal analysis and makes no representation as to the accuracy of the date listed.)
Filing date
Publication date
Application filed by Mitsubishi Electric Corp filed Critical Mitsubishi Electric Corp
Priority to JP2014066296A priority Critical patent/JP6076286B2/ja
Publication of JP2015190332A publication Critical patent/JP2015190332A/ja
Application granted granted Critical
Publication of JP6076286B2 publication Critical patent/JP6076286B2/ja
Expired - Fee Related legal-status Critical Current
Anticipated expiration legal-status Critical

Links

Images

Landscapes

  • Structures Of Non-Positive Displacement Pumps (AREA)

Abstract

【課題】低騒音の軸流送風機等を提供する。【解決手段】軸心まわりに回転するボス2と、内周縁31、外周縁32、前縁33及び後縁34により囲繞される複数枚の翼3とを有する羽根車1を備え、軸心を中心としてボス2の半径をRb及び翼3の外周縁32の半径をRtとし、Rb<Rm1<Rtを満たす半径Rm1及びRb<Rm2<Rtを満たす半径Rm2を定義したとき、前縁33において軸心との距離R1がRb<R1<Rm1となる部分と、後縁34において軸心との距離R2がRb<R2<Rm2となる部分とは、それぞれ、外周側ほど反回転方向に後退し、回転方向に凸となる曲線で構成され、前縁33においてRm1<R1<Rtとなる部分と、後縁34においてRm2<R2<Rtとなる部分とは、それぞれ、外周側ほど回転方向に前進し、反回転方向に凸となる曲線で構成されている。【選択図】図2

Description

本発明は、例えば冷凍サイクル装置(空気調和装置)、換気装置などに用いられる軸流送風機などに関するものである。
回転軸を中心に翼を回転させて送風などを行う軸流送風機において、これまでに、騒音を低減させる技術としては、以下のようなものが知られる。例えば、翼とボス部が一体成形された送風用ファンにおいて、翼根元部の翼前縁と翼後縁とを結ぶ翼弦の中点である翼弦中点より回転軸への垂線に対し、該垂線に直角な面で切断した翼断面における翼弦の中心点を連続的に結んだ翼弦中心線が、翼根元部から翼先端に向かって回転軸の後方及び回転方向後方へ一旦後退した後、再び前記垂線に対して、回転軸の前方及び回転方向前方へ転向する形状としたものなどである(例えば特許文献1)。
特開平04−175499号公報(第4頁 図1)
上記の先行技術では、翼弦中心線で翼の形状を定義している。このため、翼内周側で気流が翼外周側へ逃げることにより生じる死水域を十分に抑制することができず、騒音が十分に低減できないという問題がある。
本発明は、かかる問題を解決するためになされたものであり、低騒音な軸流送風機などを提供することを目的とする。
本発明に係る軸流送風機は、軸心まわりに回転するボスと、ボスの外周部に配設され、内周縁、外周縁、前縁及び後縁により囲繞される複数枚の翼とを有する羽根車を備える軸流送風機であって、軸心を中心としてボスの半径をRb及び翼の外周縁の半径をRtとし、Rb<Rm1<Rtを満たす半径Rm1及びRb<Rm2<Rtを満たす半径Rm2を定義したとき、前縁において軸心との距離R1がRb<R1<Rm1となる部分と、後縁において軸心との距離R2がRb<R2<Rm2となる部分とは、それぞれ、外周側ほど反回転方向に後退し、回転方向に凸となる曲線で構成され、前縁においてRm1<R1<Rtとなる部分と、後縁においてRm2<R2<Rtとなる部分とは、それぞれ、外周側ほど回転方向に前進し、かつ、反回転方向に凸となる曲線で構成されている。
本発明の軸流送風機によれば、前縁のRb<R1<Rm1となる部分、後縁のRb<R2<Rm2となる部分が、それぞれ、外周側ほど反回転方向に後退し、回転方向に凸となる曲線で構成されていることにより、前縁から流入する気流が内周向きに維持されて気流が外周側へ逃げるのを抑制することができ、死水域の発生を抑制することができる。また、前縁のRm1<R<Rtとなる部分、後縁のRm2<R2<Rtとなる部分が、それぞれ、外周側ほど回転方向に前進し、反回転方向に凸となる曲線で構成されていることにより、翼の外周縁と前縁の交点の形状を鋭利にでき、翼に流入する気流の抵抗を低減できることにより流速が速い外周側の流れを安定化させることができる。このため、騒音を低減することができる。
本発明の実施の形態1に係る軸流送風機の羽根車1の斜視図である。 本発明の実施の形態1に係る軸流送風機の羽根車1の正面図である。 従来の軸流送風機の羽根車1における空気の流れを示す図である。 本発明の実施の形態1に係る軸流送風機の羽根車1における空気の流れを示す図である。 (Rm−Rb)/(Rt−Rb)の値と騒音差の関係を示すグラフである。 実施の形態2の軸流送風機に係るL1及びL2の寸法を示す図である。 本発明の実施の形態3に係る軸流送風機の羽根車1を示す図である。 本発明の実施の形態4に係る冷凍サイクル装置の構成例を表す図である。
以下、本発明を実施するための形態について、図面を参照して説明する。ここで、参照符号について、図1〜図7において、同一の符号を付したものは、同一又はこれに相当するものであり、このことは、明細書の全文において共通することである。また、各図において複数枚有する翼に関する符号は、代表の1枚にのみ付すものとする。また、発明を実施するための形態及び各図では、一例として翼の枚数が3枚である場合を図示しているが、3枚以外の翼枚数においても本発明の効果は得られる。
実施の形態1.
図1、図2は、本発明の実施の形態1に係る軸流送風機を説明するための図である。具体的には、図1は、本発明の実施の形態1に係る軸流送風機の羽根車1の斜視図である。また、図2は、本発明の実施の形態1に係る軸流送風機の羽根車1の正面図である。図1及び図2に示すように、本発明の実施の形態1に係る軸流送風機の羽根車1は、軸心まわりに回転するボス2と、ボス2の外周部に配設された複数枚の翼3によって構成されている。翼3は内周縁31と外周縁32と前縁33と後縁34に囲繞されている。
図2に示すように、軸心を中心としてボス2の半径をRb、翼3の外周縁32の半径をRtとし、Rb<Rm1<Rtを満たす半径Rm1及びRb<Rm2<Rtを満たす半径Rm2を定義する。このとき、前縁33において軸心との距離R1がRb<R1<Rm1となる部分、後縁34において軸心との距離R2がRb<R2<Rm2となる部分では、それぞれ、外周側ほど反回転方向に後退し、かつ、回転方向に凸となる曲線で構成される。また、Rm1<R<Rtでは前縁が、Rm2<R2<Rtでは後縁が、それぞれ、外周側ほど回転方向に前進し、かつ、反回転方向に凸となる曲線で構成される。
図3は従来の軸流送風機の羽根車1の形状と空気の流れとを示す図である。また、図4は本発明の実施の形態1に係る軸流送風機の羽根車1における空気の流れを示す図である。次に、図1及び図2に示す羽根車1の構成により得られる効果を、図3及び図4を用いて説明する。図3に示すように、従来の軸流送風機は、ボスの壁面に発達する境界層の影響と羽根車の回転による遠心力の影響により、翼の内周側では気流が翼の外周側へ逃げるために死水域が生じ、騒音増加の要因となっていた。
一方、図4に示すように、本発明の実施の形態1に係る軸流送風機では、羽根車1の翼3において、Rb<R1<Rm1で前縁33が外周側ほど反回転方向に後退し、かつ、回転方向に凸となる曲線である。このため、前縁33から流入する気流が内周向きに維持されて気流が外周側へ逃げるのを抑制でき、翼3における空気の下流側での死水域の発生を抑制することができる。また、Rb<R2<Rm2で後縁34が外周側ほど反回転方向に後退し、かつ、回転方向に凸となる曲線である。このため、死水域の発生領域には翼3が存在しなくなり、死水域で生じる流れの変動に起因して翼3から発生する騒音を低減することができる。さらに、Rm1<R1<Rtでは前縁33が、Rm2<R2<Rtでは後縁34がそれぞれ外周側ほど回転方向に前進し、かつ、反回転方向に凸となる曲線で構成されていることにより、翼3の外周縁32と前縁33との交点の形状を鋭利にすることで、翼3に流入する気流の抵抗を低減することができる。このため、流速が速い外周側の流れを安定化させることができる。以上の効果により、軸流送風機を低騒音化することができる。
実施の形態2.
上述の実施の形態1のような構成の軸流送風機の羽根車1により低騒音化を実現することができる。本実施の形態では、より一層の騒音低減を実現するための構成について検討する。
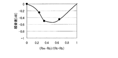
本発明の実施の形態2に係る軸流送風機の羽根車1は、実施の形態1で説明した羽根車1と同様に、軸心まわりに回転するボス2と、ボス2の外周部に配設された複数枚の翼3によって構成されている。翼3は内周縁31と外周縁32と前縁33と後縁34に囲繞されている。ボス2の半径をRb、翼3の外周縁32の半径をRtとし、Rb<Rm1<Rtなる半径Rm1及びRb<Rm2<Rtなる半径Rm2を定義したとき、Rb<R1<Rm1では前縁33が、Rb<R2<Rm2では後縁34がそれぞれ、外周側ほど反回転方向に後退し、かつ、回転方向に凸となる曲線で構成される。また、Rm1<R1<Rtでは前縁33が、Rm2<R2<Rtでは後縁34がそれぞれ、外周側ほど回転方向に前進し、かつ、反回転方向に凸となる曲線で構成されている。さらに、本実施の形態の軸流送風機の羽根車1は、Rm1及びRm2を代表して半径Rmとして表すとき、半径Rmは、0.25 <(Rm−Rb)/(Rt−Rb)< 0.65を満足するように構成するものである。
図5は、(Rm−Rb)/(Rt−Rb)の値と騒音差との関係を示すグラフである。次に、上記のような構成により得られる効果を説明する。ここで、図5に示す騒音差とは、本発明に係る軸流送風機の騒音値から従来の軸流送風機の騒音値を引いた値である。図5に示すのは、Rm1=Rm2=Rmの場合の実験結果である。騒音値は、軸流送風機の軸方向下流側1mの位置にて測定したものである。測定に用いた軸流送風機はRt=125mm、Rb=37.5mm、回転数は900rpm(回転/min)である。
図6は、実施の形態2の軸流送風機に係るL1及びL2の寸法を示す図である。ここで、Rm1及びRm2を変化させるときは、それぞれL1及びL2の寸法を固定している。L1及びL2の寸法はそれぞれ図6に示した寸法である。前縁33及び後縁34の破線で示した部分は従来の軸流送風機の翼における形状を示している。
図5より、0.25<(Rm−Rb)/(Rt−Rb)<0.65の範囲で顕著な騒音低減効果が得られていることが分かる。そこで、本実施の形態のように、羽根車1を0.25<(Rm−Rb)/(Rt−Rb)<0.65を満足するように構成する。これにより、Rb<R1<Rm1では前縁33が、Rb<R2<Rm2では後縁34がそれぞれ、外周側ほど反回転方向に後退し、かつ、回転方向に凸となる曲線であることによる、前縁33から流入する気流が内周向きに維持されて気流が外周側へ逃げるのを抑制でき、かつ、死水域の発生を抑制できる効果を最大限に発揮でき、より一層、騒音を低減することができる。
実施の形態3.
図7は、本発明の実施の形態3に係る軸流送風機の羽根車1を示す図である。本発明の実施の形態3に係る軸流送風機の羽根車1は、実施の形態1で説明した羽根車1と同様に、軸心まわりに回転するボス2と、ボス2の外周部に配設された複数枚の翼3によって構成されている。翼3は内周縁31と外周縁32と前縁33と後縁34に囲繞されている。ボス2の半径をRb、翼3の外周縁32の半径をRtとし、Rb<Rm1<Rtなる半径Rm1及びRb<Rm2<Rtなる半径Rm2を定義したとき、Rb<R1<Rm1では前縁33が、Rb<R2<Rm2では後縁34がそれぞれ、外周側ほど反回転方向に後退し、かつ、回転方向に凸となる曲線で構成される。また、Rm1<R1<Rtでは前縁33が、Rm2<R2<Rtでは後縁34がそれぞれ、外周側ほど回転方向に前進し、かつ、反回転方向に凸となる曲線で構成されている。さらに、本実施の形態の軸流送風機の羽根車1は、図7(a)に示すように、Rm1及びRm2のうち、小さい方をRmmとするとき、図7(b)に示すように、軸心との距離RがRb<R<Rmmにおける翼断面形状を翼型として構成するものである。
次に、上記のような構成により得られる効果を説明する。従来の軸流送風機では、図3に示すように、ボス2の壁面に発達する境界層の影響と羽根車1の回転による遠心力の影響により、翼3の内周側では気流が翼3の外周側へ逃げるために死水域が生じる。このため、前縁33のRb<R1<Rm1となる部分及び後縁34のRb<R2<Rm2となる部分において、空気は翼3の子午面に沿って流れないので、翼3の断面形状を翼型としても、流れのはく離を抑制する効果はほとんどない。しかし、図7に示す、本発明の実施の形態3に係る軸流送風機のような構成にすることにより、前縁33のRb<R1<Rm1となる部分及び後縁34のRb<R2<Rm2となる部分においても気流が翼3の子午面に比較的よく沿って流れる。このため、Rb<R<Rmmとなる部分の翼断面形状を翼型とすることにより、一層、流れのはく離を抑制することができる。このため、軸流送風機をさらに低騒音化することができる。
実施の形態4.
図8は本発明の実施の形態4に係る冷凍サイクル装置の構成例を表す図である。ここで、図8では冷凍サイクル装置として空気調和装置を示している。図8の空気調和装置は、室外機(室外ユニット)100と室内機(室内ユニット)200とをガス冷媒配管300、液冷媒配管400により配管接続する。室外機100は、圧縮機101、四方弁102、室外熱交換器103、膨張弁104及び室外送風機105を有している。また、室内機200は室内熱交換器201を有している。
圧縮機101は、吸入した冷媒を圧縮して吐出する。ここで、特に限定するものではないが、圧縮機101を例えばインバータ回路などにより、運転周波数を任意に変化させることにより、圧縮機101の容量(単位時間あたりの冷媒を送り出す量)を変化させることができるようにしてもよい。四方弁102は、たとえば冷房運転時と暖房運転時とによって冷媒の流れを切り換えるための弁である。
室外熱交換器103は、冷媒と空気(室外の空気)との熱交換を行う。たとえば、暖房運転時においては蒸発器として機能し、冷媒を蒸発させ、気化させる。また、冷房運転時においては凝縮器として機能し、冷媒を凝縮して液化させる。そして、上述した実施の形態1又は実施の形態2で説明した送風機を室外送風機105として用いる。
絞り装置(流量制御手段)などの膨張弁104は冷媒を減圧して膨張させるものである。たとえば電子式膨張弁などで構成した場合には、制御手段(図示せず)などの指示に基づいて開度調整を行う。室内熱交換器201は、例えば空調対象となる空気と冷媒との熱交換を行う。暖房運転時においては凝縮器として機能し、冷媒を凝縮して液化させる。また、冷房運転時においては蒸発器として機能し、冷媒を蒸発させ、気化させる。
以上のように実施の形態4の冷凍サイクル装置によれば、実施の形態1及び実施の形態2で説明した軸流送風機を室外送風機105として用いることで、装置全体として騒音低減をはかることができる。
上述の実施の形態4では冷凍サイクル装置について説明したが、実施の形態1〜実施の形態3の軸流送風機を、例えば換気装置などに用いることができる。
1 羽根車、2 ボス、3 翼、31 内周縁、32 外周縁、33 前縁、34 後縁、100 室外機、101 圧縮機、102 四方弁、103 室外熱交換器、104 膨張弁、105 室外送風機、200 室内機、201 室内熱交換器、300 ガス冷媒配管、400 液冷媒配管。

Claims (5)

  1. 軸心まわりに回転するボスと、
    前記ボスの外周部に配設され、内周縁、外周縁、前縁及び後縁により囲繞される複数枚の翼とを有する羽根車を備える軸流送風機であって、
    前記軸心を中心として前記ボスの半径をRb及び前記翼の外周縁の半径をRtとし、Rb<Rm1<Rtを満たす半径Rm1及びRb<Rm2<Rtを満たす半径Rm2を定義したとき、
    前記前縁において前記軸心との距離R1がRb<R1<Rm1となる部分と、前記後縁において前記軸心との距離R2がRb<R2<Rm2となる部分とは、それぞれ、外周側ほど反回転方向に後退し、回転方向に凸となる曲線で構成され、
    前記前縁においてRm1<R1<Rtとなる部分と、前記後縁においてRm2<R2<Rtとなる部分とは、それぞれ、外周側ほど回転方向に前進し、反回転方向に凸となる曲線で構成されていることを特徴とする軸流送風機。
  2. 前記翼は、前記Rm1及び前記Rm2を代表してRmとするとき、0.25<(Rm−Rb)/(Rt−Rb)<0.65を満たす形状であることを特徴とする請求項1に記載の軸流送風機。
  3. 前記翼は、Rm1又はRm2の小さい方をRmmとするとき、前記軸心との距離RがRb<R<Rmmとなる部分の翼断面形状が翼型形状であることを特徴とする請求項1又は請求項2に記載の軸流送風機。
  4. 請求項1〜請求項3のいずれか一項に記載の軸流送風機を有することを特徴とする換気装置。
  5. 請求項1〜請求項3のいずれか一項に記載の軸流送風機を有することを特徴とする冷凍サイクル装置。
JP2014066296A 2014-03-27 2014-03-27 軸流送風機、換気装置及び冷凍サイクル装置 Expired - Fee Related JP6076286B2 (ja)

Priority Applications (1)

Application Number Priority Date Filing Date Title
JP2014066296A JP6076286B2 (ja) 2014-03-27 2014-03-27 軸流送風機、換気装置及び冷凍サイクル装置

Applications Claiming Priority (1)

Application Number Priority Date Filing Date Title
JP2014066296A JP6076286B2 (ja) 2014-03-27 2014-03-27 軸流送風機、換気装置及び冷凍サイクル装置

Publications (2)

Publication Number Publication Date
JP2015190332A true JP2015190332A (ja) 2015-11-02
JP6076286B2 JP6076286B2 (ja) 2017-02-08

Family

ID=54425056

Family Applications (1)

Application Number Title Priority Date Filing Date
JP2014066296A Expired - Fee Related JP6076286B2 (ja) 2014-03-27 2014-03-27 軸流送風機、換気装置及び冷凍サイクル装置

Country Status (1)

Country Link
JP (1) JP6076286B2 (ja)

Cited By (3)

* Cited by examiner, † Cited by third party
Publication number Priority date Publication date Assignee Title
WO2019030866A1 (ja) 2017-08-09 2019-02-14 三菱電機株式会社 プロペラファン、送風装置、及び冷凍サイクル装置
WO2020110167A1 (ja) * 2018-11-26 2020-06-04 三菱電機株式会社 翼車および軸流送風機
JP2021088932A (ja) * 2019-12-02 2021-06-10 株式会社コロナ プロペラファン

Citations (5)

* Cited by examiner, † Cited by third party
Publication number Priority date Publication date Assignee Title
JPH11201084A (ja) * 1998-01-08 1999-07-27 Matsushita Electric Ind Co Ltd 送風装置
US5961289A (en) * 1995-11-22 1999-10-05 Deutsche Forshungsanstalt Fur Luft-Und Raumfahrt E.V. Cooling axial flow fan with reduced noise levels caused by swept laminar and/or asymmetrically staggered blades
JP2001214893A (ja) * 1999-12-21 2001-08-10 General Electric Co <Ge> 湾曲したバレルエーロフォイル
JP2011117407A (ja) * 2009-12-07 2011-06-16 Panasonic Corp 送風装置
JP2015031249A (ja) * 2013-08-06 2015-02-16 三菱電機株式会社 プロペラファン

Patent Citations (5)

* Cited by examiner, † Cited by third party
Publication number Priority date Publication date Assignee Title
US5961289A (en) * 1995-11-22 1999-10-05 Deutsche Forshungsanstalt Fur Luft-Und Raumfahrt E.V. Cooling axial flow fan with reduced noise levels caused by swept laminar and/or asymmetrically staggered blades
JPH11201084A (ja) * 1998-01-08 1999-07-27 Matsushita Electric Ind Co Ltd 送風装置
JP2001214893A (ja) * 1999-12-21 2001-08-10 General Electric Co <Ge> 湾曲したバレルエーロフォイル
JP2011117407A (ja) * 2009-12-07 2011-06-16 Panasonic Corp 送風装置
JP2015031249A (ja) * 2013-08-06 2015-02-16 三菱電機株式会社 プロペラファン

Cited By (7)

* Cited by examiner, † Cited by third party
Publication number Priority date Publication date Assignee Title
WO2019030866A1 (ja) 2017-08-09 2019-02-14 三菱電機株式会社 プロペラファン、送風装置、及び冷凍サイクル装置
US11187239B2 (en) 2017-08-09 2021-11-30 Mitsubishi Electric Corporation Propeller fan, air-sending device, and refrigeration cycle apparatus
WO2020110167A1 (ja) * 2018-11-26 2020-06-04 三菱電機株式会社 翼車および軸流送風機
JPWO2020110167A1 (ja) * 2018-11-26 2021-05-13 三菱電機株式会社 翼車および軸流送風機
JP2022075846A (ja) * 2018-11-26 2022-05-18 三菱電機株式会社 翼車および軸流送風機
JP2021088932A (ja) * 2019-12-02 2021-06-10 株式会社コロナ プロペラファン
JP7241667B2 (ja) 2019-12-02 2023-03-17 株式会社コロナ プロペラファン

Also Published As

Publication number Publication date
JP6076286B2 (ja) 2017-02-08

Similar Documents

Publication Publication Date Title
JP5143317B1 (ja) 空気調和装置の室内機
JP5971667B2 (ja) プロペラファン、送風装置及び室外機
KR20140136180A (ko) 프로펠러 팬 및 이를 구비하는 공기 조화기
JP4689262B2 (ja) 軸流ファン、空気調和機の室外機
EP3372841B1 (en) Axial fan and air-conditioning device having said axial fan
JP6377172B2 (ja) プロペラファン、プロペラファン装置および空気調和装置用室外機
JP2011163690A (ja) 室内機及び空気調和機
US20140044552A1 (en) Blade for a rotary machine
JP6076286B2 (ja) 軸流送風機、換気装置及び冷凍サイクル装置
JP5460750B2 (ja) 送風機、室外機及び冷凍サイクル装置
JP2011179331A (ja) 送風機とその送風機を用いた空気調和機
JP7113819B2 (ja) プロペラファン及び冷凍サイクル装置
JP6463497B2 (ja) 送風装置、室外機及び冷凍サイクル装置
JP2000265997A (ja) 翼形プロペラファン
JP3879725B2 (ja) クロスフローファン、空気調和機
JP5611277B2 (ja) 送風機、室外機及び冷凍サイクル装置
JP3761137B2 (ja) 送風装置およびそれを用いた冷蔵庫
CN205937217U (zh) 离心风轮和空调柜机
JP2013083158A (ja) 軸流ファンまたは斜流ファン
JPWO2017081761A1 (ja) 軸流ファン、及び、その軸流ファンを有する空気調和装置
CN110892201A (zh) 空气调节机
JP6430032B2 (ja) 遠心ファン、空気調和装置および冷凍サイクル装置
JPWO2014208608A1 (ja) 空気調和装置の室内機
JP2021504624A (ja) 軸流ファン及びエアコン
JP6429887B2 (ja) 空気調和装置用室内機および空気調和装置

Legal Events

Date Code Title Description
A621 Written request for application examination

Free format text: JAPANESE INTERMEDIATE CODE: A621

Effective date: 20151023

A977 Report on retrieval

Free format text: JAPANESE INTERMEDIATE CODE: A971007

Effective date: 20160708

A131 Notification of reasons for refusal

Free format text: JAPANESE INTERMEDIATE CODE: A131

Effective date: 20160712

A521 Request for written amendment filed

Free format text: JAPANESE INTERMEDIATE CODE: A523

Effective date: 20160906

TRDD Decision of grant or rejection written
A01 Written decision to grant a patent or to grant a registration (utility model)

Free format text: JAPANESE INTERMEDIATE CODE: A01

Effective date: 20161213

A61 First payment of annual fees (during grant procedure)

Free format text: JAPANESE INTERMEDIATE CODE: A61

Effective date: 20170110

R150 Certificate of patent or registration of utility model

Ref document number: 6076286

Country of ref document: JP

Free format text: JAPANESE INTERMEDIATE CODE: R150

R250 Receipt of annual fees

Free format text: JAPANESE INTERMEDIATE CODE: R250

R250 Receipt of annual fees

Free format text: JAPANESE INTERMEDIATE CODE: R250

R250 Receipt of annual fees

Free format text: JAPANESE INTERMEDIATE CODE: R250

R250 Receipt of annual fees

Free format text: JAPANESE INTERMEDIATE CODE: R250

LAPS Cancellation because of no payment of annual fees