JP2015154635A - モジュール用クリップおよびワイヤーハーネス - Google Patents
モジュール用クリップおよびワイヤーハーネス Download PDFInfo
- Publication number
- JP2015154635A JP2015154635A JP2014027525A JP2014027525A JP2015154635A JP 2015154635 A JP2015154635 A JP 2015154635A JP 2014027525 A JP2014027525 A JP 2014027525A JP 2014027525 A JP2014027525 A JP 2014027525A JP 2015154635 A JP2015154635 A JP 2015154635A
- Authority
- JP
- Japan
- Prior art keywords
- module
- panel
- mounting hole
- clip
- clamp head
- Prior art date
- Legal status (The legal status is an assumption and is not a legal conclusion. Google has not performed a legal analysis and makes no representation as to the accuracy of the status listed.)
- Pending
Links
- 210000000078 claw Anatomy 0.000 claims abstract description 45
- 230000000149 penetrating effect Effects 0.000 claims abstract description 3
- 230000002093 peripheral effect Effects 0.000 claims description 24
- 238000003780 insertion Methods 0.000 description 6
- 230000037431 insertion Effects 0.000 description 6
- 239000000463 material Substances 0.000 description 5
- 229920005989 resin Polymers 0.000 description 5
- 239000011347 resin Substances 0.000 description 5
- 230000000903 blocking effect Effects 0.000 description 3
- 239000002390 adhesive tape Substances 0.000 description 2
- 230000000694 effects Effects 0.000 description 1
- 239000007788 liquid Substances 0.000 description 1
- NJPPVKZQTLUDBO-UHFFFAOYSA-N novaluron Chemical compound C1=C(Cl)C(OC(F)(F)C(OC(F)(F)F)F)=CC=C1NC(=O)NC(=O)C1=C(F)C=CC=C1F NJPPVKZQTLUDBO-UHFFFAOYSA-N 0.000 description 1
- 238000007789 sealing Methods 0.000 description 1
- 229920003002 synthetic resin Polymers 0.000 description 1
- 239000000057 synthetic resin Substances 0.000 description 1
- 238000004804 winding Methods 0.000 description 1
Images
Classifications
-
- B—PERFORMING OPERATIONS; TRANSPORTING
- B60—VEHICLES IN GENERAL
- B60R—VEHICLES, VEHICLE FITTINGS, OR VEHICLE PARTS, NOT OTHERWISE PROVIDED FOR
- B60R16/00—Electric or fluid circuits specially adapted for vehicles and not otherwise provided for; Arrangement of elements of electric or fluid circuits specially adapted for vehicles and not otherwise provided for
- B60R16/02—Electric or fluid circuits specially adapted for vehicles and not otherwise provided for; Arrangement of elements of electric or fluid circuits specially adapted for vehicles and not otherwise provided for electric constitutive elements
- B60R16/0207—Wire harnesses
- B60R16/0215—Protecting, fastening and routing means therefor
-
- F—MECHANICAL ENGINEERING; LIGHTING; HEATING; WEAPONS; BLASTING
- F16—ENGINEERING ELEMENTS AND UNITS; GENERAL MEASURES FOR PRODUCING AND MAINTAINING EFFECTIVE FUNCTIONING OF MACHINES OR INSTALLATIONS; THERMAL INSULATION IN GENERAL
- F16B—DEVICES FOR FASTENING OR SECURING CONSTRUCTIONAL ELEMENTS OR MACHINE PARTS TOGETHER, e.g. NAILS, BOLTS, CIRCLIPS, CLAMPS, CLIPS OR WEDGES; JOINTS OR JOINTING
- F16B21/00—Means for preventing relative axial movement of a pin, spigot, shaft or the like and a member surrounding it; Stud-and-socket releasable fastenings
- F16B21/06—Releasable fastening devices with snap-action
- F16B21/08—Releasable fastening devices with snap-action in which the stud, pin, or spigot has a resilient part
- F16B21/086—Releasable fastening devices with snap-action in which the stud, pin, or spigot has a resilient part the shank of the stud, pin or spigot having elevations, ribs, fins or prongs intended for deformation or tilting predominantly in a direction perpendicular to the direction of insertion
-
- F—MECHANICAL ENGINEERING; LIGHTING; HEATING; WEAPONS; BLASTING
- F16—ENGINEERING ELEMENTS AND UNITS; GENERAL MEASURES FOR PRODUCING AND MAINTAINING EFFECTIVE FUNCTIONING OF MACHINES OR INSTALLATIONS; THERMAL INSULATION IN GENERAL
- F16B—DEVICES FOR FASTENING OR SECURING CONSTRUCTIONAL ELEMENTS OR MACHINE PARTS TOGETHER, e.g. NAILS, BOLTS, CIRCLIPS, CLAMPS, CLIPS OR WEDGES; JOINTS OR JOINTING
- F16B5/00—Joining sheets or plates, e.g. panels, to one another or to strips or bars parallel to them
- F16B5/06—Joining sheets or plates, e.g. panels, to one another or to strips or bars parallel to them by means of clamps or clips
- F16B5/0607—Joining sheets or plates, e.g. panels, to one another or to strips or bars parallel to them by means of clamps or clips joining sheets or plates to each other
- F16B5/0621—Joining sheets or plates, e.g. panels, to one another or to strips or bars parallel to them by means of clamps or clips joining sheets or plates to each other in parallel relationship
- F16B5/065—Joining sheets or plates, e.g. panels, to one another or to strips or bars parallel to them by means of clamps or clips joining sheets or plates to each other in parallel relationship the plates being one on top of the other and distanced from each other, e.g. by using protrusions to keep contact and distance
-
- F—MECHANICAL ENGINEERING; LIGHTING; HEATING; WEAPONS; BLASTING
- F16—ENGINEERING ELEMENTS AND UNITS; GENERAL MEASURES FOR PRODUCING AND MAINTAINING EFFECTIVE FUNCTIONING OF MACHINES OR INSTALLATIONS; THERMAL INSULATION IN GENERAL
- F16B—DEVICES FOR FASTENING OR SECURING CONSTRUCTIONAL ELEMENTS OR MACHINE PARTS TOGETHER, e.g. NAILS, BOLTS, CIRCLIPS, CLAMPS, CLIPS OR WEDGES; JOINTS OR JOINTING
- F16B5/00—Joining sheets or plates, e.g. panels, to one another or to strips or bars parallel to them
- F16B5/06—Joining sheets or plates, e.g. panels, to one another or to strips or bars parallel to them by means of clamps or clips
- F16B5/0685—Joining sheets or plates to strips or bars
-
- H—ELECTRICITY
- H02—GENERATION; CONVERSION OR DISTRIBUTION OF ELECTRIC POWER
- H02G—INSTALLATION OF ELECTRIC CABLES OR LINES, OR OF COMBINED OPTICAL AND ELECTRIC CABLES OR LINES
- H02G3/00—Installations of electric cables or lines or protective tubing therefor in or on buildings, equivalent structures or vehicles
- H02G3/30—Installations of cables or lines on walls, floors or ceilings
- H02G3/32—Installations of cables or lines on walls, floors or ceilings using mounting clamps
-
- F—MECHANICAL ENGINEERING; LIGHTING; HEATING; WEAPONS; BLASTING
- F16—ENGINEERING ELEMENTS AND UNITS; GENERAL MEASURES FOR PRODUCING AND MAINTAINING EFFECTIVE FUNCTIONING OF MACHINES OR INSTALLATIONS; THERMAL INSULATION IN GENERAL
- F16B—DEVICES FOR FASTENING OR SECURING CONSTRUCTIONAL ELEMENTS OR MACHINE PARTS TOGETHER, e.g. NAILS, BOLTS, CIRCLIPS, CLAMPS, CLIPS OR WEDGES; JOINTS OR JOINTING
- F16B2/00—Friction-grip releasable fastenings
- F16B2/02—Clamps, i.e. with gripping action effected by positive means other than the inherent resistance to deformation of the material of the fastening
- F16B2/06—Clamps, i.e. with gripping action effected by positive means other than the inherent resistance to deformation of the material of the fastening external, i.e. with contracting action
- F16B2/08—Clamps, i.e. with gripping action effected by positive means other than the inherent resistance to deformation of the material of the fastening external, i.e. with contracting action using bands
Landscapes
- Engineering & Computer Science (AREA)
- General Engineering & Computer Science (AREA)
- Mechanical Engineering (AREA)
- Architecture (AREA)
- Civil Engineering (AREA)
- Structural Engineering (AREA)
- Installation Of Indoor Wiring (AREA)
- Clamps And Clips (AREA)
- Insertion Pins And Rivets (AREA)
- Gasket Seals (AREA)
Abstract
【課題】ボディ側パネルにモジュールパネルを一定の間隔を保つよう固定するとともに、電線を結束できるモジール用クリップおよびワイヤーハーネスを提供する。
【解決手段】一側部に電線群60を結束する結束部材31を有し、他側部でモジュールパネル40に形成された第1の取付孔40aを正面A側から閉塞するクランプヘッド部32と、第1の取付孔40aを貫通してクランプヘッド部32に支持され、ボディ側パネル50に形成された第2の取付孔50aに挿入される胴部33と、胴部33に一体に形成され、背面B側からモジュールパネル40に係合する第1の係止爪部35aと、胴部33に一体に形成され、背面B側からボディ側パネル50に係合する第2の係止爪部36aと、第2の取付孔50aを正面A側から閉塞する閉塞板部34とを備えた構成としている。
【選択図】図1
【解決手段】一側部に電線群60を結束する結束部材31を有し、他側部でモジュールパネル40に形成された第1の取付孔40aを正面A側から閉塞するクランプヘッド部32と、第1の取付孔40aを貫通してクランプヘッド部32に支持され、ボディ側パネル50に形成された第2の取付孔50aに挿入される胴部33と、胴部33に一体に形成され、背面B側からモジュールパネル40に係合する第1の係止爪部35aと、胴部33に一体に形成され、背面B側からボディ側パネル50に係合する第2の係止爪部36aと、第2の取付孔50aを正面A側から閉塞する閉塞板部34とを備えた構成としている。
【選択図】図1
Description
本発明は、モジュール用クリップおよびワイヤーハーネスに関する。
従来、自動車の車体パネル等の取付板にトリムボード等の被取付板を固定する合成樹脂製クリップが知られている(例えば、特許文献1参照)。また、2枚の板を所定間隔に保って固定するプラスチック製留具が知られている(例えば、特許文献2参照)。
図10に示すように、前述の従来の樹脂製クリップ10は、被取付板11を保持する保持部12と、保持部12に連なって取付板13に形成された挿通孔13aに挿入される胴部14と、胴部14に連なって取付板13に係止される弾性翼部15とを含んで構成されている。弾性翼部15は、取付板13の挿通孔13aの周縁部に係合する抜け止め部15aと、挿通孔13aの周壁部を孔中心から径方向外側に向けて付勢する付勢段部15bとを有している。
図11に示すように、前述の従来のプラスチック製留具20は、第1の板21に形成された第1の取付孔21aを閉塞可能な頭部22と、頭部22に連なって第1の取付孔21aに挿通される上段脚23と、上段脚23に連なって第2の板24に形成された第2の取付孔24aに挿通される下段脚25と、上段脚23を第1の板21に係止する第1の逆止爪23aと、下段脚25を第2の板24に係止する第2の逆止爪25aとを含んで構成されている。
第1の逆止爪23aは、頭部22が第1の取付孔21aを閉塞するよう第1の板21の正面A側に当接したときに、上段脚23を抜け止めするよう第1の取付孔21aの周壁部の背面B側で第1の板21に係合するようになっている。
第2の逆止爪25aは、頭部22が第1の取付孔21aを閉塞するよう第1の板21の正面A側に当接したときに、下段脚25を抜け止めするよう第2の取付孔24aの周壁部の背面B側で第2の板24に係合するようになっている。
しかしながら、上述した従来の樹脂製クリップ10およびプラスチック製留具20は、いずれも電線を結束可能な構成を有していないので、被取付板11あるいは第1の板21に電線を結束するのは、別途に電線群支持用のクリップが必要になる。このため、クリップ数および作業工数が多くなり、コストが高くなる。
また、プラスチック製留具20は、第2の板24を正面A側から支持する部材を有していないため、プラスチック製留具20および第1の板21が背面B側に向けて押圧されると、第1の板21と第2の板24との間隔を一定に保つことができなくなる。
さらに、プラスチック製留具20は、第2の板24の第2の取付孔24aの周壁部に第2の逆止爪25aを係合させているだけであるため、第2の取付孔24aを確実に封止する防水性が得られなかった。
そこで、本発明は、上述した課題を解決するためになされたものであり、ボディ側パネルにモジュールパネルを一定の間隔を保つよう固定するとともに、電線を結束できるモジール用クリップおよびワイヤーハーネスを提供することを目的としている。
本発明に係るモジュール用クリップは、上記目的を達成するため、モジュールパネルをボディ側パネルに固定するモジュール用クリップであって、一側部に電線を結束可能な結束部材が装着される一方、他側部で前記モジュールパネルに形成された第1の取付孔を閉塞可能なクランプヘッド部と、前記第1の取付孔を貫通して前記クランプヘッド部に支持された基端部と前記ボディ側パネルに形成された第2の取付孔に挿入される先端部とを有する胴部と、前記胴部に一体に形成され、前記クランプヘッド部が前記第1の取付孔を閉塞するよう前記モジュールパネルの正面側に当接するときに前記胴部を抜け止めするよう前記第1の取付孔の周壁部の背面側で前記モジュールパネルに係合する第1の係止爪部と、前記胴部に一体に形成され、前記胴部の前記先端部が前記第2の取付孔に挿入されるときに前記第2の取付孔の周壁部の背面側で前記ボディ側パネルに係合する第2の係止爪部と、前記第2の係止爪部が前記第2の取付孔の周壁部の背面側で前記ボディ側パネルに係合するときに前記第2の取付孔を閉塞するよう前記ボディ側パネルの正面側に当接する閉塞板部と、を備えた構成を有している。
この構成により、本発明に係るモジュール用クリップは、クランプヘッド部により第1の取付孔を閉塞するとともに、クランプヘッド部と第1の係止爪部とによりモジュールパネルを厚み方向に挟み、さらに、閉塞板部により第2の取付孔を閉塞するとともに、閉塞板部と第2の係止爪部とによりボディ側パネルを厚み方向に挟む。よって、本発明に係るモジュール用クリップは、ボディ側パネルにモジュールパネルを一定の間隔を保つよう固定することができる。
また、本発明に係るモジュール用クリップは、クランプヘッド部に装着した結束部材によって電線を結束するため、クリップ数および作業工数が多くならず、コストを低減することができる。
上述した構成のモジュール用クリップにおいて、前記閉塞板部は、前記胴部および前記第2の係止爪部と協働して、前記第2の取付孔を水密的に閉塞する防水シール機能を有する構成とすることが好ましい。
この構成により、本発明に係るモジュール用クリップは、閉塞板部により第2の取付孔を確実に封止する防水性が得られ、ボディ側パネルの背面側からボディ側パネルとモジュールパネルとの間に雨水等が入り込むことを防止できる。
上述した構成のモジュール用クリップにおいて、前記閉塞板部の外周輪郭形状が、前記クランプヘッド部の外周輪郭形状と相似し、かつ、前記クランプヘッド部の外周輪郭形状より小径である構成とすることが好ましい。
この構成により、本発明に係るモジュール用クリップは、第2の取付孔を閉塞する閉塞板部が、第1の取付孔を容易に通り抜けることができる。
上述した構成のモジュール用クリップにおいて、前記胴部における前記先端部の軸線が前記基端部の軸線に対してオフセットしている構成とする。
この構成により、本発明に係るモジュール用クリップは、ホディ側パネルの第2の取付孔に対してモジュールパネルの第1の取付孔がオフセットしていても、ボディ側パネルにモジュールパネルを一定の間隔を保つよう固定することができる。
本発明に係るワイヤーハーネスは、上記目的を達成するため、複数の電線からなる電線群と、前述したモジュール用クリップとを含む構成とすることが好ましい。
この構成により、本発明に係るワイヤーハーネスは、クランプヘッド部により第1の取付孔を閉塞するとともに、クランプヘッド部と第1の係止爪部とによりモジュールパネルを厚み方向に挟み、さらに、閉塞板部により第2の取付孔を閉塞するとともに、閉塞板部と第2の係止爪部とによりボディ側パネルを厚み方向に挟む。よって、本発明に係るワイヤーハーネスは、ボディ側パネルにモジュールパネルを一定の間隔を保つよう固定することができる。
また、本発明に係るワイヤーハーネスは、クランプヘッド部に装着した結束部材によって電線を結束するため、クリップ数および作業工数が多くならず、コストを低減することができる。
本発明によれば、ボディ側パネルにモジュールパネルを一定の間隔を保つよう固定するとともに、電線を結束できるモジール用クリップおよびワイヤーハーネスを提供することができる。
以下、本発明の実施の形態に係るモジュール用クリップおよびワイヤーハーネスについて、図面を参照して説明する。
(第1の実施の形態)
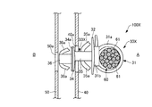
図1に示すように、本実施の形態に係るワイヤハーネス100は、モジュールパネル40をボディ側パネル50に対して一定の間隔を保つよう固定するモジュール用クリップ30と、電線群60とを含んで構成されており、自動車等の車両に配索されるものである。電線群60は、車両に搭載された各電子部品間の電気的に接続する複数の電線61を有している。
図1に示すように、本実施の形態に係るワイヤハーネス100は、モジュールパネル40をボディ側パネル50に対して一定の間隔を保つよう固定するモジュール用クリップ30と、電線群60とを含んで構成されており、自動車等の車両に配索されるものである。電線群60は、車両に搭載された各電子部品間の電気的に接続する複数の電線61を有している。
図2に示すように、モジュール用クリップ30は、一側部に結束部材31が装着され、他側部でモジュールパネル40に形成された第1の取付孔40aを閉塞可能なクランプヘッド部32と、クランプヘッド部32の他側部から突出する胴部33と、胴部33に一体に形成された第1の係止爪部35aおよび第2の係止爪部36aと、胴部33に支持されてボディ側パネル50の第2の取付孔50aを閉塞可能な閉塞板部34とを備え、弾性変形するよう樹脂材料により形成されている。
モジュールパネル40の第1の取付孔40aの内径d1は、ボディ側パネル50の第2の取付孔50aの内径d2よりも大きく形成されている。また、第1の取付孔40aと第2の取付孔50aとは、同軸に位置するようになっている。
図3に示すように、結束部材31は、一側部に図示しないセレーション加工が施されたバンド部31aと、バンド部31aの基端部に一体に形成したヘッド部31bとを含んで構成されている。ヘッド部31bは、バンド部31aが差し込まれる図示しない挿通孔と、挿通孔の内部でバンド部31aのセレーション加工部分の溝部に係合可能な図示しない爪部とを有し、クランプヘッド部32の一側部に装着されている。
図4に示すように、結束部材31は、一般的なケーブルタイと同様に、複数の電線61からなる電線群60にバンド部31aを巻き掛けて、ヘッド部31bの挿通孔にバンド部31aを差し込んで引っ張ると、バンド部31aのセレーション加工部分の所定の溝部に爪部が係合し、電線群60を結束するようになっている。
図2に示すように、クランプヘッド部32は、モジュールパネル40の第1の取付孔40aの内径d1よりも大きい外径D1を有する略円板状に形成され、他側部でモジュールパネル40の正面A側から第1の取付孔40aを閉塞するよう構成されている。
胴部33は、クランプヘッド部32の他側部に連なって第1の取付孔40aに挿入される基端部35と、基端部35に連なって第2の取付孔50aに挿入される先端部36とを有している。胴部33の基端部35および先端部36は、同軸に位置するようになっている。また、胴部33の基端部35および先端部36は、一体に形成した構成を採ることが好ましいが、別途に形成したものを接続する構成を採ることもできる。
第1の係止爪部35aは、胴部33の基端部35にその軸線を中心として放射状に突出するよう一体に形成されている。図1に示すように、第1の係止爪部35aは、モジュールパネル40に正面A側からクランプヘッド部32が当接して第1の取付孔40aを閉塞すると、第1の取付孔40aの周壁部にモジュールパネル40の背面B側から係合するようになっている。
これにより、モジュールパネル40は、第1の取付孔40aを閉塞するクランプヘッド部32と、第1の取付孔40aの周壁部に係合する第1の係止爪部35aとにより厚み方向に挟まれることになる。
第2の係止爪部36aは、胴部33の先端部36にその軸線を中心として放射状に突出するよう一体に形成されている。図1に示すように、第2の係止爪部36aは、ボディ側パネル50の第2の取付孔50aに正面A側から胴部33の先端部36が挿入されると、第2の取付孔50aの周壁部にボディ側パネル50の背面B側から係合するようになっている。
図2に示すように、閉塞板部34は、ボディ側パネル50の第2の取付孔50aの内径d2よりも大きく、かつクランプヘッド部32の外径D1よりも小さい外径D2を有する略円板状に形成され、胴部33の基端部35に一体化されている。閉塞板部34は、正面A側から第2の取付孔50aを水密的に閉塞可能な防水シール部34aを有している。閉塞板部34の平面視における外縁輪郭形状は、クランプヘッド部32の平面視における外縁輪郭形状は相似している。
防水シール部34aは、胴部33を周方向に取り囲むよう閉塞板部34にシート材を貼付した構成、あるいは胴部33を周方向に取り囲むシール層が形成されるよう閉塞板部34に液状シール材を塗布して硬化させた構成等を採ることができる。
図1に示すように、閉塞板部34は、第2の取付孔50aの周縁部にボディ側パネル50の背面B側から第2の係止爪部36aが係合すると、正面A側からボディ側パネル50に防水シール部34aが当接して第2の取付孔50aを水密的に閉塞するようになっている。
これにより、ボディ側パネル50は、第2の取付孔50aを閉塞する防水シール部34aを有する閉塞板部34と、第2の取付孔50aの周壁部に係合する第2の係止爪部36aとにより厚み方向に挟まれることになる。
本実施の形態に係るモジュール用クリップ30は、クランプヘッド部32により第1の取付孔40aを閉塞するとともに、クランプヘッド部32と第1の係止爪部35aとによりモジュールパネル40を厚み方向に挟み、さらに、閉塞板部34により第2の取付孔50aを閉塞するとともに、閉塞板部34と第2の係止爪部36aとによりボディ側パネル50を厚み方向に挟むようになっている。よって、本実施の形態に係るモジュール用クリップ30は、ボディ側パネル50にモジュールパネル40を一定の間隔を保つよう固定することができる。
これに加えて、本実施の形態に係るモジュール用クリップ30は、クランプヘッド部32に装着した結束部材31によって電線群60を結束するため、クリップ数および作業工数が多くならず、コストを低減することができる。
また、本実施の形態に係るモジュール用クリップ30は、閉塞板部34が防水シール部34aを有しているため、第2の取付孔50aを確実に封止して、ボディ側パネル50の背面B側からボディ側パネル50とモジュールパネル40との間に雨水等が入り込むことを防止できる。
さらに、本実施の形態に係るモジュール用クリップ30は、略円板状の閉塞板部34の外径D2が略円板状のクランプヘッド部32の外径D1よりも小さいため、第2の取付孔50aを閉塞する閉塞板部34が、第1の取付孔40aを容易に通り抜けることができる。
(第2の実施の形態)
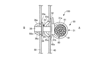
図5に示すように、本実施の形態に係るワイヤハーネス100Xは、モジュールパネル40をボディ側パネル50に対して一定の間隔を保つよう固定するモジュール用クリップ30Xと、電線群60とを含んで構成されており、自動車等の車両に配索されるものである。図5〜図7において、図1、図2と同一の符号を付した部分は、同一の構成を有しており、その説明を省略する。
図5に示すように、本実施の形態に係るワイヤハーネス100Xは、モジュールパネル40をボディ側パネル50に対して一定の間隔を保つよう固定するモジュール用クリップ30Xと、電線群60とを含んで構成されており、自動車等の車両に配索されるものである。図5〜図7において、図1、図2と同一の符号を付した部分は、同一の構成を有しており、その説明を省略する。
図6に示すように、モジュール用クリップ30Xは、結束部材31と、クランプヘッド部32と、胴部33Xと、胴部33Xに一体に形成された第1の係止爪部35aおよび第2の係止爪部36aと、胴部33Xに支持されてボディ側パネル50の第2の取付孔50aを閉塞可能な閉塞板部34とを備え、弾性変形するよう樹脂材料により形成されている。モジュールパネル40の第1の取付孔40aの中心線は、ボディ側パネル50の第2の取付孔50aの中心線に対して距離S1だけオフセットしている。
胴部33Xは、クランプヘッド部32の他側部に連なって第1の取付孔40aに挿入される基端部35と、基端部35に連なって第2の取付孔50aに挿入される先端部36とを有している。胴部33Xにおける基端部35の軸線は、先端部36の軸線に対して距離S1だけオフセットしている。
これにより、図7に示すように、モジュール用クリップ30Xは、胴部33Xの先端部36を、第1の取付孔40aからモジュールパネル40とボディ側パネル50との間に挿入した後、先端部36の軸線を第2の取付孔50aの中心線に同軸に位置させると、胴部33Xの基端部35の軸線が第1の取付孔40aの中心線に同軸に位置することになる。
図5に示すように、第1の係止爪部35aは、モジュールパネル40に正面A側からクランプヘッド部32が当接して第1の取付孔40aを閉塞すると、第1の取付孔40aの周壁部にモジュールパネル40の背面B側から係合するようになっている。
これにより、モジュールパネル40は、第1の取付孔40aを閉塞するクランプヘッド部32と、第1の取付孔40aの周壁部に係合する第1の係止爪部35aとにより厚み方向に挟まれることになる。
図5に示すように、第2の係止爪部36aは、ボディ側パネル50の第2の取付孔50aに正面A側から胴部33の先端部36が挿入されると、第2の取付孔50aの周壁部にボディ側パネル50の背面B側から係合するようになっている。
また、閉塞板部34は、第2の取付孔50aの周縁部にボディ側パネル50の背面B側から第2の係止爪部36aが係合すると、正面A側からボディ側パネル50に防水シール部34aが当接して第2の取付孔50aを水密的に閉塞するようになっている。
これにより、ボディ側パネル50は、第2の取付孔50aを閉塞する防水シール部34aを有する閉塞板部34と、第2の取付孔50aの周壁部に係合する第2の係止爪部36aとにより厚み方向に挟まれることになる。
よって、本実施の形態に係るモジュール用クリップ30Xは、ボディ側パネル50の第2の取付孔50aに対してモジュールパネル40の第1の取付孔40aがオフセットしていても、前述したモジュール用クリップ30と同様に、ボディ側パネル50にモジュールパネル40を一定の間隔を保つよう固定することができる。
これに加えて、本実施の形態に係るモジュール用クリップ30Xは、クランプヘッド部32に装着した結束部材31によって電線群60を結束するため、前述したモジュール用クリップ30と同様に、クリップ数および作業工数が多くならず、コストを低減することができる。
また、本実施の形態に係るモジュール用クリップ30Xは、閉塞板部34が防水シール部34aを有しているため、前述したモジュール用クリップ30と同様に、第2の取付孔50aを確実に封止して、ボディ側パネル50の背面B側からボディ側パネル50とモジュールパネル40との間に雨水等が入り込むことを防止できる。
(第3の実施の形態)
図8に示すように、本実施の形態に係るワイヤハーネス100Yは、モジュールパネル40をボディ側パネル50に対して一定の間隔を保つよう固定するモジュール用クリップ30Yと、電線群60とを含んで構成されており、自動車等の車両に配索されるものである。図8、図9において、図1、図2と同一の符号を付した部分は、同一の構成を有しており、その説明を省略する。
図8に示すように、本実施の形態に係るワイヤハーネス100Yは、モジュールパネル40をボディ側パネル50に対して一定の間隔を保つよう固定するモジュール用クリップ30Yと、電線群60とを含んで構成されており、自動車等の車両に配索されるものである。図8、図9において、図1、図2と同一の符号を付した部分は、同一の構成を有しており、その説明を省略する。
図9に示すように、モジュール用クリップ30Yは、結束部材37と、クランプヘッド部32と、胴部33と、胴部33に一体に形成された第1の係止爪部35aおよび第2の係止爪部36aと、胴部33に支持されてボディ側パネル50の第2の取付孔50aを閉塞可能な閉塞板部34とを備え、弾性変形するよう樹脂材料により形成されている。
結束部材37は、クランプヘッド部32の一側部に台座37aを介して装着された帯板状の被固縛部37bと、電線群60を被固縛部37bに固縛する粘着テープ37cとを含んで構成されている。被固縛部37bは、胴部33の基端部35が第1の取付孔40aに挿入されるとともに、胴部33の先端部36が第2の取付孔50aに挿入されたときに、モジュールパネル40およびボディ側パネル50に対して平行になるよう形成されている。
結束部材37は、被固縛部37bに沿わせた電線群60と被固縛部37bに粘着テープ37cを巻き付けて固縛することにより、電線群60を結束するようになっている。
本実施の形態に係るモジュール用クリップ30Yは、クランプヘッド部32と第1の係止爪部35aとによりモジュールパネル40を厚み方向に挟むとともに、防水シール部34aを有する閉塞板部34と第2の係止爪部36aとによりボディ側パネル50を厚み方向に挟むので、前述したモジュール用クリップ30と同様に、ボディ側パネル50にモジュールパネル40を一定の間隔を保つよう固定することができる。
これに加えて、本実施の形態に係るモジュール用クリップ30Yは、クランプヘッド部32に装着した結束部材37によって電線群60を結束するため、クリップ数および作業工数が多くならず、コストを低減することができる。
また、本実施の形態に係るモジュール用クリップ30Yは、閉塞板部34が防水シール部34aを有しているため、第2の取付孔50aを確実に封止して、ボディ側パネル50の背面B側からボディ側パネル50とモジュールパネル40との間に雨水等が入り込むことを防止できる。
本発明は、上記の実施の形態に限定されるものでなく、特許請求の範囲に記載された本発明の技術的範囲には、発明の要旨を逸脱しない範囲内で種々、設計変更した形態が含まれる。
以上説明したように、本発明に係るモジュール用クリップおよびワイヤーハーネスは、ボディ側パネルにモジュールパネルを一定の間隔を保つよう固定するとともに、電線を結束できるという効果を有し、車両に採用されるモジュール用クリップおよびワイヤーハーネス全般に有用である。
30,30X,30Y モジュール用クリップ
31,37 結束部材
32 クランプヘッド部
33,33X 胴部
34 閉塞板部
34a 防水シール部(防水シール機能)
35 基端部
35a 第1の係止爪部
36 先端部
36a 第2の係止爪部
40 モジュールパネル
40a 第1の取付孔
50 ボディ側パネル
50a 第2の取付孔
61 電線
100,100X,100Y ワイヤーハーネス
31,37 結束部材
32 クランプヘッド部
33,33X 胴部
34 閉塞板部
34a 防水シール部(防水シール機能)
35 基端部
35a 第1の係止爪部
36 先端部
36a 第2の係止爪部
40 モジュールパネル
40a 第1の取付孔
50 ボディ側パネル
50a 第2の取付孔
61 電線
100,100X,100Y ワイヤーハーネス
Claims (5)
- モジュールパネルをボディ側パネルに固定するモジュール用クリップであって、
一側部に電線を結束可能な結束部材が装着される一方、他側部で前記モジュールパネルに形成された第1の取付孔を閉塞可能なクランプヘッド部と、
前記第1の取付孔を貫通して前記クランプヘッド部に支持された基端部と前記ボディ側パネルに形成された第2の取付孔に挿入される先端部とを有する胴部と、
前記胴部に一体に形成され、前記クランプヘッド部が前記第1の取付孔を閉塞するよう前記モジュールパネルの正面側に当接するときに前記胴部を抜け止めするよう前記第1の取付孔の周壁部の背面側で前記モジュールパネルに係合する第1の係止爪部と、
前記胴部に一体に形成され、前記胴部の前記先端部が前記第2の取付孔に挿入されるときに前記第2の取付孔の周壁部の背面側で前記ボディ側パネルに係合する第2の係止爪部と、
前記第2の係止爪部が前記第2の取付孔の周壁部の背面側で前記ボディ側パネルに係合するときに前記第2の取付孔を閉塞するよう前記ボディ側パネルの正面側に当接する閉塞板部と、を備えたことを特徴とするモジュール用クリップ。 - 前記閉塞板部は、前記胴部および前記第2の係止爪部と協働して、前記第2の取付孔を水密的に閉塞する防水シール機能を有することを特徴とする請求項1に記載のモジュール用クリップ。
- 前記閉塞板部の外周輪郭形状が、前記クランプヘッド部の外周輪郭形状と相似し、かつ、前記クランプヘッド部の外周輪郭形状より小径であることを特徴とする請求項1または請求項2に記載のモジュール用クリップ。
- 前記胴部における前記先端部の軸線が前記基端部の軸線に対してオフセットしていることを特徴とする請求項1ないし請求項3のいずれか1項に記載のモジュール用クリップ。
- 複数の電線からなる電線群と、請求項1ないし請求項4のいずれか1項に記載のモジュール用クリップとを含むことを特徴とするワイヤーハーネス。
Priority Applications (2)
| Application Number | Priority Date | Filing Date | Title |
|---|---|---|---|
| JP2014027525A JP2015154635A (ja) | 2014-02-17 | 2014-02-17 | モジュール用クリップおよびワイヤーハーネス |
| PCT/JP2015/052338 WO2015122277A1 (ja) | 2014-02-17 | 2015-01-28 | モジュール用クリップおよびワイヤーハーネス |
Applications Claiming Priority (1)
| Application Number | Priority Date | Filing Date | Title |
|---|---|---|---|
| JP2014027525A JP2015154635A (ja) | 2014-02-17 | 2014-02-17 | モジュール用クリップおよびワイヤーハーネス |
Publications (1)
| Publication Number | Publication Date |
|---|---|
| JP2015154635A true JP2015154635A (ja) | 2015-08-24 |
Family
ID=53800025
Family Applications (1)
| Application Number | Title | Priority Date | Filing Date |
|---|---|---|---|
| JP2014027525A Pending JP2015154635A (ja) | 2014-02-17 | 2014-02-17 | モジュール用クリップおよびワイヤーハーネス |
Country Status (2)
| Country | Link |
|---|---|
| JP (1) | JP2015154635A (ja) |
| WO (1) | WO2015122277A1 (ja) |
Cited By (2)
| Publication number | Priority date | Publication date | Assignee | Title |
|---|---|---|---|---|
| JP2017053476A (ja) * | 2015-09-11 | 2017-03-16 | 株式会社石黒製作所 | アジャスタ用受座 |
| JP6579299B1 (ja) * | 2018-12-17 | 2019-09-25 | 住友電装株式会社 | 配線部材及び配線部材の取付構造 |
Families Citing this family (5)
| Publication number | Priority date | Publication date | Assignee | Title |
|---|---|---|---|---|
| KR101820295B1 (ko) * | 2016-03-14 | 2018-01-19 | 현대자동차주식회사 | 차량용 클립 및 이를 적용한 대상체 고정 장치 |
| CN108508300A (zh) * | 2016-05-07 | 2018-09-07 | 罗文凤 | 一种交流充电桩的全功能测试装置 |
| CN107839523A (zh) * | 2016-05-07 | 2018-03-27 | 吴小再 | 冷却型网络电动汽车充电桩及其工作方法 |
| CN107627976A (zh) * | 2017-10-26 | 2018-01-26 | 安徽安凯汽车股份有限公司 | 一种敞篷车辆外用防水布线布管装置 |
| US12456854B2 (en) | 2023-07-28 | 2025-10-28 | Lear Corporation | Cable retainer and method |
Family Cites Families (5)
| Publication number | Priority date | Publication date | Assignee | Title |
|---|---|---|---|---|
| JPS6328043Y2 (ja) * | 1980-12-26 | 1988-07-28 | ||
| JPS6018611A (ja) * | 1984-06-20 | 1985-01-30 | 北川工業株式会社 | 固定具 |
| JPH1095369A (ja) * | 1996-09-19 | 1998-04-14 | Toyota Auto Body Co Ltd | ダッシュサイレンサの取付構造 |
| JPH1182815A (ja) * | 1997-09-09 | 1999-03-26 | Sumitomo Wiring Syst Ltd | ワイヤハーネス係止用クリップ |
| JP5613525B2 (ja) * | 2010-10-27 | 2014-10-22 | 株式会社ニフコ | クリップ及び連結構造 |
-
2014
- 2014-02-17 JP JP2014027525A patent/JP2015154635A/ja active Pending
-
2015
- 2015-01-28 WO PCT/JP2015/052338 patent/WO2015122277A1/ja not_active Ceased
Cited By (5)
| Publication number | Priority date | Publication date | Assignee | Title |
|---|---|---|---|---|
| JP2017053476A (ja) * | 2015-09-11 | 2017-03-16 | 株式会社石黒製作所 | アジャスタ用受座 |
| JP6579299B1 (ja) * | 2018-12-17 | 2019-09-25 | 住友電装株式会社 | 配線部材及び配線部材の取付構造 |
| WO2020129110A1 (ja) * | 2018-12-17 | 2020-06-25 | 住友電装株式会社 | 配線部材及び配線部材の取付構造 |
| CN113169539A (zh) * | 2018-12-17 | 2021-07-23 | 住友电装株式会社 | 布线构件及布线构件的安装构造 |
| US11791064B2 (en) | 2018-12-17 | 2023-10-17 | Sumitomo Wiring Systems, Ltd. | Wiring member and attachment structure of wiring member |
Also Published As
| Publication number | Publication date |
|---|---|
| WO2015122277A1 (ja) | 2015-08-20 |
Similar Documents
| Publication | Publication Date | Title |
|---|---|---|
| JP2015154635A (ja) | モジュール用クリップおよびワイヤーハーネス | |
| WO2013168406A2 (en) | Wire harness fixing structure | |
| JP2013048509A (ja) | ハーネス保護具及びワイヤーハーネス配索構造部 | |
| US20170066393A1 (en) | Electrical wire guiding apparatus | |
| JP2010159843A (ja) | ボルト用クリップ | |
| US9358938B2 (en) | Clamp structure of harness protection tube | |
| CN108352694A (zh) | 线束用紧固件 | |
| JP5375657B2 (ja) | 車両用ドア構造 | |
| JP5505899B2 (ja) | 配線保護用プロテクタとブラケットとの締結構造、及び配線保護用プロテクタのパネルへの固定構造 | |
| JP2016059110A (ja) | ワイヤハーネス用のクランプ | |
| JP2014201351A (ja) | 結束バンド、バンドクリップ及びバンドクリップ付きワイヤーハーネス | |
| JP2011031779A (ja) | クリップ | |
| JP2010074927A (ja) | ハーネス保護材およびその取付方法 | |
| JP5857934B2 (ja) | 締付バンドの取付構造 | |
| WO2015019830A1 (ja) | 結束バンドの取付構造 | |
| JP5533192B2 (ja) | ワイヤハーネスを支持体に取り付ける方法 | |
| JP2013154696A (ja) | グロメット | |
| JP2014054179A (ja) | ワイヤハーネス用クランプ | |
| JP4852582B2 (ja) | グロメット取付冶具 | |
| JP2016046824A (ja) | クランプ及びクランプを備えたワイヤハーネス | |
| JP2017108589A (ja) | バンドクリップおよびワイヤハーネス | |
| JP2009266596A (ja) | ワイヤハーネス | |
| KR200411776Y1 (ko) | 판넬 마운티드 그루멧 | |
| JP6187204B2 (ja) | ワイヤハーネス取付方法 | |
| JP2021077472A (ja) | ワイヤハーネス |