JP2015123786A - 自動二輪車における前部構造 - Google Patents

自動二輪車における前部構造 Download PDF

Info

Publication number
JP2015123786A
JP2015123786A JP2013267791A JP2013267791A JP2015123786A JP 2015123786 A JP2015123786 A JP 2015123786A JP 2013267791 A JP2013267791 A JP 2013267791A JP 2013267791 A JP2013267791 A JP 2013267791A JP 2015123786 A JP2015123786 A JP 2015123786A
Authority
JP
Japan
Prior art keywords
headlight
front cover
lens
disposed
housing
Prior art date
Legal status (The legal status is an assumption and is not a legal conclusion. Google has not performed a legal analysis and makes no representation as to the accuracy of the status listed.)
Granted
Application number
JP2013267791A
Other languages
English (en)
Other versions
JP5752226B2 (ja
Inventor
泰香 森
Yasuka Mori
泰香 森
克之 永野
Katsuyuki Nagano
克之 永野
伸享 竹中
Shinkyo Takenaka
伸享 竹中
Current Assignee (The listed assignees may be inaccurate. Google has not performed a legal analysis and makes no representation or warranty as to the accuracy of the list.)
Honda Motor Co Ltd
Original Assignee
Honda Motor Co Ltd
Priority date (The priority date is an assumption and is not a legal conclusion. Google has not performed a legal analysis and makes no representation as to the accuracy of the date listed.)
Filing date
Publication date
Application filed by Honda Motor Co Ltd filed Critical Honda Motor Co Ltd
Priority to JP2013267791A priority Critical patent/JP5752226B2/ja
Priority to CN201410806442.5A priority patent/CN104743008B/zh
Publication of JP2015123786A publication Critical patent/JP2015123786A/ja
Application granted granted Critical
Publication of JP5752226B2 publication Critical patent/JP5752226B2/ja
Expired - Fee Related legal-status Critical Current
Anticipated expiration legal-status Critical

Links

Images

Classifications

    • BPERFORMING OPERATIONS; TRANSPORTING
    • B62LAND VEHICLES FOR TRAVELLING OTHERWISE THAN ON RAILS
    • B62JCYCLE SADDLES OR SEATS; AUXILIARY DEVICES OR ACCESSORIES SPECIALLY ADAPTED TO CYCLES AND NOT OTHERWISE PROVIDED FOR, e.g. ARTICLE CARRIERS OR CYCLE PROTECTORS
    • B62J6/00Arrangement of optical signalling or lighting devices on cycles; Mounting or supporting thereof; Circuits therefor
    • B62J6/02Headlights

Landscapes

  • Engineering & Computer Science (AREA)
  • Mechanical Engineering (AREA)
  • Non-Portable Lighting Devices Or Systems Thereof (AREA)
  • Lighting Device Outwards From Vehicle And Optical Signal (AREA)

Abstract

【課題】車体フレームがその前端部に有するヘッドパイプの前方に配置されるフロントカバーと、ヘッドパイプの前方に配置されるヘッドライトとを備える自動二輪車において、フロントカバーを上下に分割して小型化を図った上でヘッドライトのレンズが可及的に大きく見える構造とし、独特な外観形状が得られるようにする。
【解決手段】フロントカバー15が、上部フロントカバー16および下部フロントカバー17から成り、ヘッドライトハウジング30と、該ヘッドライトハウジング30を前方から覆うレンズとを有するヘッドライト25が、上部フロントカバー16および下部フロントカバー17を連結するように設けられる。
【選択図】 図3

Description

本発明は、車体フレームがその前端部に有するヘッドパイプの前方に配置されるフロントカバーと、前記ヘッドパイプの前方に配置されるヘッドライトとを備える自動二輪車に関し、特にその前部構造の改良に関する。
このような自動二輪車は、たとえば特許文献1で知られており、このものでは、灯火器のバルブを支持するベース部材全体が、フロントカバーで覆われる構成となっている。
特許第5005475号公報
上記特許文献1で開示されるものでは、灯火器のレンズの周囲を連続して一体に覆うようにフロントカバーを形成する必要があり、フロントカバーが大型化している。そこでフロントカバーの小型化を図るために、フロントカバーを上部フロントカバーおよび下部フロントカバーとで上下に分割し、上部フロントカバーおよび下部フロントカバー間に灯火器であるヘッドライトを配置することが考えられるが、その際、ヘッドライトの視認性を高めるために、ヘッドライトのレンズが可及的に大きく見える構造とすることが望まれる。
本発明は、かかる事情に鑑みてなされたものであり、フロントカバーを上下に分割して小型化を図った上でヘッドライトのレンズが可及的に大きく見える構造とし、独特な外観形状が得られるようにした自動二輪車における前部構造を提供することを目的とする。
上記目的を達成するために、本発明は、車体フレームがその前端部に有するヘッドパイプの前方に配置されるフロントカバーと、前記ヘッドパイプの前方に配置されるヘッドライトとを備える自動二輪車において、前記フロントカバーが、上部フロントカバーおよび下部フロントカバーから成り、ヘッドライトハウジングと、該ヘッドライトハウジングを前方から覆うレンズとを有する前記ヘッドライトが、前記上部フロントカバーおよび前記下部フロントカバーを連結するように設けられることを第1の特徴とする。
また本発明は、第1の特徴の構成に加えて、前記ヘッドライトハウジングの両側後部が、前記レンズの後縁に連続しつつ外部に露出する露出面を形成するようにして、前記上部フロントカバーおよび前記下部フロントカバーの両側後端部間に配置されることを第2の特徴とする。
本発明は、第2の特徴の構成に加えて、前記露出面の後縁が、側面視で前記上部フロントカバーおよび前記下部フロントカバーの両側後縁に滑らかに連なるように配置されることを第3の特徴とする。
本発明は、第1〜第3の特徴の構成のいずれかに加えて、前記レンズの後縁の最後端が、側面視で前記ヘッドパイプよりも後方に配置されることを第4の特徴とする。
さらに本発明は、第1〜第4の特徴の構成のいずれかに加えて、前記ヘッドライトは、前記ヘッドライトハウジングおよび前記レンズに加えて、前記ヘッドライトハウジングの中央部に支持されるヘッドライトバルブと、そのヘッドライトバルブの左右両側に配置されて前記ヘッドライトハウジングに支持される一対のポジションライトバルブと、それらのポジションライトバルブからの光を導くようにして前記レンズに沿って延びる一対の導光部材とを備えることを第5の特徴とする。
本発明の第1の特徴によれば、上部フロントカバーおよび下部フロントカバーから成るようにフロントカバーを構成してフロントカバーの小型化を図った上で、上部フロントカバーおよび下部フロントカバーをヘッドライトで連結するようにして、上部フロントカバーおよび下部フロントカバーと、ヘッドライトとでそれぞれ形成される線分を強調するようにした独特な外観形状とすることができ、ヘッドライトを強調してヘッドライトの視認性を高めることができる。
また本発明の第2の特徴によれば、ヘッドライトハウジングの両側後部が形成する露出面が、レンズの後縁に連続しつつ外部に露出して上部フロントカバーおよび下部フロントカバーの両側後端部間に配置されるので、ヘッドライトがより強調されることになり、ヘッドライトの視認性をさらに高めることができる。
本発明の第3の特徴によれば、露出面の後縁が側面視で上部フロントカバーおよび下部フロントカバーの両側後縁に滑らかに連なるので、フロントカバーの後縁の一部をヘッドライトハウジングで形成するようにしてヘッドライトを車幅方向に可及的に大きくすることができ、ヘッドライトの視認性がさらに向上する。
本発明の第4の特徴によれば、レンズの後縁の最後端が側面視でヘッドパイプよりも後方に在ることで、ヘッドライトを前後方向で大きく設けることができ、側方からのヘッドライトの視認性を高めることができる。
さらに本発明の第5の特徴によれば、ヘッドライトバルブの左右両側に配置される一対のポジションライトバルからの光が、レンズに沿って延びる導光部材で導かれるので、ヘッドライトの発光面積をより大きくすることができ、これによってもヘッドライトの視認性が向上する。
自動二輪車の左側面図である。 図1の2矢視正面図である。 図1の3矢視方向から見たフロントカバーおよびヘッドライトの後面図である。 ヘッドライトの正面図である。 図4の5−5線断面図である。 図4の6−6線断面図である。 図1の7−7線拡大断面図である。 図1の8矢視方向から見たテールライトの後面図である。 図8の9−9線断面図である。 図8の10−10線断面図である。
本発明の実施の形態について添付の図面を参照しながら説明する。なお以下の説明で前後、上下および左右は自動二輪車に乗車した乗員から見た方向を言うものとする。
先ず図1において、この自動二輪車は、スクータ型の自動二輪車であり、その車体フレームFが前端部に備えるヘッドパイプ11には、前輪WFを軸支するフロントフォーク12および操向ハンドル13が操向可能に支承される。また前記車体フレームFには、後輪ERを駆動する動力を発揮するユニットスイング式のパワーユニットPが揺動可能に支承されており、このパワーユニットPの後部に前記後輪WRが軸支される。
前記パワーユニットPの一部および前記車体フレームFは、車体カバー14で覆われており、この車体カバー14は、前記ヘッドパイプ11を前方から覆うフロントカバー15と、前記ヘッドパイプ11を後方側から覆うセンターカバー18と、該センターカバー18の下部に連設されるステップフロア19と、フロントカバー15、センターカバー18およびステップフロア19の両側を連結する左右一対のレッグシールド20と、それらのレッグシールド20の下端から後方に延びるとともに前記ステップフロア19の両側に連設される左右一対のアンダーサイドカバー21と、前記ステップフロア19の後端から上方に立ち上がるアンダーフロントカバー22と、アンダーフロントカバー22の左右両側に連設される左右一対のリヤサイドカバー23とを備え、前記アンダーフロントカバー22および左右一対のリヤサイドカバー23上に、タンデム型の乗車用シート24が配設される。
前記フロントカバー15にはヘッドライト25が配設される。また前記操向ハンドル13の中央部は前後割りのハンドルカバー26で覆われており、このハンドルカバー26の左右両側にはウインカ27が配設される。さらに左右一対の前記リヤサイドカバー23の後端間にリヤコンビネーションライト28が配設される。
図2および図3を併せて参照して、前記フロントカバー15は、上部フロントカバー16および下部フロントカバー17から成るものであり、前記ヘッドライト25が、前記上部フロントカバー16および前記下部フロントカバー17を連結するようにして前記上部フロントカバー16および前記下部フロントカバー17間に設けられる。
前記上部フロントカバー16および前記下部フロントカバー17は、前記ヘッドライト25で相互に連結されていない状態では、車両前方からの正面視で略V字状となる開口部29が相互間に生じるように形成されるものであり、その開口部29を塞ぐように前記ヘッドライト25が配置される。
図4〜図6を併せて参照して、前記ヘッドライト25は、ヘッドライトハウジング30と、該ヘッドライトハウジング30を前方から覆うレンズ31と、前記ヘッドライトハウジング30の中央部に支持されるヘッドライトバルブ32と、そのヘッドライトバルブ32の左右両側に配置されて前記ヘッドライトハウジング30に支持される一対のポジションライトバルブ33,33とを備える。
図3に注目して、前記ヘッドライトハウジング30の上部には、左右に離隔した一対の第1上部締結腕が34,34が前記開口部29の上縁部で上部フロントカバー16の裏面にねじ部材35,35でそれぞれ締結されるようにして一体に設けられるとともに、それらの第1上部締結腕34,34間の中央部に配置される第2上部締結腕部36が前記開口部29の上縁部で前記上部フロントカバー16の裏面にねじ部材37で締結されるようにして一体に設けられる。
また前記ヘッドライトハウジング30の下部には、左右に離隔した一対の第1下部締結腕38,38が前記開口部29の下縁部で前記下部フロントカバー17の裏面にねじ部材39,39でそれぞれ締結されるようにして一体に設けられるとともに、それらの第1下部締結腕38,38間で左右に離隔するようにして配置される一対の第2下部締結腕40,40が前記開口部29の下縁部で前記下部フロントカバー17の裏面にねじ部材41,41でそれぞれ締結されるようにして一体に設けられる。
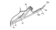
前記レンズ31は、前記フロントカバー15の開口部29に一部を臨ませるようにして前記ヘッドライトハウジング30に前方からシール部材44を介して取付けられ、このレンズ31の後縁31aの最後端31aaは、図1で明示するように、側面視で前記車体フレームFの前端部の前記ヘッドパイプ11よりも後方に配置される。すなわち側面視で前記レンズ31の後縁31aの最後端31aaを通る仮想鉛直線Lが前記ヘッドパイプ11よりも後方位置に在る。
前記ヘッドライトバルブ32は、前記ヘッドライトハウジング30の略中央部に支持されるものであり、このヘッドライトバルブ32からの光を前方に向けて反射するための椀状のリフレクタ45が前記ヘッドライトハウジング30内の中央部に配置される。このリフレクタ45は上下に制限された範囲で首振りすることを可能として前記ヘッドライト25に支持されており、このリフレクタ45の首振り角度を回動調整することでヘッドライトバルブ32の光軸を調整することができる。
また前記レンズ31の左右両側で該レンズ31の内面に沿うとともに前記リフレクタ45を臨ませる窓46を中央部に有するエクステンション47が前記ヘッドライトハウジング30内に配置され、このエクステンション47は前記ヘッドライトハウジング30に固定される。
前記ポジションライトバルブ33は、前記エクステンション47の左右両側部で覆われるようにして前記ヘッドライトバルブ32の左右両側に配置されて該ヘッドライトハウジング30に支持される。
ところで前記エクステンション47の左右両側には、たとえば3個のスリット48,49,50が前記レンズ31の内面に沿って延びるようにしてそれぞれ設けられており、前記ポジションライトバルブ33、33からの光を前記レンズ31の左右両側部で外観することができるようにしてポジションライトバルブ33,33からの光を導く左右一対の導光部材51,51が、前記エクステンション47の左右両側部のスリット49〜50にぞれぞれ臨むように配置され、これらの導光部材51,51は前記エクステンション47に支持される。
図7を併せて参照して、前記ヘッドライトハウジング30の両側後部は、前記レンズ31の後端部に内方から当接する当接面30aと、前記レンズ31の後縁に連続しつつ外部に露出する露出面52とを形成するようにして、前記上部フロントカバー16および前記下部フロントカバー17の両側後端部間に配置される。
また前記露出面52の後縁52aは、側面視で前記上部フロントカバー16および前記下部フロントカバー17の両側後縁16a,17aに滑らかに連なるように配置される。
図8〜図10を併せて参照して、前記リヤコンビネーションライト28は、テールライト54と、該テールライト54の上方に配置されるストップライト55と、前記テールライト54の左右両側に配置されるウインカーライト56,56とを備える。
前記リヤコンビネーションライト28は、前記左右一対の前記リヤサイドカバー23の後部に固定されるベース部材57を有しており、このベース部材57には、前記リヤサイドカバー23の後端部から後方に突出するアウターレンズ58がシール部材59を介して取付けられる。
前記アウターレンズ58内には、テールライトバルブ60と、該テールライトバルブ60の上方に配置されるストップライトバルブ61と、前記テールライトバルブ60および前記ストップライトバルブ61の左右両側に配置される左右一対のウインカバルブ62,62とが、それらのバルブ60,61,62,62に共通な前記アウターレンズ58で覆われるようにして配置される。
前記テールライト54は、前記ベース部材57に形成されるテールライト用ハウジング部57aに支持される前記テールライトバルブ60と、前記アウターレンズ58と、該アウターレンズ58の内方に配置されて前記テールライトバルブ60を覆うインナーレンズ63とで構成される。前記テールライト用ハウジング部57aは車両前後方向の後方から見た正面視では略V字状をなすように配置されており、前記テールライトバルブ60は前記V字の頂点部に対応する位置で前記テールライト用ハウジング部57aに支持される。また前記インナレンズ31は赤色に着色されている。
前記ストップライト55は、前記テールライトライト用ハウジング部57aの上方で前記ベース部材57に形成されるストップライト用ハウジング部57bに支持される前記ストップライトバルブ61と、そのストップライトバルブ61を覆う前記インナーレンズ63および前記アウターレンズ58とで構成され、前記ストップライトバルブ61は、前記テールライト54の左右両側上部間に配置されるようにして前記ストップライト用ハウジング部57bに支持される。
前記ウインカライト58は、前記ベース部材57の左右両側に形成されるウインカ用ハウジング部57cに支持される前記ウインカバルブ62と、そのウインカバルブ62を覆う前記アウターレンズ58と、前記ウインカ用ハウジング部57cの下部だけを覆う前記インナーレンズ63とで構成される。
ところで前記リヤコンビネーションライト28の下方には、図1で示すように、前記後輪WRを斜め後ろ上方から覆うリヤフェンダ64に取付けられるライセンスプレート65が配置されており、前記テールライト54における前記テールライトバルブ60の下方で前記インナーレンズ63には、前記ライセンスプレート65側に向けて前記テールライトバルブ60からの光を導く透光66が設けられる。すなわち前記リヤコンビネーションライト28は、前記ライセンスプレート65を照らすライセンスライトの機能も果たすことになる。
次にこの実施の形態の作用について説明すると、フロントカバー15が、上部フロントカバー16および下部フロントカバー17から成り、ヘッドライト25が、前記上部フロントカバー16および前記下部フロントカバー17を連結するように設けられるので、上部フロントカバー16および下部フロントカバー17から成るようにフロントカバー15を構成してフロントカバー15の小型化を図った上で、上部フロントカバー16および下部フロントカバー17と、ヘッドライト25とでそれぞれ形成される線分LA,LB(図1および図2参照)を強調するようにした独特な外観形状とすることができ、ヘッドライト25を強調してヘッドライト25の視認性を高めることができる。
またヘッドライト25が備えるヘッドライトハウジング30の両側後部が、前記ヘッドライトハウジング30を前方から覆うレンズ31の後縁に連続しつつ外部に露出する露出面52を形成するようにして、前記上部フロントカバー16および前記下部フロントカバー17の両側後端部間に配置されるので、ヘッドライト25がより強調されることになり、ヘッドライト25の視認性をさらに高めることができる。
また前記露出面52の後縁52aが、側面視で前記上部フロントカバー16および前記下部フロントカバー17の両側後縁16a,17aに滑らかに連なるように配置されるので、フロントカバー15の後縁の一部をヘッドライトハウジング30で形成するようにしてヘッドライト25を車幅方向に可及的に大きくすることができ、ヘッドライト25の視認性がさらに向上する。
また前記レンズ31の後縁31aの最後端31aaが、側面視で車体フレームFの前端部のヘッドパイプ11よりも後方に配置されるので、ヘッドライト25を前後方向で大きく設けることができ、側方からのヘッドライト25の視認性を高めることができる。
さらに前記ヘッドライト25は、前記ヘッドライトハウジング30および前記レンズ31に加えて、前記ヘッドライトハウジング30の中央部に支持されるヘッドライトバルブ32と、そのヘッドライト25の左右両側に配置されて前記ヘッドライトハウジング30に支持される一対のポジションライトバルブ33,33と、それらのポジションライトバルブ33,33からの光を導くようにして前記レンズ31に沿って延びる一対の導光部材51,51とを備えるので、ヘッドライトバルブ32の左右両側に配置される一対のポジションライトバル33,33からの光がレンズ31に沿って延びる導光部材51,51で導かれることになり、ヘッドライト25の発光面積をより大きくすることができ、これによってもヘッドライト25の視認性が向上する。
以上、本発明の実施の形態について説明したが、本発明は上記実施の形態に限定されるものではなく、特許請求の範囲に記載された本発明を逸脱することなく種々の設計変更を行うことが可能である。
11・・・ヘッドパイプ
15・・・フロントカバー
16・・・上部フロントカバー
16a・・・上部フロントカバーの後縁
17・・・下部フロントカバー
17a・・・下部フロントカバーの後縁
25・・・ヘッドライト
30・・・ヘッドライトハウジング
31・・・レンズ
31a・・・レンズの後縁
31aa・・・レンズの後縁の最後端
32・・・ヘッドライトバルブ
33・・・ポジションライトバルブ
51・・・導光部材
52・・・露出面
52a・・・露出面の後縁
F・・・車体フレーム

Claims (5)

  1. 車体フレーム(F)がその前端部に有するヘッドパイプ(11)の前方に配置されるフロントカバー(15)と、前記ヘッドパイプ(11)の前方に配置されるヘッドライト(25)とを備える自動二輪車において、前記フロントカバー(15)が、上部フロントカバー(16)および下部フロントカバー(17)から成り、ヘッドライトハウジング(30)と、該ヘッドライトハウジング(30)を前方から覆うレンズ(31)とを有する前記ヘッドライト(25)が、前記上部フロントカバー(16)および前記下部フロントカバー(17)を連結するように設けられることを特徴とする自動二輪車における前部構造。
  2. 前記ヘッドライトハウジング(30)の両側後部が、前記レンズ(31)の後縁に連続しつつ外部に露出する露出面(52)を形成するようにして、前記上部フロントカバー(16)および前記下部フロントカバー(17)の両側後端部間に配置されることを特徴とする請求項1に記載の自動二輪車における前部構造。
  3. 前記露出面(52)の後縁(52a)が、側面視で前記上部フロントカバー(16)および前記下部フロントカバー(17)の両側後縁(16a,17a)に滑らかに連なるように配置されることを特徴とする請求項2に記載の自動二輪車における前部構造。
  4. 前記レンズ(31)の後縁(31a)の最後端(31aa)が、側面視で前記ヘッドパイプ(11)よりも後方に配置されることを特徴とする請求項1〜3のいずれか1項に記載の自動二輪車における前部構造。
  5. 前記ヘッドライト(25)は、前記ヘッドライトハウジング(30)および前記レンズ(31)に加えて、前記ヘッドライトハウジング(30)の中央部に支持されるヘッドライトバルブ(32)と、そのヘッドライトバルブ(32)の左右両側に配置されて前記ヘッドライトハウジング(30)に支持される一対のポジションライトバルブ(33)と、それらのポジションライトバルブ(33)からの光を導くようにして前記レンズ(31)に沿って延びる一対の導光部材(51)とを備えることを特徴とする請求項1〜4のいずれか1項に記載の自動二輪車における前部構造。
JP2013267791A 2013-12-25 2013-12-25 自動二輪車における前部構造 Expired - Fee Related JP5752226B2 (ja)

Priority Applications (2)

Application Number Priority Date Filing Date Title
JP2013267791A JP5752226B2 (ja) 2013-12-25 2013-12-25 自動二輪車における前部構造
CN201410806442.5A CN104743008B (zh) 2013-12-25 2014-12-22 二轮摩托车的前部结构

Applications Claiming Priority (1)

Application Number Priority Date Filing Date Title
JP2013267791A JP5752226B2 (ja) 2013-12-25 2013-12-25 自動二輪車における前部構造

Publications (2)

Publication Number Publication Date
JP2015123786A true JP2015123786A (ja) 2015-07-06
JP5752226B2 JP5752226B2 (ja) 2015-07-22

Family

ID=53534837

Family Applications (1)

Application Number Title Priority Date Filing Date
JP2013267791A Expired - Fee Related JP5752226B2 (ja) 2013-12-25 2013-12-25 自動二輪車における前部構造

Country Status (2)

Country Link
JP (1) JP5752226B2 (ja)
CN (1) CN104743008B (ja)

Cited By (1)

* Cited by examiner, † Cited by third party
Publication number Priority date Publication date Assignee Title
WO2018180351A1 (ja) * 2017-03-30 2018-10-04 本田技研工業株式会社 鞍乗型車両の前照灯装置

Families Citing this family (2)

* Cited by examiner, † Cited by third party
Publication number Priority date Publication date Assignee Title
CN105172950B (zh) * 2015-08-14 2017-11-03 薛建南 电动车前面板总成
EP4678522A1 (en) * 2024-07-12 2026-01-14 Yamaha Hatsudoki Kabushiki Kaisha Scooter type vehicle

Family Cites Families (4)

* Cited by examiner, † Cited by third party
Publication number Priority date Publication date Assignee Title
TWM270107U (en) * 2004-12-21 2005-07-11 Sanyang Industry Co Ltd A motorcycle headlight device
JP5005475B2 (ja) * 2007-08-28 2012-08-22 本田技研工業株式会社 車両のポジションランプ
JP5211358B2 (ja) * 2008-03-14 2013-06-12 本田技研工業株式会社 自動二輪車のヘッドライト
JP5301333B2 (ja) * 2009-03-31 2013-09-25 本田技研工業株式会社 自動2輪車用ヘッドライト装置

Cited By (4)

* Cited by examiner, † Cited by third party
Publication number Priority date Publication date Assignee Title
WO2018180351A1 (ja) * 2017-03-30 2018-10-04 本田技研工業株式会社 鞍乗型車両の前照灯装置
CN110476007A (zh) * 2017-03-30 2019-11-19 本田技研工业株式会社 鞍乘型车辆的前照灯装置
JPWO2018180351A1 (ja) * 2017-03-30 2020-01-23 本田技研工業株式会社 鞍乗型車両の前照灯装置
CN110476007B (zh) * 2017-03-30 2021-08-31 本田技研工业株式会社 鞍乘型车辆的前照灯装置

Also Published As

Publication number Publication date
CN104743008B (zh) 2018-04-24
CN104743008A (zh) 2015-07-01
JP5752226B2 (ja) 2015-07-22

Similar Documents

Publication Publication Date Title
JP6257736B2 (ja) 自動二輪車用前照灯
EP2298605B1 (en) Motorcycle headlamp
JP2010165583A (ja) 自動二輪車のポジションライトおよび灯火装置
JP6116935B2 (ja) 自動二輪車の前照灯装置
CN102530138B (zh) 机动二轮车的灯光装置
JP5301295B2 (ja) 車両の尾灯装置
JP6975844B2 (ja) 鞍乗型車両のコーナリングライト
JP2010030470A (ja) 自動二輪車
JP2009160973A (ja) 自動二輪車
CN1963291B (zh) 尾灯构造体
JP6108323B2 (ja) 車両用リヤコンビネーションランプ
JP5752226B2 (ja) 自動二輪車における前部構造
JP4188131B2 (ja) コンビネーションランプ
JP2009181913A (ja) 車両の前照灯装置
JP5624200B2 (ja) 車両の前照灯装置
CN105270514B (zh) 骑乘型车辆
JP2012151015A (ja) ヘッドライト
JP6096533B2 (ja) 鞍乗型車両の灯火器
JP5504016B2 (ja) ヘッドライト装置
JP2005239004A (ja) 自動二輪車の灯火器
JP6858741B2 (ja) 鞍乗り型車両の前照灯
JP6850897B2 (ja) 車両
JP6010079B2 (ja) 車両の前照灯装置
JP6321238B2 (ja) 鞍乗型車両の灯火器
JP5564011B2 (ja) 車両の後部構造

Legal Events

Date Code Title Description
TRDD Decision of grant or rejection written
A01 Written decision to grant a patent or to grant a registration (utility model)

Free format text: JAPANESE INTERMEDIATE CODE: A01

Effective date: 20150428

A61 First payment of annual fees (during grant procedure)

Free format text: JAPANESE INTERMEDIATE CODE: A61

Effective date: 20150519

R150 Certificate of patent or registration of utility model

Ref document number: 5752226

Country of ref document: JP

Free format text: JAPANESE INTERMEDIATE CODE: R150

LAPS Cancellation because of no payment of annual fees