JP2015021267A - 建築物の排水構造 - Google Patents
建築物の排水構造 Download PDFInfo
- Publication number
- JP2015021267A JP2015021267A JP2013149216A JP2013149216A JP2015021267A JP 2015021267 A JP2015021267 A JP 2015021267A JP 2013149216 A JP2013149216 A JP 2013149216A JP 2013149216 A JP2013149216 A JP 2013149216A JP 2015021267 A JP2015021267 A JP 2015021267A
- Authority
- JP
- Japan
- Prior art keywords
- opening
- square
- drain
- drainage structure
- duct
- Prior art date
- Legal status (The legal status is an assumption and is not a legal conclusion. Google has not performed a legal analysis and makes no representation as to the accuracy of the status listed.)
- Pending
Links
- 238000005520 cutting process Methods 0.000 claims abstract description 3
- 238000009434 installation Methods 0.000 claims description 4
- 230000002093 peripheral effect Effects 0.000 claims description 2
- 238000012423 maintenance Methods 0.000 abstract description 3
- 239000000428 dust Substances 0.000 description 15
- XLYOFNOQVPJJNP-UHFFFAOYSA-N water Substances O XLYOFNOQVPJJNP-UHFFFAOYSA-N 0.000 description 7
- 238000000034 method Methods 0.000 description 4
- 238000009825 accumulation Methods 0.000 description 3
- 238000004140 cleaning Methods 0.000 description 3
- 230000000694 effects Effects 0.000 description 2
- 230000005484 gravity Effects 0.000 description 2
- 230000001771 impaired effect Effects 0.000 description 2
- 229910001220 stainless steel Inorganic materials 0.000 description 2
- 238000003860 storage Methods 0.000 description 2
- 125000002066 L-histidyl group Chemical group [H]N1C([H])=NC(C([H])([H])[C@](C(=O)[*])([H])N([H])[H])=C1[H] 0.000 description 1
- BZHJMEDXRYGGRV-UHFFFAOYSA-N Vinyl chloride Chemical compound ClC=C BZHJMEDXRYGGRV-UHFFFAOYSA-N 0.000 description 1
- 239000003610 charcoal Substances 0.000 description 1
- 230000003247 decreasing effect Effects 0.000 description 1
- 230000002950 deficient Effects 0.000 description 1
- 210000003746 feather Anatomy 0.000 description 1
- 230000000149 penetrating effect Effects 0.000 description 1
- 239000004576 sand Substances 0.000 description 1
- 239000010935 stainless steel Substances 0.000 description 1
- 239000002699 waste material Substances 0.000 description 1
- 238000003466 welding Methods 0.000 description 1
Images
Landscapes
- Building Environments (AREA)
Abstract
【課題】屋根等の排水溝を伝って集められた雨水に含まれるゴミが縦樋の上方で詰まることなく地表付近に集積し除去できる、メンテナンスしやすい排水構造を提供する。【解決手段】建築物の陸屋根スラブ3または屋外床の排水溝7に面して角形のドレン開口11を設けると共に、ドレン開口11から、陸屋根スラブ3の外縁に設けられたパラペット5の外側に断面角形のドレン本体6を引き出し、引き出されたドレン本体6の端部を構成する角ダクト23は、円形パイプで構成された縦樋8の上部開口端から縦樋内に入り込む様にする。地表付近における縦樋8の側面をほぼ半周に渡って切り取る様にした側面開口部15が設けられており、縦樋8の内部には開口部15より低い位置にゴミの落下を防ぐ金網18が設けられている。【選択図】図1
Description
本発明は、建築物に降ってきた雨の排水に適した排水構造に係り、特に、落ち葉などによる漏水を生じさせない排水構造に関するものである。
従来、陸屋根、ルーフバルコニー等の露天のスラブに降ってきた雨は、排水溝を伝ってルーフドレンに集められた後、呼び樋、集水器(じょうご)を経由して、外壁に沿って垂直に延びる縦樋を通り、排水される構成が一般的となっている(特許文献1。図8(A)参照。)。
ルーフドレインには、屋根やベランダに落ちてきた枯れ葉、砂、鳥の羽根を含むゴミなどが雨水とともに縦樋に流入して詰まらない様に櫛状や網状のストレーナが配されていることが多いが(特許文献2。図8(B)参照。)、少しメンテナンスを怠ると、このストレーナが目詰まりして雨水をせき止め、排水溝から水がオーバーフローする現象が起こる。斯かる現象は、特に陸屋根の構造物において、屋上から建物の内部に雨水が浸入する原因の1つとなっており深刻な問題である。
雨漏りを防ぐためには、定期的に屋根に上がって排水溝を掃除し、ストレーナの目詰まりを除去する必要があるが、高所での清掃作業は非常に危険であり、とても素人の手に負えるものではなく、作業者にかなりのストレスになっている。
そこで、ルーフドレインのストレーナを廃止して、縦樋の下部に斜めに傾斜した網を取り付け、この網に沿って斜め下方に落下したゴミを集積するゴミ集積部を設け、ゴミ集積部の上蓋を開けてゴミを取り除く構造の提案がなされている(特許文献3。図8(C)参照。)。同様に軒樋においても上部のストレーナを廃止して縦樋の下部でゴミを受けるタイプの排水構造も種々提案されている(特許文献4。図8(D)参照。,特許文献5。図8(E)参照。)。
特許文献3の技術は、屋根の目皿を取り外しておくことで落ち葉は下部のゴミ集積部へと落とすことができるが、掃除を怠ると屋根上に雨水が溢れてしまう可能性がある。特許文献4の技術においても掃除を怠ると軒樋から雨水が溢れるという問題がある。特許文献5の技術は、縦樋が途中で途切れているからこうした問題は回避できる変わりに、落ち葉の散乱の問題や、ドーム状のストレーナの上面に落ち葉が貼り付いてしまい雨水が周囲に飛び散るという問題が生じ得る。
また、特許文献3,5の技術は、縦樋に大きなゴミ集積部を出っ張らせたり、ドーム状ストレーナを設置するため、縦樋の占有面積が大きくなって建築物の外観を損なうという問題もある。
そこで、本発明は、落ち葉によって雨水の排水が不良となることなく、見た目も損なわず、地上作業で落ち葉を容易に除去することのできるメンテナンス容易な排水構造を提供することを目的とする。
上記目的を達成するためになされた本発明の建築物の排水構造は、陸屋根または屋外床の排水溝の雨水を、当該排水溝に開口させたドレン口にて集水し、壁面外部に沿って設置された縦樋を介して排水するための排水構造であって、以下の構成を備えていることを特徴とする。
(1)前記ドレンは、角形のドレン開口を備えると共に前記縦樋と接続するための角ダクトを備え、前記縦樋は円形パイプによって構成されていること。
(2)前記角ダクトは、前記縦樋の内径よりも小さい寸法に形成され、前記ドレン開口と前記縦樋との間にトラップを形成しない様に取り回されると共に、前記縦樋の上端から当該縦樋内に挿入する様にして取り付けられていること。
(3)前記ドレン開口にはストレーナ部材を設置せず、前記縦樋の内部であって、地上に立っている人が落ち葉除去作業を実行できる高さにストレーナ部材を設置したこと。
(1)前記ドレンは、角形のドレン開口を備えると共に前記縦樋と接続するための角ダクトを備え、前記縦樋は円形パイプによって構成されていること。
(2)前記角ダクトは、前記縦樋の内径よりも小さい寸法に形成され、前記ドレン開口と前記縦樋との間にトラップを形成しない様に取り回されると共に、前記縦樋の上端から当該縦樋内に挿入する様にして取り付けられていること。
(3)前記ドレン開口にはストレーナ部材を設置せず、前記縦樋の内部であって、地上に立っている人が落ち葉除去作業を実行できる高さにストレーナ部材を設置したこと。
本発明の建築物の排水構造によれば、ドレン開口にはストレーナ部材を設置しないから、陸屋根等に落ちた落ち葉がドレン開口を塞いでしまうことがなく、雨水が屋根の上面に溢れることがない。また、角ダクトはトラップ(雨水溜まり)を形成しない様に取り回されているから、角ダクト内に落ち葉がたまってしまうこともなく、角ダクトは縦樋の内側に挿入されているから、縦樋との接続部分に内側へ飛び出す段差は形成されず、落ち葉が縦樋の上部に引っ掛かって詰まるということもない。そして、落ち葉はドレン開口から流入し、角ダクトを通じて縦樋の内部へと落ち込み、下部のストレーナ部材によって受け止められる。縦樋は円形であるから角ダクトの外面と縦樋の内面との間には角ダクトの各側面の外側に円弧状の隙間が形成される。従って、仮に落ち葉除去を怠ったとしても、雨水は縦樋上部から溢れ出すだけで陸屋根や屋外床へと溢れ出すことはない。なお、縦樋において、ストレーナ部材の上部に開閉扉を設けたり、ストレーナ部材毎引き出すことのできる引き出し構造を設けるなどすることにより、落ち葉除去を容易に実行することができる。
ここで、本発明の建築物の排水構造にあっては、さらに、以下の構成をも備えるとよい。
(4)前記縦樋側面の前記ストレーナ部材の設置箇所の上方に、地上に立っている人が前記ストレーナ部材を除き見ることができると共に手を差し入れることのできる高さ及び寸法の側面開口部が形成されると共に、前記ストレーナ部材は、前記側面開口部を経由して出し入れできる寸法を有し、前記側面開口部の下端より所定距離下方に下がった位置に着脱可能に設置されていること。
(4)前記縦樋側面の前記ストレーナ部材の設置箇所の上方に、地上に立っている人が前記ストレーナ部材を除き見ることができると共に手を差し入れることのできる高さ及び寸法の側面開口部が形成されると共に、前記ストレーナ部材は、前記側面開口部を経由して出し入れできる寸法を有し、前記側面開口部の下端より所定距離下方に下がった位置に着脱可能に設置されていること。
この場合、さらに、以下の構成をも備えるとよい。
(5)前記側面開口は、前記縦樋の側面をほぼ半周に渡って切り取ることによって開放状態に形成されていること。
(5)前記側面開口は、前記縦樋の側面をほぼ半周に渡って切り取ることによって開放状態に形成されていること。
側面開口部を介して、地上に立っている人が内部下方を除き見ることができ、落ち葉がたまっていればこれを容易に発見することができる。また、この開口部は人が手を差し入れることができる寸法であるから、ストレーナ部材の上にたまった落ち葉を容易に取り除くことができる。加えて、仮に落ち葉の除去を忘れたとしても、側面開口部を開放状態としておけば、雨水はこの側面開口部から外へ流れ出し、ドレン開口から溢れることはない。そして、特許文献1の様な大きな出っ張りを縦樋に形成しなくてよいから、外観も損なわないし、ストレーナ部材は開口部の下端より所定距離下方に下がっているから、落ち葉が直ちに周囲に散乱することがない。逆に、こうした落ち葉がストレーナ部材の上に溜まる構造でありかつ側面開口部を開放させているから、側面開口部から水が溢れ、落ち葉除去のタイミングを知らせるのにも役立つ。
ここで、これら本発明の建築物の排水構造にあっては、さらに、以下の構成をも備えるとよい。
(6)前記ドレン開口と前記角ダクト上端との間に、周壁が台形状平面によって構成され、前記ドレン開口から前記角ダクトへと開口面積を徐々に小さくする角形ファンネルが備えられていること。
(6)前記ドレン開口と前記角ダクト上端との間に、周壁が台形状平面によって構成され、前記ドレン開口から前記角ダクトへと開口面積を徐々に小さくする角形ファンネルが備えられていること。
ドレン開口を大きくして落ち葉を受け入れ易くすることができると共に、縦樋内に挿入できる様な外形寸法とした角ダクトとの間を角形ファンネルがスムーズに連結し、落ち葉を引っ掛かることなく角ダクトへと導くことができる。
この場合、さらに、以下の構成をも備えるとよい。
(7)前記ドレン開口を水平方向に開口させると共に、前記角形ファンネルを前記ドレン開口の開口底縁と前記角ダクトの上端とを水平若しくは下り傾斜となる様に接続することにより、横引きドレン構造とされていること。
(7)前記ドレン開口を水平方向に開口させると共に、前記角形ファンネルを前記ドレン開口の開口底縁と前記角ダクトの上端とを水平若しくは下り傾斜となる様に接続することにより、横引きドレン構造とされていること。
横引きドレン構造とすることにより、排水溝の溝幅を大きくすることなく大開口のドレンを設けることができる。また、ドレン開口が角形でその開口底縁と角ダクトの上端とを水平若しくは下り傾斜となる様に角形ファンネルで接続するから、ドレン開口の縁に落ち葉が引っ掛かり難く、排水溝からドレン開口への雨水の流れが良好となる。また、横引きドレン構造とすることで陸屋根やルーフバルコニーなどに孔を開けなくてよく、その下の居室等への漏水の危険をなくすることにも繋がる。
この場合、さらに、以下の構成をも備えるとよい。
(8)設置対象が周囲にパラペットを備えた陸屋根であり、前記排水溝は該陸屋根のパラペットの下端付近に形成され、前記ドレン開口は、前記パラペットの下部に前記排水溝の底と開口底縁とを高さ方向にほぼ一致させる様に取り付けられ、前記角形ファンネルは、前記パラペットを貫通する様に取り付けられ、前記縦樋は前記角形ファンネルの突出位置のほぼ真下に位置する様に設置され、前記角ダクトを真上から挿入されていること。
(8)設置対象が周囲にパラペットを備えた陸屋根であり、前記排水溝は該陸屋根のパラペットの下端付近に形成され、前記ドレン開口は、前記パラペットの下部に前記排水溝の底と開口底縁とを高さ方向にほぼ一致させる様に取り付けられ、前記角形ファンネルは、前記パラペットを貫通する様に取り付けられ、前記縦樋は前記角形ファンネルの突出位置のほぼ真下に位置する様に設置され、前記角ダクトを真上から挿入されていること。
角形ファンネルでパラペットを貫通する横引きドレン構造とすることにより、角ダクトは縦樋と一直線になる様に真下へ垂らす様に設置すればよく、単純形状に形成することができ、落ち葉が詰まりにくく、外観上もすっきりしたものとなる。
さらに、他の形態として上記目的を達成するためになされた本発明の建築物の排水構造は、建築物に降った雨水を壁面外部に沿って設置された縦樋を介して排水するための排水構造であって、以下の構成を備えていることを特徴とする。
(11)前記縦樋は円形パイプによって構成されると共に、上端開口から内部へと角ダクトを挿入され、該角ダクトの上端側に備えた角形のドレン開口を、軒樋又は谷樋の底面に設置したこと。
(12)前記ドレン開口にはストレーナ部材を設置せず、前記縦樋の内部であって、地上に立っている人が落ち葉除去作業を実行できる高さにストレーナ部材を設置したこと。
(11)前記縦樋は円形パイプによって構成されると共に、上端開口から内部へと角ダクトを挿入され、該角ダクトの上端側に備えた角形のドレン開口を、軒樋又は谷樋の底面に設置したこと。
(12)前記ドレン開口にはストレーナ部材を設置せず、前記縦樋の内部であって、地上に立っている人が落ち葉除去作業を実行できる高さにストレーナ部材を設置したこと。
陸屋根や屋外床について説明したのと同様、軒樋や谷樋においても、仮に落ち葉除去作業を怠った場合、軒樋や谷樋より下に位置する縦樋の上端から雨水が溢れ出すだけとなる。従って、屋根の下を歩いている人の頭上に軒樋や谷樋から雨水が落ちてきて下を歩く人が不用意に身体を濡らしてしまうということがない。
本発明によれば、排水溝のドレン口に落ち葉が集積して雨水の排水が不良となることがなく、見た目も損なわず、地上作業で落ち葉を容易に除去することができるメンテナンス容易な排水構造を提供することができる。
本発明を実施するための形態について実施例で説明する。
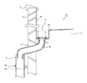
実施例1は、図1に示す様に、陸屋根の排水構造1に関するものであって、陸屋根スラブ3の外縁に沿ってパラペット5が設けられ、パラペット5の内側直下には、排水溝7が設けられている。陸屋根スラブ3は、排水溝7に向かって緩やかな下り勾配を有しており、パラペット5の上面は、パラペット5内側に傾斜した笠木9で覆われている。これにより、陸屋根スラブ3に降ってきた雨は、排水溝7に向かって流れ、パラペット5上に降ってきた雨は、笠木9から排水溝7側に落ちる様になっている。パラペット5の内側面には、排水溝7に面してドレン開口11が設けられ、ゴミを含む雨水は、ドレン開口11から排水装置2によってパラペット5の外側に抜けて地表付近まで流下する様になっている。
排水装置2は、角形フレーム4、ドレン本体6、縦樋8から構成されている。
角形フレーム4は、四角形の額縁状で、図1に示す様に、ドレン開口11の周縁を取り囲むように排水溝7に面して据え付けられている。
ドレン本体6は、図2に示す様に、雨水の流入口および流出口を備えた角形ファンネル21と、角形ファンネル21の流出口に連結される角ダクト23とから構成されている。
角形ファンネル21は、ドレン開口11を画定する流入口が角形で広く、流入口を画定する面と平行な面で切断した断面は、流出口に向かうにつれ、流入口と相似の断面形状を保ちながら断面積が徐々に小さくなった断面角形のファンネル形状となっている。角形ファンネル21は、パラペット5を形成すべき型枠内に、流入口をドレン開口11側に向けて、なおかつ流入口に比べて流出口がやや低くなる様に予め配置しておき、型枠内にコンクリートを流し込むことで、図1に示す様に、パラペット5内を貫通する横引きドレインを形成している。
角形ファンネル21は、流入口において外開きのフランジ22を有しており、フランジ22は、角形フレーム4と重なる大きさを有している。角形ファンネル21のフランジ22および角形フレーム4の四隅には、それぞれねじ切りされた貫通孔25,27が形成されており、貫通孔25に挿通されるボルト29とナットとにより両者は締結固定される。角形ファンネル21のフランジ22と角形フレーム4との間には、図1および図3に示す様に、パラペット5の内側面および陸屋根スラブ3を覆う防水シート10が挟み込まれており、パラペット5と角形ファンネル21との隙間または陸屋根スラブ3と角形ファンネル21との隙間からの雨水侵入を防止している。
角ダクト23は、両端が開口した角筒形状であり、角形ファンネル21の流出口と同一の断面形状および同一断面積を保ちながら、鉛直下方に向けて湾曲している。角形ファンネル21および角ダクト23は共にステンレス製であり、パラペット5の敷設後、溶接により継ぎ合わせることができる。
本明細書において、「断面」とは、特に断らない限り、雨水の流れる方向に対して垂直な断面を意味する。
本明細書において、「断面」とは、特に断らない限り、雨水の流れる方向に対して垂直な断面を意味する。
縦樋8は、図2に示す様に、円筒形状のパイプであって、鉛直上向きに解放された開口端(上部開口端)から、鉛直下方に湾曲したドレン本体6の角ダクト23の下端を内側に差し入れる様にして収容している。図3に示す様に、縦樋8に収容された角ダクト23と縦樋8の内壁との間には、両者の断面形状の違いにより、一定の隙間13が形成される。縦樋8は、図1に示す様に、建築物の外壁17に沿って鉛直下方に延びているが、その所々で、図2に示すパイプ用固定金具12により、建築物の外壁17に固定されている。なお、本実施形態では縦樋8として、塩化ビニル管を採用している。
地表付近における縦樋8の側面は、縦樋8の長手方向に対して垂直な断面が半円形になる様にほぼ半周に渡って切り取られて側面開口部15を形成しており、地上に立っている人が側面開口部15から縦樋8内部におけるゴミの集積状況を視認できる様に高さが設定されている。なお、側面開口部15の幅は、人が手を差し入れることができる寸法となっている。
縦樋8内壁の側面開口部15下端より低い一定の高さには、等間隔で4箇所、突起16が設けられており、突起16の上面に支持される様にステンレス製の金網(ストレーナ部材)18が載せられている。これにより、降雨があった場合、縦樋8を流れてきたゴミを金網18が堰き止めつつ雨水を流下させる様になっている。金網18上にゴミが集積していることが開口部15から確認されたら、集積したゴミを炭バサミ等で摘まんで除去すればよいが、金網18は着脱可能であるので金網18ごと取り出すこともできる。
縦樋8に開口部15が設けられている「地表付近」とは、地上において人間が目視可能で手に届く高さを意味する。また、実施例では縦樋8として108φの塩ビ管を用いているので、ほぼ半周に渡って切り取られた側面開口部15から人が手を差し入れることが可能となっている。
縦樋8に開口部15が設けられている「地表付近」とは、地上において人間が目視可能で手に届く高さを意味する。また、実施例では縦樋8として108φの塩ビ管を用いているので、ほぼ半周に渡って切り取られた側面開口部15から人が手を差し入れることが可能となっている。
以上に説明した様に、本実施例の排水構造1によれば、ドレン開口11から角ダクト6を経由して縦樋8まで、ゴミの引っかかりが生ずる箇所はなく、縦樋8に沿ってスムースにゴミを流下させ、金網18の上に集積させることができる。また、本実施例の排水構造1によれば、角ダクト23と縦樋8との間に集水器等の連結部材は不要となり、部品点数を削減することができる。さらに、部材間の位置合わせも容易となる。加えて、地下に貯水タンクを設けて雨水を利用する場合でも、貯水タンクからあふれた水は縦樋8の上部まで達することなく、縦樋8側面に設けた側面開口部15からオーバーフローするので、雨水が屋根部分であふれることも防げる。仮に、側面開口部15に開閉扉を備えさせた場合も、縦樋8の上部の隙間13から溢れるだけなので、屋根部分へと溢れ出すことはない。
実施例2は、排水装置2が、角形フレーム4、角形のドレン本体6、縦樋8から構成されている点で実施例1と共通しているが、実施例1と異なるのは、図4に示す様に、バルコニーの排水構造31である点、ドレン開口11が、手摺壁35の内側直下に形成された排水溝7の底面に設けられている点、ドレン本体6は、バルコニー床面33を貫通して軒天34の下方に引き出され、縦引きドレインを形成している点、および、軒天34の下方に引き出された角ダクト23は、建築物の外壁面37に向かって湾曲し、さらに外壁面37に沿って鉛直下方に湾曲させる様に取り回されて縦樋8の上部開口端から縦樋8の内部に入り込んでいる点である。なお、図示の様に、角ダクト23の途中にトラップが形成されない様な取り回し方法をとっている。
この実施例2の排水構造31によれば、実施例1と同様の効果を奏すると共に、ゴミを含む雨水が、ドレン開口の位置から重力にしたがって自然落下させることができる。
実施例3は、排水装置2が、角形フレーム4、角形のダクト本体6、縦樋8から構成されている陸屋根の排水構造41である点で実施例1と共通しているが、実施例1と異なるのは、図5に示す様に、ドレン開口11が、パラペット5の内側直下に形成された排水溝7の底面に設けられている点、ダクト本体6の角形テーパ部21がファンネル形状を有しておらず、一定の断面形状および断面積を有している点、ならびに、ダクト本体6が、パラペット5の壁面を貫通することなく、一旦縦引きされた後、建築物の外壁17の外側に引き出されている点である。
この実施例3の排水構造41によれば、実施例1と同様の効果を奏すると共に、ゴミを含む雨水が、ドレン口の位置から重力にしたがって自然落下させることができる。
実施例4は、実施例1とほぼ同様であるが、角形フレーム51の下縁52をファンネル側に折り曲げた形状とし、角形ファンネル53の底面54を段付き形状として底面側のフランジをなくしたものを用いることにより、排水溝7の底と角形開口11の底を一致させたものである。これにより、落ち葉が排水溝7に留まりにくくなる。
実施例5は、陸屋根等ではなく谷樋61からの雨水排水のためのものである。対象が谷樋61となる結果、実施例2,3と同様に、縦引きドレン構造となり、谷樋61の端部底面に上向きに開口する様に角形のドレン開口62を設置し、必用に応じて若干屈曲させる様に角ダクト63を縦樋64の上端開口から縦樋内に挿入する。縦樋64には実施例1と同じく側面開口65と金網66が備えられている。
以上、本発明の実施例について説明したが、本発明はこれらの実施例に限られるものではなく、その要旨を逸脱しない範囲内においてさらに種々の形態で実施することができる。
例えば、バルコニーについて説明した排水構造として、実施例1と同様に横引きドレンを備える様にしてもよい。また、谷樋について説明した排水構造を軒樋に設置してもよい。
陸屋根、ユーフバルコニー、ベランダ、集合住宅の外廊下、谷樋や軒樋等の排水構造に利用することができる。
1,41・・・陸屋根の排水構造、2・・・排水装置、3・・・陸屋根スラブ、4・・・角形フレーム、5・・・パラペット、6・・・ドレン本体、7・・・排水溝、8・・・縦樋、9,39・・・笠木、10・・・防水シート、11・・・ドレン開口、12・・・パイプ用固定金具、13・・・隙間、15・・・側面開口部、16・・・突起、17・・・外壁、18・・・金網(ストレーナ部材)、21・・・角形ファンネル、22・・・フランジ、23・・・角ダクト、25,27・・・貫通孔、29・・・ボルト、31・・・バルコニーの排水構造、33・・・バルコニー床面、34・・・軒天、35・・・手摺壁、37・・・建築物の壁面、51・・・角形フレーム、52・・・下縁、53・・・角形ファンネル、54・・・底面、谷樋61、62・・・ドレン開口、63・・・角ダクト、64・・・縦樋、65・・・側面開口、66・・・金網。
Claims (7)
- 陸屋根または屋外床の排水溝の雨水を、当該排水溝に開口させたドレンにて集水し、壁面外部に沿って設置された縦樋を介して排水するための排水構造であって、以下の構成を備えていることを特徴とする建築物の排水構造。
(1)前記ドレンは、角形のドレン開口を備えると共に前記縦樋と接続するための角ダクトを備え、前記縦樋は円形パイプによって構成されていること。
(2)前記角ダクトは、前記縦樋の内径よりも小さい寸法に形成され、前記ドレン開口と前記縦樋との間にトラップを形成しない様に取り回されると共に、前記縦樋の上端から当該縦樋内に挿入する様にして取り付けられていること。
(3)前記ドレン開口にはストレーナ部材を設置せず、前記縦樋の内部であって、地上に立っている人が落ち葉除去作業を実行できる高さにストレーナ部材を設置したこと。 - さらに、以下の構成をも備えたことを特徴とする請求項1記載の建築物の排水構造。
(4)前記縦樋側面の前記ストレーナ部材の設置箇所の上方に、地上に立っている人が前記ストレーナ部材を除き見ることができると共に手を差し入れることのできる高さ及び寸法の側面開口部が形成されると共に、前記ストレーナ部材は、前記側面開口部を経由して出し入れできる寸法を有し、前記側面開口部の下端より所定距離下方に下がった位置に着脱可能に設置されていること。 - さらに、以下の構成をも備えたことを特徴とする請求項2記載の建築物の排水構造。
(5)前記側面開口は、前記縦樋の側面をほぼ半周に渡って切り取ることによって開放状態に形成されていること。 - さらに、以下の構成をも備えたことを特徴とする請求項2〜4のいずれかに記載の建築物の排水構造。
(6)前記ドレン開口と前記角ダクト上端との間に、周壁が台形状平面によって構成され、前記ドレン開口から前記角ダクトへと開口面積を徐々に小さくする角形ファンネルが備えられていること。 - さらに、以下の構成をも備えたことを特徴とする請求項4記載の建築物の排水構造。
(7)前記ドレン開口を水平方向に開口させると共に、前記角形ファンネルを前記ドレン開口の開口底縁と前記角ダクトの上端とを水平若しくは下り傾斜となる様に接続することにより、横引きドレン構造とされていること。 - さらに、以下の構成をも備えたことを特徴とする請求項5記載の建築物の排水構造。
(8)設置対象が周囲にパラペットを備えた陸屋根であり、前記排水溝は該陸屋根のパラペットの下端付近に形成され、前記ドレン開口は、前記パラペットの下部に前記排水溝の底と開口底縁とを高さ方向にほぼ一致させる様に取り付けられ、前記角形ファンネルは、前記パラペットを貫通する様に取り付けられ、前記縦樋は前記角形ファンネルの突出位置のほぼ真下に位置する様に設置され、前記角ダクトを真上から挿入されていること。 - 建築物に降った雨水を壁面外部に沿って設置された縦樋を介して排水するための排水構造であって、以下の構成を備えていることを特徴とする建築物の排水構造。
(11)前記縦樋は円形パイプによって構成されると共に、上端開口から内部へと角ダクトを挿入され、該角ダクトの上端側に備えた角形のドレン開口を、軒樋又は谷樋の底面に設置したこと。
(12)前記ドレン開口にはストレーナ部材を設置せず、前記縦樋の内部であって、地上に立っている人が落ち葉除去作業を実行できる高さにストレーナ部材を設置したこと。
Priority Applications (1)
| Application Number | Priority Date | Filing Date | Title |
|---|---|---|---|
| JP2013149216A JP2015021267A (ja) | 2013-07-18 | 2013-07-18 | 建築物の排水構造 |
Applications Claiming Priority (1)
| Application Number | Priority Date | Filing Date | Title |
|---|---|---|---|
| JP2013149216A JP2015021267A (ja) | 2013-07-18 | 2013-07-18 | 建築物の排水構造 |
Publications (1)
| Publication Number | Publication Date |
|---|---|
| JP2015021267A true JP2015021267A (ja) | 2015-02-02 |
Family
ID=52485961
Family Applications (1)
| Application Number | Title | Priority Date | Filing Date |
|---|---|---|---|
| JP2013149216A Pending JP2015021267A (ja) | 2013-07-18 | 2013-07-18 | 建築物の排水構造 |
Country Status (1)
| Country | Link |
|---|---|
| JP (1) | JP2015021267A (ja) |
Cited By (8)
| Publication number | Priority date | Publication date | Assignee | Title |
|---|---|---|---|---|
| DE102015112177A1 (de) | 2014-07-28 | 2016-01-28 | Canon Kabushiki Kaisha | Bilderzeugungsvorrichtung mit abnehmbarer Fixiereinrichtung, zugehöriges Steuerverfahren und zugehöriges Steuerprogramm speicherndes Speichermedium |
| CN106906949A (zh) * | 2017-05-02 | 2017-06-30 | 北京齐家怡居科技有限责任公司 | 一种兼顾承重、排水和采光的钢梁及屋顶结构 |
| CN109057187A (zh) * | 2018-08-28 | 2018-12-21 | 中国二十冶集团有限公司 | 建筑屋面的防水补强施工方法 |
| CN111962605A (zh) * | 2020-07-22 | 2020-11-20 | 无锡市新兴建筑工程有限公司 | 海绵城市房屋雨水收集装置 |
| CN113216528A (zh) * | 2021-05-18 | 2021-08-06 | 牟鑫毅 | 一种绿色建筑节能环保型可收集雨水进行利用的屋面 |
| CN115573522A (zh) * | 2022-09-21 | 2023-01-06 | 中国一冶集团有限公司 | 基于屋顶调蓄的建筑落水管雨污断接分流系统及施工方法 |
| CN119288148A (zh) * | 2024-11-27 | 2025-01-10 | 中国十七冶集团有限公司 | 一种新型种植屋面防堵塞落水管结构 |
| JP7654428B2 (ja) | 2021-03-12 | 2025-04-01 | 大和ハウス工業株式会社 | 雨樋構造 |
-
2013
- 2013-07-18 JP JP2013149216A patent/JP2015021267A/ja active Pending
Cited By (9)
| Publication number | Priority date | Publication date | Assignee | Title |
|---|---|---|---|---|
| DE102015112177A1 (de) | 2014-07-28 | 2016-01-28 | Canon Kabushiki Kaisha | Bilderzeugungsvorrichtung mit abnehmbarer Fixiereinrichtung, zugehöriges Steuerverfahren und zugehöriges Steuerprogramm speicherndes Speichermedium |
| CN106906949A (zh) * | 2017-05-02 | 2017-06-30 | 北京齐家怡居科技有限责任公司 | 一种兼顾承重、排水和采光的钢梁及屋顶结构 |
| CN109057187A (zh) * | 2018-08-28 | 2018-12-21 | 中国二十冶集团有限公司 | 建筑屋面的防水补强施工方法 |
| CN111962605A (zh) * | 2020-07-22 | 2020-11-20 | 无锡市新兴建筑工程有限公司 | 海绵城市房屋雨水收集装置 |
| CN111962605B (zh) * | 2020-07-22 | 2021-06-08 | 无锡市新兴建筑工程有限公司 | 海绵城市房屋雨水收集装置 |
| JP7654428B2 (ja) | 2021-03-12 | 2025-04-01 | 大和ハウス工業株式会社 | 雨樋構造 |
| CN113216528A (zh) * | 2021-05-18 | 2021-08-06 | 牟鑫毅 | 一种绿色建筑节能环保型可收集雨水进行利用的屋面 |
| CN115573522A (zh) * | 2022-09-21 | 2023-01-06 | 中国一冶集团有限公司 | 基于屋顶调蓄的建筑落水管雨污断接分流系统及施工方法 |
| CN119288148A (zh) * | 2024-11-27 | 2025-01-10 | 中国十七冶集团有限公司 | 一种新型种植屋面防堵塞落水管结构 |
Similar Documents
| Publication | Publication Date | Title |
|---|---|---|
| JP2015021267A (ja) | 建築物の排水構造 | |
| US8679328B2 (en) | Floor drain cover | |
| US8635811B2 (en) | Screened gutter protection | |
| US11293171B2 (en) | Filtering drain cover | |
| US20130333304A1 (en) | Water flow apparatus | |
| US10961714B2 (en) | Cover for water flow inlet | |
| KR101085466B1 (ko) | 건축구조물 발코니에 설치되는 조립식 배수시설 | |
| US20120110922A1 (en) | Rain gutter gaurd and method for installation | |
| JP6910797B2 (ja) | 軒先排水構造 | |
| JP3166276U (ja) | 雨樋を設けた建物 | |
| KR200490589Y1 (ko) | 빗물받이 | |
| JP5668198B2 (ja) | 雨水継手 | |
| JPH08193393A (ja) | バルコニーにおける排水設備構造 | |
| JP2011017128A (ja) | 詰まり防止具 | |
| JPS6137705Y2 (ja) | ||
| JP2006226086A (ja) | 落ち葉よけ網蓋付雨樋と、雨樋の落ち葉等侵入防止網蓋 | |
| KR200497638Y1 (ko) | 소형동물 탈출장치가 구비된 사각 집수정 | |
| JP5092689B2 (ja) | 屋根排水装置 | |
| JP3179965U (ja) | 枡、会所のゴミ、土砂及び蚊の防止ネット | |
| JP4145933B2 (ja) | 樋継手 | |
| JP5830334B2 (ja) | 落ち葉除けネット及びサイホン式高排水システム | |
| JPS5829210Y2 (ja) | 軒樋 | |
| JPH0632548U (ja) | 雨樋の異物除去装置 | |
| JP3192707U (ja) | 屋根構造 | |
| JPH0380223B2 (ja) |