JP2014123778A - リソグラフィ装置およびデバイス製造方法 - Google Patents

リソグラフィ装置およびデバイス製造方法 Download PDF

Info

Publication number
JP2014123778A
JP2014123778A JP2014066305A JP2014066305A JP2014123778A JP 2014123778 A JP2014123778 A JP 2014123778A JP 2014066305 A JP2014066305 A JP 2014066305A JP 2014066305 A JP2014066305 A JP 2014066305A JP 2014123778 A JP2014123778 A JP 2014123778A
Authority
JP
Japan
Prior art keywords
substrate
positioning member
actuator
positioning
substrate table
Prior art date
Legal status (The legal status is an assumption and is not a legal conclusion. Google has not performed a legal analysis and makes no representation as to the accuracy of the status listed.)
Granted
Application number
JP2014066305A
Other languages
English (en)
Other versions
JP6228878B2 (ja
JP2014123778A5 (ja
Inventor
Huang Yan-Shan
ホァン,ヤン−シャン
Theodorus Petrus Maria Cadee
カデー,セオドルス,ペトルス,マリア
Current Assignee (The listed assignees may be inaccurate. Google has not performed a legal analysis and makes no representation or warranty as to the accuracy of the list.)
ASML Netherlands BV
Original Assignee
ASML Netherlands BV
Priority date (The priority date is an assumption and is not a legal conclusion. Google has not performed a legal analysis and makes no representation as to the accuracy of the date listed.)
Filing date
Publication date
Application filed by ASML Netherlands BV filed Critical ASML Netherlands BV
Publication of JP2014123778A publication Critical patent/JP2014123778A/ja
Publication of JP2014123778A5 publication Critical patent/JP2014123778A5/ja
Application granted granted Critical
Publication of JP6228878B2 publication Critical patent/JP6228878B2/ja
Active legal-status Critical Current
Anticipated expiration legal-status Critical

Links

Images

Classifications

    • GPHYSICS
    • G03PHOTOGRAPHY; CINEMATOGRAPHY; ANALOGOUS TECHNIQUES USING WAVES OTHER THAN OPTICAL WAVES; ELECTROGRAPHY; HOLOGRAPHY
    • G03FPHOTOMECHANICAL PRODUCTION OF TEXTURED OR PATTERNED SURFACES, e.g. FOR PRINTING, FOR PROCESSING OF SEMICONDUCTOR DEVICES; MATERIALS THEREFOR; ORIGINALS THEREFOR; APPARATUS SPECIALLY ADAPTED THEREFOR
    • G03F7/00Photomechanical, e.g. photolithographic, production of textured or patterned surfaces, e.g. printing surfaces; Materials therefor, e.g. comprising photoresists; Apparatus specially adapted therefor
    • G03F7/70Microphotolithographic exposure; Apparatus therefor
    • G03F7/70691Handling of masks or workpieces
    • G03F7/70775Position control, e.g. interferometers or encoders for determining the stage position
    • GPHYSICS
    • G03PHOTOGRAPHY; CINEMATOGRAPHY; ANALOGOUS TECHNIQUES USING WAVES OTHER THAN OPTICAL WAVES; ELECTROGRAPHY; HOLOGRAPHY
    • G03FPHOTOMECHANICAL PRODUCTION OF TEXTURED OR PATTERNED SURFACES, e.g. FOR PRINTING, FOR PROCESSING OF SEMICONDUCTOR DEVICES; MATERIALS THEREFOR; ORIGINALS THEREFOR; APPARATUS SPECIALLY ADAPTED THEREFOR
    • G03F7/00Photomechanical, e.g. photolithographic, production of textured or patterned surfaces, e.g. printing surfaces; Materials therefor, e.g. comprising photoresists; Apparatus specially adapted therefor
    • G03F7/70Microphotolithographic exposure; Apparatus therefor
    • G03F7/70691Handling of masks or workpieces
    • G03F7/70716Stages
    • G03F7/70725Stages control
    • GPHYSICS
    • G03PHOTOGRAPHY; CINEMATOGRAPHY; ANALOGOUS TECHNIQUES USING WAVES OTHER THAN OPTICAL WAVES; ELECTROGRAPHY; HOLOGRAPHY
    • G03FPHOTOMECHANICAL PRODUCTION OF TEXTURED OR PATTERNED SURFACES, e.g. FOR PRINTING, FOR PROCESSING OF SEMICONDUCTOR DEVICES; MATERIALS THEREFOR; ORIGINALS THEREFOR; APPARATUS SPECIALLY ADAPTED THEREFOR
    • G03F7/00Photomechanical, e.g. photolithographic, production of textured or patterned surfaces, e.g. printing surfaces; Materials therefor, e.g. comprising photoresists; Apparatus specially adapted therefor
    • G03F7/70Microphotolithographic exposure; Apparatus therefor
    • G03F7/70691Handling of masks or workpieces
    • G03F7/70758Drive means, e.g. actuators, motors for long- or short-stroke modules or fine or coarse driving

Landscapes

  • Physics & Mathematics (AREA)
  • General Physics & Mathematics (AREA)
  • Exposure And Positioning Against Photoresist Photosensitive Materials (AREA)
  • Container, Conveyance, Adherence, Positioning, Of Wafer (AREA)
  • Exposure Of Semiconductors, Excluding Electron Or Ion Beam Exposure (AREA)

Abstract

【課題】基板のより正確な位置決め、特に、投影システムに対するターゲット部分のより正確な垂直位置決めを可能にする基板ステージまたはリソグラフィ装置を提供する。
【解決手段】基板ステージがリソグラフィ装置で使用される。基板ステージは、基板を保持する基板テーブルと、使用中リソグラフィ装置の投影システムに対して基板テーブルを位置決めするための位置決めデバイスとを備える。位置決めデバイスは、基板テーブルに設置された第1位置決め部材と、基板テーブルを位置決めするために第1位置決め部材と協働する第2位置決め部材とを備える。第2位置決め部材はサポート構造に設置される。
基板ステージは、サポート構造に対して実質的に固定された水平位置において基板テーブルの底面に垂直力を加えるアクチュエータをさらに備える。
【選択図】図2

Description

[0001] 本発明は、基板ステージ、リソグラフィ装置およびデバイスを製造する方法に関する。
[0002] リソグラフィ装置は、所望のパターンを基板上、通常、基板のターゲット部分上に付与する機械である。リソグラフィ装置は、例えば、集積回路(IC)の製造に用いることができる。その場合、ICの個々の層上に形成される回路パターンを生成するために、マスクまたはレチクルとも呼ばれるパターニングデバイスを用いることができる。このパターンは、基板(例えば、シリコンウェーハ)上のターゲット部分(例えば、ダイの一部、または1つ以上のダイを含む)に転写することができる。通常、パターンの転写は、基板上に設けられた放射感応性材料(レジスト)層上への結像によって行われる。一般には、単一の基板が、連続的にパターニングされる隣接したターゲット部分のネットワークを含んでいる。公知のリソグラフィ装置としては、ターゲット部分上にパターン全体を一度に露光することにより各ターゲット部分を照射するいわゆるステッパ、および放射ビームによってある特定の方向(「スキャン」方向)にパターンをスキャンすると同時に、この方向に平行または逆平行に基板をスキャンすることにより各ターゲット部分を照射する、いわゆるスキャナが含まれる。そのようなステッパまたはスキャナ構成では、(投影システムによって提供される)照射パターンに対する基板の正確な位置決めが必要とされる。正確な位置決めは、(集積回路の連続する層と層との間の正確な一致を保証するために)水平面および(ターゲット部分の焦点が合っていることを保証するために、投影システムに対する)垂直位置の両方で必要とされる。投影システムに対して基板を正確に位置決めするために位置決めデバイスが提供されており、それによって、基板の位置を6自由度で制御することができる。パターン付き放射ビームに対する基板の位置決めに関する正確性要件の増大を考慮して、より複雑な位置決めデバイスが設計された。そのようなデバイスは、例えば、基板を保持している基板テーブルの変形を考慮に入れるために、例えば、過剰決定された数のアクチュエータを含み得る。オーバーレイおよびフォーカス要件を満たすことは、特に、450mmウェーハなどのより大きなウェーハまたは基板への移行が行われた場合に、より一層困難となることが予想される。さらに、例えば、液浸リソグラフィ装置で用いられる液体を含むデバイスによって引き起こされる外部擾乱が、特に基板の合焦に対して、正確な位置決めをさらに妨げ得る。
[0003] 基板のより正確な位置決め、特に、投影システムに対するターゲット部分のより正確な垂直位置決めを可能にする基板ステージまたはリソグラフィ装置を提供することが望ましい。
[0004] 一実施形態によると、リソグラフィ装置で用いる基板ステージが提供される。
基板ステージは、基板を保持するように構築された基板テーブルと、使用中、リソグラフィ装置の投影システムに対して基板テーブルを位置決めするための位置決めデバイスとを備える。位置決めデバイスは、基板テーブルに設置された第1位置決め部材と、基板テーブルを位置決めするために第1位置決め部材と協働する第2位置決め部材とを備える。第2部材はサポート構造に設置される。基板ステージは、サポート構造に対して実質的に固定された水平位置において基板テーブルの底面に垂直力を加えるように配置されたアクチュエータをさらに備える。
[0005] 本発明の別の実施形態では、放射ビームの断面にパターンを付与してパターン付き放射ビームを形成することができるパターニングデバイスを支持するように構築されたサポートと、基板を保持するように構築された基板テーブルと、パターン付きビームを基板のターゲット部分上に投影するように構成された投影システムとを備えるリソグラフィ装置が提供される。装置は、使用中、投影システムに対して基板テーブルを位置決めするための位置決めデバイスをさらに備える。位置決めデバイスは、基板テーブルに設置された第1位置決め部材と、基板テーブルを位置決めするために第1位置決め部材と協働する第2位置決め部材とを備える。第2部材はサポート構造に設置される。基板ステージは、投影システムに対して実質的に固定された水平位置において基板テーブルの底面に垂直力を加えるように配置されたアクチュエータをさらに備える。
[0006] さらなる別の実施形態では、投影システムに対して基板を位置決めすることと、パターン付き放射ビームを基板のターゲット部分上に投影することとを含むデバイス製造方法が提供される。基板を位置決めすることは、位置決めデバイスを提供することを含み、位置決めデバイスは、基板テーブルに設置された第1位置決め部材と、基板テーブルを位置決めするために第1位置決め部材と協働する第2位置決め部材であって、サポート構造に設置される第2位置決め部材とを備える。投影システムの光軸に対して実質的に固定された水平位置において基板テーブルの底面に垂直力を加えること。
[0007] 本発明のさらなる特徴および利点、ならびに本発明の様々な実施形態の構造および動作を、添付の図面を参照しながら以下に詳細に説明する。本発明は、本明細書で説明する特定の実施形態に限定されないことに留意されたい。このような実施形態は、本明細書では例示のためにのみ提示されている。本明細書に含まれる教示に基づき、当業者には追加の実施形態が明白になるであろう。
[0008] 本明細書に組み込まれかつ本明細書の一部を形成する添付の図面は、本発明を図示し、さらに、記述とともに本発明の原理を説明し、当業者が本発明を作成して使用できるように役立つ。
[0009] 図1は、本発明の一実施形態によるリソグラフィ装置を示す。 [0010] 図2は、本発明による基板ステージの第1実施形態を示す。 [0011] 図3は、本発明による基板ステージの第2実施形態を示す。 [0012] 図4は、本発明による基板ステージの第3実施形態を示す。 [0013] 図5aは、本発明による基板ステージまたはリソグラフィ装置に適用することができるアクチュエータの第1実施形態を示す。 [0014] 図5bは、ショートストロークアセンブリと組み合わされた図5aの実施形態を示す。 [0015] 図6は、本発明による基板ステージまたはリソグラフィ装置に適用することができるアクチュエータの第2実施形態を示す。 [0016] 図7は、本発明による基板ステージまたはリソグラフィ装置に適用することができるアクチュエータの第3実施形態を示す。 [0017] 図8は、本発明による基板ステージまたはリソグラフィ装置に適用することができるアクチュエータの第4および第5実施形態を示す。
[0018] 本発明の特徴および利点は、以下に述べる詳細な説明を図面と組み合わせて考慮することによりさらに明白になるであろう。ここで、同様の参照文字は全体を通して対応する要素を識別する。図面では、同様の参照番号は全体的に同一、機能的に類似する、および/または構造的に類似する要素を示す。要素が最初に現れた図面を、対応する参照番号の最も左側の(1つ以上の)桁で示す。
[0019] 本明細書は、本発明の特徴を組み込んだ1つ以上の実施形態を開示する。開示される(1つ以上の)実施形態は、本発明を例示にするに過ぎない。本発明の範囲は開示される(1つ以上の)実施形態に限定されない。本発明は添付の特許請求の範囲によって定義される。
[0020] 記載される(1つ以上の)実施形態、および「一実施形態」、「実施形態」、「例示的実施形態」などへの本明細書における言及は、記載される(1つ以上の)実施形態が特定の特徴、構造または特性を含むことができるが、それぞれの実施形態が必ずしも特定の特徴、構造または特性を含まないことを示す。さらに、そのようなフレーズは、必ずしも同じ実施形態に言及するものではない。さらに、一実施形態に関連して特定の特徴、構造または特性について記載している場合、明示的に記載されているか記載されていないかにかかわらず、そのような特徴、構造、または特性を他の実施形態との関連で実行することが当業者の知識にあることが理解される。
[0021] 本発明の実施形態はハードウェア、ファームウェア、ソフトウェアまたはその任意の組合せで実施することができる。本発明の実施形態は、1つ以上のプロセッサで読み取り、実行することができる機械読取可能媒体に記憶した命令としても実施することができる。機械読取可能媒体は、機械(例えば計算デバイス)で読取可能な形態で情報を記憶するかまたは伝送する任意の機構を含むことができる。例えば、機械読取可能媒体はリードオンリーメモリ(ROM)、ランダムアクセスメモリ(RAM)、磁気ディスク記憶媒体、光記憶媒体、フラッシュメモリデバイス、電気、光、音響または他の形態の伝搬信号(例えば、搬送波、赤外線信号、デジタル信号など)およびその他のものを含むことができる。さらに、ファームウェア、ソフトウェア、ルーチン、命令を、本明細書では特定の行為を実行するものとして記述することができる。しかしながら、そのような記述は便宜的なものにすぎず、そのような行為は実際には計算デバイス、プロセッサ、コントローラ、またはファームウェア、ソフトウェア、ルーチン、命令などを実行する他のデバイスの結果であることを認識されたい。
[0022] しかしながら、そのような実施形態をより詳細に説明する前に、本発明の実施形態が実施され得る例示的環境を示すことが有益である。
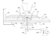
[0023] 図1は、本発明の一実施形態によるリソグラフィ装置を概略的に示す。このリソグラフィ装置は、放射ビームB(例えば、紫外線または他の適切な放射)を調整するように構成された照明システム(イルミネータ)ILと、パターニングデバイス(例えば、マスク)MAを支持するように構築され、かつ特定のパラメータに従ってパターニングデバイスを正確に位置決めするように構成された第1位置決めデバイスPMに連結されたマスクサポート構造(例えば、マスクテーブル)MTとを備える。装置は、さらに、基板(例えば、レジストコートウェーハ)Wを保持するように構築され、かつ特定のパラメータに従って基板を正確に位置決めするように構成された第2位置決めデバイスPWに連結された基板テーブル(例えば、ウェーハテーブル)WTまたは「基板サポート」を含む。装置は、さらに、パターニングデバイスMAによって放射ビームBに付けられたパターンを基板Wのターゲット部分C(例えば、1つ以上のダイを含む)上に投影するように構成された投影システム(例えば、屈折投影レンズシステム)PSを含む。
[0024] 照明システムとしては、放射を誘導し、整形し、または制御するために、屈折型、反射型、磁気型、電磁型、静電型、またはその他のタイプの光コンポーネント、あるいはそれらのあらゆる組合せなどのさまざまなタイプの光コンポーネントを含むことができる。
[0025] マスクサポート構造は、パターニングデバイスの重量を支えるなどしてパターニングデバイスを支持する。マスクサポート構造は、パターニングデバイスの向き、リソグラフィ装置の設計、および、パターニングデバイスが真空環境内で保持されているか否かなどの他の条件に応じた態様で、パターニングデバイスを保持する。マスクサポート構造は、機械式、真空式、静電式またはその他のクランプ技術を使って、パターニングデバイスを保持することができる。マスクサポート構造は、例えば、必要に応じて固定または可動式にすることができるフレームまたはテーブルであってもよい。マスクサポート構造は、パターニングデバイスを、例えば、投影システムに対して所望の位置に確実に置くことができる。本明細書において使用される「レチクル」または「マスク」という用語はすべて、より一般的な「パターニングデバイス」という用語と同義であると考えるとよい。
[0026] 本明細書において使用される「パターニングデバイス」という用語は、基板のターゲット部分内にパターンを作り出すように、放射ビームの断面にパターンを与えるために使用できるあらゆるデバイスを指していると、広く解釈されるべきである。なお、留意すべき点として、放射ビームに付与されたパターンは、例えば、そのパターンが位相シフトフィーチャまたはいわゆるアシストフィーチャを含む場合、基板のターゲット部分内の所望のパターンに正確に一致しない場合もある。通常、放射ビームに付けたパターンは、集積回路などのターゲット部分内に作り出されるデバイス内の特定の機能層に対応することになる。
[0027] パターニングデバイスは、透過型であっても、反射型であってもよい。パターニングデバイスの例としては、マスク、プログラマブルミラーアレイ、およびプログラマブルLCDパネルが含まれる。マスクは、リソグラフィでは公知であり、バイナリ、レべンソン型(alternating)位相シフト、およびハーフトーン型(attenuated)位相シフトなど
のマスク型、ならびに種々のハイブリッドマスク型を含む。プログラマブルミラーアレイの一例では、小型ミラーのマトリックス配列が用いられており、各小型ミラーは、入射する放射ビームを様々な方向に反射させるように、個別に傾斜させることができる。傾斜されたミラーは、ミラーマトリックスによって反射される放射ビームにパターンを付ける。
[0028] 本明細書において使用される「投影システム」という用語は、使われている露光放射にとって、あるいは液浸液の使用または真空の使用といった他の要因にとって適切な、屈折型、反射型、反射屈折型、磁気型、電磁型、および静電型光学系、またはそれらのあらゆる組合せを含むあらゆる型の投影システムを包含していると広く解釈されるべきである。本明細書において使用される「投影レンズ」という用語はすべて、より一般的な「投影システム」という用語と同義であると考えるとよい。
[0029] 本明細書に示されているとおり、リソグラフィ装置は、透過型のもの(例えば、透過型マスクを採用しているもの)である。また、リソグラフィ装置は、反射型のもの(例えば、上述のプログラマブルミラーアレイを採用しているもの、または反射型マスクを採用しているもの)であってもよい。
[0030] リソグラフィ装置は、2つ(デュアルステージ)以上の基板テーブルまたは「基板サポート」(および/または2つ以上のマスクテーブルまたは「マスクサポート」)を有する型のものであってもよい。そのような「マルチステージ」機械においては、追加のテーブルまたはサポートは並行して使うことができ、または予備工程を1つ以上のテーブルまたはサポート上で実行しつつ、別の1つ以上のテーブルまたはサポートを露光用に使うこともできる。
[0031] また、リソグラフィ装置は、投影システムと基板との間の空間を満たすように、比較的高屈折率を有する液体(例えば水)によって基板の少なくとも一部を覆うことができるタイプのものであってもよい。また、リソグラフィ装置内の別の空間(例えば、マスクと投影システムとの間)に液浸液を加えてもよい。液浸技術は、投影システムの開口数を増加させるために使用することができる。本明細書において使用される「液浸」という用語は、基板のような構造物を液体内に沈めなければならないという意味ではなく、単に、露光中、投影システムと基板との間に液体があるということを意味するものである。
[0032] 図1を参照すると、イルミネータILは、放射源SOから放射ビームを受ける。例えば、放射源がエキシマレーザである場合、放射源とリソグラフィ装置は、別個の構成要素であってもよい。そのような場合には、放射源は、リソグラフィ装置の一部を形成しているとはみなされず、また放射ビームは、放射源SOからイルミネータILへ、例えば、適切な誘導ミラーおよび/またはビームエキスパンダを含むビームデリバリシステムBDを使って送られる。その他の場合においては、例えば、放射源が水銀ランプである場合、放射源は、リソグラフィ装置の一体部分とすることもできる。放射源SOおよびイルミネータILは、必要ならばビームデリバリシステムBDとともに、放射システムと呼んでもよい。
[0033] イルミネータILは、放射ビームの角強度分布を調節するように構成されたアジャスタADを含むことができる。一般に、イルミネータの瞳面内の強度分布の少なくとも外側および/または内側半径範囲(通常、それぞれσ-outerおよびσ-innerと呼ばれる)を調節することができる。さらに、イルミネータILは、インテグレータINおよびコンデンサCOといったさまざまな他のコンポーネントを含むことができる。イルミネータを使って放射ビームを調整すれば、放射ビームの断面に所望の均一性および強度分布をもたせることができる。
[0034] 放射ビームBは、マスクサポート構造(例えば、マスクテーブルMT)上に保持されているパターニングデバイス(例えば、マスクMA)上に入射して、パターニングデバイスによってパターン形成される。マスクMAを通り抜けた後、放射ビームBは投影システムPSを通過し、投影システムPSは、基板Wのターゲット部分C上にビームの焦点をあわせる。図のような構成においては、投影システムPSは、装置の基部BAから(振動に対して)絶縁されることができるメトロロジフレームMFに設置される。第2位置決めデバイスPWおよび位置センサIF(例えば、干渉計デバイス、リニアエンコーダ、または静電容量センサ)を使って、例えば、さまざまなターゲット部分Cを放射ビームBの経路内に位置決めするように、基板テーブルWTを正確に動かすことができる。通常、そのような位置センサまたは位置測定システム(またはその構成要素)は、メトロロジフレームMFに設置される。同様に、第1位置決めデバイスPMおよび別の位置センサ(図1には明示的に示されていない)を使い、例えば、マスクライブラリから機械的に取り出した後またはスキャン中に、マスクMAを放射ビームBの経路に対して正確に位置決めすることもできる。
[0035] 本発明によると、投影システム(PS)に対して実質的に固定された水平位置において基板テーブル(WT)の底面に垂直力を加えるように配置されたアクチュエータVAが提供される。一実施形態では、垂直力がウェーハテーブルに加えられる水平位置は、投影システムの光軸上である。アクチュエータを投影システムに対して実質的に固定された位置に設けることによって、基板を、すなわち、パターン付き放射ビームの直下にある基板のターゲット部分を、より焦点に集めやすくすることができる。さらに、パターン付き放射ビームの直下にある基板のターゲット部分を「対象点」とも呼ぶ。当業者には明らかなように、ターゲット部分上へのパターン付き放射ビームの正確な投影を達成するためには、ターゲット部分または対象点の焦点が合っているべきである。従来の位置決めデバイスでは、基板の垂直変位または基板の傾斜を可能とするためにいくつかのアクチュエータが設けられてよい。通常、これらのアクチュエータは投影システムに対して静止位置にはない。多くの場合、それらは、位置決めデバイスのいわゆるロングストロークモジュールに設置される。
[0036] 通常、マスクテーブルMTの移動は、第1位置決めデバイスPMの一部を形成するロングストロークモジュール(粗動位置決め)およびショートストロークモジュール(微動位置決め)を使って達成することができる。同様に、基板テーブルWTまたは「基板サポート」の移動も、第2位置決めデバイスPWの一部を形成するロングストロークモジュールおよびショートストロークモジュールを使って達成することができる。ステッパの場合は(スキャナとは対照的に)、マスクテーブルMTは、ショートストロークアクチュエータのみに連結されてもよく、または固定されてもよい。マスクMAおよび基板Wは、マスクアライメントマークM1およびM2と、基板アライメントマークP1およびP2とを使って、位置合わせされてもよい。例示では基板アライメントマークが専用ターゲット部分を占めているが、基板アライメントマークをターゲット部分とターゲット部分との間の空間内に置くこともできる(これらは、スクライブラインアライメントマークとして公知である)。同様に、複数のダイがマスクMA上に設けられている場合、マスクアライメントマークは、ダイとダイの間に置かれてもよい。
[0037] 例示の装置は、以下に説明するモードのうち少なくとも1つのモードで使用できる。
[0038] 1.ステップモードにおいては、マスクテーブルMTまたは「マスクサポート」および基板テーブルWTまたは「基板サポート」を基本的に静止状態に保ちつつ、放射ビームに付けられたパターン全体を一度にターゲット部分C上に投影する(すなわち、単一静的露光)。その後、基板テーブルWTまたは「基板サポート」は、Xおよび/またはY方向に移動され、それによって別のターゲット部分Cを露光することができる。ステップモードにおいては、露光フィールドの最大サイズによって、単一静的露光時に結像されるターゲット部分Cのサイズが限定される。
[0039] 2.スキャンモードにおいては、マスクテーブルMTまたは「マスクサポート」および基板テーブルWTまたは「基板サポート」を同期的にスキャンする一方で、放射ビームに付けられたパターンをターゲット部分C上に投影する(すなわち、単一動的露光)。マスクテーブルMTまたは「マスクサポート」に対する基板テーブルWTまたは「基板サポート」の速度および方向は、投影システムPSの(縮小)拡大率および像反転特性によって決めることができる。スキャンモードにおいては、露光フィールドの最大サイズによって、単一動的露光時のターゲット部分の幅(非スキャン方向)が限定される一方、スキャン動作の長さによって、ターゲット部分の高さ(スキャン方向)が決まる。
[0040] 3.別のモードにおいては、プログラマブルパターニングデバイスを保持した状態で、マスクテーブルMTまたは「マスクサポート」を基本的に静止状態に保ち、また基板テーブルWTまたは「基板サポート」を動かす、またはスキャンする一方で、放射ビームに付けられているパターンをターゲット部分C上に投影する。このモードにおいては、通常、パルス放射源が採用されており、さらにプログラマブルパターニングデバイスは、基板テーブルWTまたは「基板サポート」の移動後ごとに、またはスキャン中の連続する放射パルスと放射パルスとの間に、必要に応じて更新される。この動作モードは、前述の型のプログラマブルミラーアレイといったプログラマブルパターニングデバイスを利用するマスクレスリソグラフィに容易に適用することができる。
[0041] 上述の使用モードの組合せおよび/またはバリエーション、あるいは完全に異なる使用モードもまた採用可能である。
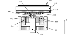
[0042] 図2では、本発明の一実施形態による基板ステージを概略的に示している。ステージは、基板100を保持するための基板テーブル(またはチャック)110を備える。基板ステージは、さらに、基板テーブル110を位置決めするための位置決めデバイス(120,130)を備える。そのような位置決めデバイスは、上記した位置決めデバイスと類似し得る。位置決めデバイスは、基板テーブルを位置決めするための第2位置決め部材130と協働する第1位置決め部材120を含む。そのような位置決めを実現するためには、第1位置決め部材120は、例えば、1Dまたは2Dパターンに配置された複数のコイルを含むことができる一方、第2位置決め部材130は、交互の極性を有する永久磁石の1Dまたは2Dパターンを含むことができる。したがって、位置決めデバイス(120,130)は、一実施形態では、図示されるZ方向と実質的に直角の方向または平面において位置決めを提供することができる。あるいは、第1位置決め部材130に永久磁石が設けられる一方、複数のコイルが第2位置決め部材120に設けられてもよいことに留意されたい。そのような構成では、コイルが設けられた位置決め部材は実質的に静止したままであることができる。第1または第2位置決め部材のコイルを適切に通電させることにより、垂直反発力が第1位置決め部材と第2位置決め部材との間に加えることもできる。そのような場合、位置決めデバイスを磁気浮上平面(またはリニア)モータと呼ぶこともできる。そのような構成では、Z方向において第1位置決め部材を第2位置決め部材から引き離すためにエアベアリングなどのベアリングを必要としない。示されている構成では、第2位置決め部材130は、サポート構造160に設置されている。そのようなサポート構造160は、例えば、ステージがリソグラフィ装置に設置されているときのその装置のベースフレームであってもよい。サポート構造は、そのような装置の床または底に直接設置されてもよく、または、例えば、エアマウント等の振動絶縁体を介して設置されてもよい。本発明によると、基板ステージは、基板テーブル110の底面に垂直力(矢印145で示す)を加えるように配置されたアクチュエータ140をさらに備える。本発明によると、アクチュエータは、サポート構造に対して実質的に固定された水平位置に配置される。したがって、(位置決めデバイス(120,130)を動作させることによる)基板テーブル110の変位中、アクチュエータは、基板テーブルまたは基板の水平位置に関係なく、実質的に固定された水平位置で垂直力を基板テーブル上に加える(それによって基板100の垂直位置に影響を及ぼす)ことができる。一実施形態では、ステージがリソグラフィ装置に適用された場合、アクチュエータの水平位置は、対象点の水平位置、すなわち、パターン付き放射ビームの直下にある基板100のターゲット部分の水平位置と一致する。図2では、パターン付き放射ビームは、リソグラフィ装置の投影システム150の中心光軸160によって概略的に示されている。したがって、アクチュエータ140は、対象点、すなわち、基板がパターン付き放射ビームと焦点が合うべき位置における作動を可能とする。
[0043] 通常、様々な力が基板に作用し、そのような力は、対象点における基板の垂直位置に影響を与える。そのような力としては、例えば、第1位置決め部材120の一部であるショートストロークアクチュエータアセンブリ(図示せず)のようなさらなる位置決めデバイスによって基板テーブル110に加えられる垂直力、または、基板と投影システムとの間の液浸液(存在する場合)によって加えられる力が挙げられる。
[0044] 好ましくは、アクチュエータは、双方向の力を基板テーブルに加え、それによって、基板テーブル110を上方向に押し上げかつ基板テーブルを下方向に引っ張ることができるように配置されているが、(下方向きの)引張力または(上方向きの)押力のいずれかのみしか加えることができないアクチュエータを除外するべきではない。前者の例としては、リラクタンス型アクチュエータを挙げることができる。本発明に従って適用することができる様々なタイプのアクチュエータについての詳細を以下に述べる。図2は、さらに、アクチュエータによって加えられる力を制御するための制御ユニット20を概略的に示している。通常、そのような制御ユニット20は、基板テーブルの(例えば、測定システムから得られた)垂直位置を表す入力信号を受信するための入力端子(図示せず)および基板テーブルの所望の位置を表すセットポイントを含む。そのような入力に基づいて、アクチュエータ用の制御信号(例えば、アクチュエータに提供されるべき必要電流を表す)を決定することができる。
[0045] 本発明の一実施形態では、アクチュエータ140は、位置決めデバイス(120,130)の第1位置決め部材130と同じサポート構造160に設置される。そのような実施形態では、アクチュエータ140は、サポート構造に直接設置されるか、またはエアマウント等の振動絶縁体(図示せず)を介して設置されてもよい。
[0046] あるいは、アクチュエータは、位置決めデバイスを支持するサポート構造とは別の(振動に対して)絶縁されたフレームに設置されてよい。さらなる別の実施形態では、例えば、本明細書中に参考により援用された文書であるEP1664587B1に開示されるように、アクチュエータは、慣性基準質量を含む、絶縁された別のフレームに設置されてもよい。リソグラフィ装置では、そのような絶縁フレームは、多くの場合、投影システム150を支持するために適用される。そのような構成では、位置測定システム(またはその構成要素)は、多くの場合、メトロロジフレームと呼ぶことがあるフレーム(例えば、図1の位置センサIFおよびフレームMF)に設置される。
[0047] 本発明の一実施形態では、アクチュエータ140は、そのようなリソグラフィ装置の絶縁メトロロジフレームに設置される。
[0048] あるいは、アクチュエータ140は、位置決めデバイスの第2位置決め部材130に設置されるかまたはそれによって支持されてもよい。そのような構成は図3に概略的に示されている。図示した構成では、アクチュエータ140は、位置決めデバイスの第2位置決め部材130に設置される。位置決め部材130がサポート構造160に対して実質的に固定された位置を有する場合、アクチュエータは、第2位置決め部材130に直接(または振動絶縁体を介して)設置することができる。多くの場合、第2位置決め部材130は、サポート構造160に変位可能に(例えば、エアベアリングを介して)設置され、それによって、いわゆるバランスマスとして動作する。そのような構成では、第2位置決め部材130に作用する(第1位置決め部材120によって基板テーブルに加えられる力に対する)反力は、第2位置決め部材130の変位(基板テーブル110の変位方向と反対方向)という結果となり得る。したがって、アクチュエータ140をサポート構造160に対して実質的に固定された水平位置で維持するためには、アクチュエータ140は、例えば、アクチュエータを固定された水平位置に位置決めするために第2位置決め部材130と協働する第3位置決め部材170に設置されてよい。第2位置決め部材130が永久磁石アレイ(一次元または二次元)を含む場合、第3位置決め部材170は、第3位置決め部材170に設置されたアクチュエータ140を位置決めするために磁石アレイと協働する複数のコイルを含んでよい。
[0049] あるいは、アクチュエータ140を、第2位置決め部材130上への設置に関して図3に示すものと同様の方法で、サポート構造160に対して実質的に固定された水平位置を維持するように第1位置決め部材120上に変位可能に設置してもよい。
[0050] 一実施形態では、第1位置決め部材120は、基板ステージの正確な位置決めを提供するためのさらなる位置決めデバイスを含む。そのようなさらなる位置決めデバイスは、上記でショートストロークモジュールと称されており、例えば、基板テーブル110を位置決めするためのローレンツアクチュエータなどの複数のアクチュエータを含んでよい。
[0051] そのような構成では、さらなる位置決めデバイスを、例えば、基板テーブル110の下に設置することができる(後の記述も参照)。この場合、アクチュエータ140を、さらなる位置決めデバイスを介して基板テーブルに垂直力を加えるように配置することができる。
[0052] 図3は、さらに、上記した制御ユニット20を概略的に示している。
[0053] 本発明によると、アクチュエータ140(または、例えば図1に示すようなアクチュエータVA)は、対象点の周りに位置決めされた複数のアクチュエータを含んでよい。
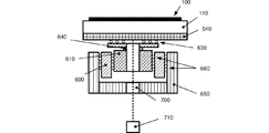
[0054] 一実施形態では、基板ステージは、さらに、基板ステージの底面の垂直位置を決定するための測定システムを含む。そのような構成を図4に概略的に示している。図4では、図2のステージと同様のレイアウトを有する基板ステージを概略的に示している。
図2の構成に加えて、測定ビーム205を基板テーブル110の反射底面210に向かって(ミラー220を介して)投影するように配置された測定システム(干渉計(IF)測定システム200)が提供される。図示した構成では、アクチュエータ140には中心孔または開口が設けられており、これによって、対象点(すなわち、パターン付き放射ビームが投影される基板のターゲット部分)の下での測定ビーム205の投影を可能にする。
図示した構成では、アクチュエータ140は振動絶縁フレーム142に設置される。あるいは、上記したように、アクチュエータ140は、第1位置決め部材120または第2位置決め部材130のいずれかに(直接または変位可能に)設置されてもよい。基板テーブルの底面の垂直位置を決定するために他のタイプの測定システムも同様に適用してもよいことに留意されたい。そのようなシステムの例としては、容量測定システム、エンコーダベースの測定システムなどが挙げられる。
[0055] 後者に関しては、格子が、例えば、基板テーブルの底面に設置されてよい。格子は、(1つまたは複数の)アクチュエータ140にまたはその近くに設置されたセンサと協働する。そのような構成は、例えば、投影システム150に対する基板テーブル110の水平位置を決定するために使用されてもよいことに留意されたい。そのような構成では、基板テーブルの底面の格子と協働する1つ以上のセンサは、(位置決めデバイス(120,130)の制御ループ内のフィードバック信号として使用できる)基板テーブルの水平位置および(アクチュエータ140の制御ループ内のフィードバック信号として使用できる)基板テーブルの底面の垂直位置の両方についての位置信号を提供することができる。そのような構成では、1つ以上のセンサが投影システムを支持するフレームと同じフレーム(すなわち、上述したメトロロジフレーム)に設置されることが好ましい。上記のように、アクチュエータ140は、同じフレーム上または別の構造上(例えば、サポート構造160、第1位置決め部材120または第2位置決め部材130)に設置されてもよい。
[0056] さらなる別の測定システムとしては、基板テーブル110の底面の垂直位置は、基板の高さマップが決定される方法と同じ方法で決定されてよい。そのようなシステム(送信器250およびセンサ260によって概略的に示される)は、(送信器250によって送信される)入射角<90°で底面に投影されてセンサ260に向かって反射される測定ビーム265を提供することができる。そのような構成では、送信器250およびセンサ260は、(図示するように)サポート構造160に設置されるかまたはメトロロジフレーム(例えば、投影システムを支持するフレーム)に設置されてもよい。送信器250およびセンサ260は、絶縁フレーム142に設置されてもよい。図4には上記した制御ユニット20がさらに示されており、制御ユニット20は、測定システム200から基板テーブル110の垂直位置を表す入力信号270を受信するように配置される。
[0057] 以下の図では、本発明において適用することができるアクチュエータのより詳細な実施形態を概略的に示している。
[0058] 図5aでは、基板ステージとともにリラクタンス型アクチュエータの断面図を概略的に示している。図5aは、磁気ヨーク(図示した例ではCコア)520および磁気ヨーク520の脚の周りに巻かれた2つのコイル510を備える第1アクチュエータ部分500を概略的に示している。第2アクチュエータ部分としては、磁気部材550(例えば、強磁性板)が設けられており、これは基板テーブル110に設置される。基板テーブルは、基板100を支持するように配置される。コイル510が通電されると、磁気ヨーク520と磁気部材550との間に引力を生成することができ、これによって基板テーブル110、よって基板100、の垂直位置(Z位置)に影響を与える。図示した構成では、位置測定システム(530,540)は、基板テーブルの垂直位置(Z位置)を測定するために組み込まれる。測定システムは、ターゲット表面540およびターゲットと協働するセンサ530を備える。
[0059] 一実施形態では、測定システムは、エンコーダベースの測定システムであってよく、ターゲット表面540は、例えば格子であってよく、センサ530は格子と協働するためのエンコーダヘッドを備える。
[0060] 上記した測定システム以外のものを図示したリラクタンス型アクチュエータと組み合わせてもよいことに留意されたい。
[0061] 図5bでは、図5aと同じアクチュエータ構成が示されている。さらに、図5bは、基板ステージ110の底面に設置されたショートストロークアセンブリ115を概略的に示している。実際の例としては、ショートストロークアセンブリは、基板テーブル110に設置された磁気アセンブリおよび基板テーブル110(よって、基板100)の正確な位置決め(例えば、6自由度)のために磁気アセンブリと協働するコイルアセンブリ(図示せず)を含んでよい。上記したように、そのようなショートストロークアセンブリ(さらなる位置決めデバイスとも呼ぶ)は、例えば図2および図3に示すように、第1位置決め部材120の一部であってもよい。
[0062] 図示した構成では、アクチュエータ140は、このようにショートストロークアセンブリ115を介して基板テーブルに力を加えるように(すなわち、ショートストロークアセンブリまたはさらなる位置決めデバイスに力を加えることによって)配置されている。図示した構成では、ターゲット表面540は、ショートストロークアセンブリ115の底面に設置されている。あるいは、ショートストロークアセンブリ115に開口(図示せず)を設けて、例えば開口を通る干渉計測定ビームなどの測定ビームを用いて基板テーブル110の底面の位置測定を可能にできる。ショートストロークアセンブリ115の適用が以下に説明するアクチュエータ構成と組み合わせて適用することもできることに留意されたい。
[0063] 図6では、ローレンツ型アクチュエータを含む第1構成が示されている。この構成では、アクチュエータのいずれの協働部分、すなわち、コイル600および磁石610も基板テーブル110に設置されていない。図示した構成では、垂直力が磁石610上に生成され、この力は、ベアリング630(アクチュエータと基板テーブルとの間の(水平面における)相対変位を可能にする真空が予めロードされたエアベアリングであり得る)を介して基板テーブル110に送られる。基板テーブルの傾斜に適合するために、ヒンジ640を設けてX軸および/またはY軸の周りのベアリングの回転を可能にできる。図示した構成では、コイル600は、エアベアリング660を用いてサポート構造650上に変位可能(Z方向)に設置されている。あるいは、コイル600は、サポート構造650に直接または可撓性ヒンジを介して設置されてもよい。図示した構成では、磁石610およびベアリング630も、コイル600と磁石610との間のエアベアリング660を介してサポート構造650に設置されている。サポート構造と、コイルと、磁石610との間のエアベアリング660の使用は、アクチュエータの磁石およびコイルのバランスマスのような動作を可能にし、それによって、発生した力を実質的に打ち消す。そうすることにより、サポート構造650に加えられる結果的に生じる力は、小さいまま残ることができる。
[0064] 図6の構成と同様に、基板テーブルのZ位置を決定するために位置測定システムが組み込まれている。そのようなZ位置測定は、アクチュエータ(600,610)を制御するのに適している。測定システムは、基板テーブル110に設置されたターゲット部分540(例えば、格子)および図示した実施形態ではサポートフレーム760(例えば、上記したメトロロジフレームであってよい)に設置されたセンサ530を備える。
[0065] 図7では、同様のアクチュエータ構成ではあるが干渉計ベースの測定システムと組み合わされたアクチュエータ構成を示している。図7では、アクチュエータ600および610には、ターゲット540およびターゲットの方に測定ビームを向けるように配置された干渉計を備えた位置測定システムが付け加えられている。そのような構成では、ターゲット540は、例えば、反射面を有してもよい。図示した構成では、アクチュエータのサポート構造650には、測定ビームがターゲット表面540に送られることを可能にする開口700が設けられている。
[0066] 図8では、ローレンツ型アクチュエータのさらなる2つの実施形態が示されており、磁石アレイ800は基板100を保持している基板テーブル110の底面に設置されている。
[0067] 図8の左側の構成では、磁石アレイの磁石は同じ極性を有しており、右側の構成では、磁石は交互の極性を有している。磁石アレイと協働するためには、上記したようにサポート構造830、メトロロジフレーム等に設置されてもよい1つ以上のコイル820が設けられている。左側の構成では、図示したようなコイルを通電させることは垂直方向に力が生成されるという結果となり、基板テーブルの変位を可能にする。右側の構成では、磁石の交互の極性により、(1つ以上のコイル内の所定の電流に対して)生成された力の方向は、磁石アレイおよびコイルの相対(水平)位置によって変化する。したがって、右側の構成では、(例えば、位置関数として磁場強度または流束速度を提供する較正プロセスを介して得られる)磁気分極または測定データのモデルと組み合わされた1つ以上のコイルに対する磁気アレイの水平位置は、所望の垂直力を生成するための所要の(1つまたは複数の)電流を決定するためにアクチュエータを制御する制御ユニットへの入力として提供されるべきである。磁石の交互の極性により、少なくとも2つの別々のコイル(図8の右側に示すように)を適用することが好ましい場合があることに留意されたい。異なるコイルを介して電流を適切に選択することにより、磁石アレイに作用する結果として生じる力が実質的に垂直方向の力であることを確実にすることができる。
[0068] 図5〜図8では、基板テーブルの底面に力を生成するために様々なタイプの電磁アクチュエータについて考察されたが、他のタイプのアクチュエータも考慮にいれてもよいことに留意されたい。
[0069] 基板テーブルの底面に向かうまたはそこからの規制された気流を、作動の一種として考えてもよい。
[0070] 例えば図6および図7に示すベアリング630を、圧電または他の種類のアクチュエータによって垂直方向に位置決めする(それによって力を基板テーブルに加える)ことができる。
[0071] 上述したように、本発明は、対象点(すなわち、基板のターゲット部分と一致する位置)にまたはその近くの基板テーブルの底面に力を加えることを可能にする。本発明によると、この力はこの対象点に対して実質的に静止位置にあるアクチュエータによって生成される。そのような構成は、対象点においてより正確な作動および位置制御を可能にする。従来のステージ装置では、複数のアクチュエータは、多くの場合、基板テーブルおよび基板の垂直(または傾斜)位置決めを提供するために適用される。実行されるスキャンまたはステッププロセスにより、これらのアクチュエータは、通常または少なくとも継続的に対象点にまたはその近くに位置決めされない。結果的に、これらのアクチュエータを用いて対象点における基板の垂直位置を補償または補正することは、複雑な動作となる場合があり、このような複雑な動作は、利用可能なアクチュエータによって異なる力を生成する必要があり得る複数のアクチュエータの組み合わされた協調的動作を含む。これらのアクチュエータは通常対象点の近くに位置決めされないため、対象点における基板位置を調整するための所要の力は比較的高くなり得る。したがって、本発明は、従来の装置と比較して対象点における基板の位置を調整または訂正するためのより直接的なアプローチを提供している。
[0072] 本明細書において、IC製造におけるリソグラフィ装置の使用について具体的な言及がなされているが、本明細書記載のリソグラフィ装置が、集積光学システム、磁気ドメインメモリ用のガイダンスパターンおよび検出パターン、フラットパネルディスプレイ、液晶ディスプレイ(LCD)、薄膜磁気ヘッド等の製造といった他の用途を有し得ることが理解されるべきである。当業者にとっては当然のことであるが、そのような別の用途においては、本明細書で使用される「ウェーハ」または「ダイ」という用語はすべて、それぞれより一般的な「基板」または「ターゲット部分」という用語と同義であるとみなしてよい。本明細書に記載した基板は、露光の前後を問わず、例えば、トラック(通常、基板にレジスト層を塗布し、かつ露光されたレジストを現像するツール)、メトロロジツール、および/またはインスペクションツールで処理されてもよい。適用可能な場合には、本明細書中の開示内容を上記のような基板プロセシングツールおよびその他の基板プロセシングツールに適用してもよい。さらに基板は、例えば、多層ICを作るために複数回処理されてもよいので、本明細書で使用される基板という用語は、すでに多重処理層を包含している基板を表すものとしてもよい。
[0073] 光リソグラフィの関連での本発明の実施形態の使用について上述のとおり具体的な言及がなされたが、当然のことながら、本発明は、他の用途、例えば、インプリントリソグラフィに使われてもよく、さらに状況が許すのであれば、光リソグラフィに限定されることはない。インプリントリソグラフィにおいては、パターニングデバイス内のトポグラフィによって、基板上に創出されるパターンが定義される。パターニングデバイスのトポグラフィは、基板に供給されたレジスト層の中にプレス加工され、基板上では、電磁放射、熱、圧力、またはそれらの組合せによってレジストは硬化される。パターニングデバイスは、レジストが硬化した後、レジスト内にパターンを残してレジストの外へ移動される。
[0074] 本明細書で使用される「放射」および「ビーム」という用語は、紫外線(UV)(例えば、365nm、248nm、193nm、157nm、または126nmの波長、またはおよそこれらの値の波長を有する)、および極端紫外線(EUV)(例えば、5〜20nmの範囲の波長を有する)、ならびにイオンビームや電子ビームなどの微粒子ビームを含むあらゆる種類の電磁放射を包含している。
[0075] 「レンズ」という用語は、文脈によっては、屈折、反射、磁気、電磁気、および静電型光コンポーネントを含む様々な種類の光コンポーネントのいずれか1つまたはこれらの組合せを指すことができる。
[0076] 上記の説明は、制限ではなく例示を意図したものである。したがって、当業者には明らかなように、添付の特許請求の範囲を逸脱することなく本記載の発明に変更を加えてもよい。
[0077] 「発明の概要」および「要約書」の項は、発明者が考える本発明の1つ以上の例示的実施形態を記載できるがそのすべては記載できないため、本発明および添付の特許請求の範囲を決して限定するものではない。
[0078] 特定の機能およびそれらの関係の実施態様を示す機能ビルディングブロックを使用して本発明の実施形態について説明した。本明細書においては、これらの機能ビルディングブロックの境界は、説明の便宜上、任意に画定されている。特定の機能およびそれらの関係が適切に実施される限り、代替境界を画定することも可能である。
[0079] 特定の実施形態についての上記説明は、本発明の一般的な性質を余すところなく開示しており、したがって当業者は、当分野における知識を適用することにより、不適切な過度の実験作業を必要とすることなく、また、本発明の一般概念から逸脱することなく、様々な用途のためにこのような特定の実施形態に容易に修正を加え、および/または適合させることができる。したがって、このような適合および修正は、開示されている実施形態の、本明細書において示されている教示および手引きに基づく同等物の意味および範囲内に含まれることが意図されている。本明細書における表現または用語は、説明を目的としたものであって本発明を限定するためのものではなく、したがって本明細書の用語または表現は、当業者によって、教示およびガイダンスに照らして解釈されるべきものであることを理解されたい。
[0080] 本発明の広さおよび範囲は、上述したいずれの例示的実施形態によっても限定されず、唯一添付の特許請求の範囲およびそれらの同等物によってのみ定義されるものとする。以下の番号付けられた段落は、本開示の特定の実施形態に関連しているとみなされる特徴の特定の組み合わせを述べる。
1.リソグラフィ装置で用いる基板ステージであって、
基板を保持する基板テーブルと、
使用中、前記リソグラフィ装置の投影システムに対して前記基板テーブルを位置決めするための位置決めデバイスとを備え、
前記位置決めデバイスは、
前記基板テーブルに設置された第1位置決め部材と、
前記基板テーブルを位置決めするために前記第1位置決め部材と協働する第2位置決め部材であって、サポート構造に設置される第2位置決め部材とを備え、
前記基板ステージは、前記サポート構造に対して実質的に固定された水平位置において前記基板テーブルの底面に垂直力を加えるアクチュエータをさらに備える、基板ステージ。
2.前記アクチュエータは前記サポート構造上に設置される、前記1に記載の基板ステージ。
3.前記アクチュエータは前記第2位置決め部材または第1位置決め部材上に設置される、前記1に記載の基板ステージ。
4.前記アクチュエータは、前記サポート構造に対して実質的に固定された水平位置を維持するように前記第2位置決め部材上に変位可能に設置される、前記1に記載の基板ステージ。
5.前記アクチュエータは、前記サポート構造に対して実質的に固定された位置を有する振動絶縁フレームに設置される、前記1に記載の基板ステージ。
6.前記アクチュエータは、振動絶縁体を介して前記サポート構造または前記第2位置決め部材上に設置される、前記2または3に記載の基板ステージ。
7.前記アクチュエータはローレンツアクチュエータを備える、前記1〜6のうちのいずれかに記載の基板ステージ。
8.前記アクチュエータは、使用中、上方に向いたガス流を提供する、前記1〜6のうちのいずれかに記載の基板ステージ。
9.前記基板テーブルの前記底面の垂直位置を決定するための位置測定システムをさらに備える、前記1〜8のうちのいずれかに記載の基板ステージ。
10.前記垂直位置を表す入力信号を入力端子で受け取り、かつ前記入力信号に基づいて前記アクチュエータを制御する制御ユニットをさらに備える、前記9に記載の基板ステージ。
11.投影システムと前記1〜10のうちのいずれかに記載の基板ステージとを備える、リソグラフィ装置。
12.リソグラフィ装置であって、
放射ビームの断面にパターンを付与してパターン付き放射ビームを形成することができるパターニングデバイスを支持するサポートと、
基板を保持する基板テーブルと、
前記パターン付きビームを前記基板のターゲット部分上に投影する投影システムとを備え、
前記装置は、使用中、前記投影システムに対して前記基板テーブルを位置決めするための位置決めデバイスをさらに備え、
前記位置決めデバイスは、
前記基板テーブルに設置された第1位置決め部材と、
前記基板テーブルを位置決めするために前記第1位置決め部材と協働する第2位置決め部材であって、サポート構造に設置される第2位置決め部材とを備え、
前記基板ステージは、前記投影システムの光軸に対して実質的に固定された水平位置において前記基板テーブルの底面に垂直力を加えるアクチュエータをさらに備える、リソグラフィ装置。
13.前記実質的に固定された水平位置は前記投影システムの前記光軸上にある、前記12に記載の装置。
14.前記アクチュエータは、メトロロジフレームなどの振動絶縁フレームに設置される、前記12または13に記載の装置。
15.前記光軸の方向における前記基板テーブルの第1位置を測定するための位置測定システムをさらに備える、前記12〜14のうちのいずれかに記載の装置。
16.前記位置測定システムは、前記光軸と実質的に直角の方向における前記基板テーブルの第2位置を決定するようにさらに構成される、前記15に記載の装置。
17.前記第1位置を表す第1入力信号および前記第2位置を表す第2入力信号を入力端子で受け取り、前記第1入力信号に基づいて前記アクチュエータを制御し、さらに前記第2入力信号に基づいて前記位置決めデバイスを制御する制御ユニットをさらに備える、前記16に記載の装置。
18.前記位置測定システムは、前記基板テーブルの前記底面に設置されたエンコーダ格子と、投影システムを支持するメトロロジフレームに設置された、前記第1位置および前記第2位置を決定するために該エンコーダ格子と協働するエンコーダヘッドとを備える、前記17に記載の装置。
19.前記第1位置決め部材は前記基板テーブルを位置決めするためのさらなる位置決めデバイスを備える、前記12〜18のうちのいずれかに記載の装置。
20.前記アクチュエータは、前記さらなる位置決めデバイスに力を加えることによって前記底面に前記垂直力を加える、前記19に記載の装置。
21.デバイス製造方法であって、
投影システムに対して基板を位置決めすることと、
パターン付き放射ビームを前記基板のターゲット部分上に投影することとを含み、
前記基板を位置決めするステップは、
基板テーブルに設置された第1位置決め部材と、前記基板テーブルを位置決めするために前記第1位置決め部材と協働する、サポート構造に設置された第2位置決め部材とを備える位置決めデバイスを提供することと、
前記投影システムの光軸に対して実質的に固定された水平位置において前記基板テーブルの底面に垂直力を加えることとを含む、デバイス製造方法。
22.リソグラフィ装置で用いる基板ステージであって、
基板を保持する基板テーブルと、
前記リソグラフィ装置の投影システムに対して前記基板テーブルを位置決めする位置決めデバイスであって、前記基板テーブルに設置された第1位置決め部材と、前記基板テーブルを位置決めするために前記第1位置決め部材と協働する、サポート構造に設置された第2位置決め部材とを備える、位置決めデバイスと、
前記サポート構造に対して実質的に固定された水平位置において前記基板テーブルの底面に垂直力を加えるアクチュエータと、
を備える、基板ステージ。
23.前記アクチュエータは前記サポート構造上に設置される、前記22に記載の基板ステージ。
24.前記アクチュエータは前記第2位置決め部材または前記第1位置決め部材上に設置される、前記22に記載の基板ステージ。
25.前記アクチュエータは、前記サポート構造に対して実質的に固定された水平位置を維持するように前記第2位置決め部材上に変位可能に設置される、前記22に記載の基板ステージ。
26.前記アクチュエータは、前記サポート構造に対して実質的に固定された位置を有する振動絶縁フレームに設置される、前記22に記載の基板ステージ。
27.前記アクチュエータは、振動絶縁体を介して前記サポート構造または前記第2位置決め部材上に設置される、前記23に記載の基板ステージ。
28.前記アクチュエータはローレンツアクチュエータを備える、前記23に記載の基板ステージ。
29.前記アクチュエータは、使用中、上方に向いたガス流を提供する、前記22に記載の基板ステージ。
30.前記基板テーブルの前記底面の垂直位置を決定するための位置測定システムをさらに備える、前記22に記載の基板ステージ。
31.前記垂直位置を表す入力信号を入力端子で受け取り、かつ前記入力信号に基づいて前記アクチュエータを制御する制御ユニットをさらに備える、前記30に記載の基板ステージ。
32.リソグラフィ装置であって、
放射ビームの断面にパターンを付与してパターン付き放射ビームを形成することができるパターニングデバイスを支持するサポートと、
基板を保持する基板テーブルであって、投影システムの光軸に対して実質的に固定された水平位置において該基板テーブルの底面に垂直力を加えるアクチュエータを備える、基板テーブルと、
前記パターン付きビームを前記基板のターゲット部分上に投影する投影システムと、
使用中、前記投影システムに対して前記基板テーブルを位置決めするための位置決めデバイスと備え、
前記位置決めデバイスは、
前記基板テーブルに設置された第1位置決め部材と、
前記基板テーブルを位置決めするために前記第1位置決め部材と協働する、サポート構造に設置された第2位置決め部材とを備える、リソグラフィ装置。
33.前記実質的に固定された水平位置は前記投影システムの光軸上にある、前記32に記載の装置。
34.前記アクチュエータは、メトロロジフレームなどの振動絶縁フレームに設置される、前記32に記載の装置。
35.前記光軸の方向における前記基板テーブルの第1位置を測定する位置測定システムをさらに備える、前記32に記載の装置。
36.前記位置測定システムは、前記光軸と実質的に直角の方向における前記基板テーブルの第2位置を決定するようにさらに構成される、前記35に記載の装置。
37.前記第1位置を表す第1入力信号および前記第2位置を表す第2入力信号を入力端子で受け取り、前記第1入力信号に基づいて前記アクチュエータを制御し、さらに前記第2入力信号に基づいて前記位置決めデバイスを制御する制御ユニットをさらに備える、前記37に記載の装置。
38.前記位置測定システムは、前記基板テーブルの前記底面に設置されたエンコーダ格子と、前記投影システムを支持するメトロロジフレームに設置された、前記第1位置および前記第2位置を決定するために前記エンコーダ格子と協働するエンコーダヘッドとを備える、前記37に記載の装置。
39.前記第1位置決め部材は前記基板テーブルを位置決めするためのさらなる位置決めデバイスを備える、前記32に記載の装置。
40.前記アクチュエータは、前記さらなる位置決めデバイスに力を加えることによって前記底面に前記垂直力を加えるように構成される、前記39に記載の装置。
41.デバイス製造方法であって、
投影システムに対して基板を位置決めすることと、
パターン付き放射ビームを前記基板のターゲット部分上に投影することとを含み、
前記基板を位置決めすることは、
基板テーブルに設置された第1位置決め部材と、前記基板テーブルを位置決めするために前記第1位置決め部材と協働する、サポート構造に設置された第2位置決め部材とを備える位置決めデバイスを提供することと、
前記投影システムの光軸に対して実質的に固定された水平位置において前記基板テーブルの底面に垂直力を加えることとを含む、デバイス製造方法。

Claims (15)

  1. リソグラフィ装置で用いる基板ステージであって、
    基板を保持する基板テーブルと、
    使用中、前記リソグラフィ装置の投影システムに対して前記基板テーブルを位置決めするための位置決めデバイスとを備え、
    前記位置決めデバイスは、
    前記基板テーブルに設置された第1位置決め部材と、
    前記基板テーブルを位置決めするために前記第1位置決め部材と協働する、サポート構造に設置された第2位置決め部材とを備え、
    前記基板ステージは、前記サポート構造に対して実質的に固定された水平位置において前記基板テーブルの底面に垂直力を加えるアクチュエータをさらに備える、
    基板ステージ。
  2. 前記アクチュエータは前記サポート構造上に設置される、請求項1に記載の基板ステージ。
  3. 前記アクチュエータは前記第2位置決め部材または前記第1位置決め部材上に設置される、請求項1に記載の基板ステージ。
  4. 前記アクチュエータは、前記サポート構造に対して実質的に固定された水平位置を維持するように前記第2位置決め部材上に変位可能に設置される、請求項1に記載の基板ステージ。
  5. 前記アクチュエータは、前記サポート構造に対して実質的に固定された位置を有する振動絶縁フレームに設置される、請求項1に記載の基板ステージ。
  6. 前記アクチュエータは、振動絶縁体を介して前記サポート構造または前記第2位置決め部材上に設置される、請求項2または3に記載の基板ステージ。
  7. 前記アクチュエータは、使用中、上方に向いたガス流を提供する、請求項1〜6のうちのいずれかに記載の基板ステージ。
  8. デバイス製造方法であって、
    投影システムに対して基板を位置決めすることと、
    パターン付き放射ビームを前記基板のターゲット部分上に投影することとを含み、
    前記基板を位置決めするステップは、
    基板テーブルに設置された第1位置決め部材と、前記基板テーブルを位置決めするために前記第1位置決め部材と協働する、サポート構造に設置された第2位置決め部材とを備える位置決めデバイスを提供することと、
    前記投影システムの光軸に対して実質的に固定された水平位置において前記基板テーブルの底面に垂直力を加えることとを含む、デバイス製造方法。
  9. リソグラフィ装置で用いる基板ステージであって、
    基板を保持する基板テーブルと、
    前記リソグラフィ装置の投影システムに対して前記基板テーブルを位置決めする位置決めデバイスであって、前記基板テーブルに設置された第1位置決め部材と、前記基板テーブルを位置決めするために前記第1位置決め部材と協働する、サポート構造に設置された第2位置決め部材とを備える、位置決めデバイスと、
    前記サポート構造に対して実質的に固定された水平位置において前記基板テーブルの底面に垂直力を加えるアクチュエータと、
    を備える、基板ステージ。
  10. 前記アクチュエータは前記サポート構造上に設置される、請求項9に記載の基板ステージ。
  11. 前記アクチュエータは前記第2位置決め部材または前記第1位置決め部材上に設置される、請求項9に記載の基板ステージ。
  12. 前記アクチュエータは、前記サポート構造に対して実質的に固定された水平位置を維持するように前記第2位置決め部材上に変位可能に設置される、請求項9に記載の基板ステージ。
  13. 前記アクチュエータは、前記サポート構造に対して実質的に固定された位置を有する振動絶縁フレームに設置される、請求項9に記載の基板ステージ。
  14. リソグラフィ装置であって、
    放射ビームの断面にパターンを付与してパターン付き放射ビームを形成することができるパターニングデバイスを支持するサポートと、
    基板を保持する基板テーブルであって、投影システムの光軸に対して実質的に固定された水平位置において該基板テーブルの底面に垂直力を加えるアクチュエータを備える基板テーブルと、
    前記パターン付き放射ビームを前記基板のターゲット部分上に投影する投影システムと、
    使用中、前記投影システムに対して前記基板テーブルを位置決めするための位置決めデバイスとを備え、
    前記位置決めデバイスは、
    前記基板テーブルに設置された第1位置決め部材と、
    前記基板テーブルを位置決めするために前記第1位置決め部材と協働する、サポート構造に設置された第2位置決め部材とを備える、リソグラフィ装置。
  15. 前記実質的に固定された水平位置は前記投影システムの光軸上にある、請求項14に記載の装置。
JP2014066305A 2012-05-23 2014-03-27 リソグラフィ装置およびデバイス製造方法 Active JP6228878B2 (ja)

Applications Claiming Priority (2)

Application Number Priority Date Filing Date Title
US201261650708P 2012-05-23 2012-05-23
US61/650,708 2012-05-23

Related Parent Applications (1)

Application Number Title Priority Date Filing Date
JP2013093305A Division JP5513658B2 (ja) 2012-05-23 2013-04-26 リソグラフィ装置およびデバイス製造方法

Publications (3)

Publication Number Publication Date
JP2014123778A true JP2014123778A (ja) 2014-07-03
JP2014123778A5 JP2014123778A5 (ja) 2016-06-02
JP6228878B2 JP6228878B2 (ja) 2017-11-08

Family

ID=49621357

Family Applications (2)

Application Number Title Priority Date Filing Date
JP2013093305A Active JP5513658B2 (ja) 2012-05-23 2013-04-26 リソグラフィ装置およびデバイス製造方法
JP2014066305A Active JP6228878B2 (ja) 2012-05-23 2014-03-27 リソグラフィ装置およびデバイス製造方法

Family Applications Before (1)

Application Number Title Priority Date Filing Date
JP2013093305A Active JP5513658B2 (ja) 2012-05-23 2013-04-26 リソグラフィ装置およびデバイス製造方法

Country Status (3)

Country Link
US (2) US9261798B2 (ja)
JP (2) JP5513658B2 (ja)
NL (1) NL2010679A (ja)

Cited By (1)

* Cited by examiner, † Cited by third party
Publication number Priority date Publication date Assignee Title
WO2017144236A1 (en) * 2016-02-25 2017-08-31 Asml Netherlands B.V. Actuator system and lithographic apparatus

Families Citing this family (4)

* Cited by examiner, † Cited by third party
Publication number Priority date Publication date Assignee Title
NL2010679A (en) 2012-05-23 2013-11-26 Asml Netherlands Bv Lithographic apparatus and device manufacturing method.
CN105470186B (zh) * 2015-12-11 2019-02-15 中国电子科技集团公司第四十八研究所 用于反应室内旋转石墨盘精确定位系统
WO2020038661A1 (en) * 2018-08-23 2020-02-27 Asml Netherlands B.V. Substrate support, lithographic apparatus, substrate inspection apparatus, device manufacturing method
WO2026018233A1 (en) * 2024-07-14 2026-01-22 Carl Zeiss Sms Ltd. Extreme ultraviolet mask inspection – laser interferometer optical alignment

Citations (7)

* Cited by examiner, † Cited by third party
Publication number Priority date Publication date Assignee Title
JPH0917848A (ja) * 1995-06-30 1997-01-17 Nikon Corp 磁気浮上型ステージ
JPH1169764A (ja) * 1997-08-21 1999-03-09 Nikon Corp 位置決め装置及び該装置を備えた露光装置
WO2005124832A1 (ja) * 2004-06-17 2005-12-29 Nikon Corporation 露光装置
JP2006287033A (ja) * 2005-04-01 2006-10-19 Yaskawa Electric Corp ステージ装置およびその露光装置
WO2008108148A1 (ja) * 2007-03-06 2008-09-12 Kabushiki Kaisha Yaskawa Denki 精密位置決め装置
JP2009038258A (ja) * 2007-08-02 2009-02-19 Canon Inc 露光装置及びデバイス製造方法
WO2009050675A2 (en) * 2007-10-19 2009-04-23 Koninklijke Philips Electronics N.V. Displacement device with precision position measurement

Family Cites Families (23)

* Cited by examiner, † Cited by third party
Publication number Priority date Publication date Assignee Title
JPS62266490A (ja) * 1986-05-14 1987-11-19 株式会社東芝 精密位置決め装置
JPH10209030A (ja) * 1997-01-20 1998-08-07 Nikon Corp 投影露光方法及び投影露光装置
JP2001313241A (ja) 2000-04-28 2001-11-09 Canon Inc 露光装置および露光方法
TWI307526B (en) * 2002-08-06 2009-03-11 Nikon Corp Supporting device and the mamufacturing method thereof, stage device and exposure device
JP2004087593A (ja) * 2002-08-23 2004-03-18 Nikon Corp ステージ装置および露光装置
JP4307872B2 (ja) * 2003-03-18 2009-08-05 オリンパス株式会社 基板検査装置
TWI295414B (en) * 2003-05-13 2008-04-01 Asml Netherlands Bv Lithographic apparatus and device manufacturing method
JP4266713B2 (ja) * 2003-06-03 2009-05-20 キヤノン株式会社 位置決め装置及び露光装置
EP1664587B1 (en) 2003-09-05 2010-11-24 Koninklijke Philips Electronics N.V. Actuator arrangement for active vibration isolation comprising an inertial reference mass
US7486381B2 (en) * 2004-05-21 2009-02-03 Asml Netherlands B.V. Lithographic apparatus and device manufacturing method
US7440081B2 (en) 2004-11-05 2008-10-21 Asml Netherlands B.V. Lithographic apparatus, device manufacturing method, and substrate table
US7442476B2 (en) * 2004-12-27 2008-10-28 Asml Netherlands B.V. Method and system for 3D alignment in wafer scale integration
US20070236854A1 (en) * 2006-04-11 2007-10-11 Lee Martin E Anti-Gravity Device for Supporting Weight and Reducing Transmissibility
JP2007331041A (ja) * 2006-06-13 2007-12-27 Hitachi High-Technologies Corp 平板状ワークの作業装置
US20080067968A1 (en) * 2006-09-12 2008-03-20 Nikon Corporation Identifying and compensating force-ripple and side-forces produced by linear actuators
EP2068112A4 (en) * 2006-09-29 2017-11-15 Nikon Corporation Mobile unit system, pattern forming device, exposing device, exposing method, and device manufacturing method
JP2008147411A (ja) * 2006-12-08 2008-06-26 Canon Inc 露光装置及びデバイス製造方法
JP5241276B2 (ja) * 2008-03-10 2013-07-17 キヤノン株式会社 露光装置
US8659746B2 (en) * 2009-03-04 2014-02-25 Nikon Corporation Movable body apparatus, exposure apparatus and device manufacturing method
JP2010245300A (ja) * 2009-04-06 2010-10-28 Canon Inc 駆動装置、露光装置およびデバイス製造方法
TW201100975A (en) * 2009-04-21 2011-01-01 Nikon Corp Moving-object apparatus, exposure apparatus, exposure method, and device manufacturing method
US20110042874A1 (en) 2009-08-20 2011-02-24 Nikon Corporation Object processing apparatus, exposure apparatus and exposure method, and device manufacturing method
NL2010679A (en) 2012-05-23 2013-11-26 Asml Netherlands Bv Lithographic apparatus and device manufacturing method.

Patent Citations (8)

* Cited by examiner, † Cited by third party
Publication number Priority date Publication date Assignee Title
JPH0917848A (ja) * 1995-06-30 1997-01-17 Nikon Corp 磁気浮上型ステージ
JPH1169764A (ja) * 1997-08-21 1999-03-09 Nikon Corp 位置決め装置及び該装置を備えた露光装置
WO2005124832A1 (ja) * 2004-06-17 2005-12-29 Nikon Corporation 露光装置
JP2006287033A (ja) * 2005-04-01 2006-10-19 Yaskawa Electric Corp ステージ装置およびその露光装置
WO2008108148A1 (ja) * 2007-03-06 2008-09-12 Kabushiki Kaisha Yaskawa Denki 精密位置決め装置
JP2009038258A (ja) * 2007-08-02 2009-02-19 Canon Inc 露光装置及びデバイス製造方法
WO2009050675A2 (en) * 2007-10-19 2009-04-23 Koninklijke Philips Electronics N.V. Displacement device with precision position measurement
JP2011503529A (ja) * 2007-10-19 2011-01-27 コーニンクレッカ フィリップス エレクトロニクス エヌ ヴィ 精確な測定を有する移動装置

Cited By (3)

* Cited by examiner, † Cited by third party
Publication number Priority date Publication date Assignee Title
WO2017144236A1 (en) * 2016-02-25 2017-08-31 Asml Netherlands B.V. Actuator system and lithographic apparatus
JP2019510256A (ja) * 2016-02-25 2019-04-11 エーエスエムエル ネザーランズ ビー.ブイ. アクチュエータシステムおよびリソグラフィ装置
US10338483B2 (en) 2016-02-25 2019-07-02 Asml Netherlands B.V. Actuator system and lithographic apparatus

Also Published As

Publication number Publication date
JP2013247358A (ja) 2013-12-09
US20130314684A1 (en) 2013-11-28
US9261798B2 (en) 2016-02-16
JP5513658B2 (ja) 2014-06-04
NL2010679A (en) 2013-11-26
US20160154322A1 (en) 2016-06-02
JP6228878B2 (ja) 2017-11-08
US9811005B2 (en) 2017-11-07

Similar Documents

Publication Publication Date Title
KR101325619B1 (ko) 가변 릴럭턴스 디바이스, 스테이지 장치, 리소그래피 장치 및 디바이스 제조방법
JP4669868B2 (ja) ステージ装置およびリソグラフィ装置
JP5124605B2 (ja) リソグラフィ装置および位置決め組立体
TWI623820B (zh) 定位裝置、微影設備及裝置製造方法
JP5505871B2 (ja) 移動体装置及び露光装置
JP5162417B2 (ja) リソグラフィ装置およびその振動制御方法
JP6741739B2 (ja) 粒子ビーム装置
KR20120096434A (ko) 전자기 액추에이터, 스테이지 장치 및 리소그래피 장치
JP2019523437A (ja) リソグラフィ装置及びリソグラフィ投影装置
JP2010093254A (ja) リソグラフィ装置及びローレンツアクチュエータ
JP6228878B2 (ja) リソグラフィ装置およびデバイス製造方法
US9389518B2 (en) Stage system and a lithographic apparatus
JP2020517980A (ja) 支持構造、方法、及びリソグラフィ装置
JP5919395B2 (ja) 可動ステージシステム及びリソグラフィ装置
JP4668248B2 (ja) リソグラフィ装置及びデバイス製造方法
JP6209234B2 (ja) リソグラフィ装置及びデバイス製造方法
JP2019502153A (ja) アクティブベースフレームサポートを有するリソグラフィ装置
US10962890B2 (en) Positioning device, lithographic apparatus, method for compensating a balance mass torque and device manufacturing method
JP2019502956A (ja) リソグラフィ装置及びデバイス製造方法
NL2007501A (en) Variable reluctance device, stage apparatus, lithographic apparatus and device manufacturing method.

Legal Events

Date Code Title Description
A521 Request for written amendment filed

Free format text: JAPANESE INTERMEDIATE CODE: A523

Effective date: 20160408

A621 Written request for application examination

Free format text: JAPANESE INTERMEDIATE CODE: A621

Effective date: 20160408

A977 Report on retrieval

Free format text: JAPANESE INTERMEDIATE CODE: A971007

Effective date: 20170125

A131 Notification of reasons for refusal

Free format text: JAPANESE INTERMEDIATE CODE: A131

Effective date: 20170201

A521 Request for written amendment filed

Free format text: JAPANESE INTERMEDIATE CODE: A523

Effective date: 20170411

TRDD Decision of grant or rejection written
A01 Written decision to grant a patent or to grant a registration (utility model)

Free format text: JAPANESE INTERMEDIATE CODE: A01

Effective date: 20170928

A61 First payment of annual fees (during grant procedure)

Free format text: JAPANESE INTERMEDIATE CODE: A61

Effective date: 20171016

R150 Certificate of patent or registration of utility model

Ref document number: 6228878

Country of ref document: JP

Free format text: JAPANESE INTERMEDIATE CODE: R150

R250 Receipt of annual fees

Free format text: JAPANESE INTERMEDIATE CODE: R250

R250 Receipt of annual fees

Free format text: JAPANESE INTERMEDIATE CODE: R250

R250 Receipt of annual fees

Free format text: JAPANESE INTERMEDIATE CODE: R250

R250 Receipt of annual fees

Free format text: JAPANESE INTERMEDIATE CODE: R250

R250 Receipt of annual fees

Free format text: JAPANESE INTERMEDIATE CODE: R250

R250 Receipt of annual fees

Free format text: JAPANESE INTERMEDIATE CODE: R250