JP2014046842A - シートベルト用バックル装置 - Google Patents

シートベルト用バックル装置 Download PDF

Info

Publication number
JP2014046842A
JP2014046842A JP2012191958A JP2012191958A JP2014046842A JP 2014046842 A JP2014046842 A JP 2014046842A JP 2012191958 A JP2012191958 A JP 2012191958A JP 2012191958 A JP2012191958 A JP 2012191958A JP 2014046842 A JP2014046842 A JP 2014046842A
Authority
JP
Japan
Prior art keywords
buckle
rotation
positioning hole
seat belt
shaft member
Prior art date
Legal status (The legal status is an assumption and is not a legal conclusion. Google has not performed a legal analysis and makes no representation as to the accuracy of the status listed.)
Granted
Application number
JP2012191958A
Other languages
English (en)
Other versions
JP5986851B2 (ja
Inventor
Hideji Kaeriyama
秀治 歸山
Takeshi Matsumoto
武史 松本
Current Assignee (The listed assignees may be inaccurate. Google has not performed a legal analysis and makes no representation or warranty as to the accuracy of the list.)
Ashimori Industry Co Ltd
Mazda Motor Corp
Original Assignee
Ashimori Industry Co Ltd
Mazda Motor Corp
Priority date (The priority date is an assumption and is not a legal conclusion. Google has not performed a legal analysis and makes no representation as to the accuracy of the date listed.)
Filing date
Publication date
Application filed by Ashimori Industry Co Ltd, Mazda Motor Corp filed Critical Ashimori Industry Co Ltd
Priority to JP2012191958A priority Critical patent/JP5986851B2/ja
Publication of JP2014046842A publication Critical patent/JP2014046842A/ja
Application granted granted Critical
Publication of JP5986851B2 publication Critical patent/JP5986851B2/ja
Active legal-status Critical Current
Anticipated expiration legal-status Critical

Links

Images

Landscapes

  • Automotive Seat Belt Assembly (AREA)

Abstract

【課題】作業時にかかり易い下向きの力に左右されず、バックルユニットの回転を規制した状態を容易に非規制状態にできるようにすることを目的とする。
【解決手段】シートベルト用バックル装置20は、車両に取付可能なブラケット22と、バックル部材52とバックル支持体54とを含むバックルユニット50と、バックル支持体54を回転可能に支持する軸部材30と、回転規制部材60とを備える。回転規制部材60は、軸部材30に対して第1位置と第2位置との間で移動可能に取付けられる。回転規制部材60は、第1位置に位置した状態でバックル当接部73をバックル支持体54に当接させてバックルユニット50の軸部材30周りの一方向への回転を規制し、第2位置に位置した状態でバックル支持体54に対するブラケット当接部78の当接を解除してバックルユニット50の前記軸部材30周りの一方向への回転規制を解除する。
【選択図】図7

Description

この発明は、シートベルト用のバックル部材を車体に取付けるための技術に関する。
特許文献1には、シート組立時にはベルトバックルの傾動移動を抑制し、シートが車体へ取付けられた後に、アンカー及びベルトバックルからの完全な離脱でベルトバックルの傾動移動の抑制を解除する移動抑制手段を備えたシートベルト用バックル装置が開示されている。移動抑制手段としては、例えば、アンカーの貫通孔とバックルプレートの貫通孔とに連続して貫通されたピンが開示されている。
特開2009−6776号公報
しかしながら、特許文献1では、ピンは、バックルプレートの貫通孔に差込まれているため、ピンを離脱させ難い。特に、シート組付作業時には下向きの力が加わり易く、ピンを変形させてしまい容易に離脱できなくなる事態が生じ得る。
また、特許文献1では、ピンによる仮保持を解除するときに、ピンが分離されるため、当該ピンの回収作業を実施する必要がある。このため、作業効率が悪く、また、ピンが車内で紛失してしまう恐れもある。
そこで、本発明は、作業時にかかり易い下向きの力に左右されず、バックルユニットの回転を規制した状態を容易に非規制状態にでき、かつ、ベルトバックルの回転規制解除時に余分な部品が分離しないようにもできるようにすること目的とする。
上記課題を解決するため、第1の態様に係るシートベルト用バックル装置は、車両に取付可能なブラケットと、バックル部材と前記バックル部材から延出するバックル支持体とを含むバックルユニットと、前記ブラケットに対して前記バックル支持体を回転可能に支持する軸部材と、前記軸部材に取付けられる軸取付部と、前記ブラケットに当接可能なブラケット当接部と、前記バックル支持体に当接可能なバックル当接部とを含み、前記軸取付部を介して前記軸部材に対して第1位置と第2位置との間で移動可能に取付けられ、前記第1位置に位置した状態で前記ブラケット当接部を前記ブラケットに当接させると共に前記バックル当接部を前記バックル支持体に当接させて前記バックルユニットの前記軸部材周りの一方向への回転を規制し、前記第2位置に位置した状態で前記バックル支持体に対する前記ブラケット当接部の当接を解除して前記バックルユニットの前記軸部材周りの一方向への回転規制を解除する、回転規制部材と、を備える。
第2の態様は、第1の態様に係るシートベルト用バックル装置であって、前記ブラケットは、底板部と前記底板部の両側部に立設された一対の側板部とを備え、前記回転規制部材が前記第1位置に位置した状態で、前記ブラケット当接部が前記底板部に接することで、前記回転規制部材の前記軸部材周りの一方向への回転が規制される。
第3の態様は、第2の態様に係るシートベルト用バックル装置であって、前記回転規制部材が前記第2位置に位置した状態で、前記ブラケット当接部が、前記底板部のうち前記軸部材の回転軸を前記底板部に投影したラインを跨ぐ両側部分に接することで、前記回転規制部材の前記軸部材周りの両方向への回転が規制されている。
第4の態様は、第1〜第3のいずれか1つの態様に係るシートベルト用バックル装置であって、前記軸取付部に、第1位置決孔部と第2位置決孔部とが狭隘部を介して連続する位置決孔部が形成され、前記第1位置決孔部及び前記第2位置決孔部は、それぞれ前記軸部材をその軸方向と直交する方向に位置決めした状態で収容可能に形成され、前記軸部材が前記第1位置決孔部に収容された状態で前記回転規制部材が前記第1位置に位置し、前記軸部材が前記狭隘部を通過して前記第2位置決孔部に収容された状態で前記回転規制部材が前記第2位置に位置する。
第5の態様は、第4の態様に係るシートベルト用バックル装置であって、前記第1位置決孔部及び前記第2位置決孔部がそれぞれの外周側に開口していない。
第6の態様は、第4の態様に係るシートベルト用バックル装置であって、前記第1位置決孔部及び前記第2位置決孔部の少なくとも一方の外周部に、前記軸部材が通過可能な開口が形成されている。
第7の態様は、第4〜第6のいずれか1つの態様に係るシートベルト用バックル装置であって、前記ブラケット当接部が前記第1位置決孔部と前記第2位置決孔部とに隣設して設けられる位置決孔部隣設部分を含み、前記位置決孔部隣設部分は、前記狭隘部の外側位置を空洞とする枠形状に形成されている。
第8の態様は、第1〜第7のいずれか1つの態様に係るシートベルト用バックル装置であって、前記バックルユニットが2つ設けられ、前記バックル当接部が、前記回転規制部材が前記軸部材に取付けられた状態で前記回転規制部材のうち前記軸部材の軸方向両端側の部分に2つ設けられ、前記軸部材に対して、その軸方向中間部に前記回転規制部材が取付けられると共に、前記回転規制部材を挟むようにして前記2つのバックルユニットが回転可能に支持されている。
第9の態様は、第1〜第7のいずれか1つの態様に係るシートベルト用バックル装置であって、前記バックル当接部が、前記回転規制部材が前記軸部材に取付けられた状態で前記回転規制部材のうち前記軸部材の軸方向両端側の部分に2つ設けられ、前記軸部材に対して、その軸方向中間部に前記回転規制部材が取付けられ、前記回転規制部材の一側に前記バックルユニットが回転可能に支持され、前記回転規制部材の他側に筒部材が取付けられている。
第10の態様は、第1〜第9のいずれか1つの態様に係るシートベルト用バックル装置であって、前記バックル当接部に、前記回転規制部材が前記第1位置に位置する状態で、前記第2位置への前記回転規制部材の移動を規制するように、前記バックル支持体の一部が嵌り込むように当接可能な移動規制凹部が形成されている。
第11の態様は、第1〜第10のいずれか1つの態様に係るシートベルト用バックル装置であって、前記回転規制部材のうち前記第1位置から前記第2位置に向う方向とは反対方向を向く部分に操作用凹部が形成されている。
第1の態様によると、回転規制部材は、前記軸部材に対して第1位置と第2位置との間で移動可能に取付けられ、前記第1位置に位置した状態で前記バックル支持体に当接して前記バックルユニットの前記軸部材周りの一方向への回転を規制しているため、回転規制部材を第1位置から第2位置に容易に移動させることができる。これにより、作業時にかかり易い下向きの力に左右されず、バックルユニットの回転を規制した状態を容易に非規制状態にできる。また、ベルトバックルの回転規制解除時に余分な部品が分離しないようにすることもできる。
第2の態様によると、回転規制部材自体を簡易に回転規制できる。
第3の態様によると、回転規制部材が第2位置に移動した状態で、その回転を規制してがたつき等を抑制することができる。
第4の態様によると、回転規制部材が、前記軸部材に対して第1位置と第2位置との間で移動可能に取付けられた構成を簡易に実現できる。
第5の態様によると、回転規制部材を軸部材に取付けた状態をより確実に維持できる。
第6の態様によると、回転規制部材を軸部材から取外すことができる。
第7の態様によると、前記位置決孔部隣設部分は、前記狭隘部の外側位置を空洞とする枠形状に形成されているため、狭隘部を広げるように容易に弾性変形させることができる、また、位置決孔部隣設部分にある程度の剛性を持たせることができ、回転規制部材の回転規制及び位置決孔部隣設部分を利用した回転規制部材の移動等を行い易い。
第8の態様によると、1つの回転規制部材で、その両側の2つのバックルユニットの回転規制を行うことができる。
第9の態様によると、2つのバックルユニットの回転規制を行うことが可能な回転規制部材を用いて、1つだけ設けられたバックルユニットの回転規制を行うことができる。
第10の態様によると、回転規制部材が前記第1位置に位置する状態で、バックル支持体の一部が移動規制凹部に嵌り込んで、第2位置への前記回転規制部材の移動を規制するため、バックルユニットの回転をより確実に規制できる。
第11の態様によると、操作用凹部を押すことで、回転規制部材を第1位置から第2位置へ向けて容易に移動させることができる。
実施形態に係るシートベルト用バックル装置が車両のシートに組込まれた状態を示す説明図である。 同上のシートベルト用バックル装置が車両のシートに組込まれた状態を示す説明図である。 シートベルト用バックル装置を示す斜視図である。 シートベルト用バックル装置を示す斜視図である。 シートベルト用バックル装置の平面図である。 シートベルト用バックル装置の側面図である。 図5のA−A線の断面における説明図である。 図5のA−A線の断面における説明図である。 回転規制部材を示す斜視図である。 回転規制部材を示す平面図である。 回転規制部材を示す側面図である。 変形例に係る回転規制部材を示す側面図である。 他の変形例に係るシートベルト用バックル装置を示す斜視図である。 他の変形例に係るシートベルト用バックル装置を示す斜視図である。
以下、実施形態に係るシートベルト用バックル装置について説明する。
<シートベルト用バックル装置の適用例>
まず、シートベルト用バックル装置の適用対象例及びその適用対象における本シートベルト用バックル装置の使用例について説明する。
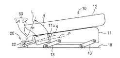
図1及び図2はシートベルト用バックル装置20が車両のシート10に組込まれた状態を示す説明図である。図1はシート10が着座形態に変形した状態を示しており、図2はシート10が折畳み形態に変形した状態を示している。また、図1及び図2ではシートベルト用バックル装置20を簡略化して描いている。
シート10は、座部材11と背もたれ部材12とを備えている。ここでは、シート10が、その後方側に荷室フロアが広がるシートであること、即ち、前後2列シートの後席又は前後3列シートの最後部席等であることを想定している。
座部材11は、車体の床18に対して複数のシート支持柱部13を介して支持されている。シート支持柱部13の一端部(下端部)は、車体の床18に対して立設姿勢(図1参照)と倒伏姿勢(図2参照)との間で姿勢変更可能に支持されている。また、シート支持柱部13の他端部(上端部)は、座部材11に対して回転可能に連結されている。そして、シート支持柱部13が立設姿勢に姿勢変更することで、座部材11が床18から上方に離れた第1の高さ位置に支持される。また、シート支持柱部13が倒伏姿勢に姿勢変更することで、座部材11が床18に近づいて前記第1の高さ位置よりも低い第2の高さ位置に支持される。
この座部材11には、床18に取付けられたシートベルト用バックル装置20を座部材11の表面に露出させるための凹部11aが形成されている。凹部11aは、座部材11の側面より凹む形状であってもよいし、座部材11の中間部に貫通するように形成された孔であってもよい。
背もたれ部材12は、座部材11の後部に、起立姿勢(図1参照)と折畳み姿勢(図2参照)との間で姿勢変更可能に支持されている。そして、背もたれ部材12が座部材11の後部に起立した起立姿勢に姿勢変更することで、座部材11に着座した乗員の背中を受止めることができる。また、背もたれ部材12が、座部材11の上側に重なった折畳み姿勢となることで、本シート10の上方空間とその後方の荷室空間とが連続的に繋がるようになる。
座部材11が第1の高さ位置に持上げられ、かつ、背もたれ部材12が起立姿勢に姿勢変更した状態が、乗員の着座に適した着座形態である。また、座部材11が第2の高さ位置に下降し、かつ、背もたれ部材12が折畳み姿勢に姿勢変更した状態が、荷物の搭載に適した折畳み形態である。この状態では、荷室フロアと背もたれ部材12の背面とが面一状に連続していることが好ましい。
なお、上記シート支持柱部13と背もたれ部材12とは図示省略のリンク部材によって連結されており、シート支持柱部13の姿勢変更と連動して背もたれ部材12が姿勢変更することが好ましい。
シートベルト用バックル装置20は、上記座部材11の凹部11aに対応する位置で、床18に取付けられる。
ここで、シートベルト用バックル装置20の概略構成について説明しておくと、シートベルト用バックル装置20は、ブラケット22と、バックルユニット50とを備えている。ブラケット22は、床18に取付けられる部分である。バックルユニット50は、シートベルト19に連結されたタング19aを連結及び連結解除可能なバックル部材52を含む。バックルユニット50は、ブラケット22に対して回転可能に支持されると共に、床18に対して起立する方向に付勢されている。そして、ブラケット22が床18に取付けられた状態で、バックルユニット50のバックル部材52が、座部材11の凹部11aを通じて座部材11の表面側に露出する。
シート10が着座形態にある状態では、バックルユニット50は、床18から起立した状態で第1の高さ位置にある座部材11の凹部11a内に配設されている。バックルユニット50は、凹部11a内の一定のバックル着脱用回転範囲α内で回転可能である。タング19aをバックル部材52に装着する際には、そのタング19aの挿入方向に合わせてバックルユニット50を前記バックル着脱用回転範囲α内で回転させることで、タング19aをバックル部材52に容易に差込んで挿入することができる。ここでは、シート10が着座形態にある状態で、バックルユニット50のバックル着脱用回転範囲αは次の回転範囲に規定されている。すなわち、バックルユニット50の起立回転方向への回転範囲は、バックルユニット50の一部がブラケット22の一部に当接することにより規制される(図1及び図2の”L”参照)。この構成については、後で詳述する。また、バックルユニット50の倒伏回転方向への回転範囲は、バックルユニット50が凹部11aのうち座部材11の前側部分に当接することにより規制される(図1の”M”参照)。つまり、本実施形態においては、バックルユニット50とブラケット22との当接とバックルユニット50と座部材11との当接によって、バックルユニット50の両方向への回転範囲の規制がなされ、この間の回転範囲がバックル部材52の通常のタング19aの着脱使用状態におけるバックル着脱用回転範囲αとして規定される。もっとも、このバックル着脱用回転範囲αは、タング19aの着脱に適した範囲で回転可能な範囲として規定されていればよく、バックルユニット50の回転範囲は、ブラケット22、座部材11を問わず、他の部材等によって規制されてもよい。
また、シート10が折畳み形態にある状態では、バックルユニット50は背もたれ部材12によって押されて倒れた状態で、第2の高さ位置にある座部材11の凹部11a内に配設されている。バックルユニット50は、シート10の着座形態と折畳み形態との間での形態変更に追従できるように、所定のシート位置変更用回転範囲βでも回転可能とされている。ここでは、シート位置変更用回転範囲βは、次の回転範囲に規定される。すなわち、バックルユニット50の起立回転方向への回転範囲は、着座形態にあるシート10の凹部11a内におけるバックルユニット50の起立側への回転範囲の規制、即ち、上記バックル着脱用回転範囲αにおけるバックルユニット50の起立側の回転に対する規制と同様構成によって規制される(図1、図2の”L”参照)。つまり、シート位置変更用回転範囲βは、バックル着脱用回転範囲αを含む範囲であり、その起立側の回転は、バックルユニット50の一部がブラケット22の一部に当接することにより規制される。バックルユニット50の倒伏側への回転範囲は、起立回転方向へ付勢されたバックルユニット50が、折畳み形態にあるシート10の背もたれ部材12に当接した姿勢として規定される(図2の”N”参照)。本実施形態では、それらの間の回転範囲が、シート10の位置変更状態における回転範囲で規定されるシート位置変更用回転範囲βとして規定される。もっとも、このシート位置変更用回転範囲βの規定は、上記例に限られず、シート10の位置変更に追従できるバックルユニット50の回転範囲として規定されればよい。
上記シートベルト用バックル装置20を床18に取付作業する際、バックルユニット50に対してブラケット22が大きく動けるとすると、ブラケット22を床18にボルト締等して取付けする作業が困難となる。このため、シートベルト用バックル装置20の取付作業性を考慮すると、ブラケット22に対するバックルユニット50の回転姿勢は一定位置又は一定範囲に規制されていることが好ましい。下記に説明するシートベルト用バックル装置20は、ブラケット22に対するバックルユニット50の回転姿勢を一定位置又は一定範囲に規制するための構成に関する開示を含んでいる。
また、通常、シートベルト用バックル装置20は、シート10を床18に取付ける前に、床18に取付けされる。このため、シート10を床18に取付作業する際に、バックルユニット50がシート10と干渉しないような姿勢となっていること、即ち、なるべく床18に沿って倒れた姿勢となっていることが好ましい(図2の”P”参照)。下記に説明するシートベルト用バックル装置20は、バックルユニット50をなるべく倒れた姿勢に規制するための構成に関する開示をも含んでいる。
<シートベルト用バックル装置の説明>
<シートベルト用バックル装置の全体構成>
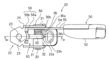
シートベルト用バックル装置20についてより具体的に説明する。図3及び図4はシートベルト用バックル装置20を示す斜視図であり、図5はシートベルト用バックル装置20の平面図であり、図6はシートベルト用バックル装置20の側面図である。また、図7及び図8は、図5のA−A線の断面における説明図である。図3、図5、図6及び図7は、バックル支持体54が回転規制部材60によって回転規制されている状態(符号”P”参照)を示し、図4及び図8は、バックル支持体54が最も起立した状態(符号”L”参照)を示している。
シートベルト用バックル装置20は、ブラケット22と、軸部材30と、付勢部材としてのねじりコイルバネ36と、バックルユニット50と、回転規制部材60とを備える。
ブラケット22は、金属板をプレス加工等することにより形成された部材であり、車体の床18に対して取付可能に構成されている。ここでは、ブラケット22は、底板部23と一対の側板部24、25とを備える。
底板部23は、細長板形状に形成されており、その両端部にボルト締孔23hが形成されている。本ブラケット22は、当該ボルト締孔23hに挿通されたボルトを車体の床18側の締結部に締結することで、車両に取付可能とされる。なお、ここでは、底板部23の一端側よりの位置にバネ止突部23aが形成されており、ねじりコイルバネ36の一方側の延出端部36cが当該バネ止突部23aに係止して一定位置に配設されるように規制される。また、底板部23は、バネ止突部23aと一方側のボルト締孔23hとの間で内向きに曲っている。
一対の側板部24、25は、底板部23の両側部から平行姿勢で立上がるように立設されている。一対の側板部24、25には、軸部嵌込孔が形成されている。一対の側板部24、25のそれぞれにおいて、軸部嵌込孔と底板部23との距離は同じに設定されている。そして、本軸部嵌込孔に挿通された軸部材30は、底板部23に対して平行姿勢で支持される。
バックルユニット50は、バックル部材52と、バックル支持体54とを備える。
バックル部材52は、シートベルト19に連結されたタング19aを連結及び連結解除可能に構成されている(図1参照)。ここでは、バックル部材52は、扁平な直方体箱状形状の角及び縁を丸めた形状に形成されている。バックル部材52の一端部にはタング19aの差込み孔が設けられ、バックル部材52の一端部の側部にはタング19aの連結を解除するためのリリースボタンが設けられている。
バックル支持体54は、金属板をプレス成形等することにより形成された部材であり、上記バックル部材52の他端部より外方に延出するように設けられている。バックル支持体54は、長尺板部55と、円板状部56とを備える。長尺板部55は細長板状に形成され、円板状部56は円板状に形成され、長尺板部55の一端部に一体形成されている。長尺板部55の他端部は上記バックル部材52に取付固定されている。
円板状部56は、円板状に形成されており、その中心に挿通孔57が形成されている。挿通孔57の直径は、軸部材30の外径よりも大きく(僅かに大きく)設定されている。従って、軸部材30を挿通孔57に挿通した状態で、バックル支持体54は、軸部材30周りに自由に回転することができる。
円板状部56の外周部の一部には、回転範囲規制突出部58及びバネ止片59が突設されている。
回転範囲規制突出部58は、バックルユニット50の回転範囲を規制するための部分である。ここでは、回転範囲規制突出部58は、底板部23に当接することで、バックル着脱用回転範囲α又はシート位置変更用回転範囲βにおいて、バックルユニット50の起立回転方向への回転を規制する役割(図1及び図2の”L”参照)、及び、回転規制部材60に当接することで、バックルユニット50がなるべく倒れた姿勢となるように、起立回転方向への回転を規制する役割(図2の”P”参照)とを果す。
具体的には、回転範囲規制突出部58は、円板状部56の外周部のうち長尺板部55の反対側の部分に突設されている。ここでは、回転範囲規制突出部58は、円板状部56の外周からその接線方向に向けて突出する第1突出部分58aと、当該第1突出部分58aの先端部から直交する方向に曲る第2突出部分58bとを含み、全体として略L字状の部材に形成されている。バックルユニット50が軸部材30に取付けられた状態で、第2突出部分58bは、軸部材30の軸方向に沿って延在し、ここでは、特に、軸部材30の長手方向中間部に向けて突出するようになっている。
そして、底板部23の反対側に向かうように長尺板部55が延在する状態で、回転範囲規制突出部58が底板部23に当接する。この状態でのバックルユニット50の回転姿勢が、当該バックルユニット50が最も起立した回転姿勢である(矢符”L”参照)。
また、長尺板部55が底板部23に対してなるべく倒れた姿勢となった状態で、回転範囲規制突出部58が後述するバックル当接部73に当接する。この状態でのバックルユニット50の回転姿勢が、シート10を床18に取付作業するのに適した姿勢、即ち、バックルユニット50がなるべく倒れた姿勢である(図2の”P”参照)。なお、この回転規制については、後でさらに詳述する。
なお、上記2つの回転規制は、円板状部56の外周部に設けられた別々の突部によって実現されてもよい。また、本回転範囲規制突出部58が設けられていることは必須ではない。例えば、回転規制部材60がバックル支持体54の上記長尺板部55に当接することで、バックルユニット50の一時的な回転規制を図る構成であってもよい。
バネ止片59は、ねじりコイルバネ36の他端側を本バックル支持体54に対して固定するための部分である。ここでは、バネ止片59は、円板状部56の外周部のうち回転範囲規制突出部58と長尺板部55との間、ここでは、長尺板部55に近い部分に突設されている。もっとも、ねじりコイルバネ36の他端側は、その他、長尺板部55に当接固定されてもよいし、バックル支持体54に形成された凹部に嵌め込み固定されてもよい。
軸部材30は、ブラケット22に対してバックルユニット50のバックル支持体54を回転可能に支持するように構成されている。ここでは、軸部材30は、棒状部材に形成されており、上記一対の側板部24、25の軸部嵌込孔に挿入されている。軸部材30が一対の軸部嵌込孔に挿通された状態で、軸部材30の両端部に設けられた鍔部31が一対の側板部24の外面にそれぞれ係止している。鍔部31は、軸部材30と一体形成された部分、軸部材30を圧壊した部分、又は、軸部材30に装着された止め輪等により構成される。これにより、軸部材30が抜止めされた状態で、一対の側板部24、25間に掛渡すように支持されている。このように支持された軸部材30が上記バックル支持体54の挿通孔57に挿通されることで、バックル支持体54が軸部材30周りに回転可能に支持される。
なお、ここでは、バックル支持体54は、少なくともブラケット22の底板部23に対してある程度寝た姿勢(図2の”N”参照)と起きた姿勢(図1及び図2の”P”参照)との間で、軸部材30周りに回転することを想定し、バックル支持体54が、ブラケット22の底板部23に対してある程度寝た姿勢から起きた姿勢に向けて軸部材30周りに回転することを、起立回転方向への回転、逆方向へ回転することを倒伏回転方向への回転として説明する。
なお、この軸部材30には、筒部材32が外装されている。筒部材32は、一対の側板部24、25間の間隔よりも小さい長さ寸法に設定されている。そして、筒部材32を、軸部材30に筒部材32を外装して他方側の側板部25よりの位置に配設した状態で、筒部材32の一端部と一方側の側板部24の内面との間に、バックル支持体54の円板状部56及びねじりコイルバネ36を配設可能な隙間が設けられる。なお、筒部材32は、必須ではない。
ねじりコイルバネ36は、コイルバネの一種であり、バックルユニット50を軸部材30周りの一方向へ回転付勢可能に構成されている。
より具体的には、ねじりコイルバネ36は、弾性に富む線材により形成された部材であり、螺旋状に形成されたコイルバネ本体部36aと、当該コイルバネ本体部36aの両端部からその外方に向けて延出する延出端部36b、36cとを含む。コイルバネ本体部36aは、筒部材32と一方の側板部24との間で圧縮された状態で、軸部材30に外装されている。このコイルバネ本体部36aの伸長方向への弾性復元力によって、バックル支持体54の円板状部56が一方の側板部24の内面に向けて押付けられる。この付勢力によって、バックル支持体54が軸部材30の軸心に対して90度をなすように付勢されている。筒部材32が省略された場合には、ねじりコイルバネ36は他方の側板部24とバックル支持体54との間に圧縮状態で設けられているとよい。
また、ねじりコイルバネ36の一方側の延出端部36bの先端部はU字状に曲げられており、上記バネ止片59に対して軸部材30周りの一方側(底板部23側)から当接している。また、ねじりコイルバネ36の他方側の延出端部36cは、L字状に曲げられており、底板部23に対して軸部材30周りの他方側(バネ止片59側)から当接している。より具体的には、延出端部36cは、底板部23のバネ止突部23aに対して底板部23の端部側より当接しており、底板部23に対してより確実に一定位置に維持されている。これにより、ねじりコイルバネ36は、バックル支持体54を、軸部材30周りの一方向、即ち、ブラケット22の底板部23に対して軸部材30周りの起立回転方向に向けて付勢している。
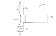
図9は回転規制部材60を示す斜視図であり、図10は回転規制部材60を示す平面図であり、図11は回転規制部材60を示す側面図である。
図3〜図11に示すように、回転規制部材60は、軸部材30に対して第1位置(図3、図5、図6及び図7参照)と第2位置(図4及び図8参照)との間で移動可能に取付けられ、第1位置に位置する状態で上記回転範囲規制突出部58に当接して軸部材30周りの一方向(起立回転方向)への回転を規制し、第2位置に位置する状態で回転範囲規制突出部58との当接を解除してバックルユニット50の上記起立回転方向への回転規制を解除するように構成されている。
すなわち、回転規制部材60は、樹脂等で形成された部材であり、軸取付部62と、回転規制用当接部70とを備える。
軸取付部62は、軸部材30に対して位置変更可能に取付けられる部分である。回転規制部材60は、本軸取付部62を介して軸部材30に対して上記第1位置と上記第2位置との間で移動可能に取付けられる。
より具体的には、軸取付部62は、第1位置決孔部63aと第2位置決孔部63bとが狭隘部63cを介して連続する位置決孔部63が形成された構成とされている。
第1位置決孔部63a及び第2位置決孔部63bは、軸取付部62をその軸方向と直交する方向に位置決めした状態で収容可能に形成されている。ここでは、第1位置決孔部63a及び第2位置決孔部63bは、軸部材30の直径と同じ大きさの直径の円孔形状に形成されている。
もっとも、第1位置決孔部63a及び第2位置決孔部63bは、軸部材30の直径と同じ大きさの直径の孔形状に形成されていることは必須ではない。例えば、軸取付部62等の弾性変形等を考慮した上で、軸部材30を位置決めできる範囲内で、第1位置決孔部63a及び第2位置決孔部63bを軸部材30の直径よりも小さい孔形状等に形成してもよい。また、第1位置決孔部63a及び第2位置決孔部63bは、円孔形状ではなく、楕円孔形状又は多角形孔形状に形成されていてもよい。
また、第1位置決孔部63aの中心と第2位置決孔部63bの中心との距離は、第1位置決孔部63a(又は第2位置決孔部63b)の直径よりも小さく設定されている。これにより、第1位置決孔部63aと第2位置決孔部63bとが部分的に重なり合うように配設される。また、第1位置決孔部63aと第2位置決孔部63bとの重なり合い部分に、軸部材30の直径よりも小さな間隔の狭隘部63cが形成されている。ここでは、狭隘部63cは、互いに対向する平行な部分を含んでいる。もっとも、狭隘部63cは、位置決孔部63内に向けて三角形状に突出する形状等であってもよい。
また、軸取付部62の外周形状は、ここでは、位置決孔部63の内周形状に合わせて、2つの丸い円部分が部分的に重なり合いつつ連なる形状に形成されている。従って、軸取付部62を全体として視ると、円環状部材が一対の直線部分を介して連続的に繋がるフレーム形状に形成されている。また、本実施形態では、軸取付部62は、閉じられたフレーム形状を構成しており、従って、第1位置決孔部63a及び第2位置決孔部63bは、それらの外周側に開口しない構成とされている。
そして、軸部材30を第1位置決孔部63aに収容した状態では、狭隘部63cによって軸部材30が第2位置決孔部63b側に移動することが抑制されている。これにより、回転規制部材60が第1位置決孔部63aに位置する状態が維持される。また、軸部材30を第2位置決孔部63bに収容した状態では、狭隘部63cによって軸部材30が第1位置決孔部63a側に移動することが抑制されている。これにより、回転規制部材60が第2位置決孔部63bに位置する状態が維持される。なお、軸取付部62が第1位置と第2位置との間で移動する方向は、底板部23の延在方向に沿った方向でもある。
そして、軸部材30を第1位置決孔部63aから第2位置決孔部63bに向けて押込み、或は、軸部材30を第2位置決孔部63bから第1位置決孔部63aに向けて押込むと、軸部材30が狭隘部63cに当接して、当該狭隘部63cを広げるように軸取付部62を弾性変形させる。これにより、軸部材30が、第1位置決孔部63aから第2位置決孔部63bに移動し、或は、第2位置決孔部63bから第1位置決孔部63aに移動する。そして、軸取付部62が第2位置決孔部63bに移動し又は第1位置決孔部63aに移動した状態では、軸取付部62が弾性力によって元形状に復帰し、狭隘部63cの隙間が元の寸法に戻る。これにより、軸取付部62が、移動後の第2位置決孔部63b又は第1位置決孔部63aの位置に維持される。
回転規制用当接部70は、第1当接部72と第2当接部76とを備える。第1当接部72は、軸取付部62の長手方向一端部に一体形成された部分である。第2当接部76は、軸取付部62に対してその長手方向に対して直交する方向の一方側(図7及び図8では下側)に一体形成された部分である。
第1当接部72は、軸取付部62の長手方向(軸取付部62の移動方向でもある)一端部の外側位置から軸取付部62の長手方向に対して直交する方向(図7及び図8では下方向)に向けて突出する形状に形成されている。また、第1当接部72は、軸取付部62の厚み方向(第1位置決孔部63a及び第2位置決孔部63bの軸方向)両側に突出している。
第1当接部72のうち軸取付部62の長手方向一端部の外側に位置する部分であって軸取付部62の厚み方向両側に突出する各部分に、バックル支持体54に当接可能な一対のバックル当接部73が形成されている。換言すれば、回転規制部材60が軸部材30に取付けられた状態で、当該回転規制部材60のうち軸部材30の軸方向両端側に一対のバックル当接部73が設けられている。ここでは、第1当接部72のうち軸部材30の軸方向両端側部分が一段凹んでおり、これらの凹みの底面が軸取付部62の長手方向に対して直交する方向に向くように形成されている。第1当接部72のうち上記各面を含む部分が、それぞれ一対のバックル当接部73とされている。
一方のバックル当接部73は、回転規制部材60が第1位置に位置する状態では、回転範囲規制突出部58の第2突出部分58bの回転軌跡上にあり、回転規制部材60が第2位置に位置する状態では、第2突出部分58bの回転軌跡の内周側に位置するように設定されている。換言すれば、第1位置決孔部63aの中心軸と一対のバックル当接部73の距離は、軸部材30の中心軸と回転範囲規制突出部58の第2突出部分58bとの距離と同じであり、第2位置決孔部63bの中心軸と一対のバックル当接部73の距離は、軸部材30の中心軸と回転範囲規制突出部58の第2突出部分58bとの距離よりも小さい。
従って、回転規制部材60を第1位置に位置させた状態では、回転範囲規制突出部58の第2突出部分58bがバックル当接部73に当接可能となり(図7参照)、回転規制部材60を第2位置に位置させた状態では、回転範囲規制突出部58の第2突出部分58bはバックル当接部73の外周側を通過可能な状態となる(図8参照)。
また、ここでは、バックル当接部73に、回転規制部材60が第1位置に位置する状態で、第2位置への前記回転規制部材60の移動を規制するように、バックル支持体54の一部である回転範囲規制突出部58が嵌り込むように当接可能な移動規制凹部73aが形成されている。より具体的には、移動規制凹部73aは、第1当接部72において第1位置及び第2位置を結ぶ方向の中間部に向けて徐々に凹む溝形状、ここでは、V溝形状に形成されている。
回転規制部材60が第1位置に位置する状態では、回転範囲規制突出部58が移動規制凹部73aの最も深い箇所に嵌り込むようになっていることが好ましい。これにより、回転範囲規制突出部58が、移動規制凹部73aのうち前記最も深い箇所を挟む2つの斜面に当接し、これにより、回転規制部材60が第1位置に維持されるようになっている。
本実施形態では、第1当接部72のうち軸取付部62の長手方向に対して直交する方向に向けて突出する部分74と、第2当接部76とによって、ブラケット22に当接可能なブラケット当接部78が構成されている。
すなわち、第1当接部72の上記部分74は、軸取付部62の長手方向に対して直交する方向に沿って底板部23側に向けて延出している。当該部分74の端部(軸部材30周りにおいて上記バックル当接部73の反対側の端部)は、軸取付部62の長手方向に対して直交する方向に向く第1ブラケット当接部74aに形成されている。そして、回転規制部材60が第1位置及び第2位置にある各状態で、第1ブラケット当接部74aが底板部23と当接する。
軸取付部62が第1位置に位置する状態でブラケット当接部78の一部である上記第1ブラケット当接部74aは底板部23の内面に面接触状態で当接する。これにより、回転規制部材60の起立回転方向への回転が規制されている。この状態で、バックル支持体54の回転範囲規制突出部58を一方側の上記バックル当接部73に当接させることで、バックルユニット50の前記起立回転方向への回転が規制される。
なお、当該第1当接部72のうち軸取付部62の長手方向に沿って外側を向く部分(つまり、回転規制部材60のうち第1位置から第2位置に向う方向とは反対側を向く部分)には、操作用凹部75が形成されている。ここでは、操作用凹部75は、当該第1当接部72の前記部分の上部(底板部23の反対側部分)の幅方向(軸取付部の軸方向)中央部を凹ませると共に当該部分の端部(底板部23側の端部)を凹ませることによって形成されている。前記部分の上部における操作用凹部75の凹み幅は、手指先(特に成人の人差指先)の幅程度であることが好ましい。
また、軸取付部62が第1位置から第2位置に移動する際に、第1ブラケット当接部74aは、底板部23の内面に面接触しつつスライド移動する。そして、軸取付部62が第2位置に位置した状態でも、第1ブラケット当接部74aが底板部23の内面にバネ止片59に近い位置で面接触している。この状態でも、回転規制部材60の起立回転方向への回転が規制されている。もっとも、バックル当接部73は軸部材30に近い側に移動するため、バックル支持体54の回転範囲規制突出部58とバックル当接部73との当接が解除される。これにより、バックルユニット50の前記起立回転方向への回転規制が解除される。
なお、回転規制部材60は、第1位置に位置した状態で、起立回転方向への回転が規制されていればよく、第2位置で当該回転規制されていることは必須ではない。
第2当接部76は、第1当接部72の上記部分74の端部から軸取付部62の長手方向に沿って延びる部分76aと、当該部分76aの先端部から軸取付部62の長手方向他端部に向う部分76bとを含む枠形状に形成されている。この第2当接部76は、第1位置決孔部63aと第2位置決孔部63bとに隣設して設けられる位置決孔部隣設部分である。また、上記第2当接部76内の空洞76hは、上記狭隘部63cの外側に位置している。
第2当接部76のうち上記部分76aの外向き面は、上記第1ブラケット当接部74aと平行に延びる第2ブラケット当接部76fに形成されている。ここでは、第2ブラケット当接部76fは、第1ブラケット当接部74aよりも一段凹む、フラットな面状に形成されている。第2ブラケット当接部76fと第1ブラケット当接部74aとの高低差は、底板部23の内面に対するバネ止突部23aの突出寸法と同じに設定されている。そして、第1ブラケット当接部74aを底板部23の内面に当接させた状態で、第2ブラケット当接部76fをバネ止突部23aの先端部に当接させることができるようになっている。なお、バネ止突部23aが省略されている場合、第2ブラケット当接部76fは第1ブラケット当接部74aとは同一面上に設けられていてもよい。
なお、第2ブラケット当接部76fのうち第1ブラケット当接部74aに近い部分には、凸部76faが突設されている。凸部76faは、第2ブラケット当接部76fよりも突出しているが第1ブラケット当接部74aよりも凹んでいる。この凸部76faは、第1ブラケット当接部74aを補強する役割を果す。凸部76faは、回転規制部材60が第2位置に移動した状態で、バネ止突部23aに乗上げない位置及び領域に形成されている。
上記第2ブラケット当接部76fは、少なくとも回転規制部材60が第2位置にある状態で、底板部23の一部であるバネ止突部23aの先端部に当接する。この状態では、第1ブラケット当接部74aは、底板部23の内面に当接している。第1ブラケット当接部74aが底板部23に当接する領域の少なくとも一部(ここでは、第1ブラケット当接部74aの全体)と、第2ブラケット当接部76fがバネ止突部23aに当接する領域の少なくとも一部は、軸部材30の回転軸を底板部23に投影した投影ラインを跨いで両側にある。すなわち、回転規制部材60が第2位置に位置した状態で、ブラケット当接部78である第1ブラケット当接部74a及び第2ブラケット当接部76fは、底板部23のうち前記投影ラインを跨ぐ両側部分に接する(図8参照)。これにより、回転規制部材60の前記軸部材30周りの両方向への回転が規制されている。
なお、第2ブラケット当接部76fは、第1位置にある状態で、底板部23に当接していてもよい。
<シートベルト用バックル装置の組付例>
上記シートベルト用バックル装置20は、例えば、次のようにして組立てられる。
すなわち、軸部材30を一方の側板部24の軸部嵌込孔内に挿通する。そして、一対の側板部24、25間で、軸部材30を、バックルユニット50のバックル支持体54の挿通孔57、ねじりコイルバネ36、回転規制部材の第1位置決孔部63a及び筒部材32に挿入する。そして、軸部材30の先端部を他方の側板部25の軸部嵌込孔内に挿通し、側板部25の外面に突出した軸部材30の端部を圧壊又は当該端部に止め輪等を取付けて抜止めを図る。これにより、軸部材30に対して、その軸方向中間部に回転規制部材60が取付けられ、回転規制部材60の一側にバックルユニット50が回転可能に支持され、回転規制部材60の他側に筒部材32が取付けられた状態となる。
この状態では、回転規制部材60の一方側のバックル当接部73は、バックルユニット50側に突出し、当該バックルユニット50の回転規制を図る役割を果す。これに対して、回転規制部材60の他方側のバックル当接部73は、筒部材32側に突出し、バックルユニット50の回転規制には貢献しない。もっとも、回転規制部材60と他方の側板部25との間には筒部材32が介在しているため、他方側のバックル当接部73と他歩の側板部25との干渉は回避されている。
<回転規制部材と回転範囲規制突出部とについて>
回転規制部材60と回転範囲規制突出部58との当接関係等についてより具体的に説明する。
まず、図7に示すように、回転規制部材60が第1位置に位置する状態では、回転規制部材60のブラケット当接部78の第1ブラケット当接部74aが底板部23の内面に当接しており、回転規制部材60が起立回転方向への回転を規制されている。また、寝た姿勢のバックルユニット50が軸部材30周りで起立回転方向に回転する際に、回転範囲規制突出部58が回転規制部材60の一方側のバックル当接部73の移動規制凹部73aに対して一方側から嵌り込むように当接する。この際、バックルユニット50はねじりコイルバネ36によって起立回転方向に回転付勢されているため、バックルユニット50は、回転範囲規制突出部58を回転規制部材60に当接させた上記姿勢(矢符”P”参照)に維持される。
この状態で、作業者等が回転規制部材60を押込む等して、第2位置に向けて移動させる。この際、作業者の指等で、第2当接部76の外側の部分である操作用凹部75を押すことで、その移動作業を容易に行うことができる。
回転規制部材60を移動させると、図8に示すように、バックル当接部73が回転範囲規制突出部58の回転軌跡よりも内側に移動し、回転範囲規制突出部58と回転規制部材60との当接が解除される。回転規制部材60を移動させる際、移動規制凹部73aは、その最も深い箇所に向けて徐々に凹む2つの面を有する形状であるため、回転規制部材60を押込操作すれば、当該面によって回転範囲規制突出部58が移動規制凹部73aから離れる方向(上側)に押され、回転範囲規制突出部58が移動規制凹部73aから離脱する。このため、回転規制部材60を移動させる際、必ずしもバックルユニット50を倒伏回転方向に回転させる必要はない。もっとも、バックルユニット50を倒伏回転方向に回転させつつ、回転規制部材60の移動を行うようにしてもよい。
なお、上記バックル当接部73に移動規制凹部73aが形成されている必要はなく、例えば、バックル当接部はフラットな面形状に形成されていてもよい。この場合、回転規制部材を移動させる際、回転範囲規制突出部はバックル当接部に対してその一方側から当接しているだけであるので、回転規制部材とバックル支持体との干渉等は生じ難く、回転規制部材をより容易に移動させることができる。もっとも、回転範囲規制突出部を回転規制部材に当接させた状態から逆回りにバックルユニットを回転させて、回転規制部材60を移動させることで、回転規制部材60をより容易に移動させることができる。
上記のように回転規制部材60を第2位置に移動させた後は、バックルユニット50は、起立回転方向に回転できるようになり、ねじりコイルバネ36の付勢力下、軸部材30周りに自由に回転することができる。
もっとも、コイルバネ36の付勢力によると、バックルユニット50はブラケット22に対して軸部材30周りに最も起立した回転姿勢となる(符号”L”参照)。この状態では、円板状部56の回転範囲規制突出部58が底板部23に当接している。
なお、上記のように回転規制部材60を第2位置に移動させた後、第1位置に戻して、再度、バックルユニット50の回転規制を行う状態に戻すことができる。
なお、バックルユニット50が一定方向に回転付勢されていることは必ずしも必須ではない。バックルユニット50が一定方向に回転付勢されていない場合等には、バックルユニット50は、バックル支持体54が回転規制部材60に当接した状態からその当接を解除する方向への範囲(例えば、バックル支持体54がブラケット22の底板部23に当接するまでの範囲)で回転規制されていてもよい。この場合でも、バックル支持体54の回転範囲の境界に近い位置で第1当接部72と第2当接部76とが当接するようにすれば、組付作業上好ましいある程度制約された範囲で、ブラケットに対するバックルユニットの回転姿勢を規制できる。
回転範囲規制突出部58と回転規制部材60との位置関係は、シート位置変更用回転範囲βとの関係で、次のように考慮されることが好ましい。
すなわち、上記シート10を前提とする場合、本シートベルト用バックル装置20を車体の床18に取付けた後、折畳み形態のシート10を床18に取付けることになる。
とすると、シート10を組付ける段階で、シートベルト用バックル装置20とシート10との干渉を避けるためには、バックルユニット50は折畳み形態のシート10に対する倒伏姿勢(符号”P”参照)よりも寝た姿勢であることが好ましい。このため、バックルユニット50が前記倒伏姿勢(符号”P”参照)又はシート位置変更用回転範囲βよりも寝た姿勢で、回転範囲規制突出部58と回転規制部材60とが当接してその回転が規制されていることが好ましい。
もっとも、バックルユニット50が回線規制される態様は上記例に限られない。シートのレイアウト、他の作業都合上、好ましい回転角度、例えば、ブラケットに対してバックルユニットが起立した姿勢で、バックルユニットの回転規制が行われていてもよい。
以上のように構成されたシートベルト用バックル装置20によると、回転規制部材60は、軸部材30に対して第1の位置と第2の位置との間で移動可能に取付けられ、第1位置に位置した状態でバックル支持体54に当接して、バックルユニット50の軸部材30周りの一方向である起立回転方向への回転を規制しているため、回転規制部材60を第1位置から第2位置に容易に移動させることができる。これにより、バックルユニット50の回転を規制した状態を容易に非規制状態にできる。また、回転規制部材60は、バックルユニット50の軸部材30周りの一方向への回転を規制するため、シート10の組付作業時等に下向きの力が作用しても、回転規制部材60に大きな力が加わり難いようにすることができる。これにより、回転規制部材60及びその周辺部材の変形を抑制でき、作業時にかかり易い下向きの力に左右されず、バックルユニットの回転を規制した状態を容易に非規制状態にでき、また、シートベルト用バックル装置20自体の変形をも抑制できる。
また、バックルユニット50の回転規制を解除した状態で、回転規制部材60は第2位置に位置した状態で軸部材30に取付けられたままであるため、当該回転規制解除時に余分な部品が分離しない。このため、余分な部品の回収作業なく、回転規制部材60を回転規制解除状態にする作業を容易に実施でき、また、余分な部品が車内で紛失してしまうといった事態も制される。
また、回転規制部材60は第2位置に位置した状態で軸部材30に取付けられたままであるため、シート10を組付けた後の修理、整備等において、再度、バックルユニット50の回転規制を行いたい場合等には、再度、回転規制部材60を第1位置に移動させて、バックルユニット50の回転規制を行うことができる。
また、回転規制部材60は、底板部23とバックル支持体54の回転範囲規制突出部58との間に介在してバックルユニット50の回転規制を行う構成であるため、それ程剛性の高くない材料、例えば、樹脂等で形成することができる。これにより、回転規制部材60の軽量化、ひいては、シートベルト用バックル装置20の軽量化を図ることもできる。
なお、上記実施形態では、回転範囲規制突出部58が軸部材30の軸方向に沿って突出する第2突出部分58bを含み、回転規制部材60も同方向に沿って突出するバックル当接部73を含み、これらが当接することによって、バックルユニット50の回転規制がなされる例で説明している。これにより、回転範囲規制突出部58又は回転規制部材60に対して過剰に突出する部分を形成する必要が無くない、強度的、取扱性に優れる。もっとも、回転範囲規制突出部58及び回転規制部材60の一方のみが軸部材30の軸方向に沿って突出する構成であってもよい。
また、回転規制部材60は、ブラケット当接部78を底板部23に当接させて自己の回転規制を図る構成とされているため、当該回転規制部材60を簡易な構成で回転規制することができる。
もっとも、側板部24、25間に他の棒状部材が掛渡され、回転規制部材60が当該棒状部材に当接することで、自己の回転規制が図られる構成であってもよい。
また、回転規制部材60が第2位置に位置した状態で、ブラケット当接部78の第1ブラケット当接部74aと第2ブラケット当接部76fとが、底板部23のうち軸部材30の回転軸を底板部23に投影したラインを跨ぐ両側に接するため、回転規制部材60が第2位置に移動した状態で、その回転を規制してがたつき等を抑制することができる。これにより、バックルユニット50の回転規制を解除した状態で、回転規制部材60を軸部材30に取付けたままの状態で使用しても、がたつき等を抑制できることになる。
また、軸取付部62に、第1位置決孔部63aと第2位置決孔部63bとが狭隘部63cを介して連続する位置決孔部63が形成されているため、軸部材30を第1位置及び第2位置に位置決めし、また、それらの間で移動可能にする構成を簡易に実現することができる。
また、第1位置決孔部63aと第2位置決孔部63bは、それぞれの外周側に開口していないため、位置決孔部63内に軸部材30を挿通するようにして、回転規制部材60を軸部材30に取付けると、回転規制部材60は軸部材30から外れ難い。このため、シートベルト用バックル装置20の搬送中、使用中等において、回転規制部材60を軸部材30に取付けた状態をより確実に維持できる。
また、回転規制部材60が第1位置に位置する状態で、バックル支持体54の一部である回転範囲規制突出部58が移動規制凹部73aに嵌り込んで、第2位置への回転規制部材60の移動を規制するため、バックルユニット50の回転をより確実に規制できる。
さらに、回転規制部材60に操作用凹部75が形成されているため、当該操作用凹部75を押すことで、回転規制部材60を第1位置から第2位置へ向けて容易に移動させることができる。
上記操作用凹部75は、底板部23の上方、特に、ボルト締孔23hの上方で凹んでいるため、当該底板部23をボルト締等で車体に取付固定する作業を行う際に、工具が回転規制部材60と干渉し難くなる。このため、操作用凹部75は、本バックル装置20を車体に固定する作業を容易に行えるようにする役割をも果す。
なお、回転規制部材60は軸部材30から取外せる構成であってもよい。例えば、図12に示す変形例に係る回転規制部材160のように、軸取付部62に相当する軸取付部162のうち第1位置決孔部63aに相当する第1位置決孔部163aの外周部に開口部162hが形成されていてもよい。開口部162hの開口幅は、軸部材30の直径よりも小さくすることが好ましい。この場合、軸部材30から回転規制部材160を取外す際には、回転規制部材160を弾性変形させて開口部162hを開くようにするとよい。もっとも、本変形例でも、ベルトバックル50の回転規制解除時において、軸部材31を第1位置決孔部163a内に配設したままとして、回転規制部材60を軸部材31等から分離させないようにすることもできる。
なお、本変形例では、第2当接部76も省略されているが、必ずしも省略されている必要はない。また、この変形例では、上記部分74に対応する、軸取付部62の長手方向に対して直交する方向に向けて突出する部分174は、端部に向けて徐々に広がり、その先端面が底板部23に対して面接触可能なフラットな面状の第1ブラケット当接部174aに形成されている。また、本変形例では、上記バックル当接部73に対応するバックル当接部173はフラットな面に形成されている。
この変形例によると、シート10の取付作業等を行った後に、回転規制部材60を取外すことができる。また、後に再度バックルユニット50の回転規制が必要となった場合には、上記開口部162hを通って、再度軸部材30を軸取付部162内に配設することができる。
実施形態に戻って、また、ブラケット当接部の一部として、位置決孔部63に隣設する第2当接部76は、狭隘部63cの外側位置を空洞76hとする枠形状に形成されている。このため、当該空洞76hを利用して狭隘部63cを広げるように、軸取付部62を容易に弾性変形させることができる。
また、第2当接部76のうち第2ブラケット当接部76fが形成された部分76aは、第1当接部72及び第2当接部76の部分76bによって支持されているため、第2当接部76にある程度の剛性を持たせ、前記部分76aをしっかりと一定位置に支持できる。このため、第2ブラケット当接部76fと底板部23との当接によるバックルユニット50の回転規制をより確実に行うことができる。また、操作用凹部75を作業者の手で押して回転規制部材60を第1位置から第2位置に移動させる際にも、当該押込力をしっかりと回転規制部材60に伝えて移動させることができ、当該移動作業を容易に行うことができる。
また、上記回転規制部材60には、軸部材30の軸方向両端側の部分に一対のバックル当接部73が設けられているため、その両側に設けられたバックルユニット50の回転規制を行うこともできる。
図13及び図14は、単一のブラケット22及び単一の軸部材30に対して一対のバックルユニット50が回転可能に支持された変形例を示す斜視図である。図13はバックル支持体54が回転規制部材60によって回転規制されている状態を示し、図14は、バックル支持体54が最も起立した状態を示している。
この例に係るシートベルト用バックル装置220では、バックルユニット50が2つ設けられている。なお、2つのバックルユニット50は、左右対称構造とされている。また、軸部材30に対して、その軸方向中間部に回転規制部材60が設けられている。そして、回転規制部材60を挟むようにして、2つのバックルユニット50が回転可能に支持されている。回転規制部材60と2つのバックルユニット50の各間には、コイルバネ36が設けられている。
この例では、2つのバックルユニット50の各回転範囲規制突出部58が、単一の回転規制部材60の一対のバックル当接部73にそれぞれ当接することで、2つのバックルユニット50の回転規制が図られている。従って、単一の回転規制部材60によって、その両側の2つのバックルユニット50の回転規制を行うことができる。
かかる回転規制部材60を1つのバックルユニット50を備えた構成に適用する場合には、他方のバックル当接部73が他方の側板部25に干渉してしまう。そこで、上記実施形態のように筒部材32を用いることで、他方のバックル当接部73と他方の側板部25との干渉を抑制している。これにより、2つのバックルユニット50の回転規制を行うことが可能な回転規制部材60を用いて、1つだけ設けられたバックルユニット50の回転規制を行うことができる。
もっとも、バックルユニット50を1つだけ回転規制することを想定した場合には、一対のバックル当接部73が存在することは必須ではなく、バックル当接部73が1つだけ設けられていてもよい。
以上のようにこの発明は詳細に説明されたが、上記した説明は、すべての局面において、例示であって、この発明がそれに限定されるものではない。例示されていない無数の変形例が、この発明の範囲から外れることなく想定され得るものと解される。
10 シート
19 シートベルト
19a タング
20、220 シートベルト用バックル装置
22 ブラケット
23 底板部
24、25 側板部
30 軸部材
36 コイルバネ
50 バックルユニット
52 バックル部材
54 バックル支持体
57 挿通孔
58 回転範囲規制突出部
60、160 回転規制部材
62、162 軸取付部
63 位置決孔部
63a、160a 第1位置決孔部
63b 第2位置決孔部
63c 狭隘部
70 回転規制用当接部
72 第1当接部
73 バックル当接部
73a 移動規制凹部
74a、174a 第1ブラケット当接部
75 操作用凹部
76 第2当接部
76f 第2ブラケット当接部
76h 空洞
78 ブラケット当接部
162h 開口部

Claims (11)

  1. 車両に取付可能なブラケットと、
    バックル部材と前記バックル部材から延出するバックル支持体とを含むバックルユニットと、
    前記ブラケットに対して前記バックル支持体を回転可能に支持する軸部材と、
    前記軸部材に取付けられる軸取付部と、前記ブラケットに当接可能なブラケット当接部と、前記バックル支持体に当接可能なバックル当接部とを含み、前記軸取付部を介して前記軸部材に対して第1位置と第2位置との間で移動可能に取付けられ、前記第1位置に位置した状態で前記ブラケット当接部を前記ブラケットに当接させると共に前記バックル当接部を前記バックル支持体に当接させて前記バックルユニットの前記軸部材周りの一方向への回転を規制し、前記第2位置に位置した状態で前記バックル支持体に対する前記ブラケット当接部の当接を解除して前記バックルユニットの前記軸部材周りの一方向への回転規制を解除する、回転規制部材と、
    を備えるシートベルト用バックル装置。
  2. 請求項1記載のシートベルト用バックル装置であって、
    前記ブラケットは、底板部と前記底板部の両側部に立設された一対の側板部とを備え、
    前記回転規制部材が前記第1位置に位置した状態で、前記ブラケット当接部が前記底板部に接することで、前記回転規制部材の前記軸部材周りの一方向への回転が規制される、シートベルト用バックル装置。
  3. 請求項2記載のシートベルト用バックル装置であって、
    前記回転規制部材が前記第2位置に位置した状態で、前記ブラケット当接部が、前記底板部のうち前記軸部材の回転軸を前記底板部に投影したラインを跨ぐ両側部分に接することで、前記回転規制部材の前記軸部材周りの両方向への回転が規制されている、シートベルト用バックル装置。
  4. 請求項1〜請求項3のいずれか1つに記載のシートベルト用バックル装置であって、
    前記軸取付部に、第1位置決孔部と第2位置決孔部とが狭隘部を介して連続する位置決孔部が形成され、前記第1位置決孔部及び前記第2位置決孔部は、それぞれ前記軸部材をその軸方向と直交する方向に位置決めした状態で収容可能に形成され、前記軸部材が前記第1位置決孔部に収容された状態で前記回転規制部材が前記第1位置に位置し、前記軸部材が前記狭隘部を通過して前記第2位置決孔部に収容された状態で前記回転規制部材が前記第2位置に位置する、シートベルト用バックル装置。
  5. 請求項4記載のシートベルト用バックル装置であって、
    前記第1位置決孔部及び前記第2位置決孔部がそれぞれの外周側に開口していない、シートベルト用バックル装置。
  6. 請求項4記載のシートベルト用バックル装置であって、
    前記第1位置決孔部及び前記第2位置決孔部の少なくとも一方の外周部に、前記軸部材が通過可能な開口が形成されている、シートベルト用バックル装置。
  7. 請求項4〜請求項6のいずれか1つに記載のシートベルト用バックル装置であって、
    前記ブラケット当接部が前記第1位置決孔部と前記第2位置決孔部とに隣設して設けられる位置決孔部隣設部分を含み、
    前記位置決孔部隣設部分は、前記狭隘部の外側位置を空洞とする枠形状に形成されている、シートベルト用バックル装置。
  8. 請求項1〜請求項7のいずれか1つに記載のシートベルト用バックル装置であって、
    前記バックルユニットが2つ設けられ、
    前記バックル当接部が、前記回転規制部材が前記軸部材に取付けられた状態で前記回転規制部材のうち前記軸部材の軸方向両端側の部分に2つ設けられ、
    前記軸部材に対して、その軸方向中間部に前記回転規制部材が取付けられると共に、前記回転規制部材を挟むようにして前記2つのバックルユニットが回転可能に支持されている、シートベルト用バックル装置。
  9. 請求項1〜請求項7のいずれか1つに記載のシートベルト用バックル装置であって、
    前記バックル当接部が、前記回転規制部材が前記軸部材に取付けられた状態で前記回転規制部材のうち前記軸部材の軸方向両端側の部分に2つ設けられ、
    前記軸部材に対して、その軸方向中間部に前記回転規制部材が取付けられ、前記回転規制部材の一側に前記バックルユニットが回転可能に支持され、前記回転規制部材の他側に筒部材が取付けられている、シートベルト用バックル装置。
  10. 請求項1〜請求項9のいずれか1つに記載のシートベルト用バックル装置であって、
    前記バックル当接部に、前記回転規制部材が前記第1位置に位置する状態で、前記第2位置への前記回転規制部材の移動を規制するように、前記バックル支持体の一部が嵌り込むように当接可能な移動規制凹部が形成されている、シートベルト用バックル装置。
  11. 請求項1〜請求項10のいずれか1つに記載のシートベルト用バックル装置であって、
    前記回転規制部材のうち前記第1位置から前記第2位置に向う方向とは反対方向を向く部分に操作用凹部が形成されている、シートベルト用バックル装置。
JP2012191958A 2012-08-31 2012-08-31 シートベルト用バックル装置 Active JP5986851B2 (ja)

Priority Applications (1)

Application Number Priority Date Filing Date Title
JP2012191958A JP5986851B2 (ja) 2012-08-31 2012-08-31 シートベルト用バックル装置

Applications Claiming Priority (1)

Application Number Priority Date Filing Date Title
JP2012191958A JP5986851B2 (ja) 2012-08-31 2012-08-31 シートベルト用バックル装置

Publications (2)

Publication Number Publication Date
JP2014046842A true JP2014046842A (ja) 2014-03-17
JP5986851B2 JP5986851B2 (ja) 2016-09-06

Family

ID=50606931

Family Applications (1)

Application Number Title Priority Date Filing Date
JP2012191958A Active JP5986851B2 (ja) 2012-08-31 2012-08-31 シートベルト用バックル装置

Country Status (1)

Country Link
JP (1) JP5986851B2 (ja)

Cited By (2)

* Cited by examiner, † Cited by third party
Publication number Priority date Publication date Assignee Title
JP2018030501A (ja) * 2016-08-25 2018-03-01 株式会社東海理化電機製作所 バックル装置
WO2019240159A1 (ja) * 2018-06-13 2019-12-19 いすゞ自動車株式会社 アンカ板及びアンカ板の回り止め構造

Citations (10)

* Cited by examiner, † Cited by third party
Publication number Priority date Publication date Assignee Title
JPS56158352U (ja) * 1980-04-25 1981-11-26
JPH01145549U (ja) * 1988-03-14 1989-10-06
JPH03227756A (ja) * 1990-01-31 1991-10-08 Tachi S Co Ltd シートベルトのバックル収納構造
JPH08207704A (ja) * 1995-02-01 1996-08-13 Mitsubishi Motors Corp シートベルトバックル装置
JPH10203304A (ja) * 1997-01-20 1998-08-04 Trw Occupant Restraint Syst Gmbh ベルトバックル
JP2009006776A (ja) * 2007-06-27 2009-01-15 Autoliv Development Ab シートベルトバックル装置
JP2011037417A (ja) * 2009-08-18 2011-02-24 Autoliv Development Ab シートベルト装置
JP2012179997A (ja) * 2011-03-01 2012-09-20 Autoliv Development Ab シートベルトバックル装置およびシートベルト装置
JP2013212787A (ja) * 2012-04-03 2013-10-17 Ashimori Industry Co Ltd シートベルト用バックル装置
JP2013212797A (ja) * 2012-04-03 2013-10-17 Ashimori Industry Co Ltd シートベルト用バックル装置

Patent Citations (10)

* Cited by examiner, † Cited by third party
Publication number Priority date Publication date Assignee Title
JPS56158352U (ja) * 1980-04-25 1981-11-26
JPH01145549U (ja) * 1988-03-14 1989-10-06
JPH03227756A (ja) * 1990-01-31 1991-10-08 Tachi S Co Ltd シートベルトのバックル収納構造
JPH08207704A (ja) * 1995-02-01 1996-08-13 Mitsubishi Motors Corp シートベルトバックル装置
JPH10203304A (ja) * 1997-01-20 1998-08-04 Trw Occupant Restraint Syst Gmbh ベルトバックル
JP2009006776A (ja) * 2007-06-27 2009-01-15 Autoliv Development Ab シートベルトバックル装置
JP2011037417A (ja) * 2009-08-18 2011-02-24 Autoliv Development Ab シートベルト装置
JP2012179997A (ja) * 2011-03-01 2012-09-20 Autoliv Development Ab シートベルトバックル装置およびシートベルト装置
JP2013212787A (ja) * 2012-04-03 2013-10-17 Ashimori Industry Co Ltd シートベルト用バックル装置
JP2013212797A (ja) * 2012-04-03 2013-10-17 Ashimori Industry Co Ltd シートベルト用バックル装置

Cited By (4)

* Cited by examiner, † Cited by third party
Publication number Priority date Publication date Assignee Title
JP2018030501A (ja) * 2016-08-25 2018-03-01 株式会社東海理化電機製作所 バックル装置
WO2019240159A1 (ja) * 2018-06-13 2019-12-19 いすゞ自動車株式会社 アンカ板及びアンカ板の回り止め構造
JP2019214293A (ja) * 2018-06-13 2019-12-19 いすゞ自動車株式会社 アンカ板及びアンカ板の回り止め構造
JP7147283B2 (ja) 2018-06-13 2022-10-05 いすゞ自動車株式会社 アンカ板の回り止め構造

Also Published As

Publication number Publication date
JP5986851B2 (ja) 2016-09-06

Similar Documents

Publication Publication Date Title
EP2050613B1 (en) Seat slide device for vehicle
JP5596485B2 (ja) チャイルドシート
JP4932388B2 (ja) 可動式ステアリング装置
US8376442B1 (en) Latch assembly for a rear row stadium style jump seat
EP3284632B1 (en) Seat provided with armrest
JP2007050876A (ja) エアバッグ装置付きステアリングホイール
US8955912B2 (en) Seat assembly having a foldable seat back
WO2011122145A1 (ja) エアバッグ装置
US20140300166A1 (en) Vehicle seat
JP4938386B2 (ja) 可動式ステアリング装置
JP5986851B2 (ja) シートベルト用バックル装置
JP2011183878A (ja) 車両用シート
US8162393B2 (en) Headrest
US10464460B2 (en) Work surface
JP2009067351A (ja) 車両用シート
JP5912781B2 (ja) シートベルト用バックル装置
WO2017213186A1 (ja) ウェビング巻取装置
JP6039393B2 (ja) 乗物用シート
JP5724698B2 (ja) サイドサポート装置
JP5310368B2 (ja) シートベルト用バックル装置
WO2024034258A1 (ja) チャイルドシート
JP2013212797A (ja) シートベルト用バックル装置
JP4522316B2 (ja) 車両用アームレストロック部構造
JP5227284B2 (ja) 車両用スライドレール装置
JP6762505B2 (ja) ヘッドレスト

Legal Events

Date Code Title Description
A621 Written request for application examination

Free format text: JAPANESE INTERMEDIATE CODE: A621

Effective date: 20150730

A977 Report on retrieval

Free format text: JAPANESE INTERMEDIATE CODE: A971007

Effective date: 20160421

A131 Notification of reasons for refusal

Free format text: JAPANESE INTERMEDIATE CODE: A131

Effective date: 20160426

A521 Request for written amendment filed

Free format text: JAPANESE INTERMEDIATE CODE: A523

Effective date: 20160623

TRDD Decision of grant or rejection written
A01 Written decision to grant a patent or to grant a registration (utility model)

Free format text: JAPANESE INTERMEDIATE CODE: A01

Effective date: 20160726

A61 First payment of annual fees (during grant procedure)

Free format text: JAPANESE INTERMEDIATE CODE: A61

Effective date: 20160808

R150 Certificate of patent or registration of utility model

Ref document number: 5986851

Country of ref document: JP

Free format text: JAPANESE INTERMEDIATE CODE: R150

R250 Receipt of annual fees

Free format text: JAPANESE INTERMEDIATE CODE: R250

R250 Receipt of annual fees

Free format text: JAPANESE INTERMEDIATE CODE: R250

R250 Receipt of annual fees

Free format text: JAPANESE INTERMEDIATE CODE: R250

S531 Written request for registration of change of domicile

Free format text: JAPANESE INTERMEDIATE CODE: R313531

R350 Written notification of registration of transfer

Free format text: JAPANESE INTERMEDIATE CODE: R350

S111 Request for change of ownership or part of ownership

Free format text: JAPANESE INTERMEDIATE CODE: R313117

R350 Written notification of registration of transfer

Free format text: JAPANESE INTERMEDIATE CODE: R350

R250 Receipt of annual fees

Free format text: JAPANESE INTERMEDIATE CODE: R250

R250 Receipt of annual fees

Free format text: JAPANESE INTERMEDIATE CODE: R250

R250 Receipt of annual fees

Free format text: JAPANESE INTERMEDIATE CODE: R250

R250 Receipt of annual fees

Free format text: JAPANESE INTERMEDIATE CODE: R250