JP2014040749A - 建物嵩上げ方法、及び、建物構造 - Google Patents

建物嵩上げ方法、及び、建物構造 Download PDF

Info

Publication number
JP2014040749A
JP2014040749A JP2012184378A JP2012184378A JP2014040749A JP 2014040749 A JP2014040749 A JP 2014040749A JP 2012184378 A JP2012184378 A JP 2012184378A JP 2012184378 A JP2012184378 A JP 2012184378A JP 2014040749 A JP2014040749 A JP 2014040749A
Authority
JP
Japan
Prior art keywords
lifting
column
building
beam member
raising
Prior art date
Legal status (The legal status is an assumption and is not a legal conclusion. Google has not performed a legal analysis and makes no representation as to the accuracy of the status listed.)
Granted
Application number
JP2012184378A
Other languages
English (en)
Other versions
JP6057059B2 (ja
Inventor
Kenji Tanaka
健嗣 田中
Takashi Kono
隆史 河野
Futoshi Ohori
太志 大堀
Junichi Sasaki
淳一 佐々木
Current Assignee (The listed assignees may be inaccurate. Google has not performed a legal analysis and makes no representation or warranty as to the accuracy of the list.)
Takenaka Komuten Co Ltd
Original Assignee
Takenaka Komuten Co Ltd
Priority date (The priority date is an assumption and is not a legal conclusion. Google has not performed a legal analysis and makes no representation as to the accuracy of the date listed.)
Filing date
Publication date
Application filed by Takenaka Komuten Co Ltd filed Critical Takenaka Komuten Co Ltd
Priority to JP2012184378A priority Critical patent/JP6057059B2/ja
Publication of JP2014040749A publication Critical patent/JP2014040749A/ja
Application granted granted Critical
Publication of JP6057059B2 publication Critical patent/JP6057059B2/ja
Active legal-status Critical Current
Anticipated expiration legal-status Critical

Links

Images

Landscapes

  • Working Measures On Existing Buildindgs (AREA)
  • Foundations (AREA)

Abstract

【課題】嵩上げを行わない通常時には床面積を広く使用でき、且つ、建物嵩上げの実施に当たっては手間を掛けずに経済的にできるようにする。
【解決手段】基礎部1の上に柱Pを設置してある建物Bにおいて、地盤沈下に伴って揚重装置Uで柱Pを上昇させ、基礎部1と柱Pとの間に生じた隙間に、柱Pの軸力を支持させる支持部材5を設置する建物嵩上げ方法であって、揚重装置Uの揚重力を柱Pに伝達する揚重用梁部材6が横方向に貫通自在な梁貫通部3Aaを、柱Pに形成しておき、梁貫通部3Aaに揚重用梁部材6を貫通させて、揚重用梁部材6に揚重装置Uの揚重力を作用させ、揚重用梁部材6を介して柱Pを上昇させる。
【選択図】図5

Description

本発明は、基礎部の上に柱を設置してある建物において、例えば不同沈下等の地盤沈下に伴って揚重装置で該当する柱を上昇させ、前記基礎部と前記柱との間に生じた隙間に、前記柱の軸力を支持させる支持部材を設置する建物嵩上げ方法、及び、その建物嵩上げ方法に使用する建物構造に関する。
従来、この種の建物嵩上げ技術としては、鉄骨構造の建物を例に挙げて説明すると、まず、建物の建設時に、全ての柱(H形鋼)を対象として、下端部からジャッキ装置(揚重装置の一例)設置高さ相当分の離間距離をあけた位置の両側面に、それぞれ横方向に張り出す状態に揚重用梁部材(H形鋼)を溶接によって固着しておく。
次に、建設後の建物荷重によって地盤沈下が生じると、両揚重用梁部材の下方の地盤上にそれぞれジャッキ装置をセットし、それらのジャッキ装置の揚重力を揚重用梁部材に作用させ、揚重用梁部材を介して柱を上昇させる。続いて、フィラープレート等の支持部材を、基礎部と柱との間に挟んだ後、ジャッキ装置の揚重力を開放して基礎部に対して支持部材を介して柱を固定することで建物の嵩上げを行う(例えば、特許文献1、特に図1参照)方法があった。
特開平10−060936号公報
上述した従来の建物嵩上げ技術によれば、前記揚重用梁部材を、全ての柱の両側面に固着しておく必要があるから、その手間と、材料コストとが嵩む問題点がある。
また、揚重用梁部材は、嵩上げ操作を実施しない時でも、柱の両側面に固着されたままになっているので、柱周りの空間は揚重用梁部材によって占用され、自由に使用できる床面積が少なくなる問題点もある。
従って、本発明の目的は、上記問題点を解消し、嵩上げを行わない通常時には床面積を広く使用でき、且つ、手間を掛けずに経済的に建物嵩上げを実施できる建物嵩上げ技術を提供するところにある。
本発明の第1の特徴構成は、基礎部の上に柱を設置してある建物において、例えば不同沈下等の地盤沈下に伴って揚重装置で該当する柱を上昇させ、前記基礎部と前記柱との間に生じた隙間に、前記柱の軸力を支持させる支持部材を設置する建物嵩上げ方法であって、前記揚重装置の揚重力を前記柱に伝達する揚重用梁部材が横方向に貫通自在な梁貫通部を、前記柱に形成しておき、前記梁貫通部に前記揚重用梁部材を貫通させて、前記揚重用梁部材に前記揚重装置の揚重力を作用させ、前記揚重用梁部材を介して前記柱を上昇させるところにある。
本発明の第1の特徴構成によれば、建物の嵩上げ作業を実施する時には、柱の梁貫通部に貫通させた揚重用梁部材を使用して建物の嵩上げ作業を実施できると共に、嵩上げ作業を実施しない時には、柱の梁貫通部から揚重用梁部材を撤去して、柱周りを広く使用することができる。
また、揚重用梁部材は、どの柱にも貫通させて使用できるから、従来のように、全ての柱に揚重用梁部材を予め固着しておく必要が無くなり、固着手間を掛けずに、且つ、材料コストの削減を図ることができる。
以上の結果、嵩上げを行わない通常時には床面積を広く使用でき、且つ、手間を掛けずに経済的に建物嵩上げを実施できる。
また、柱の外周部を、化粧パネルで覆うような場合、柱の梁貫通孔の軸芯上に位置する化粧パネル部分に、同様の梁貫通孔を形成しておけば、化粧パネルを取り外したり壊さずに嵩上げ作業を実施することができ、柱周りの良好な意匠性を確保できる。特に、化粧パネルの梁貫通孔に、着脱自在な蓋部材を設けておけば、通常時の美観性を向上させることができる。
本発明の第2の特徴構成は、前記柱は、H形鋼で構成し、前記梁貫通部は、前記柱のウェブに形成するところにある。
本発明の第2の特徴構成によれば、梁貫通部の形成に伴う断面欠損の影響を、より少なくすることができる。
即ち、H形鋼のフランジに梁貫通部を設けるのに比較して、断面欠損に伴う断面性能(断面二次モーメントや断面係数等)の低下をより少なくすることができ、強度の低下を最小限に抑えることができる。
本発明の第3の特徴構成は、前記揚重用梁部材からの揚重力を面で支持する面支持部を、前記梁貫通部に前記揚重用梁部材を挿入する前に、前記柱に取り付けておくところにある。
本発明の第3の特徴構成によれば、揚重用梁部材からの揚重力を、面支持部を介して柱に無理なく伝達することができる。その結果、揚重に伴う支圧力が梁貫通部の上縁のウェブに直接作用することによる圧縮座屈を防止できる。また、揚重装置の駆動に伴って、柱から作用する反力も、前記面支持部を介して揚重用梁部材に面で作用するから、揚重用梁部材の一点に応力集中が起こるのを緩和でき、円滑に嵩上げ作業を進行させることができる。
本発明の第4の特徴構成は、前記揚重装置による前記揚重用梁部材を介した前記柱の上昇操作状態において、前記梁貫通部と前記揚重用梁部材との相対姿勢の維持を図る姿勢維持手段を、前記梁貫通部と前記揚重用梁部材との間、又は、何れか一方に設けるところにある。
本発明の第4の特徴構成によれば、梁貫通部に挿入した揚重用梁部材の両端側を、それぞれ揚重装置によって揚重する際に、バランスが多少くずれても、姿勢維持手段によって梁貫通部での揚重用梁部材が傾斜したりズレたりするのを防止でき、安定した状態で嵩上げ作業を実施することができる。
本発明の第5の特徴構成は、請求項1〜4の何れか一項に記載の建物嵩上げ方法に使用する建物構造であって、前記柱に、前記揚重用梁部材を横方向に貫通自在な梁貫通部が設けてあり、前記梁貫通部に貫通させた前記揚重用梁部材の両端部の下方側に位置する建物部に、前記揚重装置を設置自在な揚重装置設置予定部がそれぞれ設けてあるところにある。
本発明の第5の特徴構成によれば、地盤沈下が生じた場合、梁貫通部に揚重用梁部材を貫通させて、建物部の揚重装置設置予定部上にそれぞれ揚重装置を設置し、揚重用梁部材を揚重するだけで、簡単に柱を上昇させることができ、上昇した柱と基礎部との間に支持部材を設置して揚重解除すれば、支持部材の高さ分の建物の嵩上げを簡単に行うことができる。
また、嵩上げ作業を実施しない時には、柱の梁貫通部から揚重用梁部材を撤去して、柱周りを広く使用することができる。
また、揚重用梁部材は、どの柱にも貫通させて使用できるから、従来のように、全ての柱に揚重用梁部材を予め固着しておく必要が無くなり、固着手間を掛けずに、且つ、材料コストの削減を図ることができる。
以上の結果、嵩上げを行わない通常時には床面積を広く使用でき、且つ、手間を掛けずに経済的に建物嵩上げを実施できる。
また、柱の外周部を、化粧パネルで覆うような場合、柱の梁貫通孔の軸芯上に位置する化粧パネル部分に、同様の梁貫通孔を形成しておけば、化粧パネルを取り外したり壊さずに嵩上げ作業を実施することができ、柱周りの良好な意匠性を確保できる。特に、化粧パネルの梁貫通孔に、着脱自在な蓋部材を設けておけば、通常時の美観性を向上させることができる。
建物嵩上げ状況を示す建物要部の斜視図 建物嵩上げ状況を示す建物要部の柱側面視断面図 建物嵩上げ状況を示す建物要部の柱正面視断面図 建物嵩上げ状況を示す建物要部の柱正面視断面図 建物嵩上げ状況を示す建物要部の柱正面視断面図 建物嵩上げ状況を示す建物要部の柱正面視断面図 別実施形態の柱Pの梁貫通部を示す柱正面視断面図 別実施形態の柱Pの梁貫通部を示す柱正面視断面図 別実施形態の柱Pの梁貫通部を示す柱正面視断面図 別実施形態の柱Pの周辺を示す正面視断面図 別実施形態の柱Pの周辺を示す正面視断面図
以下に本発明の実施の形態を図面に基づいて説明する。
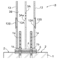
図1は、嵩上げの対象となる鉄骨造の建物Bの要部を示すもので、この建物Bは、基礎コンクリート(基礎部の一例)1の上に立設された柱Pと、図には示さないが、間隔をあけて隣接する柱Pにわたって設置された梁とを備えて構成されている。
基礎コンクリート1には、複数のアンカーボルト1aが埋設してあり、このアンカーボルト1aと固定ナット1bとで、柱Pの下端部が基礎コンクリート1上に固定されている。
また、基礎コンクリート1における柱Pの立設位置の両側方には、基礎コンクリート1に反力を確保して柱Pを揚重自在なジャッキ装置(揚重装置の一例)Uの設置予定部(揚重装置設置予定部の一例)2がそれぞれ確保されている。
柱Pは、H形鋼からなる柱本体3の下端部に、矩形形状のベースプレート4を一体に備えて構成してある。
ベースプレート4には、上述の各アンカーボルト1aを挿通自在な挿通部4aがそれぞれ形成されており、この挿通部4aにアンカーボルト1aが貫通する状態に柱Pは配置され、貫通したアンカーボルト1aに固定ナット1bを螺合させて締め付けることで、基礎コンクリート1に柱Pが固定してある。
尚、地盤の不同沈下が発生した場合、該当する部分の柱Pは沈下前の高さに戻すために嵩上げが実施されるが、その嵩上げに伴って、後述する支持高さ調整用支持板(支持部材の一例)5が、基礎コンクリート1とベースプレート4との間に介在される。
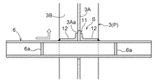
柱本体3は、ウェブ3Aと、一対のフランジ3Bとを備えて構成してある。
平面視において柱本体3のウェブ3Aの表裏面が対向する方向に、上述のジャッキ装置Uの設置予定部2が設けられている。
ウェブ3Aには、図2、図3に示すように、柱本体3より小断面のH形鋼で構成された揚重用梁部材6をそれの長手方向に沿って貫通自在な梁貫通部3Aaが形成してある。
この梁貫通部3Aaは、揚重用梁部材6の横断面形状に対応させた矩形形状に設定してあり、高さ位置は、前記設置予定部2上に設置されたジャッキ装置Uの収縮状態での高さ寸法より若干上に位置するように設定してある。梁貫通部3Aaに揚重用梁部材6を挿入して、ジャッキ装置Uで揚重用梁部材6を持ち上げることで、柱Pを持ち上げることができる。
尚、梁貫通部3Aaの設置高さに関しては、柱Pの反曲点、又は、その近傍に設けておけば、断面欠損による断面性能の低下を最小限に抑えることができる。
また、ウェブ3Aにおける梁貫通部3Aaの直上には、図3に示すように、ウェブ3Aを表裏から挟持する一対のアングル部材(面支持部の一例)7を着脱自在なアングル取付部8が設けられている。本実施形態においては、アングル取付部8は、複数のボルト貫通孔で構成されている。
建物Bの通常の状態においては、アングル取付部8には、アングル部材7は取り付けてなくてもよい。
また、柱Pを嵩上げ操作する際には、アングル部材7を、横断面形状が「L」字形状となる姿勢で、且つ、アングルの下面部7aが、梁貫通部3Aaの上縁部と同じ高さとなるように、予め、アングル取付部8に取り付けておく。
このようにアングル部材7をアングル取付部8に取り付けることで、前記梁貫通部3Aaに挿通させた揚重用梁部材6をジャッキ装置Uで持ち上げる際、アングル部材7の下面部7aの広い範囲で揚重用梁部材6の上面を受け止めることができると共に、揚重用梁部材6の姿勢を、水平に近い状態に保ち易くなる(図4〜6参照)。
よって、柱Pの嵩上げ操作に伴って、梁貫通部3Aaと揚重用梁部材6との相対姿勢の維持を、アングル部材7によって図ることができる。
アングル部材7は、当該発明に係る面支持部の一例であると同時に、姿勢維持手段Sの一例でもある。
因みに、前記アングル部材7と、揚重用梁部材6には、それぞれ大きな外力が作用する部分には補強リブ7b,6aが設けてある(図1参照)。具体的には、アングル部材7の場合は、長手方向の中央部に縦壁状の補強リブ7bが設けてあり、揚重用梁部材6の場合は、ジャッキ装置Uの揚重力を受ける部分に、補強リブ6aが設けてある。
建物Bの多数の柱Pの内、不同沈下によって沈下が発生した柱Pに対しては、嵩上げが実施され、もとの高さに戻す作業が実施される。
建物嵩上げ方法の手順について、次に説明する。
[1]該当する柱Pのアングル取付部8に、ウェブ3Aを挟持する状態に一対のアングル部材7を取り付ける(図3参照)。
[2]梁貫通部3Aaに、揚重用梁部材6を挿通する。揚重用梁部材6の長手方向中央部が柱本体3のウェブ3Aの位置に合うようにセットする(図4参照)。
[3]揚重用梁部材6の両端部の下方に位置する両設置予定部2にジャッキ装置Uをそれぞれ設置する(図4参照)。
[4]基礎コンクリート1のアンカーボルト1aから固定ナット1bを取り外す。
[5]両ジャッキ装置Uによる揚重を行う(図5参照)。
[6]揚重によって基礎コンクリート1とベースプレート4との間にできた隙間に、所定高さ分の支持高さ調整用支持板5を挿入する(図5参照)。
[7]ジャッキ装置Uによる揚重を解除し、支持高さ調整用支持板5の上にベースプレート4を載置させた状態で、アンカーボルト1aに固定ナット1bを取り付けて、柱Pを基礎コンクリート1に固定する(図6参照)。
[8]ジャッキ装置U、揚重用梁部材6、アングル部材7等の揚重アイテムを撤去する。
本実施形態で説明した建物嵩上げ技術によれば、建物の嵩上げを行わない通常時には、柱Pの周りを占用することがないから、柱周りを広く使用できながら、建物の嵩上げ作業を実施する時だけ、該当する柱Pに上述の揚重アイテムをセットして、簡単且つ効率的に嵩上げ作業を実施することができる。
また、揚重アイテムは、どの柱Pにも使用できるから、兼用化によって固定費用を低減でき、経済的に建物嵩上げを実施できる。
しかも、梁貫通部3Aaは、柱Pのウェブ3Aに設けてあるから、構造が簡単で加工性に富んでおり、安価に提供できることに加えて、フランジ3Bに設けるのに比べて強度の低下を抑制することができる。
更には、面支持部や姿勢維持手段となるアングル部材7を設けてあることで、嵩上げ作業を、無理なく安定した状態で進めることができる。
〔別実施形態〕
以下に他の実施の形態を説明する。
〈1〉 当該発明技術の対象となる建物は、先の実施形態で説明した鉄骨構造に限るものではなく、例えば、鉄筋コンクリート造や、鉄骨鉄筋コンクリート造や、木造等であってもよい。また、建物用途は、様々なものが該当し、例えば、倉庫や、体育館や、商業施設や、橋梁等であってもよい。従って、柱Pや基礎部1の構成は、先の実施形態で説明したものに限定されるものではない。
例えば、建物が鉄骨構造の場合、柱Pは、H形鋼に限るものではなく、例えば、I形鋼やC形鋼や角形鋼管や鋼管や他の形鋼等の単独、又は、組合せで構成してあってもよい。
また、基礎部1は、先の実施形態で説明した独立フーチングの基礎コンクリートに限るものではなく、例えば、基礎梁や、土間であってもよく、要するに、柱Pの荷重を受けて地盤に伝達する構成であればよく、それらを含めて基礎部1という。
〈2〉 前記揚重用梁部材6は、先の実施形態で説明したH形鋼に限るものではなく、例えば、I形鋼やC形鋼や角形鋼管や鋼管や他の形鋼等で構成してあってもよい。
また、前記面支持部7は、先の実施形態で説明したアングル部材に限るものではなく、例えば、溝形鋼や角形鋼管等で構成してあってもよい。また、図7に示すように、ウェブ3Aにおける梁貫通部3Aaの上縁部に嵌合できるように形成された面支持部材10で構成してあってもよい。
面支持部材10は、揚重用梁部材6の上面と当接自在な長方形の平板部10Aと、平板部10Aの長手方向の中間部に隙間kをあけて立設された一対の縦板部10Bと、平板部10Aと縦板部10Bとにわたって設けられた一対の補強リブ10Cと、一対の縦板部10B間に嵌入するウェブ3Aと、一方の縦板部10Bとの間で、双方に押圧力を作用させて抜け止めを図る板バネ部材10Dとを設けて構成してある。
この面支持部材10は、前記板バネ部材10Dを、一方の縦板部10Bに係合させた状態で、梁貫通部3Aaに位置させて、前記隙間kに、ウェブ3Aの梁貫通部3Aaの上縁部が嵌入するように上昇させると、前記板バネ部材10Dの弾性復元力の作用で、梁貫通部3Aaの上縁部に抜け止め状態で設置することができる。先のアングル部材に比べて、着脱作業の効率化を図ることができる。尚、面支持部材10は、本発明に係る「面支持部」の機能と「姿勢維持手段」の機能とを併せもっている。
〈3〉 前記面支持部7や、前記姿勢維持手段Sは、先の実施形態で説明したように、揚重用梁部材6とは別体で構成してあるものに限るものではなく、揚重用梁部材6と一体的に設けてあってもよい。
〈4〉 前記姿勢維持手段Sは、先の実施形態で説明したアングル部材7や面支持部材10に限るものではなく、例えば、図8、図9に示すように、揚重用梁部材6の中央部上面に、柱Pのウェブ3Aに外嵌する状態で一体に形成された凹部11を備えて構成してあってもよい。図8の実施形態は、凹部11を形成するのに、一対の山形鋼12を、隙間をあけて揚重用梁部材6に溶接等で固着してある。図9の実施形態は、揚重用梁部材6の上面部の中央部を溝状に窪ませて、凹部11を構成してある。
〈5〉 前記揚重装置Uは、先の実施形態で説明したように揚重用梁部材6を押し上げるように構成された装置に限るものではなく、例えば、揚重用梁部材6を引き上げるように構成された装置であってもよい。
〈6〉 柱Pの外周部に、図10に示すような、化粧板13を配置して囲う場合には、柱Pの梁貫通部3Aaの同一軸芯上に位置する化粧板部分にも、揚重用梁部材6を挿通操作自在な梁貫通部13Aを設けておけば、嵩上げ作業時に、化粧板13を取り去らずに揚重用梁部材6を挿通させて設置でき、効率的に嵩上げ作業を実施できる。
また、梁貫通部13Aに、図11に示すように、開閉操作自在な蓋部材13Bを設けておけば、嵩上げ作業を行わない時の柱P周りの美観性の向上を図ることができる。
尚、上述のように、図面との対照を便利にするために符号を記したが、該記入により本発明は添付図面の構成に限定されるものではない。また、本発明の要旨を逸脱しない範囲において、種々なる態様で実施し得ることは勿論である。
1 基礎コンクリート(基礎部の一例)
2 設置予定部(揚重装置設置予定部の一例)
3A ウェブ
3Aa 梁貫通部
5 支持高さ調整用支持板(支持部材の一例)
6 揚重用梁部材
7 アングル部材(面支持部の一例)
B 建物
P 柱
S 姿勢維持手段
U ジャッキ装置(揚重装置の一例)

Claims (5)

  1. 基礎部の上に柱を設置してある建物において、地盤沈下に伴って揚重装置で前記柱を上昇させ、前記基礎部と前記柱との間に生じた隙間に、前記柱の軸力を支持させる支持部材を設置する建物嵩上げ方法であって、
    前記揚重装置の揚重力を前記柱に伝達する揚重用梁部材が横方向に貫通自在な梁貫通部を、前記柱に形成しておき、
    前記梁貫通部に前記揚重用梁部材を貫通させて、前記揚重用梁部材に前記揚重装置の揚重力を作用させ、前記揚重用梁部材を介して前記柱を上昇させる建物嵩上げ方法。
  2. 前記柱は、H形鋼で構成し、
    前記梁貫通部は、前記柱のウェブに形成する請求項1に記載の建物嵩上げ方法。
  3. 前記揚重用梁部材からの揚重力を面で支持する面支持部を、前記梁貫通部に前記揚重用梁部材を挿入する前に、前記柱に取り付けておく請求項2に記載の建物嵩上げ方法。
  4. 前記揚重装置による前記揚重用梁部材を介した前記柱の上昇操作状態において、前記梁貫通部と前記揚重用梁部材との相対姿勢の維持を図る姿勢維持手段を、前記梁貫通部と前記揚重用梁部材との間、又は、何れか一方に設ける請求項2に記載の建物嵩上げ方法。
  5. 請求項1〜4の何れか一項に記載の建物嵩上げ方法に使用する建物構造であって、
    前記柱に、前記揚重用梁部材を横方向に貫通自在な梁貫通部が設けてあり、前記梁貫通部に貫通させた前記揚重用梁部材の両端部の下方側に位置する建物部に、前記揚重装置を設置自在な揚重装置設置予定部がそれぞれ設けてある建物構造。
JP2012184378A 2012-08-23 2012-08-23 建物嵩上げ方法、及び、建物構造 Active JP6057059B2 (ja)

Priority Applications (1)

Application Number Priority Date Filing Date Title
JP2012184378A JP6057059B2 (ja) 2012-08-23 2012-08-23 建物嵩上げ方法、及び、建物構造

Applications Claiming Priority (1)

Application Number Priority Date Filing Date Title
JP2012184378A JP6057059B2 (ja) 2012-08-23 2012-08-23 建物嵩上げ方法、及び、建物構造

Publications (2)

Publication Number Publication Date
JP2014040749A true JP2014040749A (ja) 2014-03-06
JP6057059B2 JP6057059B2 (ja) 2017-01-11

Family

ID=50393193

Family Applications (1)

Application Number Title Priority Date Filing Date
JP2012184378A Active JP6057059B2 (ja) 2012-08-23 2012-08-23 建物嵩上げ方法、及び、建物構造

Country Status (1)

Country Link
JP (1) JP6057059B2 (ja)

Cited By (6)

* Cited by examiner, † Cited by third party
Publication number Priority date Publication date Assignee Title
JP2018040210A (ja) * 2016-09-09 2018-03-15 株式会社フジタ 建物の支持構造および建物の不同沈下の修正方法
JP2019039221A (ja) * 2017-08-25 2019-03-14 株式会社竹中工務店 ジャッキアップ方法
CN111335671A (zh) * 2020-03-31 2020-06-26 南京地下空间高技术产业研究院有限公司 一种基于房屋倾斜纠偏用加固机构
JP2021004549A (ja) * 2020-10-12 2021-01-14 株式会社フジタ 建物の支持構造および建物の不同沈下の修正方法
KR102300810B1 (ko) * 2020-12-24 2021-09-09 정명훈 구조물 인상장치 및 그 장치를 이용한 구조물 인상방법
JP2022174561A (ja) * 2021-05-11 2022-11-24 株式会社竹中工務店 柱脚構造、及び建築物

Families Citing this family (1)

* Cited by examiner, † Cited by third party
Publication number Priority date Publication date Assignee Title
CN111608175B (zh) * 2020-06-12 2021-07-16 湖南城市学院 一种建筑桥梁用加固桩

Citations (7)

* Cited by examiner, † Cited by third party
Publication number Priority date Publication date Assignee Title
JPH02252831A (ja) * 1989-03-28 1990-10-11 Taisei Corp 先組十字型梁工法
JPH0340403U (ja) * 1989-08-31 1991-04-18
JPH08189054A (ja) * 1995-01-09 1996-07-23 Shimizu Corp 不同沈下対応構造物
JPH08232284A (ja) * 1995-02-28 1996-09-10 Seko Komuten:Kk 不等沈下建物の修復方法及び修復に用いる持上部材
JPH09184301A (ja) * 1995-12-19 1997-07-15 Kazuhiko Kasai 鋼製骨組構造中の梁と柱との間のボルト結合のための寸法合わせ
JPH1060936A (ja) * 1996-08-13 1998-03-03 Nikken Sekkei Ltd 建造物嵩上げ方法
JPH10195892A (ja) * 1997-01-08 1998-07-28 Hitachi Ltd 沈降支持架台修復方法および装置

Patent Citations (7)

* Cited by examiner, † Cited by third party
Publication number Priority date Publication date Assignee Title
JPH02252831A (ja) * 1989-03-28 1990-10-11 Taisei Corp 先組十字型梁工法
JPH0340403U (ja) * 1989-08-31 1991-04-18
JPH08189054A (ja) * 1995-01-09 1996-07-23 Shimizu Corp 不同沈下対応構造物
JPH08232284A (ja) * 1995-02-28 1996-09-10 Seko Komuten:Kk 不等沈下建物の修復方法及び修復に用いる持上部材
JPH09184301A (ja) * 1995-12-19 1997-07-15 Kazuhiko Kasai 鋼製骨組構造中の梁と柱との間のボルト結合のための寸法合わせ
JPH1060936A (ja) * 1996-08-13 1998-03-03 Nikken Sekkei Ltd 建造物嵩上げ方法
JPH10195892A (ja) * 1997-01-08 1998-07-28 Hitachi Ltd 沈降支持架台修復方法および装置

Cited By (9)

* Cited by examiner, † Cited by third party
Publication number Priority date Publication date Assignee Title
JP2018040210A (ja) * 2016-09-09 2018-03-15 株式会社フジタ 建物の支持構造および建物の不同沈下の修正方法
JP2019039221A (ja) * 2017-08-25 2019-03-14 株式会社竹中工務店 ジャッキアップ方法
CN111335671A (zh) * 2020-03-31 2020-06-26 南京地下空间高技术产业研究院有限公司 一种基于房屋倾斜纠偏用加固机构
CN111335671B (zh) * 2020-03-31 2021-08-10 南京地下空间高技术产业研究院有限公司 一种基于房屋倾斜纠偏用加固机构
JP2021004549A (ja) * 2020-10-12 2021-01-14 株式会社フジタ 建物の支持構造および建物の不同沈下の修正方法
JP6991295B2 (ja) 2020-10-12 2022-01-12 株式会社フジタ 建物の支持構造および建物の不同沈下の修正方法
KR102300810B1 (ko) * 2020-12-24 2021-09-09 정명훈 구조물 인상장치 및 그 장치를 이용한 구조물 인상방법
JP2022174561A (ja) * 2021-05-11 2022-11-24 株式会社竹中工務店 柱脚構造、及び建築物
JP7621177B2 (ja) 2021-05-11 2025-01-24 株式会社竹中工務店 柱脚構造、及び建築物

Also Published As

Publication number Publication date
JP6057059B2 (ja) 2017-01-11

Similar Documents

Publication Publication Date Title
JP6057059B2 (ja) 建物嵩上げ方法、及び、建物構造
US8336267B2 (en) Construction frame shear lug
US20040231256A1 (en) Unit building
JP6111922B2 (ja) 柱脚補強方法及び装置
JP2013044093A (ja) 接続装置
JP5221191B2 (ja) 建屋の基礎構造および建屋の施工方法
JP6831714B2 (ja) タワークレーンの基礎架台およびタワークレーン
JP5998858B2 (ja) 既存建物の免震化工法
JP2013092006A (ja) 新旧建物一体化曳き屋工法
JP6320242B2 (ja) 仮設柱の設置方法
JP5581632B2 (ja) 構造物のスライド構造、構造物のスライド方法、構造物の構築方法
JP2005272116A (ja) タワークレーンの支持装置及びその構築方法
JP2018003559A (ja) 柱梁架構改修方法及び改修柱梁架構
JP4654075B2 (ja) タワークレーンの基礎受け梁構造
KR20110046079A (ko) 구조물의 내진장치 및 그 시공방법
JP4899210B2 (ja) すべり支承およびその取り付け方法ならびに免震構造物
JP2005015159A (ja) クライミングクレーンのクライミング方法
JP2016138639A (ja) 免震装置交換構造、及び免震装置交換方法
JP2012167462A (ja) 仕口部材とこれを用いた仕口構造、並びに鉄骨建築物
JP5491070B2 (ja) 耐震補強部材及び耐震建築物
JP2003278407A (ja) 免震装置の仮設用拘束治具および拘束方法
JP2006090078A (ja) 免震建物及び築造方法
JP4249104B2 (ja) 梁の補強構造及び梁の補強工法
JP5107014B2 (ja) 免震材の取付構造
JP2013249708A (ja) 既存建物の免震化工法

Legal Events

Date Code Title Description
A621 Written request for application examination

Free format text: JAPANESE INTERMEDIATE CODE: A621

Effective date: 20150625

A977 Report on retrieval

Free format text: JAPANESE INTERMEDIATE CODE: A971007

Effective date: 20160422

A131 Notification of reasons for refusal

Free format text: JAPANESE INTERMEDIATE CODE: A131

Effective date: 20160426

A521 Written amendment

Free format text: JAPANESE INTERMEDIATE CODE: A523

Effective date: 20160624

TRDD Decision of grant or rejection written
A01 Written decision to grant a patent or to grant a registration (utility model)

Free format text: JAPANESE INTERMEDIATE CODE: A01

Effective date: 20161108

A61 First payment of annual fees (during grant procedure)

Free format text: JAPANESE INTERMEDIATE CODE: A61

Effective date: 20161122

R150 Certificate of patent or registration of utility model

Ref document number: 6057059

Country of ref document: JP

Free format text: JAPANESE INTERMEDIATE CODE: R150