JP2014005652A - 杭式桟橋の施工方法 - Google Patents

杭式桟橋の施工方法 Download PDF

Info

Publication number
JP2014005652A
JP2014005652A JP2012142124A JP2012142124A JP2014005652A JP 2014005652 A JP2014005652 A JP 2014005652A JP 2012142124 A JP2012142124 A JP 2012142124A JP 2012142124 A JP2012142124 A JP 2012142124A JP 2014005652 A JP2014005652 A JP 2014005652A
Authority
JP
Japan
Prior art keywords
foundation
pile
pier
foundation pile
width direction
Prior art date
Legal status (The legal status is an assumption and is not a legal conclusion. Google has not performed a legal analysis and makes no representation as to the accuracy of the status listed.)
Granted
Application number
JP2012142124A
Other languages
English (en)
Other versions
JP5718861B2 (ja
Inventor
Kyoji Saito
恭司 斎藤
Takumi Matsumoto
琢己 松本
Hiroki Hinokio
洋希 檜尾
Current Assignee (The listed assignees may be inaccurate. Google has not performed a legal analysis and makes no representation or warranty as to the accuracy of the list.)
NIPPON JUUKI KENSETSU KK
Original Assignee
NIPPON JUUKI KENSETSU KK
Priority date (The priority date is an assumption and is not a legal conclusion. Google has not performed a legal analysis and makes no representation as to the accuracy of the date listed.)
Filing date
Publication date
Application filed by NIPPON JUUKI KENSETSU KK filed Critical NIPPON JUUKI KENSETSU KK
Priority to JP2012142124A priority Critical patent/JP5718861B2/ja
Publication of JP2014005652A publication Critical patent/JP2014005652A/ja
Application granted granted Critical
Publication of JP5718861B2 publication Critical patent/JP5718861B2/ja
Active legal-status Critical Current
Anticipated expiration legal-status Critical

Links

Images

Landscapes

  • Foundations (AREA)
  • Bridges Or Land Bridges (AREA)

Abstract

【課題】桟橋設置位置の幅方向に複数の杭を対とし、桟橋延長方向に順次杭打ちし、杭の上端部に桟橋の上部構造を施工する杭式桟橋において、能率的な施工方法を提供する。
【解決手段】杭を地盤に杭打ちした基礎杭1と基礎杭の上方に配置される支柱3とで構成する。対をなす幅方向の複数の基礎杭の上部が挿入される基礎杭固定用管4と、基礎杭固定用管を一定間隔に保持する幅方向梁2aを一体的に形成した基礎梁2を配置し、基礎梁2を基礎杭1に固定するとともに、基礎杭固定用管4から突出する基礎杭を切除し、基礎梁の基礎杭固定用管の上端部に支柱の下端を固定し、支柱の上端部に桟橋の上部構造を施工する。支柱には、補強部材の取り付け構造などを形成しておく。
【選択図】 図1

Description

この発明は、杭式桟橋の施工方法に関する発明である。
桟橋には、桟橋延長方向に順次杭打ちし、杭打ちした杭の上端に桟橋の上部構造を施工することが行なわれている。杭打ちする杭は、桟橋の延長方向の一箇所について幅方向に複数を対として配置し、杭と杭の間に水平つなぎ材や斜材によって補強して橋脚としての強度を備えることができるようにしている。特許文献1や特許文献2に開示されるように、主として山岳地などにおいて杭打ちの作業を容易に行なうため、既に完成している桟橋部分の先方に主桁を張り出し、この主桁に設けたガイドとなる管を通過させて杭打ちをする方法が開発されている。
特許文献1や特許文献2に記載された発明は、地盤に杭打ちされた杭の上端に桟橋の上部構造を形成する。ところが、杭打ちする杭は、地盤や地形によって必ずしも当初予定された正確な寸法が杭打ちされるものではないため、杭打ちした後に杭の上端を切り揃え桟橋の上部構造を施工することになる。
そのため、杭の上端が切り揃えられた後に、杭と杭の間に水平つなぎ材や斜材などの補強部材の施工を行なっていた。
特開2000−96582号公報 特開平10−46523号公報
従来の杭式桟橋では、杭の上端が切り揃えられた後に、杭と杭の間に水平つなぎ材や斜材などの補強部材を施工しているため、杭打ちされた後の杭に対して補強部材の取り付け作業を行なう必要があった。そのため、作業条件が悪い危険な場所で、補強部材取り付け構造のために、溶接などの作業を必要とし、非常に手数を要するとともに作業能率が悪い欠点があった。また、補強部材取り付け状態を完全な状態に施工することが困難でもあった。
上記、従来技術の欠点に鑑み本発明は、能率的に施工することができるとともに、高品位の補強部材の取り付け状況を実現することができる、杭式桟橋の施工方法を工夫したものである。すなわち、工期を大幅に短縮することができる杭式桟橋の施工方法を提供することである。
この発明は、桟橋設置位置の幅方向に複数の杭を対とし、桟橋延長方向に順次杭打ちし、杭打ちした杭の上端部に桟橋の上部構造を施工する施工方法に関する。
前記目的を達成する請求項1記載の発明は、橋脚となる杭を地盤に杭打ちした基礎杭1と基礎杭1の上方に配置される支柱3とで構成する。杭打ちした対をなす幅方向の複数の基礎杭1、1の上部が挿入される複数の基礎杭固定用管4、4と、該複数の基礎杭固定用管4、4を一定間隔に保持する幅方向梁2aを一体的に形成した基礎梁2を配置し、該基礎梁2を基礎杭1の規定の高さに固定する。基礎梁2の基礎杭固定用管4、4から突出する基礎杭1の上部を切除し、基礎梁2の基礎杭固定用管4の上端部に支柱3の下端を固定する。この後、支柱3、3の上端部に桟橋の上部構造5を施工する。
請求項2記載の発明は、基礎梁2を、基礎杭固定用管4、4と幅方向梁を別体に形成し、基礎杭固定用管4に幅方向梁2aの接続部を形成しておき、基礎杭固定用管4と幅方向梁2aを接続することによって一体化することである。
請求項3記載の発明は、一つの基礎梁2に設けた複数の基礎杭固定用管4、4に固定する対をなす複数の支柱3、3に、支柱どうしの水平つなぎ部材6や斜材7などの補強部材及び上部構造の一部である上端の受桁5aを取り付けた状態で、基礎梁2の基礎杭固定用管4、4の上端部に支柱3、3の下端を固定することである。
請求項4記載の発明は、基礎梁2を複数の基礎杭固定用管4、4を備えた幅方向梁2aに対して基礎杭固定用管4、4に桟橋延長方向に伸びる延長方向梁2bを備えたものとし、桟橋完成部分の基礎梁2に対して新たな基礎梁2の延長方向梁2bの基端部を接続して新たな基礎梁2を張り出す。この張り出した基礎梁2の先方部分に位置する基礎杭固定用管4、4を通過させて基礎杭1を杭打ちし、基礎杭1の杭打ち後に基礎杭1と基礎梁2の基礎杭固定用管4、4を固定することである。
請求項1記載の杭式桟橋の施工方法によれば、橋脚となる杭を地盤に杭打ちする基礎杭1と基礎杭の上方に配置する支柱3とで構成する。そのため、基礎杭1は、地盤の最も好ましい深さまで杭打ちして強度的に優れた施工をすることができるとともに、基礎杭1に固定した基礎梁2の基礎杭固定用管4に、所定寸法(一定寸法)の支柱3を固定する。そのため、支柱に対して予め補強部材の取り付け構造などの加工を施しておくことができ、現場施工に際しては、溶接などの取り付け構造の加工を行なう必要がなく、組立加工のみを行い能率的な施工、すなわち工期を短縮することができる。また、補強部材の取り付け構造は工場において正確な加工を行うため、高品位で強靭な桟橋を施工することができる。
請求項2記載の発明によれば、基礎梁2を複数の部品で構成するため、取り扱いや輸送に便利である。そして、桟橋幅の異なる桟橋の施工に対して幅方向梁2aの寸法を変更することによって、基礎杭固定用管4を汎用することができる効果がある。
請求項3記載の発明によれば、補強部材の組立作業を地上作業で行い、高所作業を軽減するため、安全でより能率的な杭式桟橋の施工を行なうことができる効果がある。
請求項4記載の発明によれば、正確な位置に杭打ち作業を行うことができるとともに、基礎梁2に幅方向梁2aに加え延長方向梁2bを備えたことによって基礎梁そのものの強度を向上させることができる効果がある。また、桟橋完成部分の支柱と、未完成部分の基礎梁2の延長方向梁2bの間に、補強材を配置することによって、より強固な橋脚を実現することができる。
図1は、本発明に係る杭式桟橋の施工方法を工程順に示す概略正面図、 図2は、基礎梁と、基礎杭及び支柱の固定部分を示す分解状態の斜視図、 図3は、施工の一例を示す側面図、 図4は、基礎杭を固定した基礎梁の、基礎杭固定用管部分の縦断面図、 図5は、支柱と、支柱に装着する補強部材を分離させた状態を示す斜視図、 図6は、支柱に補強部材を装着した状態の斜視図、 図7は、幅方向梁と延長方向梁を備えた基礎梁の実施形態を示す斜視図、 図8は、桟橋完成部分と幅方向梁と延長方向梁を備えた基礎梁を示す斜視図、 図9は、幅方向梁と延長方向梁を備えた基礎梁を桟橋完成部分に接続した状態を示す斜視図、 図10は、図9に示す状態の基礎梁の基礎杭固定用管を通過させて、基礎杭を杭打ちした状態の斜視図、 図11は、図10の基礎杭の突出部分を切除した状態の斜視図、 図12は、図11の基礎梁の基礎杭固定用管に、二本の支柱に補強部材を取り付けた状態の支柱を固定する状態の斜視図、 図13は、図12によって固定した支柱に、桟橋の上部構造を施工した状態の斜視図、 図14は、図2に示す基礎梁を基礎杭固定用管と幅方向梁を分割形成した実施形態を示す斜視図、 図15は、図7に示す基礎梁の幅方向梁を分割形成した実施形態を示す斜視図である。
以下、本発明に係る杭式桟橋の施工方法の実施形態を添付の図面に基づいて説明する。
図1ないし図3に示す実施形態は、桟橋の幅方向に延びる基礎梁2の両端に、基礎杭固定用管4、4を固定した基本的な基礎梁を使用した施工状態を示すものである。
図1(a)に示すように、桟橋を施工するべき位置に、基礎杭1を杭打ちする。杭打ちの方法は、例えば測定した正確な位置に削孔し、基礎杭1を挿入して建込みを完了する。勿論、ハンマーで杭打ちすることもできる。
基礎杭1は、例えば強靭な地盤8のように、設計上必要な深さに達するまで打ち込むが、その深さは現場の状況によって左右の基礎杭において必ずしも一致しない。したがって、左右の基礎杭はいずれも具体的に寸法に拘束されることなく、最適の深さまで打ち込む。
左右の基礎杭1、1を杭打ちした後、図1(a)に示すように基礎杭1の上方から、基礎杭固定用管4、4を通過させて基礎梁2を基礎杭の所定位置まで挿入して固定し、図1(b)に点線で示す、基礎杭固定用管4、4から突出する基礎杭の突出部分を切除し、突出部分を切除した基礎杭1の上端部と基礎杭固定用管4、4をしっかりと固定する。基礎杭1の上端部と基礎杭固定用管4、4をしっかりと固定するには、基礎杭固定用管4、4下端を型枠など(図示していない)で閉塞した状態で、基礎杭1の外周面と基礎杭固定用管4の内周面の空間及び基礎杭1の上端部にモルタルやコンクリート9を充填(図4)することによって強固に一体化することができる。
続いて、上記、基礎杭1の上端部と一体的に固定した基礎杭固定用管4の上面に、図1(c)に示すように、支柱3、3を立設する。支柱3、3を立設するには、図2に示すように、基礎杭固定用管4の上端にフランジ10を形成するとともに、支柱3の下端にもフランジ11を形成しておき、フランジ10に穿設したボルト孔12、12と、フランジ11に穿設したボルト孔13に、ボルト14を螺着することによって、図1(c)に点線で示す位置に、強固に固定することができる。
基礎杭固定用管4のフランジ10に固定する支柱3は、工場において正確な一定寸法に仕上げられているとともに、水平つなぎ部材や斜材といった補強部材を取り付けるための、取り付け片15、15を予め形成しておく。したがって、支柱3を基礎梁2の基礎杭固定用管4に固定したときに、図1(c)に点線で示すように補強部材の取り付け片15が定位置に形成された状態となる。
図1(c)に点線で示すように支柱を立設した状態で、図1(d)に示すように現場施工によって水平つなぎ部材6や斜材7をボルト止めによって固定する。さらに、支柱3、3の上端部に、受桁5aその他、桟橋の上部構造5を施工することによって、新たな支柱による桟橋の延長部分を完成させることができる。図3から理解されるように、延長方向の支柱3と3の間に、延長方向補強部材16を架設することによって、桟橋の強度を向上させることができる。
支柱3、3を基礎梁2の基礎杭固定用管4に固定して立設するに際し、幅方向に配置する複数の支柱3、3に、水平つなぎ部材6や斜材7、あるいは桟橋の上部構造の一部である受桁5aを地組作業で完成させ、組み立てた状態の支柱を基礎杭固定用管4に固定することもできる。このように、補強部材を地組作業で完成させることによって、工期の短縮、作業の安全、完全な組立状態を実現することができる。
図5には、前記支柱3及び支柱3に取り付ける補強部材等の分解状態の実施形態を、図6には、組立状態の実施形態を示している。
すなわち、所定寸法の支柱3の下端には、ボルト孔13、13を穿設したフランジ11が、上端には桟橋の上部構造を支受する上部フランジ17を固定している。支柱3と3が対向する内側面には、取り付け片15、15を溶接によって固定するとともに、桟橋の延長方向側面には、延長方向補強部材16を取り付けるための取り付け片18を配置している。取り付け片15、15を利用して、図6に示すように水平つなぎ部材6や斜材7、あるいは受桁5aを固定した状態で基礎梁2上に固定する。延長方向補強部材16は、支柱の立設後に、支柱の延長方向に突出させた取り付け片18を利用して取り付ける。
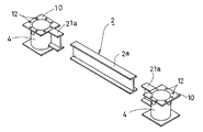
図1ないし図3に示す実施形態の基礎梁2は、幅方向梁2aの両端に基礎杭固定用管4、4を配置し、桟橋完成部分の先方に杭打ちした杭に基礎梁2を固定する実施形態を示している。しかしながら、基礎梁2は、図7に示すように、幅方向梁2aに対して桟橋延長方向に伸びる延長方向梁2bを備えたものとすることもできる。延長方向梁2bは、その基端を桟橋完成部分の基礎梁に接続し、一定寸法先方に基礎杭固定用管4、4を位置させるものである。
図7に示す基礎梁2は、幅方向梁2aの両端に基礎杭固定用管4、4を備え、桟橋の延長方向、すなわち基礎杭固定用管4、4から、幅方向梁2aと直角方向に延長方向梁2b、2b突出させ、全体として略コ字状に形成している。略コ字状を形成する基礎梁2の、対向する延長方向梁2b、2bには、たすき状に基礎梁補強部材19、19を設けている。基礎梁補強部材19、19は、延長方向梁2b、2bの内側面に設けた取り付け片20、20に固定することによって配置することができる。
前記、延長方向梁2b、2bは、基端部を桟橋完成部分の基礎梁に連結し、杭打ちを行なう先方に基礎杭固定用管4、4を位置させるものであり、基礎杭固定用管4、4の先方には、次位の基礎梁の延長方向梁2b、2bに接続を容易に行なうために、延長方向の接続部21b、21bを突出させている。延長方向梁2b、2bの上面には、基礎梁2を張り出す際の支えとなる張り出し補強部材23を固定するための取り付け片22、22を固定してある。
図7に示す基礎梁2を使用した、実施形態の杭式桟橋の施工方法を、図8ないし図13に基づいて説明する。図8に示すように、桟橋完成部分Aの先方に幅方向梁2aと延長方向梁2bを備えた基礎梁2を配置し、桟橋完成部分Aの基礎梁2から先方に突出する接続部21bに、新たな基礎杭2の延長方向梁2bの基端部を接続し、図9に示すように桟橋完成部分Aの先方に基礎梁2を張り出す。
新たな基礎梁2を張り出すに際しては、張り出すべき基礎梁を正確な位置に配置して接続部21bに接続し、斜め方向の張り出し補強材23、23を、延長方向梁2b、2bの上面に設けた取り付け片22と桟橋完成部分の支柱3に設けた延長方向の取り付け片18との間に固定し、新たな基礎梁2を正確な位置に張り出す。
桟橋完成部分Aから先方に張り出した基礎梁2には、図10に示すように基礎杭固定用管4、4を通過させて基礎杭1、1を杭打ちする。このとき、杭打ちした基礎杭1の上部は、基礎杭固定用管4、4から上方に突出した状態であって必要な深さまで打ち込まれるものとする。図10に示す、基礎杭を杭打ちした状態で、図11に示すように基礎杭固定用管4、4からの突出部分を切除するとともに、基礎杭1の上端部外周面と基礎杭固定用管4の内周面の空間及び、基礎杭1の上端部内にコンクリートやモルタルを充填して固定する。
図11に示すように、基礎杭1の上端部と基礎杭固定用管4が固定された基礎杭1の張り出し状態において、左右一対の支柱3、3に水平つなぎ部材6や斜材7といった補強部材及び上部構造の一部である受桁5aを下組みして一体とした支柱3(支柱ユニット)を、基礎杭固定用管4の上方に固定する。すなわち、基礎杭固定用管4の上端に形成したフランジ10と、支柱3の下端に形成したフランジ11をボルト14で固定(図2参照)する。
図12に示す工程によって支柱(支柱ユニット)を基礎杭2上に固定した状態で、図13に点線で示す延長方向補強部材16や桟橋の上部構造5を施工することによって、図13に示すように桟橋完成部分Aの先方に新たな桟橋部分を施工することができる。支柱2(支柱ユニット)を立設した際、図13に点線で示す延長方向補強部材16を取り付けることによって、支柱3を延長方向に対して安定させることができる。
図8ないし図13に示す実施形態の杭式桟橋の施工方法、すなわち、幅方向梁2aと延長方向梁2bを備えユニット状とした基礎梁2を使用する施工方法では、延長方向に隣接する基礎杭1と1が、基礎梁2の延長方向梁によって連結されるため、より強度的に優れた桟橋を施工することができるとともに、基礎杭1の杭打ち位置の決定が容易で、能率的に施工することができる。
図2に示す基礎梁2や図7に示す基礎梁2は、全体を一体構造として提供することもできるが、輸送などの効率を考慮して分割状態で提供し、施工現場において地組みするのが効率的である。図14は、幅方向梁2aの両端に基礎杭固定用管4、4を形成する基礎梁を分割形成する実施形態を示すもので、一対の基礎杭固定用管4、4のそれぞれに幅方向の接続部21aを形成し、一定寸法の幅方向梁2aの両端を接続部21aに接続するものである。接続手段、接続構造は任意であるが、ボルト締めによって連結するのが好ましい。
図15は、幅方向梁2aと延長方向梁2b、2bを備えた基礎梁を分割形成する実施形態を示すものである。図15に示す実施形態の基礎梁は、基礎杭固定用管4を一体に形成した二つの延長方向梁2bと、一定寸法の一つの幅方向梁2aで構成している。延長方向梁2bの先端部分に位置する基礎杭固定用管4には、次位の基礎梁の延長方向梁2bと接続するための、延長方向の接続部21bを突出させている。また、対向する基礎杭固定用管4、4には、幅方向梁2aを接続するための幅方向の接続部21aを突出させている。
図14及び図15に示す実施形態の基礎梁は、いずれも幅方向梁2aを基礎杭固定用管4から突出させた接続部21に接続するものである。この実施形態の基礎梁2によれば、輸送などに際して便利な大きさに制限することができるとともに、幅の異なる桟橋の施工に際して、幅方向梁2aの寸法を変更するだけで、他の部品を共通とし生産効率を向上させることができる。
なお、延長方向梁2bは基礎杭固定用管4と一体に形成しているが、延長方向梁2bも基礎杭固定用管4に接続するものとしてもよい。しかしながら、全体の強度を勘案すると、図15に示す実施形態のように延長方向梁2bと基礎杭固定用管4は一体に形成するのが好ましい。
1…基礎杭、 2…基礎梁、 2a…幅方向梁、 2b…延長方向梁、 3…支柱、 4…基礎杭固定用管、 5…上部構造、 5a…受桁、 6…水平つなぎ部材、 7…斜材、 8…硬い地盤、 9…コンクリート、 10、11…フランジ、 12、13…ボルト孔、 14…ボルト, 15…取り付け片、 16…延長方向補強部材、 17…上部フランジ、 18…取り付け片、 19…基礎梁補強部材、 20…取り付け片、 21a…幅方向の接続部、 21b…延長方向の接続部、 22…取り付け片、 23…張り出し補強材、 A…桟橋完成部分。

Claims (4)

  1. 桟橋設置位置の幅方向に複数の杭を対とし、桟橋延長方向に順次杭打ちし、該杭打ちした杭の上端部に桟橋の上部構造を施工する方法において、
    杭を地盤に杭打ちした基礎杭と基礎杭の上方に配置される支柱とで構成し、杭打ちした対をなす幅方向の複数の基礎杭の上部が挿入される複数の基礎杭固定用管と、該複数の基礎杭固定用管を一定間隔に保持する幅方向梁を一体的に形成した基礎梁を配置し、該基礎梁を基礎杭の規定の高さに固定するとともに、基礎梁の基礎杭固定用管から突出する基礎杭を切除し、基礎梁の基礎杭固定用管の上端部に支柱の下端を固定し、該支柱の上端部に桟橋の上部構造を施工することを特徴とする杭式桟橋の施工方法。
  2. 基礎梁は、基礎杭固定用管と幅方向梁を別体に形成し、基礎杭固定用管に接続部を形成しておき、基礎杭固定用管と幅方向梁を接続することによって一体化することを特徴とする請求項1記載の杭式桟橋の施工方法。
  3. 幅方向に対をなす複数の支柱には、支柱どうしの水平つなぎ部材や斜材などの補強部材及び上部構造の一部である上端の受桁を取り付けた状態で、基礎梁の基礎杭固定用管の上端部に下端を固定することを特徴とする請求項1又は2記載の杭式桟橋の施工方法。
  4. 基礎梁は、複数の基礎杭固定用管を備えた幅方向梁に対して基礎杭固定用管に桟橋延長方向に伸びる延長方向梁を備えたものとし、桟橋完成部分の基礎梁に対して新たな基礎梁の延長方向梁の基端部を接続して新たな基礎梁を張り出し、該張り出した基礎梁の先方に位置する基礎杭固定用管を通過させて基礎杭を杭打ちし、基礎杭の杭打ち後に基礎杭と基礎梁の基礎杭固定用管を固定することを特徴とする請求項1ないし3のいずれかに記載の杭式桟橋の施工方法。
JP2012142124A 2012-06-25 2012-06-25 杭式桟橋の施工方法 Active JP5718861B2 (ja)

Priority Applications (1)

Application Number Priority Date Filing Date Title
JP2012142124A JP5718861B2 (ja) 2012-06-25 2012-06-25 杭式桟橋の施工方法

Applications Claiming Priority (1)

Application Number Priority Date Filing Date Title
JP2012142124A JP5718861B2 (ja) 2012-06-25 2012-06-25 杭式桟橋の施工方法

Publications (2)

Publication Number Publication Date
JP2014005652A true JP2014005652A (ja) 2014-01-16
JP5718861B2 JP5718861B2 (ja) 2015-05-13

Family

ID=50103618

Family Applications (1)

Application Number Title Priority Date Filing Date
JP2012142124A Active JP5718861B2 (ja) 2012-06-25 2012-06-25 杭式桟橋の施工方法

Country Status (1)

Country Link
JP (1) JP5718861B2 (ja)

Cited By (11)

* Cited by examiner, † Cited by third party
Publication number Priority date Publication date Assignee Title
CN105821770A (zh) * 2016-04-01 2016-08-03 上海城建市政工程(集团)有限公司 钢结构主塔多塔根与大体积砼承台基础的连接定位方法
CN106245616A (zh) * 2015-06-05 2016-12-21 天津市海王星海上工程技术股份有限公司 一种台阶筒柱式井口保护架及施工技术
JP2016217000A (ja) * 2015-05-20 2016-12-22 株式会社技研製作所 高架構造物及びその構築方法
JP2019031801A (ja) * 2017-08-07 2019-02-28 株式会社技研製作所 高架構造物及びその構築方法
CN110700105A (zh) * 2019-10-21 2020-01-17 中交一公局第七工程有限公司 高墩墩柱与系梁同步施工方法及所用模板
JP2020056224A (ja) * 2018-10-02 2020-04-09 ヒロセ株式会社 仮設橋の施工方法
JP2020056223A (ja) * 2018-10-02 2020-04-09 日本製鉄株式会社 仮設橋の施工方法
JP2020105864A (ja) * 2018-12-28 2020-07-09 日本ジュウキケンセツ株式会社 仮橋及び仮橋の施工方法
JP2020180518A (ja) * 2019-04-26 2020-11-05 ジェコス株式会社 構台杭の杭頭構造および杭頭キャップ
KR102521965B1 (ko) * 2022-04-26 2023-04-14 주식회사 포스빌테크 횡방향 및 지점부 보강 구조가 구비된 교량
CN116657500A (zh) * 2023-06-10 2023-08-29 河南省交通规划设计研究院股份有限公司 用于支撑桥梁的可监控型拼装支架

Citations (9)

* Cited by examiner, † Cited by third party
Publication number Priority date Publication date Assignee Title
JPH07216844A (ja) * 1994-02-08 1995-08-15 Nippon Steel Corp 水中骨組構造物とその施工方法
JPH1046523A (ja) * 1996-08-02 1998-02-17 Yokoyama Kiso Koji:Kk 簡易仮橋仮桟橋架設工法
JP2000257006A (ja) * 1999-03-04 2000-09-19 Nippon Steel Corp 人工地盤構造およびその構築方法
JP2005060986A (ja) * 2003-08-08 2005-03-10 Hanshin Kensetsu Co Ltd 仮設橋脚ユニットとそのユニットを用いる仮設橋脚の施工方法
JP2006045838A (ja) * 2004-08-03 2006-02-16 Taisei Corp 水上構造物及びその構築方法
JP2006104709A (ja) * 2004-10-01 2006-04-20 Shozo Iwai 桟橋およびその施工方法
JP2012112191A (ja) * 2010-11-25 2012-06-14 Kouchi Marutaka:Kk 桟橋構築方法
JP2012162862A (ja) * 2011-02-03 2012-08-30 Kouchi Marutaka:Kk 桟橋構築用足場及び桟橋構築方法
JP2012207516A (ja) * 2011-09-20 2012-10-25 Kouchi Marutaka:Kk 橋梁用上部工の製造方法、橋梁及び橋梁用上部工

Patent Citations (9)

* Cited by examiner, † Cited by third party
Publication number Priority date Publication date Assignee Title
JPH07216844A (ja) * 1994-02-08 1995-08-15 Nippon Steel Corp 水中骨組構造物とその施工方法
JPH1046523A (ja) * 1996-08-02 1998-02-17 Yokoyama Kiso Koji:Kk 簡易仮橋仮桟橋架設工法
JP2000257006A (ja) * 1999-03-04 2000-09-19 Nippon Steel Corp 人工地盤構造およびその構築方法
JP2005060986A (ja) * 2003-08-08 2005-03-10 Hanshin Kensetsu Co Ltd 仮設橋脚ユニットとそのユニットを用いる仮設橋脚の施工方法
JP2006045838A (ja) * 2004-08-03 2006-02-16 Taisei Corp 水上構造物及びその構築方法
JP2006104709A (ja) * 2004-10-01 2006-04-20 Shozo Iwai 桟橋およびその施工方法
JP2012112191A (ja) * 2010-11-25 2012-06-14 Kouchi Marutaka:Kk 桟橋構築方法
JP2012162862A (ja) * 2011-02-03 2012-08-30 Kouchi Marutaka:Kk 桟橋構築用足場及び桟橋構築方法
JP2012207516A (ja) * 2011-09-20 2012-10-25 Kouchi Marutaka:Kk 橋梁用上部工の製造方法、橋梁及び橋梁用上部工

Cited By (13)

* Cited by examiner, † Cited by third party
Publication number Priority date Publication date Assignee Title
JP2016217000A (ja) * 2015-05-20 2016-12-22 株式会社技研製作所 高架構造物及びその構築方法
CN106245616A (zh) * 2015-06-05 2016-12-21 天津市海王星海上工程技术股份有限公司 一种台阶筒柱式井口保护架及施工技术
CN105821770A (zh) * 2016-04-01 2016-08-03 上海城建市政工程(集团)有限公司 钢结构主塔多塔根与大体积砼承台基础的连接定位方法
JP2019031801A (ja) * 2017-08-07 2019-02-28 株式会社技研製作所 高架構造物及びその構築方法
JP2020056223A (ja) * 2018-10-02 2020-04-09 日本製鉄株式会社 仮設橋の施工方法
JP2020056224A (ja) * 2018-10-02 2020-04-09 ヒロセ株式会社 仮設橋の施工方法
JP7013352B2 (ja) 2018-10-02 2022-02-15 日本製鉄株式会社 仮設橋の施工方法
JP2020105864A (ja) * 2018-12-28 2020-07-09 日本ジュウキケンセツ株式会社 仮橋及び仮橋の施工方法
JP2020180518A (ja) * 2019-04-26 2020-11-05 ジェコス株式会社 構台杭の杭頭構造および杭頭キャップ
JP7289218B2 (ja) 2019-04-26 2023-06-09 ジェコス株式会社 構台杭の杭頭構造および杭頭キャップ
CN110700105A (zh) * 2019-10-21 2020-01-17 中交一公局第七工程有限公司 高墩墩柱与系梁同步施工方法及所用模板
KR102521965B1 (ko) * 2022-04-26 2023-04-14 주식회사 포스빌테크 횡방향 및 지점부 보강 구조가 구비된 교량
CN116657500A (zh) * 2023-06-10 2023-08-29 河南省交通规划设计研究院股份有限公司 用于支撑桥梁的可监控型拼装支架

Also Published As

Publication number Publication date
JP5718861B2 (ja) 2015-05-13

Similar Documents

Publication Publication Date Title
JP5718861B2 (ja) 杭式桟橋の施工方法
KR101687495B1 (ko) 지하 구조물 구축을 위한 부분 탑다운 공법
JP2013256793A (ja) 地下構造の施工方法及び地下構造
JP7490128B2 (ja) 道路構造
CN114134898A (zh) 一种逆作法一桩一柱的连接结构及其施工方法
KR102362257B1 (ko) 지하구조물의 역타 시공방법
JP3931034B2 (ja) 鋼管杭を柱に利用した構造物の施工法
KR102392517B1 (ko) 중간말뚝 무가설식 이중보 탑다운 공법
JP2021001497A (ja) 杭支持構造物及びその構築方法
JP6070118B2 (ja) 土留壁構造、土留壁構造の構築方法
JP3671344B2 (ja) 基礎杭と柱脚部との接合構造およびその構築方法
JP6704801B2 (ja) 既存の地下外壁を有する建替え建物
JP6654428B2 (ja) 逆打ち工法を用いた建築方法
JP2008075425A (ja) 杭と柱の接合構造
KR101252027B1 (ko) 말뚝 이음 장치
JP6349732B2 (ja) 鉄筋コンクリート梁と鉄骨の柱又は鉄骨を備える柱との接合方法及び構造
JP2009019362A (ja) 杭と柱の接合構造
JP2002242302A (ja) 建築鉄骨骨組の柱梁接合構造及びその接合方法
JP2011252290A (ja) 地下躯体の構真柱先行逆打ち工法
KR20150105613A (ko) Phc 파일 길이 조정용 스마트 선단캡 및 이를 이용한 파일길이 조정방법
JP2016044494A (ja) 基礎の施工方法
KR200383309Y1 (ko) 슬러리 벽이 적용된 지하층의 슬래브 시공을 위한 거푸집구조체
JP6782492B2 (ja) 仮橋及び仮橋の施工方法
JP2014051780A (ja) 鋼管と建造物の基礎との接続構造
JP5870443B2 (ja) 鋼板コンクリート構造体の接合構造

Legal Events

Date Code Title Description
A621 Written request for application examination

Free format text: JAPANESE INTERMEDIATE CODE: A621

Effective date: 20140224

A977 Report on retrieval

Free format text: JAPANESE INTERMEDIATE CODE: A971007

Effective date: 20141016

A131 Notification of reasons for refusal

Free format text: JAPANESE INTERMEDIATE CODE: A131

Effective date: 20141117

A521 Request for written amendment filed

Free format text: JAPANESE INTERMEDIATE CODE: A523

Effective date: 20150109

TRDD Decision of grant or rejection written
A01 Written decision to grant a patent or to grant a registration (utility model)

Free format text: JAPANESE INTERMEDIATE CODE: A01

Effective date: 20150202

A61 First payment of annual fees (during grant procedure)

Free format text: JAPANESE INTERMEDIATE CODE: A61

Effective date: 20150319

R150 Certificate of patent or registration of utility model

Ref document number: 5718861

Country of ref document: JP

Free format text: JAPANESE INTERMEDIATE CODE: R150

R250 Receipt of annual fees

Free format text: JAPANESE INTERMEDIATE CODE: R250

R250 Receipt of annual fees

Free format text: JAPANESE INTERMEDIATE CODE: R250

R250 Receipt of annual fees

Free format text: JAPANESE INTERMEDIATE CODE: R250

R250 Receipt of annual fees

Free format text: JAPANESE INTERMEDIATE CODE: R250

S531 Written request for registration of change of domicile

Free format text: JAPANESE INTERMEDIATE CODE: R313531

R350 Written notification of registration of transfer

Free format text: JAPANESE INTERMEDIATE CODE: R350

R250 Receipt of annual fees

Free format text: JAPANESE INTERMEDIATE CODE: R250

R250 Receipt of annual fees

Free format text: JAPANESE INTERMEDIATE CODE: R250

R250 Receipt of annual fees

Free format text: JAPANESE INTERMEDIATE CODE: R250

R250 Receipt of annual fees

Free format text: JAPANESE INTERMEDIATE CODE: R250