JP2012209651A - 電話機のフックスイッチ構造 - Google Patents

電話機のフックスイッチ構造 Download PDF

Info

Publication number
JP2012209651A
JP2012209651A JP2011072055A JP2011072055A JP2012209651A JP 2012209651 A JP2012209651 A JP 2012209651A JP 2011072055 A JP2011072055 A JP 2011072055A JP 2011072055 A JP2011072055 A JP 2011072055A JP 2012209651 A JP2012209651 A JP 2012209651A
Authority
JP
Japan
Prior art keywords
hook
hook switch
state
telephone
handset
Prior art date
Legal status (The legal status is an assumption and is not a legal conclusion. Google has not performed a legal analysis and makes no representation as to the accuracy of the status listed.)
Granted
Application number
JP2011072055A
Other languages
English (en)
Other versions
JP5533757B2 (ja
Inventor
Yoshikazu Ishii
良和 石井
Current Assignee (The listed assignees may be inaccurate. Google has not performed a legal analysis and makes no representation or warranty as to the accuracy of the list.)
Oki Networks Co Ltd
Original Assignee
Oki Networks Co Ltd
Priority date (The priority date is an assumption and is not a legal conclusion. Google has not performed a legal analysis and makes no representation as to the accuracy of the date listed.)
Filing date
Publication date
Application filed by Oki Networks Co Ltd filed Critical Oki Networks Co Ltd
Priority to JP2011072055A priority Critical patent/JP5533757B2/ja
Publication of JP2012209651A publication Critical patent/JP2012209651A/ja
Application granted granted Critical
Publication of JP5533757B2 publication Critical patent/JP5533757B2/ja
Active legal-status Critical Current
Anticipated expiration legal-status Critical

Links

Images

Landscapes

  • Telephone Set Structure (AREA)

Abstract

【課題】 汎用性の高い電話機用フックスイッチ構造を提供すること。
【解決手段】 本発明によるフックスイッチ構造は、電話機のハンドセットのオフフック及びオンフックに応じてオン及びオフされるフックスイッチ構造である。このフックスイッチ構造は、一端が電話機筐体内部に固定されたフックスイッチ胴部と、フックスイッチ胴部の他端から回動可能に延びる自由端部と、電話機筐体内部において自由端部の近傍に設けられた接点部材と、電話機筐体外面からフックスイッチ胴部に延びるフックボタンとを含む。ハンドセットがオンフック状態のときにハンドセットからの力はフックボタンを介してフックスイッチ胴部を押圧して、フックスイッチ自由端部を接点部材に接触させる。ハンドセットがオンフック状態からオフフック状態に移行する際の所定範囲においてフックスイッチ自由端部は回動して接点部材との接触を維持する。
【選択図】 図6

Description

本発明は受話器を有する電話機のフックスイッチ構造に関し、特に高い汎用性を有するフックスイッチ構造に関する。
オフィスや家庭においては、いわゆる固定式の電話機が多く使用されている。一般的な電話機の側面図を添付図面の図1に示す。電話機10は筐体部12と当該筐体部12の上に載置されるハンドセット14を有している。
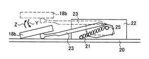
図2は図1のハンドセット14の耳当て部近傍の拡大部分縦断面図である。図2はハンドセット14が筐体部12に載置された状態(オンフック状態)を示している。オンフック状態ではクレイドル(凹部)13にハンドセット14の耳あて部14aが置かれる。ハンドセット14の下にあるフックボタン18はフックボタン軸19を中心に回動可能である。図2においてフックボタン18の頭部18aはクレイドル孔13aから突出した状態(オフフック状態:図2において破線で示す状態)から矢印Xのように回動して、実線で示す位置に至る。フックボタン18の下端部(末端部)18bはフックスイッチ22のレバー23に達している。フックボタンの頭部18aが矢印Xのように回動すると、フックボタンの下端部18bはフックボタン軸19を中心に矢印Yのように回動する。このフックボタン下端部18bの回動により、フックスイッチのレバー23も矢印Yのように動く。符号20はプリント基板を示しており、符号21はフックスイッチ軸に装着されたスプリングを示している。
図2のフックスイッチ22の概略が図3に示されている。図2のフックボタン下端部18bとフックスイッチレバー23とプリント基板20の位置関係は、説明の都合上、図3において上下反転されている。図3において破線がオフフック状態を示し、実線がオンフック状態を示している。図3において、フックスイッチ軸25に装着されたスプリング21によりフックボタン下端部18bは矢印Z方向に付勢されている。この付勢力は図2の矢印Y方向及びX方向の反対方向の力であり、オフフック状態では、この付勢力によりフックボタン下端部18bが破線(図2及び図3)の位置に維持され、フックボタン頭部18a(図2)がクレイドル孔13a(図2)から突出するようになっている。
オンフック状態では図3においてフックボタン下端部が矢印Y方向に回動する。この回動動作に伴い、フックボタン下端部18bがフックスイッチレバー23を押し下げる(矢印Y)。その結果、電話機がオンフック状態になる。このような矢印Y方向及び矢印Z方向のフックスイッチレバー23の回動により、フックスイッチ内部に設けられている接点(図示せず)が接触状態または非接触状態となる。オフフック状態では、フックスイッチの内部に設けられている接点が非接触状態となり、通話可能状態になる(フックスイッチはON)。オンフック状態では、フックスイッチ内部の接点は接触状態(フックスイッチはOFF)となり、電話機は通話不可能状態となる。このような構造を有する電話機は例えば特許文献1に記載されている。
電話機に振動や軽い衝撃等の力が加えられたときのフックスイッチの誤作動を防止する構造も提案されている。例えば特許文献2にはスイッチレバーの回転動作によりフックスイッチがON状態からOFF状態に切り替わる際(あるいはOFF状態からON状態に切り替わる際)、フックスイッチが実質的に動作しない領域(非動作領域)を設けた構造が開示されている。
特開平7−87170号公報 特開2010−233189号公報
上記したフックスイッチ22はプリント基板20に搭載される電子部品として部品メーカーが製造している場合が多い。部品メーカーは1つまたは複数存在し、部品メーカー毎に特徴を持った部品を製造している。図4(a)、(b)、(c)に3種類のフックスイッチ22、122、222を例示した。電話機を製造するセットメーカーは、部品メーカーが製造するフックスイッチの中から、フックスイッチの外形寸法、種々の機械的特性(例えば、スプリング21の復帰力、フックスイッチレバー23のストローク量、耐久性、接点構造)及び部品価格等を考慮して適切な部品を選定し購入し、電話機の部品として使用している。尚、図4(b)及び(c)では図示を簡略化するためにスプリング21は示されていない。
しかしながら、このように部品メーカーからフックスイッチを購入し電話機を組み立てるという製造スキームでは、ハンドセット(受話器)や電話機筐体の形状等をフックスイッチの形状等に合わせて設計しなければならない。また、採用するフックスイッチの構成部品の形状や特性も汎用性があるとは限らない。即ち、代替部品の入手が困難となる場合が想定される。フックスイッチが製造中止になった場合には、受話器や電話機の構造・設計を大きく変更する必要が出てくる可能性もある。1つの部品メーカーが存在しなくなった場合に代替部品メーカーを探すことも困難であると考えられる。
本発明は上記の如き事情を鑑みてなされたものであって、汎用性の高い電話機用フックスイッチ構造を提供することを目的としている。また、そのようなフックスイッチ構造を備える電話機を提供することも目的とする。
発明を解決するための手段
本発明による電話機のフックスイッチ構造は、電話機のハンドセットのオフフック及びオンフックに応じてオン及びオフされるフックスイッチ構造であって、一端が電話機筐体内部に固定されたフックスイッチ胴部と、当該フックスイッチ胴部の他端から回動(弾性変形)可能に延びる自由端部と、電話機筐体内部において前記自由端部の近傍に設けられた接点部材と、電話機筐体外面からフックスイッチ胴部に延びるフックボタンとを含み、ハンドセットがオンフック状態のときにハンドセットからの力はフックボタンを介してフックスイッチ胴部を押圧して、前記自由端部を前記接点部材に接触させ、ハンドセットがオンフック状態からオフフック状態に移行する際の所定範囲において前記自由端部は回動して前記接点部材との接触を維持することを特徴とするフックスイッチ構造である。
また、本発明は前記フックスイッチ構造を有する電話機であって、フックボタンの頭部は、ハンドセットがオフフック状態にあるとき、電話機筐体のクレイドルから突出し、ハンドセットがオンフック状態にあるとき、ハンドセットに押されてクレイドルの下に埋没することを特徴とする電話機も提供する。
本発明のフックスイッチ構造によれば、ハンドセットがオンフック状態からオフフック状態に移行する際の所定範囲においてフックスイッチの自由端部が回動して接点部材との接触を維持する。よって、電話機に衝撃等が作用しても直ちにフックスイッチがONにはならず、フックスイッチの誤動作を防止することができる。この誤動作防止効果はフックスイッチ自由端部の回動という簡単な動作・構成により達成することができる。フックスイッチは胴部と自由端部から成るので、その製造は比較的容易であり、部品メーカーからフックスイッチを調達する必要はなくなる。
図1は電話機の側面図である。 図2は図1の電話機の拡大部分縦断面図である。 図3は図2のフックスイッチの動作を説明するための拡大断面図である。 図4(a)、(b)、(c)は種々のフックスイッチ形状を示す図である。 図5(a)は本発明の実施例に係るフックスイッチを備えた電話機の拡大部分縦断面図であり、オフフック状態を示し、(b)は矢印Aから見た図である。 図6はオンフック状態のフックスイッチ及びその周辺部品の拡大部分断面図である。 図7は図5及び図6のフックスイッチの側面図であり、(a)はオフフック状態を示し、(b)はオンフック状態になった直後の状態を示し、(c)はハンドセットが完全にクレイドルに載置された状態を示している。 図8は図7のフックスイッチの斜視図である。 図9は図7のフックスイッチの動作図である。
以下に本発明の実施例を添付図面に基づいて説明する。
本実施例のフックスイッチは図1に示された電話機10に使用されるフックスイッチである。図1に示されているように電話機10は筐体部12と当該筐体部12の上に載置されるハンドセット14を有している。
まず、本発明のフックスイッチを備える電話機10のオフフック状態とオンフック状態の基本的な動作とこれに関連する構成について図5及び図6を参照して説明する。尚、図1〜図4で説明した内容と同様なものについては以下の記載においても同じ参照符号を用いて説明する。
図5(a)はハンドセット14を持ち上げた状態(オフフック状態)における筐体部12の内部構造を示す部分断面図である。筐体部12は、本体(ハウジング)16とフックボタン18とプリント基板20とフックスイッチ30を有している。筐体部本体16の右上部にはクレイドル(凹部)13が形成されている。クレイドル13にはハンドセット14の耳あて部14a(図6)が置かれる。フックボタン18はフックボタン軸19を中心に回動可能である。図5(a)においてフックボタン18の頭部(上端部)18aはクレイドル13に形成された孔13aから上方に突出している。フックボタン18はその頭部18aの近傍においてフックボタン軸19に支持され、プリント基板20の下方まで延び、その後、プリント基板20の下面に沿って左方向へ延びている。フックボタン18の下端部(末端部)18bにはフックスイッチ30の自由端部31近傍が当接している。フックスイッチ30の他端(基端)30aはプリント基板20に固定された固定端である。フックスイッチ30の基端30aは本実施例では、プリント基板20の下面に半田付けされている。フックスイッチ30の材料は適度な弾性と導電率を有するものを使用する。本実施例では価格も考慮して、りん青銅(t=0.2mm)を使用する。
フックスイッチ30はプリント基板20に固定されており且つ適度な弾性を有する。この弾性を利用して、図5(a)の状態にあっては、フックスイッチ30の自由端部31がフックボタン下端部18bに下向きの付勢力(反時計方向の付勢力)をかけるようになっている。この付勢力によりフックボタン18はフックボタン軸19を中心に反時計方向に付勢されるので、オフフック状態においてはフックボタンの頭部18aがクレイドル孔13aから突出した状態に維持される。プリント基板20は筐体部本体16内に固定されている。
図5(b)は図5(a)の矢印Aの方向からフックボタン18とフックスイッチ30とクレイドル13を見た様子を示している。図5(b)からわかるようにフックボタン18はフックボタン軸19よりも上の部分(頭部)がクレイドル側に延び、フックボタン軸19より下の部分はまずフックボタン軸方向に延び、その後、垂直に屈曲し、再度フックボタン軸方向に延びてフックスイッチ30の自由端部31に至っている。フックボタンの末端部18bがフックスイッチ30の自由端部31に当接している。プリント基板20はクレイドル13の隣に位置している。
図6はハンドセット14の耳当て部14aをクレイドル13に載置した状態(オンフック状態)を示す断面図である。図5(a)を参照しつつ図6を見るとわかるように、ハンドセット耳当て部14aがクレイドル13に載置されると、ハンドセット14の自重によりフックボタン頭部18aがフックボタン軸19を中心に時計方向に回転し(矢印X)、フックボタン頭部18aはクレイドル孔13aに埋没する。フックスイッチ30の付勢力よりハンドセット14の自重の方が大きいので、フックボタン頭部18aは時計方向に回転することができる。この回転動作に伴い、フックボタンの下端側18bも時計方向に回転し(矢印Y)、フックボタン下端部18bがフックスイッチ自由端部31を押し上げる。その結果、電話機10がオンフック状態になる。オンフック状態では電話機10による通話が不可能となる。この状態では、フックスイッチ30の内部に設けられている接点は接触状態となり、通話機能OFF状態になる(フックスイッチOFF)。尚、図6においてハンドセット14をクレイドル13に載置する前のフックボタン18は破線で示されている。フックボタン18の回転動作中、フックボタン軸19の位置は不変であり、プリント基板20の位置も不変である。
図6の状態からハンドセットを持ち上げると、フックスイッチ30からの付勢力により、クレイドル孔13aに埋没していたフックボタン頭部18aが上方に回動してクレイドル孔13aから突出し、フックボタン18及びフックスイッチ30が図5(a)の状態に戻り、オフフック状態となる。オフフック状態では電話機10による通話が可能となる。この状態では、フックスイッチ30の内部に設けられている接点は非接触状態となり、通話機能ON状態になる(フックスイッチON)。
図7は図5及び図6に示したフックボタン下端部18bとフックスイッチ30を拡大して示した図である。尚、図7では説明の都合上、図5に示されているフックボタン下端部18b、フックスイッチ30及びプリント基板20の位置関係は上下が逆になっている。図6の矢印Yと図7の矢印Yは同じ動作を示す矢印である。
本実施例のフックスイッチ30は、電話機10に振動や軽い衝撃等の力が加えられたときのフックスイッチ30の誤作動を防止する構造を備えている。この構造により、フックスイッチ30がOFF状態からON状態に切り替わる際、フックスイッチ30が実質的に動作しない領域(非動作領域)を設けている。この構造についても図7に基づいて説明をする。
図7(a)はオフフック状態を示し、図7(b)はオフフック状態からオンフック状態になった状態を示している。図7(c)もオンフック状態を示しているが、図7(b)から図7(c)に変わる際、フックボタン下端部18bは下方に移動しているが、フックスイッチ30のオン・オフ状態は変わらない(OFF状態のままである)。図7(b)から図7(c)の間を本実施例では非動作領域と称する。
オフフック状態(図7(a))においては、フックスイッチ30は当初の形状・位置を取る。フックスイッチ30は、プリント基板20に固定されている基端部30aと、基端部30aから垂直に延びてその後プリント基板20にほぼ平行に延びる胴部30bと、胴部30bの先端に設けられた(形成された)自由端部31とからなる。自由端部31は底浅の皿のような形状を有している。この自由端部31は胴部30bの先端(右端)を中心として胴部方向に回動(弾性変形)可能になっている。フックスイッチ30はY方向とは反対の方向に付勢力を発生しており、フックスイッチ30の当初形状・位置はフックボタン下端部18bにより決められる。この状態において、フックスイッチ30の自由端部31は胴部30bとプリント基板20の間に位置している。図8はフックスイッチ30の斜視図である。本実施例ではフックスイッチ30の基端部30aは2つの折り曲げ部を有しており、折り曲げ部がプリント基板20に固定されている。また、基端部30aと胴部30bと自由端部31は一体的に(1ピース部品として)形成されている。自由端部31は下方に凸状の曲面部31aを有している。自由端部31は、例えば、1枚の長方形材料の頭部をプレス加工することにより形成することができる。フックスイッチは弾性体である。
ハンドセット14がクレイドル13に載置されると、フックボタン下端部18bは図7(a)の位置から図7(b)の位置に移動する(矢印Y)。フックボタン下端部18bはフックスイッチの胴部30b先端に当接しており、フックボタン下端部18bのY方向移動に伴い、フックスイッチ30の胴部先端及びこれに繋がっている自由端部31もY方向に移動する。この間、フックスイッチの基端30aの位置は不変であり、胴部30bは基端30aを基に弾性変形する。フックボタン下端部18bが所定距離Y方向に移動すると、フックスイッチ30の自由端部31がプリント基板20に接する。この状態が図7(b)に示されている。この状態になると、フックスイッチはOFFになり、通話不能状態となる。但し、この状態では、ハンドセットの耳当て部14aは完全にクレイドル13に納まっていない。つまり、フックボタン頭部18aはクレイドル穴13aに完全に埋没していない。図7(a)から図7(b)への移動は、ハンドセット14からの力がフックボタン18を介して胴部30bを押圧して自由端部31をプリント基板20に接触させた結果である。尚、プリント基板20は自由端部31に接触するので、プリント基板20を接点部材と称することができる。この接点部材(プリント基板20)は電話機筐体内部において自由端部31の近傍に設けられている。
図7(b)から図7(c)への移動は、フックボタン頭部18aがクレイドル孔13aに完全に埋没する際の移動である。すなわち、図7(b)の状態ではフックボタン頭部18aがわずかにクレイドル孔13aから突出しているので、さらに下方に移動する余地がある。つまり、フックボタン下端部18bもさらに移動する余地がある。フックボタン下端部18bが図7(b)の位置から図7(c)の位置へ移動する際、フックスイッチ30の自由端部31はプリント基板20に接触したままである。詳しくは自由端部31の曲面部31aが転動しながらプリント基板20に接触し続ける。フックスイッチ30の自由端部31は胴部先端を中心として回動(弾性変形)できるので、図7(b)から図7(c)になる間、自由端部31はプリント基板20に接触したまま回動(転動)する。最終的には自由端部31はフックスイッチ30の胴部30bに当接する。このとき、自由端部31の曲面部31aの最下部がプリント基板20に接触する。よって、この間、フックスイッチ30はOFF状態のままである。図7(c)の状態でハンドセットの耳当て部14aはクレイドル13に完全に納まった状態となり、フックボタン頭部18aはクレイドル孔13aに完全に埋没した状態となる(図6の実線)。尚、図7(b)から図7(c)へ移行する際のフックスイッチ30の自由端部31の上記回動(胴部先端を中心にした回動)は、フックスイッチ30全体で考えた場合、フックスイッチ30の弾性変形であると言える。図7(a)から図7(c)への動作をフックボタン18から見ると、フックボタン18の押下動作と表現することができる。図7(a)から図7(b)への移行(あるいは図7(a)から図7(b)を経て図7(c)に至る移行)もフックスイッチ30全体で見た場合、フックスイッチ30の弾性変形であると言える。
図7(c)の状態からハンドセットが上げられると、図7(b)の状態を経て、図7(a)の状態(オフフック状態)になり、フックスイッチ30及びその自由端部31は当初の位置に戻る。図7(c)から図7(a)への動作をフックボタン18から見ると、フックボタン18の解放動作と表現することができる。
本実施例では、例えば、ハンドセットの荷重が75g〜100g程度であるとすると、この荷重によりフックスイッチ30が図7(a)の状態から図7(c)の状態に弾性変形するようになっている。フックスイッチ30が発生する付勢力の大きさは、図7(b)の状態でプリント基板20と自由端部31が十分な接触をするような値にされる。また、図7(a)〜図7(c)の間の動作によりフックスイッチ30は塑性変形しない。
本実施例のフックスイッチ30によれば、電話機10に振動や軽い衝撃等の力が加えられたときのフックスイッチ30の誤作動を防止することができる。そのためにフックスイッチ30は、フックボタン18の回動によりOFF状態からON状態に切り替わる際、フックスイッチが実質的に動作しない領域(非動作領域)を有している。図9はこの非動作領域を説明するための図である。図9に示されているように、ハンドセットを電話機筐体部12から持ち上げる場合(オンフック状態からオフフック状態に移行する際)、フックボタン下端部18bが所定範囲(所定距離)移動してもフックスイッチ30はプリント基板20から離れない(図7(c)から図7(b)の間)。この間では、フックスイッチ30の自由端部31がプリント基板20に接触したままである(自由端部31は回動してプリント基板20との接触を維持する)ので、フックスイッチ30はOFFのままである(通話機能OFF)。つまり、ハンドセット14を電話機筐体12から持ち上げても、所定範囲(非動作領域)ではフックスイッチ30が実質的に動作しないようになっている(フックボタン18は動くが、その動きがフックスイッチ接点の接触非接触動作とは無関係になっている)。その後さらにハンドセット14が持ち上げられると、フックスイッチ30(さらに具体的には自由端部31)がプリント基板20から離れる(図9のON領域)。これが図7(b)から図7(a)への移行である。
尚、図7(b)から図7(c)への移行または図7(c)から図7(b)への移行の際の自由端部31の曲面部31aの動きは、プリント基板20との関係で表現すれば、プリント基板20に接触しながらプリント基板20上を転動していると言える。
図9の「非動作領域」の右のわずかなOFF領域が従来の電話機のOFF領域であり、このように小さなOFF領域しかないとすると、電話機に軽い衝撃が作用した場合に直ちにON領域に入ってしまう。本実施例では、従来のOFF領域にプラスして非動作領域を設けたので、電話機に衝撃が作用しても直ちにON領域には入らない。オンフック状態において電話機10に衝撃が作用しても非動作領域の範囲でフックボタン下端部18bが移動する限り、電話機が通話可能状態になることはない。図9の非動作領域ではフックスイッチの接点は接触状態に維持される(フックスイッチはOFF)。尚、本実施例では非動作領域は数ミリ(例えば、1mm〜2mm程度)である。
本実施例のフックスイッチ30は上記説明及び図8から分かるように、金属製の単部品であるので、複雑な金型等を必要とせず、自社製造が可能である。よって、フックスイッチ30の部品コストの低減及び部品調達性の向上を達成することができる。また、フックスイッチ30を自社製造することにより、電話機のサイズやデザインに合わせてフックスイッチ30をカスタマイズすることが可能となる。外部の部品メーカーからフックスイッチを調達しないので、フックスイッチ製造中止に伴う電話機全体の設計変更を回避することもできる。
尚、本発明は上記した実施例に限定されない。例えば、フックスイッチ30の材料はりん青銅としたが、りん青銅と同じ特性を有する材料であれば別の材料を採用してもよい。また、図9の非動作領域は1mm〜2mm程度としたが、それより大きくてもよい。さらに、上記の記載においては本発明のフックスイッチを固定電話機に使用した場合について説明したが、フックボタンあるいはそれと同等の機能を有する部材によりオンオフされるフックスイッチであれば、固定電話機以外(例えば、携帯型の電話機)に使用することもできる。
また、フックスイッチ30の胴部30bはプリント基板20に固定されるとしたが、電話機筐体部12(または本体16)の内部のプリント基板以外の部材に固定されてもよい。
さらに、前記実施例ではフックスイッチ30は一体的に形成されるとしたが、別個に用意した2つの部分から構成されるようにしてもよい。例えば、フックスイッチは板バネ部と自由端部により構成することができる。板バネ部は図7の基部30aと胴部30bからなり、自由端部は図7の自由端部31からなる。板バネ部と自由端部31は別々に製造し、板バネ部の先端に自由端部31を付設すればよい。付設する際、自由端部31が図7(b)から図7(c)に示したように回動できるような構成とする。また、板バネ部の材料は自由端部31の材料と同じでも異なってもよい。
本発明のフックスイッチは、電話機のハンドセットのオンフック時にハンドセットからの力を受けて移動または変形(あるいは、移動且つ変形)する部材(図7の胴部30bに相当する部材)と、当該部材から延びる回動可能部材(図7の自由端部31に相当する部材)を含み、当該回動可能部材が非動作領域を有すればよい。
10 電話機
12 筐体部
13 クレイドル
14 ハンドセット
18 フックボタン
20 プリント基板(接点部材)
30 フックスイッチ
30a 胴部
31 自由端部
31a 曲面部

Claims (5)

  1. 電話機のハンドセットのオフフック及びオンフックに応じてオン及びオフされるフックスイッチ構造であって、
    一端が電話機筐体内部に固定されたフックスイッチ胴部と、
    前記フックスイッチ胴部の他端から回動可能に延びる自由端部と、
    前記電話機筐体内部において前記自由端部の近傍に設けられた接点部材と、
    前記電話機筐体外面から前記フックスイッチ胴部に延びるフックボタンとを含み、
    前記ハンドセットがオンフック状態のときに前記ハンドセットからの力は前記フックボタンを介して前記フックスイッチ胴部を押圧して、前記自由端部を前記接点部材に接触させ、前記ハンドセットがオンフック状態からオフフック状態に移行する際の所定範囲において前記自由端部は回動して前記接点部材との接触を維持することを特徴とするフックスイッチ構造。
  2. 前記自由端部は曲面部を有し、前記所定範囲において前記自由端部の曲面部が前記接点部材と接触し続けることを特徴とする請求項1記載のフックスイッチ構造。
  3. 前記フックスイッチ胴部は弾性体であり、前記ハンドセットからの力により押圧されて弾性変形することを特徴とする請求項1または2記載のフックスイッチ構造。
  4. 前記フックスイッチ胴部と前記自由端部は一体成型されていることを特徴とする請求項1、2または3記載のフックスイッチ構造。
  5. 請求項1〜4のいずれかに記載のフックスイッチ構造を有する電話機であって、前記フックボタンの頭部は前記ハンドセットがオフフック状態にあるとき、前記電話機筐体のクレイドルから突出し、前記ハンドセットがオンフック状態にあるとき、前記ハンドセットに押されて前記クレイドルの下に埋没することを特徴とする電話機。
JP2011072055A 2011-03-29 2011-03-29 電話機のフックスイッチ構造 Active JP5533757B2 (ja)

Priority Applications (1)

Application Number Priority Date Filing Date Title
JP2011072055A JP5533757B2 (ja) 2011-03-29 2011-03-29 電話機のフックスイッチ構造

Applications Claiming Priority (1)

Application Number Priority Date Filing Date Title
JP2011072055A JP5533757B2 (ja) 2011-03-29 2011-03-29 電話機のフックスイッチ構造

Publications (2)

Publication Number Publication Date
JP2012209651A true JP2012209651A (ja) 2012-10-25
JP5533757B2 JP5533757B2 (ja) 2014-06-25

Family

ID=47189073

Family Applications (1)

Application Number Title Priority Date Filing Date
JP2011072055A Active JP5533757B2 (ja) 2011-03-29 2011-03-29 電話機のフックスイッチ構造

Country Status (1)

Country Link
JP (1) JP5533757B2 (ja)

Citations (8)

* Cited by examiner, † Cited by third party
Publication number Priority date Publication date Assignee Title
JPS5513403U (ja) * 1978-07-12 1980-01-28
JPS6037968U (ja) * 1983-08-22 1985-03-15 日本電気株式会社 フツクスイツチの構造
JPS6312111U (ja) * 1986-07-09 1988-01-26
JPS6399631U (ja) * 1986-12-16 1988-06-28
JPH02111961U (ja) * 1989-02-17 1990-09-07
JPH09505960A (ja) * 1993-12-01 1997-06-10 プレスコム 置換による付属機器の交換を可能にする送受話器付き電話機のための交換装置
JP2000278379A (ja) * 1999-03-23 2000-10-06 Tamura Electric Works Ltd フックボタン
JP3113021U (ja) * 2005-05-09 2005-09-02 八幡電気産業株式会社 移動体用送受話装置

Patent Citations (8)

* Cited by examiner, † Cited by third party
Publication number Priority date Publication date Assignee Title
JPS5513403U (ja) * 1978-07-12 1980-01-28
JPS6037968U (ja) * 1983-08-22 1985-03-15 日本電気株式会社 フツクスイツチの構造
JPS6312111U (ja) * 1986-07-09 1988-01-26
JPS6399631U (ja) * 1986-12-16 1988-06-28
JPH02111961U (ja) * 1989-02-17 1990-09-07
JPH09505960A (ja) * 1993-12-01 1997-06-10 プレスコム 置換による付属機器の交換を可能にする送受話器付き電話機のための交換装置
JP2000278379A (ja) * 1999-03-23 2000-10-06 Tamura Electric Works Ltd フックボタン
JP3113021U (ja) * 2005-05-09 2005-09-02 八幡電気産業株式会社 移動体用送受話装置

Also Published As

Publication number Publication date
JP5533757B2 (ja) 2014-06-25

Similar Documents

Publication Publication Date Title
KR101088215B1 (ko) 하우징 일체형 컨텍터
CN105430133B (zh) 具有多功能卡托的电子设备
CN111564332A (zh) 复合式按键结构及应用其的无线电子装置
JP2008131634A (ja) バッファを備える携帯端末機
JP5533757B2 (ja) 電話機のフックスイッチ構造
JP2011109633A (ja) 移動通信端末機のサイドキーモジュール
CA2629690C (en) Compound operation input device
CN101599376B (zh) 按键结构
JP2012230561A (ja) 電子ペン
JP2011137702A (ja) 端子板および腕時計
CN110769621B (zh) 车用控制器
JP4443950B2 (ja) スイッチ装置
JP5394200B2 (ja) 押釦スイッチ
JP2010098674A (ja) サイドキーボタン実装構造及びこれを備えた携帯端末
JP2010157388A (ja) ロータリスイッチ
JP2011238634A (ja) ポゴピン式圧接型コネクタ
US7189937B2 (en) Button structure
KR200449770Y1 (ko) 메탈 돔 스위치
JP4810454B2 (ja) レバースイッチ
CN214588542U (zh) 一种按键结构及电子设备
JP5429315B2 (ja) 接触部材
JP6662268B2 (ja) フックレバー構造
JP2014053273A (ja) 接触部材
JP2008154109A (ja) 据え置き型電話機
JP2014090276A (ja) 携帯端末

Legal Events

Date Code Title Description
A711 Notification of change in applicant

Free format text: JAPANESE INTERMEDIATE CODE: A712

Effective date: 20120813

A621 Written request for application examination

Free format text: JAPANESE INTERMEDIATE CODE: A621

Effective date: 20130920

A977 Report on retrieval

Free format text: JAPANESE INTERMEDIATE CODE: A971007

Effective date: 20140317

TRDD Decision of grant or rejection written
A01 Written decision to grant a patent or to grant a registration (utility model)

Free format text: JAPANESE INTERMEDIATE CODE: A01

Effective date: 20140401

R150 Certificate of patent or registration of utility model

Ref document number: 5533757

Country of ref document: JP

Free format text: JAPANESE INTERMEDIATE CODE: R150

A61 First payment of annual fees (during grant procedure)

Free format text: JAPANESE INTERMEDIATE CODE: A61

Effective date: 20140414