JP2012190844A - 太陽電池モジュールの多段積載方法 - Google Patents

太陽電池モジュールの多段積載方法 Download PDF

Info

Publication number
JP2012190844A
JP2012190844A JP2011050646A JP2011050646A JP2012190844A JP 2012190844 A JP2012190844 A JP 2012190844A JP 2011050646 A JP2011050646 A JP 2011050646A JP 2011050646 A JP2011050646 A JP 2011050646A JP 2012190844 A JP2012190844 A JP 2012190844A
Authority
JP
Japan
Prior art keywords
solar cell
cell module
holding
holding member
cell modules
Prior art date
Legal status (The legal status is an assumption and is not a legal conclusion. Google has not performed a legal analysis and makes no representation as to the accuracy of the status listed.)
Withdrawn
Application number
JP2011050646A
Other languages
English (en)
Inventor
Shinsuke Tachibana
伸介 立花
Hiroshi Moriguchi
浩志 森口
Current Assignee (The listed assignees may be inaccurate. Google has not performed a legal analysis and makes no representation or warranty as to the accuracy of the list.)
Sharp Corp
Original Assignee
Sharp Corp
Priority date (The priority date is an assumption and is not a legal conclusion. Google has not performed a legal analysis and makes no representation as to the accuracy of the date listed.)
Filing date
Publication date
Application filed by Sharp Corp filed Critical Sharp Corp
Priority to JP2011050646A priority Critical patent/JP2012190844A/ja
Publication of JP2012190844A publication Critical patent/JP2012190844A/ja
Withdrawn legal-status Critical Current

Links

Images

Classifications

    • YGENERAL TAGGING OF NEW TECHNOLOGICAL DEVELOPMENTS; GENERAL TAGGING OF CROSS-SECTIONAL TECHNOLOGIES SPANNING OVER SEVERAL SECTIONS OF THE IPC; TECHNICAL SUBJECTS COVERED BY FORMER USPC CROSS-REFERENCE ART COLLECTIONS [XRACs] AND DIGESTS
    • Y02TECHNOLOGIES OR APPLICATIONS FOR MITIGATION OR ADAPTATION AGAINST CLIMATE CHANGE
    • Y02EREDUCTION OF GREENHOUSE GAS [GHG] EMISSIONS, RELATED TO ENERGY GENERATION, TRANSMISSION OR DISTRIBUTION
    • Y02E10/00Energy generation through renewable energy sources
    • Y02E10/50Photovoltaic [PV] energy

Landscapes

  • Packaging Frangible Articles (AREA)
  • Photovoltaic Devices (AREA)

Abstract

【課題】太陽電池モジュールの多段積載及び梱包の自動化を可能とする。
【解決手段】保持部材1を上下方向に所定数嵌合して長尺状の保持体1Aを作製する第1工程と、作製した2つの保持体1Aを太陽電池モジュールの幅方向の幅に合わせて立設配置する第2工程と、立設配置された2つの保持体1Aの横方向に対向する2つの保持部12に、太陽電池モジュール80の長手方向の一方の両コーナー部81をそれぞれ嵌め合わせて太陽電池モジュール80を水平状態で仮保持する第3工程と、前記第3工程を、立設配置された2つの保持体1Aの横方向に対向する2つの保持部12の最下段から最上段まで所定回数繰り返す第4工程と、第4工程終了後、水平状態で仮保持された所定数の太陽電池モジュール80の長手方向の他方の両コーナー部81に、別に作製した2つの保持体の対向す保持部をそれぞれ嵌め合わせて立設配置する第5工程と、を実施する。
【選択図】図3C

Description

本発明は、搬送等のために太陽電池モジュールを多段に積載する方法に係り、より詳細には、太陽電池モジュールを平積みして多段に積載する際の積載作業の自動化に適した太陽電池モジュールの多段積載方法に関する。
従来、水平に積み重ねられる光起電力モジュール(以下、太陽電池モジュールという。)を、輸送の際確実に保管するモジュール方式の差込みシステムが知られている(特許文献1参照)。
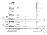
この差込みシステムでは、図11に示す成形品部材110を用いて、太陽電池モジュールを水平に積み重ねて梱包するようになっている。
簡単に説明すると、図11に示す成形品部材110は、円筒状に形成された支柱部111と、この支柱部111の周側壁から水平に延設された太陽電池モジュールのコーナー部を横から嵌め込んで挟持するための横方向に開口した挟持部112とを備え、支柱部111の上端面と下端面とには、上下に隣接配置される別の成形品部材111と順次嵌合するための、嵌合凹部113と嵌合凸部114とが設けられている。
この成形品部材110を用いて太陽電池モジュールを水平に積み重ねる場合、まず、太陽電池モジュールの各コーナー部に、それぞれ成形品部材110の挟持部112を嵌め込み、この状態で1段目の太陽電池モジュールをパレット上に載置する。次に、同様にして、2段目の太陽電池モジュールの各コーナー部に、それぞれ成形品部材110の挟持部112を嵌め込み、この状態で、パレット上に載置した1段目の太陽電池モジュールのコーナー部に嵌め込んだ成形品部材110と、2段目の太陽電池モジュールのコーナー部に嵌め込んだ成形品部材110とを上下に対峙させ、下側の成形品部材110の嵌合凹部113に上側の成形品部材110の嵌合凸部114を嵌合して、2段目の太陽電池モジュールを積み重ねる。このような手順を所定段数繰り返して、太陽電池モジュールを水平に積み重ねていくようになっている。
このような成形品部材110を用いた差込みシステムにおいて、特許文献1では、図11に示す成形品部材110は、枠部材を有しないフレームレス構造の太陽電池モジュールに好適に用いられている。
特開2006−32978号公報
ところで、フレームレス構造の太陽電池モジュールは、2枚の合わせガラス構造となっているが、太陽電池モジュールは元々建材用であるため、液晶用のガラスとは異なり、切断後のガラスには多少の寸法誤差がある。例えば、縦1400mm、横1000mmの大型の太陽電池モジュールの場合、切断されたガラスには、元々、±1mm程度の寸法誤差がある。また、コーナー部の直角度においても、90°±0.0025°〜0.0020°程度の誤差がある。
このような誤差に加え、フレームレス構造の太陽電池モジュールを作製する際、太陽電池基板(太陽電池ストリング)を2枚のガラスで挟み合わせるときに若干ずれる場合もあり、このようなずれによる誤差も考慮すると、作製された各太陽電池モジュールの寸法誤差は最大で2〜3mm程度となる。
しかし、図11に示す成形品部材110を用いて太陽電池モジュールを積み重ねていく場合、太陽電池モジュールのコーナー部の4箇所の成形品部材110を同時に嵌合していく必要があるが、上記したように各太陽電池モジュール自体に寸法誤差があるため、上下に対峙する成形品部材110同士も横方向に若干ずれた状態となる。そのため、この成形品部材110同士の嵌合を機械により自動化しようとしても、各成形品部材110の嵌合位置調整を精度良く行う必要があるため、実質的に機械による自動化が難しいといった問題があった。そのため、従来は、このような太陽電池モジュールの積み重ね作業を作業者による手作業で行う必要があった。
一方、図11に示す成形品部材110を用いて太陽電池モジュールの積み重ねを自動化するためには、太陽電池モジュールの寸法誤差分を、上下に対峙する成形品部材110の嵌合凹部113と嵌合凸部114との嵌合構造で吸収する必要がある。すなわち、上下に対峙する成形品部材110の嵌合凹部113と嵌合凸部114との嵌合構造に、少なくとも太陽電池モジュールの寸法誤差分(2〜3mm)の遊びを持たせる必要がある。そのため、積み重ねられた太陽電池モジュール同士が水平方向にずれ易い(すなわち、がたつきのある)構造となり、搬送時等の振動に対して弱い積み重ね構造になるといった問題があった。
本発明はかかる問題点を解決すべく創案されたもので、その目的は、搬送等のために太陽電池モジュールを多段に積載する方法に係り、より詳細には、多段積載の自動化に適した太陽電池モジュールの多段積載方法を提供することにある。
上記課題を解決するため、本発明に係る太陽電池モジュールの多段積載方法は、矩形状の太陽電池モジュールの一方向に対向する両端部をそれぞれ保持する保持部材を用いて前記太陽電池モジュールを多段に積み重ねて梱包する方法であって、前記保持部材は、前記太陽電池モジュールの端部を嵌め合わせて保持する保持部と、上下に隣接する他の保持部材と上下方向に嵌合する嵌合部とを備えており、前記保持部材を上下方向に所定数嵌合することにより、上下方向に一定の間隔を存して所定数の前記保持部が形成された長尺状の保持体を作製する第1工程と、作製した2つの保持体を前記太陽電池モジュールの第1の方向(幅方向)の幅に合わせて立設配置する第2工程と、立設配置された前記2つの保持体の横方向に対向する2つの保持部に、太陽電池モジュールの前記第1の方向に直交する第2の方向(長手方向)の一方寄りの両端部をそれぞれ嵌め合わせて前記太陽電池モジュールを水平状態で仮保持する第3工程と、前記第3工程を、立設配置された前記2つの保持体の横方向に対向する2つの保持部の最下段から最上段まで、または最上段から最下段まで所定回数繰り返す第4工程と、前記第4工程終了後、水平状態で仮保持された前記所定数の太陽電池モジュールの前記第2の方向の他方寄りの両端部に、別に作製した2つの保持体の対向す保持部をそれぞれ嵌め合わせて前記2つの保持体を立設配置する第5工程と、を含むことを特徴としている。また、前記第3工程では、前記2つの保持体とは別に仮保持部材を用いて前記太陽電池モジュールを水平状態で仮保持する構成としている。
このような特徴を有する本発明によれば、所定数の太陽電池モジュールを多段に積載するに際して、保持部材を所定数嵌合した2つの長尺状の保持体をまず立設配置し、この2つの保持体の対向する保持部間に太陽電池モジュールの長手方向の一方寄りの両端部をそれぞれ横方向から差し込むようにして嵌め合わせていくことで、別途仮保持部材も加えて太陽電池モジュールを水平に保持した状態で、多段に積載するようにしている。そして、このように多段に積載後、太陽電池モジュールの長手方向の他方寄りの両端部に、別の2つの保持体の対向する保持部を横方向からそれぞれ嵌め合わせて、この2つの保持体を立設配置することにより、最終的に4つの保持体で太陽電池モジュールを保持して、太陽電池モジュールの多段積載を完了する。仮保持部材は、最終的に4つの保持体で太陽電池モジュールを保持した後は除去される。
すなわち、本発明の多段積載方法では、最初に位置固定するのは2つの保持体のみであり、残り2つの保持体は、多段に積載した太陽電池モジュールの端部に、保持部を単に嵌め合わせることによって、最終的な位置決めが行われることになる。
フレームレス構造の太陽電池モジュールは、上記背景技術で説明したように、作製された太陽電池モジュールの寸法誤差が最大で2〜3mm程度となる。
しかし、本発明の多段積載方法では、このような太陽電池モジュールの寸法誤差に影響されることなく、各保持体を太陽電池モジュールの端部に嵌合することができるため、太陽電池モジュールを多段積載する際の自動化が容易となる。
また、本発明に係る太陽電池モジュールの多段積載方法では、前記太陽電池モジュールの一方向に対向する両端部が、前記太陽電池モジュールの一方向に対向する両コーナー部であってもよい。
このような構成によれば、太陽電池モジュールのコーナー部を保持部材で保持することから、水平方向へのずれ(すなわち、横ずれ)がなく、太陽電池モジュールを安定して多段に積載することができる。
また、本発明に係る太陽電池モジュールの多段積載方法では、前記保持部は、前記太陽電池モジュールの端部を挟み込むように断面コ字状に形成された構成としている。
このような構成によれば、太陽電池モジュールの端部を保持部材の保持部に嵌め合わせることで、上下方向のがたつきを防止することができる。これにより、搬送時の振動に対して、太陽電池モジュールの縦揺れを防止することができる。
また、本発明に係る太陽電池モジュールの多段積載方法では、前記保持部は、前記太陽電池モジュールの端部を下から受け止めるように縦断面L字状に形成された構成としてもよい。
このような構成によれば、太陽電池モジュールの端部を保持部材の保持部上に、単に載置するだけでよいので、高さ方向の位置合わせを正確に行わなくても、太陽電池モジュールの端部を保持部に載置することができる。これにより、太陽電池モジュールの多段積載作業及びその後の梱包作業の自動化が容易となる。
また、本発明に係る太陽電池モジュールの多段積載方法では、前記第5工程終了後に、多段に積載された前記太陽電池モジュールの間に緩衝部材を挿入する工程が含まれた構成としてもよい。
保持部材のL字状の保持部に太陽電池モジュールの端部を単に載置しただけでは、上下方向へのがたつきを防止することができないが、多段に積載された太陽電池モジュールの間に緩衝部材を挿入することで、搬送時の振動等に対する太陽電池モジュールの縦揺れを防止することができる。
また、本発明に係る太陽電池モジュールの多段積載方法は、前記太陽電池モジュールがフレームレス構造の太陽電池モジュールに好適に利用される。本発明の多段積載方法を、太陽電池モジュールの周囲にアルミ製の枠部材を有しないフレームレス構造の太陽電池モジュールの多段積載方法に適用することで、太陽電池モジュールのガラスの破損を防止しつつ、効率よく多段積載作業及びその後の梱包作業を行うことができる。
本発明に係る太陽電池モジュールの多段積載方法によれば、最初に位置固定するのは2つの保持体のみであり、残り2つの保持体については、多段に積載した太陽電池モジュールの端部に、保持部を単に嵌め合わせることによって、最終的な位置決めが行われるため、太陽電池モジュールの寸法誤差に影響されることなく、各保持体を太陽電池モジュールの端部に嵌合することができる。そのため、太陽電池モジュールの多段積載作業の自動化が容易に可能となる。
実施形態1に係る太陽電池モジュールの多段積載方法に用いられる保持部材の構成を示し、斜め上方からみた斜視図である。 実施形態1に係る太陽電池モジュールの多段積載方法に用いられる保持部材の構成を示し、斜め下方からみた斜視図である。 図1AのI−I線断面図である。 仮保持部材の構成を示す斜視図である。 実施形態1の多段積載方法の一工程を示す斜視図である。 実施形態1の多段積載方法の一工程を示す斜視図である。 実施形態1の多段積載方法の一工程を示す斜視図である。 実施形態1の多段積載方法の一工程を示す図3CのII−II線断面図である。 実施形態1の多段積載方法の一工程を示す斜視図である。 実施形態1の多段積載方法の一工程を示す図3EのIII−III線断面図である。 実施形態1の多段積載方法の一工程を示す斜視図である。 実施形態1の多段積載方法の一工程を示す斜視図である。 実施形態2に係る太陽電池モジュールの多段積載方法に用いられる保持部材の構成を示し、斜め上方からみた斜視図である。 実施形態2に係る太陽電池モジュールの多段積載方法に用いられる保持部材の構成を示し、斜め下方からみた斜視図である。 図4AのIV−IV線断面図である。 実施形態2の保持部材を用いた場合の太陽電池モジュールの積載状態の一部(コーナー部)を拡大して示す断面図である。 仮保持部材の構成を示す斜視図である。 実施形態3に係る太陽電池モジュールの多段積載方法に用いられる保持部材の構成を示し、斜め上方からみた斜視図である。 実施形態3に係る太陽電池モジュールの多段積載方法に用いられる保持部材の構成を示し、斜め下方からみた斜視図である。 図7AのV−V線断面図である。 実施形態3の多段積載方法の一工程を示す斜視図である。 実施形態3の多段積載方法の一工程を示す斜視図である。 実施形態3の多段積載方法の一工程を示す斜視図である。 実施形態3の多段積載方法の一工程を示す図8CのVI−VI線断面図である。 実施形態3の多段積載方法の一工程を示す斜視図である。 実施形態3の多段積載方法の一工程を示す図8EのVII−VII線断面図である。 実施形態3の多段積載方法の一工程を示す斜視図である。 実施形態3の多段積載方法の一工程を示す斜視図である。 実施形態4に係る太陽電池モジュールの多段積載方法に用いられる保持部材の構成を示し、斜め上方からみた斜視図である。 実施形態4に係る太陽電池モジュールの多段積載方法に用いられる保持部材の構成を示し、斜め下方からみた斜視図である。 図9AのVIII−VIII線断面図である。 実施形態4の多段積載方法によって積載された太陽電池モジュールに緩衝部材を取り付けた状態を示す斜視図である。 太陽電池モジュールの従来の多段積載方法に用いられる保持部材の構成を示す斜視図である。
以下、本発明の実施の形態について、図面を参照して説明する。
<実施形態1>
実施形態1に係る太陽電池モジュールの多段積載方法は、矩形状の太陽電池モジュールの各コーナー部をそれぞれ保持する保持部材を用いて、太陽電池モジュールを多段に積み重ねる方法であり、特に、フレームレス構造の太陽電池モジュールの多段積載方法に好適に用いられる。
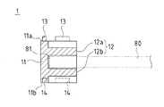
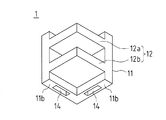
図1Aないし図1Cは、実施形態1に係る太陽電池モジュールの多段積載方法に用いられる保持部材の構成を示しており、図1Aは斜め上方からみた斜視図、図1Bは斜め下方からみた斜視図、図1Cは、図1AのI−I線断面図である。
保持部材1は、太陽電池モジュール80のコーナー部81を横から嵌め合わせて保持する構造であり、平面視L字状に屈曲形成された基体部11と、この基体部11の内側壁面から該壁面に直交する方向に延設された挟持部(保持部)12とを備えている。
挟持部12は、平行に配置された上側挟持片12aと下側挟持片12bとで構成され、図1Cに示すように、太陽電池モジュール80のコーナー部81を挟み込むように横向きに開口した縦断面コ字状に形成されている。
また、基体部11の上端面11a及び下端面11bには、上下に隣接配置される別の保持部材1と順次嵌合するための嵌合凸部13及び嵌合凹部14がそれぞれ設けられている。実施形態1では、嵌合凸部13は、基体部11の各片の上端面11aに1個ずつ、計2個設けられており、嵌合凹部14は、基体部11の各片の下端面11bに1個ずつ、計2個設けられている。ただし、嵌合凸部13及び嵌合凹部14の形成数はこれに限定されるものではなく、例えば基板部11の各辺の上端面11a及び下端面11bにそれぞれ2個ずつ、計8個設けられていてもよい。このような形状の保持部材1は、例えばPP(ポリプロピレン)やABS(アクリロニトリル・ブタジエン・スチレン共重合体)等の樹脂による射出成形によって形成されている。
実施形態1では、このような形状の保持部材1を用いてフレームレス構造の太陽電池モジュールを水平に積み重ねて梱包する。
また、実施形態1の多段積載方法では、図2に示すような仮保持部材2を用いる。仮保持部材2は、太陽電池モジュール80を積載後、梱包前に取り除かれる部材である。
仮保持部材2は、矩形状の支持基板21に立設された支柱22の一側面に、上下方向に一定の間隔T1を存して同方向に水平に延設された多数の腕杆23を備えている。ここで、一定の間隔T1は、保持部材1を上下に積み重ねるように嵌合したとき、隣接する挟持部材12同士の間隔(具体的には、下側挟持片12b同士の間隔)と同じ間隔である。
なお、図示は省略しているが、支持基板21に車輪を取り付けておくことで、仮保持部材2のスムーズな移動が可能となるようにしておいてもよい。
次に、上記各部材1,2を用いた実施形態1の多段積載方法について、図3Aないし図3Hに示す各工程図を参照して説明する。
第1工程では、図3Aに示すように、多数用意した保持部材1を上下方向に所定数嵌合することにより、上下方向に一定の間隔を存して所定数の挟持部12が形成された長尺状の保持体1Aを作製する。ここで、実施形態1では、太陽電池モジュール80を例えば水平に10段積み重ねて一体梱包するものとすると、1つの保持体1Aは、10個の保持部材1を上下一体に、かつ、着脱可能に嵌め合わせた構造となる。
第2工程では、図3Bに示すように、このように作製した2つの保持体1Aを、太陽電池モジュール80の幅方向(第1の方向)の幅T11に合わせて立設配置する。ここで、保持体1Aを立設させる手法としては、実施形態1では、図3Bに示すように、板状の立設基板4を用意し、この立設基板4に、保持体1Aの下端部(すなわち、最下段の保持部材1の基体部11の下端部15)が着脱可能に嵌まり込むように、L字状に形成された一対の貫通穴41,41を設けておく。そして、この貫通穴41,41に各保持体1Aの下端部15を嵌め合わせることで、各保持体1Aを立設配置する構成としている。ただし、立設配置の手法はこのような構成に限定されるものではなく、例えば立設基板4の代わりに滑りにくいゴム状の基材を床に敷設し、ここに2つの保持体1Aを幅T11の間隔で立設配置し、上部を図示しない支持杆のようなもので横方向から支持するようにしてもよい。
第3工程では、図3C及び図3Dに示すように、立設配置された2つの保持体1Aの各挟持部12に、太陽電池モジュール80の幅方向に直交する長手方向(第2の方向)の一方の両コーナー部(図3C中、左側の両コーナー部)81をそれぞれ横方向(図3C中、X方向)から嵌め合わせ、この嵌め合わせた状態で、2つの仮保持部材2を用いて太陽電池モジュール80の長手方向の中程(より具体的には、図3C中、右側のコーナー部81に近い箇所)を幅方向の両側から(図3C中、Y1方向から)挟み込むように仮保持して、太陽電池モジュール80を水平状態に保持する。
図3C及び図3Dでは、太陽電池モジュール80を保持体1Aの最下段から順次嵌め合わせる構成としているため、図3Dに示すように、下から1段目の太陽電池モジュール80は、保持体1Aの下から1段目の保持部材1の下側挟持片12bと仮保持部材2の下から1段目の腕杆23とによって支持されることになる。因みに、図3Dに示すように、保持体1Aと仮保持部材2とを立設した状態で、各段の保持部材1の下側挟持片12bと仮保持部材2の各段の腕杆23とは、同じ高さとなるように設けられている。
次に、図3E及び図3Fに示すように、仮保持部材2の下から2段目の腕杆23上を通して、2つの保持体1Aの下から2段目の保持部材1の挟持部12に、2段目の太陽電池モジュール80の長手方向の一方の両コーナー部81をそれぞれ横方向(図3E中、X方向)から嵌め合わせる。これにより、図3Fに示すように、保持体1Aの下から2段目の保持部材1の下側挟持片12bと仮保持部材2の下から2段目の腕杆23とによって、下から2段目の太陽電池モジュール80が支持されることになる。
この第3工程を10回繰り返すこと(第4工程を実施すること)により、立設配置された2つの保持体1Aと2つの仮保持部材2とによって、10個の太陽電池モジュール80が水平状態で多段に積載される。
第5工程では、図3Gに示すように、水平状態で仮保持された10個の太陽電池モジュール80の長手方向の他方の両コーナー部(図3G中、右側の両コーナー部)81に、別に作製した2つの保持体1Aの挟持部12をそれぞれ横方向(図3G中、X方向)から嵌め合わせて、2つの保持体1Aを立設配置する。これにより、図3Hに示すように、10個の太陽電池モジュール80は、4本の保持体1Aによって4隅のコーナー部81が保持されることになる。この後、対向している2つの仮保持部材2を幅方向(図3H中、Y2方向)に広げるように移動させることで、仮保持部材2の腕杆23を太陽電池モジュール80の間から引き抜く。
以上により、10個の太陽電池モジュール80が水平状態で積み重ねられたので、この後は、図示しない梱包工程を実施して、4つの保持体1Aに保持された10個の太陽電池モジュール80を一体に梱包する。梱包方法としは、従来周知の方法で行えばよいが、例えば、太陽電池モジュール80の周囲を4つの保持体1Aも含めて段ボール等で被覆し、樹脂バンドで結束することによって一体に梱包することができる。
なお、このような梱包に際しては、立設基板4も除去される。すなわち、立設基板4は、最初の2つの保持体1Aを立設させるためのものであり、4本の保持体1Aで10個の太陽電池モジュール80を支持した後は、不要である。すなわち、立設基板4も仮保持部材2と同様、新たな梱包を行うたびに再利用されるリユース部材である。
以上説明したように、実施形態1の多段積載方法では、最初に位置固定するのは2つの保持体1Aのみであり、残り2つの保持体1Aは、多段に積載した太陽電池モジュール80の残り2つのコーナー部81に、挟持部12をそれぞれ単に嵌め合わせることによって、最終的な位置決めが行われることになる。すなわち、太陽電池モジュール80の寸法誤差に影響されることなく、各保持体1Aを太陽電池モジュール80の各コーナー部81に嵌合することができるため、機械による自動梱包化が容易となる。
また、太陽電池モジュール80のコーナー部81の2辺をL字状の保持部材1で保持することから、水平方向へのずれ(すなわち、横ずれ)がなく、太陽電池モジュール80を安定して多段に積載することができる。
さらに、太陽電池モジュール80のコーナー部81を保持部材1の挟持部12に嵌め合わせることで、上下方向のがたつきも防止することができる。すなわち、搬送時の振動に対して、太陽電池モジュール80の縦揺れを防止することができる。
さらにまた、実施形態1の多段積載方法では、フレームレス構造の太陽電池モジュールの梱包作業を、太陽電池モジュールのガラス端部の破損を防止しつつ、効率よく行うことができる。
なお、実施形態1では、太陽電池モジュール80を多段に積載していく第3工程の繰り返し(すなわ、第4工程)を、最下段から始めて最上段まで実施する構成としているが、これとは逆に、最上段から始めて最下段まで実施する構成としてもよい。
<実施形態2>
実施形態2の多段積載方法も、実施形態1の多段積載方法と基本的に同じであるが、使用する保持部材1の形状が異なっている。
図4A〜図4Cは、実施形態2に係る太陽電池モジュールの多段積載方法に用いられる保持部材の構成を示しており、図4Aは斜め上方からみた斜視図、図4Bは斜め下方からみた斜視図、図4Cは、図4AのIV−IV線断面図である。
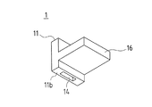
実施形態2に用いられる保持部材1は、太陽電池モジュール80のコーナー部81を下から受け止める構造であり、平面視L字状に屈曲形成された基体部11と、この基体部11の内側壁面から該壁面に直交する方向に延設された受け部(保持部)16とを備えている。
受け部16は、図4Cに示すように、太陽電池モジュール80のコーナー部81を下から受けるように形成されており、保持部材1全体の形状としては、縦断面略L字状に形成されている。
また、基体部11の上端面11a及び下端面11bには、上下に隣接配置される別の保持部材1と順次嵌合するための嵌合凸部13及び嵌合凹部14がそれぞれ設けられている。実施形態2でも、嵌合凸部13は、基体部11の各片の上端面11aに1個ずつ、計2個設けられており、嵌合凹部14は、基体部11の各片の下端面11bに1個ずつ、計2個設けられている。ただし、嵌合凸部13及び嵌合凹部14の形成数はこれに限定されるものではなく、例えば基板部11の上端面11a及び下端面11bにそれぞれ2個ずつ、計4個設けられていてもよい。このような形状の保持部材1は、例えばPP(ポリプロピレン)やABS(アクリロニトリル・ブタジエン・スチレン共重合体)等の樹脂による射出成形によって形成されている。
実施形態2では、このような形状の保持部材1を用いてフレームレス構造の太陽電池モジュールを水平に積み重ねて梱包する。
多段積載方法は、図3A〜図3Hを用いて説明した実施形態1の多段積載方法と基本的に同じであるので、ここでは詳細な説明を省略するが、違うところは、図3C及び図3Dで示した第3工程において、太陽電池モジュール80のコーナー部81を保持部材1の挟持部12に横方向から嵌め合わせるのではなく、図5に示すように、保持部材1の受け部16上に横方向から載置するだけである。図5は、太陽電池モジュール80の積載状態のコーナー部を拡大して示す断面図である。
このような構成とすれば、太陽電池モジュール80のコーナー部81を保持部材1の受け部16上に単に載置するだけでよいので、高さ方向の位置合わせを正確に行わなくても、太陽電池モジュール80のコーナー部81を受け部16上に載置することができる。これにより、太陽電池モジュール80の積載・梱包作業の機械による自動化が容易となる。
また、実施形態2の保持部材1を用いた場合には、図5に示すように、上下の太陽電池モジュール80の間に隙間Pが生じることになる。そして、太陽電池モジュール80のコーナー部81は、保持部材1の受け部16上に単に載置されているだけであるため、搬送時等の振動により、太陽電池モジュール80がこの隙間Pの間で上下に揺れることになる。ここで、隙間Pを設けている理由は、太陽電池モジュール80の裏面側に端子ボックス(図示省略)が取り付けられているため、太陽電池モジュール80を水平状態で多段に積載するためには、少なくともこの端子ボックスの厚み分以上の隙間を開ける必要があるからである。
そこで、実施形態2では、第5工程実施後、梱包前に、多段に積載された太陽電池モジュール80の間に緩衝部材5を挿入する工程を追加している。緩衝部材5を挿入することで、搬送時の太陽電池モジュール80の縦揺れを防止することができる。
ここで、緩衝部材5としては、例えば発砲スチロールで形成した立方体形状または円柱形状の小片を、各太陽電池モジュール80間に差し込むようにしてもよいが、これでは手間がかかるため、例えば図6に示すように、櫛歯状に形成された一体構造の緩衝部材5を用意し、これを多段に積層された太電池モジュール80の各隙間Pに横方向から一体で差し込むようにしてもよい。そのため、緩衝部材5の各櫛歯部51の厚みT31は、隙間Pと略等しい厚みに形成され、櫛歯部51間の距離T32は、太陽電池モジュール80の厚みT41に略等しい距離に形成されている。これにより、実施形態1の保持部材1による挟持部12の挟持構造と同様、搬送時の縦揺れを防止することができる。
<実施形態3>
実施形態1,2では、保持部材1によって太陽電池モジュール80のコーナー部81を保持する構造であったが、実施形態3では、保持部材1によって太陽電池モジュール80の側端部、より具体的には、コーナー部81を除く長手方向に沿う両側端部を保持する構造としている。そのため、実施形態3では、保持部材1の形状が実施形態1とは異なっている。
図7A〜図7Cは、実施形態3に係る保持部材1の構造を示している。
実施形態3では、太陽電池モジュール80の側端部を保持するため、基体部11が平面視L字状ではなく、直線状となっている。すなわち、保持部材1は、太陽電池モジュール80のコーナー部81を除く長手方向に沿う両側端部82を横から嵌め合わせて保持する構造であり、平面視長方形状に形成された基体部11と、この基体部11の一方の側面から該側面に直交する方向に延設された挟持部12とを備えている。
挟持部12は、平行に配置された上側挟持片12aと下側挟持片12bとで構成され、図7Cに示すように、太陽電池モジュール80の側端部82を挟み込むように横向きに開口した縦断面コ字状に形成されている。
また、基体部11の上端面11a及び下端面11bには、上下に隣接配置される別の保持部材1と順次嵌合するための嵌合凸部13及び嵌合凹部14がそれぞれ設けられている。実施形態3では、嵌合凸部13は、基体部11の各片の上端面11aに1個ずつ、計2個設けられており、嵌合凹部14は、基体部11の各片の下端面11bに1個ずつ、計2個設けられている。ただし、嵌合凸部13及び嵌合凹部14の形成数はこれに限定されるものではなく、例えば基板部11の上端面11a及び下端面11bにそれぞれ2個ずつ、計4個設けられていてもよい。このような形状の保持部材1は、例えばPP(ポリプロピレン)やABS(アクリロニトリル・ブタジエン・スチレン共重合体)等の樹脂による射出成形によって形成されている。
実施形態3では、このような形状の保持部材1を用いてフレームレス構造の太陽電池モジュールを水平に積み重ねて梱包する。また、実施形態3の多段積載方法でも、図2に示す仮保持部材2を用いる。
次に、上記各部材1,2を用いた実施形態3の多段積載方法について、図8Aないし図8Hに示す各工程図を参照して説明する。
第1工程では、図8Aに示すように、多数用意した保持部材1を上下方向に所定数嵌合することにより、上下方向に一定の間隔を存して所定数の挟持部12が形成された長尺状の保持体1Aを作製する。ここで、実施形態3でも、太陽電池モジュール80を水平に10段積み重ねて一体梱包するものとし、1つの保持体1Aは、10個の保持部材1を上下一体に、かつ、着脱可能に嵌め合わせた構造としている。
第2工程では、図8Bに示すように、このように作製した2つの保持体1Aを、太陽電池モジュール80の幅方向の幅T11に合わせて立設配置する。ここで、保持体1Aを立設させる手法としては、実施形態1と同様、図8Bに示すように、板状の立設基板4を用意し、この立設基板4に、保持体1Aの下端部(すなわち、最下段の保持部材1の基体部11の下端部15)が着脱可能に嵌まり込むように、I字状に形成された一対の貫通穴41,41を設けておき、この貫通穴41,41に各保持体1Aの下端部15を嵌め合わせることで、各保持体1Aを立設配置する構成としている。ただし、立設配置の手法はこのような構成に限定されるものではなく、例えば立設基板4の代わりに滑りにくいゴム状の基材を敷設し、ここに2つの保持体1Aを幅T11の間隔で立設配置し、上部を図示しない支持杆のようなもので横方向から支持するようにしてもよい。
第3工程では、図8C及び図8Dに示すように、立設配置された2つの保持体1Aの各挟持部12に、太陽電池モジュール80の幅方向に直交する長手方向の一方の両コーナー部(図8C中、左側の両コーナー部)81をそれぞれ横方向(図8C中、X方向)から嵌め合わせて若干通過させ、この嵌め合わせた状態で、2つの仮保持部材2を用いて太陽電池モジュール80の長手方向の中程(より具体的には、図8C中、右側のコーナー部81に近い箇所)を幅方向の両側から(図8C中、Y1方向から)挟み込むように仮保持して、太陽電池モジュール80を水平状態に保持する。
図8C及び図8Dでは、太陽電池モジュール80を保持体1Aの最下段から順次嵌め合わせる構成としているため、図8Dに示すように、下から1段目の太陽電池モジュール80は、保持体1Aの下から1段目の保持部材1の下側挟持片12bと仮保持部材2の下から1段目の腕杆23とによって支持されることになる。因みに、図8Dに示すように、保持体1Aと仮保持部材2とを立設した状態で、各段の保持部材1の下側挟持片12bと仮保持部材2の各段の腕杆23とは、同じ高さとなるように設けられている。
次に、図8E及び図8Fに示すように、仮保持部材2の下から2段目の腕杆23上を通して、2つの保持体1Aの下から2段目の保持部材1の挟持部12に、2段目の太陽電池モジュール80の長手方向の一方の両コーナー部81をそれぞれ横方向(図8E中、X方向)から嵌め合わせて若干通過させる。これにより、図8Fに示すように、保持体1Aの下から2段目の保持部材1の下側挟持片12bと仮保持部材2の下から2段目の腕杆23とによって、下から2段目の太陽電池モジュール80が支持されることになる。
この第3工程を10回繰り返すこと(第4工程)により、立設配置された2つの保持体1Aと2つの仮保持部材2とによって、10個の太陽電池モジュール80が水平状態で多段に積載される。
第5工程では、図8Gに示すように、水平状態で仮保持された10個の太陽電池モジュール80の長手方向の他方の両コーナー部(図8G中、右側の両コーナー部)81寄りの側端部82に、別に作製した2つの保持体1Aの挟持部12をそれぞれ横方向(図8G中、Y1方向)から嵌め合わせて、2つの保持体1Aを立設配置する。これにより、10個の太陽電池モジュール80は、4本の保持体1Aによって側端部82の4箇所が保持されることになる。この後、対向している2つの仮保持部材2を幅方向に広げるように移動(図8G中、Y2方向に移動)させることで、仮保持部材2の腕杆23を太陽電池モジュール80の間から引き抜く。
以上により、図8Hに示すように、10個の太陽電池モジュール80が水平状態で積み重ねられたので、この後は、図示しない梱包工程を実施して、4つの保持体1Aに保持された10個の太陽電池モジュール80を一体に梱包する。
なお、このような梱包に際しては、立設基板4も除去される。すなわち、立設基板4は、最初の2つの保持体1Aを立設させるためのものであり、4本の保持体1Aで10個の太陽電池モジュール80を支持した後は、不要である。すなわち、立設基板4も仮保持部材2と同様、新たな梱包を行うたびに再利用されるリユース部材である。
以上説明したように、実施形態3の多段積載方法では、最初に位置固定するのは2つの保持体1Aのみであり、残り2つの保持体1Aは、多段に積載した太陽電池モジュール80の両側縁部82に、挟持部12をそれぞれ単に嵌め合わせることによって、最終的な位置決めが行われることになる。すなわち、太陽電池モジュール80の寸法誤差に影響されることなく、各保持体1Aを太陽電池モジュール80の両側縁部82に嵌合することができるため、機械による自動梱包化が容易となる。
また、太陽電池モジュール80の側端部82を保持部材1の挟持部12に嵌め合わせることで、上下方向のがたつきも防止することができる。すなわち、搬送時の振動に対して、太陽電池モジュール80の縦揺れを防止することができる。
さらにまた、実施形態3の多段積載方法では、フレームレス構造の太陽電池モジュールの梱包作業を、太陽電池モジュールのガラス端部の破損を防止しつつ、効率よく行うことができる。
なお、実施形態3では、太陽電池モジュール80を多段に積載していく第3工程の繰り返し(すなわち、第4工程)を、最下段から始めて最上段まで実施する構成としているが、これとは逆に、最上段から始めて最下段まで実施する構成としてもよい。
<実施形態4>
実施形態4の多段積載方法も、実施形態3の多段積載方法と基本的に同じであるが、使用する保持部材1の形状が異なっている。
図9A〜図9Cは、実施形態4に係る太陽電池モジュールの多段積載方法に用いられる保持部材の構成を示す図であり、図9Aは斜め上方からみた斜視図、図9Bは斜め下方からみた斜視図、図9Cは、図9AのVIII−VIII線断面図である。
実施形態4に用いられる保持部材1は、太陽電池モジュール80の側端部82を下から受け止める構造であり、平面視長方形状に形成された基体部11と、この基体部11の一方の側面から該側面に直交する方向に延設された受け部16とを備えている。
受け止16は、図9Cに示すように、太陽電池モジュール80の側端部82を下から受けるように形成されており、保持部材1全体の形状としては、縦断面略L字状に形成されている。
また、基体部11の上端面11a及び下端面11bには、上下に隣接配置される別の保持部材1と順次嵌合するための嵌合凸部13及び嵌合凹部14がそれぞれ設けられている。実施形態4でも、嵌合凸部13は、基体部11の各片の上端面11aに1個ずつ、計2個設けられており、嵌合凹部14は、基体部11の各片の下端面11bに1個ずつ、計2個設けられている。ただし、嵌合凸部13及び嵌合凹部14の形成数はこれに限定されるものではなく、例えば基板部11の上端面11aと下端面11bとに2個ずつ、計4個設けられていてもよい。このような形状の保持部材1は、例えばPP(ポリプロピレン)やABS(アクリロニトリル・ブタジエン・スチレン共重合体)等の樹脂による射出成形によって形成されている。
実施形態4では、このような形状の保持部材1を用いてフレームレス構造の太陽電池モジュールを水平に積み重ねて梱包する。
多段積載方法は、図7A〜図7Hを用いて説明して実施形態3の多段積載方法と基本的に同じであるので、ここでは詳細な説明を省略する。
このような構成とすれば、太陽電池モジュール80の側端部82を保持部材1の受け部16上に単に載置するだけでよいので、高さ方向の位置合わせを正確に行わなくても、太陽電池モジュール80の側端部82を受け部16上に載置することができる。これにより、太陽電池モジュール80の積載・梱包作業の機械による自動化が容易となる。
また、実施形態4の保持部材1を用いた場合も、実施形態2で説明した図5に示すように、上下の太陽電池モジュール80の間に隙間Pが生じることになる。そして、太陽電池モジュール80の側端部82は、保持部材1の受け部16上に単に載置されているだけであるため、搬送時等の振動により、太陽電池モジュール80がこの隙間Pの間で上下に揺れることになる。
そこで、実施形態4でも、実施形態2と同様に、第5工程終了後、梱包前に、多段に積載された太陽電池モジュール80の間に緩衝部材5を挿入する工程を追加している。緩衝部材5を挿入することで、搬送時の太陽電池モジュール80の縦揺れを防止することができる。
緩衝部材5としては、実施形態2で説明した図6に示すように、櫛歯状に形成された一体構造の緩衝部材5を用いることができる。
ここで、実施形態4では、保持部材1は太陽電池モジュール80の側端部82を支持(保持)しているため、多段に積載された状態で太陽電池モジュール80のコーナー部81が露出した状態となる。コーナー部81は、僅かな衝撃でも破損しやすい箇所であるため、実施形態4では、図6に示す緩衝部材5を、このコーナー部81に差し込むようにしてもよい。この場合には、図10に示すように、4隅すべてのコーナー部81にそれぞれ緩衝部材5を差し込むことになる。これにより、実施形態3の保持部材1による挟持部12の挟持構造と同様、搬送時の縦揺れを防止しつつ、コーナー部81の破損も防止することができる。
なお、今回開示した実施形態はすべての点で例示であって、限定的な解釈の根拠となるものではない。従って、本発明の技術的範囲は、上記した実施形態のみによって解釈されるものではなく、特許請求の範囲の記載に基づいて画定される。また、特許請求の範囲と均等の意味及び範囲内でのすべての変更が含まれる。
1 保持部材
1A 保持体
2 仮保持部材
4 設置基板
5 緩衝部材
11 基体部
11a 上端面
11b 下端面
12 挟持部(保持部)
12a 上側挟持片
12b 下側挟持片
13 嵌合凸部(嵌合部)
14 嵌合凹部(嵌合部)
15 下端部
16 受け部(保持部)
21 支持基板
22 支柱
23 腕杆
41 貫通穴
51 櫛歯部
80 太陽電池モジュール
81 コーナー部
82 側端部

Claims (7)

  1. 矩形状の太陽電池モジュールの一方向に対向する両端部をそれぞれ保持する保持部材を用いて前記太陽電池モジュールを多段に積み重ねる方法であって、
    前記保持部材は、前記太陽電池モジュールの端部を嵌め合わせて保持する保持部と、上下に隣接する他の保持部材と上下方向に嵌合する嵌合部とを備えており、
    前記保持部材を上下方向に所定数嵌合することにより、上下方向に一定の間隔を存して所定数の前記保持部が形成された長尺状の保持体を作製する第1工程と、
    作製した2つの保持体を前記太陽電池モジュールの第1の方向の幅に合わせて立設配置する第2工程と、
    立設配置された前記2つの保持体の横方向に対向する2つの保持部に、太陽電池モジュールの前記第1の方向に直交する第2の方向の一方寄りの両端部をそれぞれ嵌め合わせて前記太陽電池モジュールを水平状態で仮保持する第3工程と、
    前記第3工程を、立設配置された前記2つの保持体の横方向に対向する2つの保持部の最下段から最上段まで、または最上段から最下段まで所定回数繰り返す第4工程と、
    前記第4工程終了後、水平状態で仮保持された前記所定数の太陽電池モジュールの前記第2の方向の他方寄りの両端部に、別に作製した2つの保持体の対向す保持部をそれぞれ嵌め合わせて前記2つの保持体を立設配置する第5工程と、
    を含むことを特徴とする太陽電池モジュールの多段積載方法。
  2. 請求項1に記載の太陽電池モジュールの多段積載方法であって、
    前記第3工程では、前記2つの保持体とは別に仮保持部材を用いて前記太陽電池モジュールを水平状態で仮保持することを特徴とする太陽電池モジュールの多段積載方法。
  3. 請求項1または請求項2に記載の太陽電池モジュールの多段積載方法であって、
    前記太陽電池モジュールの一方向に対向する両端部が、前記太陽電池モジュールの一方向に対向する両コーナー部であることを特徴とする太陽電池モジュールの多段積載方法。
  4. 請求項1から請求項3までのいずれか1項に記載の太陽電池モジュールの多段積載方法であって、
    前記保持部は、前記太陽電池モジュールの端部を挟み込むように断面コ字状に形成されていることを特徴とする太陽電池モジュールの多段積載方法。
  5. 請求項1から請求項3までのいずれか1項に記載の太陽電池モジュールの多段積載方法であって、
    前記保持部は、前記太陽電池モジュールの端部を下から受け止めるように縦断面L字状に形成されていることを特徴とする太陽電池モジュールの多段積載方法。
  6. 請求項5に記載の太陽電池モジュールの多段積載方法であって、
    前記第5工程終了後に、多段に積載された前記太陽電池モジュールの間に緩衝部材を挿入する工程が含まれることを特徴とする太陽電池モジュールの多段積載方法。
  7. 請求項1から請求項6までのいずれか1項に記載の太陽電池モジュールの多段積載方法であって、
    前記太陽電池モジュールがフレームレス構造の太陽電池モジュールであることを特徴とする太陽電池モジュールの多段積載方法。
JP2011050646A 2011-03-08 2011-03-08 太陽電池モジュールの多段積載方法 Withdrawn JP2012190844A (ja)

Priority Applications (1)

Application Number Priority Date Filing Date Title
JP2011050646A JP2012190844A (ja) 2011-03-08 2011-03-08 太陽電池モジュールの多段積載方法

Applications Claiming Priority (1)

Application Number Priority Date Filing Date Title
JP2011050646A JP2012190844A (ja) 2011-03-08 2011-03-08 太陽電池モジュールの多段積載方法

Publications (1)

Publication Number Publication Date
JP2012190844A true JP2012190844A (ja) 2012-10-04

Family

ID=47083734

Family Applications (1)

Application Number Title Priority Date Filing Date
JP2011050646A Withdrawn JP2012190844A (ja) 2011-03-08 2011-03-08 太陽電池モジュールの多段積載方法

Country Status (1)

Country Link
JP (1) JP2012190844A (ja)

Cited By (5)

* Cited by examiner, † Cited by third party
Publication number Priority date Publication date Assignee Title
JP2014162516A (ja) * 2013-02-26 2014-09-08 Sekisui Plastics Co Ltd 梱包体及び梱包材
KR101610239B1 (ko) 2014-09-17 2016-04-07 정영식 인쇄물 건조용 선반의 간격 조절구
KR101819136B1 (ko) 2016-03-30 2018-01-16 인하대학교 산학협력단 풍력타워 모듈부재용 운반 거치대
WO2018043233A1 (ja) * 2016-09-02 2018-03-08 パナソニックIpマネジメント株式会社 太陽電池モジュール、その梱包形態、及び、太陽光発電装置
US10305074B2 (en) 2016-01-26 2019-05-28 Samsung Sdi Co., Ltd. Battery assembly

Cited By (7)

* Cited by examiner, † Cited by third party
Publication number Priority date Publication date Assignee Title
JP2014162516A (ja) * 2013-02-26 2014-09-08 Sekisui Plastics Co Ltd 梱包体及び梱包材
KR101610239B1 (ko) 2014-09-17 2016-04-07 정영식 인쇄물 건조용 선반의 간격 조절구
US10305074B2 (en) 2016-01-26 2019-05-28 Samsung Sdi Co., Ltd. Battery assembly
KR101819136B1 (ko) 2016-03-30 2018-01-16 인하대학교 산학협력단 풍력타워 모듈부재용 운반 거치대
WO2018043233A1 (ja) * 2016-09-02 2018-03-08 パナソニックIpマネジメント株式会社 太陽電池モジュール、その梱包形態、及び、太陽光発電装置
CN109804555A (zh) * 2016-09-02 2019-05-24 松下知识产权经营株式会社 太阳能电池组件、其捆包方式和太阳能发电装置
JPWO2018043233A1 (ja) * 2016-09-02 2019-07-11 パナソニックIpマネジメント株式会社 太陽電池モジュール、その梱包形態、及び、太陽光発電装置

Similar Documents

Publication Publication Date Title
JP5924471B2 (ja) 薄板パネルの積重ねに用いるモジュール、および薄板パネルの積重ね方法
JP2012190844A (ja) 太陽電池モジュールの多段積載方法
US20140367305A1 (en) Supporting structure, loading and packing device, supporting base plate, and packing method
EP2647581A1 (en) Rectangular thin panel conveyance unit
CN104080712B (zh) 薄板面板的传送单元
US9352900B2 (en) Support frame for packaging liquid crystal glass panel
JP4988886B2 (ja) パネル材の梱包用コーナー支持部材
JP2012136241A (ja) 薄板パネルの積重ねに用いるモジュール、および薄板パネルの積重ね方法
WO2013118808A1 (ja) 金属製パレット
WO2019127795A1 (zh) 液晶面板包装箱
JP5868211B2 (ja) 積載梱包具及び梱包方法
JP2014019486A (ja) パネル材の梱包用コーナー支持機構
JP2013129460A (ja) 支持構造体及び梱包方法
JP2012188122A (ja) 太陽電池モジュールの多段積載具及びこの多段積載具を用いた太陽電池モジュールの多段積載方法
JP2013154928A (ja) 太陽電池モジュール積載具及び太陽電池モジュール積載ユニット
JP2013129444A (ja) 保持構造体
JP2011051648A (ja) 太陽電池パネル用梱包材
KR101098600B1 (ko) 백라이트 유닛 운반용 포장 블록 및 어셈블리
JP6069285B2 (ja) 収容ラック
JP2011051643A (ja) 太陽電池パネル用梱包材
JP2013133161A (ja) 太陽電池モジュール積載ユニット
JP5063796B1 (ja) 梱包構造体および梱包方法
JP5401983B2 (ja) 組み立て式コンテナ
JP5665525B2 (ja) 板状体の載置装置、および板状体の運搬装置
JP2023018311A (ja) 収納ラック

Legal Events

Date Code Title Description
A300 Application deemed to be withdrawn because no request for examination was validly filed

Free format text: JAPANESE INTERMEDIATE CODE: A300

Effective date: 20140513