JP2012173156A - 赤外線センサモジュール - Google Patents

赤外線センサモジュール Download PDF

Info

Publication number
JP2012173156A
JP2012173156A JP2011035910A JP2011035910A JP2012173156A JP 2012173156 A JP2012173156 A JP 2012173156A JP 2011035910 A JP2011035910 A JP 2011035910A JP 2011035910 A JP2011035910 A JP 2011035910A JP 2012173156 A JP2012173156 A JP 2012173156A
Authority
JP
Japan
Prior art keywords
infrared sensor
temperature
chip
infrared
sensor chip
Prior art date
Legal status (The legal status is an assumption and is not a legal conclusion. Google has not performed a legal analysis and makes no representation as to the accuracy of the status listed.)
Withdrawn
Application number
JP2011035910A
Other languages
English (en)
Inventor
Ryuhei Sakamoto
竜平 坂本
Koji Tsuji
幸司 辻
Current Assignee (The listed assignees may be inaccurate. Google has not performed a legal analysis and makes no representation or warranty as to the accuracy of the list.)
Panasonic Corp
Original Assignee
Panasonic Corp
Priority date (The priority date is an assumption and is not a legal conclusion. Google has not performed a legal analysis and makes no representation as to the accuracy of the date listed.)
Filing date
Publication date
Application filed by Panasonic Corp filed Critical Panasonic Corp
Priority to JP2011035910A priority Critical patent/JP2012173156A/ja
Publication of JP2012173156A publication Critical patent/JP2012173156A/ja
Withdrawn legal-status Critical Current

Links

Images

Landscapes

  • Photometry And Measurement Of Optical Pulse Characteristics (AREA)

Abstract

【課題】赤外線センサチップの画素部ごとの感度の均一化を図ることが可能な赤外線センサモジュールを提供する。
【解決手段】サーモパイル30aにより構成される感温部30を具備する複数の画素部2が半導体基板1の一表面側においてアレイ状に配置された赤外線センサチップ100と、赤外線センサチップ100と協働するICチップ122と、赤外線センサチップ100およびICチップ122が収納されたパッケージ133とを備えている。各画素部2ごとにサーモパイル30aの冷接点T2の温度を調整可能な温度調整部90が設けられている。
【選択図】図1

Description

本発明は、赤外線センサモジュールに関するものである。
従来から、サーモパイルからなる感温部を具備する複数の画素部がベース基板の一表面側においてアレイ状に配置された赤外線アレイセンサと、この赤外線アレイセンサの出力信号を信号処理するICチップと、赤外線アレイセンサおよびICチップが収納されたパッケージとを備えた赤外線センサモジュールが提案されている(例えば、特許文献1)。
上述のパッケージは、赤外線アレイセンサおよびICチップが横並びで実装されたパッケージ本体と、このパッケージ本体との間に赤外線アレイセンサおよびICチップを囲む形でパッケージ本体に覆着されたパッケージ蓋とで構成されている。ここにおいて、パッケージ蓋は、赤外線アレイセンサでの検知対象の赤外線を収束するレンズを備えている。要するに、パッケージ蓋は、赤外線アレイセンサでの検知対象の赤外線を透過する機能を有している。
また、赤外線アレイセンサは、感温部を構成しているサーモパイルの温接点が、ベース基板に形成された堀込部にベース基板1の厚み方向において重なる領域に配置され、冷接点が上記厚み方向において掘込部に重ならない領域に配置されている。
特開2010−237117号公報
上述の赤外線センサモジュールでは、赤外線アレイセンサとICチップとが1つのパッケージ内に収納されており、赤外線アレイセンサとICチップとの間の配線を短くできるので、外来ノイズの影響を低減でき、耐ノイズ性を向上できる。
しかしながら、この赤外線センサモジュールでは、レンズの形状やパッケージ内の温度分布の影響で、赤外線アレイセンサにおける各画素部の冷接点の温度がばらつき、画素部ごとの感度がばらついてしまうことがある。つまり、この赤外線センサモジュールでは、赤外線アレイセンサ(赤外線センサチップ)の面内で感度がばらついてしまうことがある。
本発明は上記事由に鑑みて為されたものであり、その目的は、赤外線センサチップの画素部ごとの感度の均一化を図ることが可能な赤外線センサモジュールを提供することにある。
本発明の赤外線センサモジュールは、サーモパイルにより構成される感温部を具備する複数の画素部が半導体基板の一表面側においてアレイ状に配置された赤外線センサチップと、前記赤外線センサチップと協働するICチップと、前記赤外線センサチップおよび前記ICチップが収納されたパッケージとを備え、前記各画素部ごとに前記サーモパイルの冷接点と温接点との少なくとも一方の温度を調整可能な温度調整部が設けられてなることを特徴とする。
この赤外線センサモジュールにおいて、前記温度調整部は、前記冷接点の温度を昇温させる機能を有することで前記冷接点の温度を調整可能であり、前記ICチップは、前記温度調整部を制御する機能を有することが好ましい。
この赤外線センサモジュールにおいて、前記温度調整部は、前記冷接点の温度を降温させる機能を有することで前記冷接点の温度を調整可能であり、前記ICチップは、前記温度調整部を制御する機能を有することが好ましい。
この赤外線センサモジュールにおいて、前記温度調整部は、前記各画素部それぞれにおいて前記冷接点における前記温接点側とは反対側に配置された薄膜ヒータからなることが好ましい。
この赤外線センサモジュールにおいて、前記温度調整部は、前記半導体基板の他表面側において前記各画素部それぞれに対応する領域ごとに1対1で配置された複数のペルチェ素子からなることが好ましい。
この赤外線センサモジュールにおいて、前記温度調整部は、前記冷接点の温度を昇温させる機能および降温させる機能を有することで前記冷接点の温度を調整可能であり、前記ICチップは、前記温度調整部を制御する機能を有することが好ましい。
本発明は、赤外線センサチップの画素部ごとの感度の均一化を図ることが可能となる。
実施形態の赤外線センサモジュールに関し、(a)は概略断面図、(b)は赤外線センサチップの概略平面レイアウト図、(c)は画素部の概略平面レイアウト図である。 実施形態の赤外線センサモジュールにおける赤外線センサチップの画素部の平面レイアウト図である。 実施形態の赤外線センサモジュールにおける赤外線センサチップの画素部の平面レイアウト図である。 実施形態の赤外線センサモジュールにおける赤外線センサチップの画素部の要部を示し、(a)は平面レイアウト図、(b)は(a)のD−D’断面に対応する概略断面図である。 実施形態の赤外線センサモジュールにおける赤外線センサチップの画素部の要部の平面レイアウト図である。 実施形態の赤外線センサモジュールにおける赤外線センサチップの画素部の要部の平面レイアウト図である。 実施形態の赤外線センサモジュールにおける赤外線センサチップの画素部の要部を示し、(a)は平面レイアウト図、(b)は(a)のD−D’断面に対応する概略断面図である。 実施形態の赤外線センサモジュールにおける赤外線センサチップの温接点を含む要部を示し、(a)は平面レイアウト図、(b)は概略断面図である。 実施形態の赤外線センサモジュールにおける赤外線センサチップの冷接点を含む要部を示し、(a)は平面レイアウト図、(b)は概略断面図である。 実施形態の赤外線センサモジュールにおける赤外線センサチップの画素部の要部の概略断面図である。 実施形態の赤外線センサモジュールにおける赤外線センサチップの画素部の要部の概略断面図である。 実施形態の赤外線センサモジュールにおける赤外線センサチップの要部説明図である。 実施形態の赤外線センサモジュールにおける赤外線センサチップに関し、(a)は要部の平面レイアウト図、(b)は、(a)のツェナダイオードの拡大図、(c)はツェナダイオードの概略断面図である。 実施形態の赤外線センサモジュールにおける赤外線センサチップの要部等価回路図である。 実施形態の赤外線センサモジュールにおける赤外線センサチップの他の要部等価回路図である。 実施形態の赤外線センサモジュールにおける赤外線センサチップの製造方法を説明するための主要工程断面図である。 実施形態の赤外線センサモジュールにおける赤外線センサチップの製造方法を説明するための主要工程断面図である。 実施形態の赤外線センサモジュールにおける赤外線センサチップの製造方法を説明するための主要工程断面図である。 実施形態の赤外線センサモジュールにおける赤外線センサチップの製造方法を説明するための主要工程断面図である。 実施形態の赤外線センサモジュールにおける赤外線センサチップの他の構成例の要部概略断面図である。 実施形態の赤外線センサモジュールにおける赤外線センサチップの更に他の構成例の要部概略断面図である。 実施形態の赤外線センサモジュールにおける赤外線センサチップの別の構成例の要部概略断面図である。 他の実施形態の赤外線センサモジュールの要部概略断面図である。
以下、本実施形態の赤外線センサモジュールについて、図1〜図15を参照しながら説明する。
赤外線センサモジュールは、赤外線センサチップ100と、赤外線センサチップ100と協働するICチップ122と、赤外線センサチップ100およびICチップ122が収納されたパッケージ133とを備えている。
赤外線センサチップ100は、赤外線による熱エネルギを電気エネルギに変換する熱電変換部である感温部30および感温部30の出力電圧を取り出すためのMOSトランジスタ4を具備するa×b個(図示例では、8×8個)の画素部2が、半導体基板1の一表面側においてa行b列(図示例では、8行8列)の2次元アレイ状に配置されている。なお、図示例では、a=8、b=8としてあるが、a≧2、b≧2であればよい。
上述のMOSトランジスタ4は、図4、図11に示すように、半導体基板1の上記一表面側に形成された第1導電形のウェル領域41内で、第2導電形のソース領域44と第2導電形のドレイン領域43とが離間して形成されている。本実施形態では、ウェル領域41がチャネル形成用領域を構成している。なお、図14には、第1導電形をp形、第2導電形をn形としてMOSトランジスタ4をnチャネルMOSトランジスタとした場合の等価回路図を示してある。また、図14の等価回路図では、感温部30を抵抗の図記号で表してある。
また、赤外線センサチップ100は、各列のb個(8個)の画素部2の感温部30の一端がMOSトランジスタ4のソース領域44−ドレイン領域43を介して各列ごとに共通接続されたb個(8個)の第1の配線101を備えている。
また、赤外線センサチップ100は、各行の感温部30に対応するMOSトランジスタ4のゲート電極46が各行ごとに共通接続されたa個(8個)の第2の配線102と、各行のMOSトランジスタ4のウェル領域41が各列ごとに共通接続されたb個(8個)の第3の配線103と、各列のa個(8個)の感温部30の他端が各列ごとに共通接続されたb個(図示例では、8個)の第4の配線104とを備えている。
上述の赤外線センサチップ100は、第1の配線101が各別に接続された出力用のb個の第1のパッドVout1〜Vout8と、第2の配線102が各別に接続された画素部選択用のa個の第2のパッドVsel1〜Vsel8と、各第3の配線103が共通接続された第3のパッドVchと、第4の配線104が共通接続された基準バイアス用の第4のパッドVrefinとを備えている。しかして、赤外線センサチップ100は、全ての感温部30の出力を時系列的に読み出すことができるようになっている。すなわち、MOSトランジスタ4が、順次、オン状態になるように各画素部2を選択するための第2のパッドVsel1〜Vsel8の電位を制御することで各画素部2の出力電圧を順次読み出すことができる。
また、赤外線センサチップ100は、各MOSトランジスタ4のゲート電極46・ソース電極48間に過電圧が印加されるのを防止するために各第2の配線102それぞれにカソードが接続された複数のツェナダイオードZDを備えている。ここで、ツェナダイオードZDは、図13に示すように、半導体基板1の上記一表面側に形成された第1導電形の第1拡散領域81内に第2導電形の第2拡散領域82が形成されたものである。そして、赤外線センサチップ100は、各ツェナダイオードZDの第1拡散領域81が共通接続された第5のパッドVzdを備えている。
また、赤外線センサチップ100は、半導体基板1が接続された基板バイアス用の第6のパッドVsuを備えている。なお、図15の等価回路図には、ウェル領域41と半導体基板1とで構成される寄生ダイオードD3、第1拡散領域81と半導体基板1とで構成される寄生ダイオードD4も記載してある。
パッケージ133は、図1(a)に示すように、赤外線センサチップ100およびICチップ122が実装されたパッケージ本体134と、パッケージ本体134との間に赤外線センサチップ100およびICチップ122を囲む形でパッケージ本体134に気密的に接合されたパッケージ蓋135とで構成されている。
パッケージ本体134は、ICチップ122と赤外線センサチップ100とが横並びで実装されている。一方、パッケージ蓋135は、赤外線センサチップ100での検知対象の赤外線を透過する機能および導電性を有している。
パッケージ蓋135は、パッケージ本体134の上記一表面側に覆着されたキャップ152と、キャップ152において赤外線センサチップ100に対応する部位に形成された開口窓152aを閉塞するレンズ153とで構成されている。ここにおいて、レンズ153が、赤外線を透過する機能を有するとともに、赤外線センサチップ100へ赤外線を収束する機能を有している。なお、レンズ153の代わりに、赤外線を透過する平板状の赤外線透過部材を設けてもよい。
本実施形態の赤外線センサモジュールは、パッケージ本体134とパッケージ蓋135とで構成されるパッケージ133の内部空間(気密空間)165を、ドライ窒素雰囲気としてあるが、これに限らず、例えば、真空雰囲気としてもよい。
パッケージ本体134は、絶縁材料からなる基体134aに金属材料からなる配線パターン(図示せず)および電磁シールド層144が形成されており、電磁シールド層144により電磁シールド機能を有している。一方、パッケージ蓋135は、レンズ153およびキャップ152それぞれが導電性を有しており、レンズ153がキャップ152に対して導電性材料により接合されている。したがって、パッケージ蓋135は、レンズ153とキャップ152とが電気的に接続されている。そして、パッケージ蓋135は、パッケージ本体134の電磁シールド層144と電気的に接続されている。しかして、本実施形態では、パッケージ本体134の電磁シールド層144とパッケージ蓋135とを同電位とすることができる。その結果、パッケージ133は、赤外線センサチップ100とICチップ122と上述の配線パターンと後述のボンディングワイヤ(図示せず)と含んで構成されるセンサ回路(図示せず)への外来の電磁ノイズを防止する電磁シールド機能を有している。
パッケージ本体134は、赤外線センサチップ100およびICチップ122が一表面側に実装される平板状のセラミック基板により構成してある。要するに、パッケージ本体134は、基体134aが絶縁材料であるセラミックスにより形成されており、上述の配線パターンのうち基体134aの一表面側に形成された部位に、赤外線センサチップ100の各パッドVout1〜Vout8,Vsel1〜Vsel8,Vrefin,Vsu,VzdおよびICチップ122のパッドが、適宜、ボンディングワイヤを介して接続されている。なお、赤外線センサチップ100とICチップ122とは、ボンディングワイヤなどを介して電気的に接続されている。各ボンディングワイヤとしては、Alワイヤに比べて耐腐食性の高いAuワイヤを用いることが好ましい。
本実施形態では、パッケージ本体134の絶縁材料としてセラミックスを採用しているので、上記絶縁材料としてエポキシ樹脂などの有機材料を採用する場合に比べて、パッケージ本体134の耐湿性および耐熱性を向上させることができる。ここで、絶縁材料のセラミックスとして、窒化アルミニウムや炭化珪素などに比べて熱伝導率の小さなアルミナを採用すれば、ICチップ122やパッケージ133の外部からの熱に起因した赤外線センサチップ100の温度上昇を抑制することが可能となる。
また、パッケージ本体134は、上述の配線パターンの一部により構成される外部接続電極(図示せず)が、基体134aの他表面と側面とに跨って形成されている。しかして、本実施形態の赤外線センサモジュールでは、回路基板などへの2次実装後において、回路基板などとの接合部の外観検査を容易に行うことができる。
また、赤外線センサチップ100は、パッケージ本体134に対して、第1のダイボンド剤(例えば、シリコーン樹脂など)からなる複数の接合部115を介して実装されている。また、ICチップ122は、パッケージ本体134に対して、第2のダイボンド剤(例えば、シリコーン樹脂など)からなる接合部125を介して実装されている。各ダイボンド剤としては、低融点ガラスやエポキシ系樹脂やシリコーン系樹脂などの絶縁性接着剤、半田(鉛フリー半田、Au−Sn半田など)や銀ペーストなどの導電性接着剤を用いればよい。また、各ダイボンド剤を用いずに、例えば、常温接合法や、Au−Sn共晶もしくはAu−Si共晶を利用した共晶接合法などにより接合してもよい。
上述の赤外線センサモジュールでは、赤外線センサチップ100とパッケージ本体134との間の空間116が断熱部として機能し、しかも、赤外線センサチップ100の裏面の全体をパッケージ本体134に接合する場合に比べて接合部115の断面積を低減できるので、パッケージ本体134から赤外線センサチップ100へ熱が伝達しにくくなる。接合部115には、赤外線センサチップ100とパッケージ本体134との距離を規定するスペーサを混入させてもよく、このようなスペーサを混入させておけば、赤外線センサモジュールの製品間での赤外線センサチップ100とパッケージ本体134との間の熱絶縁性能のばらつきを低減可能となる。
また、ICチップ122は、外周形状が矩形状(正方形状ないし長方形状)であり、裏面全体が接合部125を介してパッケージ本体134に接合されている。
パッケージ蓋135は、パッケージ本体134側の一面が開放された箱状に形成され赤外線センサチップ100に対応する部位に開口窓152aが形成されたキャップ152と、キャップ152の開口窓152aを閉塞する形でキャップ152に接合されたレンズ153とで構成されており、キャップ152の上記一面がパッケージ本体134により閉塞される形でパッケージ本体134に気密的に接合されている。ここで、パッケージ本体134の上記一表面の周部には、パッケージ本体134の外周形状に沿った枠状の金属パターン147(図1(a)参照)が全周に亘って形成されている。そして、パッケージ133は、パッケージ蓋135とパッケージ本体134の金属パターン147とが、シーム溶接(抵抗溶接法)により金属接合されているので、気密性および電磁シールド効果を高めることができる。なお、パッケージ蓋135のキャップ152は、コバールにより形成されており、Niめっきが施されている。また、パッケージ本体134の金属パターン147は、コバールにより形成され、Niのめっきが施され、さらにAuのめっきが施されている。
パッケージ蓋135とパッケージ本体134の金属パターン147との接合方法は、シーム溶接に限らず、他の溶接(例えば、スポット溶接)や、導電性樹脂により接合してもよい。ここで、導電性樹脂として異方導電性接着剤を用いれば、樹脂(バインダー)中に分散された導電粒子の含有量が少なく、接合時に加熱・加圧を行うことでパッケージ蓋135とパッケージ本体134との接合部の厚みを薄くできるので、外部からパッケージ133内へ水分やガス(例えば、水蒸気、酸素など)が侵入するのを抑制できる。また、導電性樹脂として、酸化バリウム、酸化カルシウムなどの乾燥剤を混入させたものを用いてもよい。
なお、パッケージ本体134およびパッケージ蓋135の外周形状は矩形状としてあるが、矩形状に限らず、例えば、円形状でもよい。また、パッケージ蓋135のキャップ152は、パッケージ本体134側の端縁から全周に亘って外方に延設された鍔部152bを備えており、鍔部152bが全周に亘ってパッケージ本体134と接合されている。
レンズ153は、平凸型の非球面レンズである。しかして、本実施形態の赤外線センサモジュールでは、レンズ153の薄型化を図りながらも、赤外線センサチップ100での赤外線の受光効率の向上による高感度化を図れる。また、本実施形態の赤外線センサモジュールでは、赤外線センサチップ100の検知エリアをレンズ153により設定することが可能となる。レンズ153は、赤外線センサチップ100の半導体基板1とは別の半導体基板(半導体ウェハ)を用いて形成されている。すなわち、レンズ153は、所望のレンズ形状に応じて半導体基板(ここでは、シリコン基板)との接触パターンを設計した陽極を半導体基板の一表面側に半導体基板との接触がオーミック接触となるように形成した後に半導体基板の構成元素の酸化物をエッチング除去する溶液からなる電解液中で半導体基板の他表面側を陽極酸化することで除去部位となる多孔質部を形成してから当該多孔質部を除去することにより形成された半導体レンズ(ここでは、シリコンレンズ)により構成されている。なお、この種の陽極酸化技術を応用した半導体レンズの製造方法については、例えば、特許第3897055号公報、特許第3897056号公報などに開示されている製造方法を適宜に適用することができる。
本実施形態の赤外線センサモジュールでは、レンズ153として、球面レンズよりも短焦点で且つ開口径が大きく収差が小さな半導体レンズを採用することができるから、短焦点化により、パッケージ133の薄型化を図れる。本実施形態の赤外線センサモジュールは、赤外線センサチップ100の検知対象の赤外線として、人体から放射される10μm付近の波長帯(8μm〜13μm)の赤外線を想定しており、レンズ153の材料として、ZnSやGaAsなどに比べて環境負荷が少なく且つ、Geに比べて低コスト化が可能であり、しかも、ZnSに比べて波長分散が小さなSiを採用している。
また、レンズ153は、キャップ152における開口部152aの周部に導電性接着剤(例えば、鉛フリー半田、銀ペーストなど)からなる接合部158により固着されている。上述のように、接合部158の材料として導電性接着剤を採用することにより、レンズ153が、接合部158およびキャップ152を介してパッケージ本体134の電磁シールド層144に電気的に接続されるので、電磁ノイズに対するシールド性を高めることができ、外来の電磁ノイズに起因したS/N比の低下を防止することができる。
上述のレンズ153には、赤外線センサチップ100での検知対象の赤外線の波長を含む所望の波長域の赤外線を透過し当該波長域以外の赤外線を反射する光学多層膜(多層干渉フィルタ膜)からなるフィルタ部(図示せず)を設けることが好ましい。このようなフィルタ部を設けることにより、所望の波長域以外の不要な波長域の赤外線や可視光をフィルタ部によりカットすることが可能となり、太陽光などによるノイズの発生を抑制することができ、高感度化を図れる。
また、本実施形態では、パッケージ本体134が平板状に形成されているので、パッケージ本体134への赤外線センサチップ100およびICチップ122の実装が容易になるとともに、パッケージ本体134の低コスト化が可能となる。また、パッケージ本体134が平板状に形成されているので、パッケージ本体134を、一面が開放された箱状の形状として、多層セラミック基板により構成し、パッケージ本体134の内底面に赤外線センサチップ100を実装する場合に比べて、パッケージ本体134の上記一表面側に配置される赤外線センサチップ100とレンズ153との間の距離の精度を高めることができ、より一層の高感度化を図れる。なお、以下では、パッケージ本体134において、赤外線センサチップ100を実装する領域を第1の領域140、ICチップ122を実装する領域を第2の領域142と称する。
本実施形態の赤外線センサモジュールでは、パッケージ本体134において、第1の領域140に比べて、第2の領域142の厚みを薄くしてある。ここで、パッケージ本体134の第2の領域142は、基体134aの上記一表面に凹部134bを設けることにより、第1の領域140よりも厚みを薄くしてある。また、パッケージ本体134の第2の領域142では、電磁シールド層144が露出している。
また、パッケージ本体134の第2の領域142では、金属材料(例えば、Cuなど)からなる複数のビア(サーマルビア)145が基体134aの厚み方向に貫設されており、各ビア145が電磁シールド層144と接して熱結合されている。
ここで、ICチップ122は、第2の領域142において電磁シールド層144に接合部125を介して実装されている。しかして、ICチップ122で発生した熱を電磁シールド層144におけるICチップ122の直下の部位およびビア145を通してパッケージ133の外側へ効率良く放熱させることが可能となる。本実施形態では、電磁シールド層144のうち第2の領域142に形成された部位が、ICチップ122が実装され熱結合される金属部を構成し、各ビア145が、第1の領域140を避けて形成されてパッケージ133の外側に一部が露出する放熱部を構成している。要するに、金属部は、第1の領域140を避けて形成されてパッケージ133の外側に一部が露出する放熱部と熱結合されている。
次に、本実施形態における赤外線センサチップ100についてさらに詳細に説明する。
赤外線センサチップ100は、感温部30が埋設された熱型赤外線検出部3とMOSトランジスタ4とを有する複数(a×b個)の画素部2が、半導体基板1の上記一表面側においてアレイ状(ここでは、2次元アレイ状)に配置されている。ここで、半導体基板1の上記一表面は、Si(100)面としてある。感温部30は、複数個(ここでは、6個)のサーモパイル30a(図2参照)を直列接続することにより構成されている。
各画素部2の熱型赤外線検出部3は、半導体基板1の上記一表面側において熱型赤外線検出部3の形成用領域A1(図4参照)に形成されている。また、各画素部2のMOSトランジスタ4は、半導体基板1の上記一表面側においてMOSトランジスタ4の形成用領域A2(図4参照)に形成されている。
赤外線センサチップ100は、半導体基板1の上記一表面側において熱型赤外線検出部3の一部の直下に空洞部11が形成されている。熱型赤外線検出部3は、半導体基板1の上記一表面側で空洞部11の周部に形成された支持部3dと、半導体基板1の上記一表面側で平面視において空洞部11を覆う第1の薄膜構造部3aとを備えている。第1の薄膜構造部3aは、赤外線を吸収する赤外線吸収部33を備えている。ここで、第1の薄膜構造部3aは、空洞部11の周方向に沿って並設され支持部3dに支持された複数の第2の薄膜構造部3aaと、隣接する第2の薄膜構造部3aa同士を連結する連結片3c(図2参照)とを有している。なお、図2の例の熱型赤外線検出部3では、複数の線状のスリット13を設けることにより、第1の薄膜構造部3aが6つの第2の薄膜構造部3aaに分離されている。以下では、赤外線吸収部33(第1の赤外線吸収部33と称する)のうち第2の薄膜構造部3aaそれぞれに対応して分割された各部位を第2の赤外線吸収部33aと称する。
熱型赤外線検出部3は、第2の薄膜構造部3aaごとにサーモパイル30aが設けられている。ここで、サーモパイル30aは、温接点T1が、第2の薄膜構造部3aaに設けられ、冷接点T2が、支持部3dに設けられている。要するに、温接点T1は、熱型赤外線検出部3において空洞部11に重なる領域に形成され、冷接点T2は、熱型赤外線検出部3において空洞部11に重ならない領域に形成されている。
また、熱型赤外線検出部3の感温部30は、各サーモパイル30aごとに出力を取り出す場合に比べて温度変化に対する出力変化が大きくなる接続関係で、全てのサーモパイル30aが電気的に接続されている。図2の例では、感温部30は、6個のサーモパイル30aを直列接続してある。ただし、上述の接続関係は、複数個のサーモパイル30aの全てを直列接続する接続関係に限らない。例えば、それぞれ3個のサーモパイル30aの直列回路を並列接続すれば、6個のサーモパイル30aが並列接続されている場合や、各サーモパイル30aごとに出力を取り出す場合に比べて、感度を高めることができる。また、6個のサーモパイル30aの全てが直列接続されている場合に比べて、感温部30の電気抵抗を低くできて熱雑音が低減されるから、S/N比が向上する。
ここで、熱型赤外線検出部3では、第2の薄膜構造部3aaごとに、支持部3dと第2の赤外線吸収部33aとを連結する2つの平面視短冊状のブリッジ部3bb,3bbが空洞部11の周方向に離間して形成されている。これにより、2つのブリッジ部3bb,3bbと第2の赤外線吸収部33aとを空間的に分離し空洞部11に連通する平面視U字状のスリット14が形成されている。熱型赤外線検出部3のうち、平面視において第1の薄膜構造部3aを囲む部位である支持部3dは、矩形枠状の形状となっている。なお、ブリッジ部3bbは、上述の各スリット13,14により、第2の赤外線吸収部33aおよび支持部3dそれぞれとの連結部位以外の部分が、第2の赤外線吸収部33aおよび支持部3dと空間的に分離されている。ここで、第2の薄膜構造部3aaは、支持部3dからの延長方向の寸法を93μm、この延長方向に直交する幅方向の寸法を75μmとし、各ブリッジ部3bbの幅寸法を23μm、各スリット13,14の幅を5μmに設定してあるが、これらの値は一例であって特に限定するものではない。
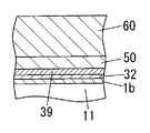
第1の薄膜構造部3aは、半導体基板1の上記一表面側に形成されたシリコン酸化膜1bと、当該シリコン酸化膜1b上に形成されたシリコン窒化膜32と、当該シリコン窒化膜32上に形成された感温部30と、シリコン窒化膜32の表面側で感温部30を覆うように形成された層間絶縁膜50と、層間絶縁膜50上に形成されたパッシベーション膜60との積層構造部をパターニングすることにより形成されている。層間絶縁膜50は、BPSG膜により構成してある。パッシベーション膜60は、PSG膜と当該PSG膜上に形成されたNSG膜との積層膜により構成してあるが、これに限らず、例えば、シリコン窒化膜により構成してもよい。
上述の熱型赤外線検出部3では、シリコン窒化膜32のうち第1の薄膜構造部3aのブリッジ部3bb,3bb以外の部位が第1の赤外線吸収部33を構成している。また、支持部3dは、シリコン酸化膜1bとシリコン窒化膜32と層間絶縁膜50とパッシベーション膜60とで構成されている。
また、赤外線センサチップ100は、層間絶縁膜50とパッシベーション膜60との積層膜が、半導体基板1の上記一表面側において、熱型赤外線検出部3の形成用領域A1とMOSトランジスタ4の形成用領域A2とに跨って形成されており、この積層膜のうち、熱型赤外線検出部3の形成用領域A1に形成された部分が赤外線吸収膜70(図4(b)参照)を兼ねている。ここで、赤外線吸収膜70の屈折率をn、検出対象の赤外線の中心波長をλとするとき、赤外線吸収膜70の厚さt2をλ/4nに設定するようにしているので、検出対象の波長(例えば、8〜12μm)の赤外線の吸収効率を高めることができ、高感度化を図れる。例えば、n=1.4、λ=10μmの場合には、t2≒1.8μmとすればよい。なお、本実施形態では、層間絶縁膜50の膜厚を0.8μm、パッシベーション膜60の膜厚を1μm(PSG膜の膜厚を0.5μm、NSG膜の膜厚を0.5μm)としてある。
また、各画素部2では、空洞部11の内周形状が矩形状であり、連結片3cは、平面視X字状に形成されており、第2の薄膜構造部3aaの延長方向に交差する斜め方向において隣接する第2の薄膜構造部3aa,3aa同士、第2の薄膜構造部3aaの延長方向において隣接する第2の薄膜構造部3aa,3aa同士、第2の薄膜構造部3aaの延長方向に直交する方向において隣接する第2の薄膜構造部3aa,3aa同士を連結している。
サーモパイル30aは、シリコン窒化膜32上で第2の薄膜構造部3aaと支持部3dとに跨って形成されたn形ポリシリコン層34とp形ポリシリコン層35との一端部同士を第2の赤外線吸収部33aの赤外線入射面側で金属材料(例えば、Al−Siなど)からなる接続部36により電気的に接続した複数個(図2に示した例では、9個)の熱電対を有している。また、サーモパイル30aは、半導体基板1の上記一表面側で互いに隣り合う熱電対のn形ポリシリコン層34の他端部とp形ポリシリコン層35の他端部とが金属材料(例えば、Al−Siなど)からなる接続部37により接合され電気的に接続されている。ここで、サーモパイル30aは、n形ポリシリコン層34の上記一端部とp形ポリシリコン層35の上記一端部と接続部36とで温接点T1を構成している。また、n形ポリシリコン層34の上記他端部とp形ポリシリコン層35の上記他端部と接続部37とで冷接点T2を構成している。なお、本実施形態における赤外線センサチップ100では、サーモパイル30aの各n形ポリシリコン層34および各p形ポリシリコン層35それぞれにおいて、上述のブリッジ部3bb,3bbに形成されている部位および半導体基板1の上記一表面側のシリコン窒化膜32上に形成されている部位でも赤外線を吸収することができる。
また、赤外線センサチップ100は、空洞部11の形状が、四角錘状であり、平面視における中央部の方が周部に比べて深さ寸法が大きくなっているので、第1の薄膜構造部3aの中央部に温接点T1が集まるように各画素部2におけるサーモパイル30aの平面レイアウトを設計してある。すなわち、図2の上下方向における真ん中の2つの第2の薄膜構造部3aaでは、図2および図5に示すように、3つの第2の薄膜構造部3aaの並設方向に沿って温接点T1を並べて配置してあるのに対し、当該上下方向における上側の2つの第2の薄膜構造部3aaでは、図2および図6に示すように、3つの第2の薄膜構造部3aaの並設方向において真ん中の第2の薄膜構造部3aaに近い側に温接点T1を集中して配置してあり、当該上下方向における下側の2つの第2の薄膜構造部3aaでは、図2に示すように、3つの第2の薄膜構造部3aaの並設方向において真ん中の第2の薄膜構造部3aaに近い側に温接点T1を集中して配置してある。しかして、本実施形態における赤外線センサチップ100では、図2の上下方向における上側、下側の第2の薄膜構造部3aaの複数の温接点T1の配置が、真ん中の第2の薄膜構造部3aaの複数の温接点T1の配置と同じである場合に比べて、温接点T1の温度変化を大きくできるので、感度を向上できる。なお、本実施形態では、空洞部11の最深部の深さを所定深さdp(図4(b)参照)とするとき、所定深さdpを200μmに設定してあるが、この値は一例であり、特に限定するものではない。
また、第2の薄膜構造部3aaは、シリコン窒化膜32の赤外線入射面側においてサーモパイル30aを形成していない領域に、第2の薄膜構造部3aaの反りを抑制するとともに赤外線を吸収するn形ポリシリコン層からなる赤外線吸収層39が形成されている。また、隣接する第2の薄膜構造部3aa,3aa同士を連結する連結片3cには、当該連結片3cを補強するn形ポリシリコン層からなる補強層39b(図7参照)が設けられている。ここで、補強層39bは、赤外線吸収層39と連続一体に形成されている。しかして、赤外線センサチップ100では、連結片3cが補強層39bにより補強されているので、使用中の外部の温度変化や衝撃に起因して発生する応力による破損を防止でき、また、製造時の破損を低減でき、製造歩留まりの向上を図れる。なお、本実施形態では、図7に示す連結片3cの長さ寸法L1を24μm、幅寸法L2を5μm、補強層39bの幅寸法L3を1μmに設定してあるが、これらの数値は一例であり、特に限定するものではない。ただし、本実施形態のように半導体基板1としてシリコン基板を用いており、補強層39bがn形ポリシリコン層により形成される場合には、空洞部11の形成時に補強層39bがエッチングされるのを防止するために、補強層39bの幅寸法は、連結片3cの幅寸法よりも小さく設定し、平面視において補強層39bの両側縁が連結片3cの両側縁よりも内側に位置する必要がある。
また、赤外線センサチップ100は、図7および図12(b)に示すように、連結片3cの両側縁と第2の薄膜構造部3aaの側縁との間にそれぞれ面取り部3d,3dが形成され、X字状の連結片3cの略直交する側縁間にも面取り部3eが形成されている。しかして、赤外線センサチップ100では、図12(a)に示すように面取り部が形成されていない場合に比べて、連結片3cと第2の薄膜構造部3aaとの連結部位での応力集中を緩和でき、製造時に発生する残留応力を低減できるとともに製造時の破損を低減でき、製造歩留まりの向上を図れる。また、使用中の外部の温度変化や衝撃に起因して発生する応力による破損を防止できる。なお、図7に示した例では、各面取り部3d,3eをR(アール)が3μmのR面取り部としてあるが、R面取り部に限らず、例えば、C面取り部としてもよい。
また、赤外線センサチップ100は、各熱型赤外線検出部3に、支持部3dと一方のブリッジ部3bbと第2の赤外線吸収部33aと他方のブリッジ部3bbと支持部3dとに跨るように引き回されたn形ポリシリコン層からなる故障診断用配線(故障診断用のヒータ)139を設けて、全ての故障診断用配線139を直列接続してある。しかして、a×b個の故障診断用配線139の直列回路へ通電することで、ブリッジ部3bbの折れなどの破損の有無を検出することができる。
要するに、赤外線センサチップ100は、製造途中での検査時や使用時において、a×b個の故障診断用配線139の直列回路への通電の有無によって、ブリッジ部3bbの折れや故障診断用配線139の断線などを検出することができる。また、赤外線センサチップ100では、上述の検査時や使用時において、a×b個の故障診断用配線139の直列回路へ通電して各感温部30の出力を検出することにより、感温部30の断線の有無や感度のばらつき(感温部30の出力のばらつき)などを検知することが可能となる。ここにおいて、感度のばらつきに関しては、画素部2ごとの感度のばらつきを検知することが可能であり、例えば、第1の薄膜構造部3aの反りや第1の薄膜構造部3aの半導体基板1へのスティッキングなどに起因した感度のばらつきを検知することが可能となる。ここで、本実施形態における赤外線センサチップ100では、平面視において、故障診断用配線139を複数の温接点T1の群の付近において折り返され蛇行した形状としてある。したがって、故障診断用配線139へ通電することにより発生するジュール熱によって、各温接点T1を効率良く温めることができる。上述の故障診断用配線139は、n形ポリシリコン層34およびp形ポリシリコン層35と同一平面上に同一厚さで形成されている。
上述の赤外線吸収層39および故障診断用配線139は、n形ポリシリコン層34と同じn形不純物(例えば、リンなど)を同じ不純物濃度(例えば、1018〜1020cm−3)で含んでおり、n形ポリシリコン層34と同時に形成されている。また、p形ポリシリコン層35のp形不純物として例えばボロンを採用すればよく、不純物濃度を例えば1018〜1020cm−3程度の範囲で適宜設定すればよい。本実施形態では、n形ポリシリコン層34およびp形ポリシリコン層35それぞれの不純物濃度が1018〜1020cm−3であり、熱電対の抵抗値を低減でき、S/N比の向上を図れる。なお、赤外線吸収層39および故障診断用配線139は、n形ポリシリコン層34と同じn形不純物を同じ不純物濃度でドーピングしてあるが、これに限らず、例えば、p形ポリシリコン層35と同じ不純物を同じ不純物濃度でドーピングしてもよい。
赤外線センサチップ100は、n形ポリシリコン層34、p形ポリシリコン層35、赤外線吸収層39、および故障診断用配線139の屈折率をn、検出対象の赤外線の中心波長をλとするとき、n形ポリシリコン層34、p形ポリシリコン層35、赤外線吸収層39、および故障診断用配線139それぞれの厚さt1をλ/4nに設定してある。しかして、本実施形態における赤外線センサチップ100では、検出対象の波長(例えば、8〜12μm)の赤外線の吸収効率を高めることができ、高感度化を図れる。例えば、n=3.6、λ=10μmの場合には、t1≒0.69μmとすればよい。
また、赤外線センサチップ100は、n形ポリシリコン層34、p形ポリシリコン層35、赤外線吸収層39、および故障診断用配線139それぞれの不純物濃度が1018〜1020cm−3であるので、赤外線の吸収率を高くしつつ赤外線の反射を抑制することができて、感温部30の出力のS/N比を高めることができる。また、本実施形態における赤外線センサチップ100では、赤外線吸収層39および故障診断用配線139をn形ポリシリコン層34と同一工程で形成できるから、低コスト化を図れる。
ここで、感温部30の接続部36と接続部37とは、半導体基板1の上記一表面側において、層間絶縁膜50によって絶縁分離されている(図8および図9参照)。すなわち、温接点T1側の接続部36は、層間絶縁膜50に形成したコンタクトホール50a,50aを通して、両ポリシリコン層34,35の上記各一端部と電気的に接続されている。また、冷接点T2側の接続部37は、層間絶縁膜50に形成されたコンタクトホール50a,50aを通して、両ポリシリコン層34,35の上記各他端部と電気的に接続されている。
また、MOSトランジスタ4は、上述のように、半導体基板1の上記一表面側においてMOSトランジスタ4の形成用領域A2に形成されている。
MOSトランジスタ4は、図4および図11に示すように、半導体基板1の上記一表面側に第1導電形であるp形(p)のウェル領域41が形成され、ウェル領域41内に、第2導電形であるn形(n)のドレイン領域43と第2導電形であるn形(n)のソース領域44とが離間して形成されている。さらに、ウェル領域41内には、ドレイン領域43とソース領域44とを囲む第1導電形であるp形(p++)のチャネルストッパ領域42が形成されている。
ウェル領域41においてドレイン領域43とソース領域44との間に位置する部位の上には、シリコン酸化膜(熱酸化膜)からなるゲート絶縁膜45を介してn形ポリシリコン層からなるゲート電極46が形成されている。
また、ドレイン領域43上には、金属材料(例えば、Al−Siなど)からなるドレイン電極47が形成され、ソース領域44上には、金属材料(例えば、Al−Siなど)からなるソース電極48が形成されている。
ゲート電極46、ドレイン電極47およびソース電極48は、上述の層間絶縁膜50によって絶縁分離されている。ここで、ドレイン電極47は、層間絶縁膜50に形成したコンタクトホール50dを通してドレイン領域43と電気的に接続され、ソース電極48は、層間絶縁膜50に形成したコンタクトホール50eを通してソース領域44と電気的に接続されている。
赤外線センサチップ100の各画素部2では、MOSトランジスタ4のソース電極48と感温部30の一端とが電気的に接続され、感温部30の他端が第4の配線104に電気的に接続されている。また、各画素部2では、MOSトランジスタ4のドレイン電極47が、第1の配線101と電気的に接続され、ゲート電極46が、n形ポリシリコン配線からなる第2の配線102と電気的に接続されている。また、各画素部2では、MOSトランジスタ4のチャネルストッパ領域42上に、金属材料(例えば、Al−Siなど)からなる電極49が形成されている。しかして、ウェル領域41は、チャネルストッパ領域42および電極49を介して、第3の配線103と電気的に接続されている。なお、電極49は、層間絶縁膜50に形成したコンタクトホール50fを通してチャネルストッパ領域42と電気的に接続されている。
また、上述のツェナダイオードZDは、図13に示すように、第1拡散領域81上にアノード電極83が形成され、第2拡散領域82上に2つのカソード電極84a,84bが形成されている。このツェナダイオードZDは、アノード電極83が、第5のパッドVzdと電気的に接続され、一方のカソード電極84aが、1つの第2の配線102を介して当該第2の配線102に接続されたMOSトランジスタ4のゲート電極46と電気的に接続され、他方のカソード電極84bが、当該第2の配線102に接続された第2のパッドVsel1〜Vsel8の1つと電気的に接続されている。
上述の赤外線センサチップ100によれば、故障診断用配線139へ通電してサーモパイル30aの出力を測定することにより、サーモパイル30aの断線などの故障の有無を判断することが可能となって、信頼性の向上を図れる。しかも、赤外線センサチップ100は、故障診断用配線139が、熱型赤外線検出部3において半導体基板1の空洞部11に重なる領域でサーモパイル30aと重ならないように配置されているので、故障診断用配線139によるサーモパイル30aの温接点T1の熱容量の増大を防止でき、感度および応答速度の向上を図れる。
ここで、赤外線センサチップ100は、使用時において自己診断を行わない通常時において、故障診断用配線139も外部からの赤外線を吸収するので、複数の温接点T1の温度の均一化を図れ、感度の向上を図れる。なお、赤外線センサチップ100では、赤外線吸収層39および補強層39bも外部からの赤外線を吸収するので、複数の温接点T1の温度の均一化を図れ、感度の向上を図れる。また、赤外線センサチップ100の使用時の自己診断は、ICチップ122に設けられた自己診断回路(図示せず)により定期的に行われるが、必ずしも定期的に行う必要はない。
また、赤外線センサチップ100は、第1の薄膜構造部3aが、複数の第2の薄膜構造部3aaに分離され、各第2の薄膜構造部3aaごとにサーモパイル30aの温接点T1が設けられるとともに、各サーモパイル30aごとに出力を取り出す場合に比べて温度変化に対する出力変化が大きくなる接続関係で全てのサーモパイル30aが電気的に接続されているので、応答速度および感度の向上を図れる。しかも、赤外線センサチップ100は、全ての第2の薄膜構造部3aaに跨って故障診断用配線139が形成されているので、熱型赤外線検出部3の全てのサーモパイル30aを一括して自己診断することが可能となる。また、赤外線センサチップ100では、隣接する第2の薄膜構造部3aa,3aa同士を連結する連結片3cが形成されていることにより、各第2の薄膜構造部3aaの反りを低減でき、構造安定性の向上を図れ、感度が安定する。
また、赤外線センサチップ100は、n形ポリシリコン層34とp形ポリシリコン層35と赤外線吸収層39と補強層39bと故障診断用配線139とが同一の厚さに設定されているので、第2の薄膜構造部3aaの応力バランスの均一性が向上する。これにより、赤外線センサチップ100は、第2の薄膜構造部3aaの反りを抑制することができ、製品ごとの感度のばらつきや、画素部2ごとの感度のばらつきを低減できる。
また、赤外線センサチップ100は、故障診断用配線139が、第1の熱電要素であるn形ポリシリコン層34もしくは第2の熱電要素であるp形ポリシリコン層35と同じ材料により形成されているので、故障診断用配線139を第1の熱電要素もしくは第2の熱電要素と同時に形成することが可能となり、製造プロセスの簡略化による低コスト化を図れる。
また、赤外線センサチップ100は、赤外線吸収部33および故障診断用配線139を備えた複数の画素部2が、半導体基板1の上記一表面側で2次元アレイ状に設けられているので、製造時や使用時の自己診断に際して各画素部2それぞれの故障診断用配線139に通電することにより、各画素部2それぞれの感温部30の感度のばらつきを把握することが可能となる。
ところで、赤外線センサチップ100は、図1(c)の画素部2の概略平面レイアウト図に示すように、各画素部2ごとにサーモパイル30aの冷接点T2の温度を調整可能な温度調整部90が設けられている。なお、図1(c)は説明を簡単にするために画素部2の構造を簡略化して図示してある。また、温度調整部90は、画素部2における熱型赤外線検出部3の形成用領域A1(図4参照)に形成されている。
図1(c)における温度調整部90は、各画素部2それぞれにおいて冷接点T2における温接点T1側とは反対側に配置された薄膜ヒータ91により構成されており、薄膜ヒータ91の両端部がそれぞれ配線92,92を介して図示しない温度調整部用のパッドと電気的に接続されている。要するに、図1(c)における温度調整部90は、冷接点T2の温度を昇温させる機能を有することで冷接点T2の温度を調整可能である。この温度調整部90は、上述のICチップ122によって制御される。言い換えれば、ICチップ122は、温度調整部90を制御する機能を有している。
上述の薄膜ヒータ91は、平面視形状が蛇行した形状に形成されている。また、薄膜ヒータ91は、n形ポリシリコン層により構成してある。ここで、薄膜ヒータ91は、サーモパイル30aのn形ポリシリコン層34およびp形ポリシリコン層35と同一平面上に同一厚さで形成されている。したがって、薄膜ヒータ91をサーモパイル30aのn形ポリシリコン層34と同一工程で形成することが可能となるから、低コスト化を図れる。薄膜ヒータ91は、n形ポリシリコン層に限らず、例えば、p形ポリシリコン層により構成してもよく、この場合は、薄膜ヒータ91をサーモパイル30aのp形ポリシリコン層35と同一工程で形成することが可能となる。なお、薄膜ヒータ91は、金属薄膜により構成してもよい。
また、赤外線センサチップ100は、各画素部2それぞれにおいて冷接点T2における温接点T1側とは反対側に配置された温度センサ93を備えることが好ましい。この場合、赤外線センサチップ100は、温度センサ93の両端部がそれぞれ配線97,97を介して図示しない温度モニタ用のパッドと電気的に接続されている。これにより、赤外線センサモジュールは、赤外線センサチップ100が温度センサ93によって冷接点T2の温度を検知することができ、ICチップ122が、温度センサ93の出力に基づいて温度調整部90を制御することが可能となる。なお、本実施形態では、温度センサ93よりも温度調整部90を、冷接点T2に近づけて配置してある。
温度センサ93は、複数のp形ポリシリコン層94と複数のn形ポリシリコン層95とが金属材料(例えば、Al−Siなど)からなる接続部96により交互に接続されている。ここで、温度センサ93のp形ポリシリコン層94およびn形ポリシリコン層95は、サーモパイル30aのn形ポリシリコン層34およびp形ポリシリコン層35と同一平面上に同一厚さで形成されている。したがって、温度センサ93をサーモパイル30aと同一工程で同時に形成することが可能となるから、低コスト化を図れる。
以下、赤外線センサチップ100の製造方法の一例について図16〜図19を参照して説明する。
まず、第2導電形のシリコン基板からなる半導体基板1の上記一表面側に第1の所定膜厚(例えば、0.3μm)の第1のシリコン酸化膜31と第2の所定膜厚(例えば、0.1μm)のシリコン窒化膜32との積層膜からなる絶縁層を形成する絶縁層形成工程を行う。その後、フォトリソグラフィ技術およびエッチング技術を利用して当該絶縁層のうち熱型赤外線検出部3の形成用領域A1に対応する部分の一部を残してMOSトランジスタ4の形成用領域A2に対応する部分をエッチング除去する絶縁層パターニング工程を行うことによって、図16(a)に示す構造を得る。ここにおいて、第1のシリコン酸化膜31は、半導体基板1を所定温度(例えば、1100℃)で熱酸化することにより形成し、シリコン窒化膜32は、LPCVD法により形成している。
上述の絶縁層パターニング工程の後、半導体基板1の上記一表面側に第1導電形であるp形(p)のウェル領域41を形成するウェル領域形成工程を行う。続いて、半導体基板1の上記一表面側におけるウェル領域41内に第1導電形であるp形(p++)のチャネルストッパ領域42を形成するチャネルストッパ領域形成工程を行う。その後、MOSトランジスタ4のしきい値電圧Vthを制御するためのイオン注入工程を行うことによって、図16(b)に示す構造を得る。ここで、ウェル領域形成工程では、まず、半導体基板1の上記一表面側の露出部位を所定温度で熱酸化することにより第2のシリコン酸化膜(熱酸化膜)51を選択的に形成する。その後、ウェル領域41を形成するためのマスクを利用したフォトリソグラフィ技術およびエッチング技術を利用して第2のシリコン酸化膜51をパターニングする。続いて、第1導電形の不純物(ここでは、p形の不純物であり、例えば、ボロンなど)のイオン注入を行ってから、ドライブインを行うことにより、ウェル領域41を形成する。また、チャネルストッパ領域形成工程では、半導体基板1の上記一表面側を所定温度で熱酸化することにより第3のシリコン酸化膜(熱酸化膜)52を選択的に形成する。その後、チャネルストッパ領域42を形成するためのマスクを利用したフォトリソグラフィ技術およびエッチング技術を利用して第3のシリコン酸化膜52をパターニングする。続いて、第1導電形の不純物(ここでは、p形の不純物であり、例えば、ボロンなど)のイオン注入を行ってから、ドライブインを行うことにより、チャネルストッパ領域42を形成する。なお、第1のシリコン酸化膜31と第2のシリコン酸化膜51と第3のシリコン酸化膜52とで、半導体基板1の上記一表面側のシリコン酸化膜1bを構成している。
上述のイオン注入工程の後、第2導電形であるn形(n)のドレイン領域43および第2導電形であるn形(n)のソース領域44を形成するソース・ドレイン形成工程を行う。このソース・ドレイン形成工程では、ウェル領域41におけるドレイン領域43およびソース領域44それぞれの形成予定領域に第2導電形の不純物(ここでは、n形の不純物であり、例えば、リンなど)のイオン注入を行ってから、ドライブを行うことによって、ドレイン領域43およびソース領域44を形成する。
ソース・ドレイン形成工程の後、半導体基板1の上記一表面側に例えば熱酸化により所定膜厚(例えば、600Å)のシリコン酸化膜(熱酸化膜)からなるゲート絶縁膜45を形成するゲート絶縁膜形成工程を行う。続いて、半導体基板1の上記一表面側の全面にゲート電極46、第2の配線102(図2参照)、n形ポリシリコン層34、p形ポリシリコン層35、薄膜ヒータ91、n形ポリシリコン層95、p形ポリシリコン層94、赤外線吸収層39および故障診断用配線139の基礎となる所定膜厚(例えば、0.69μm)のノンドープポリシリコン層をLPCVD法により形成するポリシリコン層形成工程を行う。その後、フォトリソグラフィ技術およびエッチング技術を利用して上記ノンドープポリシリコン層のうちゲート電極46、第2の配線102、n形ポリシリコン層34、p形ポリシリコン層35、薄膜ヒータ91、n形ポリシリコン層95、p形ポリシリコン層94、赤外線吸収層39および故障診断用配線139それぞれに対応する部分が残るようにパターニングするポリシリコン層パターニング工程を行う。続いて、上記ノンドープポリシリコン層のうちp形ポリシリコン層35およびp形ポリシリコン層94に対応する部分にp形の不純物(例えば、ボロンなど)のイオン注入を行ってからドライブを行うことによりp形ポリシリコン層35およびp形ポリシリコン層94を形成するp形ポリシリコン層形成工程を行う。その後、上記ノンドープポリシリコン層のうちn形ポリシリコン層34、赤外線吸収層39、故障診断用配線139、ゲート電極46および第2の配線102に対応する部分にn形の不純物例えば、リンなど)のイオン注入を行ってからドライブを行うことによりn形ポリシリコン層34、薄膜ヒータ91、n形ポリシリコン層95、赤外線吸収層39、故障診断用配線139、ゲート電極46および第2の配線102を形成するn形ポリシリコン層形成工程を行うことによって、図17(a)に示す構造を得る。なお、p形ポリシリコン層形成工程とn形ポリシリコン層形成工程との順序は逆でもよい。
上述のp形ポリシリコン層形成工程およびn形ポリシリコン層形成工程が終了した後、半導体基板1の上記一表面側に層間絶縁膜50を形成する層間絶縁膜形成工程を行う。続いて、フォトリソグラフィ技術およびエッチング技術を利用して層間絶縁膜50にコンタクトホール50a,50a,50a,50a,50d,50e,50f(図8、図9、図11参照)を形成するコンタクトホール形成工程を行うことによって、図17(b)に示す構造を得る。層間絶縁膜形成工程では、半導体基板1の上記一表面側に所定膜厚(例えば、0.8μm)のBPSG膜をCVD法により堆積させてから、所定温度(例えば、800℃)でリフローすることにより平坦化された層間絶縁膜50を形成する。また、コンタクトホール形成工程では、薄膜ヒータ91の両端部それぞれの一部を露出させるコンタクトホール(図示せず)や、温度センサ93の接続部96用のコンタクトホール(図示せず)なども形成する。
上述のコンタクトホール形成工程の後、半導体基板1の上記一表面側の全面に接続部36,37、ドレイン電極47、ソース電極48、第4の配線104、第1の配線101、第3の配線103、パッドVout1〜Vout8,Vsel1〜Vsel8,Vrefin,Vsu(図14参照)、薄膜ヒータ91に接続される配線92、温度センサ93に接続される配線97、上述の温度調整部用のパッド、上述の温度モニタ用のパッドなどの基礎となる所定膜厚(例えば、2μm)の金属膜(例えば、Al−Si膜)を形成する金属膜形成工程を行う。続いて、金属膜をパターニングすることで接続部36,37、ドレイン電極47、ソース電極48、第4の配線104、第1の配線101、第3の配線103、パッドVout1〜Vout8,Vsel1〜Vsel8,Vrefin,Vsuなどを形成する金属膜パターニング工程を行うことによって、図18(a)に示す構造を得る。上述の金属膜形成工程では、金属膜をスパッタ法により形成している。金属膜形成工程での金属膜の形成方法は、スパッタ法に限らず、例えば、CVD法や蒸着法などでもよい。また、金属膜パターニング工程では、フォトリソグラフィ技術およびエッチング技術を利用して金属膜をパターニングする。ここで、金属膜パターニング工程におけるエッチングはRIEにより行っている。なお、この金属膜パターニング工程を行うことにより、温接点T1および冷接点T2が形成される。
上述の金属膜パターニング工程の後、半導体基板1の上記一表面側(つまり、層間絶縁膜50の表面側)に所定膜厚(例えば、0.5μm)のPSG膜と所定膜厚(例えば、0.5μm)のNSG膜との積層膜からなるパッシベーション膜60を形成するパッシベーション膜形成工程を行うことによって、図18(b)に示す構造を得る。パッシベーション膜形成工程では、CVD法によってパッシベーション膜60を形成する。
上述のパッシベーション膜形成工程の後、第1のシリコン酸化膜31、シリコン窒化膜32、層間絶縁膜50、パッシベーション膜60などを備えた積層構造部をパターニングすることにより、第2の薄膜構造部3aaおよび連結片3cを形成する積層構造部パターニング工程を行うことによって、図19(a)に示す構造を得る。なお、積層構造部パターニング工程を行う際には、既に積層構造部に感温部30などが埋設されている。また、積層構造部パターニング工程において、各スリット13,14を形成している。
上述の積層構造部パターニング工程の後、フォトリソグラフィ技術およびエッチング技術を利用してパッドVout1〜Vout8,Vsel1〜Vsel8,Vrefin,Vsu(図14参照)、上述の温度調整部用のパッド、上述の温度モニタ用のパッドを露出させる開口部(図示せず)を形成する開口部形成工程を行う。次に、各スリット13,14をエッチング液導入孔としてエッチング液を導入し半導体基板1を異方性エッチング(結晶異方性エッチング)することにより半導体基板1に空洞部11を形成する空洞部形成工程を行うことで、図19(b)に示す構造を得る。ここで、開口部形成工程では、フォトリソグラフィ技術およびエッチング技術を利用して上述の開口部を形成する。また、開口部形成工程におけるエッチングはRIEにより行っている。また、空洞部形成工程では、エッチング液として所定温度(例えば、85℃)に加熱したTMAH溶液を用いているが、エッチング液はTMAH溶液に限らず、他のアルカリ系溶液(例えば、KOH溶液など)を用いてもよい。なお、空洞部形成工程が終了するまでの全工程はウェハレベルで行うので、空洞部形成工程が終了した後、個々の赤外線センサチップ100に分離する分離工程を行えばよい。また、上述の製造方法では、ツェナダイオードZDの製造工程について説明を省略したが、イオン注入技術、拡散技術、薄膜形成技術、エッチング技術などを利用して形成することができる。
上述の赤外線センサチップ100では、半導体基板1として上記一表面が(100)面の単結晶シリコン基板を用いて、エッチング速度の結晶面方位依存性を利用した異方性エッチングにより形成する空洞部11を四角錘状の形状としてあるが、四角錘状の形状に限らず、四角錘台状の形状でもよい。また、半導体基板1の上記一表面の面方位は特に限定するものではなく、例えば、半導体基板1として上記一表面がSi(110)面の単結晶のシリコン基板を用いてもよい。また、赤外線センサチップ100において、半導体基板1の空洞部11は、半導体基板1の厚み方向に貫通する形で形成してもよく、この場合は、空洞部11を形成する空洞部形成工程において、半導体基板1の上記一表面とは反対の他表面側から、半導体基板1における空洞部11の形成予定領域を、例えば誘導結合プラズマ(ICP)型のドライエッチング装置を用いた異方性エッチング技術を利用して形成すればよい。また、赤外線センサチップ100は、熱電変換部である感温部30を具備する複数の画素部2が半導体基板1の一表面側においてアレイ状に配置されたものであればよく、構造は特に限定するものではない。また、感温部30を構成するサーモパイル30aの数も複数に限らず、1つでもよい。
また、半導体基板1の導電形は、n形に限らず、例えば、図20〜図22に示すようにp形でもよい。図20は、p形の半導体基板1がチャネル形成用領域を構成し、ドレイン領域43およびソース領域44の導電形をn形(n)とする例である。また、図21は、p形の半導体基板1に形成したp形(p)のウェル領域41がチャネル形成用領域を構成し、ドレイン領域43およびソース領域44の導電形をn形(n)とする例である。また、図22は、p形の半導体基板1に形成したn形のウェル領域41がチャネル形成用領域を構成し、ドレイン領域43およびソース領域44の導電形をp形(p)とする例である。
次に、ICチップ122について説明する。
ICチップ122は、ASIC(:Application Specific IC)であり、シリコン基板を用いて形成されている。また、ICチップ122としてベアチップを用いている。しかして、本実施形態では、ICチップ122がベアチップをパッケージングしたものである場合に比べて、パッケージ133の小型化を図れる。ICチップ122は、赤外線センサチップ100のパッドVout1〜Vout8,Vsel1〜Vsel8,Vrefin,Vsu,Vzd、上述の温度調整部用のパッド、上述の温度モニタ用のパッドそれぞれと適宜に接続される複数のパッド(図示せず)を備えている。
ICチップ122は、赤外線センサチップ100を制御する制御部と、赤外線センサチップ100の出力電圧からなる出力信号を信号処理する信号処理部と、上述の自己診断回路とを備えている。制御部は、赤外線センサチップ100のVsel1〜Vsel8,Vrefin,Vsu,Vzdなどの電位を制御する機能や、温度調整部90を制御する機能などを有している。また、信号処理部は、第1のパッドVout1〜Vout8それぞれに電気的に接続されたパッドの出力電圧(出力信号)を増幅する増幅回路、第1のパッドVout1〜Vout8それぞれに電気的に接続されたパッドの出力電圧を択一的に上記増幅回路に入力するマルチプレクサ、増幅回路の出力をA/D変換するA/D変換回路、A/D変換回路の出力に基づいて適宜の演算を行う演算回路などを備えた回路構成としてあるが、信号処理回路の回路構成は特に限定するものではない。なお、パッケージ133内において、赤外線センサチップ100の近傍に、絶対温度を測定するためのサーミスタを配置して、ICチップ122の演算回路が、上記サーミスタの出力と感温部30の出力とに基づいて温度を演算するようにしてもよい。
本実施形態の赤外線センサモジュールの製造にあたっては、パッケージ本体134に赤外線センサチップ100およびICチップ122を実装する実装工程を行ってから、所望の雰囲気中でパッケージ蓋135とパッケージ本体134とを接合する接合工程を行うようにすればよい。
ところで、本実施形態の赤外線センサモジュールにおいて、温度調整部90を設けていない比較例では、レンズ153の形状やパッケージ133内の温度分布の影響で、赤外線センサチップ100における各画素部2の冷接点T2の温度がばらつきやすい。このような温度分布は、例えば、ICチップ122と赤外線センサチップ100との間での熱伝達や、赤外線センサチップ100とパッケージ本体134との間での熱伝達や、赤外線センサチップ100とパッケージ蓋135との間の熱伝達などに起因して生じる。
これに対して、本実施形態の赤外線センサモジュールでは、各画素部2ごとにサーモパイル30aの冷接点T2の温度を調整可能な温度調整部90が設けられているので、赤外線センサチップ100の画素部2ごとの感度の均一化を図ることが可能となる。すなわち、本実施形態の赤外線センサモジュールでは、温度調整部90により冷接点T2の温度を調整することにより、赤外線センサチップ100の画素部2ごとの出力を補正することが可能となり、画素部2ごとの感度の均一化を図ることが可能となる。そして、この赤外線センサモジュールにおいては、温度調整部90が、冷接点T2の温度を昇温させる機能を有することで冷接点T2の温度を調整可能であり、ICチップ122が、温度調整部90を制御する機能を有している。ICチップ122において温度調整部90を制御する機能の決定にあたっては、例えば、まず、比較例の赤外線センサモジュールにおいて、赤外線検知エリアを塞ぐ大きさの標準の赤外線源(例えば、黒体、擬似黒体など)からの赤外線を検知させる。ここで、比較例の赤外線センサモジュールの各画素部2の出力が均一化されるように、各冷接点T2の温度の調整度合い(出力の小さな画素部2の出力が増加するように、温度調整部90の制御内容)を決める。そして、この調整度合いに応じたデータを実施形態の赤外線センサモジュールにおけるICチップ122のメモリ(図示せず)などに記憶させておけばよい。なお、温度調整部90の制御内容としては、例えば、各冷接点T2近傍の薄膜ヒータ90への通電量(電流値、電流供給時のオンデューティ)などが挙げられる。
また、本実施形態の赤外線センサモジュールでは、温度調整部90が、各画素部2それぞれにおいて冷接点T2における温接点T1側とは反対側に配置された薄膜ヒータ91からなるので、赤外線センサチップ100において冷接点T2の近傍に温度調整部90を位置精度良く形成することができ、各画素部2それぞれの冷接点T2を効率良く昇温させることが可能となる。また、ICチップ122において、上述の温度センサ92の出力をモニタしながら温度調整部90を制御するようにすれば、冷接点T2の温度を高精度に制御することが可能となる。この場合、例えば、冷接点T2の温度が最も高い画素部2の冷接点T2の温度と他の画素部2の冷接点T2の温度との差分に基づいて、他の画素部2の温度調整部90を制御するようにすればよい。温度センサ93は、半導体基板1の上記一表面側に設けてあるが、半導体基板1の上記他表面側において、各画素部2それぞれの投影領域内に設けてもよい。
また、上述の赤外線センサモジュールは、温度調整部90が、冷接点T2の温度を昇温させることで冷接点T2の温度を調整するものであるが、これに限らず、例えば、温度調整部90が、冷接点T2の温度を降温させる機能を有することで冷接点T2の温度を調整可能であるものとして、ICチップ122が、この温度調整部90を制御する機能を有するようにしてもよい。ここで、比較例の赤外線センサモジュールの各画素部2の出力が均一化されるように、各冷接点T2の温度の調整度合いを決める際には、出力の大きな画素部2の出力が減少するように、ICチップ122による温度調整部90の制御内容を決めればよい。
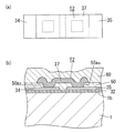
この場合、例えば、図23に示すように、半導体基板1の他表面側において各画素部2それぞれに対応する領域ごとに1対1で配置された複数のペルチェ素子200により温度調整部90を構成してもよい。ここにおいて、各ペルチェ素子200は、例えば、パッケージ本体134に設ければよい。
また、上述の赤外線センサモジュールは、温度調整部90が冷接点T2の温度を調整するものであるが、これに限らず、温度調整部90が、温接点T1の温度を調整するものでもよい。この場合には、例えば、温度調整部90として、例えば、温接点T1の近傍に薄膜ヒータを配置し、上述の比較例において出力の小さな画素部2の出力が増加するように、ICチップ122による温度調整部90の制御内容を決めればよい。
また、赤外線センサモジュールは、温度調整部90が、冷接点T2の温度を昇温させる機能および降温させる機能を有することで冷接点T2の温度を調整可能であり、ICチップ122が、この温度調整部90を制御する機能を有するようにしてもよく、これにより、各冷接点T2の温度の制御性を向上させることが可能となる。この場合、例えば、温度調整部90として、上述の薄膜ヒータ91とペルチェ素子200とを各画素部2ごとに設ければよい。
1 半導体基板
2 画素部
30 感温部
30a サーモパイル
90 温度調整部
91 薄膜ヒータ
100 赤外線センサチップ
122 ICチップ
133 パッケージ
153 レンズ
200 ペルチェ素子
T1 温接点
T2 冷接点

Claims (6)

  1. サーモパイルにより構成される感温部を具備する複数の画素部が半導体基板の一表面側においてアレイ状に配置された赤外線センサチップと、前記赤外線センサチップと協働するICチップと、前記赤外線センサチップおよび前記ICチップが収納されたパッケージとを備え、前記各画素部ごとに前記サーモパイルの冷接点と温接点との少なくとも一方の温度を調整可能な温度調整部が設けられてなることを特徴とする赤外線センサモジュール。
  2. 前記温度調整部は、前記冷接点の温度を昇温させる機能を有することで前記冷接点の温度を調整可能であり、前記ICチップは、前記温度調整部を制御する機能を有することを特徴とする請求項1記載の赤外線センサモジュール。
  3. 前記温度調整部は、前記冷接点の温度を降温させる機能を有することで前記冷接点の温度を調整可能であり、前記ICチップは、前記温度調整部を制御する機能を有することを特徴とする請求項1記載の赤外線センサモジュール。
  4. 前記温度調整部は、前記各画素部それぞれにおいて前記冷接点における前記温接点側とは反対側に配置された薄膜ヒータからなることを特徴とする請求項2記載の赤外線センサモジュール。
  5. 前記温度調整部は、前記半導体基板の他表面側において前記各画素部それぞれに対応する領域ごとに1対1で配置された複数のペルチェ素子からなることを特徴とする請求項3記載の赤外線センサモジュール。
  6. 前記温度調整部は、前記冷接点の温度を昇温させる機能および降温させる機能を有することで前記冷接点の温度を調整可能であり、前記ICチップは、前記温度調整部を制御する機能を有することを特徴とする請求項1記載の赤外線センサモジュール。
JP2011035910A 2011-02-22 2011-02-22 赤外線センサモジュール Withdrawn JP2012173156A (ja)

Priority Applications (1)

Application Number Priority Date Filing Date Title
JP2011035910A JP2012173156A (ja) 2011-02-22 2011-02-22 赤外線センサモジュール

Applications Claiming Priority (1)

Application Number Priority Date Filing Date Title
JP2011035910A JP2012173156A (ja) 2011-02-22 2011-02-22 赤外線センサモジュール

Publications (1)

Publication Number Publication Date
JP2012173156A true JP2012173156A (ja) 2012-09-10

Family

ID=46976192

Family Applications (1)

Application Number Title Priority Date Filing Date
JP2011035910A Withdrawn JP2012173156A (ja) 2011-02-22 2011-02-22 赤外線センサモジュール

Country Status (1)

Country Link
JP (1) JP2012173156A (ja)

Cited By (3)

* Cited by examiner, † Cited by third party
Publication number Priority date Publication date Assignee Title
WO2015107597A1 (ja) * 2014-01-20 2015-07-23 パナソニック株式会社 赤外線センサ及びその製造方法
JP6962502B1 (ja) * 2020-08-18 2021-11-05 三菱電機株式会社 赤外線センサ装置
WO2023090010A1 (ja) * 2021-11-17 2023-05-25 パナソニックIpマネジメント株式会社 赤外線センサ、センシングシステム、及び赤外線のセンシング方法

Cited By (5)

* Cited by examiner, † Cited by third party
Publication number Priority date Publication date Assignee Title
WO2015107597A1 (ja) * 2014-01-20 2015-07-23 パナソニック株式会社 赤外線センサ及びその製造方法
JP6962502B1 (ja) * 2020-08-18 2021-11-05 三菱電機株式会社 赤外線センサ装置
WO2022038681A1 (ja) * 2020-08-18 2022-02-24 三菱電機株式会社 赤外線センサ装置
CN115843331A (zh) * 2020-08-18 2023-03-24 三菱电机株式会社 红外线传感器装置
WO2023090010A1 (ja) * 2021-11-17 2023-05-25 パナソニックIpマネジメント株式会社 赤外線センサ、センシングシステム、及び赤外線のセンシング方法

Similar Documents

Publication Publication Date Title
JP5842118B2 (ja) 赤外線センサ
JP5645240B2 (ja) 赤外線アレイセンサ
EP2333499A1 (en) Infrared sensor
US8426864B2 (en) Infrared sensor
JP5530274B2 (ja) 温度センサ
JP6458250B2 (ja) 赤外線センサ
JP2010237118A (ja) 赤外線アレイセンサ
JP2013041921A (ja) 真空封止デバイス
JP2013186038A (ja) 赤外線検出装置
JP2011203226A (ja) 赤外線センサモジュール
JP2012173156A (ja) 赤外線センサモジュール
JP2013024745A (ja) 赤外線センサ
JP2012230010A (ja) 赤外線センサ
JP2012037394A (ja) 赤外線センサの製造方法
JP2012063221A (ja) 赤外線センサ
JP2011027652A (ja) 赤外線センサ
JP2010249779A (ja) 赤外線センサ
JP2011203221A (ja) 赤外線センサモジュール
JP2012063222A (ja) 赤外線センサおよびその製造方法
JP5629146B2 (ja) 温度センサ
JP2013024739A (ja) 赤外線センサ
JP2011027650A (ja) 赤外線センサ
JP2012013516A (ja) 赤外線センサ装置
JP2011252724A (ja) 赤外線センサおよびその製造方法

Legal Events

Date Code Title Description
A300 Withdrawal of application because of no request for examination

Free format text: JAPANESE INTERMEDIATE CODE: A300

Effective date: 20140513