JP2012167478A - トイレ装置 - Google Patents

トイレ装置 Download PDF

Info

Publication number
JP2012167478A
JP2012167478A JP2011028769A JP2011028769A JP2012167478A JP 2012167478 A JP2012167478 A JP 2012167478A JP 2011028769 A JP2011028769 A JP 2011028769A JP 2011028769 A JP2011028769 A JP 2011028769A JP 2012167478 A JP2012167478 A JP 2012167478A
Authority
JP
Japan
Prior art keywords
toilet
water supply
supply pipe
holding member
toilet body
Prior art date
Legal status (The legal status is an assumption and is not a legal conclusion. Google has not performed a legal analysis and makes no representation as to the accuracy of the status listed.)
Granted
Application number
JP2011028769A
Other languages
English (en)
Other versions
JP5652751B2 (ja
Inventor
Masaaki Inoue
正明 井上
Atsushi Oda
篤史 小田
Current Assignee (The listed assignees may be inaccurate. Google has not performed a legal analysis and makes no representation or warranty as to the accuracy of the list.)
Toto Ltd
Original Assignee
Toto Ltd
Priority date (The priority date is an assumption and is not a legal conclusion. Google has not performed a legal analysis and makes no representation as to the accuracy of the date listed.)
Filing date
Publication date
Application filed by Toto Ltd filed Critical Toto Ltd
Priority to JP2011028769A priority Critical patent/JP5652751B2/ja
Publication of JP2012167478A publication Critical patent/JP2012167478A/ja
Application granted granted Critical
Publication of JP5652751B2 publication Critical patent/JP5652751B2/ja
Active legal-status Critical Current
Anticipated expiration legal-status Critical

Links

Images

Landscapes

  • Bidet-Like Cleaning Device And Other Flush Toilet Accessories (AREA)
  • Sanitary Device For Flush Toilet (AREA)

Abstract

【課題】衛生洗浄装置の給水管が便器本体の側部よりも外側に露出して外部から損傷を受けることを防ぐことができ、給水管の信頼性を向上させることができるトイレ装置を提供する。
【解決手段】便器本体2の後方側上部に固定され、便器本体を洗浄する洗浄水を貯える洗浄水タンク装置4と、吐水ノズルを備え、便器本体の上面に着脱可能に取り付けられた衛生洗浄装置と、この衛生洗浄装置の後部に接続され、衛生洗浄装置に給水する可撓性の給水管8と、便器本体の後方側上部と洗浄水タンク装置の底部との間に取り付けられ、給水管を保持する保持部材10と、を有し、この保持部材は、給水管が衛生洗浄装置の後部から便器本体の後方側上部と洗浄水タンクの底部との間の領域を経て後方側に延びて且つ便器本体の側縁部2hよりも内側に位置するように、給水管を外側から内側に向けて且つ上下方向に保持する保持部26を備えている。
【選択図】図5

Description

本発明は、トイレ装置に係り、特に、用便後に使用者の局部を温水で洗浄できる衛生洗浄装置を備えたトイレ装置に関する。
洗浄水によって洗浄され、汚物を排出する従来のトイレ装置としては、例えば、特許文献1に記載されているように、用便後に使用者の局部を温水で洗浄できる衛生洗浄装置を備えているものが知られている。
このような衛生洗浄装置は、洗浄水を噴射する吐水ノズルを装置内部に進退自在に収容し、便器本体の上面の後方側よりに着脱可能に取り付けられている。そして、トイレ装置の便器本体と衛生洗浄装置との間の隙間等を清掃する際には、衛生洗浄装置を便器本体に対して前後方向に着脱することができるようになっている。
また、このような従来のトイレ装置においては、衛生洗浄装置に給水するための給水管や衛生洗浄装置の電源コードが衛生洗浄装置の側部に接続されることによって給水管や電源コードがトイレ装置の側面に露出することを防ぐために、給水管や電源コードを衛生洗浄装置の後部に接続すると共に、これらの接続した給水管と電源コードについて、便器本体の後方側上端部に形成されている開口を経て下方に延ばすようにしている。そして、衛生洗浄装置を便器本体に対して前後方向に着脱した際には、給水管と電源コードが便器本体の後方側上端部の開口から前後方向に引き出されるようになっている。
特開2008−95396号公報
しかしながら、上述した従来のトイレ装置においては、衛生洗浄装置の後部に接続された給水管は、樹脂やゴム製の防水層と金属製のメッシュの被覆層等を積層した材料で作られて比較的可撓性を備えており、通常のトイレ使用時の状態では、衛生洗浄装置の後部の接続部から下方に差し向けられ、便器本体の後方側上端部の開口を経て下方へ延びている。
また、衛生洗浄装置が取り付けられている便器本体の上面の清掃やその他のメンテナンスについては、衛生洗浄装置を便器本体に対して前方側に移動させてから行うようになっているが、衛生洗浄装置を便器本体に対して前方側に引き出した際には、給水管についても衛生洗浄装置に追従して便器本体の後方側上端部の開口から前方側の外部に引き出されるようになっている。
さらに、給水管は、衛生洗浄装置と共に引き出される前の下方向きに延びた状態から、引き出し後には便器本体の後方側上端部の開口に接触したまま斜めに延びた状態となるが、このような給水管と便器本体の後方側上端部の開口との接触状態が過度になると、給水管が座屈してしまう可能性もあり、給水管の信頼性を損ねてしまうという問題もある。
そこで、本発明は、上述した従来技術の問題点を解決するためになされたものであり、衛生洗浄装置の給水管が便器本体の側部よりも外側に露出して外部から損傷を受けることを防ぐことができ、給水管の信頼性を向上させることができるトイレ装置を提供することを目的としている。
上記の目的を達成するために、本発明は、洗浄水によって洗浄され、汚物を排出するトイレ装置であって、便器本体と、この便器本体の後方側上部に固定され、上記便器本体を洗浄する洗浄水を貯える洗浄水タンクと、使用者の人体局部を洗浄する吐水ノズルを備え、上記便器本体の上面に着脱可能に取り付けられた衛生洗浄装置と、この衛生洗浄装置の後部に接続され、上記衛生洗浄装置に給水する可撓性の給水管と、上記便器本体の後方側上部と上記洗浄水タンクの底部との間に取り付けられ、上記給水管を保持する保持部材と、を有し、この保持部材は、上記給水管が上記衛生洗浄装置の後部から上記便器本体の後方側上部と上記洗浄水タンクの底部との間の領域を経て後方側に延びて且つ上記便器本体の側部よりも内側に位置するように、上記給水管を外側から内側に向けて且つ上下方向に保持する保持部を備えていることを特徴としている。
このように構成された本発明においては、便器本体の後方側上部と洗浄水タンクの底部との間に取り付けられた保持部材により、給水管が衛生洗浄装置の後部から便器本体の後方側上部と洗浄水タンクの底部との間の領域を経て後方側に延びて且つ便器本体の側部よりも内側に位置するように保持されるため、可撓性の給水管が便器本体の側部よりも外側に跳び出すことを防ぐことができ、給水管が便器本体の側部よりも外側に露出して外部から損傷を受けることを防ぐと共に、美観を向上させることができる。また、衛生洗浄装置を便器本体から着脱する際には、衛生洗浄装置の後部から後方側に延びた給水管がほぼ水平な状態で維持されるため、可撓性の給水管が周囲に引っ掛かったり、座屈したりすることによって給水管に亀裂が入る等の給水管の損傷を防ぐことができ、給水管の信頼性を向上させることができる。
本発明において、好ましくは、更に、上記便器本体の後方側上部と上記洗浄水タンクの底部とを所定間隔を置いて固定する固定手段を有し、上記保持部が設けられた上記保持部材の一端部から長手方向に延びた他端部には、上記所定間隔に位置する上記固定手段に取り付けられる取付部が設けられている。
このように構成された本発明においては、保持部材を便器本体の後方側上部と洗浄水タンクの底部との間に取り付けて固定する際に、便器本体の後方側上部と洗浄水タンクの底部とを所定間隔を置いて固定する固定手段を利用し、この固定手段に保持部材の取付部を取り付けて固定することができるため、保持部材を便器本体及び洗浄水タンクに対して固定するための手段を新たに設ける必要がない。また、便器本体の後方側上部と洗浄水タンクの底部とを固定する固定手段さえあれば、この固定手段に保持部材の取付部を容易に取り付けることができるため、保持部材の取付方向等の制約を受けにくくすることができる。
本発明において、好ましくは、上記便器本体は、その後方側上面に形成され且つ衛生洗浄装置の後部から後方側に延びた給水管が上記便器本体の後方側上面と上記洗浄水タンクの底部との間でほぼ水平な状態で後方側に延びるようにガイドするためのガイド面を備えている。
このように構成された本発明においては、保持部材に加えて、便器本体の後方側上面に形成されたガイド面と洗浄水タンクの底部とにより、衛生洗浄装置の後部から後方側に延びた給水管がほぼ水平な状態になるようにガイドして維持することができるため、例えば、衛生洗浄装置を便器本体から着脱する際に、衛生洗浄装置を便器本体の上面に対して前後方向に移動させたとしても、給水管をほぼ水平な状態に維持することができる。したがって、給水管が周囲に引っ掛かったり、座屈したりして損傷するようなことがなく、給水管の信頼性をより向上させることができる。
本発明において、好ましくは、上記便器本体のガイド面は、その後端部が上記洗浄水タンクの前端部よりも後方側に延びている。
このように構成された本発明においては、便器本体のガイド面の後端部が洗浄水タンクの前端部よりも後方側に延びているため、衛生洗浄装置を便器本体から着脱する際に、衛生洗浄装置を便器本体の上面に対して前後方向に移動させたとしても、給水管をほぼ水平な状態により確実に維持することができるため、給水管が座屈したりすることがなく、給水管の信頼性をより向上させることができる。また、便器本体を上方から見た場合には、洗浄水タンクの前端部より前方側の便器本体部分と洗浄水タンクの前端部よりも後方側に延びるガイド面部分しか見えないため、便器本体のガイド面と洗浄水タンクの底部との間の隙間を目立たないようにすることができる。また、便器本体のガイド面よりも背面側の領域や便器本体の下方の床面等も見えないようにすることができるため、外観性を向上させることができる。
本発明において、好ましくは、上記保持部材の取付部は、上記固定手段に係合可能な係合穴が形成された係合部と、この係合部の係合穴の周縁の一部から外側に向ってほぼテーパー状に拡張するガイド部と、を備えている。
このように構成された本発明においては、保持部材の取付部を固定手段に取り付ける際に、保持部材の取付部のガイド部内に固定手段を挿入させた後に、保持部材の取付部の係合部を固定手段に近づけることにより係合させて固定する。このとき、保持部材の取付部のテーパー状に拡張するガイド部により、固定手段に対する保持部材の取付部の取付方向にかかわらず、保持部材の取付部のガイド部内に固定手段を挿入しやすくすることができる。そして、保持部材の取付部のガイド部内に固定手段を挿入後、固定手段に保持部材の取付部のガイド部のいずれかの箇所を接触させながら、固定手段に保持部材の取付部を押し付けてテーパー状のガイド部に沿わせることにより、固定手段を保持部材の取付部の係合部に容易にガイドすることができ、固定手段に保持部材の取付部の係合部を確実に係合して固定することができる。
本発明において、好ましくは、上記保持部材の保持部は、その長手方向内側から外側に向って延びた外側端部が下方側に屈曲し、この屈曲した部分の下端から内側に屈曲することにより、その内周側で上記給水管を挿入可能とするリム部を備えている。
このように構成された本発明においては、保持部材の保持部のリム部により、給水管を外側から内側に向けて且つ上下方向に確実に保持することができる。
本発明において、好ましくは、上記保持部材の保持部のリム部は、その内側端部が上方に突出する突起を備えている。
このように構成された本発明においては、保持部材の保持部のリム部の突起により、リム部に給水管を挿入するべき領域を画定することができるため、給水管をリム部に挿入しやすくすることができると共に、リム部に挿入した給水管が落下するのを防ぐことができる。
本発明のトイレ装置によれば、衛生洗浄装置の給水管が便器本体の側部よりも外側に露出して外部から損傷を受けることを防ぐことができ、給水管の信頼性を向上させることができると共に、美観を向上させることができるトイレ装置を提供することができる。
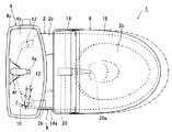
本発明の一実施形態によるトイレ装置の側面図である。 本発明の一実施形態によるトイレ装置の平面図である。 本発明の一実施形態によるトイレ装置から洗浄水タンク装置及び衛生洗浄装置を取り外した状態の便器本体及び保持部材を示す平面図である。 本発明の一実施形態によるトイレ装置の便器本体のカバーを取り外した状態で洗浄水タンク装置の側面を一部破断した部分側面断面図である。 本発明の一実施形態によるトイレ装置における便器本体、洗浄水タンク装置、及び、保持部材を背面側から見た部分拡大断面図である。 本発明の一実施形態によるトイレ装置における便器本体と洗浄水タンク装置との間に取り付けられた状態の保持部材を上方側から見た部分拡大平面図である。 本発明の一実施形態によるトイレ装置の保持部材の平面図である。 本発明の一実施形態によるトイレ装置の保持部材の背面図である。
以下、添付図面により、本発明の一実施形態によるトイレ装置を説明する。
図1は本発明の一実施形態によるトイレ装置の側面図である。図1に示すように、符号1は本発明の一実施形態によるトイレ装置を示し、このトイレ装置1は、陶器等からなる便器本体2を備えている。また、便器本体2の側部には、中央から後方側にかけて外装カバー2aが取り付けられている。
つぎに、本実施形態のトイレ装置1は、便器本体2の後方側上部に固定され、この便器本体2を洗浄する洗浄水を貯える洗浄水タンク装置4と、洗浄水タンク装置4の前方側に配置され且つ便器本体2の上面に着脱可能に設けられた衛生洗浄装置6を備えている。
さらに、トイレ装置1は、便器本体2の後方側上部と洗浄水タンク装置4の底部との間に取り付けられ、衛生洗浄装置6に給水する衛生洗浄装置用給水管8を保持する保持部材10を備えている。
なお、本実施形態のトイレ装置1においては、一例として、便器本体2が床に設置された床置き式のトイレ装置ついて説明するが、便器本体2からトイレ装置1の外部への排水については、トイレ装置1が配置される室内の壁側(例えば、便器本体の背面側等)に向けて排水されるような形態であってもよいし、床下側に排水されるような形態でもよい。
さらに、トイレ装置1の便器本体2を洗浄する方式についても、特定の洗浄方式に限定されず、洗浄水の落差による流水作用で汚物を押し流す洗い落し式のような洗浄方式であってもよいし、サイホン作用を利用するような洗浄方式であってもよい。
つぎに、図2は本発明の一実施形態によるトイレ装置の平面図であり、図3は本発明の一実施形態によるトイレ装置から洗浄水タンク装置及び衛生洗浄装置を取り外した状態の便器本体及び保持部材を示す平面図である。また、図4は本発明の一実施形態によるトイレ装置の便器本体の外装カバーを取り外した状態で洗浄水タンク装置の側面を一部破断して見た部分側面断面図である。さらに、図5は本発明の一実施形態によるトイレ装置における便器本体、洗浄水タンク装置、及び、保持部材を背面側から見た部分拡大断面図である。また、図6は、本発明の一実施形態によるトイレ装置における便器本体と洗浄水タンク装置との間に取り付けられた状態の保持部材を上方側から見た部分拡大平面図である。
まず、図1、図2、図4及び図5に示すように、洗浄水タンク装置4は、陶器製の外装タンク4aと、この外装タンク4aの内方に配置され、洗浄水が貯水される樹脂製の貯水タンク4bと、外装タンク4aに載せられた蓋体4cと、外装タンク4aと貯水タンク4bとの間に設けられた断熱部材4dを備えている。
また、図2に示すように、蓋体4cには、手洗い鉢4eが形成され、この手洗い鉢4eの後方側には、手洗い用の水を吐水する手洗い用カラン4fが設けられている。手洗い用カラン4fから吐水された手洗い鉢4eの水は、手洗い鉢4eに形成された吐水口(流入口)4gにより、貯水タンク4bに流入されるようになっている。
つぎに、図3及び図4に示すように、便器本体2のボウル部2bよりも後方側に位置する便器本体2の上面2cで且つ洗浄水タンク装置4の外装タンク4aの底部と上下方向に対向する領域A1には、同一の高さで上方に突出した複数の突起2dが設けられており、洗浄水タンク装置4の外装タンク4aの底部が便器本体2の突起2d上に配置されるようになっている。
また、洗浄水タンク装置4の外装タンク4aの底部が便器本体2の突起2d上に配置された状態では、外装タンク4aの底部とこれに対向する便器本体2の後方側の上面2cの領域A1の突起2d以外の領域との間に上下方向に所定間隔d(例えば、10mm)が形成されるようになっている。
さらに、図2〜図5に示すように、本実施形態のトイレ装置1は、洗浄水タンク装置4の外装タンク4aの底部が便器本体2の突起2d上に配置された状態で、洗浄水タンク装置4と便器本体2とを互いに上下方向に所定間隔d(例えば、10mm)を置いて固定する固定部材12を備えている。
この固定部材12は、外装タンク4aの底部とこれに対向する便器本体2の後方側の上面2cの領域A1に左右一対ずつ設けられている。
また、図4及び図5に示すように、各固定部材12の頭部12aは、貯水タンク4bの底部に位置する所定の固定部材取付部4gに下側から取り付けられている。
さらに、固定部材12の首部12bは、貯水タンク4bの固定部材取付部4gの下方に位置する外装タンク4aの固定部材取付部4hに取り付けられた後、固定部材12の軸部12cが外装タンク4aの底部を下方に貫き、外装タンク4aの下側面でリングナット12dによって締結され、固定部材12が洗浄水タンク装置4に固定されている。
また、図3及び図5に示すように、便器本体2の後方側の領域A1は、上下方向に所定の厚みtを備え、この便器本体2の後方側の領域A1には、一対の取付穴2e,2fが便器本体2の後方側部分を上下方向に貫くように形成されている。
さらに、各固定部材12の軸部12cの先端部12eは、それぞれに対応する取付穴2e,2fを貫いて延びた後、便器本体2の後方側領域A1の下側部分2gでナットユニット12fが取り付けられ、各固定部材12が便器本体2の後方側領域A1に固定されている。
図1及び図2に示すように、衛生洗浄装置6は、便器本体2のボウル部2bよりも後方側に位置する便器本体2の上面2cに着脱可能に取り付けられ且つ前後方向に摺動可能である衛生洗浄装置本体14と、この衛生洗浄装置本体14の前方側に衛生洗浄装置本体14を中心に上下方向に回動可能に取り付けられた便座16と、衛生洗浄装置本体14の前方側且つ便座16の上側に衛生洗浄装置本体14を中心に上下方向に回動可能に取り付けられ、便器本体2のボウル部2bの上方を開閉する便蓋18を備えている。
図2に示すように、衛生洗浄装置本体14は、複数の細長い円筒状部材が軸方向に入れ子状に伸長可能に設けられた吐水ノズル20を備えている。この衛生洗浄装置本体14の吐水ノズル20は、本実施形態では一例として3つの円筒状部材が入れ子状に重ねて設けられている。使用者が衛生洗浄装置6による局部洗浄を行う際、吐水ノズル20が前方へ伸長し、吐水ノズル20の先端部に位置する噴射部20aが前方のボウル部2b内の空間に向かって推進するようになっている。
また、衛生洗浄装置本体14の内部には、吐水ノズル20に供給するための水を貯水するサブタンク(図示せず)や、このサブタンク(図示せず)からの水を適温に温めて温水にする熱交換器(図示せず)、サブタンク(図示せず)から熱交換器(図示せず)を通過させて吐水ノズル20に供給するポンプ(図示せず)等の機器や、これらの機器の作動を制御する制御基板(図示せず)等が内蔵されている。
つぎに、図1、図2及び図4に示すように、衛生洗浄装置本体14の後端部には、衛生洗浄装置本体14内のサブタンク(図示せず)に給水するための衛生洗浄装置用の給水管8が接続されている。
また、この衛生洗浄装置用の給水管8は、樹脂やゴム製の防水層と金属製のメッシュの被覆層等を積層した材料で作られて比較的可撓性を備え、衛生洗浄装置本体14の後端部に位置する給水管接続部14aから後方側に延びている。この給水管8の上流側端部は、便器本体2の後方側に位置し且つ水道等の給水源(図示せず)と通ずる給水栓(図示せず)に接続されている。
さらに、図2及び図4〜図6に示すように、衛生洗浄装置用の給水管8は、衛生洗浄装置本体14の給水管接続部14aから便器本体2の後方側上部と洗浄水タンク装置4の底部との間の領域まで延び、この領域内で、便器本体2の側縁部2h及び外装カバー2aよりも内側に位置するように、保持部材10によって外側から内側に向けて且つ上下方向に保持されている。
さらに、衛生洗浄装置本体14は、便器本体2のボウル部2bよりも後方側に位置する便器本体2の上面2cに固定されたベースプレート22(図3参照)に着脱可能に取り付けられている。
便器本体2の上面2cにおける洗浄水タンク装置4の外装タンク4aと衛生洗浄装置本体14との間の領域について清掃を行ったり、衛生洗浄装置6自体の清掃やメンテナンス等を行ったりする際には、衛生洗浄装置本体14について、図1、図2及び図4に実線で示す所定の取付位置から、図1、図2及び図4に鎖線で示す所定の移動位置まで前方側へ移動させることにより、便座16及び便蓋18も衛生洗浄装置本体14と共に移動させることができるようになっている。
また、図3〜図6に示すように、便器本体2は、その後方側上面2cの角部に形成されて給水管8をガイドするためのガイド面2iを備え、このガイド面2iにより、衛生洗浄装置本体14の給水管接続部14aから後方側に延びて保持部材10によって保持された給水管8が、便器本体2のガイド面2iと洗浄水タンク装置4の底部との間でほぼ水平な状態で後方側に延びるようにガイドされるようになっている。
さらに、便器本体のガイド面2iは、前方側から後方側にかけて斜め下方に且つなだらかな曲面状に降下して延びており、ガイド面2iの後端部2jは、洗浄水タンク装置4の外装タンク4aの前端部よりも後方側に延びている。
このようなガイド面2iにより、例えば、衛生洗浄装置6を便器本体2から着脱する際に、衛生洗浄装置6を便器本体2の上面2cに対して前後方向に移動させたとしても、給水管8が便器本体2のガイド面2iによって下側から支持されてほぼ水平な状態に維持されるようになっている。さらに、便器本体2を上方から見た場合には、洗浄水タンク装置4の外装タンク4aの前端部よりも後方側は、ガイド面2iしか見えず、ガイド面2iと洗浄水タンク装置4の底部との間の隙間が目立たなくすることができると共に、ガイド面2iよりも背面側や便器本体2の下方の床面等も見えないようにすることができるようになっている。
つぎに、本実施形態のトイレ装置1の保持部材10の詳細について説明する。
図7は本発明の一実施形態によるトイレ装置の保持部材の平面図であり、図8は本発明の一実施形態によるトイレ装置の保持部材の背面図である。
図5〜図8に示すように、保持部材10は、その一端部に設けられ且つ固定部材12によって固定された洗浄水タンク装置4と便器本体2との上下方向の所定間隔dの部分に位置する固定部材12の軸部12cに着脱可能に取り付けられる取付部24と、この取付部24から長手方向に延びた保持部材10の他端部に設けられ且つ衛生洗浄装置用の給水管8を保持する保持部26と、この保持部26と取付部24との間でほぼ直線状に延びるように形成されている中間部28を備えている。これらの取付部24から中間部28を経て保持部26までの保持部材10の全体部分は、樹脂材料等により一体的に形成されている。
また、図7に示すように、保持部材10の取付部24には、固定部材12の軸部12cに係合可能な係合穴24aが形成されており、この係合穴24aの外側周縁の一部が開放されている。ここで、係合穴24aは、固定部材12の丸棒形状の軸部12cの直径とほぼ等しい直径D1を備えている。
さらに、保持部材10の取付部24は、一対のガイド部24bを備え、この一対のガイド部24bは、係合穴24aの開放された外側周縁部を基端として、この基端から外側に向かう先端部にかけてほぼテーパー状に拡張するように形成されている。
また、保持部材10の取付部24を洗浄水タンク装置4と便器本体2との間の固定部材12の軸部12cに取り付ける際には、まず、保持部材10の取付部24の一対のガイド部24b同士で挟まれた所定の領域A2内に固定部材12の軸部12cが挿入されるように、保持部材10の取付部24を固定部材12の軸部12cに近づけることにより、保持部材10の取付部24の一対のガイド部24bのいずれかのガイド面24cに固定部材12の軸部12cを接触させるようになっている。
なお、図7の符号12c’と符号12c”については、保持部材10の取付部24を固定部材12の軸部12cに押し付けることにより、保持部材10の取付部24の一対のガイド部24bのいずれかのガイド面24cに接触した状態の固定部材12の軸部の例をそれぞれ示している。
さらに、保持部材10の取付部24の一対のガイド部24bのいずれかのガイド面24cに固定部材12の軸部12c’又は12c”が接触した後、保持部材10の取付部24を固定部材12の軸部12c’又は12c”にさらに近づけることにより、固定部材12の軸部12c’又は12c”が、接触しているガイド面24cに沿ってガイド部24bの基端側へ移動して係合穴24aに向ってガイドされ(図7の軸部12c’及び12c”に関する矢印方向参照)、最終的には、係合穴24aに係合して嵌め込まれるようになっている。
また、図7に示すように、保持部材10の取付部24の一対のガイド部24bの基端部同士の間隔wは、固定部材12の軸部12c及び係合穴24aの直径D1よりも小さく設定されているため、固定部材12の軸部12cがガイド面24cとの接触状態から係合穴24aとの嵌合状態に移行する際には、一対のガイド部24bの基端部同士が固定部材12の軸部12cとの接触によって一時的に弾性変形し、ガイド部24bの基端部同士の間隔wが固定部材12の軸部12cが通過可能に拡張し、固定部材12の軸部12cが係合穴24aとの嵌合を完了した時点で元の弾性変形前の状態に戻るようになっている。
保持部材10の保持部26は、その長手方向内側から外側に向って延びた外側端部が下方側に屈曲し、この屈曲した部分の下端から内側に屈曲することにより、ほぼ半円弧状に形成されたリム部26aを備え、このリム部26aの内周側の領域A3(図5及び図8参照)は、衛生洗浄装置用の給水管8が挿入可能な大きさとなっている。
なお、本実施形態では、リム部26aの形状については、図5及び図7に示すように、ほぼ半円弧状としているが、このようなリム部26aの形状に限定されず、コの字形等の矩形形状や半円弧以外の形状に設定してもよい。
また、リム部26aは、保持部材10の取付部24側から中間部28で長手方向にほぼ直線状に延びた状態からほぼ半円弧状に屈曲した状態に遷移する上端側遷移部26bと、この上端側遷移部26bから鉛直方向面内でほぼ半円弧状に延びた状態から再び保持部材10の取付部24側に向って直線状に延びた状態に遷移する下端側遷移部26cを備えている。
さらに、リム部26aは、下端側遷移部26cから保持部材10の取付部24側に向って中間部28とほぼ平行に所定距離直線状に延びる下端側直線部26dと、この下端側直線部26dの内側端部(取付部24側の端部)から上方に所定距離突出する突起部26eを備えている。なお、この突起部26eについては省略してもよい。
また、図7に示すように、リム部26aの上端側遷移部26bと下端側遷移部26cとの上下方向の直線距離h1は、給水管8の断面の最大直径D2よりも大きく、リム部26aの鉛直方向面内の内周側領域A3の断面の大きさも給水管8の断面の大きさよりも大きくなるように設定されている。
図5、図7及び図8に示すように、保持部材10の中間部28は、横幅方向に所定間隔を置いて形成され且つ長手方向に沿って所定距離上方に突出する一対のフランジ28a,28bを備えている。
また、両フランジ28a,28bの高さ寸法h2は、保持部材10が洗浄水タンク装置4と便器本体2との上下方向の所定間隔d内に取り付け可能となるように、洗浄水タンク装置4と便器本体2との所定間隔dよりもわずかに小さく設定されている。
さらに、これらのフランジ28a,28bは、保持部材10を洗浄水タンク装置4と便器本体2と間に挿入して取り付ける際に、保持部材10のガタツキを低減させて保持部材10の取り付けをスムーズに行うためのスペーサーとして機能すると共に、保持部材10自体の曲げ強度やねじり強度を高めることができるようになっている。
つぎに、図6〜図8を参照して、本実施形態のトイレ装置1の保持部材10を洗浄水タンク装置4と便器本体2と間の固定部材12に取り付ける方法について説明する。
ここで、図6の保持部材10’及び10”は、保持部材10をトイレ装置1の外側から洗浄水タンク装置4と便器本体2と間に挿入して取り付ける際の取付方向とは異なるいくつかの方向から取り付けた場合のそれぞれの例を示している。
図6に示すように、保持部材10(10’又は10”)を洗浄水タンク装置4と便器本体2と間に挿入して取り付ける際には、まず、給水管8を保持部材10の保持部26のリム部26aの内周側領域A3(図8参照)内に挿入した上で、保持部材10の取付部24を固定部材12の軸部12cに近づけることにより、保持部材10の取付部24の一対のガイド部24bで挟まれた所定の領域A2(図7参照)内に固定部材12の軸部12cを挿入し、保持部材10の取付部24の一対のガイド部24bのいずれかのガイド面24cに固定部材12の軸部12cを接触させる。この際、保持部材10(10’又は10”)の取付部24の一対のガイド部24bにより、保持部材10(10’又は10”)の取付方向にかかわらず、固定部材12の軸部12cが保持部材10(10’又は10”)の取付部24の一対のガイド部24b内に挿入される。
つぎに、保持部材10の取付部24の一対のガイド部24bのいずれかのガイド面24cに固定部材12の軸部12c’又は12c”が接触した後、保持部材10の取付部24を固定部材12の軸部12c’又は12c”にさらに押し付けることにより、固定部材12の軸部12c’又は12c”をガイド面24cに沿って接触させながらガイド部24b基端側へ移動させ(図7の軸部12c’及び12c”に関する矢印方向参照)、係合穴24aに向ってガイドし、固定部材12の軸部12cが保持部材10の取付部24の係合穴24aに嵌め込まれる。
保持部材10の取り付け後、保持部材10の取付角度の調整が必要な場合には、固定部材12の軸部12cが保持部材10の取付部24の係合穴24aに嵌め込まれた状態で保持部材10を固定部材12の軸部12cを中心に回動させる。このとき、保持部材10の保持部26のリム部26aの内周側領域A3で保持された給水管8は、保持部材10の取付方向にかかわらず、リム部26aの内周側領域A3から外れることなく、便器本体2の側縁部2h及び外装カバー2aよりも内側に位置し、且つ便器本体2のガイド面2iと洗浄水タンク装置4の底部との間でほぼ水平な状態で後方側に延びた状態が維持される。
つぎに、本発明の一実施形態によるトイレ装置の作用を説明する。
例えば、便器本体2の上面2cにおける洗浄水タンク装置4の外装タンク4aと衛生洗浄装置本体14との間の領域について清掃を行ったり、衛生洗浄装置6自体の清掃やメンテナンス等を行ったりする際、衛生洗浄装置6について、図1、図2及び図4に実線で示す所定の取付位置から、図1、図2及び図4に鎖線で示す所定の移動位置まで前方側へ移動させると、衛生洗浄装置本体14の給水管接続部14aに接続されている衛生洗浄装置用の給水管8が前方側へ引き出される。
この際、衛生洗浄装置本体14の給水管接続部14aから後方側へ延びる給水管8は、その一部が便器本体2のガイド面2iによって下側から支持されてほぼ水平な状態に維持され、便器本体2のガイド面2iよりも後方側の領域で、保持部材10の保持部26のリム部26aにより、便器本体2の側縁部2h及び外装カバー2aよりも内側に位置するように保持される。
上述した本発明の実施形態によるトイレ装置1によれば、便器本体2の上面2cにおける洗浄水タンク装置4の外装タンク4aと衛生洗浄装置本体14との間の領域について清掃を行ったり、衛生洗浄装置6自体の清掃やメンテナンス等を行ったりする際に、衛生洗浄装置6を前方側へ移動させて衛生洗浄装置用の給水管8を前方側へ引き出すと、給水管8の一部が便器本体2のガイド面2iによって下側から支持されてほぼ水平な状態に維持され、便器本体2のガイド面2iよりも後方側の領域で、保持部材10の保持部26のリム部26aにより、便器本体2の側縁部2h及び外装カバー2aよりも内側に位置するように保持される。この結果、可撓性の給水管8が便器本体2の側部よりも外側に跳び出すことを防ぐことができ、給水管8が便器本体2の側部よりも外側に露出して外部から損傷を受けることを防ぐと共に、美観を向上させることができる。また、衛生洗浄装置6を便器本体2から着脱するか否かにかかわらず、便器本体2のガイド面2iや保持部材10の保持部26により、衛生洗浄装置6の後部から後方側に延びた給水管8がほぼ水平な状態で維持されるため、可撓性の給水管が周囲に引っ掛かったり、座屈したりすることによって給水管8に亀裂が入る等の給水管の損傷を防ぐことができ、給水管8の信頼性を向上させることができる。
また、本実施形態によるトイレ装置1によれば、保持部材10を便器本体2の後方側上面2cと洗浄水タンク装置4の底部との間に取り付けて固定する際に、便器本体2の後方側上部と洗浄水タンク装置4の底部とを所定間隔dを置いて固定する固定部材12を利用し、この固定部材12の軸部12cに保持部材10の取付部24を取り付けて固定することができる。したがって、保持部材10を便器本体2及び洗浄水タンク装置に対して固定するための手段を新たに設ける必要がない。また、便器本体2の後方側上部と洗浄水タンク装置4の底部とを固定する固定部材12さえあれば、この固定部材12の軸部12cに保持部材10の取付部24を容易に取り付けることができるため、保持部材10の取付方向等の制約を受けにくくすることができる。
さらに、本実施形態によるトイレ装置1によれば、保持部材10に加えて、便器本体2の後方側上面2cの角部に形成されたガイド面2iと洗浄水タンク装置4の底部とにより、衛生洗浄装置6の後部から後方側に延びた給水管8がほぼ水平な状態になるようにガイドして維持することができるため、例えば、衛生洗浄装置6を便器本体2から着脱する際に、衛生洗浄装置6を便器本体2の上面2cに対して前後方向に移動させたとしても、給水管をほぼ水平な状態に維持することができる。したがって、給水管8が周囲に引っ掛かったり、座屈したりして損傷するようなことがなく、給水管8の信頼性をより向上させることができる。
また、本実施形態によるトイレ装置1によれば、便器本体2のガイド面2iの後端部2jが洗浄水タンク装置4の外装タンク4aの前端部よりも後方側に延びているため、衛生洗浄装置6を便器本体2から着脱する際に、衛生洗浄装置6を便器本体2の上面2cに対して前後方向に移動させたとしても、給水管8をほぼ水平な状態により確実に維持することができるため、給水管8が座屈したりして損傷するようなことがなく、給水管8の信頼性をより向上させることができる。また、便器本体8を上方から見た場合には、洗浄水タンク装置4の外装タンク4aの前端部より前方側の便器本体2の部分と、洗浄水タンク装置4の外装タンク4aの前端部よりも後方側に延びるガイド面2iの部分しか見えないため、便器本体2のガイド面2iと洗浄水タンク装置4の外装タンク4aの底部との間の隙間を目立たないようにすることができる。また、便器本体2のガイド面2iよりも背面側の領域や便器本体2の下方の床面等も見えないようにすることができるため、外観性を向上させることができる。
さらに、本実施形態によるトイレ装置1によれば、保持部材10の取付部24を固定部材12の軸部12cに取り付ける際に、保持部材10の取付部24の一対のガイド部24bで挟まれた所定の領域A2内に固定部材12の軸部12cが挿入されるように、保持部材10の取付部24を固定部材12の軸部12cに近づけた後、保持部材10の取付部24の一対のガイド部24bのいずれかのガイド面24cに固定部材12の軸部12cを接触させた後、固定部材12の軸部12cを、保持部材10の取付部24のガイド部24bのガイド面24cに沿ってガイド部24bの基端側へ移動させて係合穴24aに向ってガイドして係合穴24aに嵌め込むことができる。
このとき、保持部材10の取付部24の一対のガイド部24bがテーパー状に拡張するしているため、固定部材12の軸部12cに対する保持部材10の取付部24の取付方向にかかわらず、保持部材10の取付部24のガイド部24bの所定の領域A2内に固定部材12の軸部12cを挿入しやすくすることができる。そして、保持部材10の取付部24のガイド部24bの所定の領域A2内に固定部材12の軸部12cを挿入後、固定部材12の軸部12cに保持部材10の取付部24のガイド部24bのいずれかの箇所を接触させながら、固定部材12の軸部12cに保持部材10の取付部24のガイド部24bを押し付けてテーパー状のガイド部24bのガイド面24cに沿わせることにより、保持部材10の取付部24の係合穴24aに固定部材12の軸部12cを容易にガイドすることができ、固定部材12の軸部12cに保持部材12の取付部24の係合穴24aを確実に係合して固定することができる。
また、本実施形態によるトイレ装置1によれば、保持部材10の保持部26のリム部26aの内周側において、給水管8を外側から内側に向けて且つ上下方向に確実に保持することができるため、給水管8を便器本体2の側縁部2h及び外装カバー2aよりも内側に位置するように保持することができる。したがって、衛生洗浄装置6を便器本体2から着脱する際に、衛生洗浄装置6を便器本体2の上面2cに対して前後方向に移動させたとしても、給水管をほぼ水平な状態に維持することができる。したがって、給水管8が周囲に引っ掛かったり、座屈したりして損傷するようなことがなく、給水管8の信頼性をより向上させることができる。
さらに、本実施形態によるトイレ装置1によれば、保持部材10の保持部26のリム部26aの突起部26eにより、リム部26aの所定の内周側領域A3に給水管8を挿入するべき領域を画定することができるため、給水管8をリム部26aの所定の内周側領域A3に挿入しやすくすることができると共に、このリム部26aの所定の内周側領域A3内に挿入した給水管8が落下するのを防ぐことができる。したがって、衛生洗浄装置6を便器本体2から着脱する際に、衛生洗浄装置6を便器本体2の上面2cに対して前後方向に移動させたとしても、給水管をほぼ水平な状態に維持することができる。
1 トイレ装置
2 便器本体
2a 外装カバー
2b ボウル部
2c 上面
2d 突起
2e 取付穴
2f 取付穴
2g 便器本体の後方側領域の下側部分
2h 便器本体の側縁部
2i 便器本体のガイド面
2j 便器本体のガイド面の後端部
4 洗浄水タンク装置
4a 外装タンク
4b 貯水タンク
4c 蓋体
4d 断熱部材
4e 手洗い鉢
4f 手洗い用カラン
4g 貯水タンクの固定部材取付部
4h 外装タンクの固定部材取付部
6 衛生洗浄装置
8 衛生洗浄装置用給水管
10 保持部材
12 固定部材(固定手段)
12a 固定部材の頭部
12b 固定部材の首部
12c 固定部材の軸部
12d リングナット
12e 固定部材の軸部の先端部
12f ナットユニット
14 衛生洗浄装置本体
14a 衛生洗浄装置本体の給水管接続部
16 便座
18 便蓋
20 吐水ノズル
20a 吐水ノズルの噴射部
22 ベースプレート
24 保持部材の取付部
24a 係合穴(係合部)
24b ガイド部
24c ガイド面
26 保持部材の保持部
26a リム部
26b リム部の上端側遷移部
26c リム部の下端側遷移部
26d リム部の下端側直線部
26e 突起部
28 保持部材の中間部
28a フランジ
28b フランジ

Claims (7)

  1. 洗浄水によって洗浄され、汚物を排出するトイレ装置であって、
    便器本体と、
    この便器本体の後方側上部に固定され、上記便器本体を洗浄する洗浄水を貯える洗浄水タンクと、
    使用者の人体局部を洗浄する吐水ノズルを備え、上記便器本体の上面に着脱可能に取り付けられた衛生洗浄装置と、
    この衛生洗浄装置の後部に接続され、上記衛生洗浄装置に給水する可撓性の給水管と、
    上記便器本体の後方側上部と上記洗浄水タンクの底部との間に取り付けられ、上記給水管を保持する保持部材と、を有し、
    この保持部材は、上記給水管が上記衛生洗浄装置の後部から上記便器本体の後方側上部と上記洗浄水タンクの底部との間の領域を経て後方側に延びて且つ上記便器本体の側部よりも内側に位置するように、上記給水管を外側から内側に向けて且つ上下方向に保持する保持部を備えていることを特徴とするトイレ装置。
  2. 更に、上記便器本体の後方側上部と上記洗浄水タンクの底部とを所定間隔を置いて固定する固定手段を有し、上記保持部が設けられた上記保持部材の一端部から長手方向に延びた他端部には、上記所定間隔に位置する上記固定手段に取り付けられる取付部が設けられている請求項1に記載のトイレ装置。
  3. 上記便器本体は、その後方側上面に形成され且つ衛生洗浄装置の後部から後方側に延びた給水管が上記便器本体の後方側上面と上記洗浄水タンクの底部との間でほぼ水平な状態で後方側に延びるようにガイドするためのガイド面を備えている請求項1又は2に記載のトイレ装置。
  4. 上記便器本体のガイド面は、その後端部が上記洗浄水タンクの前端部よりも後方側に延びている請求項3記載のトイレ装置。
  5. 上記保持部材の取付部は、上記固定手段に係合可能な係合穴が形成された係合部と、この係合部の係合穴の周縁の一部から外側に向ってほぼテーパー状に拡張するガイド部と、を備えている請求項2記載のトイレ装置。
  6. 上記保持部材の保持部は、その長手方向内側から外側に向って延びた外側端部が下方側に屈曲し、この屈曲した部分の下端から内側に屈曲することにより、その内周側で上記給水管を挿入可能とするリム部を備えている請求項1記載のトイレ装置。
  7. 上記保持部材の保持部のリム部は、その内側端部が上方に突出する突起を備えている請求項6記載のトイレ装置。
JP2011028769A 2011-02-14 2011-02-14 トイレ装置 Active JP5652751B2 (ja)

Priority Applications (1)

Application Number Priority Date Filing Date Title
JP2011028769A JP5652751B2 (ja) 2011-02-14 2011-02-14 トイレ装置

Applications Claiming Priority (1)

Application Number Priority Date Filing Date Title
JP2011028769A JP5652751B2 (ja) 2011-02-14 2011-02-14 トイレ装置

Publications (2)

Publication Number Publication Date
JP2012167478A true JP2012167478A (ja) 2012-09-06
JP5652751B2 JP5652751B2 (ja) 2015-01-14

Family

ID=46971874

Family Applications (1)

Application Number Title Priority Date Filing Date
JP2011028769A Active JP5652751B2 (ja) 2011-02-14 2011-02-14 トイレ装置

Country Status (1)

Country Link
JP (1) JP5652751B2 (ja)

Cited By (3)

* Cited by examiner, † Cited by third party
Publication number Priority date Publication date Assignee Title
JP2019138022A (ja) * 2018-02-08 2019-08-22 Toto株式会社 トイレ装置
JP2020133337A (ja) * 2019-02-25 2020-08-31 Toto株式会社 トイレ装置
JP2023034308A (ja) * 2021-08-30 2023-03-13 Toto株式会社 水洗大便器

Citations (1)

* Cited by examiner, † Cited by third party
Publication number Priority date Publication date Assignee Title
JP2008095396A (ja) * 2006-10-12 2008-04-24 Toto Ltd トイレ装置

Patent Citations (1)

* Cited by examiner, † Cited by third party
Publication number Priority date Publication date Assignee Title
JP2008095396A (ja) * 2006-10-12 2008-04-24 Toto Ltd トイレ装置

Cited By (5)

* Cited by examiner, † Cited by third party
Publication number Priority date Publication date Assignee Title
JP2019138022A (ja) * 2018-02-08 2019-08-22 Toto株式会社 トイレ装置
JP7072782B2 (ja) 2018-02-08 2022-05-23 Toto株式会社 トイレ装置
JP2020133337A (ja) * 2019-02-25 2020-08-31 Toto株式会社 トイレ装置
JP7276678B2 (ja) 2019-02-25 2023-05-18 Toto株式会社 トイレ装置
JP2023034308A (ja) * 2021-08-30 2023-03-13 Toto株式会社 水洗大便器

Also Published As

Publication number Publication date
JP5652751B2 (ja) 2015-01-14

Similar Documents

Publication Publication Date Title
CN103874811B (zh) 冲洗式坐便器及其连接装置
JP5652751B2 (ja) トイレ装置
JP5132371B2 (ja) 洋風水洗式便器
JP5721049B2 (ja) トイレ装置
JP6593717B2 (ja) 壁掛式便器用取付装置、及び、トイレシステム
JP2011231472A (ja) 水洗便器
KR101359284B1 (ko) 여성 전용 소변기
JP2009052337A (ja) 水栓装置
JP2012197565A (ja) 衛生洗浄装置ならびに衛生洗浄装置の給水配管構造および取付方法
KR101088997B1 (ko) 양변기용 공기방울 공급장치
JP4235199B2 (ja) 洋風水洗式便器
JP2007308912A (ja) 水洗便器
KR100697254B1 (ko) 좌변기 뚜껑에 장착된 세정장치
JP5643953B2 (ja) 手洗吐水装置
KR20150145761A (ko) 노즐 세척부를 구비한 비데 장치
JP6183649B2 (ja) トイレ装置
WO2013190541A1 (en) Combined toilet bowl
KR101117488B1 (ko) 수전금구
JP2019039227A (ja) 衛生洗浄装置およびトイレ装置
JP2017179957A (ja) 便器洗浄装置および便器装置
JP2004084473A (ja) 水洗便器
JP4771832B2 (ja) 温水洗浄便座
DE202005000084U1 (de) An ein WC angebaute oder anbaubare Dusche für die Intimhygiene
KR20090057683A (ko) 좌변기용 변좌
JP2007217914A (ja) 洋式便器装置およびそれに用いる男性用排尿部材

Legal Events

Date Code Title Description
A621 Written request for application examination

Free format text: JAPANESE INTERMEDIATE CODE: A621

Effective date: 20130327

A977 Report on retrieval

Free format text: JAPANESE INTERMEDIATE CODE: A971007

Effective date: 20131225

A131 Notification of reasons for refusal

Free format text: JAPANESE INTERMEDIATE CODE: A131

Effective date: 20140421

A521 Written amendment

Free format text: JAPANESE INTERMEDIATE CODE: A523

Effective date: 20140618

TRDD Decision of grant or rejection written
A01 Written decision to grant a patent or to grant a registration (utility model)

Free format text: JAPANESE INTERMEDIATE CODE: A01

Effective date: 20141027

R150 Certificate of patent or registration of utility model

Ref document number: 5652751

Country of ref document: JP

Free format text: JAPANESE INTERMEDIATE CODE: R150

A61 First payment of annual fees (during grant procedure)

Free format text: JAPANESE INTERMEDIATE CODE: A61

Effective date: 20141109