JP2012024937A - 情報形成シート - Google Patents

情報形成シート Download PDF

Info

Publication number
JP2012024937A
JP2012024937A JP2010162807A JP2010162807A JP2012024937A JP 2012024937 A JP2012024937 A JP 2012024937A JP 2010162807 A JP2010162807 A JP 2010162807A JP 2010162807 A JP2010162807 A JP 2010162807A JP 2012024937 A JP2012024937 A JP 2012024937A
Authority
JP
Japan
Prior art keywords
information
paper
paper piece
sheet
ink
Prior art date
Legal status (The legal status is an assumption and is not a legal conclusion. Google has not performed a legal analysis and makes no representation as to the accuracy of the status listed.)
Granted
Application number
JP2010162807A
Other languages
English (en)
Other versions
JP5615071B2 (ja
Inventor
Makoto Kawamura
誠 河村
Current Assignee (The listed assignees may be inaccurate. Google has not performed a legal analysis and makes no representation or warranty as to the accuracy of the list.)
Toppan Edge Inc
Original Assignee
Toppan Forms Co Ltd
Priority date (The priority date is an assumption and is not a legal conclusion. Google has not performed a legal analysis and makes no representation as to the accuracy of the date listed.)
Filing date
Publication date
Application filed by Toppan Forms Co Ltd filed Critical Toppan Forms Co Ltd
Priority to JP2010162807A priority Critical patent/JP5615071B2/ja
Publication of JP2012024937A publication Critical patent/JP2012024937A/ja
Application granted granted Critical
Publication of JP5615071B2 publication Critical patent/JP5615071B2/ja
Active legal-status Critical Current
Anticipated expiration legal-status Critical

Links

Images

Landscapes

  • Credit Cards Or The Like (AREA)

Abstract

【課題】透かし情報が形成される情報形成シートに関し、透かし情報を偽造困難として透かし効果を最適とする。
【解決手段】埋込情報15を、第1紙片12及び第2紙片13が剥離不能に接着される積層厚紙体の所定の積層間の所定部分に、白色インキに紙色以外の有色インキを混合させた紫外線硬化型の印刷インキにより形成させ、積層厚紙体の埋込情報対応部分を紙厚方向で密とさせることなく光に透かしたときに視認させる構成とする。
【選択図】図1

Description

本発明は、透かし情報が形成される情報形成シートに関する。
近年、情報形成シートの代表的なものとして、保険証書や偽造防止のための透かし情報が形成された金券証書類等が知られている。これら証書類は、主に厚紙が使用されることが多く、透かし効果を最適とさせる透かし情報を形成させることが望まれる。
従来、透かしが形成されたシートとして、特許文献1に示されているような帳票用紙がある。この透かし入り帳票用紙は、紙面上に白色顔料として酸化チタンを含有する紫外線硬化型紙色インキからなる紙色の遮光インキを部分的に印刷することで透かしを形成させたものである。
また、特許文献2に示されているような情報形成シートがある。この情報形成シートは、複数の紙片を感圧接着剤で積層した積層体の積層間に印刷インキにより埋め込み情報を形成し、加圧することで紙片の埋込情報部分を厚さ方向で密とさせたものである。
特許第3444535号公報 特許第4368278号公報
しかしながら、特許文献1の帳票用紙は、遮光インキが紙色であることから、使用される用紙の紙厚が厚くなるほど、特に印刷面の反対面からの透かし効果が薄れるという問題がある。例えば、紙厚90μm以上の用紙の場合には透かし効果が得られなかった。
また、用紙の一方面に透かし標章部(遮光インキ)や飾りパターン、印字情報が形成されることから、用紙をローラ搬送させた際にローラとインキの接触で搬送特性に悪影響を与えるという問題がある。このような場合に、特許文献2のように用紙を積層体として積層間に透かし情報を形成させても更なる透かし効果が薄れてしまうということとなる。
そして、透かし情報は、特許文献2のように埋込情報部分に対応する紙片厚さ部分を密とさせることなく、紙厚の大な紙片に対して最適な効果を得られることが望ましいものである。
そこで、本発明は上記課題に鑑みなされたもので、透かし情報を偽造困難として透かし効果を最適とさせる情報形成シートを提供することを目的とする。
上記課題を解決するために、請求項1の発明では、複数の紙片が接着剤により剥離不能に接着される積層厚紙体と、前記積層厚紙体における所定の積層間の所定部分に、白色インキに紙色以外の有色インキを混合させた紫外線硬化型の印刷インキにより形成される埋込情報と、を有し、前記積層厚紙体の埋込情報対応部分を紙厚方向で密とさせることなく光に透かしたときに前記埋込情報が視認される構成とする。
本発明によれば、埋込情報を、剥離不能に接着される積層厚紙体の所定の積層間の所定部分に、白色インキに紙色以外の有色インキを混合させた紫外線硬化型の印刷インキにより形成させ、積層厚紙体の埋込情報対応部分を紙厚方向で密とさせることなく光に透かしたときに視認させる構成とすることにより、積層構造の厚紙体に対して透かし情報を偽造困難として透かし効果を最適とさせることができるものである。
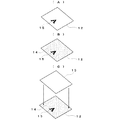
本発明に係る情報形成シートの第1実施形態の構成図である。 図1の情報形成シートの製造説明図である。 本発明に係る情報形成シートの第2実施形態の構成説明図である。 本発明に係る情報形成シートの第3実施形態の構成説明図である。
以下、本発明の実施形態を図により説明する。
図1に、本発明に係る情報形成シートの第1実施形態の構成図を示す。図1(A)は情報形成シートの斜視図、図1(B)は図1(A)のA−A断面図であるが、図1(B)は構成を容易に示すために寸法等を無視して示している。図1(A)、(B)において、情報形成シート11は、第1紙片12と第2紙片13とが接着剤14により剥離不能に接着された積層厚紙体であり、積層間の所定位置に埋込情報(例えば「A」の文字)15が紫外線硬化型の印刷インキにより形成される。なお、埋込情報15には、デザイン、パターン、文字、図形等のあらゆる形態がある。
上記第1紙片12及び第2紙片13は、例えば、それぞれが60Kg/m2のものが使用され、紙厚がそれぞれ略90μmであり、積層厚紙体としては厚さが略180μmとなる。また、これら第1紙片12及び第2紙片13は、本実施形態では、全体的に薄いベージュ色のものを使用し、また、第1紙片12及び第2紙片13の積層厚紙体として表面、裏面となる一方面又は両方面の全面又は所定部分に薄いオレンジ色の地紋を印刷により施したものを使用している。
上記埋込情報15を印刷する紫外線硬化型の印刷インキは、ここでは、白インキに、紙色以外の有色インキとして、例えば黒インキを混合させたものが使用される。詳細には、総重量1Kgの白インキとして二酸化チタンの白色顔料400g(40%)を含有(残りは一般的な紫外線硬化樹脂の量となる)させたものであり、総重量2gの黒インキとして有色顔料カーボンブラックの黒色顔料0.3g(15%)を含有(残りは一般的な紫外線硬化樹脂の量となる)させたものである。印刷インキ全体における顔料比率は、白色顔料100%に対して黒色顔料0.075%となる。なお、上記第1紙片12及び第2紙片13の積層厚紙体の紙厚(略180μm)に対して、上記白色インキに3gの黒色インキ(黒色顔料の含有率15%)を含有させた場合には、埋込情報15による透かし効果は満足のいくものではなかった。
白色顔料としては、亜鉛華、鉛白、リトポン、二酸化チタン、沈降性硫酸バリウムおよびバライト粉が知られているが、光の透過性を考慮すれば二酸化チタンが好ましい。有色顔料としては、黒色顔料(カーボンブラック)の他に、赤色顔料(鉛丹、酸化鉄赤)、黄色顔料(黄鉛、亜鉛黄(亜鉛黄1種、亜鉛黄2種))、青色顔料(ウルトラマリン青、プロシア青(フェロシアン化鉄カリ))等があり、紙色に応じて適宜選択される。なお、顔料として、有機顔料、無機顔料などを問わない。
上記のような印刷インキを用いて、埋込情報15をオフセット印刷、スクリーン印刷、インクジェット印刷などにより、ここでは通常の盛厚として1μmで印刷を行ったものである。
上記接着剤14は、ここでは、水性エマルジョン系の接着剤であり、具体的には日栄化工株式会社製の商品名「ライフボンドAV−803LL」(成分:酢酸ビニル共重合樹脂、エチレンビニルアルコール(EVA))を使用し、これを第1紙片12又は第2紙片13に厚さ8μm(乾燥時4μmとなる)で塗布させたものである。なお、第1紙片12及び第2紙片13の埋込情報対応部分の厚さ方向部分を密とさせない程度の加圧で接着できるものであれば感圧接着剤を使用してもよい。
そこで、図2に、図1の情報形成シートの製造説明図を示す。まず、図2(A)に示すように、第1紙片12上の所定部分に上記印刷インキにより埋込情報(「A」)15が印刷され、紫外線照射により硬化させて定着させる。この埋込情報15が形成された面に、図2(B)に示すように、上記接着剤14を8μm厚で塗布し、図2(C)に示すように、第2紙片13を重ね合わせて接着させ、当該接着剤14を乾燥させることで図1に示す情報形成シート11とさせるものである。
なお、図2では、第1紙片12及び第2紙片13のそれぞれを枚葉として説明したが、それぞれの紙片を連続させた連続シートしてもよく、この場合に第1紙片12の連続シート上に埋込情報15を枚葉単位で印刷していき、接着剤14を塗布した後に第2紙片13の連続シートを重ね合わせて接着させ、枚葉単位で断裁させることで、図1に示す情報形成シート11となるものである。
このように、積層厚紙体の積層間の所定部分に白色インキに紙色以外の有色インキを混合させた紫外線硬化型の印刷インキにより埋込情報を形成させ、積層厚紙体の埋込情報対応部分を紙厚方向で密とさせることなく光に透かしたときに視認させることから、積層構造の厚紙体に対して透かし情報を偽造困難として透かし効果を最適とさせることができるものである。
このことは、第1紙片12や第2紙片13に地紋が印刷形成されても透かし効果を低下させることもなく、また、前述の特許文献1の透かし入り帳票用紙と異なり、印刷インキが表面に現れることがなく、ローラ搬送において、搬送特性に悪影響を与えることはないものである。
次に、図3に、本発明に係る情報形成シートの第2実施形態の構成説明図を示す。本実施形態では2つ折りの情報形成シートを示したものである。まず、図3(A)に示すように、上記第1紙片12及び第2紙片13が、適宜形成された折込線22で連設されたシート基材21の第1紙片12の所定位置に、上記印刷インキにより埋込情報(「A」)15が印刷される。
続いて、図3(B)に示すように、第1紙片12又は第2紙片13の一方(図では第1紙片12)の埋込情報15が印刷された面に接着剤14が塗布され、図3(C)に示すように、折込線22に沿って、接着剤14面で重ね合わされるように折り込むことによって、図1(A)、(B)に示すような埋込情報15が埋め込まれた情報形成シート11として作製されるものである。
なお、図3では、シート基材21を枚葉として説明したが、連続シート基材としてもよく、この場合に適宜予め折込線22と枚葉とするための切取線を形成させておいてもよい。この場合に第1紙片12の連続シート上に埋込情報15を枚葉単位で印刷していき、接着剤14を塗布した後に第2紙片13の連続シートを重ね合わせて接着させ、枚葉単位で断裁させることで、図1に示す情報形成シート11となるものである。
次に、図4に、本発明に係る情報形成シートの第3実施形態の構成説明図を示す。本実施形態では3つ折りの情報形成シートを示したものである。すなわち、図4(A)に示すように、上記同様の紙厚(略180μm)又は3紙片の合計で略180μmの厚さとなる第1紙片32〜第3紙片34が、適宜形成された折込線35で連設されたシート基材31における一方面(表面とする)の第1紙片32の所定位置に上記同様の印刷インキが埋込情報(「A」)36を印刷すると共に、他方面(裏面)の第3紙片34の所定位置に当該印刷インキが埋込情報(「B」)37を印刷する。
続いて、図4(B)に示すように、第1紙片32の埋込情報36の印刷面に上記同様の接着剤14を塗布し、第1紙片32と第2紙片33間の折込線35に沿って、折り込んで接着させる。そして、図4(C)に示すように、裏面の第3紙片34の埋込情報37が印刷面に上記同様の接着剤14を塗布し、第2紙片33と第3紙片34間の折込線35に沿って、折り込んで接着させることにより、情報形成シート41となる。
これによって、図4(D)に示すように、第1紙片32側を表面とすると、表面からは埋込情報36が透かし効果で視認可能となり、裏面からは埋込情報37が透かし効果で視認可能となるものである。
このように、情報形成シート41が、3つ折り形態であっても第1紙片32側および第3紙片34側の密部分で埋込情報36,37を透かし形態で視認可能とさせることができ、このような埋込情報15を形態や形成位置等で高自由度に形成できるものである。なお、図4に示す実施形態では、3つ折りとしてZ折りの場合を示したが、巻き込み折りであっても適用することができ、この場合には第1紙片32〜第3紙片34のうち隣接の各紙片に埋込情報36,37を形成すればよい。また、3つ折りに限らず、4つ折り等で適宜形成することも可能である。
なお、図4では、シート基材31を枚葉として説明したが、連続シート基材としてもよく、この場合に適宜予め折込線35と枚葉とするための切取線を形成させておいてもよいことは図3と同様である。
ところで、情報形成シート11,41に形成された埋込情報15,36,37は、剥離不能に接着された積層体の積層間に形成されていることから、偽造が極めて困難であると共に複写機等によっても認識が困難であり、偽造防止効果をも奏するものである。また、偽造防止の観点からは、上記印刷インキに特定波長に反応する部材を含有させることにより、機械的な真贋判定を可能とさせることができるものである。
本発明の情報形成シートは、各種証明書等の他に、種々のチケット、金券類やレシート等に利用可能である。
11,41 情報形成シート
12,32 第1紙片
13,33 第2紙片
14 接着剤
15,36,37 埋込情報
21,31 シート基材
22,35 折込線
34 第3紙片

Claims (1)

  1. 複数の紙片が接着剤により剥離不能に接着される積層厚紙体と、
    前記積層厚紙体における所定の積層間の所定部分に、白色インキに紙色以外の有色インキを混合させた紫外線硬化型の印刷インキにより形成される埋込情報と、
    を有し、
    前記積層厚紙体の埋込情報対応部分を紙厚方向で密とさせることなく光に透かしたときに前記埋込情報が視認されることを特徴とする情報形成シート。
JP2010162807A 2010-07-20 2010-07-20 情報形成シート Active JP5615071B2 (ja)

Priority Applications (1)

Application Number Priority Date Filing Date Title
JP2010162807A JP5615071B2 (ja) 2010-07-20 2010-07-20 情報形成シート

Applications Claiming Priority (1)

Application Number Priority Date Filing Date Title
JP2010162807A JP5615071B2 (ja) 2010-07-20 2010-07-20 情報形成シート

Publications (2)

Publication Number Publication Date
JP2012024937A true JP2012024937A (ja) 2012-02-09
JP5615071B2 JP5615071B2 (ja) 2014-10-29

Family

ID=45778489

Family Applications (1)

Application Number Title Priority Date Filing Date
JP2010162807A Active JP5615071B2 (ja) 2010-07-20 2010-07-20 情報形成シート

Country Status (1)

Country Link
JP (1) JP5615071B2 (ja)

Citations (5)

* Cited by examiner, † Cited by third party
Publication number Priority date Publication date Assignee Title
JPS63270898A (ja) * 1987-04-24 1988-11-08 大蔵省印刷局長 紙層内に図柄を付与した証券用紙の製造方法
JPH02133697A (ja) * 1988-11-09 1990-05-22 Ookurashiyou Insatsu Kyokucho Pva繊維混抄紙を紙層内に挿入した証券類用紙
JP2002067470A (ja) * 2000-08-28 2002-03-05 Nihon Unisys Supply Ltd 透かし入用紙とその製造方法。
JP3444535B2 (ja) * 1999-05-13 2003-09-08 小林記録紙株式会社 透かし入り帳票用紙
JP4368278B2 (ja) * 2004-09-10 2009-11-18 トッパン・フォームズ株式会社 情報形成シート

Patent Citations (5)

* Cited by examiner, † Cited by third party
Publication number Priority date Publication date Assignee Title
JPS63270898A (ja) * 1987-04-24 1988-11-08 大蔵省印刷局長 紙層内に図柄を付与した証券用紙の製造方法
JPH02133697A (ja) * 1988-11-09 1990-05-22 Ookurashiyou Insatsu Kyokucho Pva繊維混抄紙を紙層内に挿入した証券類用紙
JP3444535B2 (ja) * 1999-05-13 2003-09-08 小林記録紙株式会社 透かし入り帳票用紙
JP2002067470A (ja) * 2000-08-28 2002-03-05 Nihon Unisys Supply Ltd 透かし入用紙とその製造方法。
JP4368278B2 (ja) * 2004-09-10 2009-11-18 トッパン・フォームズ株式会社 情報形成シート

Also Published As

Publication number Publication date
JP5615071B2 (ja) 2014-10-29

Similar Documents

Publication Publication Date Title
AU2011276149A1 (en) Transparent ink-accepting layer
KR20070063001A (ko) 보안장치 및 상기 보안장치를 이용하는 위조방지 물품
JP5103937B2 (ja) 中間転写記録媒体ならびにそれを用いる情報記録方法および情報記録体の製造方法
CN1703324B (zh) 有价文件
JP5226447B2 (ja) 窓部を有する送付体
JP5615071B2 (ja) 情報形成シート
JP4703401B2 (ja) 情報隠蔽用シート
JP5615072B2 (ja) 情報形成シート
JP4368278B2 (ja) 情報形成シート
JP5212942B2 (ja) 情報通信体用用紙及びそれを用いた情報通信体
JP4670504B2 (ja) 画像情報記録媒体
KR101345874B1 (ko) 복사 방지용 보안용지 및 이의 제조방법
JP5120756B2 (ja) 情報通信体の製造方法
JP2001246681A (ja) 偽造防止ラミネート
JP7707752B2 (ja) 圧着シート
US20080018098A1 (en) Card carrying business communication product and method of producing same
JP7297193B2 (ja) 情報通信体の開封口における剥離力調整手段
JP4500271B2 (ja) 情報隠蔽用シート
JP2013095132A (ja) 水濡れに強い情報通信体の開封手段
JP5472600B2 (ja) 冊子
JP2010000771A (ja) 情報通信体の製造方法
JP4043980B2 (ja) 多層印刷用紙
JP4354237B2 (ja) 積層印刷物
JP2010023261A (ja) 葉書シート及び葉書の作製方法
US8328080B2 (en) Document production using image transfer to mated substrate

Legal Events

Date Code Title Description
A621 Written request for application examination

Free format text: JAPANESE INTERMEDIATE CODE: A621

Effective date: 20130711

A977 Report on retrieval

Free format text: JAPANESE INTERMEDIATE CODE: A971007

Effective date: 20140124

A131 Notification of reasons for refusal

Free format text: JAPANESE INTERMEDIATE CODE: A131

Effective date: 20140218

A521 Request for written amendment filed

Free format text: JAPANESE INTERMEDIATE CODE: A523

Effective date: 20140408

TRDD Decision of grant or rejection written
A01 Written decision to grant a patent or to grant a registration (utility model)

Free format text: JAPANESE INTERMEDIATE CODE: A01

Effective date: 20140902

A61 First payment of annual fees (during grant procedure)

Free format text: JAPANESE INTERMEDIATE CODE: A61

Effective date: 20140909

R150 Certificate of patent or registration of utility model

Ref document number: 5615071

Country of ref document: JP

Free format text: JAPANESE INTERMEDIATE CODE: R150

R250 Receipt of annual fees

Free format text: JAPANESE INTERMEDIATE CODE: R250

R250 Receipt of annual fees

Free format text: JAPANESE INTERMEDIATE CODE: R250

R250 Receipt of annual fees

Free format text: JAPANESE INTERMEDIATE CODE: R250

R250 Receipt of annual fees

Free format text: JAPANESE INTERMEDIATE CODE: R250

R250 Receipt of annual fees

Free format text: JAPANESE INTERMEDIATE CODE: R250

R250 Receipt of annual fees

Free format text: JAPANESE INTERMEDIATE CODE: R250

S533 Written request for registration of change of name

Free format text: JAPANESE INTERMEDIATE CODE: R313533

R350 Written notification of registration of transfer

Free format text: JAPANESE INTERMEDIATE CODE: R350

R250 Receipt of annual fees

Free format text: JAPANESE INTERMEDIATE CODE: R250

S111 Request for change of ownership or part of ownership

Free format text: JAPANESE INTERMEDIATE CODE: R313113

R350 Written notification of registration of transfer

Free format text: JAPANESE INTERMEDIATE CODE: R350

R250 Receipt of annual fees

Free format text: JAPANESE INTERMEDIATE CODE: R250

R250 Receipt of annual fees

Free format text: JAPANESE INTERMEDIATE CODE: R250