JP2011240887A - 車体側部構造 - Google Patents

車体側部構造 Download PDF

Info

Publication number
JP2011240887A
JP2011240887A JP2010116756A JP2010116756A JP2011240887A JP 2011240887 A JP2011240887 A JP 2011240887A JP 2010116756 A JP2010116756 A JP 2010116756A JP 2010116756 A JP2010116756 A JP 2010116756A JP 2011240887 A JP2011240887 A JP 2011240887A
Authority
JP
Japan
Prior art keywords
center pillar
vehicle
door
load transmission
side sill
Prior art date
Legal status (The legal status is an assumption and is not a legal conclusion. Google has not performed a legal analysis and makes no representation as to the accuracy of the status listed.)
Granted
Application number
JP2010116756A
Other languages
English (en)
Other versions
JP5244857B2 (ja
Inventor
Shogo Imamura
壮吾 今村
Current Assignee (The listed assignees may be inaccurate. Google has not performed a legal analysis and makes no representation or warranty as to the accuracy of the list.)
Honda Motor Co Ltd
Original Assignee
Honda Motor Co Ltd
Priority date (The priority date is an assumption and is not a legal conclusion. Google has not performed a legal analysis and makes no representation as to the accuracy of the date listed.)
Filing date
Publication date
Application filed by Honda Motor Co Ltd filed Critical Honda Motor Co Ltd
Priority to JP2010116756A priority Critical patent/JP5244857B2/ja
Priority to EP11166654A priority patent/EP2388183B1/en
Priority to US13/111,495 priority patent/US8439428B2/en
Publication of JP2011240887A publication Critical patent/JP2011240887A/ja
Application granted granted Critical
Publication of JP5244857B2 publication Critical patent/JP5244857B2/ja
Expired - Fee Related legal-status Critical Current
Anticipated expiration legal-status Critical

Links

Images

Landscapes

  • Body Structure For Vehicles (AREA)

Abstract

【課題】側面衝突時の衝撃をドアからセンタピラーを介してサイドシル内の荷重伝達部材に伝え、荷重伝達部材から床のクロスメンバに伝達する車体側部構造を提供する。
【解決手段】車体側部構造は、車室13の左右の側壁(サイドボデー25)の下端をなす閉断面形状のサイドシル16にセンタピラー32を立設し、床(アンダボデー)14のクロスメンバの端部を取付けた。サイドシル16の内部を仕切るセンタピラーインナーのセンタピラーインナー通し部67を貫通させ、センタピラーインナー通し部67に対向させ外バルクヘッド21、内バルクヘッドを配置している。前ドア45内に配置した第2ドアビーム212の後端214を外バルクヘッド21に近接させた。第2ドアビーム212は後端214をセンタピラー32が備える角部(センタピラースチフナー第1稜線部136)に重ねている。
【選択図】図16

Description

本発明は、車両の側面に側面衝突時など外方から衝撃が入力されたときに、その衝撃をドアからドアを支持している側壁、この側壁から車両の床へと伝達する車体側部構造に関するものである。
車体側部構造には、車両の前後の乗降口間に設けた立て枠部をなすセンタピラーに乗降口の下枠部をなす角管状のサイドシルを接合しているものがある。
このサイドシルは、4枚のパネルを空間を設けて縁同士を接合したもので、車両の外側から順に、アウタパネル、内部アウタパネル、内部インナパネル、インナパネルを配置している。そして、センタピラーを接合した部位で、内部アウタパネルと内部インナパネルとで形成した空間内に仕切り部材(バルクヘッド)を設けることによって、側面衝突に対する強度を高めている(例えば、特許文献1参照)。
しかし、従来技術(特許文献1)は、内部アウタパネルからインナパネルへと仕切り部材を設けると、仕切り部材と内部インナパネルとが干渉する。
インナパネルへと仕切り部材を設けると、仕切り部材からインナパネルに連続する床に荷重を伝達することができるという利点がある。
センタピラーを接合した内部に設けられ、内部インナパネル(センタピラーインナー通し部)に干渉しないバルクヘッド(荷重伝達部材)が望まれていた。
また、従来技術は、図に示していない乗降口のドアに側面衝突の衝撃が入力された場合に、ドアやセンタピラーで衝撃を吸収するため、結果的に車体は強度が弱い。
側突荷重をドアからセンタピラー、センタピラーから床へと効率的に伝達する構造が望まれていた。
特許第3492922号公報
本発明は、側面衝突時の衝撃(荷重)をドアからセンタピラーを介してサイドシル内の荷重伝達部材に伝え、荷重伝達部材から床のクロスメンバに伝達する車体側部構造を提供することを課題とする。
上記の課題を解決するために、請求項1に係る発明は、乗降用ドアを取付ける車室の左右の側壁の下端をなす閉断面形状のサイドシルの中央部に側壁のセンタピラーを立設し、且つ車室の床のクロスメンバの端部を取付けた車体側部構造において、サイドシルの内部を内側空間、外側空間に仕切るセンタピラーのセンタピラーインナーのセンタピラーインナー通し部を貫通させ、センタピラーインナー通し部に対向させ外側空間内に外側荷重伝達部材を配置し、外側荷重伝達部材にセンタピラーインナー通し部を介して対向させ内側空間内に内側荷重伝達部材を配置し、ドア内に配置したドアビームの後端を外側荷重伝達部材に近接させたことを特徴とする。
請求項2に係る発明では、ドアビームは、長手方向に沿ったビードを有し、車両側面視、ドアビームの後端をセンタピラーが備える溝形のセンタピラー中間層部材の角部に重ねていることを特徴とする。
請求項3に係る発明では、ドアビームは、後端にカット部をドアのドア下端に沿って形成していることを特徴とする。
請求項4に係る発明では、内側荷重伝達部材は、車両正面視、車両の高さ方向において、外側荷重伝達部材より高く外側荷重伝達部材から上に連なるセンタピラーの下部に達していることを特徴とする。
請求項5に係る発明は、外側荷重伝達部材及び内側荷重伝達部材をクロスメンバの長手方向へ直列に配置していることを特徴とする。
請求項6に係る発明では、外側荷重伝達部材は、サイドシルの外側空間を有するサイドシル中間層部材に接合し、内側荷重伝達部材は、サイドシルの内側空間を有するサイドシルインナに接合していることを特徴とする。
請求項7に係る発明は、内側・外側荷重伝達部材は、車両平面視、断面ハット形状で、開口を対向させ、センタピラーインナー通し部にほぼ直交して車幅方向に延びるそれぞれの内側本体部と外側本体部をほぼ直列に配置していることを特徴とする。
請求項8に係る発明は、内側荷重伝達部材は、クロスメンバへ向いている内側板状部の上側部又は下側部をクロスメンバの断面形状にほぼ一致させて、内側板状部にほぼ直交して連なる内側本体部をクロスメンバのうち車両前方・後方へ向いている前壁部、後壁部にほぼ直線状に配置していることを特徴とする。
請求項1に係る発明では、サイドシルにセンタピラー及び床のクロスメンバの端部を取付けた車体側部構造において、サイドシルの内部を内側空間、外側空間に仕切るセンタピラーインナー通し部を貫通させ、センタピラーインナー通し部に対向させ外側空間内に外側荷重伝達部材を配置し、外側荷重伝達部材にセンタピラーインナー通し部を介して対向させ内側空間内に内側荷重伝達部材を配置し、ドア内に配置したドアビームの後端を外側荷重伝達部材に近接させたので、ドアに側突荷重が入力されると、ドアビームから外側荷重伝達部材へ荷重を伝え、さらに外側荷重伝達部材から内側荷重伝達部材を介してクロスメンバへと荷重を伝達することができるという利点がある。
請求項2に係る発明では、ドアビームは、長手方向に沿ったビードを有し、車両側面視、ドアビームの後端をセンタピラーが備える溝形のセンタピラー中間層部材の角部に重ねているので、ドアに側突荷重が入力されると、ドアビームのビードによって荷重をセンタピラー中間層部材の角部に伝達して分散し、且つ、ビードによって分散してドアビームの折れを防止することができる。
請求項3に係る発明では、ドアビームは、後端にカット部をドアのドア下端に沿って形成しているので、ドアビームの後端を外側荷重伝達部材により近接させることができるという利点がある。
請求項4に係る発明では、内側荷重伝達部材は、車両正面視、車両の高さ方向において、外側荷重伝達部材より高く外側荷重伝達部材から上に連なるセンタピラーの下部に達しているので、センタピラーに側突荷重が入力され、センタピラーの下方の外側荷重伝達部材に曲げモーメントが発生すると、曲げモーメントで内側荷重伝達部材は変形しつつ曲げモーメントを圧縮荷重としてクロスメンバに伝達するという利点がある。
請求項5に係る発明では、外側荷重伝達部材及び内側荷重伝達部材をクロスメンバの長手方向へ直列に配置しているので、側突荷重をセンタピラーからクロスメンバにクロスメンバの長手方向に沿って直線的に伝達することができる。
請求項6に係る発明では、外側荷重伝達部材は、サイドシルの外側空間を有するサイドシル中間層部材に接合し、内側荷重伝達部材は、サイドシルの内側空間を有するサイドシルインナに接合しているので、センタピラーインナーのセンタピラーインナー通し部に干渉することなく、サイドシル内に内側荷重伝達部材と外側荷重伝達部材とからなる荷重伝達部材を配置することができる。
請求項7に係る発明では、内側・外側荷重伝達部材は、車両平面視、断面ハット形状で、開口を対向させ、センタピラーインナー通し部にほぼ直交して車幅方向に延びるそれぞれの内側本体部と外側本体部をほぼ直列に配置しているので、内側荷重伝達部材と外側荷重伝達部材とからなる荷重伝達部材の本体部(内側本体部と外側本体部からなる)の取付け精度を高めることができ、且つ、取付け作業は容易になる。
請求項8に係る発明では、内側荷重伝達部材は、クロスメンバへ向いている内側板状部の上側部又は下側部をクロスメンバの断面形状にほぼ一致させて、内側板状部にほぼ直交して連なる内側本体部をクロスメンバのうち車両前方・後方へ向いている前壁部、後壁部にほぼ直線状に配置しているので、側突荷重を内側荷重伝達部材の内側本体部からクロスメンバに接合したサイドシルのサイドシルインナーを介してクロスメンバの前壁部、後壁部に直線的に伝達することができ、荷重伝達効率が向上するという利点がある。
本発明の実施例に係る車体側部構造を採用した車体の側面図である。 図1の2−2線断面図である。 図1の3−3線断面図である。 図2の4−4線断面図である。 図2の5−5線断面図である。 図5を斜め下から見た外側荷重伝達部材の斜視図である。 図5を斜め上から見た外側荷重伝達部材の斜視図である。 図2の8−8線断面図である。 図8を斜め下から見た内側荷重伝達部材の斜視図である。 図8を斜め上から見た内側荷重伝達部材の斜視図である。 車両の外側からサイドシル及びセンタピラーインナーを透視して見た荷重伝達部材の斜視図である。 車両の内側からサイドシルを透視して見た内側荷重伝達部材の斜視図である。 図2の13矢視図である。 センタピラーインナーに設けたセンタピラーインナー通し部の斜視図である。 センタピラースチフナーの下部及びサイドシルスチフナーの斜視図である。 実施例に係る車体側部構造を採用した車体及びドアの側面図である。 実施例に係る車体側部構造の透視側面図である。 図17の18−18線断面図である。 図17の19−19線断面図である。
以下、本発明の実施の形態について、実施例で詳細に説明する。
実施例に係る車体側部構造は、図1〜図3に示すように、車両11の側面12に側面衝突で衝撃(荷重)が入力されると、荷重を車室13の床(アンダボデー)14に伝えて吸収する。
車体側部構造は、床(アンダボデー)14の左右端に設けたられたサイドシル16の内部に荷重伝達部材17を配置している。
荷重伝達部材17は、外側荷重伝達部材(外バルクヘッド)21と、内側荷重伝達部材(内バルクヘッド)22と、からなり、車両11への側突荷重を外バルクヘッド21から内バルクヘッド22へと伝える。
車両11は、車体24を有する。車両前後方向をX軸、車幅方向をY軸、車両高さ方向をZ軸とする。
車体24は、車室13の床をなすアンダボデー14、車室13の側壁をなすサイドボデー25、を備える。車幅方向(Y軸方向)の中央(図3中心線C)を基準に左右がほぼ対称である。以降、車体24の左側のサイドボデー25を説明するが、車体24の右側のサイドボデー25は左側のサイドボデー25とほぼ同様である。
荷重伝達部材17は左右対称である。
サイドボデー25は、前述のサイドシル16と、このサイドシル16の前端27に立設したフロントピラー28、サイドシル16の車両前後方向(X軸方向)の中央(センタピラー接合部31)に立設したセンタピラー32と、サイドシル16の後端34に立設したリヤタピラー35と、これらの上端37、38、39に連なるルーフサイドレール41と、を有する。
なお、図1のサイドボデー25の側面図は、外面を形成するサイドパネルアウタ43(図2の二点鎖線)を取り外した状態を描いている。
フロントピラー28には、前ドア45(図2)が取付けられ、センタピラー32にロック装置46でロックされる。
センタピラー32は、図2に示す通り、3部材からなる。
センタピラー32の外面(外層)を形成するサイドパネルアウタ43のうちのセンタピラーアウタ47と、センタピラーアウタ47より車両11の内側に設けられ内層をなすセンタピラーインナー48と、これらのセンタピラーアウタ・インナー47、48で形成した中空(閉断面形状)の内部に中空を2分割するように設けられ中間層をなすセンタピラースチフナー51と、からなる。
そして、センタピラーインナー48をサイドシル16に貫通させている(図2)。
サイドシル16は、図2に示す通り、3部材からなる。
サイドシル16の外面(外層)を形成したサイドパネルアウタ43のうちのサイドシルアウタ53と、サイドシルアウタ53より車両11の内側に設けられ内層をなすサイドシルインナー54と、これらのサイドシルアウタ・インナー53、54で形成した中空(閉断面形状)の内部に中空を2分割するように設けられ中間層をなすサイドシルスチフナー55と、からなる。
サイドシルインナー54にアンダボデー14を接合している。
アンダボデー14は、図2、図3に示す通り、サイドシル16にクロスメンバ57を接合し、フロアパネル58を接合している。
具体的には、左のサイドシルインナー54の中央(センタピラー接合部31)にクロスメンバ57の一端部59を接合している。
クロスメンバ57の他端部59を、図に示していないが同様に、右のサイドシルインナー54の中央(センタピラー接合部31)に接合している。
また、クロスメンバ57の上端フランジ61にはフロアパネル58を接合している。
次に、車体側部構造の主要構成を図1〜図15で説明する。
車体側部構造は、乗降用ドア(前ドア45)を取付ける車室13の左右の側壁(サイドボデー25)の下端をなす閉断面形状のサイドシル16の中央部(センタピラー接合部31)に側壁(サイドボデー25)のセンタピラー32を立設し、且つ車室13の床(アンダボデー)14のクロスメンバ57の端部(一端部59、他端部59)を取付けた。
車体側部構造は、図2〜図4に示す通り、サイドシル16の内部を内側空間64、外側空間65に仕切るセンタピラー32のセンタピラーインナー48に設けたセンタピラーインナー通し部67(図14参照)を貫通させ、センタピラーインナー通し部67に対向させ外側空間65内に外側荷重伝達部材(外バルクヘッド)21を配置し、外側荷重伝達部材(外バルクヘッド)21にセンタピラーインナー通し部67を介して対向させ内側空間64内に内側荷重伝達部材(内バルクヘッド)22を配置している(図4、図11)。
内側荷重伝達部材(内バルクヘッド)22は、クロスメンバ57の端部(一端部59、他端部59)に沿って配置されている。詳しくは後で説明する。
外側荷重伝達部材(外バルクヘッド)21は、図2〜図7に示す通り、サイドシル16の外側空間65を有するサイドシル中間層部材(サイドシルスチフナー)55に接合している。
内側荷重伝達部材(内バルクヘッド)22は、図2、図4、図8〜図10に示す通り、サイドシル16の内側空間64を有するサイドシルインナー54に接合している。
内側・外側荷重伝達部材(内・外バルクヘッド)22、21は、車両11平面視(図4の視点)、断面ハット形状で、外バルクヘッド21の開口71、内バルクヘッド22の開口72を対向させ、センタピラーインナー通し部67にほぼ直交して車幅方向(Y軸方向)に延びる外バルクヘッド21の外側本体部74と内バルクヘッド22の内側本体部75をほぼ直列に配置している。
「ほぼ」とは、公差の上限から下限までの範囲を有するということである。
「ほぼ直交」とは、例えば、センタピラーインナー通し部67に対し、角度が85°〜95°の範囲内である。逆に、「ほぼ」を省いて「直交して」と限定しても、所望の公差を含むものとする。
「ほぼ直列」とは、外側本体部74の延長に内側本体部75を沿わせ且つ延長に内側本体部75を近接させていること。
内側荷重伝達部材(内バルクヘッド)22は、車両11正面視(図2の視点)、車両11の高さ方向(Z軸方向)において、外側荷重伝達部材(外バルクヘッド)21より(高さHrだけ)高く外側荷重伝達部材(外バルクヘッド)21から上に連なるセンタピラー32の下部77に(高さHrだけ)重なっている。
内バルクヘッド22はまた、外バルクヘッド21より高さHrとほぼ同じ高さだけ低い。
言い換えると、内バルクヘッド22は車両高さ方向(Z軸方向)で外バルクヘッド21より大きい。
内側荷重伝達部材(内バルクヘッド)22は、図2、図8、図12に示すように、クロスメンバ57へ向いている内側側部81の上側部82又は下側部83をクロスメンバ57の断面形状にほぼ一致させて(図12参照)、図4にも示すように、内側側部81にほぼ直交して連なる内側本体部75をクロスメンバ57のうち車両11前方・後方へ向いている前壁部85、後壁部86にほぼ直線状に配置している。
ここでは、下側部83をクロスメンバ57の断面形状にほぼ一致させた。
次に、車体側部構造を詳しく説明していく。
クロスメンバ57は、図4、図12、図13に示す通り、既に述べた前壁部85と、後壁部86と、これらに連なる底部87とで断面U字形を形成し、前壁部85の上縁に連続する上端フランジ61を形成し、後壁部86の上縁に連続する上端フランジ61を形成することで、クロスメンバ57は断面ハット形状を形成している。
上端フランジ61にフロアパネル58を重ね、接合することで、クロスメンバ57はフロアパネル58の下面に接合して中空形状(閉断面形状)を形成している。
前壁部85の一端部59、他端部59に連ねて端フランジ88がサイドシルインナー54に接合するよう形成されている。
クロスメンバ57では、前壁部85と底部87で形成した角が前稜線部91であり、後壁部86と底部87で形成した角が後稜線部92である。
また、図2、図12、図13に示す通り、クロスメンバ57の底部87、詳しくは底フランジ94をサイドシル16のサイドシルインナー54のインナー底部97に重ね、それぞれ(インナー底部97と底フランジ94)が連続するように接合している。
サイドシルスチフナー55は、図2、図15に示すように、断面ハット形状で、スチフナー天部101、スチフナー側壁部102、スチフナー底部103、スチフナー底部103に連なる下フランジ104、スチフナー天部101に連なる上フランジ105と、からなる。
サイドシルスチフナー55の下フランジ104は、サイドシル16のセンタピラー接合部31において、切り欠き部107を形成することによってスチフナー断続溶接フランジ部108をほぼ等ピッチで形成している(図1、図5〜図7)。
サイドシルスチフナー55のスチフナー側壁部102には下ビード部111を形成している(図2、図5)。
下ビード部111はスチフナー側壁部102の高さ(Z軸方向)のほぼ50%に位置する中央からスチフナー底部103とで形成される角までの範囲を車両11の外側へ向かって押し出したものである。長さをサイドシル16の前端27とセンタピラー32の間からセンタピラー32とサイドシル16の後端34の間までの範囲とした。
サイドシルスチフナー55は、2部材からなり、サイドシルスチフナー本体部112と、このサイドシルスチフナー本体部112に連なるスチフナー後部113(図1)と、からなる。
サイドシルスチフナー本体部112は、スチフナー後部113の強度に比べ、強度が大きい。
サイドシルインナー54は(図2)、断面ハット形状で、インナー天部117、インナー側壁部118、インナー底部97、インナー底部97に連なる下フランジ121、インナー天部117に連なる上フランジ122と、からなる(図3、図8)。
サイドシルインナー54の下フランジ121は、センタピラー接合部31の範囲において、サイドシルスチフナー55の下フランジ104に設けたスチフナー断続溶接フランジ部108にスポット溶接の溶接部で接合している。
サイドシルインナー54にサイドシルスチフナー55を接合することで形成した中空(閉断面形状)を2分割するようにセンタピラー32のセンタピラーインナー48にセンタピラーインナー48の下端124を延長することによって設けたセンタピラーインナー通し部67(図2、図14)を配置した。
「センタピラーインナー48の下端124」とは、サイドシル16のスチフナー天部101やインナー天部117に接合する部位である。
センタピラーインナー48に設けたセンタピラーインナー通し部67は、図14に示す通り、車両前後方向(X軸方向)のセンタピラーインナー48の下端124の幅と同じ幅に形成されている。そして、下縁にセンタピラーインナー断続溶接フランジ部126をほぼ等ピッチで形成している。
また、センタピラーインナー断続溶接フランジ部126の間の凹部127に、且つ、車両高さ方向(Z軸方向)の中央に軽量化を図るための穴128を開けている。
より詳しくは、組付け工程では、センタピラーインナー断続溶接フランジ部126は、予めサイドシルインナー54の下フランジ121にスポット溶接の溶接部で接合する。
なお、図11に示す通り、センタピラーインナー断続溶接フランジ部126はサイドシルスチフナー55に接触するが、残りであるセンタピラーインナー断続溶接フランジ部126間の凹部127はサイドシルスチフナー55に接触しないでサイドシルスチフナー55に対し隙間を形成している。
その結果、凹部127との隙間から液体を排出することができ、液体の排出作業は容易になる。
センタピラースチフナー51は、図3、図15に示す通り、断面ハット形状である。
そして、前側部131、後側部132、これらの前側部131、後側部132に連なるセンタピラースチフナー側部133、前側部131に連なるフランジ134、後側部132に連なるフランジ135と、からなる。
前側部131とセンタピラースチフナー側部133とで形成している角がセンタピラースチフナー第1稜線部136、前側部131とフランジ134で形成している角がセンタピラースチフナー第2稜線部137である。
なお、サイドパネルアウタ43のうちのセンタピラーアウタ47にもセンタピラースチフナー第1稜線部136及びセンタピラースチフナー第2稜線部137にそれぞれ沿うセンタピラーアウタ第1稜線部141及びセンタピラーアウタ第2稜線部142が形成されている。
また、センタピラースチフナー51は、2部材からなり(図1)、センタピラースチフナー本体部145と、センタピラースチフナー下部146と、からなる。
センタピラースチフナー下部146は、センタピラースチフナー本体部145の強度に比べ、強度が大きい。
次に、外側荷重伝達部材(外バルクヘッド)21を詳しく説明する(図2〜図7参照)。
外バルクヘッド21は、ほぼコ字形で、外側本体部74が外側前仕切体151、外側後仕切体152、外側側部153からなる。
外側前仕切体151及び外側後仕切体152が、車両11の正面視(図2の視点)で、サイドシルスチフナー55の断面形状にほぼ一致するほぼ四角形に形成されている。
そして、外側前仕切体151と、対向する外側後仕切体152とに一体に連なる外側側部153がサイドシルスチフナー55のスチフナー側壁部102に沿って形成されている。
なお、外側前仕切体151及び外側後仕切体152は、外側荷重伝達部材(外バルクヘッド)21の中心線C1を基準に対称である。
外側側部153は、車両11側面視(図5の視点)、ほぼ四角形で、スチフナー側壁部102にスポット溶接の溶接部154で接合されている。
外側側部153は、サイドシルスチフナー55のスチフナー側壁部102の下ビード部111に接触する外ボス部155が形成されてスポット溶接の溶接部154で接合されている。
また、図6の外側側部153の上縁に連ねてサイドシルスチフナー55のスチフナー天部101に接触する外上接合代157が形成されて、スポット溶接の溶接部154で接合されている。
さらに、図7の外側側部153の下縁に連ねてサイドシルスチフナー55のスチフナー底部103に接触する外下接合代158が形成されて、スポット溶接の溶接部154で接合されている。
外側前仕切体151は(図6)、直交するように上縁に連ねて外上フランジ部161が形成されている。そしてサイドシルスチフナー55のスチフナー天部101に接触して、スポット溶接の溶接部154で接合されている。
外上フランジ部161とで形成される角が上第1稜線部162である(図4、図5)。
外側前仕切体151は、直交するように下縁に連ねて外下フランジ部163が形成されている。そしてサイドシルスチフナー55のスチフナー底部103に接触して、スポット溶接の溶接部154で接合されている。
外下フランジ部163とで形成される角が下第1稜線部164である。
また、外バルクヘッド21は車室13へ向く外側前仕切体151の内側の縁に連ね外フランジ部165が形成されている。
一方、前述した外側後仕切体152は、外側前仕切体151と対称である。図4、図5の167は上第2稜線部、168は下第2稜線部である。
次に、内側荷重伝達部材(内バルクヘッド)22を詳しく説明する(図2〜図4、図8〜図10参照)。
内バルクヘッド22は、ほぼコ字形で、内側本体部75が内側前仕切体171、内側後仕切体172、内側側部81からなる。
内側前仕切体171及び内側後仕切体172が、車両11の正面視(図2の視点)で、サイドシルインナー54の断面形状にほぼ一致するほぼ四角形に形成されている。
そして、内側前仕切体171と、対向する内側後仕切体172とに一体に連なる内側側部81がサイドシルインナー54のインナー側壁部118に沿って形成されている。
内側前仕切体171と内側後仕切体172は、内側荷重伝達部材(内バルクヘッド)22の中心線C2を基準に対称である。
内側側部81は、車両11側面視(図8の視点)、ほぼ四角形で、中央にサイドシルインナー54のインナー側壁部118に接触する内ボス部174が形成されて、スポット溶接の溶接部167で接合されている。
また、図9の内側側部81の上縁に連ねてサイドシルインナー54のインナー天部117に接触する内上接合代177が形成されて、スポット溶接の溶接部167で接合されている。
さらに、図10の内側側部81の下縁に連ねてサイドシルインナー54のインナー底部97に接触する内下接合代178が形成されて、スポット溶接の溶接部167で接合されている。
内側前仕切体171は(図9)、上縁に連ねて内上フランジ部181が形成されている。そして、サイドシルインナー54のインナー天部117に接触して、スポット溶接の溶接部167で接合されている。
内上フランジ部181とで形成される角が上第3稜線部182である。
内側前仕切体171は(図10)、下縁に連ねて内下フランジ部183が形成されている。そして、サイドシルインナー54のインナー底部97に接触して、スポット溶接の溶接部167で接合されている。
内下フランジ部183とで形成される角が下第3稜線部184である。
また、車両11の外側へ向く内側前仕切体171の縁、言い換えるとサイドシルスチフナー55へ向く外側の縁に連ねて内フランジ部186が形成されている。
この内フランジ部186は、図4、図11に示す通り、サイドシルスチフナー55内の外バルクヘッド21の外フランジ部165に対向している。
一方、前述した内側後仕切体172は、内側前仕切体171と対称である。図4、図8の188は上第4稜線部、191は下第4稜線部である。
この内フランジ部186は、図4、図11に示す通り、サイドシルスチフナー55内の外バルクヘッド21の外フランジ部165に近接している。
車体側部構造では、車両11平面視(図4の視点)、内バルクヘッド22の内側本体部75(内側前仕切体171、内側後仕切体172)が、外バルクヘッド21の外側本体部74(外側前仕切体151、外側後仕切体152)に一直線となるように近接して配置されている(図11も参照)。
また車体側部構造では、車両11平面視(図4の視点)、内バルクヘッド22の下第3稜線部184、下第4稜線部191がそれぞれ外バルクヘッド21の下第1稜線部164、下第2稜線部168に一直線となるように近接している。そして、これらがそれぞれクロスメンバ57の前稜線部91及び後稜線部92に一直線となるように近接している(図12、図13も参照)。
内バルクヘッド22は、図2、図12に示す内ボス部174を形成した中央からの下縁までの範囲が下側部83である。
この下側部83が、図12に示す通り、クロスメンバ57の断面形状(前壁部85、後壁部86、底部87で形成される形状)にほぼ一致している。前壁部85の延長に対し内バルクヘッド22の内側前仕切体171をほぼ一致させた。後壁部86の延長に対し内バルクヘッド22の内側後仕切体172をほぼ一致させた。
つまり、前述した内側荷重伝達部材(内バルクヘッド)22は、クロスメンバ57の端部(一端部59、他端部59)に沿って配置されている。
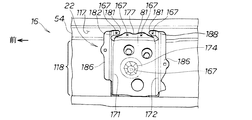
次に、車体側部構造の主要構成の残りを図16〜図19で説明する。
図17は、透視図で、サイドシル16のサイドシルスチフナー55を透視し、サイドシルスチフナー55内の外側荷重伝達部材(外バルクヘッド)21との関係を示す図である。
前ドア45には、第1ドアビーム211と、第2ドアビーム212を配置している。
ドア(前ドア45)内に配置したドアビームであるところの第2ドアビーム212の後端214を外側荷重伝達部材(外バルクヘッド)21に近接させた。
ドアビーム(第2ドアビーム212)は、長手方向(矢印c1の方向)に沿った第1ビード215、第2ビード216を有し、車両11側面視(図16、図17の視点)、第2ドアビーム212の後端214をセンタピラー32が備える溝形(具体的には断面ハット形状)のセンタピラー中間層部材(センタピラースチフナー51)の角部(センタピラースチフナー第1稜線部136)に重ねている(図3、図15)。
ドアビーム(第2ドアビーム212)は、後端214にカット部218をドア(前ドア45)のドア下端221に沿って形成している。
外側荷重伝達部材(外バルクヘッド)21及び内側荷重伝達部材(内バルクヘッド)22をクロスメンバ57の長手方向へ直列に配置している(図3、図4)。
次に、車体側部構造のうち残りを詳しく説明していく。
前ドア45は、図2、図16〜図19に示すように、ドア下端221を含むドア本体223と、ドア本体223から上に連続するドアサッシュ224と、を有する。
ドア本体223は、前ドア45の外面を形成しているドアアウタパネル226(図2)と、ドアアウタパネル226に接合したドアインナパネル227と、を備える。
さらに、これらのドアアウタパネル226、ドアインナパネル227の縁を互いに重ねて接合している縁接合部228と、ドアインナパネル227とドアアウタパネル226の間(空間部231)の上部にほぼ水平に配置した第1ドアビーム211と、斜めに配置した第2ドアビーム212と、を備える。
第2ドアビーム212は、帯状の板を塑性加工したもので、車両11側面視(図16、図17の視点)、長手方向の軸線Cpに平行に第1ビード215、第2ビード216を塑性加工している。残りを上フランジ233、下フランジ234とし、上フランジ233を車両11の上方へ向けに配置している。
第1ビード215は、断面V字形である。
具体的には、長手方向に直交する断面(図18、図19の視点)で、V形に形成され、上稜線部236が第2ドアビーム212の前端237の縁から後端214の縁まで形成されている。
第1ビード215の深さは前端237及び後端214(図19参照)が浅く、前端237及び後端214を除く中央が前端237及び後端214の上稜線部236に比べ深く形成されている。
第2ビード216は、第1ビード215と同様である。下稜線部241が上稜線部236と同様に形成されている。
上稜線部236と下稜線部241は、前端237で近接し、中央から後端214へと前端237に比べ離して形成している。
そして、第2ドアビーム212の前端237がドア本体223の前部のうち車両11高さ方向(Z軸方向)の中央に接合している。
一方、後端214がドア本体223の後部のうち車両11高さ方向の下部に接合している。
詳しくは、後端214は、車両11側面視(図17の視点)で、図15に示すセンタピラーアウタ47のセンタピラーアウタ第1稜線141及びセンタピラーアウタ第2稜線142、センタピラースチフナー51のセンタピラースチフナー第1稜線136及びセンタピラースチフナー第2稜線137に、跨ぐように重ねて配置している。
さらに、後端214は、車両11側面視(図16、図17の視点)、荷重伝達部材17の外側荷重伝達部材(外バルクヘッド)21に近接している。
加えて、ドア本体223のドア下端221に近接した下フランジ234にカット部218がドア下端221に沿って形成されている。
次に、実施例に係る車体側部構造の作用を説明する。
車体側部構造では、図2、図3に示す通り、車両11の側面12に側面衝突の衝撃(荷重)が入力されると、荷重はセンタピラー32からサイドシル16内の外側空間65に設けた外側荷重伝達部材(外バルクヘッド)21に伝わる。
続いて、外バルクヘッド21から内側荷重伝達部材(内バルクヘッド)22に伝わるので、内バルクヘッド22からクロスメンバ57に伝わる。
従って、側突荷重をアンダボデー14の骨格をなすクロスメンバ57に伝達することができるという利点がある。
引き続き、実施例に係る車体側部構造の作用を図2、図17で説明する。
車体側部構造では、車両11の側面12に側面衝突の衝撃(荷重)が図17の図面の表裏方向へ入力されると、荷重は第2ドアビーム212に矢印c3のように伝わる。続いて、第2ドアビーム212から外側荷重伝達部材(外バルクヘッド)21に矢印c4のように伝わる。
従って、第2ドアビーム212から荷重伝達部材17の外側荷重伝達部材(外バルクヘッド)21並びに内側荷重伝達部材(内バルクヘッド)22に荷重を伝達することができるという利点がある。
また、第1ビード215、第2ビード216は、前端237で近接し、中央から後端214へと前端237に比べ離れている。
そして、車両11側面視(図17の視点)、離した第1ビード215、第2ビード216をセンタピラーアウタ第1・第2稜線141、142、センタピラースチフナー51のセンタピラースチフナー第1・第2稜線136、137を跨ぐように重ねて配置することによって、第2ドアビーム212に入力された側面衝突の衝撃(荷重)を各第1・2稜線141、142、136、137で分散する。
つまり、第2ドアビーム212に入力された側面衝突の衝撃(荷重)を第1ビード215、第2ビード216で車体24に伝達するので、側面衝突時の第2ドアビーム212の折れを防止することができる。
本発明の車体側部構造は、サイドシルの中央部に側壁のセンタピラー及び床のクロスメンバを接合し、側壁に設けたドアをセンタピラーにロックする車体に好適である。
13…車室、14…床(アンダボデー)、16…サイドシル、21…外側荷重伝達部材(外バルクヘッド)、22…内側荷重伝達部材(内バルクヘッド)、25…側壁(サイドボデー)、31…サイドシルの中央部(センタピラー接合部)、32…センタピラー、45…乗降用ドア(前ドア)、48…センタピラーインナー、54…サイドシルインナー、55…サイドシル中間層部材(サイドシルスチフナー)、57…クロスメンバ、59…クロスメンバの端部(一端部)、64…内側空間、65…外側空間、67…センタピラーインナー通し部、71…外バルクヘッドの開口、72…内バルクヘッドの開口、74…外バルクヘッドの外側本体部、75…内バルクヘッドの内側本体部、77…センタピラーの下部、81…内側荷重伝達部材の内側側部、82…内側側部の上側部、83…内側側部の下側部、85…クロスメンバの前壁部、86…クロスメンバの後壁部、136…センタピラー中間層部材の角部(センタピラースチフナー第1稜線部)、212…ドアビーム(第2ドアビーム)、214…ドアビームの後端、215…第1ビード、216…第2ビード、218…カット部、221…ドア下端。

Claims (8)

  1. 乗降用ドアを取付ける車室の左右の側壁の下端をなす閉断面形状のサイドシルの中央部に前記側壁のセンタピラーを立設し、且つ前記車室の床のクロスメンバの端部を取付けた車体側部構造において、
    前記サイドシルの内部を内側空間、外側空間に仕切る前記センタピラーのセンタピラーインナーのセンタピラーインナー通し部を貫通させ、該センタピラーインナー通し部に対向させ前記外側空間内に外側荷重伝達部材を配置し、該外側荷重伝達部材に前記センタピラーインナー通し部を介して対向させ前記内側空間内に内側荷重伝達部材を配置し、
    前記ドア内に配置したドアビームの後端を前記外側荷重伝達部材に近接させたことを特徴とする車体側部構造。
  2. 前記ドアビームは、長手方向に沿ったビードを有し、車両側面視、前記ドアビームの前記後端をセンタピラーが備える溝形のセンタピラー中間層部材の角部に重ねていることを特徴とする請求項1記載の車体側部構造。
  3. 前記ドアビームは、前記後端にカット部を前記ドアのドア下端に沿って形成していることを特徴とする請求項1記載の車体側部構造。
  4. 前記内側荷重伝達部材は、車両正面視、車両の高さ方向において、前記外側荷重伝達部材より高く該外側荷重伝達部材から上に連なる前記センタピラーの下部に達していることを特徴とする請求項1〜3のいずれか1項に記載の車体側部構造。
  5. 前記外側荷重伝達部材及び前記内側荷重伝達部材を前記クロスメンバの長手方向へ直列に配置していることを特徴とする請求項1〜4のいずれか1項に記載の車体側部構造。
  6. 前記外側荷重伝達部材は、前記サイドシルの前記外側空間を有するサイドシル中間層部材に接合し、
    前記内側荷重伝達部材は、前記サイドシルの前記内側空間を有するサイドシルインナに接合していることを特徴とする請求項1〜5のいずれか1項に記載の車体側部構造。
  7. 前記内側・外側荷重伝達部材は、車両平面視、断面ハット形状で、開口を対向させ、前記センタピラーインナー通し部にほぼ直交して車幅方向に延びるそれぞれの内側本体部と外側本体部をほぼ直列に配置していることを特徴とする請求項1〜6のいずれか1項に記載の車体側部構造。
  8. 前記内側荷重伝達部材は、前記クロスメンバへ向いている内側板状部の上側部又は下側部を前記クロスメンバの断面形状にほぼ一致させて、前記内側板状部にほぼ直交して連なる内側本体部を前記クロスメンバのうち車両前方・後方へ向いている前壁部、後壁部にほぼ直線状に配置していることを特徴とする請求項1〜7のいずれか1項に記載の車体側部構造。
JP2010116756A 2010-05-20 2010-05-20 車体側部構造 Expired - Fee Related JP5244857B2 (ja)

Priority Applications (3)

Application Number Priority Date Filing Date Title
JP2010116756A JP5244857B2 (ja) 2010-05-20 2010-05-20 車体側部構造
EP11166654A EP2388183B1 (en) 2010-05-20 2011-05-19 Vehicle side body structure
US13/111,495 US8439428B2 (en) 2010-05-20 2011-05-19 Vehicle side body structure

Applications Claiming Priority (1)

Application Number Priority Date Filing Date Title
JP2010116756A JP5244857B2 (ja) 2010-05-20 2010-05-20 車体側部構造

Publications (2)

Publication Number Publication Date
JP2011240887A true JP2011240887A (ja) 2011-12-01
JP5244857B2 JP5244857B2 (ja) 2013-07-24

Family

ID=45407974

Family Applications (1)

Application Number Title Priority Date Filing Date
JP2010116756A Expired - Fee Related JP5244857B2 (ja) 2010-05-20 2010-05-20 車体側部構造

Country Status (1)

Country Link
JP (1) JP5244857B2 (ja)

Cited By (3)

* Cited by examiner, † Cited by third party
Publication number Priority date Publication date Assignee Title
EP2799311A4 (en) * 2011-12-28 2015-10-14 Honda Motor Co Ltd STRUCTURE FOR A SIDE PART OF VEHICLE BODYWORK
JP2016094064A (ja) * 2014-11-13 2016-05-26 トヨタ自動車株式会社 車両側部構造
JP2017039338A (ja) * 2015-08-17 2017-02-23 本田技研工業株式会社 自動車の車体構造

Citations (5)

* Cited by examiner, † Cited by third party
Publication number Priority date Publication date Assignee Title
JP2003025842A (ja) * 2001-07-13 2003-01-29 Daihatsu Motor Co Ltd 自動車のドア構造
JP2004148877A (ja) * 2002-10-28 2004-05-27 Kanto Auto Works Ltd センターピラーレス車両の側面衝突荷重調整構造
JP2007168700A (ja) * 2005-12-26 2007-07-05 Toyota Auto Body Co Ltd 車体側部構造
JP2007191008A (ja) * 2006-01-18 2007-08-02 Kobe Steel Ltd 自動車サイドシル
WO2009038088A1 (ja) * 2007-09-19 2009-03-26 Toyota Jidosha Kabushiki Kaisha 車体の側部構造

Patent Citations (5)

* Cited by examiner, † Cited by third party
Publication number Priority date Publication date Assignee Title
JP2003025842A (ja) * 2001-07-13 2003-01-29 Daihatsu Motor Co Ltd 自動車のドア構造
JP2004148877A (ja) * 2002-10-28 2004-05-27 Kanto Auto Works Ltd センターピラーレス車両の側面衝突荷重調整構造
JP2007168700A (ja) * 2005-12-26 2007-07-05 Toyota Auto Body Co Ltd 車体側部構造
JP2007191008A (ja) * 2006-01-18 2007-08-02 Kobe Steel Ltd 自動車サイドシル
WO2009038088A1 (ja) * 2007-09-19 2009-03-26 Toyota Jidosha Kabushiki Kaisha 車体の側部構造

Cited By (3)

* Cited by examiner, † Cited by third party
Publication number Priority date Publication date Assignee Title
EP2799311A4 (en) * 2011-12-28 2015-10-14 Honda Motor Co Ltd STRUCTURE FOR A SIDE PART OF VEHICLE BODYWORK
JP2016094064A (ja) * 2014-11-13 2016-05-26 トヨタ自動車株式会社 車両側部構造
JP2017039338A (ja) * 2015-08-17 2017-02-23 本田技研工業株式会社 自動車の車体構造

Also Published As

Publication number Publication date
JP5244857B2 (ja) 2013-07-24

Similar Documents

Publication Publication Date Title
EP2388183B1 (en) Vehicle side body structure
CN103717482B (zh) 车体后部构造
US9227666B2 (en) Vehicle frame structure
CN105473426B (zh) 车身前部结构
EP2412611B1 (en) Structure for vehicle body upper portion
JP5244856B2 (ja) 車体側部構造
WO2018177397A1 (zh) 车身以及车辆
JP2019051818A (ja) 車体構造
CN108495777A (zh) 车辆前部构造
CN110065536A (zh) 车辆用前柱构造以及车辆侧部构造
TWI526348B (zh) Railway vehicle construction and railway vehicles with its
JP5244857B2 (ja) 車体側部構造
JP6110834B2 (ja) 車体側部構造
JP5202571B2 (ja) 自動車のフロア構造
EP3753813B1 (en) Vehicle side body structure
JP5073638B2 (ja) 車体側部構造
WO2018066150A1 (ja) 鉄道車両の骨構造及びそれを備えた側構体
JP2015093507A (ja) 車両下部構造
US12403854B2 (en) Vehicle body rear structure
JP7207189B2 (ja) 側部車体構造
JP6966297B2 (ja) 車体構造
JP6365590B2 (ja) 車体の接合構造
JP7590392B2 (ja) フロントピラーロア
JP7200838B2 (ja) 側部車体構造
JP2019093813A (ja) 車体構造

Legal Events

Date Code Title Description
A131 Notification of reasons for refusal

Free format text: JAPANESE INTERMEDIATE CODE: A131

Effective date: 20120313

A977 Report on retrieval

Free format text: JAPANESE INTERMEDIATE CODE: A971007

Effective date: 20120315

A521 Written amendment

Free format text: JAPANESE INTERMEDIATE CODE: A523

Effective date: 20120402

A131 Notification of reasons for refusal

Free format text: JAPANESE INTERMEDIATE CODE: A131

Effective date: 20120828

A521 Written amendment

Free format text: JAPANESE INTERMEDIATE CODE: A523

Effective date: 20121010

TRDD Decision of grant or rejection written
A01 Written decision to grant a patent or to grant a registration (utility model)

Free format text: JAPANESE INTERMEDIATE CODE: A01

Effective date: 20130402

A61 First payment of annual fees (during grant procedure)

Free format text: JAPANESE INTERMEDIATE CODE: A61

Effective date: 20130408

FPAY Renewal fee payment (event date is renewal date of database)

Free format text: PAYMENT UNTIL: 20160412

Year of fee payment: 3

R150 Certificate of patent or registration of utility model

Free format text: JAPANESE INTERMEDIATE CODE: R150

LAPS Cancellation because of no payment of annual fees