JP2011106989A - 渦流量計 - Google Patents

渦流量計 Download PDF

Info

Publication number
JP2011106989A
JP2011106989A JP2009262943A JP2009262943A JP2011106989A JP 2011106989 A JP2011106989 A JP 2011106989A JP 2009262943 A JP2009262943 A JP 2009262943A JP 2009262943 A JP2009262943 A JP 2009262943A JP 2011106989 A JP2011106989 A JP 2011106989A
Authority
JP
Japan
Prior art keywords
vibration
gyro
vortex
detection
control circuit
Prior art date
Legal status (The legal status is an assumption and is not a legal conclusion. Google has not performed a legal analysis and makes no representation as to the accuracy of the status listed.)
Granted
Application number
JP2009262943A
Other languages
English (en)
Other versions
JP5423963B2 (ja
Inventor
Toshihiko Kishi
敏彦 岸
Current Assignee (The listed assignees may be inaccurate. Google has not performed a legal analysis and makes no representation or warranty as to the accuracy of the list.)
Yokogawa Electric Corp
Original Assignee
Yokogawa Electric Corp
Priority date (The priority date is an assumption and is not a legal conclusion. Google has not performed a legal analysis and makes no representation as to the accuracy of the date listed.)
Filing date
Publication date
Application filed by Yokogawa Electric Corp filed Critical Yokogawa Electric Corp
Priority to JP2009262943A priority Critical patent/JP5423963B2/ja
Publication of JP2011106989A publication Critical patent/JP2011106989A/ja
Application granted granted Critical
Publication of JP5423963B2 publication Critical patent/JP5423963B2/ja
Expired - Fee Related legal-status Critical Current
Anticipated expiration legal-status Critical

Links

Images

Landscapes

  • Measuring Volume Flow (AREA)
  • Vibration Prevention Devices (AREA)

Abstract

【課題】渦流量計の耐振性を向上させる渦流量計を実現する。
【解決手段】管路本体に取り付けられたケースを具備し、カルマン渦による交番圧力の変動を渦発生体に設けられた応力検出素子で検出して流速流量を測定する渦流量計において、前記ケースに設けられXYZ軸方向のケース振動のノイズをそれぞれ検出する3軸ジャイロと、この3軸ジャイロで検出された振動信号に基づきこのジャイロ検出振動信号と逆位相の振動信号を出力する振動制御回路と、前記3軸ジャイロのケースに前記XYZ軸に直交してそれぞれ一方の面が設けられ前記振動制御回路からの信号に基づき前記ジャイロ検出振動信号を打ち消す振動を発生する圧電アクチュエータと、この圧電アクチュエータの他方の面にそれぞれ一面が設けられた付加質量とを有する振動検出発生ユニットを具備したことを特徴とする渦流量計である。
【選択図】図1

Description

本発明は、渦流量計に関するものである。
更に詳述すれば、本発明は渦流量計の耐振性向上に関するものである。
図7は従来より一般に使用されている従来例の構成説明図、図8は図7の要部構成説明図、図9は図7の電気回路図、図10,図11は図7の動作説明図である。
図において、本体1の下部には、管路10が設けられている。
本体1の上部には逆U字状のブラケット2が設けられ、その上部にはケース3が設けられている。
管路10は測定流体FLが流れる管路である。
ノズル11は管路10に直角に設けられ円筒状をなす。
渦発生体12は、ノズル11とは隙間を保って、管路10に直角に挿入され、台形断面を有す。
渦発生体12の一端は、ネジ13により管路10に支待され、他端はフランジ部14でノズル11にネジ或いは溶接により固定されている。
凹部15は、渦発生体12のフランジ部14側に設けられている。
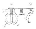
この凹部15の中には、その底部から順に、全属製の第1コモン電極16、圧電素子17、電極板18、絶縁板19、電極板20、圧電素子21が、サンドイッチ状に配列され、全属製の押圧棒22により、これ等は押圧固定されている。
さらに、電極板18からは、リード線23、電極板20からはリード線24が、それぞれ端子A、Bに引き出されている。
圧電素子17、21は、各圧電素子17、21の紙面に向かって左側と右側とがそれぞれ逆方向に分極されており、同じ方向の応力に対して互いに上下の電極に逆極性の電荷を発生する。
圧電素子17に発生した電荷は、電極板18と接続された端子Aと、第1コモン電極16を介して接続された管路10との間に得られ、圧電素子21に発生した電荷は、電極板20と接続された端子Bと、押圧棒20と接続された管路10との間に得られる。
この2個の電極板18、20に発生した電荷は、図11に示すように電荷増幅器25、26に入力される。
電荷増幅器25の出力と、電荷増幅器26の出力をボリウム27を介した出力とを、加算器28で加算して流量信号を得る。
この流量信号は、例えば、電流出力に変換されて、2線を介して負荷に伝送される(図示せず。)。
次に、以上のように構成された渦流量計の動作について、図10と図11とを用いて説明する。
測定流体FLが管路10の中に流れると、渦発生体12に矢印Fで示した方向にカルマン渦による振動が発生する。
この振動により渦発生体12には、図10(a)に示すような応力分布と、この逆の応力分布の繰返しが生じる。
各圧電素子17、21には、図10(a)に示す渦周波数を持つ信号応力に対応した電荷+Q、−Qの繰返しが生じる。
なお、図10においては、説明の便宣のため、電極板18或いは21を紙面に対して左石に2つに分割し、かつ、上下の一方の電極は、第1コモン電極16あるいは押圧棒22に相当するものとしてある。
一方、管路10には、ノイズとなる管路振動も生じる。
この管路振動は、
(1)流体の流れと同じ方向の抗力方向、
(2)流体の流れとは直角方向の揚力方向、
(3)渦発生体の長手方向の3方向成分に分けられる。
このうち、抗力方向の振動に対する応力分布は、図10(b)に示すようになり、1個の電極内で正負の電荷は打ち消されて、ノイズ電荷は発生しない。
また、長手方向の振動に対しては、図10(c)に示すように、電極内で打ち消されて、抗力方向と同様にノイズ電荷は発生しない。
しかし、揚力方向の振動は、信号応力と同一の応力分布となり、ノイズ電荷が生じる。
そこで、このノイズ電荷を消去するために、以下の演算を実行する。
圧電素子17,21の各電荷をQ1,Q2、信号成分をQ1,Q2、揚力方向のノィズ成分をN1,N2とし、圧電素子17,21で分極を逆とすると、Q1,Q2は次式で示される。
Q1=S1+N1
−Q2=−S2一N2
ただし、S1とS2、N1とN2のベクトル方向は同じである。
ここで、圧電素子17、21の信号成分とノイズ成分の関係は、図9(この図は揚力方向のノイズと、信号に対する渦発生体の曲げモーメントの関係を示す)に示すようになっている。
従って、図9に示すように、圧電素子17側の電荷増幅器25の出力を、加算器28で加算する際に、ボリウム27と共に、N1/N2倍して、圧電素子21側の電荷増幅器26の出力と加算すると、
Q1−Q2(N1/N2)
=S1−S2(N1/N2)
となり管路ノイズは除去される。
そして、第1コモン電極16、圧電素子17、電極板18、絶縁板19、電極板20、圧電素子21は、凹部15に押圧棒22で押圧固定されている。
ここで、渦発生体12と第1コモン電極16、圧電素子17、電極板18、絶縁板19、電極板20、圧電素子21、押圧棒22との温度膨脹を等しくしておけば、測定流体温度が変化しても、初期の押付け力は変化しないので、間題は生じ無い。
特開2003−322553号公報 計測自動制御学会論文集、Vo.21 No.10、昭和60年10月発行、 P59〜P65
このような装置においては、以下の問題点がある。
ケースの振動により伝わる振動ノイズは、ブラケットを、圧電素子の感度がある揚力方向に剛性を高めることで、管路本体部に振動を伝え難くすることで、耐振性を向上させる工夫がされている。
しかしながら、ブラケットの剛性だけでは限界があり、どうしても、ケースの振動が渦発生体から圧電素子に伝わり、振動ノイズの電荷が発生、流量がゼロの状態での誤出力や、流量がある状態での渦周波数の測定に影響を及ぼすことがある。
特に、ケース及びブラケットの部分(以下「トップワーク」と呼ぶ)が共振してしまうと、振動の振幅が大きくなり、振動ノイズをキャンセルすることが困難になっていた。
本発明の目的は、上記の課題を解決するもので、トップワークの振動をアクティブに制振することで、トップワークから伝わる振動ノイズを減衰させ、渦流量計の耐振性を向上させる渦流量計を提供することにある。
このような課題を達成するために、本発明では、請求項1の渦流量計においては、
管路本体に取り付けられたケースを具備し、カルマン渦による交番圧力の変動を渦発生体に設けられた応力検出素子で検出して流速流量を測定する渦流量計において、前記ケースに設けられXYZ軸方向のケース振動のノイズをそれぞれ検出する3軸ジャイロと、この3軸ジャイロで検出された振動信号に基づきこのジャイロ検出振動信号と逆位相の振動信号を出力する振動制御回路と、前記3軸ジャイロのケースに前記XYZ軸に直交してそれぞれ一方の面が設けられ前記振動制御回路からの信号に基づき前記ジャイロ検出振動信号を打ち消す振動を発生する圧電アクチュエータと、この圧電アクチュエータの他方の面にそれぞれ一面が設けられた付加質量とを有する振動検出発生ユニットを具備したことを特徴とする。
本発明の請求項2の渦流量計においては、
管路本体に取り付けられたケースを具備し、カルマン渦による交番圧力の変動を渦発生体に設けられた応力検出素子で検出して流速流量を測定する渦流量計において、前記渦発生体に設けられXYZ軸方向の振動ノイズをそれぞれ検出する3軸ジャイロと、この3軸ジャイロで検出された振動信号に基づきこのジャイロ検出振動信号と逆位相の振動信号を出力する振動制御回路と、前記3軸ジャイロのケースに前記XYZ軸に直交してそれぞれ一方の面が設けられ前記振動制御回路からの信号に基づき前記ジャイロ検出振動信号を打ち消す振動を発生する圧電アクチュエータと、この圧電アクチュエータの他方の面にそれぞれ一面が設けられた付加質量とを有する振動検出発生ユニットを具備したことを特徴とする。
本発明の請求項3の渦流量計においては、
管路本体に取り付けられたケースを具備し、カルマン渦による交番圧力の変動を渦発生体に設けられた応力検出素子で検出して流速流量を測定する渦流量計において、前記渦流量計の前記カルマン渦による交番圧力の変動を検出しない位置に設けられXYZ軸方向の振動ノイズをそれぞれ検出する3軸ジャイロと、この3軸ジャイロで検出された振動信号に基づきこのジャイロ検出振動信号と逆位相の振動信号を出力する振動制御回路と、前記渦発生体に設けられ前記3軸ジャイロの前記XYZ軸に対応して一方の面が設けられ前記振動制御回路からの信号に基づき前記ジャイロ検出振動信号を打ち消す振動を発生する圧電アクチュエータと、この圧電アクチュエータの他方の面にそれぞれ一面が設けられた付加質量とを有する振動検出発生ユニットを具備したことを特徴とする。
本発明の請求項1によれば、次のような効果がある。
3軸ジャイロで検出した振動と逆位相の振動を圧電アクチュエータで発生させることにより、ケースの振動を減衰させることができる。
ケースの振動が減衰することで、S/N比が向上し、従来よりも耐振性の高い渦流量計が得られる。
本発明の請求項2によれば、次のような効果がある。
渦信号として存在し得ない帯域の周波数を振動検出発生ユニットが検出した場合、渦発生体に振動と逆位相の強制振動を与え、渦発生体に発生する振動ノイズをキャンセルする。
限定周波数帯域で効果がある渦流量計が得られる。
本発明の請求項3によれば、次のような効果がある。
ケース振動によるノイズ成分だけでなく、渦発生体の自重により生じる振動ノイズもキャンセルすることができる。
全周波数帯域で耐振性を向上出来る渦流量計が得られる。
本発明の一実施例の要部構成説明図である。 図1の要部詳細斜視説明図である。 図2の要部構成説明図である。 図2の電気回路のブロック図である。 本発明の他の実施例の要部構成説明図である。 本発明の他の実施例の要部構成説明図である。 従来より一般に使用されている他の従来例の要部構成説明図である。 図7の要部構成説明図である。 図7の電気回路図である。 図7の動作説明図である。 図7の動作説明図である。
以下本発明を図面を用いて詳細に説明する。
図1は本発明の一実施例の要部構成説明図でケース部分を拡大した説明図で、(a)は正面図、(b)は側面図である。
図2は図1の要部詳細斜視説明図、図3(a)はY軸方向より見た図、図3(a)はX軸方向より見た図、図4は図2の電気回路のブロック図である。
図において、図7と同一記号の構成は同一機能を表す。
以下、図7との相違部分のみ説明する。
図1、図2、図3において、振動検出発生ユニット31は、3軸ジャイロ311と振動制御回路312と圧電アクチュエータ313と付加質量314とを有する。
3軸ジャイロ311は、ケース3に設けられXYZ軸方向のケース3の振動のノイズをそれぞれ検出する。
図4に示す如く、振動制御回路312は、3軸ジャイロ311で検出された振動信号に基づき、このジャイロ検出振動信号と逆位相の振動信号を出力する。
圧電アクチュエータ313は、3軸ジャイロ311のケースにXYZ軸に直交してそれぞれ一方の面が設けられ、振動制御回路312からの信号に基づき、3軸ジャイロ311の検出振動信号を打ち消す振動を発生する。
付加質量314は、圧電アクチュエータ313の他方の面にそれぞれ一面が設けられている。
以上の構成において、図1に示すように、ケース3の内部に振動検出発生ユニット31を取り付ける。
ケース3の振動を3軸ジャイロ311で検出し、検出したそれぞれの軸方向振動に対し、振動制御回路312からの信号に基づき、逆位相で圧電アクチュエータ313を振動させケース3の振動を減衰させる。
この結果、
3軸ジャイロ311で検出した振動と逆位相の振動を圧電アクチュエータ313で発生させることにより、ケース3の振動を減衰させることができる。
ケース3の振動が減衰することで、S/N比が向上し、従来よりも耐振性の高い渦流量計が得られる。
図5は、本発明の他の実施例の要部構成説明図である。
図5において、振動検出発生ユニット41は、3軸ジャイロ411と振動制御回路412と圧電アクチュエータ413と付加質量414とを有する。
3軸ジャイロ411は、渦発生体12に設けられ、XYZ軸方向の振動ノイズをそれぞれ検出する。
振動制御回路412は、3軸ジャイロ411で検出された振動信号に基づき、このジャイロ検出振動信号と逆位相の振動信号を出力する。
圧電アクチュエータ413は、3軸ジャイロ411のケースに、XYZ軸に直交してそれぞれ一方の面が設けられ、振動制御回路412からの信号に基づき、ジャイロ検出振動信号を打ち消す振動を発生する。
付加質量414は、この圧電アクチュエータ413の他方の面に、それぞれ一面が設けられている。
以上の構成において、図5に示すように、渦発生体12に振動検出発生ユニット41を取り付ける。
ケース3の振動を3軸ジャイロ411で検出し、検出したそれぞれの軸方向振動に対し、振動制御回路412からの信号に基づき、逆位相で圧電アクチュエータ413を振動させ渦発生体12の振動を減衰させる。
この結果、
渦信号として存在し得ない帯域の周波数を振動検出発生ユニット41が検出した場合、渦発生体12に振動と逆位相の強制振動を与え、渦発生体12に発生する振動ノイズをキャンセルする。
限定周波数帯域で効果がある渦流量計が得られる。
図6は、本発明の他の実施例の要部構成説明図である。
図6において、振動検出発生ユニット51は、3軸ジャイロ511と振動制御回路512と圧電アクチュエータ513と付加質量514とを有する。
3軸ジャイロ511は渦流量計のカルマン渦による交番圧力の変動を検出しない位置に設けられXYZ軸方向の振動ノイズをそれぞれ検出する。
例えば、本体1に設けられた柔軟な台の上に取付けられている。
振動制御回路512は、3軸ジャイロ511で検出された振動信号に基づき、このジャイロ検出振動信号と逆位相の振動信号を出力する。
圧電アクチュエータ513は、渦発生体12に設けられ、3軸ジャイロ511のXYZ軸に対応して一方の面が設けられ、振動制御回路512からの信号に基づき、ジャイロ検出振動信号を打ち消す振動を発生する。
付加質量514は、この圧電アクチュエータ513の他方の面にそれぞれ一面が設けられている。
以上の構成において、図6に示すように、3軸ジャイロ511を渦流量計のカルマン渦による交番圧力の変動を検出しない位置に取り付ける。
圧電アクチュエータ513と付加質量514とを、渦発生体12に取り付ける。
渦流量計の振動を3軸ジャイロ411で検出し、検出したそれぞれの軸方向振動に対し、振動制御回路412からの信号に基づき、逆位相で圧電アクチュエータ413を振動させ渦流量計の振動を減衰させる。
この結果、
ケース3の振動によるノイズ成分だけでなく、渦発生体12の自重により生じる振動ノイズもキャンセルすることができる。
全周波数帯域で耐振性を向上出来る渦流量計が得られる。
なお、以上の説明は、本発明の説明および例示を目的として特定の好適な実施例を示したに過ぎない。
したがって本発明は、上記実施例に限定されることなく、その本質から逸脱しない範囲で更に多くの変更、変形をも含むものである。
1 本体
2 ブラケット
3 ケース
FL 測定流体
10 管路
11 ノズル
12 渦発生体
13 ネジ
14 フランジ部
15 凹部
16 第1コモン電極
17 圧電素子
18 電極板
19 絶縁板
20 電極板
21 圧電素子
22 押圧棒
23 リード線
24 リード線
25 電荷増幅器
26 電荷増幅器
27 ボリウム
28 加算器
31 振動検出発生ユニット
311 3軸ジャイロ
312 振動制御回路
313 圧電アクチュエータ
314 付加質量
41 振動検出発生ユニット
411 3軸ジャイロ
412 振動制御回路
413 圧電アクチュエータ
414 付加質量
51 振動検出発生ユニット
511 3軸ジャイロ
512 振動制御回路
513 圧電アクチュエータ
514 付加質量
FL 測定流体

Claims (3)

  1. 管路本体に取り付けられたケースを具備し、カルマン渦による交番圧力の変動を渦発生体に設けられた応力検出素子で検出して流速流量を測定する渦流量計において、
    前記ケースに設けられXYZ軸方向のケース振動のノイズをそれぞれ検出する3軸ジャイロと、
    この3軸ジャイロで検出された振動信号に基づきこのジャイロ検出振動信号と逆位相の振動信号を出力する振動制御回路と、
    前記3軸ジャイロのケースに前記XYZ軸に直交してそれぞれ一方の面が設けられ前記振動制御回路からの信号に基づき前記ジャイロ検出振動信号を打ち消す振動を発生する圧電アクチュエータと、
    この圧電アクチュエータの他方の面にそれぞれ一面が設けられた付加質量と
    を有する振動検出発生ユニット
    を具備したことを特徴とする渦流量計。
  2. 管路本体に取り付けられたケースを具備し、カルマン渦による交番圧力の変動を渦発生体に設けられた応力検出素子で検出して流速流量を測定する渦流量計において、
    前記渦発生体に設けられXYZ軸方向の振動ノイズをそれぞれ検出する3軸ジャイロと、
    この3軸ジャイロで検出された振動信号に基づきこのジャイロ検出振動信号と逆位相の振動信号を出力する振動制御回路と、
    前記3軸ジャイロのケースに前記XYZ軸に直交してそれぞれ一方の面が設けられ前記振動制御回路からの信号に基づき前記ジャイロ検出振動信号を打ち消す振動を発生する圧電アクチュエータと、
    この圧電アクチュエータの他方の面にそれぞれ一面が設けられた付加質量と
    を有する振動検出発生ユニット
    を具備したことを特徴とする渦流量計。
  3. 管路本体に取り付けられたケースを具備し、カルマン渦による交番圧力の変動を渦発生体に設けられた応力検出素子で検出して流速流量を測定する渦流量計において、
    前記渦流量計の前記カルマン渦による交番圧力の変動を検出しない位置に設けられXYZ軸方向の振動ノイズをそれぞれ検出する3軸ジャイロと、
    この3軸ジャイロで検出された振動信号に基づきこのジャイロ検出振動信号と逆位相の振動信号を出力する振動制御回路と、
    前記渦発生体に設けられ前記3軸ジャイロの前記XYZ軸に対応して一方の面が設けられ前記振動制御回路からの信号に基づき前記ジャイロ検出振動信号を打ち消す振動を発生する圧電アクチュエータと、
    この圧電アクチュエータの他方の面にそれぞれ一面が設けられた付加質量と
    を有する振動検出発生ユニット
    を具備したことを特徴とする渦流量計。
JP2009262943A 2009-11-18 2009-11-18 渦流量計 Expired - Fee Related JP5423963B2 (ja)

Priority Applications (1)

Application Number Priority Date Filing Date Title
JP2009262943A JP5423963B2 (ja) 2009-11-18 2009-11-18 渦流量計

Applications Claiming Priority (1)

Application Number Priority Date Filing Date Title
JP2009262943A JP5423963B2 (ja) 2009-11-18 2009-11-18 渦流量計

Publications (2)

Publication Number Publication Date
JP2011106989A true JP2011106989A (ja) 2011-06-02
JP5423963B2 JP5423963B2 (ja) 2014-02-19

Family

ID=44230633

Family Applications (1)

Application Number Title Priority Date Filing Date
JP2009262943A Expired - Fee Related JP5423963B2 (ja) 2009-11-18 2009-11-18 渦流量計

Country Status (1)

Country Link
JP (1) JP5423963B2 (ja)

Cited By (1)

* Cited by examiner, † Cited by third party
Publication number Priority date Publication date Assignee Title
EP2482041A1 (de) * 2011-01-31 2012-08-01 KROHNE Messtechnik GmbH Vortex-Durchflussmessgerät

Families Citing this family (1)

* Cited by examiner, † Cited by third party
Publication number Priority date Publication date Assignee Title
JPH0712602B2 (ja) 1989-06-08 1995-02-15 永大産業株式会社 化粧板

Citations (2)

* Cited by examiner, † Cited by third party
Publication number Priority date Publication date Assignee Title
JPH11258016A (ja) * 1998-03-13 1999-09-24 Yokogawa Electric Corp 渦流量計
JP2003322553A (ja) * 2002-05-07 2003-11-14 Yokogawa Electric Corp 渦流量計

Patent Citations (2)

* Cited by examiner, † Cited by third party
Publication number Priority date Publication date Assignee Title
JPH11258016A (ja) * 1998-03-13 1999-09-24 Yokogawa Electric Corp 渦流量計
JP2003322553A (ja) * 2002-05-07 2003-11-14 Yokogawa Electric Corp 渦流量計

Cited By (3)

* Cited by examiner, † Cited by third party
Publication number Priority date Publication date Assignee Title
EP2482041A1 (de) * 2011-01-31 2012-08-01 KROHNE Messtechnik GmbH Vortex-Durchflussmessgerät
JP2012159508A (ja) * 2011-01-31 2012-08-23 Krohne Messtechnik Gmbh 渦流量計
US8820176B2 (en) 2011-01-31 2014-09-02 Krohne Messtechnik Gmbh Vortex flow meter having an inertial sensor for detecting parasitic oscillations

Also Published As

Publication number Publication date
JP5423963B2 (ja) 2014-02-19

Similar Documents

Publication Publication Date Title
US8695439B2 (en) Dual pick-off vibratory flowmeter
CN101162237A (zh) 加速度传感器
JP3565588B2 (ja) 振動型測定器
JP5423963B2 (ja) 渦流量計
JP2005221251A (ja) コリオリ流量計
JP3629703B2 (ja) 渦流量計
JP2015184175A (ja) 電流センサ及び電流センサセット
JP4089895B2 (ja) 渦流量計
JP5165879B2 (ja) 角速度センサ
JP4670152B2 (ja) 渦流量計
JPH11258016A (ja) 渦流量計
JPH11295118A (ja) 渦流量計
CN106989787B (zh) 用于运行质量流量测量仪器的方法和质量流量测量仪器
CN118583231B (zh) 流量检测装置和流量检测方法
JP3002778B1 (ja) カルマン渦超音波流量計装置
JP7328832B2 (ja) コリオリ流量計
JPH11248500A (ja) 渦流量計
JP2014006230A (ja) コリオリ流量計
JPH10246657A (ja) 渦流量計
JP5522351B2 (ja) 物理量センサー
JPS6047531B2 (ja) 渦流量計
JPS6046368B2 (ja) 渦流量計
JPH04256811A (ja) カルマン渦流量計及びその製造方法
JPH11248501A (ja) 渦流量計
CN101163948A (zh) 具有双环路结构的流量测定管的科里奥利流量计

Legal Events

Date Code Title Description
A621 Written request for application examination

Free format text: JAPANESE INTERMEDIATE CODE: A621

Effective date: 20120810

TRDD Decision of grant or rejection written
A01 Written decision to grant a patent or to grant a registration (utility model)

Free format text: JAPANESE INTERMEDIATE CODE: A01

Effective date: 20131030

A61 First payment of annual fees (during grant procedure)

Free format text: JAPANESE INTERMEDIATE CODE: A61

Effective date: 20131112

R150 Certificate of patent or registration of utility model

Free format text: JAPANESE INTERMEDIATE CODE: R150

Ref document number: 5423963

Country of ref document: JP

Free format text: JAPANESE INTERMEDIATE CODE: R150

LAPS Cancellation because of no payment of annual fees