JP2011067006A - 超電導回転電機 - Google Patents

超電導回転電機 Download PDF

Info

Publication number
JP2011067006A
JP2011067006A JP2009215282A JP2009215282A JP2011067006A JP 2011067006 A JP2011067006 A JP 2011067006A JP 2009215282 A JP2009215282 A JP 2009215282A JP 2009215282 A JP2009215282 A JP 2009215282A JP 2011067006 A JP2011067006 A JP 2011067006A
Authority
JP
Japan
Prior art keywords
rotor
chamber
rotating shaft
stator
superconducting
Prior art date
Legal status (The legal status is an assumption and is not a legal conclusion. Google has not performed a legal analysis and makes no representation as to the accuracy of the status listed.)
Granted
Application number
JP2009215282A
Other languages
English (en)
Other versions
JP5440063B2 (ja
Inventor
Yoshimasa Ohashi
義正 大橋
Nobuaki Okumura
暢朗 奥村
Current Assignee (The listed assignees may be inaccurate. Google has not performed a legal analysis and makes no representation or warranty as to the accuracy of the list.)
Aisin Corp
Original Assignee
Aisin Seiki Co Ltd
Priority date (The priority date is an assumption and is not a legal conclusion. Google has not performed a legal analysis and makes no representation as to the accuracy of the date listed.)
Filing date
Publication date
Application filed by Aisin Seiki Co Ltd filed Critical Aisin Seiki Co Ltd
Priority to JP2009215282A priority Critical patent/JP5440063B2/ja
Priority to EP10175747.4A priority patent/EP2299567B1/en
Priority to US12/877,401 priority patent/US8384255B2/en
Publication of JP2011067006A publication Critical patent/JP2011067006A/ja
Application granted granted Critical
Publication of JP5440063B2 publication Critical patent/JP5440063B2/ja
Active legal-status Critical Current
Anticipated expiration legal-status Critical

Links

Images

Classifications

    • HELECTRICITY
    • H02GENERATION; CONVERSION OR DISTRIBUTION OF ELECTRIC POWER
    • H02KDYNAMO-ELECTRIC MACHINES
    • H02K55/00Dynamo-electric machines having windings operating at cryogenic temperatures
    • H02K55/02Dynamo-electric machines having windings operating at cryogenic temperatures of the synchronous type
    • H02K55/04Dynamo-electric machines having windings operating at cryogenic temperatures of the synchronous type with rotating field windings
    • HELECTRICITY
    • H02GENERATION; CONVERSION OR DISTRIBUTION OF ELECTRIC POWER
    • H02KDYNAMO-ELECTRIC MACHINES
    • H02K5/00Casings; Enclosures; Supports
    • H02K5/04Casings or enclosures characterised by the shape, form or construction thereof
    • H02K5/16Means for supporting bearings, e.g. insulating supports or means for fitting bearings in the bearing-shields
    • H02K5/173Means for supporting bearings, e.g. insulating supports or means for fitting bearings in the bearing-shields using bearings with rolling contact, e.g. ball bearings
    • H02K5/1732Means for supporting bearings, e.g. insulating supports or means for fitting bearings in the bearing-shields using bearings with rolling contact, e.g. ball bearings radially supporting the rotary shaft at both ends of the rotor
    • HELECTRICITY
    • H02GENERATION; CONVERSION OR DISTRIBUTION OF ELECTRIC POWER
    • H02KDYNAMO-ELECTRIC MACHINES
    • H02K7/00Arrangements for handling mechanical energy structurally associated with dynamo-electric machines, e.g. structural association with mechanical driving motors or auxiliary dynamo-electric machines
    • H02K7/08Structural association with bearings
    • H02K7/083Structural association with bearings radially supporting the rotary shaft at both ends of the rotor
    • YGENERAL TAGGING OF NEW TECHNOLOGICAL DEVELOPMENTS; GENERAL TAGGING OF CROSS-SECTIONAL TECHNOLOGIES SPANNING OVER SEVERAL SECTIONS OF THE IPC; TECHNICAL SUBJECTS COVERED BY FORMER USPC CROSS-REFERENCE ART COLLECTIONS [XRACs] AND DIGESTS
    • Y02TECHNOLOGIES OR APPLICATIONS FOR MITIGATION OR ADAPTATION AGAINST CLIMATE CHANGE
    • Y02EREDUCTION OF GREENHOUSE GAS [GHG] EMISSIONS, RELATED TO ENERGY GENERATION, TRANSMISSION OR DISTRIBUTION
    • Y02E40/00Technologies for an efficient electrical power generation, transmission or distribution
    • Y02E40/60Superconducting electric elements or equipment; Power systems integrating superconducting elements or equipment

Landscapes

  • Engineering & Computer Science (AREA)
  • Power Engineering (AREA)
  • Superconductive Dynamoelectric Machines (AREA)
  • Motor Or Generator Cooling System (AREA)

Abstract

【課題】軸受の耐久性を高めるのに貢献でき、回転軸の円滑回転性を長期にわたり維持できる超電導回転電機を提供することを課題とする。
【解決手段】超電導回転電機はモータまたは発電機を構成する。超電導回転電機は、基体1と、基体1に保持された固定子2と、固定子2に対して回転可能に設けられ超電導材料を有する回転子3と、回転子3を保持する回転軸4と、固定子2を冷却させる冷却部5と、固定子2および回転子3を収容すると共に冷熱媒体を収容する収容室60を形成する低温容器6と、収容室60の外側に配置され収容室60を真空断熱させる真空断熱室7と、回転軸4の軸長方向において収容室60以外で且つ大気を含む雰囲気に対面する部位に設けられ回転軸4を回転可能に支持する軸受8とを有する。
【選択図】図1

Description

本発明はモータまたは発電機を構成できる超電導回転電機に関する。
特許文献1は超電導モータを開示する。超電導モータは、真空断熱室を形成する筐体と、筐体の真空断熱室に配置された気体冷媒室を形成する気密容器と、気密容器内に配置され回転磁界を生成させる固定子と、筐体に保持され固定子を冷却させる冷凍機と、気密室内において固定子に対して回転可能に設けられた超電導バルク材料で形成された回転子と、回転子と共に回転する回転軸と、回転軸を回転可能に筐体に支持する軸受とを有する。回転子は超電導バルク材料で形成されているため、これの臨界温度以下の極低温状態に冷却させる必要がある。そこで、気密容器内には気体冷媒が充填されている。従って、冷凍機が気密室内の固定子を冷却させれば、気密容器内の気体冷媒が冷却され、ひいては気密容器内の気体冷媒を利用した熱伝導により、気密容器内の回転子を極低温状態に維持させることにしている。
この装置では、軸受は、真空断熱室内に配置された極低温状態に維持される気密容器内に配置されている。このため、軸受、更には軸受の潤滑剤が過剰に冷却され、軸受の耐久性の向上には限界がある。更に、回転軸の円滑回転性も損なわれるおそれがある。
また特許文献2も超電導モータを開示する。この超電導モータは、断熱室を形成する筐体と、筐体の断熱室に配置された冷媒室と、極低温状態に冷却された液体窒素や液体水素等の冷媒を冷媒室に供給する冷媒入口と、冷却された冷媒を冷媒室から排出させる冷媒出口と、冷媒室内に配置され回転磁界を生成させる固定子と、冷媒室において固定子に対して回転可能に設けられた超電導コイルを有する回転子と、回転子と共に回転する回転軸と、回転軸を回転可能に筐体に支持する軸受とを有する。回転子は超電導コイルを有するため、これの臨界温度以下の極低温状態に冷却させる必要がある。そこで、冷凍機で冷却された冷媒は、冷媒入口から冷媒室に供給され、冷媒室内の固定子および回転子を冷却させ、冷媒出口から外部に排出される。これにより超電導コイルを有する回転子を冷媒室において極低温状態に維持させることができる。この装置では、軸受は、極低温状態に維持される冷媒室に対面するように配置されている。このため軸受が過剰低温化し、軸受の潤滑剤も冷却され、潤滑剤の粘性が過剰に高くなり、軸受の耐久性の向上には限界がある。更に、回転軸の円滑回転性も損なわれるおそれがある。
特開2004−23921号公報 特開2006−149007号公報
本発明は上記した実情に鑑みてなされたものであり、回転軸を保持する軸受の耐久性を高めるのに貢献でき、回転軸の円滑回転性を長期にわたり維持できる超電導回転電機を提供することを課題とする。
本発明に係る超電導回転電機は、モータまたは発電機を構成する超電導回転電機であって、基体と、基体に保持された固定子と、固定子に対して回転可能に設けられ超電導材料を有する回転子と、回転子を保持する回転軸と、固定子を冷却させる冷却部と、固定子および回転子を収容すると共に冷熱媒体を収容する収容室を形成する低温容器と、収容室の外側に配置され収容室を真空断熱させる真空断熱室と、基体のうち収容室以外で且つ大気を含む雰囲気に対面する部位に設けられ回転軸を回転可能に支持する軸受とを具備する。
回転子は超電導材料を有する。このため、回転子の超電導材料がこれの臨界温度以下に冷却されるように、回転子を冷却させる必要がある。そこで、低温容器は、固定子および回転子を収容すると共に、冷熱媒体を収容する収容室を形成する。収容室内の固定子は冷却部を介して強制的に極低温状態等の低温状態に冷却される。収容室内の冷熱媒体は固定子により冷却される。更に、収容室内の冷熱媒体によって、収容室内の回転子が極低温状態等の低温状態に冷却される。この結果、回転子の超電導材料は、これの臨界温度以下の低温状態に維持され、超電導材料の超電導状態が良好に維持される。冷熱媒体としては気体、液体が例示される。
本発明によれば、軸受は、基体のうち、固定子および回転子を収容する収容室以外で且つ大気を含む雰囲気に対面する部位に設けられている。これにより軸受の過剰低温化は抑制される。超電導回転電機の使用時には、収容室は、超電導材料で形成されている回転子を超電導状態を維持させるように、極低温状態等の低温状態に冷熱媒体により維持される。真空断熱室は高い断熱性を有するため、極低温状態等の低温状態に維持される収容室を断熱状態に良好に維持できる。
もし、回転子を保持する回転軸を回転可能に支持する軸受が基体内の収容室に配置されていると、収容室は超電導材料を有する回転子を収容している関係上、超電導材料の臨界温度以下、すなわち、極低温状態等の低温状態に維持されるため、軸受が極低温状態等の低温状態となる。この場合、軸受が過剰に冷却され、軸受の耐久性が低下するおそれがある。この点本発明によれば、軸受は、基体のうち収容室以外で且つ大気を含む雰囲気に対面する部位に設けられているため、上記した不具合が抑制される。
大気を含む雰囲気とは、大気に直接対面する形態と、容器が大気を収容しており、容器内の大気に対面する形態とを含む意味である。
本発明によれば、回転軸を回転可能に軸受は、基体のうち収容室以外で且つ大気を含む雰囲気に対面する部位に設けられている。このため、超電導回転電機の使用時において、軸受が極低温状態等の低温状態に維持されることが抑制される。よって、軸受の過剰低温化が抑えられ、軸受を長期にわたり良好に支持することができる。従って、軸受により支持される回転軸を長期にわたり良好に支持することができる。
実施形態1に係り、回転軸の軸長方向に沿って切断した超電導回転電機の断面図である。 実施形態1に係り、回転軸の軸直角方向に沿って切断した超電導回転電機の断面を示し、図1のII−II線に沿った断面図である。 実施形態1に係り、回転軸の軸長方向に沿って切断した超電導回転電機の磁気シール部付近の断面図である。 実施形態2に係り、回転軸の軸長方向に沿って切断した磁気シール部付近を模式的に示す図である。 実施形態3に係り、回転軸の軸長方向に沿って切断した超電導回転電機の断面図である。 実施形態4に係り、回転軸の軸長方向に沿って切断した超電導回転電機の断面図である。 実施形態5に係り、回転軸の軸長方向に沿って切断した超電導回転電機の断面図である。 実施形態6に係り、回転軸の内部を示す断面図である。 実施形態7に係り、回転軸の軸長方向に沿って切断した超電導回転電機の断面図である。
本発明に係る超電導回転電機はモータまたは発電機を構成する。超電導回転電機は、基体と、基体に保持された固定子と、固定子に対して回転可能に設けられ超電導材料を有する回転子と、前記回転子を保持する回転軸と、前記固定子を冷却させる冷却部と、固定子および回転子を収容すると共に冷熱媒体を収容する収容室を形成する低温容器と、収容室の外側に配置され収容室を真空断熱させる真空断熱室と、基体のうち収容室以外で且つ大気を含む雰囲気に対面する部位に設けられ回転軸を回転可能に支持する軸受とを有する。
超電導回転電機がモータである場合には、誘導電流を回転子に流す誘導モータとすることができる。この場合には、回転子としては、かご形回転子または巻線形回転子が例示される。かご形回転子の場合には、かご形回転子の少なくとも一部が超電導材料で形成されている。巻線形回転子の場合には、巻線が超電導材料で形成されている。固定子は、透磁材料で形成された透磁コアと、透磁コアに保持された巻線部とを有することが好ましい。巻線部は銅線等の通常の導電材料で形成されていても良いし、あるいは、超電導材料で形成されていても良い。
超電導回転電機が発電機である場合には、回転子の超電導材料は超電導バルク磁石等の超電導磁石とすることができる。
本発明の一視点によれば、収容室の冷熱媒体の洩れを抑えるシール部が、回転軸の外周部に設けられていることが好ましい。この場合、冷熱媒体の洩れが抑制される。シール部および軸受は、回転軸の軸長方向において互いに隣設されていることが好ましい。この場合、軸受は回転軸の芯ぶれを抑えるため、軸受に隣接するシール部の寿命を長くできる。シール部は、収容室と軸受との間に配置されている磁気シール部であることが好ましい。
本発明の一視点によれば、回転子および回転軸のうちの少なくとも一方は、収容室内の冷熱媒体を収容室において移動させることにより回転子の冷却性を一層高める羽根構造を有することが好ましい。羽根部の構造は特に限定されず、要するに収容室内の冷熱媒体を移動できれば良い。
本発明の一視点によれば、低温容器は、回転軸の外周部に微小隙間を介して対向すると共に回転軸の軸長方向に沿って筒形状に延設されたシール筒部を有することが好ましい。この場合、微小隙間により回転軸の回転性を確保しつつ、冷熱媒体のシール性が良好に確保される。
本発明の一視点によれば、収容室内の冷熱媒体の圧力変動に伴い冷熱媒体を収容室に対して出し入れする冷熱媒体出入要素が設けられていることが好ましい。この場合、必要時に冷熱媒体を収容室に供給でき、回転子の冷却性を高めることができる。
(実施形態1)
図1〜図3は実施形態1の概念を示す。本実施形態は、本発明に係る超電導回転電機を超電導モータに適用した場合である。図1に示されているように、超電導モータは、基体1と、回転磁界を生成させる固定子2と、固定子2に対して回転可能に設けられ固定子2の回転磁界に伴い回転すると共に超電導材料を有する回転子3と、回転子3を保持する回転軸4と、固定子2を冷却させる冷却部5と、固定子2および回転子3を収容すると共に気体冷媒66(冷熱媒体)を収容する収容室60を形成する低温容器6と、収容室60を覆うように収容室60の外側に配置された真空断熱室7とを有する。
図1に示されるように、基体1は、軸孔10を有するように互いに対向する2個の対向壁11,11と、対向壁11,11の外周端を繋ぐ連設壁12と、連設壁12に当接された当接壁13と、対向壁11,11の外周端を繋ぐ連設壁15とを有する。基体1の外側は、大気雰囲気に維持されている大気部14とされている。大気部14は、大気を含む雰囲気であり、一般的には大気雰囲気で形成されている。大気部14は、常温または常温付近に維持される常温部、または、常温大気部であることが好ましい。常温付近は、極低温よりも常温に近い温度領域の意味であり、常温プラスマイマス20℃以内、10℃以内、5℃以内の範囲内とすることができる。
基体1は金属、FRP(繊維強化樹脂)またはセラミックスで形成されている。更に図1に示されるように、基体1は、2個の対向壁11間に配置された筒形状の取付筒16と、取付筒16の外部に設けられた第2真空断熱室72とを有する。なお、基体1の材質としては、洩れ磁束の透過を抑えると共に強度を有する材料が好ましい。例えば、透磁率が低い合金鋼(ステンレス鋼)、硬質樹脂、補強材強化樹脂、セラミックスが例示される。補強材はガラス、セラミックス等の無機物の繊維が例示され、従って繊維強化樹脂が例示される。樹脂は熱硬化樹脂、熱可塑性樹脂のいずれでも良い。ここで、金属であれば、金属は、後述の気体冷媒66の透過に対して高いバリヤ性を有するため、真空断熱室7に気体冷媒66が透過することが抑えられ、気体冷媒66の透過に起因する真空断熱室7の汚染が抑えられ、真空断熱室7の真空断熱性を確保するのに有利である。好ましくは、基体1のうち、対向壁11,連設壁12、当接壁13、および連設壁15は金属で構成され、取付筒16は繊維強化樹脂で構成することができる。但しこれに限定されるものではない。
図2に示されるように、固定子2は取付筒16の内部に固定状態に保持されている。固定子2は、軸芯P1のまわりに設けられた透磁率が高い透磁材料で形成された筒形状をなす固定鉄心として機能する筒形状の透磁コア20と、透磁コア20に巻回された巻線部21とを有する。透磁コア20は、積層板を回転軸4の軸長方向に沿って積層させて形成しても良い。あるいは、透磁コア20は、絶縁被膜で被覆した多数の鉄粉粒子からなる集合体を固結させたものでも良い。透磁コア20は、軸芯P1の回りを1周するリング部22と、リング部22から求心方向に向かう複数のティース部23とを有する。巻線部21は、各ティース部23間のスロットル溝23wに位置しており、各ティース部23に巻回された超電導材料または巻線用銅線で形成されており、回転磁界を軸芯P1回りで正方向および逆方向のそれぞれに回転させ得るように発生させる。超電導材料は、これの臨界温度以下の極低温状態に冷却されると、超電導状態を示し、電気抵抗を大幅に低下させる。臨界温度は超電導材料の材質によって相違するものの、例えば4〜100Kとすることができる。なお、各ティース部23には巻線部21が巻回されているが、図2において巻線部21は一部のみ図示されており、大部分は図略されている。図1では、図1の複雑化を回避するため、巻線部21は図略されている。更に図1では、複雑化を回避するため、固定子2および回転子3は簡素的に記載されている。
回転子3は、固定子2に対して回転可能に且つ固定子2に包囲されるように設けられており、固定子2の回転磁界に伴い軸芯P1の回りで回転する。回転子3は超電導材料で形成されており、臨界温度以下に冷却されると超電導状態を示す。本実施形態に係るモータはかご形誘導モータを構成するため、図2から理解できるように、回転子3は、回転子3の軸長方向の両側に配置された端板3aと、両方の端板3a間を連設するように回転子3の周方向に沿って間隔を隔てて配置された複数個の導電性をもつ棒体3cとを有する。端板3aおよび棒体3cは、電気抵抗を大幅に低減または0とさせる超電導材料で形成されている。ここで、固定子2に軸芯P1回りの回転磁界が発生すると、回転子3の棒体3c等には電磁誘導により誘導電流が流れる。回転子3に電磁誘導される誘導電流と固定子2の回転磁界との相互関係によって、回転子3が軸芯P1の回りで正方向または逆方向に回転する。
回転子3は軸芯P1回りでかご形円筒状をなしており、周方向において複数個の貫通開口部24(図2参照)をもつ。回転軸4は、筒形状またはリング形状の嵌合部32により回転子3の内周部をほぼ同軸的に保持する。嵌合部32は回転子3を回転軸4の外周部4pに保持するものであり、回転軸4は、常温または常温付近の大気部14において回転可能に配置されている。回転軸4は中実状とされているが、中空状としても良い。回転軸4の材質としては金属、セラミックス、FRP(繊維強化樹脂)のいずれでも良いが、熱伝導が小さいFRPが好ましい。
冷却部5は固定子2を極低温状態に強制的に冷却させ、固定子2を介して収容室60内の気体冷媒66、ひいては回転子3をこれの臨界温度以下(極低温状態)に冷却させるものである。図2に示されているように、冷却部5は、固定子2の透磁コア20の外周部20pの一部に伝熱可能に接触する第1熱伝導体51と、基体1に設けられた冷凍機53と、冷凍機53を作動させるコンプレッサ54と、冷凍機53で極低温状態に冷却されるコールドヘッド55と、コールドヘッド55と第1熱伝導体51とを繋ぐ第2熱伝導体52とを有する。冷凍機53としては、パルス管冷凍機、スターリング冷凍機、ギホードマクマホン冷凍機、ソレベイ冷凍機、ヴィルマイヤー冷凍機などの公知の冷凍機が例示される。第2熱伝導体52は、第2真空断熱室72に配置されており、例えば熱伝導性が良好な金属で形成された網体、板体または棒体で形成できる。コールドヘッド55の回りの空間は、高断熱性を維持できるように真空断熱室部分55cとされている。
図2に示されているように、低温容器6は、固定子2および回転子3を収容する収容室60を形成するものである。収容室60において、回転子3は固定子2の内周側に配置されている。収容室60には、冷熱媒体として機能する気体冷媒66が充填されて収容されている。気体冷媒66としては、超電導臨界温度以下、または、回転電機の作動温度において固化・凝縮しない気体が選択され、ヘリウム、窒素、水素、ネオン等が例示される。低温容器6は金属(例えば炭素鋼、ステンレス鋼、アルミニウム合金、チタン合金など)で形成されているため、高いガスバリヤ性をもち、収容室60内の気体冷媒66が外部(真空断熱室7)に洩れることが抑えられる。ひいては、真空断熱室7の高真空度を長期にわたり良好に維持できる。
図1に示されるように、低温容器6は殻状をなしており、軸芯P1の回りを包囲するように透磁コア20の外周に配置された外周壁60aと、透磁コア20の軸長方向の一端20e側および他端20f側を覆う被覆壁60cと、被覆壁60cから径内側に延設された円錐形状をなす傾斜壁60dとを有する。傾斜壁60dは、気体冷媒66を径外方向に案内できるように軸芯P1に対して傾斜している。更に、金属製の低温容器6は、傾斜壁60dの内端側から回転子3の内周部3iに沿って延設された延設壁60eと、嵌合部32の軸端に対向する軸端壁60hと、軸端壁60hの内端から延設されたシール筒部60kとを有する。シール筒部60kの内径は軸長方向において基本的には同一とされている。更に図1に示されるように、低温容器6は、シール筒部60kの先端から径外方向に向かう延設壁60pを有する。延設壁60pは対向壁11の内面に隣設されており、被覆壁60cおよび傾斜壁60dに対面しており、真空断熱室7を仕切る。上記した形状および構造を有する低温容器6により、矢印L方向において真空断熱室7は収容室60の両側に区画されている。
図3に示されるように、シール筒部60kは、回転軸4の外周部4pに微小隙間63を介して対向すると共に、回転軸4の軸長方向(矢印L方向)に沿って回転軸4に対してほぼ同軸的に直円筒形状に延設されている。微小隙間63の隙間幅t1としては、例えば50〜1200マイクロメートル、100〜1100マイクロメートル、200〜1000マイクロメートルにできる。但しこれらに限定されるものではない。
図1に示されているように、回転軸4の軸長方向(矢印L方向)において、シール筒部60kは回転子3の軸端3e,3fよりも回転子3の内周部3i側に食い込むように形成されており、嵌合部32の軸端32eに接近している。これによりシール筒部60kの軸長寸法LE(図3参照)が確保されており、シール筒部60kによるシール性が高められている。この場合、収容室60の気体冷媒66が真空断熱室7側や大気部14側に進入すること、更に、大気部14の大気が収容室60に進入することが一層抑制されている。
図1に示されているように、真空断熱室7は、気体冷媒66が充填されている収容室60を覆うように収容室60の外側に配置されており、収容室60を真空断熱させ、収容室60を極低温状態等の低温状態に維持させる機能を果たす。真空断熱室7は、大気部14と収容室60との間に設けられており、大気部14と収容室60とを互いに独立させている。図1に示されているように、真空断熱室7は、固定子2の外周側を外側から覆う外周断熱室7aと、固定子2の軸端側20e,20fおよび回転子3の軸端3e,3fを外側から覆う軸端断熱室7bと、回転子3の内周部の軸端側を内側から覆う内側断熱室7cとを有する。このようにして気体冷媒66と固定子2,回転子3との接触性が確保され、気体冷媒66を利用した強制冷却性が確保されている。気体冷媒66は液体冷媒に比較して低粘性であるため、回転子3の回転性を損なわない。
図1に示されているように、軸受8はリング形状をなしており、回転軸4を軸芯P1回りで回転可能に支持しており、基体1のうち収容室60及び真空断熱室7以外で、且つ、大気に対面する部位に設けられている。従って軸受8は、大気部14に対面するように回転軸4の外周部4pに配置されており、常温または常温付近の大気雰囲気に対面する。軸受8は、回転軸4の軸長方向(矢印L方向)の両側において両持ち構造で2個配置されているため、回転子3の軸芯P1のぶれが抑制され、同軸回転性が良好に維持される。このため、微小隙間63の隙間幅t1が小さい場合であっても、回転軸4の周方向において微小隙間63の隙間幅t1の偏りが抑制される。これにより微小隙間63の隙間幅を小さくできる。このようにして複数個の軸受8は、固定子2と回転子3との同軸性を高めている。
図1および図3に示されているように、軸受8は、リング状の内輪80と、リング状の外輪81と、転動体82とを有する。転動体82は、内輪80と外輪81との間において周方向に間隔を隔てて複数個配置されている。内輪80、外輪81および転動体82は、金属、セラミックスまたは硬質樹脂で形成できる。基体1の対向壁11のうち回転軸4側には、筒形状の取付フランジ筒19が形成されている。取付フランジ筒19の内周面側に軸受8の外輪81が保持されている。内輪80は回転軸4の外周部4pに保持されている。取付フランジ筒19には、外輪81にあてがわれたストッパ部19cが取り付けられており、長期にわたり軸受8の保持性を高め、回転軸4の同軸性を確保している。なお、図1に示されるように、固定子2、回転子3および低温容器6は、回転軸4の軸芯P1に対して軸直角方向に沿った仮想線M2を介して対称的に配置されている。
図1に示されるように、収容室60内の気体冷媒66の洩れを抑制するシール部として機能する磁気シール部9が、回転軸4の外周部4pに対面する位置において、軸芯P1の回りでリング形状にほぼ同軸的に設けられている。磁気シール部9は、収容室60と大気部14とを分離させており、この結果、収容室60内に充填されている気体冷媒66が大気部14に洩れることを防止する。磁気シール部9は、軸受8を介して大気部14に対面するため、常温または常温に近い温度に維持される。回転軸4の軸長方向(矢印L方向)に沿って並設されたリング状をなす複数の磁極(N極およびS極)と、磁極(N極およびS極)によって形成された磁路に沿って配向して磁極と回転軸4の外周部4pとの間におけるシール性を高める磁性流体とを有する。磁性流体は、多数の磁性微粒子を界面活性剤などでベース液に安定的に分散させた流動体である。磁性流体の凍結などを防止するため、磁気シール部9は常温付近に維持されることが好ましい。磁性流体が凍結などにより粘度が高くなると、回転軸4の回転抵抗が増加する。なお図3に示すように、磁気シール部9は、回転軸4の外周部4pに対向しつつ、シール筒部60k,延設壁60pおよび対向壁11により保持されている。この場合、対向壁11,回転軸4からの伝熱が期待でき、磁気シール部9の過剰低温化が抑制される。
図1に示されるように、磁気シール部9は、回転軸4の軸長方向(矢印L方向)において収容室60と軸受8との間、すなわち、真空断熱室7と軸受8との間に配置されている。換言すると、磁気シール部9は、回転軸4の軸長方向(矢印L方向)において軸受8よりも内側(収容室60側)に位置するように、互いに間隔を隔てて複数個(2個)に配置されている。磁気シール部9は高い密閉性および高いシール性を有するため、収容室60の気体冷媒66が例えばヘリウムや水素等のような分子が小さな気体状の冷媒であっても、収容室60内の気体冷媒66の洩れを抑制できる。故に、真空断熱室7の真空断熱状態が長期にわたり良好に維持されると共に、収容室60における気体冷媒66の量が長期にわたり確保される。なお、図1に示すように、回転軸4の軸長方向(矢印L方向)において、磁気シール部9は、基体1の対向壁11に形成されている軸孔10の内周部と真空断熱室7の双方にわたり配置されている。この場合、大気に晒される対向壁11から磁気シール部9への伝熱を期待できる。
図1に示されるように、回転子3の軸端には、ファン形状をなす複数個の羽根部33が収容室60に位置するように設けられている。必要に応じて、羽根部33を回転子3のうち他の場所に設けても良い。回転子3と共に羽根部33が軸芯P1回りで回転すると、収容室60内の気体冷媒66を収容室60において移動させて循環させることができる。ここで、羽根部33が軸芯P1まわりで回転子3と共に回転すると、遠心力により気体冷媒66が径外方向(図1に示す矢印W1方向,W2方向)に移動され、固定子2の軸端から固定子2の軸長方向の中央域に移動され、ティース部23間のスロット溝23wの開口部24(図2参照)から径内方向(矢印W3方向)に回転子3に向かい、回転子3に接触して回転子3を冷却させるように、気体冷媒66が循環すると推定される。なお、図1に示されているように、回転子3の外周部3pと固定子2との間には、回転子3の円滑回転を許容させるリング形状をなす微小なギャップ34が形成されている。
図1に示されているように、羽根部33は低温容器6の傾斜壁60dに対面するように形成されている。このため羽根部33により放出された気体冷媒66は低温容器6の傾斜壁60dに当たると、径外方向に案内され易くなるため、回転子3の外周側に位置する固定子2に良好に接触することができ、第1熱伝導体51で強制冷却される固定子2により効果的に冷却される。
さて超電導モータの使用時には、固定子2の巻線部21に三相交流または単相交流が図略のインバータ(変換器)を介して給電される。これにより回転磁界が軸芯P1回りで発生する。これにより回転子3が回転軸4および羽根部33と共に軸芯P1回りで正方向または逆方向に回転する。更に、超電導モータの使用時には、冷凍機53が駆動されてコールドヘッド55で冷凍出力が発生する。従ってコールドヘッド55、第2熱伝導体52および第1熱伝導体51が冷却され、収容室60内の固定子2を構成する透磁コア20および巻線部21は、第1熱伝導体51により冷却される。このとき回転子3の回転と共に羽根部33が軸芯P1回りで回転するため、収容室60内の気体冷媒66は収容室60において循環移動される。このため気体冷媒66は固定子2に接触して熱交換により冷却された後に、回転子3に接触して回転子3を強制的に冷却させる。これにより回転子3の冷却性を一層高めることができる。この結果、回転子3を構成する超電導材料をこれの臨界温度以下の極低温状態に維持させることができ、回転子3の超電導状態を維持させることができる。このため回転子3の電気抵抗を低減または0にすることができ、回転子3に流れる誘導電流密度を大きく確保することができる。よって回転子3を回転するトルクが確保され、超電導モータのモータ効率を高めることができる。
以上説明したように本実施形態によれば、収容室60は、超電導材料で形成されている回転子3を収容しており、超電導材料の超電導状態を維持するため、これの臨界温度以下という極低温状態等の低温状態に気体冷媒66により維持される。そして本実施形態によれば、回転軸4を回転可能に支持する軸受8は、基体1のうち、超電導材料で形成されている回転子3を収容する収容室60以外で、且つ、大気を含む雰囲気に対面する部位(大気部14に対面するように)に設けられている。具体的には、軸受8は、大気部14に対面するように、基体1対向壁11と回転軸4の外周部4pとの間に配置されている。このため、回転軸4を回転可能に支持する軸受8が極低温状態等の低温状態よりも高温領域(常温または常温付近)に維持される。従って、軸受8の潤滑剤の過剰低温化が抑制され、潤滑剤の粘性の過剰増加が抑制され、長期にわたり回転軸4を回転可能に良好に支持することができる。
もし、特許文献1および2のように、低温状態に維持される収容室60に対面するように軸受8が配置されている場合には、軸受8が極低温状態等の低温状態となり易い。この場合、軸受8の潤滑剤の粘性が過剰に高くなったり、潤滑剤が凍結したりし、結果として、軸受8の耐久性が大いに低下する不具合がある。更に潤滑剤で真空断熱室7を汚染させる不具合がある。この点本実施形態によれば、軸受8は基体1のうち収容室60以外で且つ大気を含む雰囲気に対面する部位に設けられているため、上記した不具合が抑制される。
仮に軸受8が真空断熱室7に配置されていると、軸受8に供給されている潤滑剤が蒸発して消失するおそれがある。この点本実施形態によれば、軸受8は基体1のうち真空断熱室7以外の部位に配置されており、つまり、大気部14に対面するように回転軸4の外周部4pと基体1の対向壁11との間に配置されている。よって、軸受8に供給されている潤滑剤が蒸発して消失するおそれが抑えられる。この意味においても、長期にわたり回転軸4を回転可能に良好に支持することができる。更に真空断熱室7の潤滑剤による汚染も防止される。
更に本実施形態によれば、シール筒部60kが形成している微小隙間63の隙間幅t1が小さいので、回転軸4の回転性を確保しつつ、シール筒部60kの内周部60iと回転軸4の外周部4pとの間におけるシール性が良好に確保される。しかもシール筒部60kは回転軸4の軸長方向に沿ってほぼ同軸的に延設されているため、上記シール性が更に確保される。このため収容室60に充填されている気体冷媒66が大気部14側の外部に洩れることが抑制され、且つ、大気部14の大気が収容室60に進入することが抑制されている。
仮に微小隙間63の隙間幅t1が大きい場合には、収容室60内の気体冷媒66は磁気シール部9よりも外側に流出することが抑えられるものの、矢印L方向において磁気シール部9よりも内側に位置する微小隙間63に流出し、微小域間63における気体冷媒66による熱対流などの熱伝導が増加し、外部の熱が収容室60に侵入するおそれがある。この点本実施形態によれば、前述されているように、微小隙間63の隙間幅t1が極めて小さい。このため収容室60内の気体冷媒66が微小隙間63に流出するときであっても、流出量が極めて微小量に抑制され、ひいては微小域間63における熱対流などの熱伝導が抑えられ、収容室60への熱侵入が抑えられる。
更に低温容器6において、シール筒部60kの厚みt2は被覆壁60cの厚みt3(図3参照)よりも薄くされている。これにより大気部14からシール筒部60kを介して収容室60側への熱伝導に起因する熱侵入が更に低減されている。
本実施形態によれば、磁気シール部9が設けられているため、収容室60の気体冷媒66が大気部14側に洩れることが抑制される。更に、図1に示すように、磁気シール部9の外周側は基体1の対向壁11に覆われているため、対向壁11(低温容器6よりも高温)から磁気シール部9への伝熱が期待される。また磁気シール部9の内周部は回転軸4の外周部4pに覆われているため、回転軸4(低温容器6よりも高温)から磁気シール部9への伝熱が期待される。更に磁気シール部9は矢印L方向において軸受8に隣設しているため、軸受8(低温容器6よりも高温)から磁気シール部9への伝熱が期待される。このため、超電導材料で形成されている固定子2および回転子3を収容する収容室60が極低温状態の低温状態に維持されるときであっても、磁気シール部9の過剰低温化が抑制され、磁気シール部9の磁性流体の粘性が過大になることが抑制される。これにより磁気シール部9の潤滑性およびシール性が長期にわたり良好に維持され、ひいては回転軸4の円滑回転性が長期にわたり良好に確保される。
なお、軸受8では複数個の転動体82は周方向に間隔を隔てて配置されている。このため軸受8はこれの軸長方向に通気性を有する。更に軸受8の主材料は伝熱性が良い金属材料である。従って磁気シール部9は軸受8付近の大気温度の影響を受けることができる。よって収容室60が極低温状態等の低温状態とされるときであっても、磁気シール部9の過剰低温化を抑制できる。
図1に示されているように、回転軸4の軸長方向(矢印L方向)において、磁気シール部9は軸受8よりも内側に位置するように、磁気シール部9および軸受8は、互いに接近しつつ(回転軸4の外径寸法以内の距離)隣設されている。ここで、軸受8は回転軸4の軸芯P1の芯ずれ回転を抑える機能をもつ。ここで、磁気シール部9は軸受8に隣設されているため、磁気シール部9において回転軸4の芯ぶれが良好に抑えられ、磁気シール部9によるシール性が長期にわたり一層良好に維持される。
(実施形態2)
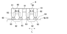
図4は実施形態2を示す。本実施形態は前記した実施形態と基本的には同様の構成および同様の作用効果を有する。以下、相違する部分を中心として説明する。図4は磁気シール部9の一例を示す。図4に示されるように、磁気シール部9は、回転軸4の軸長方向(矢印L方向)において並設された複数の磁極(N極およびS極)をもつ複数個の磁石部90と、隣接する磁石部90間に配置された非磁性または常磁性の材料で形成されたスペーサ91と、磁極(N極およびS極)によって形成された磁路92に沿って配向して微小隙間63におけるシール性を高める磁性流体93とを有する。磁路92は互いに独立していることが好ましいが、これに限定されるものではない。磁性流体93は、磁性微粒子を界面活性剤などでベース液に安定的に分散させた流動体である。ベース液としては炭化水素系、フッ素油系、水系などが例示されるが、これらに限定されるものではない。
(実施形態3)
図5は実施形態3を示す。本実施形態は前記した実施形態1,2と基本的には同様の構成および同様の作用効果を有する。以下、相違する部分を中心として説明する。図5に示されているように、収容室60内の気体冷媒66の圧力変動に伴い気体冷媒66を収容室60に対して出し入れする気体冷媒出入要素100(冷熱媒体出入要素)が設けられている。気体冷媒出入要素100は、基体1の外方に配置されたバッファタンク102と、バッファタンク102と収容室60とを連通させる連通通路103と、連通通路103に設けられたバルブ104とを有する。超電導モータを駆動させるときには、図略の制御装置はコンプレッサをオンさせて冷凍機53を作動させる。これによりコールドヘッド55が極低温状態に冷却され、第1熱伝導体51および第2熱伝導体52を介して固定子2が極低温状態に冷却され、ひいては収容室60に収容されている気体冷媒66が極低温状態に冷却される。この場合、収容室60の気体冷媒66の圧力が低下する。例えば、常温(300K)時に収容室60に充填された気体冷媒66が77Kに冷却されると、その圧力は約25%(1/4程度)に低下する。このためバルブ104を開放させれば、バッファタンク102のタンク室102cと収容室60との圧力差に基づいて、高圧側のバッファタンク102のタンク室102cに封入されている気体冷媒66が低圧側の収容室60に流入する。このように超電導モータが駆動するときには、バッファタンク102のタンク室102cの気体冷媒66が収容室60に流入される。よって収容室60の気体冷媒66が回転子3を冷却させる冷却能力を高めることができる。
また、超電導モータの運転が停止されるときには、制御装置はコンプレッサ54をオフさせて冷凍機53の作動を停止させる。これによりコールドヘッド55の冷却能力が低下し、固定子2が昇温し、ひいては収容室60に収容されている気体冷媒66が昇温されてその体積を増加させる。この場合、収容室60の気体冷媒66の圧力が増加する。このためバルブ104を開放させれば、バッファタンク102のタンク室102cと収容室60との圧力差に基づいて、高圧側の収容室60の気体冷媒66が低圧側のバッファタンク102のタンク室102cに流入する。このように超電導モータの駆動が停止されるときには、収容室60の気体冷媒66がバッファタンク102のタンク室102cに流入される。このようにバッファタンク102を利用して、収容室60の温度に応じて、または、超電導モータのオンオフに応じて、収容室60に対してバッファタンク102の気体冷媒66を出し入れできる。なおバッファタンク102を基体1の外方ではなく、場合によって、基体1の内部に設けることもできる。例えばバッファタンク102を真空断熱室7内に設けることもできる。
(実施形態4)
図6は実施形態4を示す。本実施形態は前記した実施形態と基本的には同様の構成および同様の作用効果を有する。以下、相違する部分を中心として説明する。回転軸4は中空軸とされており、軸長方向(矢印L方向)において回転子3に対向する位置に配置された第3真空断熱室73と、第3真空断熱室73を仕切るように対向して回転軸4の内部に設けられた仕切壁43とを有する。第3真空断熱室73は、収容室60と大気部14との間の温度領域になる密閉空間であり、軸長方向において回転子3および収容室60に重なる位置に形成されており、回転子3および収容室60への伝熱を抑え、回転子3および収容室60をできるだけ低温状態に維持するのに有利である。すなわち、このように回転軸4の内部に密閉室である第3真空断熱室73が形成されているため、大気部14(常温部)からの回転子3および収容室60側への熱侵入を低減させることができる。
更に図6に示すように、回転軸4の軸長方向(矢印L方向)において、真空室断熱室73の軸長LBは基体1の軸長LCよりも大きくされている。従って、回転軸4の軸長方向(矢印L方向)において、仕切壁43は軸受8よりも外側に配置されている。このように回転軸4の第3真空断熱室73が軸受8の内周側に配置されている。このため、大気部14の熱が金属製の回転軸4を介して回転子3および収容室60側に侵入することが低減されている。磁気シール部9および軸受8は回転軸4の周壁40に保持されているため、常温側に配置される回転軸4の周壁40から磁気シール部9および軸受8への伝熱を期待できる。故に、超電導材料を有する回転子3を収容する収容室60が極低温状態等の低温状態に維持されるときであっても、磁気シール部9および軸受8の過剰低温化が抑制される。従って周壁40は熱伝達性が良好で且つ強度を有する金属(例えば炭素鋼、合金鋼、アルミニウム合金、銅合金等)で形成されていることが好ましい。更に周壁40の厚みt6(図6参照)は所定値以上であることが好ましい。
(実施形態5)
図7は実施形態5を示す。本実施形態は前記した実施形態と基本的には同様の構成および同様の作用効果を有する。以下、相違する部分を中心として説明する。図7に示されているように、回転軸4は中空軸とされており、軸長方向(矢印L方向)において回転子3に対向する位置に配置された第3真空断熱室73と、第3真空断熱室73を仕切るように対向して回転軸4の内部に設けられた仕切壁43とを有する。回転軸4の内部に第3真空断熱室73が形成されているため、回転軸4の断熱性が向上している。故に、外部(大気部14)の熱が、低温状態の収容室60側に回転軸4を介して侵入する熱侵入を低減させることができる。
更に図7に示されているように、回転軸4の軸長方向(矢印L方向)において、真空断熱室73の軸長LBは、基体1の軸長LCよりも短縮されている。従って、回転軸4の軸長方向(矢印L方向)において、磁気シール部9は仕切壁43よりも外側に配置されており、回転軸4の常温側の中空室48に対面するように配置されている。このため磁気シール部9の内周側は常温部(常温大気部)となる。従って、収容室60が極低温状態等の低温状態であっても、磁気シール部9の過剰冷却が抑えられる。よって、磁気シール部9の潤滑性およびシール性が長期にわたり良好に維持される。ひいては収容室60内に充填されている気体冷媒66が大気部14に洩れることが抑制される。
(実施形態6)
図8は実施形態6を示す。本実施形態は前記した実施形態と基本的には同様の構成および同様の作用効果を有する。以下、相違する部分を中心として説明する。回転軸4の内部に密閉状態の第3真空断熱室73が配置されている。このため、低温状態に維持される収容室60,回転子3側に外部の熱が回転軸4を介して侵入することが低減されている。第3真空断熱室73にはガス吸着剤46が配置されている。具体的には、ガス吸着剤46が第3真空断熱室73を形成する内周面73iにテープ状に貼られることにより保持されている。これにより第3真空断熱室73の高真空度および真空断熱状態を長期にわたり維持することができる。ガス吸着剤46としては、低温状態で吸着能力が高いものが好ましい。このようなガス吸着剤46としてはモレキュラーシーブ、活性炭、水素ゲッター等が例示される。モレキュラーシーブは吸着性能が高いゼオライトを基材とする。他の実施形態においても、回転軸4が第3真空断熱室73を有する構造で有れば、ガス吸着剤46を使用することもできる。回転軸4の軸バランスのため、ガス吸着剤46としては、回転軸4の第3真空断熱室73を区画する内周部73iに均一に保持することが好ましい。場合によっては、粉末状、粒子状のガス吸着剤を第3真空断熱室7に装入してもよい。更には真空断熱室7および/または第2真空断熱室72にガス吸着剤46を配置することにしても良い。
(実施形態7)
図9は実施形態7を示す。本実施形態は超電導回転電機を発電機に適用した場合を示す。本実施形態は前記した実施形態1〜6と基本的には同様の構成および同様の作用効果を有する。以下、相違する部分を中心として説明する。発電機に適用されているため、回転子3には、これの周方向に間隔を隔てて複数個の永久磁石部3xが配置されている。永久磁石部3xは周方向においてN極およびS極を交互に配置されており、超電導バルク磁石で形成されており、これの臨界温度以下の低温状態に維持される。図略の駆動源により回転軸4がこれの軸芯P1の回りで回転すると、回転子3と共に永久磁石部3xが回転し、電磁誘導により固定子2の各巻線部21に誘導電流が発生する。巻線部21に発生した誘導電流は変換器により交流電流とされる。
超電導バルク磁石は、溶融後に固化させた溶融バルクと呼ばれるバルク形状(塊状)の超電導体である。適切な組織制御を行って合成した溶融バルクは、磁場中で冷却するなどの方法で一旦着磁すれば、小さなサイズでT(テスラ)級の強い磁場を保持できるものが得られるようになっており、超電導体を着磁して磁石にしたものは、超電導バルク磁石と呼ばれている。発電機であっても、超電導モータに適用した上記した数々の技術を適用できる。発電機においても、上記した各実施形態の特有の特徴を有していても良い。
(その他)
上記した実施形態によれば、回転軸4の外周部4pと基体1の軸孔10との間には、磁性流体を利用した磁気シール部9が設けられているが、これに限らず、有機系または無機系で形成された通常のシール材料で形成されたシール部としても良い。超電導回転電機では、固定子2の内周側に回転子3が配置されているが、固定子2の外周側に回転子3を配置するタイプでも良い。軸受8は、リング状の内輪80と、リング状の外輪81と、転動体82とを有するが、これに限らず、内輪および転動体を有するタイプでも良いし、外輪および転動体を有するタイプでも良い。また軸受は転がり転動タイプに限定されず、円筒ころ軸受、円錐ころ軸受、更には滑りタイプでも良い。回転子3の軸端には複数個の羽根部33が設けられているが、回転軸4に設けても良い。あるいは、場合によっては、回転子3の回転により気体冷媒66を循環移動させ得るときには、羽根部33を廃止しても良い。気体冷媒は空気としても良い。更に、気体冷媒66に代えて、若干粘性が増加するものの、液体窒素、液体空気等の液状冷媒としても良い。
上記した実施形態に係る超電導モータは、回転子に誘導電流を発生させ回転子を回転させる誘導モータに適用されているが、これに限らず、超電導材料で形成された磁石(超電導バルク磁石)を回転子に搭載させたモータ構造でも良い。また、超電導回転電機は、超電導モータに限定されず、超電導材料(超電導バルク磁石など)で形成した磁石部を有する回転子を搭載した発電機に適用しても良い。
本発明は上記し且つ図面に示した実施形態のみに限定されるものではなく、要旨を逸脱しない範囲内で適宜変更して実施できる。本明細書の記載から次の技術的思想も把握できる。
[付記項1]モータまたは発電機を構成する超電導回転電機であって、基体と、前記基体に保持された固定子と、前記固定子に対して回転可能に設けられ超電導材料を有する回転子と、前記回転子を保持する回転軸と、前記固定子を冷却させる冷却部と、前記固定子および前記回転子を収容すると共に冷熱媒体を収容する収容室を形成する低温容器と、前記収容室の外側に配置され前記収容室を真空断熱させる真空断熱室とを具備する超電導回転電機。収容室は真空断熱室により断熱状態に維持される。よって、収容室に収容されている固定子、回転子および冷熱媒体を極低温状態等の低温状態に維持できる。
[付記項2]モータまたは発電機を構成する超電導回転電機であって、基体と、前記基体に保持された固定子と、前記固定子に対して回転可能に設けられ超電導材料を有する回転子と、前記回転子を保持する回転軸と、前記固定子を冷却させる冷却部と、前記固定子および前記回転子を収容すると共に冷熱媒体を収容する収容室を形成する低温容器と、前記収容室の外側に配置され前記収容室を真空断熱させる真空断熱室と、前記基体と回転軸の外周部との間に設けられた磁気シール部とを具備する超電導回転電機。磁気シール部により基体と回転軸の外周部との間が良好にシールされ、収容室内の冷熱媒体が外部に洩れることが長期にわたり抑制される。
本発明は産業用、車両走行用、定置用等の超電導モータまたは超電導発電機に利用することができる。
1は基体、11は対向壁、14は大気部、2は固定子、20は透磁コア、21は巻線、3は回転子、32は嵌合部、33は羽根部、4は回転軸、43は仕切壁、46はガス吸着剤、5は冷却部、51は第1熱伝導体、52は第2熱伝導体、53は冷凍機、55はコールドヘッド、6は低温容器、60は収容室、63は微小隙間、66は気体冷媒(冷熱媒体)、7は真空断熱室、72は第2真空断熱室、73は第3真空断熱室、8は軸受、9は磁気シール部(シール部)、100は気体冷媒出入要素(冷熱媒体出入要素)、102はバッファタンク、103は連迂路、104はバルブを示す。

Claims (6)

  1. モータまたは発電機を構成する超電導回転電機であって、基体と、前記基体に保持された固定子と、前記固定子に対して回転可能に設けられ超電導材料を有する回転子と、前記回転子を保持する回転軸と、前記固定子を冷却させる冷却部と、前記固定子および前記回転子を収容すると共に冷熱媒体を収容する収容室を形成する低温容器と、前記収容室の外側に配置され前記収容室を真空断熱させる真空断熱室と、前記基体のうち前記収容室以外で且つ大気を含む雰囲気に対面する部位に設けられ前記回転軸を回転可能に支持する軸受とを具備する超電導回転電機。
  2. 請求項1において、前記収容室の前記冷熱媒体の洩れを抑えるシール部が、前記回転軸の外周部に設けられている超電導回転電機。
  3. 請求項1または2において、前記シール部は、前記収容室と前記軸受との間に配置されている磁気シール部である超電導回転電機。
  4. 請求項1〜3のうちの一項において、前記回転子および前記回転軸のうちの少なくとも一方は、前記収容室内の冷熱媒体を前記収容室において移動させることにより前記回転子の冷却性を高める羽根構造を有する超電導回転電機。
  5. 請求項1〜4のうちの一項において、前記低温容器は、前記回転軸の外周部に微小隙間を介して対向すると共に前記回転軸の軸長方向に沿って筒形状に延設されたシール筒部を有する超電導回転電機。
  6. 請求項1〜5のうちの一項において、前記収容室内の前記冷熱媒体の圧力変動に伴い前記冷熱媒体を収容室に対して出し入れする冷熱媒体出入要素が設けられている超電導回転電機。
JP2009215282A 2009-09-17 2009-09-17 超電導回転電機 Active JP5440063B2 (ja)

Priority Applications (3)

Application Number Priority Date Filing Date Title
JP2009215282A JP5440063B2 (ja) 2009-09-17 2009-09-17 超電導回転電機
EP10175747.4A EP2299567B1 (en) 2009-09-17 2010-09-08 Superconducting rotating electrical machine
US12/877,401 US8384255B2 (en) 2009-09-17 2010-09-08 Superconducting rotating electrical machine

Applications Claiming Priority (1)

Application Number Priority Date Filing Date Title
JP2009215282A JP5440063B2 (ja) 2009-09-17 2009-09-17 超電導回転電機

Publications (2)

Publication Number Publication Date
JP2011067006A true JP2011067006A (ja) 2011-03-31
JP5440063B2 JP5440063B2 (ja) 2014-03-12

Family

ID=42732797

Family Applications (1)

Application Number Title Priority Date Filing Date
JP2009215282A Active JP5440063B2 (ja) 2009-09-17 2009-09-17 超電導回転電機

Country Status (3)

Country Link
US (1) US8384255B2 (ja)
EP (1) EP2299567B1 (ja)
JP (1) JP5440063B2 (ja)

Cited By (10)

* Cited by examiner, † Cited by third party
Publication number Priority date Publication date Assignee Title
JP2014180175A (ja) * 2013-03-15 2014-09-25 Aisin Seiki Co Ltd 超伝導回転機
JP2014180177A (ja) * 2013-03-15 2014-09-25 Aisin Seiki Co Ltd 超伝導回転機
JP2014180176A (ja) * 2013-03-15 2014-09-25 Aisin Seiki Co Ltd 超伝導回転機
JP2014180178A (ja) * 2013-03-15 2014-09-25 Aisin Seiki Co Ltd 超伝導回転機
JP2014217166A (ja) * 2013-04-25 2014-11-17 アイシン精機株式会社 超電導回転機及びその冷却方法
JP5750682B1 (ja) * 2014-02-20 2015-07-22 北田 保雄 電気回転機
JP2015173583A (ja) * 2014-02-20 2015-10-01 北田 保雄 電気回転機
JP2016178768A (ja) * 2015-03-19 2016-10-06 アイシン精機株式会社 超電導回転電機
KR20180077884A (ko) * 2016-12-29 2018-07-09 강두화 초전도 베어링이 적용된 극저온 냉매 순환펌프
JP2021007285A (ja) * 2019-06-28 2021-01-21 アイシン精機株式会社 超電導回転電機

Families Citing this family (18)

* Cited by examiner, † Cited by third party
Publication number Priority date Publication date Assignee Title
US8422193B2 (en) * 2006-12-19 2013-04-16 Axcelis Technologies, Inc. Annulus clamping and backside gas cooled electrostatic chuck
US9558980B2 (en) 2008-04-30 2017-01-31 Axcelis Technologies, Inc. Vapor compression refrigeration chuck for ion implanters
US9036326B2 (en) * 2008-04-30 2015-05-19 Axcelis Technologies, Inc. Gas bearing electrostatic chuck
JP2013532354A (ja) 2010-05-28 2013-08-15 アクセリス テクノロジーズ, インコーポレイテッド 冷却されるイオン注入システムのための加熱回転式のシールおよび軸受け
US8481969B2 (en) * 2010-06-04 2013-07-09 Axcelis Technologies, Inc. Effective algorithm for warming a twist axis for cold ion implantations
US8847424B2 (en) 2011-12-07 2014-09-30 Envision Energy (Denmark) Aps Wind turbine with sealed off stator chamber
DK178124B1 (en) * 2011-12-07 2015-06-08 Envision Energy Denmark Aps Wind Turbine with sealed off stator chamber
US9583259B2 (en) 2012-03-20 2017-02-28 Qualcomm Incorporated Wireless power transfer device and method of manufacture
US9160205B2 (en) 2012-03-20 2015-10-13 Qualcomm Incorporated Magnetically permeable structures
US9653206B2 (en) 2012-03-20 2017-05-16 Qualcomm Incorporated Wireless power charging pad and method of construction
US9431834B2 (en) 2012-03-20 2016-08-30 Qualcomm Incorporated Wireless power transfer apparatus and method of manufacture
US9711324B2 (en) 2012-05-31 2017-07-18 Axcelis Technologies, Inc. Inert atmospheric pressure pre-chill and post-heat
US10012263B2 (en) * 2012-09-28 2018-07-03 Abb Research, Ltd Rotors for rotating machines with hollow fiber-reinforced composite shaft
DE202014004250U1 (de) 2014-05-21 2014-10-30 Valerii Darin Hochtemperatursupraleitende rotierende Maschine mit einem gekühlten Rotor
US10998792B2 (en) * 2018-12-21 2021-05-04 Abb Schweiz Ag Polymeric industrial electrical machine
CN214380488U (zh) * 2021-01-05 2021-10-08 精进电动科技股份有限公司 一种降低轴内工作温度的转子结构
US11722038B2 (en) 2021-01-13 2023-08-08 Dana Belgium N.V. Systems and methods for cooling electric motor
CN114427083A (zh) * 2021-12-08 2022-05-03 洛阳生波尔真空装备有限公司 一种连续镀膜生产线用的基片架回转驱动装置

Citations (10)

* Cited by examiner, † Cited by third party
Publication number Priority date Publication date Assignee Title
JPH01144356A (ja) * 1987-11-30 1989-06-06 Toshiba Corp 超電導回転電機
JPH06165478A (ja) * 1992-11-19 1994-06-10 Honda Motor Co Ltd 超電導回転機
JPH0715936A (ja) * 1993-06-22 1995-01-17 Aisin Seiki Co Ltd 単極モータ
JPH08308211A (ja) * 1995-04-28 1996-11-22 Chodendo Hatsuden Kanren Kiki Zairyo Gijutsu Kenkyu Kumiai 超電導回転電機の冷媒給排装置
JPH09322523A (ja) * 1996-06-03 1997-12-12 Chodendo Hatsuden Kanren Kiki Zairyo Gijutsu Kenkyu Kumiai 超電導回転電機の連続真空排気装置
JP2004023921A (ja) * 2002-06-18 2004-01-22 Central Japan Railway Co 動力又は電力発生装置
JP2005526476A (ja) * 2002-05-15 2005-09-02 シーメンス アクチエンゲゼルシヤフト 超伝導装置
JP2005269868A (ja) * 2004-03-22 2005-09-29 Sumitomo Electric Ind Ltd 超電導モータ装置および該超電導モータ装置を用いた移動体
JP2006238570A (ja) * 2005-02-23 2006-09-07 Sumitomo Electric Ind Ltd 超電導モータ装置
JP2007273740A (ja) * 2006-03-31 2007-10-18 Toshiba Corp 超電導装置

Family Cites Families (8)

* Cited by examiner, † Cited by third party
Publication number Priority date Publication date Assignee Title
GB1351601A (en) * 1970-04-09 1974-05-01 Int Research & Dev Co Ltd Superconducting dynamo-electric machines
FR2589017B1 (fr) * 1985-10-17 1990-07-27 Alsthom Machine synchrone a enroulements supraconducteurs
FR2605158B1 (fr) * 1986-09-25 1993-08-20 Alsthom Machine electrique tournante supraconductrice et son isolement thermique
DE19938986B4 (de) * 1999-08-17 2008-02-14 Siemens Ag Supraleitungseinrichtung mit einer Kälteeinheit für eine rotierende, supraleitende Wicklung
DE10042962C1 (de) * 2000-08-31 2002-05-02 Siemens Ag Magnetlager zur Lagerung einer drehbaren Welle unter Verwendung von Hoch-T¶c¶-Supraleitermaterial
EP1325239B1 (de) * 2000-10-09 2004-04-14 Siemens Aktiengesellschaft Einrichtung mit rotor und magnetlager zur berührungslosen lagerung des rotors
US7061147B2 (en) * 2001-08-30 2006-06-13 Siemens Aktiengesellschaft Superconducting electrical machines for use in navy ships
JP2006149007A (ja) 2004-11-16 2006-06-08 Sumitomo Electric Ind Ltd 固定子ヨークおよびラジアルギャップ型モータ

Patent Citations (10)

* Cited by examiner, † Cited by third party
Publication number Priority date Publication date Assignee Title
JPH01144356A (ja) * 1987-11-30 1989-06-06 Toshiba Corp 超電導回転電機
JPH06165478A (ja) * 1992-11-19 1994-06-10 Honda Motor Co Ltd 超電導回転機
JPH0715936A (ja) * 1993-06-22 1995-01-17 Aisin Seiki Co Ltd 単極モータ
JPH08308211A (ja) * 1995-04-28 1996-11-22 Chodendo Hatsuden Kanren Kiki Zairyo Gijutsu Kenkyu Kumiai 超電導回転電機の冷媒給排装置
JPH09322523A (ja) * 1996-06-03 1997-12-12 Chodendo Hatsuden Kanren Kiki Zairyo Gijutsu Kenkyu Kumiai 超電導回転電機の連続真空排気装置
JP2005526476A (ja) * 2002-05-15 2005-09-02 シーメンス アクチエンゲゼルシヤフト 超伝導装置
JP2004023921A (ja) * 2002-06-18 2004-01-22 Central Japan Railway Co 動力又は電力発生装置
JP2005269868A (ja) * 2004-03-22 2005-09-29 Sumitomo Electric Ind Ltd 超電導モータ装置および該超電導モータ装置を用いた移動体
JP2006238570A (ja) * 2005-02-23 2006-09-07 Sumitomo Electric Ind Ltd 超電導モータ装置
JP2007273740A (ja) * 2006-03-31 2007-10-18 Toshiba Corp 超電導装置

Cited By (12)

* Cited by examiner, † Cited by third party
Publication number Priority date Publication date Assignee Title
JP2014180175A (ja) * 2013-03-15 2014-09-25 Aisin Seiki Co Ltd 超伝導回転機
JP2014180177A (ja) * 2013-03-15 2014-09-25 Aisin Seiki Co Ltd 超伝導回転機
JP2014180176A (ja) * 2013-03-15 2014-09-25 Aisin Seiki Co Ltd 超伝導回転機
JP2014180178A (ja) * 2013-03-15 2014-09-25 Aisin Seiki Co Ltd 超伝導回転機
JP2014217166A (ja) * 2013-04-25 2014-11-17 アイシン精機株式会社 超電導回転機及びその冷却方法
JP5750682B1 (ja) * 2014-02-20 2015-07-22 北田 保雄 電気回転機
JP2015173583A (ja) * 2014-02-20 2015-10-01 北田 保雄 電気回転機
WO2016103740A1 (ja) * 2014-02-20 2016-06-30 北田保雄 電気回転機
US10411579B2 (en) 2014-02-20 2019-09-10 Kitada Rotary Enjine Llc Electric rotating machine
JP2016178768A (ja) * 2015-03-19 2016-10-06 アイシン精機株式会社 超電導回転電機
KR20180077884A (ko) * 2016-12-29 2018-07-09 강두화 초전도 베어링이 적용된 극저온 냉매 순환펌프
JP2021007285A (ja) * 2019-06-28 2021-01-21 アイシン精機株式会社 超電導回転電機

Also Published As

Publication number Publication date
US8384255B2 (en) 2013-02-26
US20110062806A1 (en) 2011-03-17
EP2299567A2 (en) 2011-03-23
EP2299567A3 (en) 2015-09-23
JP5440063B2 (ja) 2014-03-12
EP2299567B1 (en) 2017-08-02

Similar Documents

Publication Publication Date Title
JP5440063B2 (ja) 超電導回転電機
JP3840182B2 (ja) 高Tc超伝導材料を使用して回転軸を支承する磁気軸受
JP4018981B2 (ja) ロータとロータを無接触で支持する磁気軸受を備える装置
CN109716636B (zh) 具有线圈装置和绕组支架的转子
JP4303879B2 (ja) 磁気冷凍装置
JP6249905B2 (ja) 極低温液体用ポンプ
US7816826B2 (en) Thermosyphon cooled superconductor
JP5446199B2 (ja) 超伝導回転機
JP6194319B2 (ja) 電気機械式フライホイール格納システム
JP2010178517A (ja) 超電導装置
CA2875270C (en) Scalable apparatus and arrangement for storing and releasing energy
CN109155544A (zh) 定子、电动机、压缩机以及制冷空调装置
KR100310631B1 (ko) 발전기 및 모터용 초전도 로터
JP5649735B2 (ja) 超電導機械の冷媒導入管の減衰機能付き非接触支持装置および支持方法
CN107294353A (zh) 一种永磁式超导磁体无线充能电源
JP3936340B2 (ja) 超電導同期機
US20080164782A1 (en) Machine Device with Thermosiphon Cooling of Its Superconductive Rotor Winding
JP2004023921A (ja) 動力又は電力発生装置
KR101265287B1 (ko) 자기냉매를 이용한 초전도 회전기기
Werfel et al. Encapsulated HTS bearings: technical and cost considerations
JP5337179B2 (ja) 超電導装置
JP2010019164A (ja) ポンプ装置
JP6455259B2 (ja) 超電導回転電機
CN117168013B (zh) 用于家用制冷器具的磁制冷装置及家用制冷器具
KR101221988B1 (ko) 전도냉각을 이용한 초전도 회전기기

Legal Events

Date Code Title Description
A621 Written request for application examination

Free format text: JAPANESE INTERMEDIATE CODE: A621

Effective date: 20120822

A977 Report on retrieval

Free format text: JAPANESE INTERMEDIATE CODE: A971007

Effective date: 20130925

A131 Notification of reasons for refusal

Free format text: JAPANESE INTERMEDIATE CODE: A131

Effective date: 20131001

A521 Written amendment

Free format text: JAPANESE INTERMEDIATE CODE: A523

Effective date: 20131025

TRDD Decision of grant or rejection written
A01 Written decision to grant a patent or to grant a registration (utility model)

Free format text: JAPANESE INTERMEDIATE CODE: A01

Effective date: 20131119

A61 First payment of annual fees (during grant procedure)

Free format text: JAPANESE INTERMEDIATE CODE: A61

Effective date: 20131202

R151 Written notification of patent or utility model registration

Ref document number: 5440063

Country of ref document: JP

Free format text: JAPANESE INTERMEDIATE CODE: R151