JP2011040407A - リチウムイオン二次電池 - Google Patents
リチウムイオン二次電池 Download PDFInfo
- Publication number
- JP2011040407A JP2011040407A JP2010228688A JP2010228688A JP2011040407A JP 2011040407 A JP2011040407 A JP 2011040407A JP 2010228688 A JP2010228688 A JP 2010228688A JP 2010228688 A JP2010228688 A JP 2010228688A JP 2011040407 A JP2011040407 A JP 2011040407A
- Authority
- JP
- Japan
- Prior art keywords
- current collector
- positive electrode
- negative electrode
- electrode current
- region
- Prior art date
- Legal status (The legal status is an assumption and is not a legal conclusion. Google has not performed a legal analysis and makes no representation as to the accuracy of the status listed.)
- Granted
Links
Images
Classifications
-
- Y—GENERAL TAGGING OF NEW TECHNOLOGICAL DEVELOPMENTS; GENERAL TAGGING OF CROSS-SECTIONAL TECHNOLOGIES SPANNING OVER SEVERAL SECTIONS OF THE IPC; TECHNICAL SUBJECTS COVERED BY FORMER USPC CROSS-REFERENCE ART COLLECTIONS [XRACs] AND DIGESTS
- Y02—TECHNOLOGIES OR APPLICATIONS FOR MITIGATION OR ADAPTATION AGAINST CLIMATE CHANGE
- Y02E—REDUCTION OF GREENHOUSE GAS [GHG] EMISSIONS, RELATED TO ENERGY GENERATION, TRANSMISSION OR DISTRIBUTION
- Y02E60/00—Enabling technologies; Technologies with a potential or indirect contribution to GHG emissions mitigation
- Y02E60/10—Energy storage using batteries
-
- Y—GENERAL TAGGING OF NEW TECHNOLOGICAL DEVELOPMENTS; GENERAL TAGGING OF CROSS-SECTIONAL TECHNOLOGIES SPANNING OVER SEVERAL SECTIONS OF THE IPC; TECHNICAL SUBJECTS COVERED BY FORMER USPC CROSS-REFERENCE ART COLLECTIONS [XRACs] AND DIGESTS
- Y02—TECHNOLOGIES OR APPLICATIONS FOR MITIGATION OR ADAPTATION AGAINST CLIMATE CHANGE
- Y02P—CLIMATE CHANGE MITIGATION TECHNOLOGIES IN THE PRODUCTION OR PROCESSING OF GOODS
- Y02P70/00—Climate change mitigation technologies in the production process for final industrial or consumer products
- Y02P70/50—Manufacturing or production processes characterised by the final manufactured product
Landscapes
- Cell Electrode Carriers And Collectors (AREA)
- Secondary Cells (AREA)
- Battery Electrode And Active Subsutance (AREA)
- Connection Of Batteries Or Terminals (AREA)
Abstract
【課題】電池内部で発生する熱を外部に効率良く放散できるリチウムイオン二次電池を提供する。
【解決手段】正極3、セパレータ5及び負極4を厚み方向に積層した平板状電極群2と、非水電解質と、これらを収容する電池ケース7とを含み、正極3は、矩形状の正極集電体本体と正極集電体本体の表面に担持された正極活物質層とを含み、且つ、正極集電体本体の少なくとも2辺から正極集電体本体との継ぎ目なく外方に伸びて正極活物質層を担持しない第一領域を備え、負極4は、矩形状の負極集電体本体と負極集電体本体の表面に担持された負極活物質層とを含み、且つ、負極集電体本体の少なくとも2辺から負極集電体本体との継ぎ目なく外方に伸びた、負極活物質層を担持しない第二領域を備え、正極集電体本体と負極集電体本体とが重なり、且つ、第一領域と第二領域とが重ならず、第一領域と第二領域とが電池ケース7の外部にまで導出されているリチウムイオン二次電池。
【選択図】図1
【解決手段】正極3、セパレータ5及び負極4を厚み方向に積層した平板状電極群2と、非水電解質と、これらを収容する電池ケース7とを含み、正極3は、矩形状の正極集電体本体と正極集電体本体の表面に担持された正極活物質層とを含み、且つ、正極集電体本体の少なくとも2辺から正極集電体本体との継ぎ目なく外方に伸びて正極活物質層を担持しない第一領域を備え、負極4は、矩形状の負極集電体本体と負極集電体本体の表面に担持された負極活物質層とを含み、且つ、負極集電体本体の少なくとも2辺から負極集電体本体との継ぎ目なく外方に伸びた、負極活物質層を担持しない第二領域を備え、正極集電体本体と負極集電体本体とが重なり、且つ、第一領域と第二領域とが重ならず、第一領域と第二領域とが電池ケース7の外部にまで導出されているリチウムイオン二次電池。
【選択図】図1
Description
本発明は、リチウムイオン二次電池に関する。さらに詳しくは、本発明は、主に、集電体の改良に関する。
リチウムイオン二次電池は、高容量および高エネルギー密度を有し、小型化および軽量化が容易なことから、たとえば、携帯電話、携帯情報端末(PDA)、ノート型パーソナルコンピュータ、ビデオカメラ、携帯ゲーム機などの携帯用小型電子機器の電源として汎用されている。代表的なリチウムイオン二次電池では、正極活物質としてリチウムコバルト化合物を含有する正極、負極活物質として炭素材料を含有する負極およびポリオレフィン製多孔質膜であるセパレータがそれぞれ使用されている。このリチウムイオン二次電池は、容量および出力が高く、充放電サイクル特性が良好で、耐用寿命も比較的長い。しかしながら、携帯用小型電子機器の多機能化が進められ、連続使用可能時間の延長が求められている現状では、リチウムイオン二次電池のさらなる高容量化が必要になっている。
リチウムイオン二次電池のさらなる高容量化のために、たとえば、高容量の負極活物質の開発が進められている。高容量の負極活物質としては、リチウムとの合金化が可能で、充電の際にリチウムを吸蔵する合金系負極活物質が注目を集めている。合金系負極活物質としては、たとえば、珪素、錫、これらの酸化物、これらの窒化物、これらを含有する化合物、合金などが知られている。合金系負極活物質は高い放電容量を有している。たとえば、珪素の理論放電容量は約4199mAh/gであり、従来から負極活物質として用いられる黒鉛の理論放電容量の約11倍である(たとえば、特許文献1参照)。
合金系負極活物質は、リチウムイオン二次電池の高容量化を図る上では有効である。しかしながら、合金系負極活物質を含有するリチウムイオン二次電池を実用化するには、いくつかの解決すべき課題がある。たとえば、合金系負極活物質を含有するリチウムイオン二次電池の安全性を確保することは、非常に重要である。リチウムイオン二次電池に限らず、二次電池では、過充電、内部短絡、異物混入その他の原因によって、極めて稀であるが発熱が起こることがある。合金系負極活物質を含有するリチウムイオン二次電池では、合金系負極活物質が高容量であるが故に、発熱量が多くなるおそれがある。したがって、安全性の条件の一つとして、万が一発熱が起こっても、速やかに放熱が行われ、電池の高熱化に至らないことが求められている。
たとえば、放熱フィンを有する電池が提案されている(たとえば、特許文献2参照)。特許文献2の電池は、矩形状の正極、固体電解質および矩形状の負極を重ね合わせて積層体とし、得られる積層体の一方の短辺を中心にして渦巻き状に捲いた捲回型電極群を含んでいる。正極は、その長辺端部に放熱フィンが設けられた矩形状の正極集電体と、正極集電体の放熱フィン以外の表面に形成される正極活物質層とを含む。負極は、その長辺端部に放熱フィンが設けられた矩形状の負極集電体と、負極集電体の放熱フィン以外の表面に形成される負極活物質層とを含む。正極集電体の放熱フィンは、厚み方向の貫通孔が形成されるかまたは切り欠き部が設けられたものであり、捲回型電極群の一方の端部から渦巻き状の形態で外方に突出している。また、負極集電体の放熱フィンも、厚み方向の貫通孔が形成されるかまたは切り欠き部が設けられたものであり、捲回型電極群の他方の端部から渦巻き状の形態で外方に突出している。
上記したように、特許文献2の放熱フィンは渦巻き状の形態を有し、放熱フィン全体が近接した位置にあるので、放熱効率が不十分である。特に、正極集電体および負極集電体
の放熱フィンが設けられていない長辺側では、放熱効率は低下する。たとえば、正極集電体の放熱フィンが設けられてない長辺側には、負極集電体の放熱フィンが存在する。しかしながら、正極と負極との間には、良好な熱伝導体ではない固体電解質が存在するので、正負極間の熱伝導効率は十分ではない。したがって、正極集電体の放熱フィンが設けられてない長辺側における熱を、負極集電体の放熱フィンによって外部に放散させることは困難である。このように、渦巻き状の放熱フィンを設けるだけでは、電池全体の熱をほぼ均一に放散させることは困難である。
の放熱フィンが設けられていない長辺側では、放熱効率は低下する。たとえば、正極集電体の放熱フィンが設けられてない長辺側には、負極集電体の放熱フィンが存在する。しかしながら、正極と負極との間には、良好な熱伝導体ではない固体電解質が存在するので、正負極間の熱伝導効率は十分ではない。したがって、正極集電体の放熱フィンが設けられてない長辺側における熱を、負極集電体の放熱フィンによって外部に放散させることは困難である。このように、渦巻き状の放熱フィンを設けるだけでは、電池全体の熱をほぼ均一に放散させることは困難である。
このため、特許文献2の技術では、放熱フィンの突出する先端部に電気的良導体を接続している。しかしながら、このような方策を講じても、放熱フィンが設けられていない長辺側における放熱効率は十分に向上しない。また、電池にとって余分な部品である電気良導体の使用は、電池の構造を複雑化させ、製造工程における不良品率の増加および製造コストの上昇をもたらすおそれがある。また、取り付けの不具合などによって、新たな発熱の原因になるおそれもある。
また、特許文献2では、特許文献2に係る電池を積層薄形電池と記載しているが、実際には捲回型電極群を作製しているので、積層型の電池ではない。
また、特許文献2では、特許文献2に係る電池を積層薄形電池と記載しているが、実際には捲回型電極群を作製しているので、積層型の電池ではない。
また、平板矩形状の電極群と、電極群の一つの辺から電極群の外方に突出する放熱フィン(冷却フィン)とを含む固体電解質電池が提案されている(たとえば、特許文献3参照)。この電池においても、放熱フィンは、集電体の延長部分として設けられている。また、集電体が少なくとも片側に突出すると記載されていることから、1つの集電体に複数の放熱フィンを設けることが示唆されている。しかしながら、特許文献3では、複数の電極群装着用孔が形成された枠体に、複数の電極群を装着する構成を採っている。複数の放熱フィンを設けるには、枠体に放熱フィンを貫通させる穴を数多く開ける必要が生じ、枠体の機械的強度、電極群保持能力などが低下する。したがって、1つの集電体に複数の放熱フィンを設けるのは技術的に困難であり、特許文献3において具体的に開示されるのは、1つの集電体に1つの放熱フィンが設けられた構成のみである。
このように、放熱フィンが1つ設けられるだけでは、放熱効率が悪い。しかも、特許文献3では、各電極群の放熱フィンを近接配置しているので、放熱効率がさらに低下する。このため、各電極群の放熱フィンを近接配置するとともに、電気的に接続しているが、その放熱効果は不十分である。
本発明の目的は、電池構造の複雑化および電池の機械的強度の低下を伴わない構成により、電池内部で発生する熱を外部に効率良く放散でき、安全性がさらに向上したリチウムイオン二次電池を提供することである。
本発明は、正極、セパレータおよび負極を厚み方向に積層してなる平板状の電極群と、非水電解質とを含むリチウムイオン二次電池であって、
正極および負極が、それぞれ、リチウムを吸蔵および放出可能な活物質層、ならびに、平板状の電極群内に存在し、表面に活物質層が形成されるほぼ矩形状の集電体本体と、集電体本体の隣り合う少なくとも2つの辺の一部または全部から平板状の電極群の外方に突出する放熱部とを有する集電体を含むリチウムイオン二次電池に係る。
放熱部は、集電体本体の対向する2つの辺から平板状の電極群の外方に突出するように形成されてもよい。
正極および負極が、それぞれ、リチウムを吸蔵および放出可能な活物質層、ならびに、平板状の電極群内に存在し、表面に活物質層が形成されるほぼ矩形状の集電体本体と、集電体本体の隣り合う少なくとも2つの辺の一部または全部から平板状の電極群の外方に突出する放熱部とを有する集電体を含むリチウムイオン二次電池に係る。
放熱部は、集電体本体の対向する2つの辺から平板状の電極群の外方に突出するように形成されてもよい。
放熱部は一体化されていることが好ましい。
放熱部の面積Sと集電体本体の面積S0との比(S/S0)が0.03〜1.5であることが好ましい。
集電体本体と放熱部との境界線の長さLと、集電体本体の外周長さL0との比(L/L0)が0.25以上であることが好ましい。
正極集電体の放熱部の投影面と負極集電体の放熱部の投影面とが重ならないことが好ましい。
放熱部の面積Sと集電体本体の面積S0との比(S/S0)が0.03〜1.5であることが好ましい。
集電体本体と放熱部との境界線の長さLと、集電体本体の外周長さL0との比(L/L0)が0.25以上であることが好ましい。
正極集電体の放熱部の投影面と負極集電体の放熱部の投影面とが重ならないことが好ましい。
負極活物質層は、リチウムを吸蔵放出可能な合金系負極活物質を含有することが好ましい。
合金系負極活物質は、珪素または錫を含有することが好ましい。
合金系負極活物質は、珪素、珪素酸化物、珪素窒化物、珪素含有合金、珪素含有化合物、錫、錫酸化物、錫窒化物、錫含有合金および錫含有化合物から選ばれる少なくとも1つであることが好ましい。
合金系負極活物質は、珪素または錫を含有することが好ましい。
合金系負極活物質は、珪素、珪素酸化物、珪素窒化物、珪素含有合金、珪素含有化合物、錫、錫酸化物、錫窒化物、錫含有合金および錫含有化合物から選ばれる少なくとも1つであることが好ましい。
本発明のリチウムイオン二次電池は、過充電、内部短絡、異物混入その他の原因による発熱が万が一起こっても、電池内部の熱が、電池外部に効率良く放散されるので、高温化に至ることがない。また、本発明のリチウムイオン二次電池は、極めて簡易な放熱機構を有しているので、電池構造が複雑化して不良品率を上げることがなく、電池の機械的強度を低下させることもない。したがって、本発明のリチウムイオン二次電池は、安全性が高く、高い耐用性を有している。
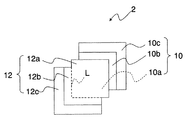
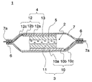
図1は、本発明の実施の第1形態であるリチウムイオン二次電池1の構成を模式的に示す縦断面図である。図2は、図1に示すリチウムイオン二次電池1の要部の構成を拡大して示す上面図である。なお、図2では、正極活物質層11、負極活物質層13およびセパレータ5の図示を省略する。
リチウムイオン二次電池1は、正極3、負極4、セパレータ5、ガスケット6および外装ケース7を含む。リチウムイオン二次電池1は、正極3、セパレータ5および負極4を重ね合わせて積層してなる平板状の電極群(以下単に「電極群」とする)2を含む積層型電池である。電極群2は、厚み方向の表面がほぼ矩形状の形状を有している。
電極群2は、正極3および負極4にそれぞれ後述する放熱部10b、12bが設けられることから、正極3である電極板と負極4である電極板とを、セパレータ5を介して、かつ、厚み方向において重なり合う部分と重なり合わない部分とが出来るように積層することにより形成される。重なり合う部分は、集電体本体10a、12aであり、重なり合わない部分は放熱部10b、12bおよびリード部10c、12cである。
正極3は、正極集電体10および正極活物質層11を含む。
正極集電体10は、集電体本体10a、放熱部10bおよびリード部10cを含む。正極集電体10は、矩形状部分である集電体本体10aと、集電体本体10aに接続される放熱部10bと、放熱部10bに接続されるリード部10cとを含む。集電体本体10a、放熱部10bおよびリード部10cは一体成形されても良い。また、集電体本体10aと放熱部10bとを一体成形し、放熱部10bにリード部10cを接続しても良い。
集電体本体10aは電極群2の内部に存在し、厚み方向の表面形状がほぼ矩形状の部分である。集電体本体10aの厚み方向の表面には、正極活物質層11が形成される。
正極集電体10は、集電体本体10a、放熱部10bおよびリード部10cを含む。正極集電体10は、矩形状部分である集電体本体10aと、集電体本体10aに接続される放熱部10bと、放熱部10bに接続されるリード部10cとを含む。集電体本体10a、放熱部10bおよびリード部10cは一体成形されても良い。また、集電体本体10aと放熱部10bとを一体成形し、放熱部10bにリード部10cを接続しても良い。
集電体本体10aは電極群2の内部に存在し、厚み方向の表面形状がほぼ矩形状の部分である。集電体本体10aの厚み方向の表面には、正極活物質層11が形成される。
放熱部10bは、集電体本体10aに続くように形成されている鉤状部分である。より具体的には、放熱部10bは、集電体本体10aの隣り合う2つの辺の一部から、電極群2の外方に突出するように設けられている。言い換えれば、放熱部10bは、集電体本体10aの隣り合う2つの辺の一部から、一体的に形成されている。電極群2の厚み方向において、放熱部10bの表面は、電極群2の表面に対してほぼ平行に設けられている。
このように放熱部10bを設けることによって、放熱効率が向上し、リチウムイオン二次電池1内に異常発熱が起こっても速やかな排熱が行われ、リチウムイオン二次電池1の高温化には至らない。本明細書において、隣り合う2つの辺とは、ほぼ矩形状の集電体本体10aにおける1つの頂角を介して繋がる2つの辺である。また本明細書において、2つの辺の一部とは、2つの辺のそれぞれ一部と頂角部分をも含めた連続した部分である。
放熱部10bは一体化され、厚み方向から見た形状は鉤型である。放熱部10bを複数に分割せず、一体化することによって、放熱部10bの放熱面積を増加させ、放熱効率をさらに向上させることができる。また、放熱部10bひいてはリチウムイオン二次電池1の機械的強度を向上させるとともに、リチウムイオン二次電池1の全体的な重量バランスを均質化できるので、リチウムイオン二次電池1の長期耐用性を高めることができる。
また、放熱部10bは、図2に示すように、正極3が底面になるように電極群2を水平面に載置した場合の平面図において、後記する負極4側の放熱部12bと重なる部分がないように設けられている。これによって、放熱効率がさらに向上する。
また、放熱部10bの表面積S(以下「正極放熱部面積S」とする)と、集電体本体10aの表面積S0(以下「正極集電体面積S0」とする)との面積比(S/S0)は特に制限されないが、好ましくは0.03〜1.5である。面積比が0.03未満では、放熱効率が低下し、異常発熱時の排熱が不十分になるおそれがある。また、面積比が1.5を超えると、放熱部10bひいてはリチウムイオン二次電池1の機械的強度が低下し、リチウムイオン二次電池1の長期耐用性が不十分になるおそれがある。
なお、正極放熱部面積Sとは、電極群2の厚み方向における、放熱部10bの一方の表面の面積である。同様に、正極集電体面積S0とは、電極群2の厚み方向における、集電体本体10aの一方の表面の面積である。
また、集電体本体10aと放熱部10bとの境界線の長さLと、集電体本体10aの外周長さL0との比(L/L0)が0.25以上であることが好ましい。ここで、集電体本体10aと放熱部10bとの境界線は、図2において点線で示される部分であり、この点線部分の全長が長さLである。また、L0は集電体本体10aの外周長さ、すなわち矩形状部分である集電体本体10aの4辺の長さの和である。比(L/L0)を0.25以上にすることによって、放熱部10bによる放熱効率がより一層向上する。なお、比(L/L0)が0.25未満であっても、従来技術に比べて放熱効率が向上しているのは言うまでもないことである。
また、放熱部10bの厚みを、集電体本体10aの厚みよりも小さくしてもよい。これによって、放熱効率を一層高めることができる。このとき、放熱部10bの厚みは、集電体本体10aの厚みに応じて適宜選択でき、機械的強度の顕著な低下が起こらない範囲を選択するのが好ましい。放熱部10bの厚みを小さくするには、たとえば、プレス加工などが利用できる。
さらに、放熱部10bには、その機械的強度を損なわない範囲で、複数の厚み方向の貫通孔、切り欠き部などを形成してもよい。また、放熱部10bの厚み方向の表面は、たとえば、図示しない熱可塑性樹脂層などで絶縁されている。熱可塑性樹脂層には、たとえば、変性ポリプロピレンなどが用いられる。
リード部10cは、放熱部10bに続くように形成されている鉤状部分である。より具体的には、リード部10cは、放熱部10bの隣り合う2つの辺の一部から、電極群2の外方に突出するように設けられている。また、リード部10cは、一端が放熱部10bに接続され、他端が外装ケース7の開口部7aからリチウムイオン二次電池1の外部に導出されている。
リード部10cを前記のような構成で設けることにより、リード部10cがリチウムイオン二次電池1の外部に電力を供給するだけでなく、放熱部10bの延長として放熱機能を示すので、放熱効果がより一層高くなる。特にリード部10cの他端は、リチウムイオン二次電池1の外部に導出されていることから、リチウムイオン二次電池1の外部でリード部10cによる放熱が行われ、放熱効果が高まる。
リード部10cは、集電体本体10aおよび放熱部10bと同じ材質で形成してもよく、リチウムイオン二次電池の分野で常用される他の材質で形成してもよい。なお、リード部10cは鉤状形状に限定されず、従来のように、細線状のリードとして設けてもよい。
正極集電体10には、この分野で常用されるものを使用でき、たとえば、ステンレス鋼、チタン、アルミニウム、アルミニウム合金、アルミニウムとステンレス鋼とのクラッド材などの金属材料または導電性樹脂からなる多孔性または無孔の導電性基板が挙げられる。多孔性導電性基板としては、たとえば、メッシュ体、ネット体、パンチングシート、ラス体、多孔質体、発泡体、繊維群成形体(不織布など)などが挙げられる。無孔の導電性基板としては、たとえば、箔、シート、フィルムなどが挙げられる。多孔性または無孔の導電性基板の厚みは特に制限されないが、通常は1〜500μm、好ましくは1〜50μm、さらに好ましくは10〜40μm、特に好ましくは10〜30μmである。たとえば、これらの導電性基板を所定の形状に打ち抜き加工することによって、正極集電体10が得られる。
正極活物質層11は、正極集電体10における集電体本体10aの厚み方向の片方または両方の表面に設けられ、正極活物質を含む。さらに正極活物質層11は正極活物質とともに、導電剤、結着剤などを含んでもよい。
正極活物質としては、リチウムイオンを吸蔵および放出することができる物質であれば特に制限されないが、リチウム含有複合金属酸化物、オリビン型リン酸リチウムなどを好ましく使用できる。リチウム含有複合金属酸化物は、リチウムと遷移金属とを含む金属酸化物または該金属酸化物中の遷移金属の一部が異種元素によって置換された金属酸化物である。ここで、異種元素としては、たとえば、Na、Mg、Sc、Y、Mn、Fe、Co、Ni、Cu、Zn、Al、Cr、Pb、Sb、Bなどが挙げられる。これらの中でも、Mn、Al、Co、Ni、Mgなどが好ましい。異種元素は1種でもよくまたは2種以上でもよい。
リチウム含有複合金属酸化物の具体例としては、たとえば、LilCoO2、LilNiO2、LilMnO2、LilComNi1-mO2、LilComM1-mOn、LilNi1-mMmOn、LilMn2O4、LilMn2-mMmO4、LiMPO4、Li2MPO4F(式中、MはNa、Mg、Sc、Y、Mn、Fe、Co、Ni、Cu、Zn、Al、Cr、Pb、SbおよびBよりなる群から選ばれる少なくとも1種の元素を示す。l=0〜1.2、m=0〜0.9、m=2.0〜2.3である。)などが挙げられる。
ここで、リチウムのモル比を示すm値は正極活物質作製直後の値であり、充放電により増減する。これらの中でも、一般式LilComM1-mOn(式中、M、l、mおよびnは上記に同じ。)で表されるリチウム含有複合金属酸化物が好ましい。
リチウム含有複合金属酸化物は、公知の方法に従って製造できる。たとえば、リチウム以外の金属を含む複合金属水酸化物を、水酸化ナトリウムなどのアルカリ剤を用いる共沈法によって調製し、この複合金属水酸化物に熱処理を施して複合金属酸化物を得、これに水酸化リチウムなどのリチウム化合物を加えてさらに熱処理を施すことにより、リチウム含有複合金属酸化物が得られる。
オリビン型リン酸リチウムの具体例としては、たとえば、LiXPO4(式中、XはCo、Ni、MnおよびFeよりなる群から選ばれる少なくとも1つである)などが挙げられる。
正極活物質は1種を単独で使用できまたは必要に応じて2種以上を組み合わせて使用できる。
正極活物質は1種を単独で使用できまたは必要に応じて2種以上を組み合わせて使用できる。
導電剤としては、リチウムイオン二次電池の分野で常用されるものを使用でき、たとえば、天然黒鉛、人造黒鉛などのグラファイト類、アセチレンブラック、ケッチェンブラック、チャンネルブラック、ファーネスブラック、ランプブラック、サーマルブラックなどのカーボンブラック類、炭素繊維、金属繊維などの導電性繊維類、フッ化カーボン、アルミニウムなどの金属粉末類、酸化亜鉛、チタン酸カリウムなどの導電性ウィスカー類、酸化チタンなどの導電性金属酸化物、フェニレン誘導体などの有機導電性材料などが挙げられる。導電剤は1種を単独で使用できまたは必要に応じて2種以上を組み合わせて使用できる。
結着剤としても、リチウムイオン二次電池の分野で常用されるものを使用でき、たとえば、ポリフッ化ビニリデン(PVDF)、ポリテトラフルオロエチレン、ポリエチレン、ポリプロピレン、アラミド樹脂、ポリアミド、ポリイミド、ポリアミドイミド、ポリアクリロニトリル、ポリアクリル酸、ポリアクリル酸メチル、ポリアクリル酸エチル、ポリアクリル酸ヘキシル、ポリメタクリル酸、ポリメタクリル酸メチル、ポリメタクリル酸エチル、ポリメタクリル酸ヘキシル、ポリ酢酸ビニル、ポリビニルピロリドン、ポリエーテル、ポリエーテルサルフォン、ヘキサフルオロポリプロピレン、スチレンブタジエンゴム、変性アクリルゴム、カルボキシメチルセルロースなどが挙げられる。
また、2つ以上のモノマー化合物を含む共重合体を結着剤として使用してもよい。モノマー化合物としては、たとえば、テトラフルオロエチレン、ヘキサフルオロプロピレン、パーフルオロアルキルビニルエーテル、フッ化ビニリデン、クロロトリフルオロエチレン、エチレン、プロピレン、ペンタフルオロプロピレン、フルオロメチルビニルエーテル、アクリル酸、ヘキサジエンなどが挙げられる。結着剤は1種を単独で使用できまたは必要に応じて2種以上を組み合わせて使用できる。
正極活物質層11は、たとえば、正極合剤スラリーを正極集電体10(集電体本体10a)表面に塗布し、乾燥し、圧延することにより形成できる。正極合剤スラリーは、正極活物質および必要に応じて導電剤、結着剤などを有機溶媒に溶解または分散させることにより調製できる。有機溶媒としては、たとえば、ジメチルホルムアミド、ジメチルアセトアミド、メチルホルムアミド、N−メチル−2−ピロリドン(NMP)、ジメチルアミン、アセトン、シクロヘキサノンなどを使用できる。正極合剤スラリーの調製には、粉末と液体とを混合させる一般的な混合機、分散機などをいずれも使用できる。
正極合剤スラリーが正極活物質、導電剤および結着剤を含む場合、これらの3成分の使用割合は特に制限されないが、好ましくは、これら3成分の使用合計量に対して、正極活物質80〜98重量%、導電剤1〜10重量%および結着剤1〜10重量%の範囲から適宜選択し、合計量が100重量%になるように使用すればよい。
正極活物質層11の厚みは、得られるリチウムイオン二次電池1の設計性能、用途などの各種条件に応じて適宜選択されるが、たとえば、正極活物質層11を正極集電体10の両面に設ける場合は、正極活物質層11の合計厚みは50〜100μm程度が好ましい。
負極4は、負極集電体12および負極活物質層13を含む。
負極集電体12は、集電体本体12a、放熱部12bおよびリード部12cを含む。負極集電体12は、正極集電体10と同じ形状を有する。正極集電体10と負極集電体12とは、それぞれの集電体本体10a、12a部分の対角線の交点が厚み方向で同じ位置にあり、かつ前記交点を中心にしてそれぞれが対称になるように配置されている。
集電体本体12aは電極群2の内部に存在し、電極群2の厚み方向において、正極集電体10の集電体本体10aとほぼ同じ位置にあり、ほぼ同じ矩形状の形状を有している。集電体本体12aの厚み方向における一方または両方の表面には、負極活物質層13が形成される。
負極集電体12は、集電体本体12a、放熱部12bおよびリード部12cを含む。負極集電体12は、正極集電体10と同じ形状を有する。正極集電体10と負極集電体12とは、それぞれの集電体本体10a、12a部分の対角線の交点が厚み方向で同じ位置にあり、かつ前記交点を中心にしてそれぞれが対称になるように配置されている。
集電体本体12aは電極群2の内部に存在し、電極群2の厚み方向において、正極集電体10の集電体本体10aとほぼ同じ位置にあり、ほぼ同じ矩形状の形状を有している。集電体本体12aの厚み方向における一方または両方の表面には、負極活物質層13が形成される。
放熱部12bは、集電体本体12aに続くように形成されている。より具体的には、放熱部12bは、集電体本体12aの隣り合う2つの辺の一部から、正極集電体10の放熱部10bとは反対側の、電極群2の外方に突出するように設けられている。放熱部12bは、集電体本体12aの隣り合う2つの辺の一部から、一体的に形成されている。電極群2の厚み方向において、放熱部12bの表面は、電極群2の表面に対してほぼ平行に設けられている。放熱部12bを設ける効果は、放熱部10bを設ける効果と同様である。
放熱部12bは一体化され、厚み方向から見た形状は鉤型である。放熱部12bは、集電体本体12aの対角線の交点を中心にして、放熱部10bとの対称の関係にある。放熱部12bを複数に分割せず、一体化する効果も、放熱部10bの一体化効果と同様である。
また、放熱部12bは、図2に示すように、正極3が底面になるように電極群2を水平面に載置した場合に、電極群2を鉛直方向上方から見た時の投影面(以下単に「投影面」とする)が、負極5側の放熱部10bの投影面と重なる部分がないように設けられている。これによって、放熱効率が低下するおそれがない。
また、放熱部12bの表面積S(以下「負極放熱部面積S」とする)と、集電体本体12aの表面積S0(以下「負極集電体面積S0」とする)との面積比(S/S0)は特に制
限されないが、好ましくは0.03〜1.5である。面積比が0.03未満では、放熱効率が低下し、異常発熱時の排熱が不十分になるおそれがある。また、面積比が1.5を超えると、放熱部12bひいてはリチウムイオン二次電池1の機械的強度が低下し、リチウムイオン二次電池1の長期耐用性が不十分になるおそれがある。
限されないが、好ましくは0.03〜1.5である。面積比が0.03未満では、放熱効率が低下し、異常発熱時の排熱が不十分になるおそれがある。また、面積比が1.5を超えると、放熱部12bひいてはリチウムイオン二次電池1の機械的強度が低下し、リチウムイオン二次電池1の長期耐用性が不十分になるおそれがある。
なお、負極放熱部面積Sとは、電極群2の厚み方向における、放熱部12bの一方の表面の面積である。同様に、負極集電体面積S0とは、電極群2の厚み方向における、集電体本体12aの一方の表面の面積である。
また、集電体本体12aと放熱部12bとの境界線の長さLと、集電体本体12aの外周長さL0との比(L/L0)が0.25以上であることが好ましい。ここで、集電体本体12aと放熱部12bとの境界線は、図2において示される正極集電体10の点線部分に対応する部分である。
本実施の形態では、負極集電体12と正極集電体10とは同じ形状を有し、集電体本体10a、12aも同じ形状を有しているので、集電体本体12aと放熱部12bとの境界線は、正極集電体10の点線部分と同じ長さである。この点線部分の全長が長さLである。また、L0は集電体本体12aの外周長さ、すなわち矩形状部分である集電体本体12aの4辺の長さの和である。比(L/L0)を0.25以上にすることによって、放熱部12bによる放熱効率がより一層向上する。なお、比(L/L0)が0.25未満であっても、従来技術に比べて放熱効率が向上しているのは言うまでもないことである。
また、放熱部12bの厚みを、集電体本体12aの厚みよりも小さくしてもよい。この効果も、放熱部10bの厚みを集電体10aの厚みより小さくする効果と同様である。このとき、放熱部12bの厚みは、集電体本体12aの厚みに応じて適宜選択でき、機械的強度の顕著な低下が起こらない範囲を選択するのが好ましい。放熱部12bの厚みを小さくするには、たとえば、プレス加工などが利用できる。
さらに、放熱部12bには、その機械的強度を損なわない範囲で、複数の厚み方向の貫通孔、切り欠き部などを形成してもよい。また、放熱部12bの厚み方向の表面は、たとえば、図示しない熱可塑性樹脂層などで絶縁されている。熱可塑性樹脂層は、たとえば、変性ポリプロピリンなどの熱可塑性樹脂を用いて形成される。
リード部12cは、放熱部12bに続くように形成されている鉤状部分である。より具体的には、リード部12cは、放熱部12bの隣り合う2つの辺の一部から、電極群2の外方に突出するように設けられている。また、リード部12cは、一端が放熱部12bに接続され、他端が外装ケース7の開口部7aからリチウムイオン二次電池1の外部に導出されている。
リード部12cを前記のような構成で設けることにより、リード部12cがリチウムイオン二次電池1の外部に電力を供給するだけでなく、放熱部12bの延長として放熱機能を示す。特にリード部12cの他端は、リチウムイオン二次電池1の外部に導出されていることから、リチウムイオン二次電池1の外部でリード部12cによる放熱が行われる。したがって、放熱効果がより一層高くなる。リード部12cは、集電体本体12aおよび放熱部12bと同じ材質で形成してもよく、リチウムイオン二次電池の分野で常用される他の材質で形成してもよい。なお、リード部12cは鉤状形状に限定されず、従来のように、細線状のリードとして設けてもよい。
負極集電体12には、リチウムイオン二次電池の分野で常用されるものを使用でき、たとえば、ステンレス鋼、チタン、ニッケル、アルミニウム、銅、銅合金、銅とニッケルとのクラッド材、銅にニッケルメッキを施したものなどの金属材料または導電性樹脂からなる多孔性または無孔の導電性基板が挙げられる。多孔性導電性基板としては、たとえば、メッシュ体、ネット体、パンチングシート、ラス体、多孔質体、発泡体、繊維群成形体(不織布など)などが挙げられる。無孔の導電性基板としては、たとえば、箔、シート、フィルムなどが挙げられる。多孔性または無孔の導電性基板の厚みは特に制限されないが、通常は1〜500μm、好ましくは1〜50μm、さらに好ましくは10〜40μm、特に好ましくは10〜30μmである。たとえば、これらの導電性基板を所定の形状に打ち抜き加工することによって、負極集電体12が得られる。
負極活物質層13は合金系負極活物質を含有し、集電体本体12aの厚み方向の片面または両面に、薄膜状に形成される。また、負極活物質層13は、たとえば、合金系負極活物質と、ごく微量含まれる不可避的な不純物とからなっていてもよい。また、負極活物質層13は、合金系負極活物質とともに、その特性を損なわない範囲で、公知の負極活物質、添加物などを含んでいてもよい。さらに、負極活物質層13は、合金系負極活物質を含有しかつ膜厚が3〜50μmである非晶質または低結晶性の薄膜であることが好ましい。
合金系負極活物質は、負極電位下で、充電時にリチウムと合金化することによりリチウムを吸蔵し、かつ放電時にリチウムを放出する負極活物質である。合金系負極活物質としては特に制限されず、公知のものを使用できるが、たとえば、珪素含有化合物、錫含有化合物などが挙げられる。
珪素含有化合物としては、たとえば、珪素、珪素酸化物、珪素窒化物、珪素含有合金、珪素化合物とその固溶体などが挙げられる。珪素酸化物としては、たとえば、組成式:SiOα(0.05<α<1.95)で表される酸化珪素が挙げられる。珪素炭化物としては、たとえば、組成式:SiCβ(0<β<1)で表される炭化珪素が挙げられる。珪素窒化物としては、たとえば、組成式:SiNγ(0<γ<4/3)で表される窒化珪素が挙げられる。
珪素含有合金としては、たとえば、珪素とFe、Co、Sb、Bi、Pb、Ni、Cu、Zn、Ge、In、SnおよびTiよりなる群から選ばれる1または2以上の元素を含む合金が挙げられる。珪素化合物としては、たとえば、珪素、珪素酸化物、珪素窒化物または珪素含有合金に含まれる珪素の一部がB、Mg、Ni、Ti、Mo、Co、Ca、Cr、Cu、Fe、Mn、Nb、Ta、V、W、Zn、C、NおよびSnよりなる群から選ばれる1または2以上の元素で置換された化合物が挙げられる。これらの中でも、珪素および珪素酸化物が特に好ましい。
錫含有化合物としては、たとえば、錫、錫酸化物、錫窒化物、錫含有合金、錫化合物とその固溶体などが挙げられる。錫含有化合物としては、たとえば、錫、SnOδ(0<δ<2)、SnO2などの錫酸化物、Ni−Sn合金、Mg−Sn合金、Fe−Sn合金、Cu−Sn合金、Ti−Sn合金などの錫含有合金、SnSiO3、Ni2Sn4、Mg2Snなどの錫化合物などを好ましく使用できる。これらの中でも、錫、およびSnOβ(0<β<2)、SnO2などの錫酸化物が特に好ましい。珪素含有化合物および錫含有化合物は、それぞれ、1種を単独で使用できまたは2種以上を組み合わせて使用できる。
負極活物質層13は、たとえば、公知の薄膜形成法に従って、負極集電体12表面に形成できる。薄膜形成法としては、たとえば、スパッタリング法、蒸着法、化学的気相成長(CVD)法などが挙げられる。これらの中でも、蒸着法が好ましい。
セパレータ5は、正極3と負極4との間に設けられる。セパレータ5には、所定のイオン透過度、機械的強度、絶縁性などを併せ持つシート状物またはフィルム状物が用いられる。セパレータ5の具体例としては、たとえば、微多孔膜、織布、不織布などの、多孔性のシート状物またはフィルム状物が挙げられる。微多孔膜は単層膜および多層膜(複合膜)のいずれでもよい。単層膜は1種の材料からなる。多層膜(複合膜)は1種の材料からなる単層膜の積層体または異なる材料からなる単層膜の積層体である。
セパレータ5の材料には各種樹脂材料を使用できるが、耐久性、シャットダウン機能、電池の安全性などを考慮すると、ポリエチレン、ポリプロピレンなどのポリオレフィンが好ましい。なお、シャットダウン機能とは、電池の異常発熱時に貫通孔が閉塞し、それによりイオンの透過を抑制し、電池反応を遮断する機能である。必要に応じて、微多孔膜、織布、不織布などを2層以上積層してセパレータ5を構成してもよい。
セパレータ5の厚さは一般的には10〜300μmであるが、好ましくは10〜40μm、より好ましくは10〜30μm、さらに好ましくは10〜25μmである。また、セパレータ5の空孔率は好ましくは30〜70%、より好ましくは35〜60%である。ここで空孔率とは、セパレータ5の体積に占める、セパレータ5中に存在する細孔の総容積の比である。
セパレータ5には、リチウムイオン伝導性を有する電解質が含浸される。リチウムイオン伝導性を有する電解質としては、リチウムイオン伝導性を有する非水電解質が好ましい。非水電解質としては、たとえば、液状非水電解質、ゲル状非水電解質、固体状電解質(たとえば高分子固体電解質)などが挙げられる。
液状非水電解質は、溶質(支持塩)と非水溶媒とを含み、さらに必要に応じて各種添加剤を含む。溶質は通常非水溶媒中に溶解する。液状非水電解質は、たとえば、セパレータに含浸される。
液状非水電解質は、溶質(支持塩)と非水溶媒とを含み、さらに必要に応じて各種添加剤を含む。溶質は通常非水溶媒中に溶解する。液状非水電解質は、たとえば、セパレータに含浸される。
溶質としては、この分野で常用されるものを使用でき、たとえば、LiClO4、LiBF4、LiPF6、LiAlCl4、LiSbF6、LiSCN、LiCF3SO3、LiCF3CO2、LiAsF6、LiB10Cl10、低級脂肪族カルボン酸リチウム、LiCl、LiBr、LiI、LiBCl4、ホウ酸塩類、イミド塩類などが挙げられる。
ホウ酸塩類としては、ビス(1,2−ベンゼンジオレート(2−)−O,O’)ホウ酸リチウム、ビス(2,3−ナフタレンジオレート(2−)−O,O’)ホウ酸リチウム、ビス(2,2’−ビフェニルジオレート(2−)−O,O’)ホウ酸リチウム、ビス(5−フルオロ−2−オレート−1−ベンゼンスルホン酸−O,O’)ホウ酸リチウムなどが挙げられる。
イミド塩類としては、ビストリフルオロメタンスルホン酸イミドリチウム((CF3SO2)2NLi)、トリフルオロメタンスルホン酸ノナフルオロブタンスルホン酸イミドリチウム((CF3SO2)(C4F9SO2)NLi)、ビスペンタフルオロエタンスルホン酸イミドリチウム((C2F5SO2)2NLi)などが挙げられる。溶質は1種を単独で用いてもよくまたは必要に応じて2種以上を組み合わせて用いてもよい。溶質の非水溶媒に対する溶解量は、0.5〜2モル/Lの範囲内とすることが望ましい。
非水溶媒としては、この分野で常用されるものを使用でき、たとえば、環状炭酸エステル、鎖状炭酸エステル、環状カルボン酸エステルなどが挙げられる。環状炭酸エステルとしては、たとえば、プロピレンカーボネート(PC)、エチレンカーボネート(EC)などが挙げられる。鎖状炭酸エステルとしては、たとえば、ジエチルカーボネート(DEC)、エチルメチルカーボネート(EMC)、ジメチルカーボネート(DMC)などが挙げられる。環状カルボン酸エステルとしては、たとえば、γ−ブチロラクトン(GBL)、γ−バレロラクトン(GVL)などが挙げられる。非水溶媒は1種を単独で用いてもよくまたは必要に応じて2種以上を組み合わせて用いてもよい。
添加剤としては、たとえば、充放電効率を向上させる材料、電池を不活性化させる材料
などが挙げられる。充放電効率を向上させる材料は、たとえば、負極上で分解してリチウムイオン伝導性の高い被膜を形成し、充放電効率を向上させる。このような材料の具体例としては、たとえば、ビニレンカーボネート(VC)、4−メチルビニレンカーボネート、4,5−ジメチルビニレンカーボネート、4−エチルビニレンカーボネート、4,5−ジエチルビニレンカーボネート、4−プロピルビニレンカーボネート、4,5−ジプロピルビニレンカーボネート、4−フェニルビニレンカーボネート、4,5−ジフェニルビニレンカーボネート、ビニルエチレンカーボネート(VEC)、ジビニルエチレンカーボネート等が挙げられる。これらは単独で用いてもよく、2種以上を組み合わせて用いてもよい。これらのうちでは、ビニレンカーボネート、ビニルエチレンカーボネートおよびジビニルエチレンカーボネートから選ばれる少なくとも1種が好ましい。なお、上記化合物は、その水素原子の一部がフッ素原子で置換されていてもよい。
などが挙げられる。充放電効率を向上させる材料は、たとえば、負極上で分解してリチウムイオン伝導性の高い被膜を形成し、充放電効率を向上させる。このような材料の具体例としては、たとえば、ビニレンカーボネート(VC)、4−メチルビニレンカーボネート、4,5−ジメチルビニレンカーボネート、4−エチルビニレンカーボネート、4,5−ジエチルビニレンカーボネート、4−プロピルビニレンカーボネート、4,5−ジプロピルビニレンカーボネート、4−フェニルビニレンカーボネート、4,5−ジフェニルビニレンカーボネート、ビニルエチレンカーボネート(VEC)、ジビニルエチレンカーボネート等が挙げられる。これらは単独で用いてもよく、2種以上を組み合わせて用いてもよい。これらのうちでは、ビニレンカーボネート、ビニルエチレンカーボネートおよびジビニルエチレンカーボネートから選ばれる少なくとも1種が好ましい。なお、上記化合物は、その水素原子の一部がフッ素原子で置換されていてもよい。
電池を不活性化させる材料は、たとえば、電池の過充電時に分解して電極表面に被膜を形成することによって電池を不活性化する。このような材料としては、たとえば、ベンゼン誘導体が挙げられる。ベンゼン誘導体としては、フェニル基と、フェニル基に隣接する環状化合物基とを含むベンゼン化合物が挙げられる。環状化合物基としては、たとえば、フェニル基、環状エーテル基、環状エステル基、シクロアルキル基、フェノキシ基などが好ましい。ベンゼン誘導体の具体例としては、たとえば、シクロヘキシルベンゼン、ビフェニル、ジフェニルエーテルなどが挙げられる。ベンゼン誘導体は1種を単独で使用できまたは2種以上を組み合わせて使用できる。ただし、ベンゼン誘導体の液状非水電解質における含有量は、非水溶媒100体積部に対して10体積部以下であることが好ましい。
ゲル状非水電解質は、液状非水電解質と液状非水電解質を保持する高分子材料とを含むものである。ここで用いる高分子材料は液状物をゲル化させ得るものである。高分子材料としてはこの分野で常用されるものを使用でき、たとえば、ポリフッ化ビニリデン、ポリアクリロニトリル、ポリエチレンオキサイド、ポリ塩化ビニル、ポリアクリレート、ポリビニリデンフルオライドなどが挙げられる。
固体状電解質は、たとえば、溶質(支持塩)と高分子材料とを含む。溶質は前記で例示したものと同様のものを使用できる。高分子材料としては、たとえば、ポリエチレンオキシド(PEO)、ポリプロピレンオキシド(PPO)、エチレンオキシドとプロピレンオキシドとの共重合体などが挙げられる。
ガスケット6は、外装ケース7の開口部7a、7bを封止するために用いられる。ガスケット6には、たとえば、各種樹脂材料、各種ゴム材料などを使用できる。外装ケース7についても、リチウムイオン二次電池の分野で常用されるものをいずれも使用できる。なお、ガスケット6を使用せずに、外装ケース7の開口部7a、7bを溶着などによって直接封止してもよい。
リチウムイオン二次電池1は、たとえば、次のようにして製造できる。まず、正極3と負極4とをセパレータ5を介して積層し、電極群2を作製する。このとき、正極活物質層11と負極活物質層13とが対向するように、正極3および負極4を配置する。この電極群2を外装ケース7内に挿入し、正極リード部10cおよび負極リード部12cの遊端部を開口部7a、7bからの外装ケース7の外部に導出させる。次に、外装ケース7内に非水電解質を注入し、外装ケース7の内部を真空減圧しながら、開口部7a、7bをガスケット6を介して溶着させる。これにより、リチウムイオン二次電池1が得られる。
図3は、本発明の実施の第2形態であるリチウムイオン二次電池15の要部(電極群15a)の構成を模式的に示す平面図である。図3は、電極群15aを、正極16側が水平面に接するように水平面に載置し、該水平面の鉛直方向上方から見た平面図である。リチウムイオン二次電池15は、リチウムイオン二次電池1に類似し、対応する部分については図示および説明を省略する。リチウムイオン二次電池15は、電極群2に代えて電極群15aを含む以外は、リチウムイオン二次電池1と同様の構成を有している。
電極群15aは、正極16、図示しないセパレータおよび負極17を積層した平板状の電極群である。
電極群15aは、正極16、図示しないセパレータおよび負極17を積層した平板状の電極群である。
正極16は、正極集電体18および図示しない正極活物質層を含む。
正極集電体18は、集電体本体18a、放熱部18bおよびリード部18cを含む。集電体本体18aは、集電体本体10aと同様の構成であり、ほぼ矩形状の形状を有している。放熱部18bは集電体本体18aと連続し、かつ電極群15aの厚み方向の表面にほぼ平行になるように設けられている。放熱部18bは、コの字型の形状を有している以外は、放熱部10bと同じ構成を有している。放熱部18bの形状は、電極群15aの厚み方向における表面の形状である。
正極集電体18は、集電体本体18a、放熱部18bおよびリード部18cを含む。集電体本体18aは、集電体本体10aと同様の構成であり、ほぼ矩形状の形状を有している。放熱部18bは集電体本体18aと連続し、かつ電極群15aの厚み方向の表面にほぼ平行になるように設けられている。放熱部18bは、コの字型の形状を有している以外は、放熱部10bと同じ構成を有している。放熱部18bの形状は、電極群15aの厚み方向における表面の形状である。
放熱部18bは、集電体本体18aの1つの辺および前記辺と頂角を共有して隣接する他の2つの辺の一部から、電極群15aの外方に向けて延びかつ一体的に形成されている。すなわち、放熱部18bは、集電体本体18aの3つの辺から電極群15aの外方に延びるように設けられている。この構成を採ることによって、放熱部18bの放熱効率は、放熱部10bの放熱効率よりもさらに高くなる。
リード部18cは放熱部18bに連続し、かつ電極群15aの厚み方向の表面にほぼ平行になるように設けられてもよい。リード部18cは、コの字型の形状を有している以外は、リード部10cと同じ構成を有している。リード部18cの形状は、電極群15aの厚み方向における表面の形状である。リード部18cは、放熱部18bの外周における1つの辺および前記辺と頂角を共有して隣接する他の2つの辺の一部から、電極群15aの外方に向けて延びかつ一体的に形成されている。
すなわち、リード部18cは、放熱部18bの3つの辺から電極群15aの外方に延びるように設けられている。リード部18cは、形状的な構成以外は、リード部10cと同じ構成を有している。この構成を採ることによって、放熱部18bによる放熱効果をさらに向上させることができる。
正極活物質層は、リチウムイオン二次電池1における正極活物質層11と同じ構成を有している。
正極活物質層は、リチウムイオン二次電池1における正極活物質層11と同じ構成を有している。
負極17は、負極集電体19および図示しない負極活物質層を含む。
負極集電体19は、集電体本体19a、放熱部19bおよびリード部19cを含み、正極集電体18と同じ形状を有している。集電体本体19aは、集電体本体12aと同様の構成であり、ほぼ矩形状の形状を有している。放熱部19bは集電体本体19aと連続し、かつ電極群15aの厚み方向の表面にほぼ平行になるように設けられている。放熱部19bは、逆コの字型の形状を有している以外は、放熱部12bと同じ構成を有している。放熱部19bの形状は、電極群15aの厚み方向における表面の形状である。
負極集電体19は、集電体本体19a、放熱部19bおよびリード部19cを含み、正極集電体18と同じ形状を有している。集電体本体19aは、集電体本体12aと同様の構成であり、ほぼ矩形状の形状を有している。放熱部19bは集電体本体19aと連続し、かつ電極群15aの厚み方向の表面にほぼ平行になるように設けられている。放熱部19bは、逆コの字型の形状を有している以外は、放熱部12bと同じ構成を有している。放熱部19bの形状は、電極群15aの厚み方向における表面の形状である。
放熱部19bは、集電体本体19aの1つの辺および前記辺と頂角を共有して隣接する他の2つの辺の一部から、電極群15aの外方に向けて延びかつ一体的に形成されている。すなわち、放熱部19bは、集電体本体19aの3つの辺から電極群15aの外方に延びるように設けられている。この構成を採ることによって、放熱部19bの放熱効率は、放熱部12bの放熱効率よりもさらに高くなる。
リード部19cは放熱部19bに連続し、かつ電極群15aの厚み方向の表面にほぼ平行になるように設けられてもよい。リード部19cは、逆コの字型の形状を有し、リード部18cと同じ構成を有している。リード部19cの形状は、電極群15aの厚み方向における表面の形状である。リード部19cは、放熱部19bの外周における1つの辺および前記辺と頂角を共有して隣接する他の2つの辺の一部から、電極群15aの外方に向けて延びかつ一体的に形成されている。すなわち、リード部19cは、放熱部19bの3つの辺から電極群15aの外方に延びるように設けられている。この構成を採ることによって、放熱部19bによる放熱効果をさらに向上させることができる。
負極活物質層は、リチウムイオン二次電池1における負極活物質層13と同じ構成を有している。
負極活物質層は、リチウムイオン二次電池1における負極活物質層13と同じ構成を有している。
図3に示すように、リチウムイオン二次電池15においても、正極集電体18と負極集電体19とは、それぞれの集電体本体18a、19aの対角線の交点が厚み方向において同じ位置に重なるように配置される。すなわち、厚み方向において、集電体本体18a、19aが、正極活物質層、セパレータおよび負極活物質層を介して重なっている。また、正極集電体18と負極集電体19とは、集電体本体18a、19aの対角線の交点を中心にして対称配置されており、放熱部18b、19bの投影面が厚み方向に重ならないように配置されている。
リチウムイオン二次電池15は、上記のような放熱部18b、19bを有する電極群15aを含むことによって、放熱効率が一層向上するとともに、機械的強度が向上し、特に歪み変形などに対する耐用性が一層高くなる。
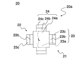
図4は、本発明の実施の第3形態であるリチウムイオン二次電池20の要部(電極群20a)の構成を模式的に示す平面図である。図4は、電極群20aを、正極23が水平面に接するように水平面に載置し、該水平面の鉛直方向上方から見た平面図である。リチウムイオン二次電池20は、リチウムイオン二次電池1に類似し、対応する部分については図示および説明を省略する。リチウムイオン二次電池20は、電極群2に代えて電極群20aを含む以外は、リチウムイオン二次電池1と同様の構成を有している。
電極群20aは、正極21、図示しないセパレータおよび負極22を積層した平板状の電極群である。
電極群20aは、正極21、図示しないセパレータおよび負極22を積層した平板状の電極群である。
正極21は、正極集電体23および図示しない正極活物質層を含む。
正極集電体23は、集電体本体23a、放熱部23bおよびリード部23cを含む。
集電体本体23aは、集電体本体10aと同様の構成であり、ほぼ矩形状の形状を有している。
正極集電体23は、集電体本体23a、放熱部23bおよびリード部23cを含む。
集電体本体23aは、集電体本体10aと同様の構成であり、ほぼ矩形状の形状を有している。
放熱部23bは集電体本体23aに連続し、かつ電極群20aの厚み方向の表面にほぼ平行になるように設けられている。放熱部23bは、集電体本体23aの対向する2つの辺からそれぞれ独立して電極群20aの外方に延びるように形成される以外は、放熱部10bと同じ構成を有している。ここで、集電体本体23aの2つの辺とは、1つの任意の辺および該辺に対向する辺である。この構成を採ることによって、放熱部23bの放熱効率は、放熱部10bの放熱効率と同等またはそれよりもさらに高くなる。
リード部23cは、放熱部23aに連続し、かつ電極群20aの厚み方向の表面にほぼ平行になるように設けられてもよい。リード部23bは、2つの放熱部23bの外周からそれぞれ独立して電極群20aの外方の反対方向に延びるように形成される以外は、リード部10cと同じ構成を有している。この構成を採ることによって、放熱部23bによる方熱効果をより一層向上させることができる。
正極活物質層は、リチウムイオン二次電池1における正極活物質層11と同じ構成を有している。
正極活物質層は、リチウムイオン二次電池1における正極活物質層11と同じ構成を有している。
負極22は、負極集電体24および図示しない負極活物質層を含む。
負極集電体24は、集電体本体24a、放熱部24bおよびリード部24cを含み、正極集電体23と同じ形状を有している。集電体本体24aは、集電体本体12aと同様の構成であり、ほぼ矩形状の形状を有している。
負極集電体24は、集電体本体24a、放熱部24bおよびリード部24cを含み、正極集電体23と同じ形状を有している。集電体本体24aは、集電体本体12aと同様の構成であり、ほぼ矩形状の形状を有している。
放熱部24bは集電体本体24aに連続し、かつ電極群20aの厚み方向の表面にほぼ平行になるように設けられている。放熱部24bは、集電体本体24aの2つの辺からそれぞれ独立して電極群20aの外方に延びるように形成される以外は、放熱部12bと同じ構成を有している。ここで、集電体本体24aの2つの辺とは、1つの任意の辺および該辺に対向する辺である。この構成を採ることによって、放熱部24bの放熱効率は、放熱部12bの放熱効率と同等またはそれよりもさらに高くなる。
リード部24cは、放熱部24aに連続し、かつ電極群20aの厚み方向の表面にほぼ平行になるように設けられてもよい。リード部24cは、2つの放熱部24bの外周からそれぞれ独立して電極群20aの外方の反対方向に延びるように形成される以外は、リード部10cと同じ構成を有している。この構成を採ることによって、放熱部24bによる方熱効果をより一層向上させることができる。
負極活物質層は、リチウムイオン二次電池1における負極活物質層13と同じ構成を有している。
負極活物質層は、リチウムイオン二次電池1における負極活物質層13と同じ構成を有している。
図4に示すように、リチウムイオン二次電池20においても、正極集電体23と負極集電体24とは、それぞれの集電体本体23a、24aの対角線の交点が厚み方向において同じ位置に重なるように配置される。すなわち、厚み方向において、集電体本体23a、24aが、正極活物質層、セパレータおよび負極活物質層を介して重なっている。また、正極集電体23と負極集電体24とは、集電体本体23a、24aの対角線の交点を中心にして対称配置されており、放熱部23b、24bの投影面が厚み方向に重ならないように配置されている。
リチウムイオン二次電池20は、上記のような放熱部23b、24bを有する電極群20aを含むことによって、放熱効率が一層向上するとともに、機械的強度ひいては耐用性が向上する。
本発明のリチウムイオン二次電池は、従来のリチウムイオン二次電池と同様の用途に使用でき、特に、パーソナルコンピュータ、携帯電話、モバイル機器、携帯情報端末(PDA)、携帯用ゲーム機器、ビデオカメラなどの携帯用電子機器の電源として有用である。また、ハイブリッド電気自動車、燃料電池自動車などにおいて電気モーターを補助する二次電池、電動工具、掃除機、ロボットなどの駆動用電源、プラグインHEVの動力源などとしての利用も期待される。
1、15、20 リチウムイオン二次電池
2、15a、20a 電極群
3、16、21 正極
4、17、22、26 負極
5 セパレータ
6 ガスケット
7 外装ケース
10、18、23 正極集電体
10a、18a、23a 正極集電体本体
10b、18b、23b 正極放熱部
10c、18c、23c 正極リード部
11 正極活物質層
12、17、24 負極集電体
12a、19a、24a 負極集電体本体
12b、19b、24b 負極放熱部
12c、19c、24c 負極リード部
13 負極活物質層
2、15a、20a 電極群
3、16、21 正極
4、17、22、26 負極
5 セパレータ
6 ガスケット
7 外装ケース
10、18、23 正極集電体
10a、18a、23a 正極集電体本体
10b、18b、23b 正極放熱部
10c、18c、23c 正極リード部
11 正極活物質層
12、17、24 負極集電体
12a、19a、24a 負極集電体本体
12b、19b、24b 負極放熱部
12c、19c、24c 負極リード部
13 負極活物質層
Claims (5)
- 正極、セパレータおよび負極を厚み方向に積層してなる平板状電極群と、非水電解質と、前記平板状電極群及び前記非水電解質を収容する電池ケースと、を含むリチウムイオン二次電池であって、
前記正極は、矩形状の正極集電体本体と、前記正極集電体本体の表面に担持されたリチウムを吸蔵および放出可能な正極活物質層と、を含み、且つ、前記正極集電体本体の少なくとも2辺から前記正極集電体本体との継ぎ目なく外方に伸びた、前記正極活物質層を担持しない第一領域を備え、
前記負極は、矩形状の負極集電体本体と、前記負極集電体本体の表面に担持されたリチウムを吸蔵および放出可能な負極活物質層と、を含み、且つ、前記負極集電体本体の少なくとも2辺から前記負極集電体本体との継ぎ目なく外方に伸びた、前記負極活物質層を担持しない第二領域を備え、
前記正極集電体本体と前記負極集電体本体とが重なり、且つ、前記第一領域と前記第二領域とが重ならず、
前記第一領域と前記第二領域とが前記電池ケースの外部にまで導出されているリチウムイオン二次電池。 - 前記第一領域は、前記正極集電体本体の一つの角を挟む2辺に沿って外方に鉤状に伸びた領域であり、前記第二領域は、前記負極集電体本体の一つの角を挟む2辺に沿って外方に鉤状に伸びた領域である請求項1に記載のリチウムイオン二次電池。
- 前記第一領域は、前記正極集電体本体の3つの辺に沿って外方にコの字状に伸びた領域であり、前記第二領域は、前記負極集電体本体の3つの辺に沿って外方にコの字状に伸びた領域である請求項1に記載のリチウムイオン二次電池。
- 前記第一領域は、前記正極集電体本体の対向する2つの辺から外方に伸びた領域であり、前記第二領域は、前記負極集電体本体の対向する2つの辺から外方に伸びた領域である請求項1に記載のリチウムイオン二次電池。
- 前記正極集電体本体の外周長さL1に対する、前記正極集電体本体と前記第一領域との境界線の長さL11の比(L11/L1)が0.25以上であり、前記負極集電体本体の外周長さL2に対する、前記負極集電体本体と前記第二領域との境界線の長さL12の比(L12/L2)が0.25以上である請求項1〜4のいずれか1項に記載のリチウムイオン二次電池。
Priority Applications (1)
| Application Number | Priority Date | Filing Date | Title |
|---|---|---|---|
| JP2010228688A JP5231505B2 (ja) | 2007-10-10 | 2010-10-08 | リチウムイオン二次電池 |
Applications Claiming Priority (3)
| Application Number | Priority Date | Filing Date | Title |
|---|---|---|---|
| JP2007264379 | 2007-10-10 | ||
| JP2007264379 | 2007-10-10 | ||
| JP2010228688A JP5231505B2 (ja) | 2007-10-10 | 2010-10-08 | リチウムイオン二次電池 |
Related Parent Applications (1)
| Application Number | Title | Priority Date | Filing Date |
|---|---|---|---|
| JP2008230827A Division JP4695170B2 (ja) | 2007-10-10 | 2008-09-09 | リチウムイオン二次電池 |
Publications (2)
| Publication Number | Publication Date |
|---|---|
| JP2011040407A true JP2011040407A (ja) | 2011-02-24 |
| JP5231505B2 JP5231505B2 (ja) | 2013-07-10 |
Family
ID=40779168
Family Applications (2)
| Application Number | Title | Priority Date | Filing Date |
|---|---|---|---|
| JP2008230827A Expired - Fee Related JP4695170B2 (ja) | 2007-10-10 | 2008-09-09 | リチウムイオン二次電池 |
| JP2010228688A Expired - Fee Related JP5231505B2 (ja) | 2007-10-10 | 2010-10-08 | リチウムイオン二次電池 |
Family Applications Before (1)
| Application Number | Title | Priority Date | Filing Date |
|---|---|---|---|
| JP2008230827A Expired - Fee Related JP4695170B2 (ja) | 2007-10-10 | 2008-09-09 | リチウムイオン二次電池 |
Country Status (1)
| Country | Link |
|---|---|
| JP (2) | JP4695170B2 (ja) |
Cited By (3)
| Publication number | Priority date | Publication date | Assignee | Title |
|---|---|---|---|---|
| KR20180019489A (ko) * | 2016-08-16 | 2018-02-26 | 도요타지도샤가부시키가이샤 | 바이폴라 전지 |
| JP2020135922A (ja) * | 2019-02-12 | 2020-08-31 | トヨタ自動車株式会社 | 積層型電池 |
| JP2021044186A (ja) * | 2019-09-12 | 2021-03-18 | 太陽誘電株式会社 | 全固体電池および電池モジュール |
Families Citing this family (6)
| Publication number | Priority date | Publication date | Assignee | Title |
|---|---|---|---|---|
| EP3972027A4 (en) * | 2019-05-13 | 2022-11-30 | Panasonic Intellectual Property Management Co., Ltd. | BATTERY |
| JP7356861B2 (ja) * | 2019-10-15 | 2023-10-05 | 本田技研工業株式会社 | リチウムイオン二次電池用電極、およびリチウムイオン二次電池 |
| JP7462476B2 (ja) * | 2020-06-01 | 2024-04-05 | 本田技研工業株式会社 | 二次電池 |
| KR102260389B1 (ko) * | 2020-09-15 | 2021-06-02 | 영남대학교 산학협력단 | 냉각 성능이 향상된 이차전지셀 및 복수의 이차전지셀로 구성되는 이차전지 모듈 |
| JP2024001823A (ja) * | 2022-06-22 | 2024-01-10 | 日産自動車株式会社 | 二次電池 |
| EP4625622A1 (en) * | 2023-01-04 | 2025-10-01 | LG Energy Solution, Ltd. | Lithium secondary battery comprising heat-dissipating current collector |
Citations (2)
| Publication number | Priority date | Publication date | Assignee | Title |
|---|---|---|---|---|
| JPH05159757A (ja) * | 1991-12-06 | 1993-06-25 | Yuasa Corp | 薄形電池 |
| JP2002313348A (ja) * | 2001-04-12 | 2002-10-25 | Nec Corp | 二次電池 |
Family Cites Families (4)
| Publication number | Priority date | Publication date | Assignee | Title |
|---|---|---|---|---|
| JP4553100B2 (ja) * | 2003-08-01 | 2010-09-29 | 日本電気株式会社 | 扁平型二次電池および組電池 |
| JP3866740B2 (ja) * | 2003-09-26 | 2007-01-10 | 株式会社東芝 | 非水電解質二次電池、組電池及び電池パック |
| JP2006202552A (ja) * | 2005-01-19 | 2006-08-03 | Sii Micro Parts Ltd | リチウム電池およびその製造方法 |
| JP4849307B2 (ja) * | 2005-09-29 | 2012-01-11 | ソニー株式会社 | 負極および電池 |
-
2008
- 2008-09-09 JP JP2008230827A patent/JP4695170B2/ja not_active Expired - Fee Related
-
2010
- 2010-10-08 JP JP2010228688A patent/JP5231505B2/ja not_active Expired - Fee Related
Patent Citations (2)
| Publication number | Priority date | Publication date | Assignee | Title |
|---|---|---|---|---|
| JPH05159757A (ja) * | 1991-12-06 | 1993-06-25 | Yuasa Corp | 薄形電池 |
| JP2002313348A (ja) * | 2001-04-12 | 2002-10-25 | Nec Corp | 二次電池 |
Cited By (5)
| Publication number | Priority date | Publication date | Assignee | Title |
|---|---|---|---|---|
| KR20180019489A (ko) * | 2016-08-16 | 2018-02-26 | 도요타지도샤가부시키가이샤 | 바이폴라 전지 |
| KR101963959B1 (ko) * | 2016-08-16 | 2019-03-29 | 도요타지도샤가부시키가이샤 | 바이폴라 전지 |
| JP2020135922A (ja) * | 2019-02-12 | 2020-08-31 | トヨタ自動車株式会社 | 積層型電池 |
| JP2021044186A (ja) * | 2019-09-12 | 2021-03-18 | 太陽誘電株式会社 | 全固体電池および電池モジュール |
| JP7431540B2 (ja) | 2019-09-12 | 2024-02-15 | 太陽誘電株式会社 | 全固体電池および電池モジュール |
Also Published As
| Publication number | Publication date |
|---|---|
| JP2009110936A (ja) | 2009-05-21 |
| JP4695170B2 (ja) | 2011-06-08 |
| JP5231505B2 (ja) | 2013-07-10 |
Similar Documents
| Publication | Publication Date | Title |
|---|---|---|
| JP5231505B2 (ja) | リチウムイオン二次電池 | |
| KR101501287B1 (ko) | 리튬 이온 이차 전지용 부극 및 그의 제조 방법, 리튬 이온 이차 전지 및 그의 제조 방법, 및 전자 기기 | |
| US8940439B2 (en) | Secondary battery, electronic device, electric power tool, electrical vehicle, and electric power storage system | |
| CN101447569B (zh) | 负极、电池及其制造方法 | |
| JP4905267B2 (ja) | 正極合剤および非水電解質電池 | |
| JP4337875B2 (ja) | 正極合剤、ならびに非水電解質二次電池およびその製造方法 | |
| JP2008311164A (ja) | 非水電解質二次電池および非水電解質二次電池用電極の製造方法 | |
| CN102088109A (zh) | 非水电解质二次电池和隔膜 | |
| KR20100098301A (ko) | 비수 전해질 이차 전지 | |
| JP2014225326A (ja) | 非水電解質二次電池 | |
| CN101499538B (zh) | 非水电解质电池和正极及其制造方法 | |
| US8252460B2 (en) | Non-aqueous electrolyte battery and negative electrode, and method for manufacturing the same | |
| JPWO2012029654A1 (ja) | 二次電池 | |
| CN117121257A (zh) | 锂二次电池用非水性电解质溶液及包含其的锂二次电池 | |
| US12040480B2 (en) | Secondary battery | |
| WO2020080246A1 (ja) | リチウムイオン二次電池用負極およびリチウムイオン二次電池 | |
| US8318347B2 (en) | Lithium ion secondary battery | |
| JP2023035799A (ja) | 非水電解質二次電池用正極および非水電解質二次電池 | |
| KR102846661B1 (ko) | 이차전지용 전해액 첨가제, 이를 포함하는 리튬 이차전지용 비수 전해액 및 리튬 이차전지 | |
| JP7074203B2 (ja) | リチウムイオン二次電池用負極およびリチウムイオン二次電池 | |
| JP5582573B2 (ja) | 二次電池およびそれに用いる二次電池用電解液 | |
| JP7636095B2 (ja) | リチウム二次電池用非水電解液およびそれを含むリチウム二次電池 | |
| KR102748038B1 (ko) | 리튬 이차전지용 비수 전해액과 이를 포함하는 리튬 이차전지 | |
| JP5035288B2 (ja) | 電池 | |
| CN115088113B (zh) | 锂二次电池用非水性电解质溶液和包含其的锂离子二次电池 |
Legal Events
| Date | Code | Title | Description |
|---|---|---|---|
| TRDD | Decision of grant or rejection written | ||
| A01 | Written decision to grant a patent or to grant a registration (utility model) |
Free format text: JAPANESE INTERMEDIATE CODE: A01 Effective date: 20130221 |
|
| A61 | First payment of annual fees (during grant procedure) |
Free format text: JAPANESE INTERMEDIATE CODE: A61 Effective date: 20130321 |
|
| FPAY | Renewal fee payment (event date is renewal date of database) |
Free format text: PAYMENT UNTIL: 20160329 Year of fee payment: 3 |
|
| R150 | Certificate of patent or registration of utility model |
Free format text: JAPANESE INTERMEDIATE CODE: R150 |
|
| LAPS | Cancellation because of no payment of annual fees |