JP2010146813A - 有機エレクトロルミネッセンス素子 - Google Patents
有機エレクトロルミネッセンス素子 Download PDFInfo
- Publication number
- JP2010146813A JP2010146813A JP2008321322A JP2008321322A JP2010146813A JP 2010146813 A JP2010146813 A JP 2010146813A JP 2008321322 A JP2008321322 A JP 2008321322A JP 2008321322 A JP2008321322 A JP 2008321322A JP 2010146813 A JP2010146813 A JP 2010146813A
- Authority
- JP
- Japan
- Prior art keywords
- light emitting
- electrode
- light
- emitting layer
- organic
- Prior art date
- Legal status (The legal status is an assumption and is not a legal conclusion. Google has not performed a legal analysis and makes no representation as to the accuracy of the status listed.)
- Granted
Links
Images
Landscapes
- Electroluminescent Light Sources (AREA)
- Devices For Indicating Variable Information By Combining Individual Elements (AREA)
Abstract
【解決手段】透明支持基板11と、透明支持基板11に接して設けられる透明陽極(第1電極)12と、第1電極12に対向して配置される陰極(第2電極)15と、第1電極12と第2電極15との間に配置され、3つの発光層14a、14b、14cを有する発光部14とを含み、第1電極12の屈折率をn1、透明支持基板11の屈折率をn2とすると、n1およびn2がそれぞれ次式(1)
を満たし、第1電極12の可視光領域の光の透過率が80%以上、体積抵抗率が1Ω・cm以下であり、各発光層が、互いに異なるピーク波長の光を発し、ピーク波長が長い光を発する発光層ほど、前記陽極寄りに配置される。
【選択図】図1
Description
[1] 光透過性を有するシートと、
陽極および陰極のうちのいずれか一方の電極であり、かつ前記シートに接して設けられる光透過性を有する第1電極と、
前記陽極および陰極のうちの他方の電極であり、前記第1電極に対向して配置される第2電極と、
前記第1電極と第2電極との間において、ピーク波長が長い光を発するものほど前記陽極寄りに配置される3層以上の発光層と、を含み、
前記第1電極の屈折率をn1、前記シートの屈折率をn2とすると、n1およびn2がそれぞれ次式(1)
有機エレクトロルミネッセンス素子。
[2] 前記3層以上の発光層として、赤色の光を発する発光層と、緑色の光を発する発光層と、青色の光を発する発光層とを備える、上記[1]に記載の有機エレクトロルミネッセンス素子。
[3] 前記第1電極は、可視光領域の光の透過率が80%以上、体積抵抗率が1Ω・cm以下である、上記[1]または[2]に記載の有機エレクトロルミネッセンス素子。
[4] 前記陽極と前記陰極との間に印加する電圧を変化させたときの、外に取出される光の色度座標における座標値xと、座標値yとの変化の幅が、それぞれ0.05以下である、上記[1]から[3]のいずれか一項に記載の有機エレクトロルミネッセンス素子。
[5] 前記第1電極が、
光透過性を有する膜本体と、
該膜本体中に配置され、導電性を有するワイヤ状の導電体とを含む、上記[1]から[4]のいずれか一項に記載の有機エレクトロルミネッセンス素子。
[6] 前記ワイヤ状の導電体の径が200nm以下である、上記[5]に記載の有機エレクトロルミネッセンス素子。
[7] 前記ワイヤ状の導電体が、前記膜本体中において網目構造を構成している、上記[6]に記載の有機エレクトロルミネッセンス素子。
[8] 前記膜本体が、導電性を有する樹脂を含んでいる、上記[5]から[7]のいずれか一項に記載の有機エレクトロルミネッセンス素子。
[9] 前記シートは、前記第1電極と、前記3層以上の発光層と、前記第2電極とが積層されて構成される発光機能部が搭載される透明支持基板である、上記[1]から[8]のいずれか一項に記載の有機エレクトロルミネッセンス素子。
[10] 前記シートは、前記第1電極と、前記3層以上の発光層と、前記第2電極とが積層されて構成される発光機能部を覆う透明封止シートである、上記[1]から[8]のいずれか一項に記載の有機エレクトロルミネッセンス素子。
[11] 上記[1]から[10]のいずれか一項に記載の有機エレクトロルミネッセンス素子を備える面状光源。
[12] 上記[1]から[10]のいずれか一項に記載の有機エレクトロルミネッセンス素子を備える照明装置。
[13] 上記[1]から[10]のいずれか一項に記載の有機エレクトロルミネッセンス素子を備える表示装置。
本発明にかかる有機EL素子は、光透過性を有するシートと、陽極および陰極のうちのいずれか一方の電極であり、かつ前記シートに接して設けられる光透過性を有する第1電極と、前記陽極および陰極のうちの他方の電極であり、前記第1電極に対向して配置される第2電極と、前記第1電極と第2電極との間において、ピーク波長が長い光を発するものほど前記陽極寄りに配置される3層以上の発光層と、を含み、
前記第1電極の屈折率をn1、前記シートの屈折率をn2とすると、n1およびn2がそれぞれ次式(1)
なお本明細書において、体積抵抗率とは、単位体積当たりの(電気)抵抗をいう。
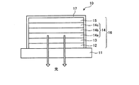
図1を参照しつつ、有機EL素子の第1の実施形態およびその変形例について説明する。図1は、本発明の有機EL素子の第1の実施形態を示す正面断面図である。
有機EL素子10は、光透過性を有するシートに相当する透明支持基板11を有し、該透明支持基板11上に、光透過性を有する第1電極に相当する透明陽極12と、正孔注入層13と、発光部14と、第2電極に相当する陰極15とがこの順に積層されて構成される。本実施の形態の有機EL素子10は、透明陽極(第1電極)12、正孔注入層13、発光部14および陰極(第2電極)15が積層されて構成される発光機能部16を保護するために発光機能部16を覆う封止シート(上部封止膜という場合がある)17が設けられる。なお本明細書では、「光透過性を有する支持基板」、「光透過性を有する電極」とは、入射した光の少なくとも一部が透過する支持基板、電極を意味する。
発光機能部16は、上述の通り、透明陽極12、陰極15およびこれらの間に位置する正孔注入層12、発光部14を備える。本実施の形態では、発光部14は、透明陽極12、陰極15に挟持され、さらに発光部14と透明陽極12との間に任意の層として正孔注入層12が挟持されているが、発光部14と透明陽極12との間、発光部14と陰極15との間には、さらに任意の層を付加してもよい。
発光部14は、高分子化合物を含む発光層を3層以上有する。該3層以上の発光層は、、互いに異なるピーク波長の光を発し、ピーク波長が長い光を発する発光層ほど、前記陽極寄りに配置されている。図1では、発光部14が、発光のピーク波長が異なる3つの発光層14a、14b、14cのみから構成される場合を示している。3つの発光層14a、14b、14cは、図1の配置では、それぞれ赤色、緑色、及び青色の光を発する発光層とされる。
色素系の発光材料としては、例えば、シクロペンダミン誘導体、テトラフェニルブタジエン誘導体化合物、トリフェニルアミン誘導体、オキサジアゾール誘導体、ピラゾロキノリン誘導体、ジスチリルベンゼン誘導体、ジスチリルアリーレン誘導体、ピロール誘導体、チオフェン環化合物、ピリジン環化合物、ペリノン誘導体、ペリレン誘導体、オリゴチオフェン誘導体、オキサジアゾールダイマー、キナクリドン誘導体、クマリン誘導体およびピラゾリンダイマーなどを高分子化したものを挙げることができる。
金属錯体系の発光材料としては、Tb、Eu、およびDyなどの希土類金属や、Al、Zn、Be、およびIrなどを中心金属に有し、オキサジアゾール、チアジアゾール、フェニルピリジン、フェニルベンゾイミダゾール、およびキノリン構造などを配位子に有する金属錯体を高分子化したものを挙げることができ、例えば、イリジウム錯体、白金錯体等の三重項励起状態からの発光を有する金属錯体、アルミキノリノール錯体、ベンゾキノリノールベリリウム錯体、ベンゾオキサゾリル亜鉛錯体、ベンゾチアゾール亜鉛錯体、アゾメチル亜鉛錯体、ポルフィリン亜鉛錯体、ユーロピウム錯体などを高分子化したものを挙げることができる。
高分子系の発光材料としては、ポリパラフェニレンビニレン誘導体、ポリチオフェン誘導体、ポリパラフェニレン誘導体、ポリシラン誘導体、ポリアセチレン誘導体、ポリフルオレン誘導体およびポリビニルカルバゾール誘導体などを挙げることができる。
各発光層14a、14b、14cを主に構成する発光材料としては、前述の発光材料の他に、例えば発光効率の向上や発光波長を変化させるなどの目的でドーパント材料をさらに含んでいてもよい。このようなドーパント材料としては、例えば、ペリレン誘導体、クマリン誘導体、ルブレン誘導体、キナクリドン誘導体、スクアリウム誘導体、ポルフィリン誘導体、スチリル系色素、テトラセン誘導体、ピラゾロン誘導体、デカシクレン、フェノキサゾンなどを挙げることができる。なおこのような発光層の厚さは、通常約20〜2000Åである。
発光層を成膜する塗布法としては、スピンコート法、キャスティング法、マイクログラビアコート法、グラビアコート法、バーコート法、ロールコート法、ワイアーバーコート法、ディップコート法、スプレーコート法、スクリーン印刷法、フレキソ印刷法、オフセット印刷法、インクジェットプリント法などの塗布法を挙げることができる。
図1に示す有機EL素子10のように陽極上に赤色発光層14a、緑色発光層14b、青色発光層14cを順次積層し、発光部14を作製する方法について説明する。まず、赤色発光層14aを成膜する。具体的には前述した赤色発光層14aを構成する材料を溶解した塗布液を、慣用の塗布法によって透明陽極12の表面上に塗布する。次に、塗布した膜を加熱または光照射することによって、架橋した赤色発光層14aを得る。このように架橋した赤色発光層14aは、緑色発光層14bを形成するために塗布液を塗布したとしても、溶出しない。
第1電極は、陽極および陰極のうちのいずれか一方の電極であり、光透過性を有する電極である。本実施形態における第1電極12は、発光部14の各発光層14a、14b、14cからの光を透過させる光透過性を有する透明電極であって、本実施形態の有機EL素子10の陽極となるものである。本実施形態における第1電極(透明陽極)12は、可視光領域の光の透過率が80%以上であり、体積抵抗率が1Ω・cm以下であることが好ましい。
以上のようにCuワイヤの体積割合、Cuワイヤのサイズを調整することにより、可視光領域の光の透過率を80%以上にすると共に、体積抵抗率を1Ω・cm以下とすることができ、またITOの特性(光の透過率が80%以上、体積抵抗率が10-3Ω・cm〜10-4Ω・cm)と同等以上の特性を得ることも可能である。
ワイヤ状の導電体は、径の小さいものが好ましく、例えば、径が400nm以下のものが用いられ、径が200nm以下のものが好ましく、径が100nm以下のものがさらに好ましい。膜本体に配置されるワイヤ状の導電体は、第1電極12を通る光を回折または散乱するので、第1電極12のヘイズ値を高めるとともに光の透過率を低下させるが、可視光の波長程度または可視光の波長よりも小さい径のワイヤ状の導電体を用いることによって、可視光に対するヘイズ値を低く抑えるとともに、光の透過率を向上させることができるからである。また、ワイヤ状の導電体の径は、小さすぎると抵抗が高くなるため、径が10nm以上のものが好ましい。なお有機EL素子を照明装置に用いる場合には、第1電極12のヘイズ値はある程度高い方が拡散機能を併せて付与することも可能となるので、ヘイズ値の高い第1電極12が好適に用いられる場合もある。したがって第1電極12の光学的特性は、有機EL素子が用いられる装置に応じて適宜設定される。
本実施形態の有機EL素子10では、第1電極(透明陽極)12の屈折率をn1、透明支持基板11の屈折率をn2としたとき、第1電極12の屈折率n1は、次式(1)を満たし、好ましくは、第1電極12に接する層(本実施の形態では発光部14)の屈折率n3以下になるように設定される。
第1電極(透明陽極)12の作製方法について以下に記載する。第1電極12を作製する方法としては、例えば、ワイヤ状の導電体を樹脂に練り込むことによって、ワイヤ状の導電体を樹脂に分散させる方法、ワイヤ状の導電体と、樹脂とを分散媒に分散させた分散液を用いる塗布法によって成膜化する方法およびワイヤ状の導電体を樹脂から成る膜の表面にコーティングし、導電体を膜中に分散させる方法などを挙げることができる。
なお第1電極12には、必要に応じて界面活性剤や酸化防止剤などの各種添加剤を加えてもよい。樹脂の種類は、屈折率、透光率および電気抵抗などの第1電極12の特性に応じて適宜選ばれる。
またワイヤ状の導電体を分散させる量は、第1電極12の電気抵抗、ヘイズ値および透光率などに影響するので、第1電極12の特性に応じて適宜設定される。
また発光部14を構成する発光層が赤色発光層14a、緑色発光層14b、青色発光層14cの三層からなる場合、各発光層の積層順を赤色発光層14a、緑色発光層14b、青色発光層14cとして、ピーク波長が長い光を発する発光層ほど、透明陽極12寄りに配置し、発光する光のピーク波長に応じて、各発光層を所定の順序で配置することにより、色味の変化が小さくなり、さらに発光効率が向上させることができる。
さらに、第1電極12の屈折率をn1、透明支持基板11の屈折率をn2としたとき、第1電極12の屈折率n1は、次式(1)を満たすことにより、発光層から放射された光が第1電極12で反射することを抑制することができる。このため、発光層からの光を効率的に外に取出すことができ、光取り出し効率を向上させることができると共に、有機EL素子10全体としての発光効率を向上することができる。
すなわち光透過性を有する透明支持基板11と、陽極および陰極のうちのいずれか一方の電極であり、かつ透明支持基板11に接して設けられる光透過性を有する第1電極12と、前記陽極および陰極のうちの他方の電極であり、第1電極12に対向して配置される第2電極15と、第1電極12と第2電極15との間において、ピーク波長が長い光を発する層ほど前記陽極寄りに配置され、かつ高分子化合物を含む3層以上の発光層を有する発光部14とを含む有機エレクトロルミネッセンス素子の製造方法であって、導電性を有するワイヤ状の導電体を分散媒に分散させた分散液を用いる塗布法により、透明支持基板11の発光部14側の表面上に第1電極を形成する工程と、発光部を作製する工程とを含む。
透明支持基板は、第1電極と、3層以上の発光層と、第2電極とが積層されて構成される発光機能部が搭載されるシートである。本実施形態では、光透過性を有するシートとして、透明支持基板11を用いている。透明支持基板11としては、有機EL素子を形成する工程において変化しないもの、すなわち電極を形成し、有機物の層を形成する際に変化しないものであればよく、リジッド基板でも、フレキシブル基板でもよく、例えば、ガラス板、プラスチック板、高分子フィルムおよびシリコン板、並びにこれらを積層した積層板などが好適に用いられる。さらにプラスチック、高分子フィルムなどに低透水化処理を施したものを用いることもできる。透明支持基板11としては、市販のものが使用可能である。また透明支持基板11を公知の方法により製造することもできる。
また、本実施形態では、支持基板として透明支持基板11を用いているが、本発明はこれに限定されるものではなく、後述の第2の実施形態にて示すような発光部14からの光を陰極15側から取出すトップエミッション型の有機EL素子では、支持基板は、不透明のものでもよい。
第2電極は、第1電極に対向して配置され、前記陽極および陰極のうちの他方の電極である。本実施形態における第2電極15は、透明陽極12に対向して配置される電極であって、有機EL素子の陰極となるものである。このような陰極の材料としては、仕事関数が小さく、発光層への電子注入が容易な材料が好ましい。また陰極の材料としては電気伝導度が高く、可視光反射率の高い材料が好ましい。かかる陰極材料としては、具体的には、金属、金属酸化物、合金、グラファイトまたはグラファイト層間化合物、酸化亜鉛(ZnO)等の無機半導体などを挙げることができる。また第2電極を陽極として用いる構成の有機EL素子も可能である。
封止シートは、第1電極と、3層以上の発光層と、第2電極とが積層されて構成される発光機能部を覆うシートである。上述のように陰極15が形成された後、基本構造として透明陽極12−正孔注入層13−発光部14−陰極15を有してなる発光機能部16を保護するために、該発光機能部16を封止する封止シート(上部封止膜)17が形成される。この封止シート17は、通常、少なくとも一つの無機層と少なくとも一つの有機層を有する。積層数は、必要に応じて決定され、基本的には、無機層と有機層は交互に積層される。
図1に示す有機EL素子10では、透明陽極12と陰極15との間に、正孔注入層13、発光部14が設けられた形態を示している。しかし透明陽極12と陰極15との間に設けられる層の構成としては、図1に示す構成例には限られない。透明陽極12と陰極15との間には必須の構成として発光部14が設けられればよく、さらに任意の機能層を1または2層以上設けてもよい。
電荷輸送層は、それぞれ独立に2層以上用いてもよい。
<F1>正孔注入層
正孔注入層は、透明陽極12からの正孔注入効率を改善する機能を有する層である。正孔注入層は、透明陽極12と正孔輸送層との間、または透明陽極12と発光部14との間に設けることができる。正孔注入層を構成する材料としては、公知の材料を適宜用いることができ、特に制限はない。例えば、フェニルアミン系、スターバースト型アミン系、フタロシアニン系、ヒドラゾン誘導体、カルバゾール誘導体、トリアゾール誘導体、イミダゾール誘導体、アミノ基を有するオキサジアゾール誘導体、酸化バナジウム、酸化タンタル、酸化タングステン、酸化モリブデン、酸化ルテニウム、酸化アルミニウム等の酸化物、アモルファスカーボン、ポリアニリン、ポリチオフェン誘導体等が挙げられる。
正孔輸送層は、透明陽極12、正孔注入層または透明陽極12により近い正孔輸送層らの正孔注入を改善する機能を有する層であり、正孔輸送層とは正孔を輸送する機能を有する層である。
正孔輸送層を構成する材料としては、特に制限はないが、例えば、N,N’−ジフェニル−N,N’−ジ(3−メチルフェニル)4,4’−ジアミノビフェニル(TPD)、4,4’−ビス[N−(1−ナフチル)−N−フェニルアミノ]ビフェニル(NPB)等の芳香族アミン誘導体、ポリビニルカルバゾールもしくはその誘導体、ポリシランもしくはその誘導体、側鎖もしくは主鎖に芳香族アミンを有するポリシロキサン誘導体、ピラゾリン誘導体、アリールアミン誘導体、スチルベン誘導体、トリフェニルジアミン誘導体、ポリアニリンもしくはその誘導体、ポリチオフェンもしくはその誘導体、ポリアリールアミンもしくはその誘導体、ポリピロールもしくはその誘導体、ポリ(p−フェニレンビニレン)もしくはその誘導体、またはポリ(2,5−チエニレンビニレン)もしくはその誘導体などが例示される。
電子ブロック層は、電子の輸送を堰き止める機能を有する層である。なお正孔注入層および/または正孔輸送層が電子の輸送を堰き止める機能を有する場合には、これらの層が電子ブロック層を兼ねることがある。電子ブロック層が電子の輸送を堰き止める機能を有することは、例えば、電子電流のみを流す素子を作製し、その電流値の減少で堰き止める効果を確認することが可能である。電子ブロック層としては、例えば上記正孔注入層または正孔輸送層の材料として例示した各種材料を用い得る。
電子注入層は、陰極15からの電子注入効率を改善する機能を有する層である。電子注入層は、電子輸送層と陰極15との間、または発光部14と陰極15との間に設けられる。電子注入層としては、発光層の種類に応じて、アルカリ金属やアルカリ土類金属、あるいは前記金属を一種類以上含む合金、あるいは前記金属の酸化物、ハロゲン化物および炭酸化物、あるいは前記物質の混合物などが挙げられる。
この電子注入層の膜厚としては、1nm〜1μm程度が好ましい。
電子輸送層は、陰極15、電子注入層または陰極15により近い電子輸送層からの電子注入を改善する機能を有する層であり、電子輸送層とは電子を輸送する機能を有する層である。
電子輸送層を形成する材料としては、公知のものが使用でき、オキサジアゾール誘導体、アントラキノジメタンもしくはその誘導体、ベンゾキノンもしくはその誘導体、ナフトキノンもしくはその誘導体、アントラキノンもしくはその誘導体、テトラシアノアンスラキノジメタンもしくはその誘導体、フルオレノン誘導体、ジフェニルジシアノエチレンもしくはその誘導体、ジフェノキノン誘導体、または8−ヒドロキシキノリンもしくはその誘導体の金属錯体、ポリキノリンもしくはその誘導体、ポリキノキサリンもしくはその誘導体、ポリフルオレンもしくはその誘導体等が例示される。
正孔ブロック層は、正孔の輸送を堰き止める機能を有する層である。なお電子注入層および/または電子輸送層が正孔の輸送を堰き止める機能を有する場合には、これらの層が正孔ブロック層を兼ねることがある。正孔ブロック層が正孔の輸送を堰き止める機能を有することは、例えばホール電流のみを流す素子を作製し、その電流値の減少で堰き止める効果を確認することが可能である。
上記のように発光機能部はその実施形態として様々な層構成を採用し得る。発光機能部のとり得る層構成を具体的な例を以下に示す。
a)陽極/発光部/陰極
b)陽極/正孔注入層/発光部/陰極
c)陽極/発光部/電子注入層/陰極
d)陽極/正孔注入層/発光部/電子注入層/陰極
e)陽極/正孔注入層/正孔輸送層/発光部/陰極
f)陽極/発光部/電子輸送層/電子注入層/陰極
g)陽極/正孔注入層/発光部/電子輸送層/電子注入層/陰極
h)陽極/正孔注入層/正孔輸送層/発光部/電子注入層/陰極
i)陽極/正孔注入層/正孔輸送層/発光部/電子輸送層/電子注入層/陰極
(ここで、記号「/」は、記号「/」を挟む各層が隣接して積層されていることを示す。以下同じ。)
j)陽極/(繰り返し単位A)/電荷発生層/(繰り返し単位A)/陰極
k)陽極/(繰り返し単位B)n/(繰り返し単位A)/陰極
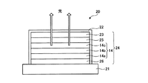
次に本発明に係る有機EL素子の第2の実施形態を、図2を参照して説明する。図2は、本発明の有機EL素子の第2の実施形態を示す正面断面図である。図2中、第1の実施形態と同様である部材については、図1と同一符号を付して重複した説明は省略する。以下、第1の実施形態と異なる点を主として説明する。
第2の実施形態と上述の第1の実施形態との違いは、第1の実施形態の有機EL素子が透明支持基板11側から光を取出すボトムエミッション型の素子であったのに対し、第2の実施形態の有機EL素子20は支持基板21とは反対側の透明封止シート22側から光を取出すトップエミッション型の素子である点にある。
すなわち光透過性を有する透明封止シート22と、陽極および陰極のうちのいずれか一方の電極であり、かつ透明封止シート22に接して設けられる光透過性を有する第1電極23と、前記陽極および陰極のうちの他方の電極であり、第1電極23に対向して配置される第2電極25と、第1電極23と第2電極25との間において、ピーク波長が長い光を発する層ほど前記陽極寄りに配置され、かつ高分子化合物を含む3層以上の発光層を有する発光部14とを含む有機エレクトロルミネッセンス素子の製造方法であって、発光部14を作製する工程と、導電性を有するワイヤ状の導電体を分散媒に分散させた分散液を用いる塗布法により、発光部14と透明封止シート22との間に第1電極を形成する工程と、を含む。
発光部14を作製する工程では、発光層を構成する材料を含む塗布液を塗布した後、次に塗布される発光層を構成する材料を含む塗布液に対して不溶化し、発光層を形成し、ピーク波長が長い光を発する発光層から光のピーク波長が短い発光層の順に陽極側から陰極側に向けて積層されるように、各々の発光層に応じた前記塗布液を塗布し、各発光層を順次成膜することにより、発光部を作製する工程、を含む。
前記第1電極を形成する工程では、発光部14と透明封止シート22との間に、導電性を有するワイヤ状の導電体を分散媒に分散させた分散液を塗布し、成膜することにより、前記第1電極の屈折率をn1、透明封止シート22の屈折率をn2とすると、n1およびn2が、それぞれ次式(1)
以上説明した本発明の各実施形態の有機EL素子は、曲面状や平面状の照明装置、例えばスキャナの光源として用いられる面状光源、表示装置に好適に用いることができる。
この作製例1では、発光する光のピーク波長が異なる複数の発光層を所定の順序で配置することによる効果を確認するために、光透過性を有する透明支持基板上に、光透過性を有する第1電極である透明陽極を配置し、この透明陽極(第1電極)上に正孔注入層が形成され、この正孔注入層上に、赤、緑、青に発光する3つの発光層から構成され、透明陽極(第1電極)側から赤色発光層、緑色発光層、青色発光層の順に配置した発光部が配置され、その上に第2電極である陰極を配置した有機EL素子を製造し、発光特性が向上することを確認した。
比較例1として、白色の波長領域で発光する一層の発光層(以下、白色発光層という場合がある)のみから成る発光部を備える有機EL素子を作製した。白色発光層以外の製造工程は、上記作製例1の有機EL素子の製造工程と同じなので、重複する説明を省略して、白色発光層の製造工程についてのみ説明する。
比較例2として、赤色発光層、緑色発光層および青色発光層の3層の積層順のみが、作製例1の有機EL素子とは異なる有機EL素子を作製した。陽極に最も近い層に、青色発光層を配置し、真中の層に、緑色発光層を配置し、陰極に最も近い層に赤色発光層を配置した。赤色発光層、緑色発光層および青色発光層以外の製造工程は、作製例1の有機EL素子の製造工程と同じなので、赤色発光層、緑色発光層および青色発光層の製造工程についてのみ説明する。
作製例1、比較例1、比較例2の各有機EL素子にそれぞれ電圧を印加して、輝度および色度を測定した。測定では、印加する電圧を段階的に変化させ、印加する電圧毎に輝度および色度を測定した。測定結果を表1に示す。
また作製例1の有機EL素子は、3層の発光層を所定の配置にすることによって、比較例2の有機EL素子よりも電流効率の最大値が向上した。
ワイヤ状の導電体として、アミノ基含有高分子系分散剤(アイ・シー・アイ・ジャパン社製、商品名「ソルスパース24000SC」)で表面を保護した銀ナノワイヤー(長軸平均長さ1μm、短軸平均長さ10nm)を用いる。この銀ナノワイヤーのトルエン分散液2g(銀ナノワイヤー1.0g含有)と、膜本体となる光硬化性モノマーであるトリメチロールプロパントリアクリレート(新中村化学社製、商品名「NKエステル−TMPT」)0.25gとを混合し、銀ナノワイヤーを混合溶液中に分散させ、さらに重合開始剤(日本チバ・ガイギー社製、商品名「イルガキュア907」)0.0025gを添加する。この混合溶液を厚さ0.7mmのガラス基板(透明板本体)に塗布し、ホットプレート上で110℃20分加熱して溶媒を乾燥し、さらにUVランプで光照射(6000mW/cm2)することによって硬化して、膜厚が150nmの透明導電膜を得る。このように成膜することによって、透過率が80%以上、体積抵抗率が1Ω・cm以下である透明導電膜が得られる。
ワイヤ状の導電体として、アミノ基含有高分子系分散剤(アイ・シー・アイ・ジャパン社製、商品名「ソルスパース24000SC」)で表面を保護した銀ナノワイヤー(長軸平均長さ1μm、短軸平均長さ10nm)を用いる。この銀ナノワイヤーのトルエン分散液2g(銀ナノワイヤー1.0g含有)と、膜本体となるポリ(エチレンジオキシチオフェン)/ポリスチレンスルホン酸の溶液(スタルク社製、商品名「BaytronP」)2.5gとを混合し、銀ナノワイヤーを混合溶液中に分散させる。この混合溶液を厚さ0.7mmのガラス基板(透明板本体)に塗布し、ホットプレート上で200℃20分加熱し、溶媒を乾燥すると膜厚が150nmの透明導電膜を得る。このように成膜することによって、透過率が80%以上、体積抵抗率が1Ω・cm以下である透明導電膜が得られる。
ワイヤ状の導電体として、アミノ基含有高分子系分散剤(アイ・シー・アイ・ジャパン社製、商品名「ソルスパース24000SC」)で表面を保護した銀ナノワイヤー(長軸平均長さ1μm、短軸平均長さ10nm)を用いる。膜本体となるポリ(エチレンジオキシチオフェン)/ポリスチレンスルホン酸の溶液(スタルク社製、商品名「BaytronP」)2.5gに、ジメチルスルホキシド0.125gを混合した混合液と、銀ナノワイヤーのトルエン分散液2g(銀ナノワイヤー1.0g含有)とを混合し、銀ナノワイヤーを混合溶液中に分散させる。この混合溶液を0.7mm厚のガラス基板に塗布し、ホットプレート上で200℃20分加熱し、溶媒を乾燥すると膜厚が150nmの導電膜を得る。このように成膜することによって透過率が80%以上、体積抵抗率が1Ω・cm以下である透明導電膜が得られる。
また、作製例2〜4では、光透過性を有する膜本体内にワイヤ状の導電体を設けた第1電極の屈折率を特定の範囲に制御するとともに、透明支持基板と第1電極との屈折率差を特定の範囲に制御することによる効果を同時に得ることを確認できる。
11 透明支持基板
12 透明陽極(第1電極)
13 正孔注入層
14 発光部
14a 赤色発光層
14b 緑色発光層
14c 青色発光層
15 陰極(第2電極)
16、24 発光機能部
17 封止シート(上部封止膜)
21 支持基板
22 透明封止シート(上部封止膜)
23 透明陰極(第1電極)
25 電子注入層
26 陽極(第2電極)
Claims (13)
- 前記3層以上の発光層として、赤色の光を発する発光層と、緑色の光を発する発光層と、青色の光を発する発光層とを備える、請求項1に記載の有機エレクトロルミネッセンス素子。
- 前記第1電極は、可視光領域の光の透過率が80%以上、体積抵抗率が1Ω・cm以下である、請求項1または2記載の有機エレクトロルミネッセンス素子。
- 前記陽極と前記陰極との間に印加する電圧を変化させたときの、外に取出される光の色度座標における座標値xと、座標値yとの変化の幅が、それぞれ0.05以下である、請求項1から3のいずれか一項に記載の有機エレクトロルミネッセンス素子。
- 前記第1電極が、
光透過性を有する膜本体と、
該膜本体中に配置され、導電性を有するワイヤ状の導電体とを含む、請求項1から4のいずれか一項に記載の有機エレクトロルミネッセンス素子。 - 前記ワイヤ状の導電体の径が200nm以下である、請求項5に記載の有機エレクトロルミネッセンス素子。
- 前記ワイヤ状の導電体が、前記膜本体中において網目構造を構成している、請求項6に記載の有機エレクトロルミネッセンス素子。
- 前記膜本体が、導電性を有する樹脂を含んでいる、請求項5から7のいずれか一項に記載の有機エレクトロルミネッセンス素子。
- 前記シートは、前記第1電極と、前記3層以上の発光層と、前記第2電極とが積層されて構成される発光機能部が搭載される透明支持基板である、請求項1から8のいずれか一項に記載の有機エレクトロルミネッセンス素子。
- 前記シートは、前記第1電極と、前記3層以上の発光層と、前記第2電極とが積層されて構成される発光機能部を覆う透明封止シートである、請求項1から8のいずれか一項に記載の有機エレクトロルミネッセンス素子。
- 請求項1から10のいずれか一項に記載の有機エレクトロルミネッセンス素子を備える面状光源。
- 請求項1から10のいずれか一項に記載の有機エレクトロルミネッセンス素子を備える照明装置。
- 請求項1から10のいずれか一項に記載の有機エレクトロルミネッセンス素子を備える表示装置。
Priority Applications (1)
| Application Number | Priority Date | Filing Date | Title |
|---|---|---|---|
| JP2008321322A JP5314410B2 (ja) | 2008-12-17 | 2008-12-17 | 有機エレクトロルミネッセンス素子 |
Applications Claiming Priority (1)
| Application Number | Priority Date | Filing Date | Title |
|---|---|---|---|
| JP2008321322A JP5314410B2 (ja) | 2008-12-17 | 2008-12-17 | 有機エレクトロルミネッセンス素子 |
Publications (2)
| Publication Number | Publication Date |
|---|---|
| JP2010146813A true JP2010146813A (ja) | 2010-07-01 |
| JP5314410B2 JP5314410B2 (ja) | 2013-10-16 |
Family
ID=42567012
Family Applications (1)
| Application Number | Title | Priority Date | Filing Date |
|---|---|---|---|
| JP2008321322A Expired - Fee Related JP5314410B2 (ja) | 2008-12-17 | 2008-12-17 | 有機エレクトロルミネッセンス素子 |
Country Status (1)
| Country | Link |
|---|---|
| JP (1) | JP5314410B2 (ja) |
Cited By (3)
| Publication number | Priority date | Publication date | Assignee | Title |
|---|---|---|---|---|
| JP5020423B1 (ja) * | 2011-10-11 | 2012-09-05 | パイオニア株式会社 | 有機発光素子 |
| JP2014502220A (ja) * | 2010-11-02 | 2014-01-30 | カーベーアー−ノタシ ソシエテ アノニム | シート状又はウエブ状の基板材料を照射するデバイスおよび、当該デバイスの使用 |
| WO2014077093A1 (ja) * | 2012-11-14 | 2014-05-22 | コニカミノルタ株式会社 | 電界発光素子およびこれを備えた照明装置 |
Citations (8)
| Publication number | Priority date | Publication date | Assignee | Title |
|---|---|---|---|---|
| JP2005100921A (ja) * | 2003-08-22 | 2005-04-14 | Sony Corp | 有機el素子および表示装置 |
| JP2005317302A (ja) * | 2004-04-28 | 2005-11-10 | Nippon Zeon Co Ltd | 有機el表示素子及びその製造方法 |
| WO2006009024A1 (ja) * | 2004-07-23 | 2006-01-26 | Konica Minolta Holdings, Inc. | 有機エレクトロルミネッセンス素子、表示装置及び照明装置 |
| WO2006013738A1 (ja) * | 2004-08-05 | 2006-02-09 | Konica Minolta Holdings, Inc. | 有機エレクトロルミネッセンス素子、表示装置および照明装置 |
| JP2006171336A (ja) * | 2004-12-15 | 2006-06-29 | Takiron Co Ltd | 画像表示用透明電極体および画像表示装置 |
| WO2007022226A2 (en) * | 2005-08-12 | 2007-02-22 | Cambrios Technologies Corporation | Nanowires-based transparent conductors |
| JP2007531807A (ja) * | 2004-03-31 | 2007-11-08 | イー・アイ・デュポン・ドウ・ヌムール・アンド・カンパニー | ドープした導電性ポリマーとコロイド形成ポリマー酸とを含む非水性分散物 |
| WO2008028611A2 (de) * | 2006-09-04 | 2008-03-13 | Novaled Ag | Organisches lichtemittierendes bauteil und verfahren zum herstellen |
-
2008
- 2008-12-17 JP JP2008321322A patent/JP5314410B2/ja not_active Expired - Fee Related
Patent Citations (8)
| Publication number | Priority date | Publication date | Assignee | Title |
|---|---|---|---|---|
| JP2005100921A (ja) * | 2003-08-22 | 2005-04-14 | Sony Corp | 有機el素子および表示装置 |
| JP2007531807A (ja) * | 2004-03-31 | 2007-11-08 | イー・アイ・デュポン・ドウ・ヌムール・アンド・カンパニー | ドープした導電性ポリマーとコロイド形成ポリマー酸とを含む非水性分散物 |
| JP2005317302A (ja) * | 2004-04-28 | 2005-11-10 | Nippon Zeon Co Ltd | 有機el表示素子及びその製造方法 |
| WO2006009024A1 (ja) * | 2004-07-23 | 2006-01-26 | Konica Minolta Holdings, Inc. | 有機エレクトロルミネッセンス素子、表示装置及び照明装置 |
| WO2006013738A1 (ja) * | 2004-08-05 | 2006-02-09 | Konica Minolta Holdings, Inc. | 有機エレクトロルミネッセンス素子、表示装置および照明装置 |
| JP2006171336A (ja) * | 2004-12-15 | 2006-06-29 | Takiron Co Ltd | 画像表示用透明電極体および画像表示装置 |
| WO2007022226A2 (en) * | 2005-08-12 | 2007-02-22 | Cambrios Technologies Corporation | Nanowires-based transparent conductors |
| WO2008028611A2 (de) * | 2006-09-04 | 2008-03-13 | Novaled Ag | Organisches lichtemittierendes bauteil und verfahren zum herstellen |
Cited By (3)
| Publication number | Priority date | Publication date | Assignee | Title |
|---|---|---|---|---|
| JP2014502220A (ja) * | 2010-11-02 | 2014-01-30 | カーベーアー−ノタシ ソシエテ アノニム | シート状又はウエブ状の基板材料を照射するデバイスおよび、当該デバイスの使用 |
| JP5020423B1 (ja) * | 2011-10-11 | 2012-09-05 | パイオニア株式会社 | 有機発光素子 |
| WO2014077093A1 (ja) * | 2012-11-14 | 2014-05-22 | コニカミノルタ株式会社 | 電界発光素子およびこれを備えた照明装置 |
Also Published As
| Publication number | Publication date |
|---|---|
| JP5314410B2 (ja) | 2013-10-16 |
Similar Documents
| Publication | Publication Date | Title |
|---|---|---|
| US8471457B2 (en) | Transparent plate with transparent conductive film and organic electroluminescence element | |
| JP5314409B2 (ja) | 有機エレクトロルミネッセンス素子 | |
| US8552637B2 (en) | Organic electroluminescence element having a conductive resin layer and method for manufacturing the same | |
| JP5314393B2 (ja) | 有機エレクトロルミネッセンス素子 | |
| JP4947095B2 (ja) | 光取り出し構造体 | |
| JP2010129825A (ja) | 有機エレクトロルミネッセンス素子およびその製造方法 | |
| WO2009119558A1 (ja) | 有機エレクトロルミネッセンス素子及びその製造方法 | |
| JP5254711B2 (ja) | 有機エレクトロルミネッセンス素子、およびその製造方法 | |
| JP5320755B2 (ja) | 有機エレクトロルミネッセンス素子およびその製造方法、面状光源、照明装置ならびに表示装置 | |
| JP5314410B2 (ja) | 有機エレクトロルミネッセンス素子 | |
| JP2010153091A (ja) | 有機エレクトロルミネッセンス素子 | |
| JP5249075B2 (ja) | 有機エレクトロルミネッセンス素子 | |
| JP5156612B2 (ja) | 有機エレクトロルミネッセンス素子およびその製造方法 | |
| JP2010146893A (ja) | 有機エレクトロルミネッセンス素子、及びその製造方法 | |
| JP5570092B2 (ja) | 発光素子およびその製造方法 | |
| JP5410774B2 (ja) | 有機エレクトロルミネッセンス素子 | |
| JP5216623B2 (ja) | 有機エレクトロルミネッセンス素子およびその製造方法 | |
| JP5263060B2 (ja) | 発光装置 | |
| JP5314352B2 (ja) | 有機エレクトロルミネッセンス素子、照明装置、面状光源および表示装置 | |
| JP5446472B2 (ja) | 有機エレクトロルミネッセンス素子の製造方法 | |
| JP2010146846A (ja) | 有機エレクトロルミネッセンス素子の製造方法 | |
| JP2011029118A (ja) | 有機el素子の製造方法 |
Legal Events
| Date | Code | Title | Description |
|---|---|---|---|
| A621 | Written request for application examination |
Free format text: JAPANESE INTERMEDIATE CODE: A621 Effective date: 20110414 |
|
| A131 | Notification of reasons for refusal |
Free format text: JAPANESE INTERMEDIATE CODE: A131 Effective date: 20120131 |
|
| A521 | Request for written amendment filed |
Free format text: JAPANESE INTERMEDIATE CODE: A523 Effective date: 20120326 |
|
| A131 | Notification of reasons for refusal |
Free format text: JAPANESE INTERMEDIATE CODE: A131 Effective date: 20121106 |
|
| A521 | Request for written amendment filed |
Free format text: JAPANESE INTERMEDIATE CODE: A523 Effective date: 20121228 |
|
| A521 | Request for written amendment filed |
Free format text: JAPANESE INTERMEDIATE CODE: A821 Effective date: 20121228 |
|
| TRDD | Decision of grant or rejection written | ||
| A01 | Written decision to grant a patent or to grant a registration (utility model) |
Free format text: JAPANESE INTERMEDIATE CODE: A01 Effective date: 20130618 |
|
| A61 | First payment of annual fees (during grant procedure) |
Free format text: JAPANESE INTERMEDIATE CODE: A61 Effective date: 20130705 |
|
| R150 | Certificate of patent or registration of utility model |
Free format text: JAPANESE INTERMEDIATE CODE: R150 Ref document number: 5314410 Country of ref document: JP Free format text: JAPANESE INTERMEDIATE CODE: R150 |
|
| LAPS | Cancellation because of no payment of annual fees |
