JP2010143767A - 紙葉類繰り出し装置 - Google Patents

紙葉類繰り出し装置 Download PDF

Info

Publication number
JP2010143767A
JP2010143767A JP2010030245A JP2010030245A JP2010143767A JP 2010143767 A JP2010143767 A JP 2010143767A JP 2010030245 A JP2010030245 A JP 2010030245A JP 2010030245 A JP2010030245 A JP 2010030245A JP 2010143767 A JP2010143767 A JP 2010143767A
Authority
JP
Japan
Prior art keywords
roller
paper sheet
paper
paper sheets
feeding
Prior art date
Legal status (The legal status is an assumption and is not a legal conclusion. Google has not performed a legal analysis and makes no representation as to the accuracy of the status listed.)
Granted
Application number
JP2010030245A
Other languages
English (en)
Other versions
JP4902755B2 (ja
Inventor
Toyoji Iwami
見 豊 史 岩
Shinichi Fujio
尾 信 一 藤
Current Assignee (The listed assignees may be inaccurate. Google has not performed a legal analysis and makes no representation or warranty as to the accuracy of the list.)
Glory Ltd
Original Assignee
Glory Ltd
Priority date (The priority date is an assumption and is not a legal conclusion. Google has not performed a legal analysis and makes no representation as to the accuracy of the date listed.)
Filing date
Publication date
Application filed by Glory Ltd filed Critical Glory Ltd
Priority to JP2010030245A priority Critical patent/JP4902755B2/ja
Publication of JP2010143767A publication Critical patent/JP2010143767A/ja
Application granted granted Critical
Publication of JP4902755B2 publication Critical patent/JP4902755B2/ja
Anticipated expiration legal-status Critical
Expired - Lifetime legal-status Critical Current

Links

Images

Landscapes

  • Sheets, Magazines, And Separation Thereof (AREA)

Abstract

【課題】ステージ上に集積された紙葉類の位置の如何に拘わらず確実な1枚繰出しを可能とする。
【解決手段】紙葉類繰り出し装置は、集積状態に支持される紙葉類を1枚ずつけり出すキッカローラ14と、キッカローラ14によりけり出された紙葉類を1枚に分離するゲート部Gと、紙葉類を繰り出し方向へ送る予備送出手段15と、を備え、紙葉類の繰り出し動作開始時に予備送出手段15により紙葉類を繰り出し方向に予備送出し、次いで予備送出された紙葉類をキッカローラ14によりけり出し、けり出された紙葉類をゲート部Gへ進入させる。
【選択図】図1

Description

本発明は紙葉類を1枚ずつ繰り出して所要の処理を行うための紙葉類繰り出し装置に係り、特に繰り出し方向長さの異なる紙葉類が混在した状態の紙葉類を取り扱うに適する紙葉類繰り出し装置に関する。
ステージ上に集積状態に支持される集積紙葉類の最上位の紙葉類をその長手方向にキッカローラにより1枚ずつけり出し、フィードローラとゲート部材との間で構成されるゲート部に送り出してこのゲート部で1枚に分離し、ゲート部を通過した紙葉類をその後流に配設されたベルトまたはローラ構成による搬送部へ受け渡してその搬送部により所定の箇所へ搬送するようにした紙葉類繰り出し装置が各種の紙葉類処理機において一般に用いられている。
ところで上記のような繰り出し装置の場合、キッカローラにより紙葉類をゲート部へ送り出そうとしても、紙葉類に十分な搬送力が与えられないという問題が起きることから、従来では紙葉類の送出を補助する手段を付設して上記問題点の解決を図るようにしたもの(特開平8−231072号公報)がある。
この公報に記載の繰り出し装置は、集積紙葉類の後端縁に接して紙葉類送出方向に回転するさばきローラを設け、このさばきローラの回転により集積紙葉類の後端縁を刺身状に繰り出し方向にずらし、集積紙葉類の前端を傾斜壁にそわせるようにしてフィードローラとゲート部材とによる1枚分離作用が確実に行われるようになされたものである。
特開平8−231072号公報
しかして取り扱う紙葉類が外国紙幣であるとき、国によってはその紙幣の長さに大きな差があり、例えばユーロ紙幣の場合、最短の紙幣の長さが120mmであるのに対し、最長の紙幣の長さは160mmというように著しい差がある。
このような長・短入り交じった紙幣を受け付ける紙幣入金機について考えると、ゲート部に対し紙幣の先端が揃っていないと繰り出し時に最上位の紙幣が繰り出されずに2枚目の紙幣が繰り出されてゲート部に進入することになり、その結果2枚繰出しが発生することになる。
これについては、小切手や手形等の帳票類を取り扱う繰り出し装置においても同様なことがいえる。
このような長さの異なる紙幣が混在する場合、前記公報に記載の繰り出し装置におけるさばきローラを用いても、短い紙幣の先端をゲート部へ至らしめて揃えることができず、やはり2枚同時送出の問題を解決することはできなかった。
本発明は上記従来の問題点を解消することを課題としてなされたもので、ステージ上に集積された紙葉類の位置の如何に拘わらず常に同じ条件で確実に1枚ずつ安定して繰り出すことを可能とする紙葉類繰り出し装置を提供することにある。
上記課題を解決する手段として本発明は、集積状態に支持される紙葉類を1枚ずつけり出すキッカローラと、前記キッカローラによりけり出された紙葉類を1枚に分離するゲート部と、紙葉類を繰り出し方向へ送る予備送出手段と、を備え、紙葉類の繰り出し動作開始時に前記予備送出手段により紙葉類を繰り出し方向に予備送出し、次いで予備送出された紙葉類を前記キッカローラによりけり出し、けり出された紙葉類を前記ゲート部へ進入させることを特徴とする。
こうしたことによりステージ上に繰り出し方向長さが異なる紙葉類が混在して集積されていたとしても、長さの短い紙葉類の前端とゲート部との間に間隔が空いていれば予備送出手段により前記間隔分送られるので紙葉類の前端がおかれている位置の如何に拘わらず確実に繰り出され、2枚同時送出が防がれる。
前記予備送出手段としては、可撓性に富む複数枚の羽根を有する羽根車で構成することが紙葉類に対し無用な過大搬送力を与えないので好ましい。
また、前記羽根車は、紙葉類に接して撓みながら回転し、その際に前記羽根の表面と紙葉類との摩擦力により紙葉類を繰り出し方向へ送るようになっていてもよい。
また、前記ゲート部は、周面に高摩擦部が形成されたフィードローラにより構成され、前記予備送出手段は、前記フィードローラの前記高摩擦部以外の低摩擦面に突き当たる状態まで紙葉類を予備送出するようになっていてもよい。
また、前記キッカローラの高摩擦部は紙葉類になじんで撓むようキッカローラ本体との間に空洞部を有して設けられた弾性部材で構成されていてもよい。このように、高摩擦部とローラ本体との間に空洞を設ければ、紙葉類によくなじんで良好な摩擦力を得ることができる。
また、前記フィードローラと協働してゲート部を構成する逆転ローラの前記ステージ側から上面域にかけて延び該逆転ローラに対し離間する方向に揺動自在に支持された可動ゲート部材を有し、先行紙葉類の先端が前記ゲート部へ進入したとき前記可動ゲート部材が揺動して2枚目以降の紙葉類を押し戻し、連れ出しを防ぐようになされていてもよい。このように、フィードローラと協働してゲート部を構成する逆転ローラの前記ステージ側から上面域にかけて延び該逆転ローラに対し離間する方向に揺動自在に支持された可動ゲート部材を設け、先行紙葉類の先端が前記ゲート部へ進入したとき前記可動ゲート部材が揺動して2枚目以降の紙葉類を押し戻すようにすれば、フィードローラによる紙葉類の繰り出し時に複数枚同時送出を排除することができる。
また、前記フィードローラと同軸上に全周が摩擦面とされワンウェイクラッチを内蔵したくわえ込みローラが設けられるとともに、このくわえ込みローラに対向して引き抜きローラが設けられていてもよい。このように、くわえ込みローラと引き抜きローラを付設すれば、ゲート部から出た紙葉類を搬送部へ確実に受け渡すことができる。
本発明の紙葉類繰り出し装置によれば、ステージ上に集積された紙葉類の位置の如何に拘わらず常に同じ条件で確実に1枚ずつ安定して繰り出すことができる。
本発明による紙葉類繰り出し装置の一実施形態を示す側面図。 同、平面図。 図1のA−A矢視図。 図1におけるキッカローラおよび予備送出手段部分の拡大図。 図1における可動ガイド部材の支持部分を示す半部の平面図。 可動ガイド部材の支持部を示し、(A)は非作動時、(B)は作動時の側面図。 (A)〜(C)は紙葉類の繰り出し作用を示す説明図。 (A)〜(C)は同、説明図。 (A)、(B)は同、説明図。 タイミングチャート。
以下、本発明を図面に示す実施の形態を参照して説明する。
図1は本発明による紙葉類繰り出し装置の一実施形態の側面図を示し、図2は同平面図を、図3は図1のA−A矢視図を示しており、以下の説明では繰り出し方向の長さが長い紙幣Paと短い紙幣Pbとが混在する紙幣Pを取り扱う場合を例示している。
まずローラ関係の概略について説明し、各ローラの回転方向を図中に矢印で示す。
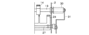
長短入り交じった紙幣Pを受け入れ公知のように紙幣の繰り出しに応じて順次上昇移動するステージ1の前端位置の上部で機枠2に軸支された軸3の軸方向中央位置に固定されるフィードローラ4と、上記軸3の直下位置で機枠2に軸支された軸5に固定され前記フィードローラ4と協働して1枚の紙幣のみの通過を許容するゲート部Gを構成するゲート部材としての逆転ローラ6と、前記フィードローラ4の両側部の軸3上にワンウェイクラッチ7を介して取り付けられ全周が摩擦面とされたゴム製ローラからなるくわえ込みローラ8,8と、これらくわえ込みローラ8,8の両側の軸3上に設けられ全周が滑面とされた金属製の上部ストッパローラ9,9と、前記逆転ローラ6の軸5上に固定され前記上部ストッパローラ9,9と対向し全周が滑面とされた金属製の下部ストッパローラ10,10と、前記くわえ込みローラ8,8の下部位置で機枠2に軸支された軸11上に設けられその周面が該くわえ込みローラ8,8の周面に当接された小径の引き抜きローラ12,12(ベアリング使用)と、前記フィードローラ4の後部直近位置で機枠2に軸支された軸13上に固定される2個のキッカローラ14,14と、このキッカローラ14,14の後部側の直近位置に設けられる予備送出手段15と、前記ゲート部Gの後流位置に配設され繰り出された紙幣Pを所定の箇所へ搬送する搬送部16の一部を構成する上下に対設された搬送ローラ17,18とを有している。
前記フィードローラ4は、その周面の略90°の範囲にゴム等の摩擦部材が埋め込まれてその表面で高摩擦部4aが形成され、この高摩擦部4a以外の周面は滑面の低摩擦面4bとされており、これら高摩擦部4aおよび低摩擦面4bは同一半径とされている。
上記フィードローラ4は図2にみられるように軸方向中央部および両側部が大径とされ、その間は小径とされた2条の溝を有する溝付きローラで、ステッピングモータMからベルト19を通じ(またはリンク機構を介して)図10にタイミングチャートを示すように1回転ずつ間欠回転されるようになっており、前記高摩擦部4aが真上に位置する図1示の状態が待機位置とされ、1回転で1枚の紙幣Pの送り出しを完了するとともに、低摩擦面4bは紙幣Pの進入を阻止するストッパとしての機能を果たすようになっている。
前記逆転ローラ6は、図10に示すように前記フィードローラ4の回転中の後半域の一部の期間のみ逆転して後続紙幣のくわえ込みを阻止するもので、図3にみられるように前記フィードローラ4の中央の大径部と対向する部分に溝を有し両側部がフィードローラ4の小径部に対向する大径部とされた溝付きローラで、これら大径部と小径部とで紙幣Pがやや波形状に変形して1枚分離が良好になされるように構成されている。
前記キッカローラ14は前記フィードローラ4とベルト19を通じて同期回転するもので、図4に当該部分を拡大示するように、ローラ本体14aの周面の一部が平坦状に削成された削落部14bを跨ぐように断面円弧状で表面に凹凸が形成されて高摩擦部14cとされたゴム等からなる摩擦部材14dが添設され、その両端の脚部14e,14eがローラ本体14aに埋め込まれて固着されており、この摩擦部材14dの内面とローラ本体14aの削落部14bとの間には空洞が形成されていて摩擦部材14dが若干撓めるようになっている。
前記予備送出手段15は弱い力で最上位の紙幣Pを繰り出し方向へ送る機能を有するもので、図示の実施形態では2個の羽根車15a,15aで構成されている。
この羽根車15aは、図4に拡大示されるように軸20に固定されるボス部15bの周面放射方向に複数枚(図示の例では8枚)の柔軟性に富むゴム等からなる細くて薄い羽根15c,15c…が突設されたもので、この羽根15c,15c…はステージ1が上昇位置におかれたときその上に集積されている集積紙幣Pの上面に接して撓みながら回転し、その際の羽根15cの表面と紙幣Pとの摩擦力により最上位の紙幣Pを繰り出し方向(図1において左方)へ送る機能を有する。
前記羽根車15a,15aの軸20上には、ステージ1上の集積紙幣Pが羽根車15a,15a、キッカローラ14,14、フィードローラ4に適度な力で押圧されているか否かを検知するための押圧検知レバー21が回転可能に取り付けられ、この押圧検知レバー21の斜め下方に延びる下端部に検知用ローラ22が軸着され、押圧検知レバー21の上端は押圧検知センサ23に関連されており、前記検知用ローラ22が集積紙幣Pにより過大に押し上げられたとき前記押圧検知レバー21の上端が押圧検知センサ23を作動させ、その信号によりステージ1の上昇移動を制御するようになっている。上記押圧検知センサ23としては、近接スイッチ、フォトインタラプタ等を用いることができる。
前記逆転ローラ6のステージ1側には可動ゲート部材である可動ゲートガイド24が設けられている。この可動ゲートガイド24は、図5に示すように側面よりみて逆転ローラ6の周面のステージ1側から上面に相当する位置にかけて延びるもので、この可動ゲートガイド24の基部が機枠2に軸支された揺動レバー26の軸27に取り付けられている。なお28は前記可動ゲートガイド24を逆転ローラ6側へ付勢するバネ、29は揺動レバー26の揺動限を定めるストッパである。
一方、前記キッカローラ14の軸13に固着されたブラケット30に連動レバー31の上端がピン32により枢支され、この連動レバー31の下端にはその長手方向に延びる長孔31aがあって、この長孔31aに前記揺動レバー26の他端の軸33が挿通されており、前記キッカローラ14の高摩擦部14cが図6(A)の状態から図6(B)のように回転し始めて紙幣Pの上面に接するまでの間に前記ピン32が下死点に到達して長孔31aの上端で軸33を押し下げ、前記揺動レバー26をバネ28に抗して図において時計方向に僅かに回動させ、可動ゲートガイド24が逆転ローラ6の周面位置から離反する方向へ揺動して、ゲート部Gへ進入しようとする2枚目以降の紙幣Pを若干押し戻し、重複送出が生じないようにしている。
前記くわえ込みローラ8,8はワンウェイクラッチ7,7を介して軸3に支持され、軸3が回転している間は前記引き抜きローラ12,12と協働して紙幣Pに搬送力を与え、軸3の停止後は後流側の搬送部16によって引き抜かれる紙幣Pを左右でグリップすることにより安定な搬送を確保するようになっている。
図1においてSはフィードローラ4の定位置を検知する定位置検知センサ、Sは紙幣Pの通過および異常繰り出しの検知を行う通過検知センサを示す。また34,35,35は紙幣Pのガイド板である。
次に上記実施形態の作用を図7〜図9を参照して説明する。
図7(A)は繰り出し動作開始前の状態(待機状態)を示し、この状態から繰り出し指令が与えられるとステッピングモータMが起動して搬送ローラ17,18、および予備送出手段15の羽根車15a,15aが矢印方向に連続回転する。
この羽根車15a,15aの回転でその羽根15c,15c…がステージ1上の集積紙幣Pの最上位の紙幣上面に撓みながら接し、その羽根15c,15c…による弱い摩擦力で最上位の紙幣Pが繰り出し方向へずり出され、その先端がフィードローラ4の低摩擦面4bへ突き当てられ、次いでゲート部Gへ至る(図7(B))。この作用は、予備送出手段15の存在により紙幣Pの長さの長短に拘わらず行われるので、短い紙幣Pbであってもその先端がフィードローラ4の低摩擦面4bに当たるまで送られる。
このゲート部Gへ至る紙幣Pの先端は、フィードローラ4および逆転ローラ6の各軸3,5上の上下のストッパローラ9,9,10,10の周面に当たって紙幣Pの先端の左右部が揃えられ、斜行が矯正されてゲート部Gに進入する。
またこの時点に至ると、キッカローラ14の回転に伴う連動レバー31の下降動により揺動レバー26が軸27を支点に図において時計方向に揺動し、これにより可動ゲートガイド24は図7(C)に示すようにステージ1側へ揺動して集積紙幣Pの先端を押し戻し、2枚目以降の紙幣Pがゲート部Gへ入り込むことを未然に防止する。
次いでキッカローラ14およびフィードローラ4の各高摩擦部14c,4aが共に紙幣Pに接し(図8(A))、最上位の紙幣Pを強い摩擦力でゲート部Gへ進入させる。このとき逆転ローラ6は逆方向(図において時計方向)に回転して2枚目以降の紙幣Pがゲート部Gへ進入することを阻止し、1枚のみを通過させる。またこのゲート部Gを出た紙幣Pの先端部分は、フィードローラ4と同軸上のくわえ込みローラ8,8と、これに対設される引き抜きローラ12,12との間にくわえ込まれて紙幣Pの送出に加担し、ゲート部Gをスムーズに通過させる(図8(B))。このとき可動ゲートガイドは元の位置に復帰している。
これらくわえ込みローラ8,8はワンウェイクラッチ7,7を介して軸3に支持されているので、軸3が回転している間は引き抜きローラ12,12と協働して紙幣Pに搬送力を与え、軸3が停止したのちは後流側の搬送部16によって引き抜かれる紙幣Pを左右でグリップすることになって安定した搬送に寄与する。
繰り出された紙幣Pの先端が前記くわえ込みローラ8,8と引き抜きローラ12,12との間にくわえ込まれて引き出されると通過検知センサSが紙幣Pの通過を検知し、枚数がカウントアップされる。
フィードローラ4およびキッカローラ14の各高摩擦部4a,14cが紙幣Pから離間する時期に至ると、その紙幣Pの先端は搬送部16の始端の搬送ローラ17,18間に受け渡され、その搬送ローラ17,18の搬送力により搬送部16へ送られる(図8(C))。
一方、その時期には繰り出された紙幣Pの後端は羽根車15a,15aの領域を通過し終わり、羽根車15a,15aの羽根15c,15c…は次位の紙幣Pの上面に接してその紙幣Pを前方へずり出し、予備送りがなされる。
したがって次位の紙幣が短い紙幣Pbであっても、先行の紙幣Pが繰り出されている間に羽根車15a,15aの羽根15c,15c…により前方へ送り出され、キッカローラ14およびフィードローラ4による繰り出しに支障のない位置まで予備送出がなされる(図9(A))。
そして先行の紙幣Pが搬送部16へ完全に受け渡された時点でフィードローラ4およびキッカローラ14は1回転を終了し、図9(B)の状態となって回転を停止し、図7(A)の状態に戻る。
上記の紙幣Pはそのまま引き抜かれて行き、搬送部16を経由して所定の箇所へ搬送され、1枚の送出が完了する。複数枚の紙幣Pを繰り出す場合は、1枚目の紙幣が搬送部16へ移行したことを通過検知センサSが検知したのち所定時間経過後2枚目の紙幣の繰り出し動作を開始し、以後指定された枚数が繰り出される。また紙幣Pの繰り出しの進行に合わせてステージ1が上昇し、ステージ1上の集積紙幣Pの上面が常に所定の位置に置かれるようステージ1の上昇移動が制御される。この位置の検知は、集積紙幣Pの上面で検知用ローラ22が押し上げられて押圧検知レバー21が揺動し、押圧検知センサ23を作動させることによりステージ1の上昇を停止させることで制御される。
各ローラの作動タイミングは、図10に示すタイミングチャートのように行われる。すなわち搬送ローラ17,18および予備送出手段15の羽根車15a,15aは、繰り出し枚数分連続回転し、キッカローラ14およびフィードローラ4には1枚送出するごとに回転を停止する間欠回転する。また可動ゲートガイド24は前述のように1枚の紙幣Pの先端がゲート部Gへ入った時点で揺動を開始し、入り終わった時点で復帰する。
逆転ローラ6は可動ゲートガイド24が復元した直後に逆転を開始し、キッカローラ14,フィードローラ4が紙幣Pを繰り出している間、継続して逆転している。
通過検知センサSは、紙幣Pの先端がゲート部Gを出た時点からその紙幣Pの後端が通過し終わるまでの間ONする。これにより紙幣Pの搬送状況を監視する。
なお図示の実施形態では、予備送出手段15に羽根車15aを用いた場合について示したが、よれよれの紙幣がたくられない程度に紙幣Pとの間で弱い摩擦力が得られるものであれば他にスポンジローラ、ブラシ状ローラ等であってもよい。また取り扱う紙葉類として長さの異なる紙幣が混在するものについて説明したが、長さの等しい紙幣に対しても使用することが可能であり、紙幣以外の例えば手形や小切手、その他の帳票類に適用し得ることはもちろんである。
1 ステージ
4 フィードローラ
4a 高摩擦部
4b 低摩擦面
6 ゲート部材としての逆転ローラ
8 くわえ込みローラ
9 上部ストッパローラ
10 下部ストッパローラ
12 引き抜きローラ
14 キッカローラ
14c 高摩擦部
15 予備送出手段
15a 予備送出手段としての羽根車
15c 羽根
16 搬送部
17、18 搬送ローラ
21 押圧検知レバー
23 押圧検知センサ
24 可動ゲート部材としての可動ゲートガイド

Claims (4)

  1. 集積状態に支持される紙葉類を1枚ずつけり出すキッカローラと、
    前記キッカローラによりけり出された紙葉類を1枚に分離するゲート部と、
    紙葉類を繰り出し方向へ送る予備送出手段と、
    を備え、
    紙葉類の繰り出し動作開始時に前記予備送出手段により紙葉類を繰り出し方向に予備送出し、次いで予備送出された紙葉類を前記キッカローラによりけり出し、けり出された紙葉類を前記ゲート部へ進入させることを特徴とする紙葉類繰り出し装置。
  2. 前記予備送出手段は、可撓性に富む複数枚の羽根を有する羽根車で構成されている請求項1記載の紙葉類繰り出し装置。
  3. 前記羽根車は、紙葉類に接して撓みながら回転し、その際に前記羽根の表面と紙葉類との摩擦力により紙葉類を繰り出し方向へ送る請求項2記載の紙葉類繰り出し装置。
  4. 前記ゲート部は、周面に高摩擦部が形成されたフィードローラにより構成され、前記予備送出手段は、前記フィードローラの前記高摩擦部以外の低摩擦面に突き当たる状態まで紙葉類を予備送出する請求項1〜3のいずれかいずれか1項記載の紙葉類繰り出し装置。
JP2010030245A 2010-02-15 2010-02-15 紙葉類繰り出し装置 Expired - Lifetime JP4902755B2 (ja)

Priority Applications (1)

Application Number Priority Date Filing Date Title
JP2010030245A JP4902755B2 (ja) 2010-02-15 2010-02-15 紙葉類繰り出し装置

Applications Claiming Priority (1)

Application Number Priority Date Filing Date Title
JP2010030245A JP4902755B2 (ja) 2010-02-15 2010-02-15 紙葉類繰り出し装置

Related Parent Applications (1)

Application Number Title Priority Date Filing Date
JP2001158179A Division JP2002347961A (ja) 2001-05-28 2001-05-28 紙葉類繰り出し装置

Publications (2)

Publication Number Publication Date
JP2010143767A true JP2010143767A (ja) 2010-07-01
JP4902755B2 JP4902755B2 (ja) 2012-03-21

Family

ID=42564588

Family Applications (1)

Application Number Title Priority Date Filing Date
JP2010030245A Expired - Lifetime JP4902755B2 (ja) 2010-02-15 2010-02-15 紙葉類繰り出し装置

Country Status (1)

Country Link
JP (1) JP4902755B2 (ja)

Cited By (1)

* Cited by examiner, † Cited by third party
Publication number Priority date Publication date Assignee Title
WO2015198768A1 (ja) * 2014-06-27 2015-12-30 日立オムロンターミナルソリューションズ株式会社 紙幣取扱装置

Citations (6)

* Cited by examiner, † Cited by third party
Publication number Priority date Publication date Assignee Title
JPS53102570A (en) * 1977-02-21 1978-09-06 Shukosha Kk Apparatus for preventing double feeding from stacked paper in apparatus for feeding paper
JPS625141A (ja) * 1985-07-02 1987-01-12 Omron Tateisi Electronics Co 温度計プロ−ブ
JPH08231072A (ja) * 1995-02-28 1996-09-10 Glory Ltd 紙葉類繰出し装置
JPH08310672A (ja) * 1995-05-10 1996-11-26 Omron Corp 媒体繰出し装置および媒体処理装置
JPH0912170A (ja) * 1995-06-30 1997-01-14 Fuji Electric Co Ltd シート繰り出し装置
JP2000339510A (ja) * 1999-05-31 2000-12-08 Glory Ltd 紙葉類繰り出し装置

Patent Citations (6)

* Cited by examiner, † Cited by third party
Publication number Priority date Publication date Assignee Title
JPS53102570A (en) * 1977-02-21 1978-09-06 Shukosha Kk Apparatus for preventing double feeding from stacked paper in apparatus for feeding paper
JPS625141A (ja) * 1985-07-02 1987-01-12 Omron Tateisi Electronics Co 温度計プロ−ブ
JPH08231072A (ja) * 1995-02-28 1996-09-10 Glory Ltd 紙葉類繰出し装置
JPH08310672A (ja) * 1995-05-10 1996-11-26 Omron Corp 媒体繰出し装置および媒体処理装置
JPH0912170A (ja) * 1995-06-30 1997-01-14 Fuji Electric Co Ltd シート繰り出し装置
JP2000339510A (ja) * 1999-05-31 2000-12-08 Glory Ltd 紙葉類繰り出し装置

Cited By (4)

* Cited by examiner, † Cited by third party
Publication number Priority date Publication date Assignee Title
WO2015198768A1 (ja) * 2014-06-27 2015-12-30 日立オムロンターミナルソリューションズ株式会社 紙幣取扱装置
JP2016012180A (ja) * 2014-06-27 2016-01-21 日立オムロンターミナルソリューションズ株式会社 紙幣取扱装置
CN105279839A (zh) * 2014-06-27 2016-01-27 日立欧姆龙金融系统有限公司 纸币处理装置
US9905071B2 (en) 2014-06-27 2018-02-27 Hitachi-Omron Terminal Solutions, Corp. Paper currency handling device

Also Published As

Publication number Publication date
JP4902755B2 (ja) 2012-03-21

Similar Documents

Publication Publication Date Title
CN101198533B (zh) 纸张类输送装置
JP2011079596A (ja) 紙葉類分離搬送装置
JP2006168895A (ja) 紙葉類集積機構
JP2007323130A (ja) 紙幣処理装置
JP5335480B2 (ja) 紙葉類集積装置
JP2002347961A (ja) 紙葉類繰り出し装置
JP4902755B2 (ja) 紙葉類繰り出し装置
JP2011011894A (ja) 紙葉類繰り出し機構
JP4334673B2 (ja) 紙葉類繰り出し装置
JP3573224B2 (ja) 紙葉類繰出し装置
JP3866090B2 (ja) 紙葉類繰り出し装置
JP4976246B2 (ja) シート処理装置
JP2004326371A (ja) コイン分離装置
JP4694321B2 (ja) 紙幣の整列搬送機構
JP2002160848A (ja) 用紙処理装置
JP2008044708A (ja) 紙葉類分離繰出機構
JP2004107079A (ja) 紙幣集積装置
JPH05132183A (ja) 紙葉類分離繰出し装置とその制御方法、および、これを用いる現金自動取引装置
JP4315235B2 (ja) 紙葉類集積機構
JP2005263355A (ja) シート処理装置
JPH028909Y2 (ja)
JP5148050B2 (ja) 紙葉類集積装置、および紙葉類処理装置
JP4255862B2 (ja) 自動用紙給紙装置
JP2011088753A (ja) キッカローラ
JP5439447B2 (ja) 紙葉類集積装置、および紙葉類処理装置

Legal Events

Date Code Title Description
A977 Report on retrieval

Free format text: JAPANESE INTERMEDIATE CODE: A971007

Effective date: 20110907

A131 Notification of reasons for refusal

Free format text: JAPANESE INTERMEDIATE CODE: A131

Effective date: 20110916

A521 Written amendment

Free format text: JAPANESE INTERMEDIATE CODE: A523

Effective date: 20111111

TRDD Decision of grant or rejection written
A01 Written decision to grant a patent or to grant a registration (utility model)

Free format text: JAPANESE INTERMEDIATE CODE: A01

Effective date: 20111202

A01 Written decision to grant a patent or to grant a registration (utility model)

Free format text: JAPANESE INTERMEDIATE CODE: A01

A61 First payment of annual fees (during grant procedure)

Free format text: JAPANESE INTERMEDIATE CODE: A61

Effective date: 20111228

R150 Certificate of patent or registration of utility model

Ref document number: 4902755

Country of ref document: JP

Free format text: JAPANESE INTERMEDIATE CODE: R150

Free format text: JAPANESE INTERMEDIATE CODE: R150

FPAY Renewal fee payment (event date is renewal date of database)

Free format text: PAYMENT UNTIL: 20150113

Year of fee payment: 3

EXPY Cancellation because of completion of term