JP2010143569A - 切換システム - Google Patents

切換システム Download PDF

Info

Publication number
JP2010143569A
JP2010143569A JP2009284711A JP2009284711A JP2010143569A JP 2010143569 A JP2010143569 A JP 2010143569A JP 2009284711 A JP2009284711 A JP 2009284711A JP 2009284711 A JP2009284711 A JP 2009284711A JP 2010143569 A JP2010143569 A JP 2010143569A
Authority
JP
Japan
Prior art keywords
switching
position control
control valve
pressure medium
piston
Prior art date
Legal status (The legal status is an assumption and is not a legal conclusion. Google has not performed a legal analysis and makes no representation as to the accuracy of the status listed.)
Pending
Application number
JP2009284711A
Other languages
English (en)
Inventor
Horst Leichsenring
ホルスト、ライヒゼンリング
Heinz Reichrt
ハインツ、ライヒェルト
Sylva Rother
シルバ、ローター
Current Assignee (The listed assignees may be inaccurate. Google has not performed a legal analysis and makes no representation or warranty as to the accuracy of the list.)
ZF Friedrichshafen AG
Original Assignee
ZF Friedrichshafen AG
Priority date (The priority date is an assumption and is not a legal conclusion. Google has not performed a legal analysis and makes no representation as to the accuracy of the date listed.)
Filing date
Publication date
Application filed by ZF Friedrichshafen AG filed Critical ZF Friedrichshafen AG
Publication of JP2010143569A publication Critical patent/JP2010143569A/ja
Pending legal-status Critical Current

Links

Images

Classifications

    • FMECHANICAL ENGINEERING; LIGHTING; HEATING; WEAPONS; BLASTING
    • F16ENGINEERING ELEMENTS AND UNITS; GENERAL MEASURES FOR PRODUCING AND MAINTAINING EFFECTIVE FUNCTIONING OF MACHINES OR INSTALLATIONS; THERMAL INSULATION IN GENERAL
    • F16HGEARING
    • F16H61/00Control functions within control units of change-speed- or reversing-gearings for conveying rotary motion ; Control of exclusively fluid gearing, friction gearing, gearings with endless flexible members or other particular types of gearing
    • F16H61/26Generation or transmission of movements for final actuating mechanisms
    • F16H61/28Generation or transmission of movements for final actuating mechanisms with at least one movement of the final actuating mechanism being caused by a non-mechanical force, e.g. power-assisted
    • F16H61/30Hydraulic or pneumatic motors or related fluid control means therefor
    • BPERFORMING OPERATIONS; TRANSPORTING
    • B60VEHICLES IN GENERAL
    • B60KARRANGEMENT OR MOUNTING OF PROPULSION UNITS OR OF TRANSMISSIONS IN VEHICLES; ARRANGEMENT OR MOUNTING OF PLURAL DIVERSE PRIME-MOVERS IN VEHICLES; AUXILIARY DRIVES FOR VEHICLES; INSTRUMENTATION OR DASHBOARDS FOR VEHICLES; ARRANGEMENTS IN CONNECTION WITH COOLING, AIR INTAKE, GAS EXHAUST OR FUEL SUPPLY OF PROPULSION UNITS IN VEHICLES
    • B60K17/00Arrangement or mounting of transmissions in vehicles
    • B60K17/34Arrangement or mounting of transmissions in vehicles for driving both front and rear wheels, e.g. four wheel drive vehicles
    • B60K17/344Arrangement or mounting of transmissions in vehicles for driving both front and rear wheels, e.g. four wheel drive vehicles having a transfer gear
    • B60K17/346Arrangement or mounting of transmissions in vehicles for driving both front and rear wheels, e.g. four wheel drive vehicles having a transfer gear the transfer gear being a differential gear
    • B60K17/3467Arrangement or mounting of transmissions in vehicles for driving both front and rear wheels, e.g. four wheel drive vehicles having a transfer gear the transfer gear being a differential gear combined with a change speed gearing, e.g. range gear
    • BPERFORMING OPERATIONS; TRANSPORTING
    • B60VEHICLES IN GENERAL
    • B60KARRANGEMENT OR MOUNTING OF PROPULSION UNITS OR OF TRANSMISSIONS IN VEHICLES; ARRANGEMENT OR MOUNTING OF PLURAL DIVERSE PRIME-MOVERS IN VEHICLES; AUXILIARY DRIVES FOR VEHICLES; INSTRUMENTATION OR DASHBOARDS FOR VEHICLES; ARRANGEMENTS IN CONNECTION WITH COOLING, AIR INTAKE, GAS EXHAUST OR FUEL SUPPLY OF PROPULSION UNITS IN VEHICLES
    • B60K23/00Arrangement or mounting of control devices for vehicle transmissions, or parts thereof, not otherwise provided for
    • B60K23/08Arrangement or mounting of control devices for vehicle transmissions, or parts thereof, not otherwise provided for for changing number of driven wheels, for switching from driving one axle to driving two or more axles
    • FMECHANICAL ENGINEERING; LIGHTING; HEATING; WEAPONS; BLASTING
    • F16ENGINEERING ELEMENTS AND UNITS; GENERAL MEASURES FOR PRODUCING AND MAINTAINING EFFECTIVE FUNCTIONING OF MACHINES OR INSTALLATIONS; THERMAL INSULATION IN GENERAL
    • F16HGEARING
    • F16H61/00Control functions within control units of change-speed- or reversing-gearings for conveying rotary motion ; Control of exclusively fluid gearing, friction gearing, gearings with endless flexible members or other particular types of gearing
    • F16H61/26Generation or transmission of movements for final actuating mechanisms
    • F16H61/28Generation or transmission of movements for final actuating mechanisms with at least one movement of the final actuating mechanism being caused by a non-mechanical force, e.g. power-assisted
    • F16H2061/2869Cam or crank gearing
    • FMECHANICAL ENGINEERING; LIGHTING; HEATING; WEAPONS; BLASTING
    • F16ENGINEERING ELEMENTS AND UNITS; GENERAL MEASURES FOR PRODUCING AND MAINTAINING EFFECTIVE FUNCTIONING OF MACHINES OR INSTALLATIONS; THERMAL INSULATION IN GENERAL
    • F16HGEARING
    • F16H63/00Control outputs from the control unit to change-speed- or reversing-gearings for conveying rotary motion or to other devices than the final output mechanism
    • F16H63/02Final output mechanisms therefor; Actuating means for the final output mechanisms
    • F16H63/08Multiple final output mechanisms being moved by a single common final actuating mechanism
    • F16H63/16Multiple final output mechanisms being moved by a single common final actuating mechanism the final output mechanisms being successively actuated by progressive movement of the final actuating mechanism
    • F16H63/18Multiple final output mechanisms being moved by a single common final actuating mechanism the final output mechanisms being successively actuated by progressive movement of the final actuating mechanism the final actuating mechanism comprising cams
    • YGENERAL TAGGING OF NEW TECHNOLOGICAL DEVELOPMENTS; GENERAL TAGGING OF CROSS-SECTIONAL TECHNOLOGIES SPANNING OVER SEVERAL SECTIONS OF THE IPC; TECHNICAL SUBJECTS COVERED BY FORMER USPC CROSS-REFERENCE ART COLLECTIONS [XRACs] AND DIGESTS
    • Y10TECHNICAL SUBJECTS COVERED BY FORMER USPC
    • Y10TTECHNICAL SUBJECTS COVERED BY FORMER US CLASSIFICATION
    • Y10T74/00Machine element or mechanism
    • Y10T74/20Control lever and linkage systems
    • Y10T74/20012Multiple controlled elements
    • Y10T74/20018Transmission control
    • Y10T74/20024Fluid actuator

Landscapes

  • Engineering & Computer Science (AREA)
  • Mechanical Engineering (AREA)
  • General Engineering & Computer Science (AREA)
  • Chemical & Material Sciences (AREA)
  • Combustion & Propulsion (AREA)
  • Transportation (AREA)
  • Arrangement And Mounting Of Devices That Control Transmission Of Motive Force (AREA)
  • Arrangement And Driving Of Transmission Devices (AREA)
  • Transmission Devices (AREA)

Abstract

【課題】全輪駆動車のためのメインギヤ内に設けられた分配ギヤを切り換えるための切換システムであって、切換装置の操作が簡単な態様で最小限の構造部品でコスト的にも有利に実現できる、という切換システムを提供すること。
【解決手段】本発明は、全輪駆動車のためのメインギヤ内に設けられた分配ギヤを切り換えるための切換システムであって、少なくとも一つの操作可能な切換装置を備えており、当該切換装置は、異なる切換位置(2WD/high、4WD/high、4WD/low)の投入のために、シリンダ(2)内で移動可能な少なくとも一つのピストン(1)を介して、油圧式に作動可能であることを特徴とする切換システムである。
【選択図】図1

Description

本発明は、特許請求の範囲の請求項1の上位概念部分に詳しく規定されたタイプに従う、全輪駆動車のためのメインギヤ内に設けられた分配ギヤを切り換えるための切換システムに関する。
例えば、DE60204624T2から、自動車の分配ギヤのための切換制御システムが知られている。当該分配ギヤは、制御可能な2方向クラッチシステムを有している。前記切換システムは、様々な速度領域及び駆動モードを調整(投入)するべく、当該クラッチシステムを制御する。個々の駆動モード間での当該クラッチシステムの切換を制御するために、電気的に作動されるアクチュエータが、切換システムにおいて利用される。
別の公知の切換システムにおいては、二輪駆動と四輪駆動との間での切換、並びに、様々なギヤ比間での切換が、電気モータを介して行われる。当該電気モータは、対応するように、切換装置を作動させる。電気モータを介しての作動は、しかしながら、以下のような欠点を有する。すなわち、必要な電力が一般には高コストであり、製造に関しても高コストで、故障も生じやすい。さらに、二輪駆動と四輪駆動との間での同期のために十分な切換力を提供するために、高いギヤ比が必要である。
本発明の課題は、当該明細書の導入部分で述べたような類の、全輪駆動車のためのメインギヤ内に設けられた分配ギヤを切り換えるための切換システムであって、切換装置の操作が簡単な態様で最小限の構造部品でコスト的にも有利に実現できる、という切換システムを提供することである。
本発明の課題は、特許請求の範囲の請求項1に記載された特徴によって解決される。更なる有利な実施の形態が、下位請求項や図面から理解される。
本発明によれば、全輪駆動車のためのメインギヤ内に設けられた分配ギヤを切り換えるための切換システムであって、少なくとも一つの操作可能な切換装置乃至その等価物を備えており、当該切換装置乃至その等価物は、異なる切換位置の投入のために、ハウジングまたはシリンダ内で移動可能な少なくとも一つのピストン乃至その等価物を介して、油圧式に作動可能であることを特徴とする切換システムが提供される。油圧を利用することによって、切換装置そして分配ギヤの制御のための高い切換力と特に短い切換時間とが、実現され得る。さらに、本発明の切換システムによれば、単一のピストンを利用することによって、頑丈かつ簡単に形成される構造(構造部品)が提供される。これにより、メンテナンスフリーで信頼性のある装置運転が実現できる。
本発明の特に有利な実施の形態では、ピストンは、少なくとも2つの複数位置制御弁(Mehrwegeventile: multiway valve)乃至その等価物を介して、制御可能であり、当該少なくとも2つの複数位置制御弁は、前記メインギヤの圧力媒体供給部(5)を介して、供給可能である。この態様では、すでに存在するメインギヤの油圧システムを、全輪分配制御に利用することができる。当該制御の簡単な構成に基づいて、有利な態様では、ピストンの制御のために単一弁(Einfachventile)が利用され得る。
本発明によって提供される一体型の全輪分配ギヤの油圧式の切換においては、例えば、前記ピストンは、ディスクカム乃至その等価物を介して、前記切換装置の切換フォークと作用結合可能であり、二輪駆動と四輪駆動との間の選択のための例えば同期クラッチを操作すべく、及び/または、所望のギヤ比投入のためのドグクラッチ乃至その等価物を操作すべく、前記切換フォークを制御するために、前記ピストンの平行移動が、結合ピンを介して、ディスクカムの開口内において、ディスクカムの回転運動に変換可能である。本発明による切換システムを介して制御可能な他の実施形態の切換装置もまた、可能である。
本発明の最新の実施形態によれば、複数位置制御弁としては、例えば、少なくとも一つの第一の2位置制御弁と、少なくとも一つの第二の2位置制御弁と、が設けられ得る。切換装置を操作するための所望の切換位置を実現するために、別の弁態様も利用可能である。例えば、2つの単一弁(Einfachventile)を、高コストに形成される一つの弁で、置換することも可能である。
好ましくは、第一切換位置は、前記双方の2位置制御弁の基本位置で実現され得る。第一切換位置の状態において、ピストンは、シリンダ室内の右側の端部位置にもたらされる。例えば、これは、圧力媒体が、メインギヤの圧力媒体供給部から前記双方の2位置制御弁の圧力媒体ポートを介して左側のシリンダ室内に導入可能であることによって、達成され得る。これによって、ピストンが、右側の端部位置にもたらされ、必要によっては当該位置に保持される。
第二切換位置では、ピストンは例えばシリンダ室内の中央位置にある。当該第二切換位置は、第一の2位置制御弁が第二の2位置制御弁に対して、圧力媒体ポートを介して圧力媒体が左側のシリンダ室内にも右側のシリンダ室内にも導入可能である、というように移動されることによって、達成され得る。これによって、ピストンが、中央位置にもたらされ、必要によっては当該位置に保持される。
次に、第三切換位置では、ピストンはシリンダ室内の左側の端部位置にある。当該第三切換位置は、第二の2位置制御弁をも、圧力媒体ポートを介して圧力媒体が右側のシリンダ室内に導入可能である、というように移動されることによって、達成され得る。これによって、ピストンが、左側の端部位置にもたらされ、必要によっては当該位置に保持される。
ピストンを前述の各位置に保持するために、例えば、機械的なストッパ装置(Rastierung)乃至その等価物が、ディスクカム上に設けられ得る。これによれば、油圧式の制御は、圧力フリーに切り換えられ得る(遮断され得る)、という利点が生じる。有利な態様では、当該ストッパ装置は、切換装置の制御のための圧力媒体供給部の導通及び遮断のために、追加の複数位置制御弁と組み合わせられ得る。好ましくは、切換装置の切り換えが必要とされない時に、第一の2位置制御弁及び第二の2位置制御弁のための圧力媒体供給部を遮断するために、当該追加の複数位置制御弁は別の(前記の)複数位置制御弁に対して前置され得る。これにより、全体の油圧式の切換システムが、圧力フリーに切り換えられ得る。これによって、不必要な漏れや構造部材負荷が回避される。
各所定時において切換装置の位置を検知可能であるために、例えば、センサ装置乃至その等価物が、ディスクカムの回転角度を検出するために設けられ得る。
以下、本発明は、図面に基づいてより詳細に説明される。
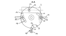
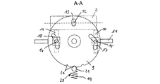
本発明による切換システムの一実施の形態における第一切換位置の概略図である。 本発明による切換システムの他の実施の形態における第一切換位置の概略図である。 図1のA−A線による断面図である。 本発明による切換システムの第二切換位置の概略図である。 図3のA−A線による断面図である。 本発明による切換システムの第三切換位置の概略図である。 図5のA−A線による断面図である。
図1及び図1Aには、本発明による切換システムの2つの異なる実施の形態が、例示的に示されている。それらは、第一切換位置2WD/highの状態で示されている。図3乃至図6は、図1による切換システムの実施の形態において、更に可能性のある切換装置の切換位置4WD/highと4WD/lowとを示している。
それぞれの実施の形態に依存して、本発明による切換システムは、操作可能な切換装置を備えている。当該切換装置によって、全輪駆動車のためのメインギヤ内に設けられた分配ギヤが、切り換えられ得る。切換装置の操作のために、油圧式に作動可能なアクチュエータシステムが設けられている。当該アクチュエータシステムは、本質的に、ピストン1を有しており、当該ピストン1は、シリンダ2内において移動可能に配置されている。
ピストン1の油圧式の制御のために、シリンダ2(ピストン1)は、第一の2位置制御弁3と、第二の2位置制御弁4と、を介して、図示されないメインギヤの圧力媒体供給部5と結合されている。圧力媒体供給部5は、特に、圧力媒体ポンプ6を有している。双方の2位置制御弁3、4を介して、シリンダ内部室7は、所望の切換位置にそれぞれ対応するような態様で圧力媒体で加圧される。シリンダ内部室7の中では、それに応じて、ピストン1が移動される。これにより、切換装置の3つの異なる切換位置2WD/high、4WD/high、4WD/lowを調整することが可能である。3つの異なる切換位置は、ここでは、ピストン1の両端位置と中央位置となっている。
図1Aに図示された実施の形態と異なり、図1に図示された実施の形態では、更なる2位置制御弁8が設けられている。これにより、切換装置の制御のための圧力媒体供給部5を導通及び遮断することが可能である。そのために、追加の2位置制御弁8は、双方の2位置制御弁3、4に対して前置される。この態様では、切換位置の変更が何ら所望されない時において、全体の切換システムが圧力フリーに切り換えられ得る。追加の2位置制御弁8は、また、図2乃至図6に図示された切換システムにおいても、設けられ得る。簡単のために、それらは図示されていない。あるいは、追加の2位置制御弁8を省略することもできる。簡単のために、それらは図示されていない。
ピストン1は、ディスクカム9を介して、切換装置の第一切換フォーク10と第二切換フォーク11とに結合されている。ピストン1の平行移動が、結合ピン12を介して、ディスクカム9の開口13内において、ディスクカム9の回転運動に変換される。双方の切換フォーク10、11は、案内ロッド14上で、軸方向に移動可能に支持されている。この態様では、ディスクカム9は、それぞれの切換フォーク10、11を、その回転角度に依存して対応するように制御できる。これにより、クローラーギヤ比の無い二輪駆動(2WD/high)とクローラーギヤ比の無い四輪駆動(4WD/high)との間の選択のため、ないし、ギヤ比の追加的な選択のため、例えば、四輪駆動(4WD/low)のクローラーギヤ比への選択のために、分配ギヤが切り換えられ得る。二輪駆動(2WD/high)と四輪駆動(4WD/high)との間を切り換えるために、同期クラッチが、割り当てられた第一切換フォーク10を介して操作され得る。ギヤ比(4WD/low)の変更のためには、割り当てられた第二切換フォーク11を介して、ドグクラッチが操作され得る。ドグクラッチは、図には示されていない。以上のように提案される制御は、切換装置のそれぞれの実施の形態に依存する。
切換フォーク10、11は、ディスクカム9の割り当てられた案内溝17、18内で対応するピン15,16を介して案内される。これによって、切換フォーク10、11の対応する移動が、ディスクカム9の回転角度に依存して可能となる。このため、ディスクカム9の回転移動によって、案内ロッド14に沿った切換フォーク10、11の対応する軸方向移動が実現される。
ディスクカム9をそれぞれの切換位置に保持させるために、機械的なストッパ装置28が設けられている。このストッパ装置28は、圧力バネ19を介して対応する開口部20内に保持されるボール21を有している。複数の開口部20が、ピストン1の各切換位置に対応付けられている。従って、ディスクカム9の位置は、当該ストッパ装置28を介して、機械的に固定される。この状態で、圧力媒体供給部5は、追加の2位置制御弁8によって遮断され得る。これにより、切換システムは、圧力フリーになるが、ディスクカム9、従って、切換フォーク10、11は、ストッパ装置28によって、それらの所定位置に保持される。追加の2位置制御弁8は、例えば、電気的に制御され得る。これにより、圧力媒体供給部5の導通のための位置と遮断のための位置との間で、切り換えられ得る。所望の切換位置が達成された時、追加の2位置制御弁8は、図1、図3及び図5における矢印の方向に移動され得る。これにより、圧力媒体供給部5が遮断される。もっとも、他の制御態様も採用可能である。
第一切換位置2WD/highは、図1に示されるように、追加の2位置制御弁8がまず圧力媒体供給部5を導通することによって、達成される。この状態では、第一の2位置制御弁3と第二の2位置制御弁4とが、それらの基本位置にある。この場合、双方の2位置制御弁3、4の圧力媒体ポートは、以下のように互いに対応付けられいる。すなわち、圧力媒体がメインギヤの圧力媒体供給部5から圧力媒体経路22を介して左側のシリンダ内部室7内に案内される、というように対応付けられている。これにより、ピストン1が、圧力媒体の加圧力によって、シリンダ内部室7の右側の端部位置に移動される。このような第一切換位置2WD/highは、図2に示されたディスクカム9及び切換フォーク10、11の位置に対応している。これにより、クローラーギヤ比の無い自動車についての二輪駆動を切り換えることができる。ここで、ディスクカム9と切換フォーク10、11とは、作用結合している。
図3には、第二切換位置4WD/highの切換装置が示されている。この場合、ピストン1は、シリンダ内部室7の中央位置にある。このような第二切換位置4WD/highを達成するために、圧力媒体は、メインギヤの圧力媒体供給部5から、導通された追加の2位置制御弁8を介して、双方の2位置制御弁3、4に案内される。このような第二切換位置4WD/highでは、第一の2位置制御弁3が以下のように移動されることが必要である。すなわち、双方の2位置制御弁3、4の圧力媒体ポートが、圧力媒体が圧力媒体経路22を介して左側のシリンダ内部室7内に案内されると共に別の圧力媒体経路23を介して右側のシリンダ内部室7内にも案内される、というように対応付けられる、ように移動される必要がある。この態様により、ピストン1がシリンダ内部室7の中央一にもたらされる。このような第二切換位置4WD/highは、図4に示されたディスクカム9及び切換フォーク10、11の位置に対応している。第二切換位置4WD/highでは、クローラーギヤ比の無い四輪駆動が、分配ギヤにおいて、ないし、自動車において、切り換えられる。
図5には、可能性ある第三切換位置4WD/lowの切換装置が示されている。このような第三切換位置4WD/lowを達成するために、第二の2位置制御弁4が以下のように移動される。すなわち、双方の2位置制御弁3、4の圧力媒体ポートが、メインギヤの圧力媒体供給部5からの圧力媒体が圧力媒体経路23を介して右側のシリンダ内部室7内に到達する、というように対応付けられるように移動される。圧力媒体の加圧力によって、ピストン1は、シリンダ内部室7の左側の端部位置にもたらされる。このような第三切換位置4WD/lowは、図6に示されたディスクカム9及び切換フォーク10、11の位置に対応している。第三切換位置4WD/lowでは、自動車の改善されたオフロード運転のための、クローラーギヤ比を有する四輪駆動が切り換えられる。
前述の各切換位置2WD/high、4WD/high、4WD/lowをシリンダ室内のピストン1によって調整可能とするべく、排気経路24、25が設けられている。それらには、好ましくは、それぞれ、スロットル(絞り)26、27が設けられる。
切換装置のそれぞれの実際の切換位置2WD/high、4WD/high、4WD/lowを検知するために、センサ装置29例えば回転角度センサないしその等価物が設けられることは、図1、図1A、図3及び図5から明らかである。
1 ピストン
2 シリンダ
3 第一の2位置制御弁
4 第二の2位置制御弁
5 メインギヤの圧力媒体供給部
6 圧力媒体ポンプ
7 シリンダ内部室
8 追加の2位置制御弁
9 ディスクカム
10 第一切換フォーク
11 第二切換フォーク
13 開口
14 案内ロッド
15 ピン
16 ピン
17 案内溝
18 案内溝
19 圧力バネ
20 開口部
21 ボール
22 圧力媒体経路
23 圧力媒体経路
24 排気経路
25 排気経路
26 スロットル
27 スロットル
28 ストッパ装置
29 センサ装置

Claims (11)

  1. 全輪駆動車のためのメインギヤ内に設けられた分配ギヤを切り換えるための切換システムであって、
    少なくとも一つの操作可能な切換装置を備えており、
    当該切換装置は、異なる切換位置(2WD/high、4WD/high、4WD/low)の投入のために、シリンダ(2)内で移動可能な少なくとも一つのピストン(1)を介して、油圧式に作動可能である
    ことを特徴とする切換システム。
  2. 前記ピストン(1)は、少なくとも2つの複数位置制御弁(Mehrwegeventile:multiway valve)を介して、制御可能であり、
    前記少なくとも2つの複数位置制御弁は、前記メインギヤの圧力媒体供給部(5)を介して、供給可能である
    ことを特徴とする請求項1に記載の切換システム。
  3. 前記ピストン(1)は、ディスクカム(9)を介して、前記切換装置の切換フォーク(10、11)と作用結合しており、
    二輪駆動(2WD/high)と四輪駆動(4WD/high)との間の選択のためのクラッチを操作すべく、及び/または、所望のギヤ比投入のためのドグクラッチを操作すべく、前記切換フォーク(10、11)を制御するために、前記ピストン(1)の平行移動が、結合ピン(12)を介して、ディスクカム(9)の開口(13)内において、ディスクカム(9)の回転運動に変換可能である
    ことを特徴とする請求項1または2に記載の切換システム。
  4. ピストン(1)を、前記切換装置の異なる切換位置(2WD/high、4WD/high、4WD/low)に対応する複数の所定位置にそれぞれ調整するために、複数位置制御弁としては、少なくとも一つの第一の2位置制御弁(3)と、少なくとも一つの第二の2位置制御弁(4)と、が設けられている
    ことを特徴とする請求項2または3に記載の切換システム。
  5. 切換装置の第一切換位置(2WD/high)の投入のためには、前記双方の2位置制御弁(3、4)は、それらの基本位置に配置されていて、圧力媒体は、圧力媒体供給部(5)から前記双方の2位置制御弁(3、4)の圧力媒体ポートを介して左側のシリンダ室(7)内に導入可能であり、ピストン(1)をシリンダ室(7)内の右側の端部位置にもたらすようになっている
    ことを特徴とする請求項4に記載の切換システム。
  6. 切換装置の第二切換位置(4WD/high)の投入のためには、第一の2位置制御弁(3)が第二の2位置制御弁(4)に対して、圧力媒体ポートを介して圧力媒体が左側のシリンダ室(7)内にも右側のシリンダ室(7)内にも導入可能である、というように移動されていて、ピストン(1)をシリンダ室(7)内の中央位置にもたらすようになっている
    ことを特徴とする請求項4または5に記載の切換システム。
  7. 切換装置の第三切換位置(4WD/low)の投入のためには、第二の2位置制御弁(4)をも、圧力媒体ポートを介して圧力媒体が右側のシリンダ室(7)内に導入可能である、というように移動されていて、ピストン(1)をシリンダ室(7)内の左側の端部位置にもたらすようになっている
    ことを特徴とする請求項4乃至6のいずれかに記載の切換システム。
  8. 機械的なストッパ装置(Rastierung)(28)が、ディスクカム(9)の回転角度を検出するために設けられている
    ことを特徴とする請求項1乃至7のいずれかに記載の切換システム。
  9. センサ装置(29)が、ディスクカム(9)の回転角度を検出するために設けられている
    ことを特徴とする請求項1乃至8のいずれかに記載の切換システム。
  10. 追加の複数位置制御弁が、切換装置の制御のための圧力媒体供給部(5)の導通及び遮断のために設けられている
    ことを特徴とする請求項1乃至9のいずれかに記載の切換システム。
  11. 追加の複数位置制御弁は、2位置制御弁(8)として構成されており、
    当該追加の2位置制御弁(8)は、第一の2位置制御弁(3)及び第二の2位置制御弁(4)に対して前置されている
    ことを特徴とする請求項10に記載の切換システム。
JP2009284711A 2008-12-19 2009-12-16 切換システム Pending JP2010143569A (ja)

Applications Claiming Priority (1)

Application Number Priority Date Filing Date Title
DE102008054977.0A DE102008054977B4 (de) 2008-12-19 2008-12-19 Schaltanordnung

Publications (1)

Publication Number Publication Date
JP2010143569A true JP2010143569A (ja) 2010-07-01

Family

ID=42243411

Family Applications (1)

Application Number Title Priority Date Filing Date
JP2009284711A Pending JP2010143569A (ja) 2008-12-19 2009-12-16 切換システム

Country Status (3)

Country Link
US (1) US20100154576A1 (ja)
JP (1) JP2010143569A (ja)
DE (1) DE102008054977B4 (ja)

Cited By (1)

* Cited by examiner, † Cited by third party
Publication number Priority date Publication date Assignee Title
RU188504U1 (ru) * 2018-12-28 2019-04-16 федеральное государственное бюджетное образовательное учреждение высшего образования "Московский государственный технический университет имени Н.Э. Баумана (национальный исследовательский университет)" (МГТУ им. Н.Э. Баумана) Привод управления раздаточной коробки колесного мотовездехода распределительным валом с двойным шнековым механизмом

Families Citing this family (4)

* Cited by examiner, † Cited by third party
Publication number Priority date Publication date Assignee Title
DE102014206382A1 (de) * 2014-04-03 2015-10-08 Zf Friedrichshafen Ag Schaltbares Getriebe für ein landwirtschaftliches Fahrzeug
US10343519B2 (en) * 2016-06-23 2019-07-09 Dana Heavy Vehicle Systems Group, Llc Mechanical shift assembly for a shiftable tandem drive axle
CN106274746B (zh) * 2016-08-31 2018-12-25 北汽福田汽车股份有限公司 四驱卡车的控制系统及四驱卡车
US12024020B2 (en) * 2019-08-28 2024-07-02 Nissan Motor Co., Ltd. Power transmission device

Citations (9)

* Cited by examiner, † Cited by third party
Publication number Priority date Publication date Assignee Title
JPS61175349A (ja) * 1985-01-30 1986-08-07 Iseki & Co Ltd 変速操作装置
JPS6225223U (ja) * 1985-07-30 1987-02-16
JPS6227734Y2 (ja) * 1979-07-19 1987-07-16
JPS6313545Y2 (ja) * 1982-02-23 1988-04-18
JPH032689B2 (ja) * 1985-12-23 1991-01-16 Daihatsu Motor Co Ltd
JPH0318773Y2 (ja) * 1985-06-05 1991-04-19
JPH0460844B2 (ja) * 1986-04-17 1992-09-29 Toyota Motor Co Ltd
JPH0660697B2 (ja) * 1985-12-30 1994-08-10 ヘルビガー・ヴェンティールヴェルケ・アクチェンゲゼルシャフト 5ポ−ト3位置方向制御弁ユニツト
JPH1016590A (ja) * 1996-07-05 1998-01-20 Mitsubishi Motors Corp 操作装置及び車両用動力伝達装置の切換え操作装置

Family Cites Families (9)

* Cited by examiner, † Cited by third party
Publication number Priority date Publication date Assignee Title
US3688596A (en) * 1969-06-17 1972-09-05 Imre Szodfridt Shifting mechanism for multi-speed transmission
AU3380478A (en) * 1977-03-06 1979-09-06 Rosenberg P Steppable mechanism and valves including same
US4475695A (en) * 1982-12-13 1984-10-09 Burr Oak Tool & Gauge Company Power assist uncoiler
US5443429A (en) * 1993-11-30 1995-08-22 Dana Corporation Automatic powershifting transfer case for a vehicle
US6079535A (en) * 1999-04-01 2000-06-27 New Venture Gear, Inc. Transfer case with disconnectable transfer clutch
EP1132661B1 (en) * 2000-03-10 2004-03-17 Honda Giken Kogyo Kabushiki Kaisha Method and apparatus for controlling gear-shift of motor-driven gear shifter
US6629474B2 (en) * 2001-04-27 2003-10-07 New Venture Gear, Inc. On-demand transfer case with controllable bi-directional overrunning clutch assembly
US7601095B2 (en) * 2005-07-20 2009-10-13 Kanzaki Kokyukoki Mfg. Co., Ltd. Vehicle
US8647225B2 (en) * 2007-11-29 2014-02-11 Ford Global Technologies, Llc Transfer case for a motor vehicle powertrain

Patent Citations (9)

* Cited by examiner, † Cited by third party
Publication number Priority date Publication date Assignee Title
JPS6227734Y2 (ja) * 1979-07-19 1987-07-16
JPS6313545Y2 (ja) * 1982-02-23 1988-04-18
JPS61175349A (ja) * 1985-01-30 1986-08-07 Iseki & Co Ltd 変速操作装置
JPH0318773Y2 (ja) * 1985-06-05 1991-04-19
JPS6225223U (ja) * 1985-07-30 1987-02-16
JPH032689B2 (ja) * 1985-12-23 1991-01-16 Daihatsu Motor Co Ltd
JPH0660697B2 (ja) * 1985-12-30 1994-08-10 ヘルビガー・ヴェンティールヴェルケ・アクチェンゲゼルシャフト 5ポ−ト3位置方向制御弁ユニツト
JPH0460844B2 (ja) * 1986-04-17 1992-09-29 Toyota Motor Co Ltd
JPH1016590A (ja) * 1996-07-05 1998-01-20 Mitsubishi Motors Corp 操作装置及び車両用動力伝達装置の切換え操作装置

Cited By (1)

* Cited by examiner, † Cited by third party
Publication number Priority date Publication date Assignee Title
RU188504U1 (ru) * 2018-12-28 2019-04-16 федеральное государственное бюджетное образовательное учреждение высшего образования "Московский государственный технический университет имени Н.Э. Баумана (национальный исследовательский университет)" (МГТУ им. Н.Э. Баумана) Привод управления раздаточной коробки колесного мотовездехода распределительным валом с двойным шнековым механизмом

Also Published As

Publication number Publication date
DE102008054977A1 (de) 2010-07-15
US20100154576A1 (en) 2010-06-24
DE102008054977B4 (de) 2014-01-23

Similar Documents

Publication Publication Date Title
US9435384B2 (en) Actuator arrangement for a motor vehicle train
US9309968B2 (en) Shift arrangement for a motor vehicle gearbox
JP2010143569A (ja) 切換システム
CN102713368A (zh) 用于自动变速器的快速阀致动系统
EP3099569B1 (en) A hydraulic system for a vehicle
US20020148310A1 (en) Hydraulic control system of automated manual transmission
US6319164B1 (en) Electro-hydraulic control with a manual selection valve
CN105121915A (zh) 用于切换和控制变速器的功能单元
CN103660932A (zh) 四轮驱动车辆
KR20070103440A (ko) 변속기용 시프팅 장치
EP1222415B1 (en) Gear box mechanism
CN202326487U (zh) 换向阀以及多路换向阀
JPH08109905A (ja) 多段ストロークシリンダ制御装置とそれを用いた自動変速機用油圧制御装置
JPH0868463A (ja) 多段ストロークシリンダ装置とそれを用いた自動変速機用油圧制御装置
JP2019056408A (ja) シフト制御装置
CN113748280B (zh) 自动化的换挡传动装置
KR102241482B1 (ko) 클러치 작동을 위한 기어 셀렉터 드럼을 통해 작동될 수 있는 마스터 실린더를 구비한 작동 장치
JP6594386B2 (ja) シフト制御装置
CN106051148A (zh) 液压式变速器致动器
JPH084897A (ja) 空圧式変速機のギアシフティング装置
JP6767911B2 (ja) シフト制御装置
JP2004316862A (ja) 車輌のレンジ切換え装置
CN111315999A (zh) 阀、液压系统和机动车辆变速器
JPH0670462B2 (ja) 自動変速機の油圧制御装置
JP2019070434A (ja) シフト・バイ・ワイヤ装置

Legal Events

Date Code Title Description
RD03 Notification of appointment of power of attorney

Free format text: JAPANESE INTERMEDIATE CODE: A7423

Effective date: 20111111

RD04 Notification of resignation of power of attorney

Free format text: JAPANESE INTERMEDIATE CODE: A7424

Effective date: 20120412

A621 Written request for application examination

Free format text: JAPANESE INTERMEDIATE CODE: A621

Effective date: 20121206

A131 Notification of reasons for refusal

Free format text: JAPANESE INTERMEDIATE CODE: A131

Effective date: 20140121

A02 Decision of refusal

Free format text: JAPANESE INTERMEDIATE CODE: A02

Effective date: 20140902