JP2010143316A - 単線固定循環式索道の停留場構造 - Google Patents

単線固定循環式索道の停留場構造 Download PDF

Info

Publication number
JP2010143316A
JP2010143316A JP2008320975A JP2008320975A JP2010143316A JP 2010143316 A JP2010143316 A JP 2010143316A JP 2008320975 A JP2008320975 A JP 2008320975A JP 2008320975 A JP2008320975 A JP 2008320975A JP 2010143316 A JP2010143316 A JP 2010143316A
Authority
JP
Japan
Prior art keywords
pulley
cableway
rope
boarding position
carrier
Prior art date
Legal status (The legal status is an assumption and is not a legal conclusion. Google has not performed a legal analysis and makes no representation as to the accuracy of the status listed.)
Granted
Application number
JP2008320975A
Other languages
English (en)
Other versions
JP5191370B2 (ja
Inventor
Yasushi Fukushima
安史 福島
Current Assignee (The listed assignees may be inaccurate. Google has not performed a legal analysis and makes no representation or warranty as to the accuracy of the list.)
Nippon Cable Co Ltd
Original Assignee
Nippon Cable Co Ltd
Priority date (The priority date is an assumption and is not a legal conclusion. Google has not performed a legal analysis and makes no representation as to the accuracy of the date listed.)
Filing date
Publication date
Application filed by Nippon Cable Co Ltd filed Critical Nippon Cable Co Ltd
Priority to JP2008320975A priority Critical patent/JP5191370B2/ja
Publication of JP2010143316A publication Critical patent/JP2010143316A/ja
Application granted granted Critical
Publication of JP5191370B2 publication Critical patent/JP5191370B2/ja
Active legal-status Critical Current
Anticipated expiration legal-status Critical

Links

Images

Landscapes

  • Lift-Guide Devices, And Elevator Ropes And Cables (AREA)

Abstract

【課題】
単線固定循環式索道の停留場で滑車を周回した搬器の遠心力による振れを乗車位置で緩和して乗客が移動する搬器へ乗車し易くする。
【解決手段】
単線固定循環式索道の停留場3で索条12を巻き掛けて、搬器13を到着側3aから出発側3bへ転向する原動滑車6の滑車径Dを線路ゲージRより小さい寸度として、接線が到着側3aの索道線路1と一致するように、索道中心2よりオフセット量Fだけ到着側3aに変位して配置する。そして、出発側3aでは原動滑車6の索条12の接触起点6bと、乗車位置3c上に配置した2輪索受装置10との間に2輪拡索装置16を設けて、平面視で緩和曲線Bに近似する近似屈曲経路Aを構成し、原動滑車6を周回する際に生じた遠心力による振れを乗車位置3cを通過するまでに緩和する。
【選択図】 図4

Description

本発明は主に単線固定循環式索道で、滑車を周回する際に搬器に生じる遠心力の変化を緩和させ、搬器の外振れを緩和するようにした停留場の構造に関する。
山麓と山頂の停留場に配備した滑車間に、搬器を握索機で懸垂した索条を巻き掛けて、循環移動させることで搬器を運行する単線固定循環式索道で、搬器が滑車を周回する際に遠心力の作用で滑車の外側に向けて外振れする。この搬器の外振れを抑制するために、索条を握索して搬器を索条に固着懸垂する握索機の頂部に樹脂製の振止めプラグを上方に突出して具える。また、索条を巻き掛けた滑車には振止めプラグに当接する振止めリングを取り付ける。こうして、搬器が滑車を周回する際に、遠心力の作用で外側に振れようとすると、握索機の振止めプラグが滑車に取り付けた振止めリングに当接して、搬器の外振れが抑制されるようにしている。(特許文献1の図1を参照)
また、図5、図6で示すように滑車の索条が巻き掛け入り口側付近の原動フレームにブラケット31を取り付け側面視で略船型をしたレール32を懸架して構成した振止めガイド30を装備して、図6に示す搬器13の握索機14の頂部に取り付けた振止めプラグ15が前記振止めガイド30のレール32の底面に当接して、滑車の入り口側で搬器13の振れを抑止する装置が用いられている。
実公昭60−27074号公報
単線固定循環式索道では停留場に配備されて滑車を索条の移動速度(2.0m/s)速度で周回して搬器の進行方向が折り返されるが、かかる搬器には遠心力が作用する。この搬器の外振れは搬器が滑車を周回している間は、上記したように滑車に取り付けた振止めリングで搬器の握索機に具えた振止めプラグを押さえられて抑制される。その後搬器が滑車の周回を終わると、握索機の振止めプラグが滑車の振止めリングから外れて、搬器の遠心力が作用した座席の慣性で、線路の外側に振れながら乗車位置に向けて進行する。従って、乗車位置で待機している乗客は外振れしながら接近してくる搬器に乗車することになり、乗客に対して多少とも不安感や乗り辛さを感じさせることになる。本発明の課題は搬器が滑車を周回して乗車位置に移動するまでの経路で上記した搬器の外振れを緩和することで、乗客(スキーヤー等)が乗車位置で移動する搬器へ多少とも安全に乗車することができる単線固定循環式索道の停留場構造を提供することにある。
この課題を解決するために本発明は、単線固定循環式索道の停留場で、線路ゲージより小径で搬器を懸垂した索条を巻き掛けて、該索条を到着側より出発側に転向するための滑車と、該滑車の出発側出口から乗車位置に設けた索受装置との間に装着し、索条を前記滑車の出発側出口から線路ゲージにまで水平方向に屈曲させて搬器の移動経路を形成するための拡索装置とよりなり、前記移動経路は滑車の出発側出口と乗車位置との間にできる緩和曲線に近似させて形成する。
さらに、前記滑車の索条を巻き掛けた到着側の接線は到着側の索道線路と一致するように、滑車の滑車中心を線路ゲージの中心に対して到着側へオフセットして配置する。
従来の如く、搬器の振れを機械的に抑制するための振止めガイドを必要とせず、滑車を周回する際に遠心力で生じる搬器の振れを、滑車の出口から乗車位置までの移動経路で緩和することで、乗客が乗車位置で移動する搬器に乗車する際に、乗客に安全性や安心感を与えることができる効果がある。
停留場に設けて搬器を握索機で懸垂した索条を巻き掛けた滑車の直径を索道の線路ゲージより小さくして、滑車中心を線路中心に対して到着側へオフセットして到着側の索道線路と滑車の接線とを合致するように配備する。これに対して、出発側では平面視で滑車の索条の巻き掛け接触起点と乗車位置上にある索受装置の間に拡索装置を配置して、滑車の索条の巻き掛け接触起点と索受装置との間で作る緩和曲線に近似して搬器の屈曲移動経路を形成して、搬器が滑車を周回して滑車から離れ、乗車位置に到達するまでの間滑車を周回する際の遠心力による搬器の振れを緩和して、乗客が乗車位置で移動する搬器に乗車し易くする。
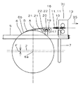
以下、本発明の実施の形態を図を用いて説明する。図1は単線固定循環式索道で本発明の構造を適用した停留場3の平面図、図2は図1の側面図、図3は図1の正面図を示す。図示した停留場3は原動装置4を配置した原動停留場である。即ち、地上には索道線路1の方向の前後に位置して前脚8と後脚9を立設して、この間、平面視で形鋼を長方形状に枠組しで構成の原動フレーム5を渡架固設する。かかる原動フレーム5には索道線路1方向に油圧緊張シリンダーで移動可能に原動滑車6を装着する。
上記で、原動滑車6の滑車径Dは線路ゲージRより小さい寸度のものを用いる。そして、かかる原動滑車6の接線を到着側3aの線路ゲージRと一致させるように、滑車中心6aを索道中心2に対してオフセット量Fだけ到着側3a方向に変位させて原動フレーム5に回転可能に枢軸する。
従って、図1で示すように、線路ゲージRより原動滑車6の滑車径Dが小さいため、停留場3の出発側3bでは線路ゲージRと原動滑車6の索道線路1に向かう接線との間には水平方向にオフセット量Fの2倍に相当する寸度のずれが生じる。
図4は上記を説明した原動滑車6の出発側3bでの索条12の移動経路、即ち、搬器13の移動経路を示した平面図である。図示するように、索道では周知であるが、原動フレーム5には乗車位置3c上に位置するようにして2輪の受索輪11,11を鉛直方向に回転可能に枢着して構成し、索条12を鉛直の向きで下から支承する2輪索受装置10をアーム7の先端部に配備する。
つづいて、原動滑車6に索条12を巻き掛けた接触起点6bから前記線路ゲージRの出発側の線路上に位置する2輪索受装置10に向けて索条12を水平方向に屈曲誘導するための2輪拡索装置16を原動フレーム5へ装着する。該2輪拡索装置16は2輪ビーム19の両端部に各々ピン22,22で索輪21,21を水平方向に回転可能に枢着し、さらに該2輪ビーム19の中心を2輪ビームピン20でブラケット17へ水平方向に旋回可能に軸支した平衡構造にする。
上記した構造の2輪拡索装置16は原動滑車6の索条12の接触起点6bと乗車位置3cの上部に位置する2輪索受装置10との間に平面視で形成する緩和曲線と近似する搬器13の近似屈曲経路Aを構成するように原動フレーム5へ装備する。
こうして、図1、図3、図4で示すように、索道線路1から矢印33方向に進行して停留場3に到着した搬器13は、索条12と共に到着側3aでアーム7に装着された2輪索受装置10で原動滑車6に誘導され、出発側3bに向けて原動滑車6の外縁部を矢印34方向に周回する。
続いて、搬器13は原動滑車6の索条12の接触起点6bまで周回した搬器滑車出口位置13aから、前記2輪拡索装置16で構成された緩和曲線Bに近似する近似屈曲経路Aを通過して出発側3bに配備した2輪索受装置10の搬器乗車位置13bに至り、索道線路1の線路ゲージRと一致させるように索条12の移動と共に運行する。
こうして、原動滑車6を周回して遠心力で該原動滑車6の外側に向けて振れた搬器13は、続く近似屈曲経路Aを通過することで前記搬器13の振れが緩和されて2輪索受装置10のある乗車位置3cに至り、該乗車位置3cで待機していた乗客が搬器13へ乗車した後に矢印35方向の索道線路1に向けて停留場3を出発する。こうして、乗客が乗車位置3cで移動する搬器13に乗車する際、原動滑車6を周回する際に生じた振れ緩和されるので、乗客はより安全かつ容易に乗車することが可能になる。
上記で、原動滑車6の索条12の接触起点6bと乗車位置3c上にある2輪索受装置10との間の平面視で緩和曲線Bに近似する近似屈曲経路Aを2輪拡索装置16で構成したが、索輪21の数や配置について前記説明に限定されること無く、本発明の主旨に基づき様々な態様は勿論可能である。
本発明の単線自動循環式索道の停留場構造を示す平面図 本発明の単線自動循環式索道の停留場構造を示す側面図 本発明の単線自動循環式索道の停留場構造を示す正面図 本発明の単線自動循環式索道の停留場出発側に形成した搬器の屈曲移動経路を示す平面図 従来の停留場の滑車近辺に取り付けた振止めガイドを示す側面図 従来の振止めガイドに搬器の握索機に具えた振止めプラグが当接した状態を示す正面図
符号の説明
1 索道線路
2 索道中心
3 停留場
3a 到着側
3b 出発側
3c 乗車位置
4 原動装置
5 原動フレーム
6 原動滑車
6a 滑車中心
6b 接触起点
7 アーム
8 前脚
9 後脚
10 2輪索受装置
11,11 受索輪
12 索条
13,13,… 搬器

13a 搬器滑車出口位置
13b 搬器乗車位置
14 握索機
15 振止プラグ
16 2輪拡索装置
17 ブラケット
19 2輪ビーム
20 2輪ビームピン
21,21 索輪
22,22 ピン
30 振止ガイド
31 ブラケット
32 レール
33,34,35 矢印
A 近似屈曲経路
B 緩和曲線
D 滑車径
F オフセット量
R 線路ゲージ

Claims (2)

  1. 単線固定循環式索道の停留場で、線路ゲージより小径で搬器を懸垂した索条を巻き掛けて、該索条を到着側より出発側に転向するための滑車と、該滑車の索条との接触起点から乗車位置に設けた索受装置との間に装着し、索条を前記滑車の出発側出口から線路ゲージにまで水平方向に屈曲させて搬器の屈曲移動経路を形成するための拡索装置とよりなり、前記屈曲移動経路は滑車の索条との接触起点と乗車位置との間にできる緩和曲線に近似させて構成したことを特徴とする単線固定循環式索道の停留場構造。
  2. 前記滑車の索条を巻き掛けた到着側の接線は到着側の索道線路と一致するように、滑車の滑車中心を線路ゲージの中心に対して到着側へオフセットして配置した請求項1に記載の単線固定循環式索道の停留場構造。
JP2008320975A 2008-12-17 2008-12-17 単線固定循環式索道の停留場構造 Active JP5191370B2 (ja)

Priority Applications (1)

Application Number Priority Date Filing Date Title
JP2008320975A JP5191370B2 (ja) 2008-12-17 2008-12-17 単線固定循環式索道の停留場構造

Applications Claiming Priority (1)

Application Number Priority Date Filing Date Title
JP2008320975A JP5191370B2 (ja) 2008-12-17 2008-12-17 単線固定循環式索道の停留場構造

Publications (2)

Publication Number Publication Date
JP2010143316A true JP2010143316A (ja) 2010-07-01
JP5191370B2 JP5191370B2 (ja) 2013-05-08

Family

ID=42564203

Family Applications (1)

Application Number Title Priority Date Filing Date
JP2008320975A Active JP5191370B2 (ja) 2008-12-17 2008-12-17 単線固定循環式索道の停留場構造

Country Status (1)

Country Link
JP (1) JP5191370B2 (ja)

Cited By (1)

* Cited by examiner, † Cited by third party
Publication number Priority date Publication date Assignee Title
CN105329240A (zh) * 2015-11-20 2016-02-17 华南农业大学 一种链式货运索道减振装置及方法

Citations (5)

* Cited by examiner, † Cited by third party
Publication number Priority date Publication date Assignee Title
JPS5987364U (ja) * 1982-12-06 1984-06-13 株式会社明輝電機製作所 索道搬器の振れ抑制装置
JPS6027074Y2 (ja) * 1979-06-29 1985-08-15 日本ケ−ブル株式会社 リフト搬器用制振リングの緩衝構造
JPS62174973U (ja) * 1986-04-26 1987-11-06
JPH10217954A (ja) * 1997-02-10 1998-08-18 Mitsubishi Heavy Ind Ltd 搬器の制振装置
JP2005271681A (ja) * 2004-03-24 2005-10-06 Nippon Cable Co Ltd 緩衝機構を備えた索道搬器の補助振れ止めガイド

Patent Citations (5)

* Cited by examiner, † Cited by third party
Publication number Priority date Publication date Assignee Title
JPS6027074Y2 (ja) * 1979-06-29 1985-08-15 日本ケ−ブル株式会社 リフト搬器用制振リングの緩衝構造
JPS5987364U (ja) * 1982-12-06 1984-06-13 株式会社明輝電機製作所 索道搬器の振れ抑制装置
JPS62174973U (ja) * 1986-04-26 1987-11-06
JPH10217954A (ja) * 1997-02-10 1998-08-18 Mitsubishi Heavy Ind Ltd 搬器の制振装置
JP2005271681A (ja) * 2004-03-24 2005-10-06 Nippon Cable Co Ltd 緩衝機構を備えた索道搬器の補助振れ止めガイド

Cited By (1)

* Cited by examiner, † Cited by third party
Publication number Priority date Publication date Assignee Title
CN105329240A (zh) * 2015-11-20 2016-02-17 华南农业大学 一种链式货运索道减振装置及方法

Also Published As

Publication number Publication date
JP5191370B2 (ja) 2013-05-08

Similar Documents

Publication Publication Date Title
US9033115B2 (en) Zip line braking
US8166885B2 (en) Suspended cable amusement ride
US8746149B2 (en) Turn wheel and method for supporting a curved portion of a load-transporting cable
RU2650058C1 (ru) Рельсовые пути и привод аттракциона, установленного на башне
US20090255436A1 (en) Ricky braking system for zipline riders
CN108579098B (zh) 一种侧向摆动过山车
KR101635940B1 (ko) 활강 레포츠 장치
KR102075864B1 (ko) 영구자석을 이용한 와전류 브레이크가 설치된 짚라인 트롤리
CN105939764A (zh) 改变轨道车辆行进方向的装置,具有这种装置的轨道游乐设施以及操作这种装置的方法
JP5191370B2 (ja) 単線固定循環式索道の停留場構造
KR20190015284A (ko) 오버헤드 운반 시스템
KR101300582B1 (ko) 트롤리 락커 이동 장치
CN107792085A (zh) 一种吊厢式滑车轨道变轨机构及索道网系统
JPH09323806A (ja) 搬送装置
BR112016017695B1 (pt) Sistema de teleférico
JP6474074B2 (ja) 索道の支索サドル
KR102358956B1 (ko) 활강 놀이기구 출도착 자동연동 브레이크 시스템
EP4208380B1 (fr) Installation de transport
KR102252838B1 (ko) 안전도착 유도를 위한 보조 감속장치가 구비된 공중활강이동장치
JP4379975B2 (ja) 制振装置の給電装置
CN111284505B (zh) 一种架空乘人车防脱绳保护装置
JP5288856B2 (ja) 複線交走式索道における搬器振れ抑制装置
FR2926803A1 (fr) Economie d'energie par suppression du contrepoids d'un ascenseur pour machineries stationnaires avec un controle de positionnement et de vitesse
JP5236248B2 (ja) 固定循環式索道の乗り越し検出器
JP2011173451A (ja) 索道設備のプラットホームにおける可動ステップ

Legal Events

Date Code Title Description
A621 Written request for application examination

Free format text: JAPANESE INTERMEDIATE CODE: A621

Effective date: 20111213

RD03 Notification of appointment of power of attorney

Free format text: JAPANESE INTERMEDIATE CODE: A7423

Effective date: 20111213

A977 Report on retrieval

Free format text: JAPANESE INTERMEDIATE CODE: A971007

Effective date: 20130116

TRDD Decision of grant or rejection written
A01 Written decision to grant a patent or to grant a registration (utility model)

Free format text: JAPANESE INTERMEDIATE CODE: A01

Effective date: 20130129

A61 First payment of annual fees (during grant procedure)

Free format text: JAPANESE INTERMEDIATE CODE: A61

Effective date: 20130129

R150 Certificate of patent or registration of utility model

Ref document number: 5191370

Country of ref document: JP

Free format text: JAPANESE INTERMEDIATE CODE: R150

Free format text: JAPANESE INTERMEDIATE CODE: R150

FPAY Renewal fee payment (event date is renewal date of database)

Free format text: PAYMENT UNTIL: 20160208

Year of fee payment: 3