JP2010142792A - 排水処理システム - Google Patents
排水処理システム Download PDFInfo
- Publication number
- JP2010142792A JP2010142792A JP2008326183A JP2008326183A JP2010142792A JP 2010142792 A JP2010142792 A JP 2010142792A JP 2008326183 A JP2008326183 A JP 2008326183A JP 2008326183 A JP2008326183 A JP 2008326183A JP 2010142792 A JP2010142792 A JP 2010142792A
- Authority
- JP
- Japan
- Prior art keywords
- wastewater
- activated sludge
- organic solvent
- treatment device
- discharged
- Prior art date
- Legal status (The legal status is an assumption and is not a legal conclusion. Google has not performed a legal analysis and makes no representation as to the accuracy of the status listed.)
- Pending
Links
Images
Classifications
-
- Y—GENERAL TAGGING OF NEW TECHNOLOGICAL DEVELOPMENTS; GENERAL TAGGING OF CROSS-SECTIONAL TECHNOLOGIES SPANNING OVER SEVERAL SECTIONS OF THE IPC; TECHNICAL SUBJECTS COVERED BY FORMER USPC CROSS-REFERENCE ART COLLECTIONS [XRACs] AND DIGESTS
- Y02—TECHNOLOGIES OR APPLICATIONS FOR MITIGATION OR ADAPTATION AGAINST CLIMATE CHANGE
- Y02W—CLIMATE CHANGE MITIGATION TECHNOLOGIES RELATED TO WASTEWATER TREATMENT OR WASTE MANAGEMENT
- Y02W10/00—Technologies for wastewater treatment
- Y02W10/10—Biological treatment of water, waste water, or sewage
Landscapes
- Solid-Sorbent Or Filter-Aiding Compositions (AREA)
- Activated Sludge Processes (AREA)
- Water Treatment By Sorption (AREA)
Abstract
【課題】活性汚泥処理装置が大型化することやランニングコストが増大することを防止しつつ、高効率にかつ安定的に排水を処理することが可能な排水処理システムを提供する。
【解決手段】排水処理システム1Aは、活性汚泥処理装置100と、排水処理装置200と、コンデンサ300とを備える。活性汚泥処理装置100は、有機溶剤を分解する微生物が含まれた活性汚泥を有し、排水を一次処理水として排出する。排水処理装置200は、活性汚泥処理装置100から排出された一次処理水中に含まれる有機溶剤を吸着および脱着可能な吸着材211,221を含み、一次処理水を連続的に処理することで二次処理水と脱着ガスとを排出する。コンデンサ300は、排水処理装置200から排出された脱着ガスを凝縮して凝縮液として排出する。コンデンサ300から排出された凝縮液は、濃縮されて活性汚泥処理装置100に戻される。
【選択図】図1
【解決手段】排水処理システム1Aは、活性汚泥処理装置100と、排水処理装置200と、コンデンサ300とを備える。活性汚泥処理装置100は、有機溶剤を分解する微生物が含まれた活性汚泥を有し、排水を一次処理水として排出する。排水処理装置200は、活性汚泥処理装置100から排出された一次処理水中に含まれる有機溶剤を吸着および脱着可能な吸着材211,221を含み、一次処理水を連続的に処理することで二次処理水と脱着ガスとを排出する。コンデンサ300は、排水処理装置200から排出された脱着ガスを凝縮して凝縮液として排出する。コンデンサ300から排出された凝縮液は、濃縮されて活性汚泥処理装置100に戻される。
【選択図】図1
Description
本発明は、有機溶剤を含有する排水から有機溶剤を除去することで当該排水を正常化する排水処理システムに関し、特に、各種工場や研究施設等から排出される有機溶剤を含有する産業排水から有害有機溶剤を効率的に除去することで当該産業排水を清浄化する排水処理システムに関する。
従来、有機溶剤を含有する排水を清浄化する排水処理装置として、活性汚泥処理装置が利用されている。活性汚泥処理装置は、主としてバクテリア(細菌類)、原生動物、後生動物等の好気性微生物群を含む活性汚泥を用いて排水を清浄化させる装置であり、たとえば特開平9−10791号公報(特許文献1)等にその詳細が開示されている。
活性汚泥処理装置は、上述した活性汚泥に排水を供給してこれを撹拌および曝気することで当該排水中に含まれる有機溶剤を微生物を用いて分解して除去し、活性汚泥を分離することでクリーンな浄水に清浄化して排出する装置である。
特開平9−10791号公報
上述した活性汚泥処理装置においては、有機溶剤の分解に微生物が利用されるため、当該微生物が有機溶剤を分解するのに適した条件を連続的に安定して維持することが非常に難しくなる。そのため、このような活性汚泥処理装置を備えた排水処理システムとした場合には、安定的に排水の処理能力を維持することが困難になる問題があった。
そのため、活性汚泥処理装置から排出される水は、吸着材としてカートリッジ式の活性炭を用いた交換式排水処理装置を用いて処理されることが一般的に行なわれており、その場合には、当該水に含まれる有機溶剤がカートリッジ式の活性炭によって除去され、クリーンな浄水として交換式排水処理装置から排出されることになる。
しかしながら、交換式排水処理装置においては、有機溶剤を一定時間吸着し続けることによって吸着材の吸着能力が飽和に達すれば、それ以降吸着が実質的には行なわれず、新品への交換作業、もしくは一旦装置から吸着材を取り外して再生処理を行なう作業が必要になる。したがって、交換式排水処理装置を利用して活性汚泥処理装置から排出される水を処理する排ガス処理システムとした場合には、連続的に当該水を処理することができず、排ガス処理システム自体をその都度停止させる必要があった。
また、水の清浄化は、空気の清浄化とは異なり、微生物の繁殖が不可避であり、吸着材の寿命は短くなってしまう。したがって、交換式排水処理装置を利用して活性汚泥処理装置から排出される水を処理する排ガス処理システムとした場合には、上述した吸着材の交換作業や再生処理作業を頻繁に行なう必要が生じ、その労力やランニングコストが増大するといった問題もあった。
また、高濃度に有機溶剤を含有する排水を大量に活性汚泥処理装置で処理する場合には、必要となる活性汚泥の量もこれに伴って増大することになり、装置の大型化や設置コストの増加が不可避となる。加えて、活性汚泥処理装置においては、処理すべき排水に含まれる有機溶剤の量に応じて活性汚泥の量を常時調節して最適化することが必要になるが、そのためには余剰の活性汚泥を常時回収して装置から排出することが必要であり、この余剰汚泥の廃棄に手間やコストがかかる問題があった。したがって、上記のように活性汚泥の量を増加させた場合には、廃棄すべき余剰汚泥の量も増加してしまい、そのランニングコストも大幅に増加してしまう問題があった。
したがって、本発明は、上述の問題点を解決すべくなされたものであり、活性汚泥処理装置が大型化することやランニングコストが増大することを防止でき、システムを停止させることなく連続的に排ガスの清浄化が可能で、高効率にかつ安定的に排水を処理することが可能な排水処理システムを提供することを目的とする。
本発明に基づく排水処理システムは、有機溶剤を含有する排水から有機溶剤を除去することで当該排水を清浄化するものであって、活性汚泥処理装置と、排水処理装置と、凝縮装置とを備えている。上記活性汚泥処理装置は、有機溶剤を分解する微生物が含まれた活性汚泥を有し、当該活性汚泥に排水を接触させることで微生物によって有機溶剤を分解させて除去して一次処理水として排出するものである。上記排水処理装置は、上記活性汚泥処理装置に接続され、上記活性汚泥処理装置から排出された一次処理水を接触させることで有機溶剤を吸着し、ガスを接触させることで吸着した有機溶剤を脱着する吸着素子を含み、上記吸着素子に一次処理水を供給することで有機溶剤を上記吸着素子に吸着させて二次処理水として排出し、上記吸着素子にガスを供給することで有機溶剤を上記吸着素子から脱着させて有機溶剤を含有する脱着ガスとして排出するものである。ここで、上記排水処理装置は、上記吸着素子の脱着処理が完了した部分を吸着処理を行なう部分に移行させるとともに上記吸着素子の吸着処理が完了した部分を脱着処理を行なう部分に移行させることで連続的に一次処理水を処理可能なものである。上記凝縮装置は、上記排水処理装置に接続され、上記排水処理装置から排出された脱着ガスを凝縮して凝縮液として排出するものである。
上記本発明に基づく排水処理装置にあっては、上記凝縮装置から排出された凝縮液が、排水として上記活性汚泥処理装置に再度供給されるように構成されていることが好ましい。
上記本発明に基づく排水処理装置は、さらに、上記凝縮装置から排出された凝縮液を比重差に基づいて分液して有機溶剤を高濃度に含有する濃縮液と有機溶剤を低濃度に含有する分離排水とに分離して排出する濃縮分液装置をさらに備えていることが好ましい。その場合には、上記濃縮分液装置から排出された濃縮液が、排水として上記活性汚泥処理装置に再度供給されるように構成されていることが好ましい。
上記本発明に基づく排水処理装置にあっては、上記排水処理装置が、上記吸着素子にガスを吹き付けることで上記吸着素子に付着した余剰の排水を吹き飛ばしてこれを除去排水として排出することが好ましい。その場合には、上記排水処理装置から排出された除去排水が、一次処理水として上記排水処理装置に再度供給されるように構成されていることが好ましい。
上記本発明に基づく排水処理装置にあっては、上記吸着素子が、活性炭、活性炭素繊維およびゼオライトからなる群から選ばれる少なくとも1の部材を含んでいることが好ましい。
本発明によれば、活性汚泥処理装置が大型化することやランニングコストが増大することを防止でき、システムを停止させることなく連続的に排ガスの清浄化が可能で、高効率にかつ安定的に排水を処理することが可能な排水処理システムとすることができる。
以下、本発明の実施の形態について、図を参照して詳細に説明する。なお、以下に示す実施の形態においては、同一または対応する部分について図中同一の符号を付し、その説明は繰り返さないことにする。
(実施の形態1)
図1は、本発明の実施の形態1における排水処理システムのシステム構成図である。以下においては、この図1を参照して、本実施の形態における排水処理システム1Aの構成について説明する。
図1は、本発明の実施の形態1における排水処理システムのシステム構成図である。以下においては、この図1を参照して、本実施の形態における排水処理システム1Aの構成について説明する。
図1に示すように、本実施の形態における排水処理システム1Aは、活性汚泥処理装置100と、排水処理装置200と、凝縮装置としてのコンデンサ300と、濃縮分液装置としてのセパレータ400とを主として備えている。
活性汚泥処理装置100は、曝気槽110と沈殿槽120とを主として有している。曝気槽110は、曝気装置111と図示しない撹拌装置とを含んでおり、曝気槽110の内部には、バクテリア(細菌類)、原生動物、後生動物等の好気性微生物群を含む活性汚泥が充填されている。曝気槽110は、上述した活性汚泥に排水を供給することで活性汚泥と排水とを接触させ、これを撹拌および曝気することで排水に含有される有機溶剤を分解して除去するための処理槽である。一方、沈殿槽120は、曝気槽110にて処理された活性汚泥を含む水を固液分離することで活性汚泥と一次処理水とに分離するための処理槽である。
活性汚泥処理装置100には、配管ラインL1,L2,L3,L4,L5が接続されている。配管ラインL1は、曝気槽110に排水を供給するための配管ラインであり、配管ラインL2は、曝気装置111に酸素を供給するための配管ラインである。配管ラインL3は、曝気槽110から活性汚泥を含む水を排出し、これを沈殿槽120に供給するための配管ラインである。配管ラインL4は、沈殿槽120から排出された活性汚泥のうち、その余剰分を余剰汚泥として排出するための配管ラインであり、配管ラインL5は、沈殿槽120から排出された活性汚泥のうち、その必要分を返送汚泥として曝気槽110に返送するための配管ラインである。また、配管ラインL6は、沈殿槽120から一次処理水を排出するための配管ラインである。
活性汚泥処理装置100においては、配管ラインL1を介して曝気槽110に供給された排水が曝気槽110内において活性汚泥と混ざり合い、この混ざり合った排水と活性汚泥とが、配管ラインL2を介して曝気装置111に供給されて当該曝気装置111から排出される酸素によって曝気されつつ撹拌されることで有機溶剤の分解が行なわれ、分解後の活性汚泥を含む水が配管L3を介して沈殿槽120に送られ、沈殿槽120において子液分離されてその上澄み液が一次処理水として排出される。この活性汚泥処理装置100から排出される一次処理水は、活性汚泥処理装置100に供給される排水に比べその有機溶剤の含有量は大幅に減少しているものの、僅かに有機溶剤を含んでいてよい。
排水処理装置200は、吸着素子としての吸着材211,221がそれぞれ収容された第1処理槽210および第2処理槽220を有している。吸着材211,221は、一次処理水を接触させることで一次処理水に含有される有機溶剤を吸着する。したがって、排水処理装置200においては、吸着材211,221に一次処理水を供給することで有機溶剤が吸着材211,221によって吸着され、これにより一次処理水が清浄化されて二次処理水として排出されることになる。また、吸着材211,221は、水蒸気を接触させることで吸着した有機溶剤を脱着する。したがって、排水処理装置200においては、吸着材211,221に水蒸気を供給することで有機溶剤が吸着材211,221から脱着され、これにより水蒸気が有機溶剤を含有する脱着ガスとして排出されることになる。
第1処理槽210および第2処理槽220には、配管ラインL6,L7,L8,L9がそれぞれ接続されている。配管ラインL6は、活性汚泥処理装置100から排出された一次処理水を第1処理槽210および第2処理槽220に供給するための配管ラインであり、バルブV201,V202によって第1処理槽210および第2処理槽220に対する接続/非接続状態が切り替えられる。配管ラインL7は、水蒸気を第1処理槽210および第2処理槽220に供給するための配管ラインであり、バルブV203,V204によって第1処理槽210および第2処理槽220に対する接続/非接続状態が切り替えられる。配管ラインL8は、二次処理水を第1処理槽210および第2処理槽220から排出するための配管であり、バルブV205,V206によって第1処理槽210および第2処理槽220に対する接続/非接続状態が切り替えられる。配管ラインL9は、脱着ガスを第1処理槽210および第2処理槽220から排出するための配管ラインであり、バルブV207,V208によって第1処理槽210および第2処理槽220に対する接続/非接続状態が切り替えられる。
第1処理槽210と第2処理槽220とは、上述したバルブV201〜V208の開閉を操作することによって交互に吸着槽および脱着槽として機能し、具体的には、第1処理槽210が吸着槽として機能している場合には、第2処理槽220が脱着槽として機能し、第1処理槽210が脱着槽として機能している場合には、第2処理槽220が吸着槽として機能する。すなわち、本実施の形態における排水処理装置200においては、吸着槽と脱着槽とが経時的に交互に切り替わるように構成されている。なお、配管ラインL6は、第1処理槽210および第2処理槽220のうち、吸着槽として機能している槽に接続されて当該吸着槽に一次処理水を供給し、配管ラインL7は、第1処理槽210および第2処理槽220のうち、脱着槽として機能している槽に接続されて当該脱着槽に水蒸気を供給する。また、配管ラインL8は、第1処理槽210および第2処理槽220のうち、吸着槽として機能している槽に接続されて当該吸着槽から二次処理水を排出し、配管ラインL9は、第1処理槽210および第2処理槽220のうち、脱着槽として機能している槽に接続されて脱着ガスを排出する。
なお、排水処理装置200から排出される二次処理水は、活性汚泥処理装置100から排出される一次処理水に比べ、さらにその有機溶剤の含有量は大幅に減少しており、そのまま通常の下水として処理が可能な程度にまで清浄化されたものとなる。
吸着材211,221は、活性炭、活性炭素繊維またはゼオライトの少なくともいずれかを含む部材にて構成されている。好適には、吸着材211,221としては、粒状、粒体状、ハニカム状等の活性炭やゼオライトが利用されるが、より好適には、活性炭素繊維が利用される。活性炭素繊維は、表面にミクロ孔を有する繊維状構造を有しているため、水との接触効率が高く、特に水中の有機溶剤の吸着速度が速くなり、他の吸着素子に比べて極めて高い吸着効率を実現できる部材である。
吸着材211,221として利用可能な活性炭素繊維の物性は、特に限定されるものではないが、BET比表面積が700〜2000m2/g、細孔容積が0.4〜0.9cm3/g、平均細孔径が17〜18Åのものが好ましい。これは、BET比表面積が700m2/g未満、細孔容積が0.4m3/g未満、平均細孔径が17Å未満のものでは、有機溶剤の吸着量が低くなるためであり、またBET比表面積が2000m2/gを超え、細孔容積が0.9m3/gを超え、平均細孔径が18Åを超えるのものでは、細孔径が大きくなることで分子量の小さな物質等の吸着能力が低下したり、強度が弱くなったり、素材のコストが高くなって経済的に不利になったりするためである。
コンデンサ300は、冷却水等を用いて脱着ガスを凝縮させて液化し、これを凝縮液として排出する装置であり、配管ラインL9,L10にそれぞれ接続されている。配管ラインL9は、上述した排水処理装置200から排出された脱着ガスをコンデンサ300に供給するための配管ラインであり、配管ラインL10は、コンデンサ300で生成された凝縮液を排出するための配管ラインである。
セパレータ400は、凝縮液を比重差に基づいて分液することで有機溶剤を高濃度に含有する濃縮液と有機溶剤を低濃度に含有する分離排水とに分離する装置であり、配管ラインL10,L11,L12にそれぞれ接続されている。配管ラインL10は、コンデンサ300から排出された凝縮液をセパレータ400に供給するための配管ラインであり、配管ラインL11は、セパレータ400で分液された濃縮液をセパレータ400から排出するための配管ラインであり、配管ラインL12は、セパレータ400で分液された分離排水をセパレータ400から排出するための配管ラインである。
本実施の形態における排水処理システム1Aにおいては、セパレータ400に接続された配管ラインL11の他端が、活性汚泥処理装置100に接続された配管ラインL1に接続されている。これにより、セパレータ400から排出された濃縮液は、配管ラインL11および配管ラインL1を経由して活性汚泥処理装置100に排水として再度供給されることになる。
一方、セパレータ400から配管ラインL12を経由して排出される分離排水は、セパレータ400にて濃縮液と分離されることでその有機溶剤の含有量は大幅に減少しており、そのまま通常の下水として処理が可能な程度にまで清浄化されたものとなる。
次に、上記図1を参照して、本実施の形態における排水処理システム1Aにおいて行なわれる排水の清浄化処理の詳細について説明する。なお、以下の説明は、排水処理装置200の第1処理槽210が吸着槽として機能し、第2処理槽220が脱着槽として機能している状態に基づいたものであるが、これら吸着槽と脱着槽とが入れ替わった場合にも、同様の処理が行なわれる。
図1に示すように、排水は、配管ラインL1を経由して活性汚泥処理装置100に導入される。導入された排水は、活性汚泥と接触させられることで当該排水に含有される有機溶剤が分解されて除去され、有機溶剤が除去された後の水は、配管ラインL6に導入されて一次処理水として活性汚泥処理装置100から排出される。
活性汚泥処理装置100から排出された一次処理水は、配管ラインL6を経由して排水処理装置200に導入される。導入された一次処理水は、第1処理槽210に送られて吸着材211と接触し、当該一次処理水に含有される有機溶剤が吸着材211によって吸着される。有機溶剤が吸着材211によって吸着された後の水は、配管ラインL8に導入されて二次処理水として排水処理装置200から排出される。排水処理装置200から排出された二次処理水は、その後、通常の下水としての処理がなされる。
一方、排水処理装置200には、上記一次処理水の導入と並行して、配管ラインL7を経由して水蒸気が導入される。導入された水蒸気は、第2処理槽220に送られて吸着材221と接触し、吸着材221に吸着された有機溶剤を脱着させる。吸着材221から脱着された有機溶剤を含む水蒸気は、配管ラインL9に導入されて脱着ガスとして排水処理装置200から排出される。
排水処理装置200から排出された脱着ガスは、配管ラインL9を経由してコンデンサ300に送られ、コンデンサ300にて液化して凝縮液となる。コンデンサ300で生成された凝縮液は、配管ラインL10を経由してセパレータ400に送られ、セパレータ400において比重差に基づいて分液され、有機溶剤を高濃度に含有する濃縮液と有機溶剤を低濃度に含有する分離排水とに分離される。有機溶剤を高濃度に含有する濃縮液は、配管ラインL11に導入されてセパレータ400から排出され、有機溶剤を低濃度に含有する分離排水は、配管ラインL12に導入されてセパレータ400から排出される。
セパレータ400から排出された濃縮液は、配管ラインL11を経由して配管ラインL1に導入され、その後、排水として活性汚泥処理装置100へ導入される。セパレータ400から排出された分離排水は、その後、通常の下水としての処理がなされる。
以上の如くの排水処理システム1Aとすることにより、活性汚泥処理装置100のバックアップ装置として排水処理装置200が機能することになり、活性汚泥処理装置のみで排水処理システムを構築した場合に比べ、活性汚泥処理装置100を小型に構成することが可能であるとともに、活性汚泥処理装置100の処理性能に変調が行った場合にも、当該活性汚泥処理装置100から排出される一次処理水を排水処理装置200にて処理することにより、排水処理システム1A全体としての清浄化処理の処理能力を安定化させることができる。したがって、活性汚泥処理装置100が大型化することやランニングコストが増大することを防止しつつ、高効率にかつ安定的に排水を処理することが可能な排水処理システムとすることができる。
また、上述の如くの排ガス処理システム1Aとすることにより、活性汚泥処理装置100から排出される排水を排水処理装置200において連続的に処理することが可能になるため、システムを停止させることなく連続的に排ガスの清浄化を行なうことが可能になる。したがって、活性汚泥処理装置のバックアップ装置としてカートリッジ式の吸着材を備えた交換式排水処理装置を使用した場合に比べ、カートリッジ式の吸着材の新品への交換作業や取り外しての再生処理作業が不要となり、その労力やランニングコストの増大が生じないことになる。
また、上述の如くの排水処理システム1Aとすることにより、排水処理装置200の第1処理槽210および第2処理槽220において吸着処理および脱着処理が交互に連続的に繰り返されることになる。このように吸着処理および脱着処理が交互に連続的に繰り返されるように構成することにより、低コストで安定的に高い能力で排水に含まれる有機溶剤を除去することができる。したがって、上記構成を採用することにより、高効率にかつ安定的に排水を清浄化処理できる排水処理システムとすることができる。なお、特に上述の如くの排水処理装置200とすることにより、微生物の繁殖が抑制でき、そのため藻の発生等を防止することも可能になる。
さらに、本実施の形態の如くの排水処理システム1Aは、活性汚泥処理装置のみを具備する既存の排水処理システムに対して、排水処理装置200やコンデンサ300、セパレータ400等を増設するのみで容易に実現できるものであるため、既存の設備の有効活用が可能で経済性にも優れたものとなる。
なお、上述の本実施の形態における排水処理システム1Aにおいては、セパレータ400から排出される濃縮液を活性汚泥処理装置100に再度供給する構成とした場合を例示して説明を行なったが、必ずしもこのように構成する必要はなく、セパレータ400から排出される濃縮液を回収して別途処理することとしてもよい。また、本実施の形態における排水処理システム1Aにおいては、セパレータ400を設けて凝縮液をさらに濃縮するように構成した場合を例示して説明を行なったが、セパレータ400を設けずに凝縮液をそのまま排水として活性汚泥処理装置100に再度供給するように構成してもよいし、セパレータ400を設けずに凝縮液を回収して別途処理することとしてもよい。
また、上述の本実施の形態における排水処理システム1Aにおいては、第1処理槽210および第2処理槽220が吸着槽および脱着槽に交互に入れ替わる構成の排水処理装置200を採用した場合を例示して説明を行なったが、これとは異なる構成の排水処理装置を採用してもよい。以下に、その例を図2および図3を参照して説明する。
図2および図3は、本実施の形態における排水処理システムにおいて利用可能な他の排水処理装置の例を示す模式図である。なお、これら図2および図3においては、排水処理装置に具備される吸着材および当該吸着材近傍に配置される構成要素のみを図示し、その他の構成要素の図示は省略している。
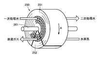
図2は、円柱状の外形を有する吸着材250を利用した場合を示している。図2に示すように、円柱状の外形を有する吸着材250を利用する場合には、軸方向に流体が流動可能となるように構成された吸着材250の軸中心に回転軸261を設け、この回転軸261をアクチュエータ等によって回転駆動する。そして、吸着材250の軸方向の両端面に近接して図2においては示さない配管ラインL6〜L9(図1参照)を接続し、吸着材250の一部を吸着処理を行なうための部分(図2において符号251で示す部分)として利用し、吸着材250の他の一部を脱着処理を行なうための部分(図2において符号252で示す部分)として利用する。すなわち、吸着材250の符号251で示す部分には、軸方向の一方から一次処理水が導入され、軸方向の他方から二次処理水が導出されることになり、吸着材250の符号252で示す部分には、軸方向の一方から水蒸気が導入され、軸方向の他方から脱着ガスが導出されることになる。
ここで、図2に示す排水処理装置においては、吸着材250が回転軸261を回転中心として図中矢印A方向に所定の速度で回転する。これにより、吸着材250の吸着処理が完了した部分は脱着処理を行なうゾーンへと移動するとともに、吸着材250の脱着処理が完了した部分は吸着処理を行なうゾーンへと移動することになる。したがって、当該排水処理装置においては、同時に吸着処理と脱着処理とが行なわれることになり、連続的に清浄化処理を行なうことが可能となる。
また、図3は、円筒状の外形を有する吸着材270を利用した場合を示している。図3に示すように、円筒状の外形を有する吸着材270を利用する場合には、径方向に流体が流動可能となるように、たとえば金属製の枠体285によって囲われた単位吸着ユニット275を周方向に複数並べて円筒状とし、これを図示しないアクチュエータ等によって軸中心に回転駆動する。そして、吸着材270に近接して図3においては示さない配管ラインL6〜L9(図1参照)を接続し、吸着材270の単位吸着ユニットの一部を吸着処理を行なうための部分(図3において符号271で示す部分)として利用し、単位吸着ユニットの他の一部を脱着処理を行なうための部分(図3において符号272で示す部分)として利用する。すなわち、吸着材270の符号271で示す単位吸着ユニットには、径方向外側から一次処理水が導入され、径方向内側に向けて二次処理水が導出されて軸方向の一方に向けて排出されることになり、吸着材270の符号272で示す単位吸着ユニットには、導入管281を介して径方向内側から水蒸気が導入され、径方向外側に向けて脱着ガスが導出されて導出管282を介して排出されることになる。
ここで、図3に示す排水処理装置においては、吸着材270が軸中心に図中矢印A方向に所定の速度で段階的に回転する。これにより、吸着材270の吸着処理が完了した単位吸着ユニットは脱着処理を行なうゾーンへと移動するとともに、吸着材270の脱着処理が完了した単位吸着ユニットは吸着処理を行なうゾーンへと移動することになる。したがって、当該排水処理装置においては、同時に吸着処理と脱着処理とが行なわれることになり、連続的に清浄化処理を行なうことが可能となる。
なお、図2および図3に示す如くの形状の吸着材250,270を利用する場合には、当該吸着材250,270を、粒状物を充填したものや繊維状物を充填したもので構成することとしてもよいが、ハニカム状の構造を有するもので構成するとなおよい。これは、吸着材250,270をハニカム状の構造を有するもので構成することにより、圧力損失を極めて低く抑えることが可能となって処理能力が増大するとともに、ゴミ等の固形物による目詰まりの発生も比較的低く抑えることができるためである。
(実施の形態2)
図4は、本発明の実施の形態2における排水処理システムの構成を示す模式図である。なお、図4においては、上述の本発明の実施の形態1における排水処理システム1Aと同様の部分の図示は省略している。以下においては、この図4を参照して本実施の形態における排水処理システム1Bの構成について説明する。
図4は、本発明の実施の形態2における排水処理システムの構成を示す模式図である。なお、図4においては、上述の本発明の実施の形態1における排水処理システム1Aと同様の部分の図示は省略している。以下においては、この図4を参照して本実施の形態における排水処理システム1Bの構成について説明する。
図4に示すように、本実施の形態における排水処理システム1Bは、上述した本発明の実施の形態1における排水処理システム1Aと、排水処理装置200の構成において相違している。本実施の形態における排水処理システム1Bにおいては、排水処理装置200に水蒸気を導入するための配管ラインL7に、排水処理装置200にガスを導入するための配管ラインL13が接続されており、これら配管ラインL7,L13の排水処理装置200に対する接続/非接続状態を切り替えるためのバルブV291,V292が、配管ラインL7,L13にそれぞれ設けられている。また、本実施の形態における排水処理システム1Bにおいては、排水処理装置200から脱着ガスを排出するための配管ラインL9に、排水処理装置200から除去排水を排出するための配管ラインL14が接続されており、これら配管ラインL9,L14の排水処理装置200に対する接続/非接続状態を切り替えるためのバルブV293,V294が、配管ラインL9,L14にそれぞれ設けられている。なお、配管ラインL14の他端は、排水処理装置200に一次処理水を導入するための配管ラインL6に接続されている。
本実施の形態における排水処理システム1Bの排水処理装置200においては、吸着処理と脱着処理との間に脱水処理(パージ処理)が実施される。具体的には、上述の本発明の実施の形態1における排水処理システム1Aの場合と同様に、排水処理装置200においては、バルブV201〜208の開閉が操作されることによって第1処理槽210と第2処理槽220とが交互に吸着槽および脱着槽に切り替わるが、脱着槽に切り替わった際には、まず当該脱着槽と配管ラインL13および配管ラインL14とが接続され、配管ラインL13を介して脱着槽にガスが導入されて吸着材に吹き付けられることによって吸着材の表面に付着した余剰の排水を吹き飛ばす脱水処理が行なわれ、吹き飛ばされた除去排水は、配管ラインL14および配管ラインL6を経由して排水処理装置200へと再度供給される。そして、当該脱水処理を所定時間行なった後に脱着槽と配管ラインL13および配管ラインL14の接続が解除され、配管ラインL7および配管ラインL9が脱着槽に接続されて脱着処理が行なわれる。なお、脱水処理の際に脱着槽に導入されるガスとしては、高温でより低湿なガスが利用されることが好ましく、たとえば所定の温度に昇温された乾燥空気を利用することが好適である。
以上において説明した本実施の形態における排水処理システム1Bの如くの構成を採用することにより、上述した本発明の実施の形態1における排水処理システム1Aの如くの構成を採用した場合に得られる効果に加え、吸着材211,221からの有機溶剤の脱着効率が大幅に増加するため、より高効率にかつ安定的に排水を清浄化処理できる排水処理システムとできる効果が得られる。なお、上述した本実施の形態においては、排水処理装置200から排出される除去排水が当該排水処理装置200に再度供給されるように構成した場合を例示して説明を行なったが、当該除去排水は、交換式の吸着素子を備えた排水処理装置等を別途用いて清浄化処理されるように構成してもよい。
以上において説明した本発明の実施の形態1および2における排水処理システム1A,1Bにおいては、排水処理装置200の吸着材211,221に水蒸気を接触させて有機溶剤の脱着処理を行なうように構成した場合を例示して説明を行なったが、脱着処理のために使用可能なガスとしては、この他にも種々のものがある。たとえば、吸着材211,221によって吸着された有機溶剤が比較的高沸点である場合には、加熱空気を用いることも可能であり、高温のガスであればその使用が制限されない場合がある。
また、以上において説明した本発明の実施の形態1および2における排水処理システム1A,1Bの特徴的な構成は、相互に組み合わせることが可能である。たとえば、図2および図3に示した如くの構成の吸着材250,270を含む排水処理装置を本発明の実施の形態2における排水処理システム1Bの排水処理装置200に適用してもよい。なお、その場合には、吸着素子250,270の脱着処理を行なうためのゾーンに脱水処理を行なうためのゾーンが設けられ、当該脱水処理を行なうためのゾーンに位置する部分の吸着素子250,270に近接して上述した配管ラインL13,L14が接続され、吸着処理と脱着処理の間に脱水処理が行なわれるように排水処理装置200が構成されることになる。
また、以上において説明した本発明の実施の形態1および2においては、排水処理システムに具備される活性汚泥処理装置として、連続的に処理が行なわれる連続式活性汚泥処理装置を例示して説明を行なったが、回分式に処理が行なわれる回分式活性汚泥処理装置を利用することも当然に可能である。また、上述した本発明の実施の形態1および2においては、排水処理システムに具備される活性汚泥処理装置として、沈殿槽を用いて固液分離を行なうものを例示して説明を行なったが、この他にも曝気槽に設けた膜にて膜分離を行なうものなど種々の構成のものを利用できる。このように、本発明が適用可能な排水処理システムに具備される活性汚泥処理装置としては、どのような形式のものであってもよい。
また、以上において説明した本発明の実施の形態1および2においては、ポンプやファン等の流体搬送手段やストレージタンク等の流体貯留手段などの構成要素を特に示すことなく説明を行なったが、これら構成要素は必要に応じて適宜の位置に配置すればよい。
このように、今回開示した上記各実施の形態はすべての点で例示であって、制限的なものではない。本発明の技術的範囲は特許請求の範囲によって画定され、また特許請求の範囲の記載と均等の意味および範囲内でのすべての変更を含むものである。
1A,1B 排水処理システム、100 活性汚泥処理装置、110 曝気槽、111 曝気装置、120 沈殿槽、200 排水処理装置、210 第1処理槽、211 吸着材、220 第2処理槽、221 吸着材、250 吸着材、261 回転軸、270 吸着材、275 単位吸着ユニット、281 導入管、282 導出管、285 枠体、300 コンデンサ、400 セパレータ、L1〜L14 配管ライン、V201〜V208,V291〜V294 バルブ。
Claims (7)
- 有機溶剤を含有する排水から有機溶剤を除去することで当該排水を清浄化する排水処理システムであって、
有機溶剤を分解する微生物が含まれた活性汚泥を有し、当該活性汚泥に排水を接触させることで微生物によって有機溶剤を分解させて除去して一次処理水として排出する活性汚泥処理装置と、
前記活性汚泥処理装置に接続され、前記活性汚泥処理装置から排出された一次処理水を接触させることで有機溶剤を吸着し、ガスを接触させることで吸着した有機溶剤を脱着する吸着素子を含み、前記吸着素子に一次処理水を供給することで有機溶剤を前記吸着素子に吸着させて二次処理水として排出し、前記吸着素子にガスを供給することで有機溶剤を前記吸着素子から脱着させて有機溶剤を含有する脱着ガスとして排出する排水処理装置と、
前記排水処理装置に接続され、前記排水処理装置から排出された脱着ガスを凝縮して凝縮液として排出する凝縮装置とを備え、
前記排水処理装置は、前記吸着素子の脱着処理が完了した部分を吸着処理を行なう部分に移行させるとともに前記吸着素子の吸着処理が完了した部分を脱着処理を行なう部分に移行させることで連続的に一次処理水を処理可能なものである、排水処理システム。 - 前記凝縮装置から排出された凝縮液が、排水として前記活性汚泥処理装置に再度供給されるように構成された、請求項1に記載の排水処理システム。
- 前記凝縮装置から排出された凝縮液を比重差に基づいて分液して有機溶剤を高濃度に含有する濃縮液と有機溶剤を低濃度に含有する分離排水とに分離して排出する濃縮分液装置をさらに備えた、請求項1に記載の排水処理システム。
- 前記濃縮分液装置から排出された濃縮液が、排水として前記活性汚泥処理装置に再度供給されるように構成された、請求項3に記載の排水処理システム。
- 前記排水処理装置は、前記吸着素子にガスを吹き付けることで前記吸着素子に付着した余剰の排水を吹き飛ばしてこれを除去排水として排出する、請求項1から4のいずれかに記載の排水処理システム。
- 前記排水処理装置から排出された除去排水が、一次処理水として前記排水処理装置に再度供給されるように構成された、請求項5に記載の排水処理システム。
- 前記吸着素子が、活性炭、活性炭素繊維およびゼオライトからなる群から選ばれる少なくとも1の部材を含んでいる、請求項1から6のいずれかに記載の排水処理システム。
Priority Applications (1)
| Application Number | Priority Date | Filing Date | Title |
|---|---|---|---|
| JP2008326183A JP2010142792A (ja) | 2008-12-22 | 2008-12-22 | 排水処理システム |
Applications Claiming Priority (1)
| Application Number | Priority Date | Filing Date | Title |
|---|---|---|---|
| JP2008326183A JP2010142792A (ja) | 2008-12-22 | 2008-12-22 | 排水処理システム |
Publications (1)
| Publication Number | Publication Date |
|---|---|
| JP2010142792A true JP2010142792A (ja) | 2010-07-01 |
Family
ID=42563775
Family Applications (1)
| Application Number | Title | Priority Date | Filing Date |
|---|---|---|---|
| JP2008326183A Pending JP2010142792A (ja) | 2008-12-22 | 2008-12-22 | 排水処理システム |
Country Status (1)
| Country | Link |
|---|---|
| JP (1) | JP2010142792A (ja) |
Cited By (6)
| Publication number | Priority date | Publication date | Assignee | Title |
|---|---|---|---|---|
| CN104609497A (zh) * | 2015-02-11 | 2015-05-13 | 上海三夫工程技术有限公司 | 有机废水的活性炭处理工艺 |
| CN104649448A (zh) * | 2010-08-11 | 2015-05-27 | 东洋纺株式会社 | 废水处理方法 |
| JP2015134319A (ja) * | 2014-01-17 | 2015-07-27 | 東洋紡株式会社 | 水処理システム |
| JP2018103164A (ja) * | 2016-12-28 | 2018-07-05 | 東洋紡株式会社 | 水処理システム |
| WO2020203779A1 (ja) * | 2019-03-29 | 2020-10-08 | 東洋紡株式会社 | 水処理システム |
| CN114260003A (zh) * | 2021-11-27 | 2022-04-01 | 嵊州炭鼎炭素科技有限公司 | 资源化回收活性炭中的山梨酸及活性炭再生设备及其工艺 |
Citations (7)
| Publication number | Priority date | Publication date | Assignee | Title |
|---|---|---|---|---|
| JPH0952099A (ja) * | 1995-06-06 | 1997-02-25 | Taiyo Kagaku Kogyo Kk | 廃液の処理方法及びその装置 |
| JPH1057949A (ja) * | 1996-03-19 | 1998-03-03 | Huels Ag | 有機含有物を有する水の浄化法 |
| JPH10216795A (ja) * | 1997-02-06 | 1998-08-18 | Sanko Seisakusho:Kk | クリーニング工場排水処理システム |
| JP2003299935A (ja) * | 2002-04-04 | 2003-10-21 | Matsushita Environment Airconditioning Eng Co Ltd | 有機系排ガスの処理方法及び装置 |
| JP2006055712A (ja) * | 2004-08-18 | 2006-03-02 | Toyobo Co Ltd | 水処理装置 |
| JP2007029826A (ja) * | 2005-07-25 | 2007-02-08 | Daiki Ataka Engineering Co Ltd | 廃水処理装置及びこの装置を用いた廃水処理方法 |
| JP2008188492A (ja) * | 2007-02-01 | 2008-08-21 | Toyobo Co Ltd | 水処理システム |
-
2008
- 2008-12-22 JP JP2008326183A patent/JP2010142792A/ja active Pending
Patent Citations (7)
| Publication number | Priority date | Publication date | Assignee | Title |
|---|---|---|---|---|
| JPH0952099A (ja) * | 1995-06-06 | 1997-02-25 | Taiyo Kagaku Kogyo Kk | 廃液の処理方法及びその装置 |
| JPH1057949A (ja) * | 1996-03-19 | 1998-03-03 | Huels Ag | 有機含有物を有する水の浄化法 |
| JPH10216795A (ja) * | 1997-02-06 | 1998-08-18 | Sanko Seisakusho:Kk | クリーニング工場排水処理システム |
| JP2003299935A (ja) * | 2002-04-04 | 2003-10-21 | Matsushita Environment Airconditioning Eng Co Ltd | 有機系排ガスの処理方法及び装置 |
| JP2006055712A (ja) * | 2004-08-18 | 2006-03-02 | Toyobo Co Ltd | 水処理装置 |
| JP2007029826A (ja) * | 2005-07-25 | 2007-02-08 | Daiki Ataka Engineering Co Ltd | 廃水処理装置及びこの装置を用いた廃水処理方法 |
| JP2008188492A (ja) * | 2007-02-01 | 2008-08-21 | Toyobo Co Ltd | 水処理システム |
Cited By (7)
| Publication number | Priority date | Publication date | Assignee | Title |
|---|---|---|---|---|
| CN104649448A (zh) * | 2010-08-11 | 2015-05-27 | 东洋纺株式会社 | 废水处理方法 |
| JP2015134319A (ja) * | 2014-01-17 | 2015-07-27 | 東洋紡株式会社 | 水処理システム |
| CN104609497A (zh) * | 2015-02-11 | 2015-05-13 | 上海三夫工程技术有限公司 | 有机废水的活性炭处理工艺 |
| JP2018103164A (ja) * | 2016-12-28 | 2018-07-05 | 東洋紡株式会社 | 水処理システム |
| WO2020203779A1 (ja) * | 2019-03-29 | 2020-10-08 | 東洋紡株式会社 | 水処理システム |
| CN114260003A (zh) * | 2021-11-27 | 2022-04-01 | 嵊州炭鼎炭素科技有限公司 | 资源化回收活性炭中的山梨酸及活性炭再生设备及其工艺 |
| CN114260003B (zh) * | 2021-11-27 | 2023-11-14 | 嵊州炭鼎炭素科技有限公司 | 资源化回收活性炭中的山梨酸及活性炭再生设备及其工艺 |
Similar Documents
| Publication | Publication Date | Title |
|---|---|---|
| JP5029590B2 (ja) | 排水処理システム | |
| JP2010142792A (ja) | 排水処理システム | |
| JP2010149040A (ja) | 有機溶剤含有ガス処理システム | |
| JP6393965B2 (ja) | 排水処理システム | |
| JP2010142728A (ja) | 排ガス処理システム | |
| JP6311342B2 (ja) | 排水処理システム | |
| JP5810488B2 (ja) | 排水処理システム | |
| JP2012040534A (ja) | 排水処理システム | |
| WO2012020755A1 (ja) | 排水処理システム | |
| JP2010142730A (ja) | 排水処理システム | |
| JP2010142790A (ja) | 排ガス処理システム | |
| JP2012035232A (ja) | 排水処理システム | |
| JP2008188493A (ja) | 水処理装置 | |
| JP2008188492A (ja) | 水処理システム | |
| JP2010221075A (ja) | 有機溶剤含有ガス処理システム | |
| CN106955584A (zh) | VOCs生物降解洗涤系统 | |
| JP6699129B2 (ja) | 水処理システム | |
| JP2010142793A (ja) | 排水処理システム | |
| JP2009273975A (ja) | 有機溶剤含有ガス処理システム | |
| KR100375079B1 (ko) | 휘발성 유기화합물의 흡착-응축식 회수 방법 및 이를 위한장치 | |
| JP2010029739A (ja) | 有機溶剤含有ガス処理システム | |
| JP5978808B2 (ja) | 排水処理システム | |
| JP4441162B2 (ja) | 有機系排気ガス処理方法、および、有機系排気ガス処理装置 | |
| JP5565106B2 (ja) | 排水処理装置 | |
| JP4512993B2 (ja) | 水処理装置 |
Legal Events
| Date | Code | Title | Description |
|---|---|---|---|
| A621 | Written request for application examination |
Free format text: JAPANESE INTERMEDIATE CODE: A621 Effective date: 20111020 |
|
| A977 | Report on retrieval |
Free format text: JAPANESE INTERMEDIATE CODE: A971007 Effective date: 20120809 |
|
| A131 | Notification of reasons for refusal |
Free format text: JAPANESE INTERMEDIATE CODE: A131 Effective date: 20120821 |
|
| A02 | Decision of refusal |
Free format text: JAPANESE INTERMEDIATE CODE: A02 Effective date: 20121225 |