JP2010142460A - 吸収性物品の製造装置 - Google Patents

吸収性物品の製造装置 Download PDF

Info

Publication number
JP2010142460A
JP2010142460A JP2008323762A JP2008323762A JP2010142460A JP 2010142460 A JP2010142460 A JP 2010142460A JP 2008323762 A JP2008323762 A JP 2008323762A JP 2008323762 A JP2008323762 A JP 2008323762A JP 2010142460 A JP2010142460 A JP 2010142460A
Authority
JP
Japan
Prior art keywords
roll
embossing
anvil
convex
groove
Prior art date
Legal status (The legal status is an assumption and is not a legal conclusion. Google has not performed a legal analysis and makes no representation as to the accuracy of the status listed.)
Pending
Application number
JP2008323762A
Other languages
English (en)
Inventor
Akihisa Morita
晃央 森田
Ryuji Matsunaga
竜二 松永
Yasuhiro Nakano
康宏 中野
Current Assignee (The listed assignees may be inaccurate. Google has not performed a legal analysis and makes no representation or warranty as to the accuracy of the list.)
Kao Corp
Original Assignee
Kao Corp
Priority date (The priority date is an assumption and is not a legal conclusion. Google has not performed a legal analysis and makes no representation as to the accuracy of the date listed.)
Filing date
Publication date
Application filed by Kao Corp filed Critical Kao Corp
Priority to JP2008323762A priority Critical patent/JP2010142460A/ja
Publication of JP2010142460A publication Critical patent/JP2010142460A/ja
Pending legal-status Critical Current

Links

Images

Landscapes

  • Absorbent Articles And Supports Therefor (AREA)

Abstract

【課題】表面シートと基台シートとを確実かつ低廉に接合することができる吸収性物品の製造装置を提供すること。
【解決手段】エンボスロールとアンビルロールとの間に、表面シートと吸収体との重ね合わせ体を通過させてこれらを押圧し、エンボスロールの軸方向及び周方向に延びる前記エンボス凸部に対応したエンボス溝部を形成する吸収性物品の製造装置である。エンボスロールの軸方向に延びるエンボス凸部とアンビルロールとのクリアランスが、エンボスロールの周方向に延びるエンボス凸部とアンビルロールとのクリアランスよりも狭くなるように、アンビルロールの外周面の一部が凹又は凸に加工されている。
【選択図】図4

Description

本発明は、生理用ナプキン、パンティライナ、失禁パッド、失禁ライナなどの吸収性物品を製造する装置に関する。
生理用ナプキンを始めとする吸収性物品においては、その表面シート側に、表面シートと吸収体とを圧密一体化させたエンボス溝部を形成し、液の吸収性や身体へのフィット性を高めることが行われている。この場合、エンボス溝部の形成が不十分であると、表面シートが吸収体から剥離して、いわゆる浮きが生じる場合がある。逆に、エンボス加工時の押圧力を高めて浮きの発生を防止しようとすると、表面シートの一部に破れが生じることがある。そこで、浮きや破れを生じさせずにエンボス溝部を形成することを目的として、特許文献1及び2においては、エンボス溝部内に高圧搾部及び低圧搾部を設けるとともに、これらの圧搾部の寸法を適切な範囲に設定することが提案されている。しかし、吸収性物品の長手方向に延びるエンボス溝部と、幅方向に延びるエンボス溝部とでは、エンボス加工時の押圧力に差が生じやすいので、これらの溝部の双方に浮きや破れを生じさせないようにすることは容易でない。
ところで、特許文献3には、立体形状をなす吸収性物品を生産性よく製造し得る吸収性物品の製造装置が記載されている。同文献には、吸収性の繊維製品を連続的に製造する装置として、外周面に複数の集積用凹部を有する回転ドラムと、該回転ドラムの外周面に原料繊維を飛散させて供給する原料供給手段と、該回転ドラムに同期して回転し、その外周面に凸部を有する小ドラムとを備えた繊維製品の製造装置が開示されている。この装置によれば、各集積用凹部内に堆積した原料繊維は、前記小ドラムの凸部に押圧されて賦形され、繊維製品として、圧縮空気及び吸引により該集積用凹部内からコンベア上に離型排出され、次工程に搬送される。この技術を用いて、例えば図10に示すような生理用ナプキンが製造されている。同図中、符号Aで示す部分のエンボス溝部は、図11に示すように、間隔を置いて配置された、台紙102に覆われた吸収コア100の2個の凸部間を図中、上下方向に一対のロールで圧縮することにより形成される。同図に示す2個の凸部と下部吸収コアは特許文献3などに代表される吸収コア製造装置を複数用いて作られ、1個の吸収コア100を構成している。このような吸収コアを有する吸収性物品においては、凸部間に位置する表面シートの反発力に起因して、符号Aで示す部分のエンボス溝部に、上述した浮きや破れが生じるおそれが一層高くなる。
特開2003−265519号公報 特開2006−020976号公報 特公平6−142号公報
したがって本発明の目的は、溝部において表面シートが吸収体から剥離せず、表面シートと吸収体との確実に溝部を形成することができる吸収性物品の製造装置を提供することにある。
本発明は、エンボス溝部を形成するためのエンボス凸部を備えるエンボスロールと、該エンボスロールに対向して配置されたアンビルロールとの間に、表面シートと吸収体との重ね合わせ体を通過させて、表面シートと吸収体とを押圧し、該エンボスロールの軸方向及び周方向に延びる前記エンボス凸部に応じたエンボス溝部を形成する吸収性物品の製造装置であって、
前記エンボスロールの軸方向に延びるエンボス凸部と前記アンビルロールとのクリアランスが、周方向に延びるエンボス凸部と該アンビルロールとのクリアランスよりも狭くなるように、該アンビルロールの外周面の一部が凹又は凸に加工されているか、又は使用時にヒータ加熱による熱膨張で凸形状にされる吸収性物品の製造装置を提供するものである。
本発明の吸収性物品の製造装置によれば、表面シートと吸収体とに形成したエンボス溝部において、表面シートが吸収体から剥離することが効果的に防止され エンボス溝部を確実に形成することができる。
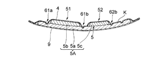
以下、本発明をその好ましい実施形態に基づき図面を参照しながら説明する。先ず、本発明の装置を用いて製造される吸収性物品の概略について説明する。図1には、本発明の装置を用いて製造される吸収性物品の一例である生理用ナプキンの斜視図が示されている。図2は図1におけるII−II線断面図である。図1及び図2に示す生理用ナプキン20(以降、ナプキンとも称す)は、肌対向面を形成する表面シート4、非肌対向面を形成する裏面シート9及び両シート4,9間に介在する吸収体5を有する実質的に縦長のものである。吸収体5は、上下2段構造になっている吸収コア5Aを有している。すなわち吸収コア5Aは、下側(すなわち裏面シート側)に位置する下部吸収コア5aと、上側(すなわち表面シート側)に位置する2つの上部吸収コア5b,5cとから形成されている。2つの上部吸収コア5b,5cはそれらの平面視においていずれも、下部吸収コア5aの平面視での形状よりも寸法が小さくなっている。2つの上部吸収コア5b,5cは、ナプキン20の幅方向中央域に、長手方向に沿って直列に、かつ間隔をおいて配置されている。下部吸収コア5a及び上部吸収コア5b,5cからなる吸収コア5Aは、これら全体が基台シート(図示せず)に包まれて吸収体5が形成されている。
ナプキン20はその幅方向中央域の肌対向面側において、基面部と該基面部から隆起する中高部50を有している。中高部50は、別個に設けられる前方中高部51と後方中高部52とからなる。「前方」及び「後方」とは、ナプキン20の装着状態において、着用者の身体の前側及び後側に位置する方向を言う。
前方中高部51及び後方中高部52は、ナプキン20の長手方向に沿って直列に配置されている。前方中高部51及び後方中高部52はいずれも、ナプキン20の長手方向に延びている。また、前方中高部51及び後方中高部52はいずれも、下部吸収コア5aの幅よりも狭幅となっている。ナプキン20の平面視において、前方中高部51及び後方中高部52はいずれも、略長円形をしている。前方中高部51及び後方中高部52は、上述した上部吸収コア5b,5cからそれぞれ構成されている。
ナプキン20は、前方中高部51の周縁の位置に、該前方中高部51の全域を取り囲むように形成された略環状の前方エンボス溝部61を有している。前方エンボス溝部61は、上部吸収コア5bの周縁の位置において、表面シート4と下部吸収コア5aとを、後述するエンボス加工による押圧で圧密一体化して形成されている。前方エンボス溝部61は、前方中高部51の前方端縁部及び後方端縁部にそれぞれ位置する前方溝部61a及び後方溝部61b、並びに前方中高部51の左右の側縁部に位置する側方溝部61c,61cとから構成されている。これらの溝部は互いに滑らかに連なり、実質的に閉じた形状を構成している。前方溝部61a及び後方溝部61bは、いずれもナプキン20の概ね幅方向に延びている。側方溝部61cは、ナプキン20の概ね長手方向に延びている。
またナプキン20は、後方中高部52の周縁の位置に、該後方中高部52の両側縁部及び後方端縁部を取り囲むように形成された略U字状の後方エンボス溝部62を有している。後方エンボス溝部62は、上部吸収体5cの周縁の位置において、表面シート4と下部吸収コア5aとを、後述するエンボス加工によって圧密一体化して形成されている。後方エンボス溝部62は、後方中高部52の後方端縁部に位置する後方溝部62b及び後方中高部52の左右の側縁部に位置する側方溝部62c,62cとから構成されている。これらの溝部は互いに滑らかに連なっている。後方溝部62bは、ナプキン20の概ね幅方向に延びている。側方溝部62cは、ナプキン20の概ね長手方向に延びている。
このように、ナプキン20には、その概ね幅方向に延びる前方溝部61a及び後方溝部61b並びに後方溝部62bを有している。
更にナプキン20には、後方エンボス溝部62を取り囲む後方外周エンボス溝部63も有している。後方外周エンボス溝部63は、略U字形をしており、その二つの端部は、先に述べた前方エンボス溝部61と連接している。これによって閉鎖領域が形成され、該閉鎖領域内に後方エンボス溝部62が存在していることになる。
ナプキン20における表面シート4としては、例えば透液性を有するシート材料である不織布や穿孔フィルム等を好適に用いることができる。裏面シート9としては、例えば不透液性のフィルムや、スパンボンド−メルトブローン−スパンボンド不織布等からなる撥水性のシート材料が用いられる。裏面シート9は水蒸気透過性を有していてもよい。基台シートとしては、例えばティッシュペーパー等の透水性を有する繊維シートを用いることができる。吸収コア5Aは、例えば木材パルプ繊維と高吸収性ポリマーの粒子の混合物から構成されている。
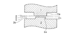
図3には、上述のナプキン20を製造するために好適に用いられる装置が模式的に示されている。図4は、図3における要部拡大図である。図3及び図4に示す製造装置は、エンボスロール1と、これに対向して配置されたアンビルロール2とを備えた圧縮成形機構部3を有している。エンボスロール1及びアンビルロール2は、互いに反対方向に回動している。吸収コア5Aは基台シート6上に載置された状態で搬送される。基台シート6は、折り曲げ装置Fを通過することで折り曲げられて吸収コア5Aの全体を包被し吸収体5が形成される。吸収体5は、案内ロール7に案内されて搬送されてきた表面シート4と合流して両者の重ね合わせ体Cが形成される。この重ね合わせ体Cは、エンボスロール1とアンビルロール2との間を通過して、表面シート4と吸収体5とが圧密化されて環状のエンボス溝部である前方エンボス溝部61を始めとする各エンボス溝部がナプキン20に形成される。これらのエンボス溝部は、後述のエンボスロール1のエンボス凸部に対応して、表面シート4の側から吸収体5へ向けて凹状に形成される。
エンボスロール1は、ナプキン1にエンボス溝部を形成するためのエンボス凸部を、該ロール1の周面に備えている。エンボスロール1は、ナプキン20における各エンボス溝部に対応する複数のエンボス凸部を有しているが、簡便のため、図3及び図4においては、その一部のエンボス凸部1aのみが示されている。これらの図に示されるエンボス凸部1aは、図1及び図2に示すナプキン20における前方エンボス溝部61を形成するためのものである。エンボス凸部1aは、前方エンボス溝部61と相補形状をなしている。上述のとおり、前方エンボス溝部61が閉じた環状のものであり、かつ前方溝部61a及び後方溝部61b並びに側方溝部61c,61cから構成されている。したがって、前方エンボス溝部61と相補形状をなすエンボス凸部1aは、閉じた環状のものであり、前方溝部61aに対応する部位である前方凸部11a、及び後方溝部61bに対応する部位である後方凸部(図示せず)、並びに側方溝部61cに対応する部位である側方凸部12a,12aから構成されている。
図3に示す製造装置においては、基台シート6の原反(図示せず)から基台シート6が繰り出される。基台シート6は長尺帯状の連続体である。繰り出された基台シート6は、案内ロール8に案内されて方向が変えられ、その一面上に吸収コア5Aが所定間隔をおいて配置される。この吸収コア5Aは、先に述べたとおり、下部吸収コア5aと上部吸収コア5b,5c(図2参照)とから構成されているものである。吸収コア5Aは、当該技術分野において公知の積繊機を用いて製造することができる。基台シート6の上に配置された吸収コア5Aは該基台シート6に搬送されながら、その全体が基台シート6に包被される。基台シート6による吸収コア5Aの包被には、例えば当該技術分野において公知のシート折り曲げ装置Fが特に制限なく用いられる。基台シート6によって包被された吸収コア5Aの上には、表面シート4の連続体が配置される。この表面シート4の連続体は、図示しない原反から繰り出されたものであり、基台シート6と同様に長尺帯状のものである。なお、吸収コア5A全体が基台シート6に包被されるだけでなく、後述する図11のように下部吸収コア5aと上部吸収コア5b,5cがそれぞれ別々に基台シート6に包まれて吸収体コア5Aが形成されてもよい。
基台シート6、吸収コア5及び表面シート4を有する長尺状の重ね合わせ体Cは、エンボスロール1とアンビルロール2との間を通過することで、後述するエンボス加工が施されて一体化する。両ロール1,2間を通過して形成された一体化物C’には、その下面の側に、案内ロール10によって搬送されてきた裏面シート9の連続体からなる原反が配置される。そして、下流の工程において常法にしたがい更に加工が施されて、最終的に図1に示すナプキン20が製造される。
本実施形態の製造装置においては、ナプキン20のエンボス溝部における表面シート4と吸収体5との接合力の分布が極力均一になるように、アンビルロール2の外周面の一部が凸に加工されている点に特徴の一つを有している。つまり、本実施形態の製造装置におけるアンビルロール2は、全体としてはその周面が平滑であるが、一部分に凸加工が施されている。
図5には、エンボスロール1における前方凸部11aが、アンビルロール2と対向した状態が示されている。前方凸部11aは、図4に示すように、エンボスロールのエンボス凸部1aのうち、エンボスロール1の軸方向に延びる部位である。一方、アンビルロール2には、その外周面に、該ロール2の周方向に沿ってアンビル凸部2aが形成されている。アンビル凸部2aは、アンビルロール2の外周面の周方向全域にわたって形成されている。アンビル凸部2aは、アンビルロール2の外周面における基準面2bよりも、ロール2の半径方向に突出した部位になっている。アンビル凸部2aは、ロール2の幅方向の中央域に設けられている。アンビル凸部2aは、その高さがロール2の周方向に関して一定になっている。また、アンビル凸部2aは、幅もロール2の周方向に関して一定になっている。なお、図4及び図5においては、発明の理解を容易にすることを目的として、アンビル凸部2aの高さが、実際よりも誇張して描かれている。実際には、アンビル凸部2aの高さhは、表面シート4の厚みや、中高部51,52の高さにもよるが、一般に5〜1000μmであることが好ましく、5〜100μmであることが更に好ましい。アンビル凸部2aの高さをこの範囲内に設定することで、ナプキン20にエンボス溝部を首尾良く形成することができる。
図5に示すように、エンボスロール1における前方凸部11aの幅と、アンビルロール2におけるアンビル凸部2aの幅(すなわち、アンビルロール2の軸方向に沿うアンビル凸部2aの長さ)とを対比すると、アンビル凸部2aの幅の方が小さくなっている。また、アンビル凸部2aの両端は、前方凸部11aの両端よりも内側に位置している。なお、図5には示していないが、エンボスロール1における後方凸部の幅と、アンビルロール2におけるアンビル凸部2aの幅とを対比すると、アンビル凸部2aの幅の方が小さくなっており、かつアンビル凸部2aの両端は、後方凸部の両端よりも内側に位置している。
エンボスロール1における前方凸部11a及び後方凸部(図示せず)、並びにアンビルロール2におけるアンビル凸部2aの配置関係及び寸法関係を上述のとおりに設定することで、エンボスロール1の軸方向に延びるエンボス凸部である前方凸部11a及び後方凸部とアンビルロール2とのクリアランスが、周方向に延びるエンボス凸部である側方凸部12aとアンビルロール2とのクリアランスよりも狭くなる。このことによって、ナプキン20に環状の前方エンボス溝部61(図1参照)を形成する場合に、前方溝部61a及び後方溝部61bにおける押圧力と、側方溝部61cにおける押圧力とを同程度にすることが可能となる。詳細には、アンビルロール2にアンビル凸部2aが形成されておらず、アンビルロール2がフラットロールである場合には、前方溝部61a及び後方溝部61bを形成するときの押圧力は、側方溝部61cを形成するときの押圧力に比べて低くなるのが一般的であるところ、前方溝部61a及び後方溝部61bを形成するための前方凸部11a及び後方凸部(図示せず)に対向させてアンビル凸部2aを位置させることで、前方溝部61a及び後方溝部61bでの押圧力を容易に高めることができる。その結果、前方溝部61a及び後方溝部61bを形成するときの押圧力を、側方溝部61cを形成するときの押圧力とほぼ同程度に高めることができる。したがって、ナプキン20における前方エンボス溝部61は、その全周にわたって表面シート4と吸収体5とが均一に接合し、両者の剥離が起こりづらくなる。特に、2つの上部吸収コア5b,5cの間に位置する後方溝部61bを形成する場合には、表面シート4及び基台シート6の張力及び2つの上部吸収コア5b,5cの圧縮に対する反発力が後方溝部61bに作用するので、該後方溝部61bにおいて表面シートと吸収体5とが剥離しやすいが、本実施形態によれば、そのような剥離も効果的に防止することができる。
以上のとおり、本実施形態によれば、アンビルロール2を凸に加工してアンビル凸部2aを形成することで、エンボスロール1における環状のエンボス凸部1aと、アンビルロール2の外周面とのクリアランスが、エンボス凸部1aの位置に応じて局所的に変化する。このクリアランスを適切に設定することで、ナプキン20の前方エンボス溝部61の形成位置における表面シート4と吸収体5との接合力分布の均一化を図ることができる。
更に、ナプキン20における後方エンボス溝部62を形成する場合にも、上述の技術を適用して、後方エンボス溝部62の形成位置における表面シート4と吸収体5との接合力分布の均一化を図ることができる。すなわち、後方エンボス溝部62は、後方溝部62b及び側方溝部62c,62cから構成されるところ、エンボスロール1における凸部のうち、後方溝部62bを形成するための凸部を第2後方凸部とし、側方溝部62cを形成するための凸部を第2側方凸部とすると、これらの凸部のうち、ロール1の幅方向に延びる凸部である第2後方凸部とアンビルロール2とのクリアランスを、ロール1の周方向に延びる凸部である第2側方凸部とアンビルロール2とのクリアランスよりも狭くすることで、ナプキン20の後方溝部62bにおける押圧力と、側方溝部62cにおける押圧力とを同程度にすることが可能となる。具体的には、ロール1の幅方向に延びる凸部である第2後方凸部の幅よりもアンビル凸部2aの幅を小さくし、かつ、アンビル凸部2aの両端を、第2後方凸部の両端よりも内側に位置させる。このことによって、ナプキン20における後方エンボス溝部62は、その全域にわたって表面シート4と吸収体5とが均一に接合し、両者の剥離が起こりづらくなる。
なお、前記の実施形態においては、アンビルロール2におけるアンビル凸部2aを、該ロール2の外周面の周方向の全域にわたって形成したが、これに代えて、エンボスロール1における前方凸部11a及び後方凸部(図示せず)並びに第2後方凸部(図示せず)に対応する位置にのみ、アンビル凸部2aを形成してもよい。
以上の装置を用いた生理用ナプキン20の製造においては、エンボスロール1に形成されている凸部の全域にわたって均一な押圧力が作用する。したがって、エンボスロール1における前方凸部11a及び後方凸部(図示せず)に十分な力が加わるようにすることを目的として、エンボス溝とアンビルロールの間隔を狭くする必要がない。そのため、側方凸部12aに過度の力が加わることを防ぐことができるので、側方溝部61cが過度の押圧によって破断してしまうことが効果的に防止される。しかも、過度の力を加える必要がないので、エンボスロール軸の磨耗も防げる。
次に本発明の第2ないし第4実施形態を、図6ないし図9を参照しながら説明する。これらの実施形態に関しては、先に説明した第1実施形態と異なる点について説明し、特に説明しない点については第1実施形態に関して詳述した説明が適宜適用される。また、図6ないし図9において、図1ないし図5と同じ部材には、同じ符号を付してある。
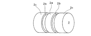
図6及び図7に示す第2実施形態においては、エンボスロール1は、第1実施形態で用いたものと同様のものが用いられる。ただし、図6においては、第1実施形態に関して先に説明した図5と異なり、側方凸部12aの断面が現れる位置においてエンボスロール1を切断した断面が示されている。一方、アンビルロール2の構造は、第1実施形態で用いたものと相違する。詳細には、アンビルロール2は、全体としてフラットロールになっており、かつその外周面に、アンビルロール2の周方向に沿って一対のアンビル凹部2b,2bが形成されている。つまり、本実施形態の製造装置におけるアンビルロール2は、全体としてはその周面が平滑であるが、一部分に凹加工が施されている。一対のアンビル凹部2bの間に位置する部位2aと、各アンビル凹部2bよりも軸方向の外方に位置する部位2c,2cとは、その高さが同じになっている。アンビル凹部2bは、エンボスロール1の側方凸部12aと対向するように位置している。つまり、各アンビル凹部は、エンボスロール1における側方凸部12a,12aを跨ぐように位置している。
なお、図6及び図7においては、先に図4及び5を参照して説明した第1の実施形態と同様に、発明の理解を容易にすることを目的として、アンビル凹部2bの深さが、実際よりも誇張して描かれている。実際には、アンビル凹部2bの深さは、表面シート4の厚みや、中高部51,52の高さにもよるが、一般に5〜1000μmであることが好ましく、5〜100μmであることが更に好ましい。アンビル凹部2bの高さをこの範囲内に設定することで、ナプキン20にエンボス溝部を首尾良く形成することができる。
先に述べた第1の実施形態においては、エンボスロール1における前方凸部11a及び後方凸部による押圧力を、側方凸部12aによる押圧力よりも高くして、エンボス溝部を均一に形成したのに対し、本実施形態においては、これと反対に、押圧力が高く作用しやすい側方凸部12aの押圧力を、前方凸部及び後方凸部の押圧力よりも相対的に低くすることで、エンボス溝部を均一に形成している。いずれも実施形態においても、前方凸部及び後方凸部とアンビルロール2とのクリアランスが、周方向に延びるエンボス凸部である側方凸部12aとアンビルロール2とのクリアランスよりも狭くなる点は共通している。したがって、本実施形態によれば、先に説明した第1実施形態と同様の効果が奏される。更に本実施形態においては、通常用いられているフラットロールを旋盤加工して二条のアンビル凹部2bを形成すればよいので、アンビルロール2の製造が第1実施形態よりも容易であるという利点もある。
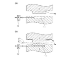
図8(a)に示す第3実施形態におけるアンビルロール2は、これまでの実施形態と異なりフラットロールになっている。アンビルロール2の内部には、その外周面寄りの位置に、ヒータ11が埋設されている。ヒータ11は、アンビルロール2の軸方向に延びるように配置されている。ヒータ11は、エンボスロール1におけるエンボス凸部1aのうち、該ロール1の軸方向に延びる部位である前方凸部11a及び後方凸部(図示せず)に対向するように位置している。図8(a)には、ヒータ11を加熱する前の状態のアンビルロール2が示されている。この状態では、アンビルロール2はフラットロールの状態が保たれている。
ヒータ11は電源(図示せず)に接続され、その途中にはスイッチ12が設けられている。このスイッチ12をオフからオンに切り換えると、ヒータ11が発熱し、アンビルロール2を加熱する。この加熱は局所的であることから、アンビルロール2内に温度分布が発生し、この温度分布に合わせてアンビルロール2が熱膨張する。その結果、図8(b)に示すように、アンビルロール2の外周面にアンビル凸部2aが形成される。形成されたアンビル凸部2aは、エンボスロール1における後方凸部11a及び前方凸部(図示せず)に対向するように位置している。
本実施形態によれば、上述のとおり、ヒータ11はアンビルロール2内において、エンボスロール1における前方凸部11a及後方凸部(図示せず)に対向するように、複数個が部分的に配置されている。したがって、広範囲にわたって不必要にアンビルロール2を加熱することがなく、電力の消費を抑えることができる。尤も、アンビルロール2の周面全域にわたってヒータ11を設けることは何ら差し支えない。
本実施形態でも第1実施形態と同様の効果が奏される。更に本実施形態では、フラットロールにヒータ11を埋設して配線を引き出すだけでアンビルロール2を構成することができるので、既存のフラットロールに容易に適用することができる。また、各ヒータ11の発熱量を独立して制御することができるので、アンビルロール2の表面に所望の高さのアンビル凸部2aを形成することができる。
図9に示す第4実施形態は、上述した第3実施形態と同様に、フラットロールからなるアンビルロール2の内部にヒータ11が埋設されている。ヒータ11は、ロール2の軸方向に沿って配置されている。アンビルロール2内には、2本のヒータ11が埋設されており、各ヒータ11は、ロールの中心軸に対して180度対向した位置に配置されている。このようにヒータ11を配置すると、ヒータ11を発熱させる前は同図中、点線で示す輪郭を有していたアンビルロール2の外周面は、ヒータ11を発熱させることで、実線で示す輪郭に熱変形する。すなわち、ヒータ11を発熱させてアンビルロール2を加熱することで、アンビル凸部に相当する部分C(図9中、斜線で示す部分)を形成することができる。
本実施形態でも第3実施形態と同様の効果を奏する。更に本実施形態では、ヒータ11に、その長手方向に沿って電気抵抗分布を持たせることで、アンビル凸部に相当する部分Cの盛り上がり形状を精度良く調整することができる。例えば、アンビルロール2のうち、エンボスロール1における前方凸部11a及び後方凸部(図示せず)と対向する部分のみ盛り上がるように、アンビルロール2の表面を熱膨張させることが可能である。また、電気抵抗分布ではなく、例えば、棒状のヒータ11を複数の区分に分け、この区分毎に電線を接続し、印加する電圧を区分毎に変化させて発熱量を変化させるようにしても良い。
なお、図8及び図9においては、発明の理解を容易にすることを目的として、符号2a(図8)及び符号C(図9)で示される部分の盛り上がりが、実際よりも誇張して描かれている。実際の盛り上がりの程度は、ナプキンに形成するエンボス溝部の深さにもよるが、盛り上がり前の状態に対して5〜1000μm程度、特に5〜100μm程度とすることが好ましい。
以上、本発明をその好ましい実施形態に基づき説明したが、本発明は前記実施形態に制限されない。例えば、第2実施形態では、アンビルロール2の外周面に、ロール2の中心軸を通る平面で該ロールの断面をみたときに、断面が矩形状のアンビル溝部2bを形成した例について説明したが、溝部2bの形状はこれに限定されることはなく、例えば逆三角形、半円、半楕円又は逆台形状となる形状のアンビル凹部2bを形成してもよい。
図1は、本発明にしたがい製造される吸収性物品の一例としての生理用ナプキンを示す斜視図である。 図2は、図1に示すII−II線断面図である。 図3は、本発明の吸収性物品の製造装置の第1実施形態を示す説明図である。 図4は、図3における圧縮成形機構部3の要部を拡大して示す説明図である。 図5は、図4における要部拡大図である。 図6は、本発明の第2実施形態におけるエンボスロール及びアンビルロールの要部を拡大して示す説明図(図5相当図)である。 図7は、図6に示すアンビルロールの斜視図である。 図8(a)及び(b)はそれぞれ、本発明の第3実施形態におけるエンボスロール及びアンビルロールの要部を拡大して示す説明図(図5相当図)であり、図8(a)はヒータの加熱前の状態を表し、図8(b)はヒータを加熱した状態を表す。 図9は、本発明の第4実施形態におけるエンボスロール及びアンビルロールを、それらの軸方向からみた説明図である。 図10は、従来の生理用ナプキンの一例を示す説明図である。 図11は、圧縮ロールによる圧縮箇所を示す説明図である。
符号の説明
1 エンボスロール
1a エンボス凸部
2 アンビルロール
2a アンビル凸部
2b アンビル溝部
3 圧縮成形機構部
4 表面シート
5 吸収体
5A 吸収コア
5a 下部吸収コア
5b,5c 上部吸収コア
6 基台シート
9 裏面シート
11 ヒータ
100 吸収コア
101 表面シート
102 台紙
103 成形用圧縮ロール(加圧ロール)
103a 凸部

Claims (6)

  1. エンボス溝部を形成するためのエンボス凸部を備えるエンボスロールと、該エンボスロールに対向して配置されたアンビルロールとの間に、表面シートと吸収体との重ね合わせ体を通過させて、表面シートと吸収体とを押圧し、該エンボスロールの軸方向及び周方向に延びる前記エンボス凸部に応じたエンボス溝部を形成する吸収性物品の製造装置であって、
    前記エンボスロールの軸方向に延びるエンボス凸部と前記アンビルロールとのクリアランスが、周方向に延びるエンボス凸部と該アンビルロールとのクリアランスよりも狭くなるように、該アンビルロールの外周面の一部が凹又は凸に加工されているか、又は使用時にヒータ加熱による熱膨張で凸形状にされる吸収性物品の製造装置。
  2. 前記アンビルロールの外周面に、アンビル凸部が形成されており、
    前記アンビル凸部は、前記エンボスロールのエンボス凸部のうち、該エンボスロールの軸方向に延びる部位に対向する位置に設けられており、
    前記アンビルロールの軸方向に沿うアンビル凸部の長さが、前記エンボスロールのエンボス凸部のうち、該エンボスロールの軸方向に延びる部位の長さよりも小さくなっており、
    前記アンビル凸部の両端が、前記エンボス凸部のうち、前記エンボスロールの軸方向に延びる部位の両端よりも軸方向の内側に位置している1記載の吸収性物品の製造装置。
  3. 前記アンビルロールの外周面に、該アンビルロールの周方向に沿って一対のアンビル凹部が形成されており、
    前記アンビル凹部は、前記エンボスロールのエンボス凸部のうち、該エンボスロールの周方向に延びるエンボス凸部と対向するように位置している請求項1記載の吸収性物品の製造装置。
  4. 前記アンビルロールに、該アンビルロールの軸方向に延びるヒータが埋設されており、
    前記ヒータは、前記エンボス凸部のうち、前記エンボスロールの軸方向に延びる部位に対向するように位置している請求項1記載の吸収性物品の製造装置。
  5. 前記吸収性物品が、前記表面シートの側において、基面部と該基面部上に位置する中高部とを有する立体形状をなしており、
    前記中高部の周囲に前記エンボス溝部を形成するために用いられる請求項1ないし4のいずれかに記載の吸収性物品の製造装置。
  6. 前記吸収性物品が、前記エンボスロールの周方向に沿って複数の中高部を有する立体形状をなしており、
    隣り合う前記中高部の間に前記エンボス溝部を形成するために用いられる請求項5記載の吸収性物品の製造装置。
JP2008323762A 2008-12-19 2008-12-19 吸収性物品の製造装置 Pending JP2010142460A (ja)

Priority Applications (1)

Application Number Priority Date Filing Date Title
JP2008323762A JP2010142460A (ja) 2008-12-19 2008-12-19 吸収性物品の製造装置

Applications Claiming Priority (1)

Application Number Priority Date Filing Date Title
JP2008323762A JP2010142460A (ja) 2008-12-19 2008-12-19 吸収性物品の製造装置

Publications (1)

Publication Number Publication Date
JP2010142460A true JP2010142460A (ja) 2010-07-01

Family

ID=42563501

Family Applications (1)

Application Number Title Priority Date Filing Date
JP2008323762A Pending JP2010142460A (ja) 2008-12-19 2008-12-19 吸収性物品の製造装置

Country Status (1)

Country Link
JP (1) JP2010142460A (ja)

Cited By (5)

* Cited by examiner, † Cited by third party
Publication number Priority date Publication date Assignee Title
WO2014034776A1 (ja) * 2012-08-31 2014-03-06 花王株式会社 吸収性物品の製造方法
CN106236386A (zh) * 2016-08-29 2016-12-21 谢泽波 卫生巾透液性面层的成型方法
JP2017192648A (ja) * 2016-04-22 2017-10-26 王子ホールディングス株式会社 吸収性物品の製造装置および吸収性物品の製造方法
JP2020018939A (ja) * 2019-11-12 2020-02-06 王子ホールディングス株式会社 吸収性物品の製造装置および吸収性物品の製造方法
CN113905698A (zh) * 2019-05-15 2022-01-07 宝洁公司 一次性吸收制品

Citations (4)

* Cited by examiner, † Cited by third party
Publication number Priority date Publication date Assignee Title
JP2002345888A (ja) * 2001-05-30 2002-12-03 Daio Paper Corp 吸収性物品およびその製造方法
JP2003265519A (ja) * 2002-03-13 2003-09-24 Daio Paper Corp 吸収性物品
JP2006280585A (ja) * 2005-03-31 2006-10-19 Daio Paper Corp 吸収性物品及びその製造方法
JP2007237520A (ja) * 2006-03-07 2007-09-20 Kao Corp エンボス加工装置及び方法並びに吸収性物品の製造方法

Patent Citations (4)

* Cited by examiner, † Cited by third party
Publication number Priority date Publication date Assignee Title
JP2002345888A (ja) * 2001-05-30 2002-12-03 Daio Paper Corp 吸収性物品およびその製造方法
JP2003265519A (ja) * 2002-03-13 2003-09-24 Daio Paper Corp 吸収性物品
JP2006280585A (ja) * 2005-03-31 2006-10-19 Daio Paper Corp 吸収性物品及びその製造方法
JP2007237520A (ja) * 2006-03-07 2007-09-20 Kao Corp エンボス加工装置及び方法並びに吸収性物品の製造方法

Cited By (11)

* Cited by examiner, † Cited by third party
Publication number Priority date Publication date Assignee Title
WO2014034776A1 (ja) * 2012-08-31 2014-03-06 花王株式会社 吸収性物品の製造方法
CN104602657A (zh) * 2012-08-31 2015-05-06 花王株式会社 吸收性物品的制造方法
CN104602657B (zh) * 2012-08-31 2017-06-30 花王株式会社 吸收性物品的制造方法
JP2017192648A (ja) * 2016-04-22 2017-10-26 王子ホールディングス株式会社 吸収性物品の製造装置および吸収性物品の製造方法
CN106236386A (zh) * 2016-08-29 2016-12-21 谢泽波 卫生巾透液性面层的成型方法
CN113905698A (zh) * 2019-05-15 2022-01-07 宝洁公司 一次性吸收制品
US11696858B2 (en) 2019-05-15 2023-07-11 The Procter & Gamble Company Disposable absorbent article
CN113905698B (zh) * 2019-05-15 2024-05-24 宝洁公司 一次性吸收制品
US12357511B2 (en) 2019-05-15 2025-07-15 The Procter & Gamble Company Disposable absorbent article
JP2020018939A (ja) * 2019-11-12 2020-02-06 王子ホールディングス株式会社 吸収性物品の製造装置および吸収性物品の製造方法
JP7010276B2 (ja) 2019-11-12 2022-02-10 王子ホールディングス株式会社 吸収性物品の製造装置

Similar Documents

Publication Publication Date Title
JP5329930B2 (ja) 吸収性物品及びその製造方法
JP5390976B2 (ja) 吸収性物品
JP3868628B2 (ja) 吸収性物品
JP4173723B2 (ja) 吸収性物品
JP5099752B2 (ja) 表面シートの製造方法
JP5346573B2 (ja) 吸収性物品の製造方法
CN103491919A (zh) 包括孔屑的成型纤维网
JP2014097132A (ja) 吸収性物品
WO2008072675A1 (ja) 吸収性物品
CN103491916A (zh) 用于制备微纹理纤维网的方法
RU2661468C1 (ru) Абсорбирующее изделие, содержащее верхний лист с выемками
JP2010142460A (ja) 吸収性物品の製造装置
CN107735061B (zh) 一种复合片材及其生产制造复合片材的装置和方法
JP2009153731A (ja) 吸収性物品の表面シート及びその製造方法
WO2016002290A1 (ja) 吸収性物品
JP3719817B2 (ja) 吸収性物品の製造方法及びその製造装置
JP6171118B1 (ja) 吸収性物品に係る吸収体の製造方法、及び製造装置
JP4090461B2 (ja) 吸収性物品の製造方法
JP5414106B2 (ja) 体液吸収性パッドの製造方法および製造装置
US20190125594A1 (en) Multilayer material comprising at least a layer of non-woven fabric
JP4885505B2 (ja) 圧縮成形用ロール及び圧縮成形用ロールを用いた吸収構造体の製造方法並びに吸収構造体を含む吸収性物品
JP6580422B2 (ja) 吸収性物品及びその製造方法
JP7460271B2 (ja) 不織布の製造方法及び不織布の製造装置
JP5980447B1 (ja) 吸収性物品用シートの製造方法
JP2014180823A (ja) エンボスシートの製造方法及びエンボス加工装置

Legal Events

Date Code Title Description
A621 Written request for application examination

Free format text: JAPANESE INTERMEDIATE CODE: A621

Effective date: 20110912

A977 Report on retrieval

Free format text: JAPANESE INTERMEDIATE CODE: A971007

Effective date: 20121112

A131 Notification of reasons for refusal

Free format text: JAPANESE INTERMEDIATE CODE: A131

Effective date: 20121127

A521 Written amendment

Free format text: JAPANESE INTERMEDIATE CODE: A523

Effective date: 20130125

A02 Decision of refusal

Free format text: JAPANESE INTERMEDIATE CODE: A02

Effective date: 20130507