JP2010142441A - ゲームプログラム、ゲーム装置、及びゲーム制御方法 - Google Patents

ゲームプログラム、ゲーム装置、及びゲーム制御方法 Download PDF

Info

Publication number
JP2010142441A
JP2010142441A JP2008323225A JP2008323225A JP2010142441A JP 2010142441 A JP2010142441 A JP 2010142441A JP 2008323225 A JP2008323225 A JP 2008323225A JP 2008323225 A JP2008323225 A JP 2008323225A JP 2010142441 A JP2010142441 A JP 2010142441A
Authority
JP
Japan
Prior art keywords
game
result
event
character
moving body
Prior art date
Legal status (The legal status is an assumption and is not a legal conclusion. Google has not performed a legal analysis and makes no representation as to the accuracy of the status listed.)
Granted
Application number
JP2008323225A
Other languages
English (en)
Other versions
JP5008646B2 (ja
Inventor
Satoshi Uno
智 宇野
Current Assignee (The listed assignees may be inaccurate. Google has not performed a legal analysis and makes no representation or warranty as to the accuracy of the list.)
Konami Digital Entertainment Co Ltd
Original Assignee
Konami Digital Entertainment Co Ltd
Priority date (The priority date is an assumption and is not a legal conclusion. Google has not performed a legal analysis and makes no representation as to the accuracy of the date listed.)
Filing date
Publication date
Application filed by Konami Digital Entertainment Co Ltd filed Critical Konami Digital Entertainment Co Ltd
Priority to JP2008323225A priority Critical patent/JP5008646B2/ja
Publication of JP2010142441A publication Critical patent/JP2010142441A/ja
Application granted granted Critical
Publication of JP5008646B2 publication Critical patent/JP5008646B2/ja
Active legal-status Critical Current
Anticipated expiration legal-status Critical

Links

Images

Abstract

【課題】自動制御中のゲームにおいて、情報を容易に視認することができるようにする
【解決手段】本プログラムでは、移動体の軌道が計算され、この軌道上において移動体が移動させられる。そして、キャラクタおよび移動体が、自動制御される。そして、移動体およびキャラクタが関与するイベントの結果が、所定の条件Cに一致するか否かが、判断される。そして、所定のイベントの結果が検出されたときに、ゲーム空間において移動体が移動した経路が、画像表示部3に表示される。そして、所定のイベントの結果が検出されたときに、ゲーム空間において移動体が軌道上で移動した経路40が、画像表示部3に表示される。
【選択図】図2

Description

本発明は、ゲームプログラム、特に、自動進行するゲームを実行可能なゲームプログラムに関する。また、このゲームプログラムを実行可能なゲーム装置、およびこのゲームプログラムに基づいてコンピュータにより制御されるゲーム制御方法に関する。
従来から様々なビデオゲームが提案されている。これらビデオゲームは、ゲーム装置において実行されるようになっている。たとえば、一般的なゲーム装置は、モニタと、モニタとは別体のゲーム装置本体と、ゲーム装置本体とは別体の入力装置たとえばコントローラとを有している。コントローラには、複数の入力釦が配置されている。
このようなゲーム装置において実現されるビデオゲームの1つとして、たとえば、野球ゲームが知られている(非特許文献1を参照)。この野球ゲームでは、プレイヤがコントローラを操作することによって、選手キャラクタに対する命令が制御部から発行されたり、自動制御プログラムに基づいて、選手キャラクタに対する命令が制御部から発行されたりする。このように、選手キャラクタに対する命令を制御部に発行させることにより、野球ゲームは実行されるようになっている。
このような野球ゲームでは、プレイヤは、対戦モードや育成モード等を選択することができ、プレイヤが選択したモードでゲームを実行することができるようになっている。たとえば、対戦モードには、プレイヤが1つのチームの全ての選手キャラクタを指揮するタイプの対戦モードや、プレイヤが1つのチームの1人の選手キャラクタだけを指揮するタイプの対戦モード等が、用意されている。
たとえば、プレイヤが1つのチームの1人の選手キャラクタ(対象選手キャラクタ)だけを指揮するタイプの対戦モードが実行された場合、プレイヤがコントローラを操作することによって、対象選手キャラクタに対して命令が指示される。一方で、対象選手キャラクタを除いた他の選手キャラクタに対しては、自動制御プログラムに基づいて、命令が指示される。
この場合、対象選手キャラクタがプレイに関与する場面が発生したときには、対戦画面(投手キャラクタと打者キャラクタとが対峙する画面)が、モニタに表示される。そして、この対戦画面では、対象選手キャラクタに対する命令が、プレイヤにより指示される。一方で、対象選手キャラクタがプレイに関与しない場面では、簡略画面(各プレイの概要を示す画面)が、モニタに表示される。そして、この簡略画面では、プレイヤによる指示は実行されず、自動制御プログラムに基づいて実行されたプレイの結果が、モニタに表示される。
プロ野球スピリッツ5、コナミ株式会社、2008年4月1日、PlayStation版
従来の野球ゲームでは、対象選手キャラクタがプレイに関与しない場面では、簡略画面(各プレイの概要を示す画面)が、モニタに表示される。そして、この簡略画面では、プレイヤによる指示は実行されず、自動制御プログラムに基づいて実行された各プレイの結果のみが、モニタに表示される。これにより、自動制御中は、ゲームの進行に要する時間を大幅に低減することができる。
ここで、簡略画面に表示されるプレイの結果としては、たとえば、打球方向や打撃結果等を示す簡略情報がある。これらの簡略情報は、自動制御中の各打者キャラクタに対して用意され、モニタに表示される。詳細には、対象選手キャラクタがプレイヤによって操作されていないときには、17人の打者キャラクタそれぞれの簡略情報(プレイの結果)が、連続的にモニタに表示される。
このように、従来の野球ゲームでは、簡略画面において、対象選手キャラクタ以外の17人の打者キャラクタそれぞれの簡略情報が、連続的にモニタに表示される。また、モニタに表示される簡略情報は、プレイヤが関与するプレイ以外のゲームの進行に要する時間を低減する目的があるため、比較的短い時間間隔で、連続的にモニタに表示される。このため、プレイ結果のみの簡略情報ではあっても、かなり高速で表示されることから、近年、各簡略情報を視認することが困難であり、試合の流れやポイント自体が把握しにくいという意見が、一部のプレイヤから寄せられるようになってきた。
本発明は、このような問題に鑑みてなされたものであり、本発明の目的は、各プレイ結果の情報を確実に視認することができ、試合の流れやポイントを容易に把握することができるようにすることにある。
請求項1に係るゲームプログラムは、自動進行するゲームを実行可能なコンピュータに、以下の機能を実現させるためのプログラムである。
(1)移動体の軌道を計算する処理を、制御部に実行させ、軌道上において移動体を移動させる命令を、制御部に発行させることにより、ゲーム空間において移動体を、自動的に移動させる移動体移動機能。
(2)キャラクタを制御する命令を、制御部に発行させることにより、ゲーム空間においてキャラクタを自動的に動作させるキャラクタ移動機能。
(3)移動体およびキャラクタが関与するイベントの結果が、所定の条件に一致するか否かを判断する処理を、制御部に実行させることにより、所定のイベントの結果を検出するイベント検出機能。
(4)所定のイベントの結果が検出されたときに、ゲーム空間において移動体が軌道上で移動した経路が、画像表示部に表示される経路表示機能。
このゲームプログラムでは、移動体移動機能において、移動体の軌道を計算する処理を、制御部に実行させ、軌道上において移動体を移動させる命令を、制御部に発行させることにより、ゲーム空間において移動体が、自動的に移動させられる。キャラクタ移動機能においては、キャラクタを制御する命令を、制御部に発行させることにより、ゲーム空間においてキャラクタが自動的に動作させられる。イベント検出機能においては、移動体およびキャラクタが関与するイベントの結果が、所定の条件に一致するか否かを判断する処理を、制御部に実行させることにより、所定のイベントの結果が検出される。経路表示機能においては、所定のイベントの結果が検出されたときに、ゲーム空間において移動体が軌道上で移動した経路が、画像表示部に表示される。
このゲームプログラムが野球ゲームに適用された場合を一例として説明すると、まず、ボールの軌道を計算する処理が、制御部に実行される。そして、軌道上においてボールを移動させる命令が、制御部から発行される。すると、ゲーム空間においてボールが、自動的に移動させられる。次に、選手キャラクタを制御する命令が、制御部から発行される。すると、ゲーム空間において選手キャラクタが、自動的に動作させられる。続いて、ボールおよび選手キャラクタが関与するイベントの結果(プレイの結果)が、所定の条件に一致するか否かを判断する処理が、制御部により実行される。これにより、所定のプレイの結果の発生の有無が、検出される。続いて、所定のプレイの結果が検出されたときに、ゲーム空間においてボールが軌道上で移動した経路(打球の経路)が、画像表示部に表示される。
この場合、自動制御中のゲームにおいて、ボールおよび選手キャラクタが関与するプレイの結果が、所定の条件に一致した場合に、打球の経路が、画像表示部に表示される。このように、本発明では、自動制御中の全ての選手キャラクタの情報たとえば打球の経路が、画像表示部に表示されるのではなく、プレイの結果が所定の条件に一致した場合にのみ、打球の経路が、画像表示部に表示される。
すなわち、本発明では、所定のプレイが発生した場合にのみ、情報の1つである打球の経路が、画像表示部に表示されるので、プレイヤは、この情報を容易に視認することができる。また、本発明では、たとえば、重要度の高い条件を、所定の条件として設定することにより、重要なプレイが発生したときにのみ、そのプレイの打球の経路を、画像表示部に表示することができる。なお、重要なプレイとは、例えば打点にからむヒットなどを示す。
従来であれば、プレイヤが関与するプレイ以外のプレイ結果を、全て所定時間内に連続表示していたため、プレイヤは、プレイ結果を見難いという問題があった。これに対して、本発明では、重要度の高いプレイに絞ってプレイ結果を表示することができるので、1プレイに割り当てられる時間に余裕ができ、確実に各プレイ結果を視認し把握することができる。
請求項2に係るゲームプログラムでは、請求項1に記載のゲームプログラムにおいて、所定のイベントの結果が検出されたときに、ゲーム空間の移動体の速度より遅い速度で伸びる経路が、画像表示部に表示される。この機能は、経路表示機能において実現される。
このゲームプログラムが野球ゲームに適用された場合を一例として説明すると、所定のプレイの結果が検出されたときに、ゲーム空間のボールの速度より遅い速度で伸びる経路が、画像表示部に表示される。
この場合、打球の経路が、ゲーム空間(計算空間)のボールの速度より遅い速度で徐々に伸びていく状態が、画像表示部に表示されるので、プレイヤは、打球の経路を確実に視認することができる。なお、ここで、「経路が伸びる状態」とは、打球の軌跡が実線で残留して表示される状態や、打球の軌跡が所定時間ごとに点線で表示される状態等を、示している。
また、このように打球の経路が表示されると、打球の経路の表示が開始されてから、打球の経路の表示が終了するまでの間、プレイヤは、このプレイの状態を、正確には把握することができない。このため、プレイヤは、このプレイの結果がどうなるかを知るために、打球の経路の表示が終了する瞬間を、緊張感を持って見ることになる。このように、本発明では、プレイヤが情報を注視せざるを得なくなるようなゲームを、提供することによって、プレイヤを、飽きることなくゲームに集中させることができる。
請求項3に係るゲームプログラムは、請求項1又は2に記載のゲームプログラムにおいて、コンピュータに、以下の機能をさらに実現させるためのプログラムである。
(5)入力部からの入力信号に基づいて、ゲームを自動進行するときの複数の再生モードの中のいずれか一つのモードを、制御部に認識させることにより、自動進行するゲームにおいてモードを設定するモード設定機能。
(6)モードに基づいて、ゲームの自動進行中に情報の表示対象となるイベントを選別するための所定の条件を、制御部に認識させることにより、所定の条件を設定する条件設定機能。
このゲームプログラムでは、モード設定機能において、入力部からの入力信号に基づいて、ゲームを自動進行するときの複数の再生モードの中のいずれか一つのモードを、制御部に認識させることにより、自動進行するゲームにおいてモードが、設定される。条件設定機能においては、このモードに基づいて、ゲームの自動進行中に情報の表示対象となるイベントを選別するための所定の条件を、制御部に認識させることにより、所定の条件が設定される。
このゲームプログラムが野球ゲームに適用された場合を一例として説明すると、入力部からの入力信号に基づいて、ゲームを自動進行するときの複数の再生モードの中のいずれか一つのモード、たとえば表示対象となるイベントを設定するためのモード(再生モード)が、制御部に認識される。ここで、「イベント」という文言は、例えば、打点につながるヒットが発生したときのプレイ、打点の有無に関係なくヒットが発生したときのプレイ(ヒットが発生したときの全てのプレイ)、およびアウトも含む全プレイ等を示す文言である。つまり、ここでの複数の再生モードの相違は、表示対象となるイベント(プレイ)の種類の数(種類に関する情報量)に基づくものである。
このように、自動進行するゲームにおいて、再生モードが設定されると、この再生モードに対応する所定の条件が、設定される。すると、ここで設定された所定の条件に一致するプレイの結果が、検出される。そして、プレイの結果が検出されると、ゲーム空間においてボールが軌道上で移動した経路、たとえば打球の経路が、画像表示部に表示される。
なお、ここで設定される所定の条件は、所定のプレイを選別するためのものである。また、所定のプレイは、経路等の情報を表示するプレイに対応している。
この場合、プレイヤが、再生モードを選択することによって、この再生モードに対応する所定の条件が、設定される。これにより、再生モードに応じて、打球の経路を画像表示部に表示するプレイを、変更することができる。
ここでは、重要なポイントのみを一気に把握可能なモード(ハイライトモード)、試合の流れも確認しつつポイントとなる打撃等を把握可能なモード(ポイントモード)、および時間はかかってもよいので全部のプレイ結果を把握可能なモード(全プレイモード)が、再生モードとして用意されている場合を一例として、説明を行う。
この場合、プレイヤは、特に重要なポイントのみを一気に把握したいときには、ハイライトモードを選択し、試合の流れも確認しつつポイントとなる打撃等を知りたいときには、ポイントモードを選択し、時間はかかってもよいので全部のプレイ結果を見たいときには、全プレイモードを選択することができる。このように、本発明では、様々な選択肢の中から、プレイヤが所望するモードを選択することができるので、多様化しているプレイヤの要望に応じた表示形態で、様々な情報を提供することができる。また、プレイヤ視点に立ったバリエーションに富んだゲームを、提供することができる。
請求項4に係るゲームプログラムは、請求項1から3のいずれかに記載のゲームプログラムにおいて、コンピュータに、以下の機能をさらに実現させるためのプログラムである。
(7)ゲーム空間において移動体が軌道上で移動した経路が、画像表示部に表示された後に、イベントの結果を示す第1表示子を、画像表示部に表示する第1イベント結果表示機能。
このゲームプログラムでは、第1イベント結果表示機能において、ゲーム空間において移動体が軌道上で移動した経路が、画像表示部に表示された後に、イベントの結果を示す第1表示子が、画像表示部に表示される。
このゲームプログラムが野球ゲームに適用された場合を一例として説明すると、ゲーム空間においてボールが軌道上で移動した経路、たとえば打球の経路が、画像表示部に表示された後に、プレイの結果を示す第1表示子が、画像表示部に表示される。
この場合、情報の1つである打球の経路が表示された後に、プレイの結果を示す第1表示子が、画像表示部に表示されるので、プレイヤは、自動進行中のゲームにおいて発生したプレイの結果を、この第1表示子によって、把握することができる。
たとえば、第1表示子が、「ヒット」、「二塁打」、「三塁打」、「本塁打」、「四球」、「三振」、および「中飛(センターフライ)」等のような画像であった場合、プレイヤは、この第1表示子を見て、自動進行中のゲームにおいて発生したプレイの結果を、把握することができる。
請求項5に係るゲームプログラムは、請求項1から4のいずれかに記載のゲームプログラムにおいて、コンピュータに、以下の機能をさらに実現させるためのプログラムである。
(8)ゲーム空間において移動体が軌道上で移動した経路が、画像表示部に表示された後に、イベントの結果の良否を示す第2表示子を、画像表示部に表示する第2イベント結果表示機能。
このゲームプログラムでは、第2イベント結果表示機能において、ゲーム空間において移動体が軌道上で移動した経路が、画像表示部に表示された後に、イベントの結果の良否を示す第2表示子が、画像表示部に表示される。
このゲームプログラムが野球ゲームに適用された場合を一例として説明すると、ゲーム空間においてボールが軌道上で移動した経路、たとえば打球の経路が、画像表示部に表示された後に、プレイの結果の良否を示す第2表示子が、画像表示部に表示される。
この場合、情報の1つである打球の経路が表示された後に、プレイの結果の良否を示す第2表示子が、画像表示部に表示されるので、プレイヤは、自動進行中のゲームにおいて発生したプレイが、良い結果であったか、悪い結果であったかを、この第2表示子によって、把握することができる。
たとえば、第2表示子が、丸記号とX記号であった場合、打球の経路が表示された後に、打球の経路の末端部に丸記号又はX記号を表示することにより、プレイヤは、自動進行中のゲームにおいて発生したプレイの結果の良否を、この記号によって把握することができる。
請求項6に係るゲームプログラムは、請求項1から5のいずれかに記載のゲームプログラムにおいて、コンピュータに、以下の機能をさらに実現させるためのプログラムである。
(9)自動進行中のイベントに関与するキャラクタを識別するための識別子を、画像表示部に表示する識別子表示機能。
(10)自動進行中のイベントの結果の履歴を、自動進行中のイベントに関与したキャラクタの識別子に対応付けて、画像表示部に表示するイベント履歴表示機能。
このゲームプログラムでは、識別子表示機能において、自動進行中のイベントに関与するキャラクタを識別するための識別子が、画像表示部に表示される。イベント履歴表示機能においては、自動進行中のイベントの結果の履歴が、自動進行中のイベントに関与したキャラクタの識別子に対応付けて、画像表示部に表示される。
このゲームプログラムが野球ゲームに適用された場合を一例として説明すると、各スターティングメンバーの名前を示す画像が、画像表示部に表示される。そして、各スターティングメンバーのプレイの結果が、各スターティングメンバーの名前を示す画像の近傍において、画像表示部に表示される。より具体的には、スターティングメンバーと、スターティングメンバーのプレイの結果とが、リスト形式で、画像表示部に表示される。
この場合、自動進行中のプレイの結果の履歴、たとえば、スターティングメンバーと、スターティングメンバーのプレイの結果とから構成されるリストが、画像表示部に表示されるので、プレイヤは、重要なプレイを含む全てのプレイの情報を、リストを見て把握することができる。
請求項7に係るゲーム装置は、自動進行するゲームを実行可能なゲーム装置である。このゲーム装置は、移動体を制御する命令を、制御部に発行させることにより、ゲーム空間において移動体を自動的に移動させる移動体移動手段と、キャラクタを制御する命令を、制御部に発行させることにより、ゲーム空間においてキャラクタを自動的に動作させるキャラクタ移動手段と、移動体およびキャラクタが関与するイベントの結果が、所定の条件に一致するか否かを判断する処理を、制御部に実行させることにより、所定のイベントの結果を検出するイベント検出手段と、所定のイベントの結果が検出されたときに、ゲーム空間において移動体が移動した経路を、画像表示部に表示する経路表示手段と、を備えている。
請求項8に係るゲーム制御方法は、自動進行するゲームをコンピュータにより制御可能なゲーム制御方法である。このゲーム制御方法は、移動体を制御する命令を、制御部に発行させることにより、ゲーム空間において移動体を自動的に移動させる移動体移動ステップと、キャラクタを制御する命令を、制御部に発行させることにより、ゲーム空間においてキャラクタを自動的に動作させるキャラクタ移動ステップと、移動体およびキャラクタが関与するイベントの結果が、所定の条件に一致するか否かを判断する処理を、制御部に実行させることにより、所定のイベントの結果を検出するイベント検出ステップと、所定のイベントの結果が検出されたときに、ゲーム空間において移動体が移動した経路を、画像表示部に表示する経路表示ステップと、を備えている。
本発明では、自動制御中のゲームにおいて、移動体およびキャラクタが関与するプレイの結果が、所定の条件に一致した場合に、移動体の経路が、画像表示部に表示される。このように、本発明では、自動制御中の全てのキャラクタの情報たとえば移動体の経路が、画像表示部に表示されるのではなく、プレイの結果が所定の条件に一致した場合にのみ、移動体の経路が、画像表示部に表示される。
このように、本発明では、情報の1つである移動体の経路が、選択的に画像表示部に表示されるので、プレイヤは、この情報を容易に視認することができる。また、本発明では、たとえば、重要度の高い条件を、所定の条件として設定することにより、重要なプレイが発生したときにのみ、そのプレイの移動体の経路が、画像表示部に表示される。このため、プレイヤは、1プレイに割り当てられる時間に余裕ができ、各プレイ結果を確実に視認し把握することができる。すなわち、プレイヤは、重要なプレイが発生したときの情報を、容易に視認することができる。
〔ゲーム装置の構成と動作〕
図1は、本発明の一実施形態によるゲーム装置の基本構成を示している。ここでは、ビデオゲーム装置の一例として、家庭用ビデオゲーム装置をとりあげて説明を行うこととする。家庭用ビデオゲーム装置は、家庭用ゲーム機本体および家庭用テレビジョンを備える。家庭用ゲーム機本体には、記録媒体10が装填可能となっており、記録媒体10からゲームデータが適宜読み出されてゲームが実行される。このようにして実行されるゲーム内容が家庭用テレビジョンに表示される。
家庭用ビデオゲーム装置のゲームシステムは、制御部1と、記憶部2と、画像表示部3と、音声出力部4と、操作入力部5とからなっており、それぞれがバス6を介して接続される。このバス6は、アドレスバス、データバス、およびコントロールバスなどを含んでいる。ここで、制御部1、記憶部2、音声出力部4および操作入力部5は、家庭用ビデオゲーム装置の家庭用ゲーム機本体に含まれており、画像表示部3は家庭用テレビジョンに含まれている。
制御部1は、主に、ゲームプログラムに基づいてゲーム全体の進行を制御するために設けられている。制御部1は、たとえば、CPU(Central Processing Unit)7と、信号処理プロセッサ8と、画像処理プロセッサ9とから構成されている。CPU7と信号処理プロセッサ8と画像処理プロセッサ9とは、それぞれがバス6を介して互いに接続されている。CPU7は、ゲームプログラムからの命令を解釈し、各種のデータ処理や制御を行う。たとえば、CPU7は、信号処理プロセッサ8に対して、画像データを画像処理プロセッサに供給するように命令する。信号処理プロセッサ8は、主に、3次元空間上における計算と、3次元空間上から擬似3次元空間上への位置変換計算と、光源計算処理と、画像および音声データの生成加工処理とを行っている。画像処理プロセッサ9は、主に、信号処理プロセッサ8の計算結果および処理結果に基づいて、描画すべき画像データをRAM12に書き込む処理を行っている。
記憶部2は、主に、プログラムデータや、プログラムデータで使用される各種データなどを格納しておくために設けられている。記憶部2は、たとえば、記録媒体10と、インターフェース回路11と、RAM(Random Access Memory)12とから構成されている。記録媒体10には、インターフェース回路11が接続されている。そして、インターフェース回路11とRAM12とはバス6を介して接続されている。記録媒体10は、オペレーションシステムのプログラムデータや、画像データ、音声データ並びに各種プログラムデータからなるゲームデータなどを記録するためのものである。この記録媒体10は、たとえば、ROM(Read Only Memory)カセット、光ディスク、およびフレキシブルディスクなどであり、オペレーティングシステムのプログラムデータやゲームデータなどが記憶される。なお、記録媒体10にはカード型メモリも含まれており、このカード型メモリは、主に、ゲームを中断するときに中断時点での各種ゲームパラメータを保存するために用いられる。RAM12は、記録媒体10から読み出された各種データを一時的に格納したり、制御部1からの処理結果を一時的に記録したりするために用いられる。このRAM12には、各種データとともに、各種データの記憶位置を示すアドレスデータが格納されており、任意のアドレスを指定して読み書きすることが可能になっている。
画像表示部3は、主に、画像処理プロセッサ9によってRAM12に書き込まれた画像データや、記録媒体10から読み出される画像データなどを画像として出力するために設けられている。この画像表示部3は、たとえば、テレビジョンモニタ20と、インターフェース回路21と、D/Aコンバータ(Digital-To-Analogコンバータ)22とから構成されている。テレビジョンモニタ20にはD/Aコンバータ22が接続されており、D/Aコンバータ22にはインターフェース回路21が接続されている。そして、インターフェース回路21にバス6が接続されている。ここでは、画像データが、インターフェース回路21を介してD/Aコンバータ22に供給され、ここでアナログ画像信号に変換される。そして、アナログ画像信号がテレビジョンモニタ20に画像として出力される。
ここで、画像データには、たとえば、ポリゴンデータやテクスチャデータなどがある。ポリゴンデータはポリゴンを構成する頂点の座標データのことである。テクスチャデータは、ポリゴンにテクスチャを設定するためのものであり、テクスチャ指示データとテクスチャカラーデータとからなっている。テクスチャ指示データはポリゴンとテクスチャとを対応づけるためのデータであり、テクスチャカラーデータはテクスチャの色を指定するためのデータである。ここで、ポリゴンデータとテクスチャデータとには、各データの記憶位置を示すポリゴンアドレスデータとテクスチャアドレスデータとが対応づけられている。このような画像データでは、信号処理プロセッサ8により、ポリゴンアドレスデータの示す3次元空間上のポリゴンデータ(3次元ポリゴンデータ)が、画面自体(視点)の移動量データおよび回転量データに基づいて座標変換および透視投影変換されて、2次元空間上のポリゴンデータ(2次元ポリゴンデータ)に置換される。そして、複数の2次元ポリゴンデータでポリゴン外形を構成して、ポリゴンの内部領域にテクスチャアドレスデータが示すテクスチャデータを書き込む。このようにして、各ポリゴンにテクスチャが貼り付けられた物体つまり各種キャラクタを表現することができる。
音声出力部4は、主に、記録媒体10から読み出される音声データを音声として出力するために設けられている。音声出力部4は、たとえば、スピーカー13と、増幅回路14と、D/Aコンバータ15と、インターフェース回路16とから構成されている。スピーカー13には増幅回路14が接続されており、増幅回路14にはD/Aコンバータ15が接続されており、D/Aコンバータ15にはインターフェース回路16が接続されている。そして、インターフェース回路16にバス6が接続されている。ここでは、音声データが、インターフェース回路16を介してD/Aコンバータ15に供給され、ここでアナログ音声信号に変換される。このアナログ音声信号が増幅回路14によって増幅され、スピーカー13から音声として出力される。音声データには、たとえば、ADPCM(Adaptive Differential Pulse Code Modulation)データやPCM(Pulse Code Modulation)データなどがある。ADPCMデータの場合、上述と同様の処理方法で音声をスピーカー13から出力することができる。PCMデータの場合、RAM12においてPCMデータをADPCMデータに変換しておくことで、上述と同様の処理方法で音声をスピーカー13から出力することができる。
操作入力部5は、主に、コントローラ17と、操作情報インターフェース回路18と、インターフェース回路19とから構成されている。コントローラ17には、操作情報インターフェース回路18が接続されており、操作情報インターフェース回路18にはインターフェース回路19が接続されている。そして、インターフェース回路19にバス6が接続されている。
コントローラ17は、プレイヤが種々の操作命令を入力するために使用する操作装置であり、プレイヤの操作に応じた操作信号をCPU7に送出する。コントローラ17には、第1ボタン17a、第2ボタン17b、第3ボタン17c、第4ボタン17d、上方向キー17U、下方向キー17D、左方向キー17L、右方向キー17R、L1ボタン17L1、L2ボタン17L2、R1ボタン17R1、R2ボタン17R2、スタートボタン17e、セレクトボタン17f、左スティック17SL及び右スティック17SRが設けられている。
上方向キー17U、下方向キー17D、左方向キー17L及び右方向キー17Rは、例えば、キャラクタやカーソルをテレビジョンモニタ20の画面上で上下左右に移動させるコマンドをCPU7に与えるために使用される。
スタートボタン17eは、記録媒体10からゲームプログラムをロードするようにCPU7に指示するときや、実行中のゲームプログラムを一時停止するときなどに使用される。
セレクトボタン17fは、記録媒体10からロードされたゲームプログラムに対して、各種選択をCPU7に指示するときなどに使用される。
左スティック17SL及び右スティック17SRは、いわゆるジョイスティックとほぼ同一構成のスティック型コントローラである。このスティック型コントローラは、直立したスティックを有している。このスティックは、支点を中心として直立位置から前後左右を含む360°方向に亘って、傾倒可能な構成になっている。左スティック17SL及び右スティック17SRは、スティックの傾倒方向及び傾倒角度に応じて、直立位置を原点とするx座標及びy座標の値を、操作信号として操作情報インターフェース回路18とインターフェース回路19とを介してCPU7に送出する。
第1ボタン17a、第2ボタン17b、第3ボタン17c、第4ボタン17d、L1ボタン17L1、L2ボタン17L2、R1ボタン17R1及びR2ボタン17R2には、記録媒体10からロードされるゲームプログラムに応じて種々の機能が割り振られている。
なお、左スティック17SL及び右スティック17SRを除くコントローラ17の各ボタン及び各キーは、外部からの押圧力によって中立位置から押圧されるとオンになり、押圧力が解除されると中立位置に復帰してオフになるオンオフスイッチになっている。
通信部23は、通信制御回路24および通信インターフェース25を有している。通信制御回路24および通信インターフェース25は、ゲーム装置をサーバや他のゲーム装置等に接続するために用いられる。通信制御回路24および通信インターフェース25は、バス6を介してCPU7に接続されている。通信制御回路24および通信インターフェース25は、CPU7からの命令に応じて、ゲーム装置をインターネットに接続するための接続信号を制御し発信する。また、通信制御回路24および通信インターフェース25は、インターネットを介してゲーム装置をサーバや他のゲーム装置に接続するための接続信号を制御し発信する。
以上のような構成からなる家庭用ビデオゲーム装置の概略動作を、以下に説明する。電源スイッチ(図示省略)がオンにされゲームシステムに電源が投入されると、CPU7が、記録媒体10に記憶されているオペレーティングシステムに基づいて、記録媒体10から画像データ、音声データ、およびプログラムデータを読み出す。読み出された画像データ、音声データ、およびプログラムデータの一部若しくは全部は、RAM12に格納される。そして、CPU7が、RAM12に格納されたプログラムデータに基づいて、RAM12に格納された画像データや音声データにコマンドを発行する。
画像データの場合、CPU7からのコマンドに基づいて、まず、信号処理プロセッサ8が、3次元空間上におけるキャラクタの位置計算および光源計算などを行う。次に、画像処理プロセッサ9が、信号処理プロセッサ8の計算結果に基づいて、描画すべき画像データのRAM12への書き込み処理などを行う。そして、RAM12に書き込まれた画像データが、インターフェース回路21を介してD/Aコンバータ22に供給される。ここで、画像データがD/Aコンバータ22でアナログ映像信号に変換される。そして、画像データはテレビジョンモニタ20に供給され画像として表示される。
音声データの場合、まず、信号処理プロセッサ8が、CPU7からのコマンドに基づいて音声データの生成および加工処理を行う。ここでは、音声データに対して、たとえば、ピッチの変換、ノイズの付加、エンベロープの設定、レベルの設定及びリバーブの付加などの処理が施される。次に、音声データは、信号処理プロセッサ8から出力されて、インターフェース回路16を介してD/Aコンバータ15に供給される。ここで、音声データがアナログ音声信号に変換される。そして、音声データは増幅回路14を介してスピーカー13から音声として出力される。
〔ゲーム装置における各種処理概要〕
本ゲーム装置において実行されるゲームは、たとえば、野球ゲームである。本ゲーム装置では、プレイヤが1つのチームの1人の選手キャラクタ(対象選手キャラクタ)だけを指揮するタイプの野球ゲームが、実行可能になっている。この野球ゲームでは、プレイヤがコントローラを操作することによって、対象選手キャラクタに対して命令が指示される。一方で、対象選手キャラクタを除いた他の選手キャラクタに対しては、自動制御プログラムに基づいて、命令が指示される。言い換えると、プレイヤが対象選手キャラクタに対して命令を指示していないときには、野球ゲームが自動進行する。
図2は、以下に示す、本発明で主要な役割を果たす機能を、説明するための機能ブロック図である。
モード設定手段50は、コントローラ17からの入力信号に基づいて、ゲームを自動進行するときの段階に対応するモードを、CPU7に認識させることにより、自動進行するゲームにおいてモードを設定する機能を備えている。
この手段では、コントローラ17からの入力信号に基づいて、ゲームを自動進行するときの再生速度を設定するためのモードを、CPU7に認識させることにより、自動進行するゲームの再生モードが、設定される。この手段では、たとえば、再生モードを設定するための再生モード設定画面が、テレビジョンモニタ20に表示される。そして、再生モード設定画面において、プレイヤがコントローラ17を操作することにより、プレイヤが所望する再生モードが選択される。すると、選択された再生モードが、CPU7に認識される。このようにして、再生モードが設定される。
この手段では、コントローラ17からの入力信号に基づいて、ゲームを自動進行するときの表示対象となるイベントの種類を設定するためのモードを、CPU7に認識させることにより、自動進行するゲームの再生モードが、設定される。ここで、「イベント」という文言は、例えば、打点につながるヒットが発生したときのプレイ、打点の有無に関係なくヒットが発生したときのプレイ(ヒットが発生したときの全てのプレイ)、およびアウトも含む全プレイ等を示す文言である。この手段では、たとえば、再生モードを設定するための再生モード設定画面が、テレビジョンモニタ20に表示される。そして、再生モード設定画面において、プレイヤがコントローラ17を操作することにより、プレイヤが所望する再生モードが選択される。すると、選択された再生モードが、CPU7に認識される。このようにして、再生モードが設定される。
条件設定手段51は、モードに基づいて、ゲームの自動進行中に情報を表示するプレイを選別するための所定の条件を、CPU7に認識させることにより、所定の条件を設定する機能を備えている。
この手段では、上記のモードに基づいて、ゲームの自動進行中に情報を表示するプレイを選別するための所定の条件を、CPU7に認識させることにより、所定の条件が設定される。この手段では、たとえば、上記の再生モードに対応する、情報の表示対象となるプレイを選別するための所定の条件を、CPU7に認識させることにより、所定の条件がゲームにおいて設定される。なお、ここに示した情報という文言は、ボールの経路、プレイの結果を示す情報(後述する第1表示子)、およびプレイの結果の良否を示す情報(後述する第2表示子)を含んでいる。

識別子表示手段52は、自動進行中のプレイに関与する選手キャラクタを識別するための識別子を、テレビジョンモニタ20に表示する機能を備えている。
この手段では、自動進行中のプレイに関与する選手キャラクタを識別するための識別子が、テレビジョンモニタ20に表示される。たとえば、この手段では、各チームのスターティングメンバーの名前用の画像(識別子)が、テレビジョンモニタ20に表示される。より具体的には、各チームのスターティングメンバーの名前が、リスト形式で、テレビジョンモニタ20に表示される。
キャラクタ移動手段53は、選手キャラクタを制御する命令を、CPU7に発行させることにより、ゲーム空間において選手キャラクタを自動的に動作させる機能を備えている。
この手段では、選手キャラクタを制御する命令を、CPU7に発行させることにより、ゲーム空間において選手キャラクタが、自動的に動作させられる。この手段では、たとえば、投手キャラクタに対しては、球種設定命令、投球コース設定命令、投球開始命令、およびリリース命令等が、CPU7から発行される。また、打者キャラクタに対しては、スイングの目標となる位置(ボールをミートする位置)を指定するための命令、およびスイング開始命令等が、CPU7から発行される。また、野手キャラクタに対しては、移動命令、捕球命令、および送球命令等が、CPU7から発行される。さらに、走者キャラクタに対しては、盗塁命令、および走塁命令等が、CPU7から発行される。
このような各種の命令は、自動制御プログラムに基づいて、各選手キャラクタに対して指示される。すると、この指示に応じて、選手キャラクタが、ゲーム空間において自動的に動作させられる。
移動体移動手段54は、ボールの軌道を計算する処理を、CPU7に実行させ、軌道上においてボールを移動させる命令を、CPU7に発行させることにより、ゲーム空間においてボールを、自動的に移動させる機能を備えている。
この手段は、ボールの軌道を計算する処理を、CPU7に実行させ、この軌道上においてボールを移動させる命令を、CPU7に発行させることにより、ゲーム空間においてボールが、自動的に移動させられる。この手段では、たとえば、ボールが打者キャラクタにより打ち返された場合に、打球の軌道を計算する処理が、CPU7により実行される。すると、この軌道上においてボールを移動させるための命令が、CPU7から発行される。これにより、ゲーム空間においてボールが、自動的に移動させられる。なお、ボールが打者キャラクタにより打ち返されなかった場合、打球の軌道を計算する処理は、CPU7により実行されない。
プレイ検出手段55は、ボールおよび選手キャラクタが関与するプレイの結果が、所定の条件に一致するか否かを判断する処理を、CPU7に実行させることにより、所定のプレイの結果を検出する機能を備えている。
この手段では、ボールおよび選手キャラクタが関与するプレイの結果が、所定の条件に一致するか否かを判断する処理を、CPU7に実行させることにより、所定のプレイの結果が検出される。この手段では、たとえば、プレイの結果が、所定の結果(得点に関係する安打、得点に関係しない安打、凡打等)であるか否かが、CPU7により判断される。そして、プレイの結果が、所定の結果(得点に関係する安打、得点に関係しない安打、凡打等)であった場合に、所定のプレイの結果が検出される。
経路表示手段56は、所定のプレイの結果が検出されたときに、ゲーム空間においてボールが軌道上で移動した経路を、テレビジョンモニタ20に表示する機能を備えている。
この手段では、所定のプレイの結果が検出されたときに、ゲーム空間においてボールが軌道上で移動した経路が、テレビジョンモニタ20に表示される。この手段では、たとえば、所定のプレイの結果が検出されたときに、ゲーム空間のボールの速度より遅い速度で伸びる経路が、テレビジョンモニタ20に表示される。
より具体的には、プレイの結果が、得点に関係する安打、得点に関係しない安打、および凡打等のような所定の結果であった場合に、ゲーム空間のボールの速度より遅い速度で伸びる経路が、画像データを用いて、テレビジョンモニタ20に表示される。ここで、経路をテレビジョンモニタ20に表示するときの速度は、ゲームプログラムにおいて予め所定の速度に規定されている。
第1プレイ結果表示手段57は、ゲーム空間においてボールが軌道上で移動した経路が、テレビジョンモニタ20に表示された後に、プレイの結果を示す第1表示子を、テレビジョンモニタ20に表示する機能を備えている。
この手段では、ゲーム空間においてボールが軌道上で移動した経路が、テレビジョンモニタ20に表示された後に、プレイの結果を示す第1表示子が、テレビジョンモニタ20に表示される。この手段では、たとえば、ゲーム空間のボールの速度より遅い速度で伸びる経路が、テレビジョンモニタ20に表示された後に、「ヒット」、「二塁打」、「三塁打」、「本塁打」、「四球」、「三振」、および「中飛(センターフライ)」等のような第1表示子が、テレビジョンモニタ20に表示される。
第2プレイ結果表示手段58は、ゲーム空間においてボールが軌道上で移動した経路が、テレビジョンモニタ20に表示された後に、プレイの結果の良否を示す第2表示子を、テレビジョンモニタ20に表示する機能を備えている。
この手段では、ゲーム空間においてボールが軌道上で移動した経路が、テレビジョンモニタ20に表示された後に、プレイの結果の良否を示す第2表示子が、テレビジョンモニタ20に表示される。この手段では、たとえば、ゲーム空間のボールの速度より遅い速度で伸びる経路が、テレビジョンモニタ20に表示された後に、丸記号およびX記号のような第2表示子が、テレビジョンモニタ20に表示される。ここでは、プレイの結果が安打であった場合には、丸記号が表示され、プレイの結果が凡打であった場合には、X記号が表示される。
プレイ履歴表示手段59は、自動進行中のプレイの結果の履歴を、自動進行中のプレイに関与した選手キャラクタの識別子に対応付けて、テレビジョンモニタ20に表示する機能を備えている。
この手段では、自動進行中のプレイの結果の履歴が、自動進行中のプレイに関与した選手キャラクタの識別子に対応付けて、テレビジョンモニタ20に表示される。この手段では、たとえば、自動進行中のプレイの結果の履歴が、各チームのスターティングメンバーの名前を示す画像(識別子)の近傍において、テレビジョンモニタ20に表示される。より具体的には、各チームのスターティングメンバーのプレイの結果が、リスト形式で、テレビジョンモニタ20に表示される。
〔野球ゲームにおける特定情報表示システムの概要〕
次に、野球ゲームにおける特定情報表示システムの具体的な内容について説明する。また、図9および図10に示すフローについても同時に説明する。なお、図9は野球ゲームの全体概要を説明するためのフローであり、図10は上記システムを説明するためのフローである。
まず、ゲーム装置の電源が投入され、ゲーム装置が起動されると、野球ゲームプログラムが、記録媒体10からRAM12にロードされ格納される。このときには、野球ゲームを実行する上で必要となる各種の基本ゲームデータも、同時に、記録媒体10からRAM12にロードされ格納される(S1)。
たとえば、基本ゲームデータには、3次元ゲーム空間用の各種の画像に関するデータが含まれている。3次元ゲーム空間用の各種の画像に関するデータには、たとえば、スタジアム用のモデルデータ、選手キャラクタ用のモデルデータ、および各種のオブジェクトのモデルデータ等が、含まれている。また、基本ゲームデータには、3次元ゲーム空間用のモデルデータを3次元ゲーム空間に配置するための位置座標データが、含まれている。また、基本ゲームデータには、3次元ゲーム空間に配置されたモデルを、テレビジョンモニタ20に表示するための画像データが、含まれている。画像データは、3次元ゲーム空間に配置されたモデルを、仮想カメラにより撮影することにより、生成される。さらに、基本ゲームデータには、上記システムで用いられる各種のデータも、含まれている。
続いて、RAM12に格納された野球ゲームプログラムが、基本ゲームデータに基づいて、CPU7により実行される(S2)。すると、野球ゲームの起動画面がテレビジョンモニタ20に表示される。すると、野球ゲームを実行するための各種の設定画面がテレビジョンモニタ20に表示される。ここでは、たとえば、野球ゲームのプレイモードを選択するためのモード選択画面が、テレビジョンモニタ20に表示される(図示しない)。このモード選択画面において、プレイヤがコントローラ17を操作することにより、プレイモードが決定される(S3)。プレイモードには、たとえば、12球団の中からチームを選択して1試合の対戦を楽しむ対戦モード、12球団の中からチームを選択してペナントレースを戦うペナントモード、プレイヤが監督の立場でチームの選手キャラクタを育成する育成モード、プレイヤがある1人の選手キャラクタの立場になって野球ゲームを体感する成長体感モード等が、用意されている。
続いて、モード選択画面で選択されたプレイモードにおいて、各種のイベントが、CPU7により実行される(S4)。ここで実行される各種のイベントには、たとえば、自動制御プログラム(AIプログラム、Artificial Intelligence Program)に基づいてCPU7により自動制御されるイベントや、コントローラ17からの入力信号に基づいてプレイヤにより手動制御されるイベントがある。また、選手キャラクタの制御には、自動制御プログラムに基づいて選手キャラクタに命令を自動的に指示する自動制御や、コントローラ17からの入力信号に基づいて選手キャラクタに命令を直接的に指示する手動制御等がある。このように、本野球ゲームでは、コントローラ17からの指示や自動制御プログラムからの指示に応じて、イベントが制御されたり、選手キャラクタに命令が指示されたりするようになっている。
なお、ここに示す自動制御プログラムとは、プレイヤに代わって、イベントに関する命令および選手キャラクタに対する命令を自動的に制御するためのプログラムである。この自動制御プログラムは、ゲームプログラムにおいて予め用意されている。
続いて、選択されたプレイモードが終了したか否かが、CPU7により判断される(S5)。具体的には、プレイモードが終了したことを示す命令が発行されたか否かが、CPU7により判断される。そして、プレイモードが終了したことを示す命令が発行されたとCPU7により判断された場合(S5でYes)、ゲーム継続用のデータをRAM12に格納する処理が、CPU7により実行される。そして、ゲーム継続用のデータがRAM12に格納されると、この野球ゲームを終了するか否かを選択する選択画面が、テレビジョンモニタ20に表示される(S6)。そして、この選択画面において、プレイヤがコントローラ17を操作することにより、野球ゲームの終了を示す項目が選択されると(S6でYes)、野球ゲームを終了するための処理がCPU7により実行される(S7)。一方で、この選択画面において、プレイヤがコントローラ17を操作することにより、野球ゲームの継続を示す項目が選択されると(S6でNo)、ステップ3(S3)のモード選択画面が、テレビジョンモニタ20に再表示される。
なお、プレイモードが終了するための命令が発行されたとCPU7に判断されない限り(S5でNo)、モード選択画面で選択されたプレイモードにおいて、各種のイベントがCPU7により実行される(S4)。
次に、ネットワーク対戦用の野球ゲームにおいて実行される特定情報表示システムを、詳細に説明する。
ここでは、野球ゲームにおいて、プレイヤが、1つのチームの1人の選手キャラクタだけを指揮するタイプの対戦モード(1人対戦モード)を選択したときに、本システムが実行される場合の例が、示される。
まず、1人対戦モードが選択されると(S301)、スターティングメンバーを設定するためのメンバー設定画面が、テレビジョンモニタ20に表示される(図示しない)。このメンバー設定画面において、スターティングメンバーの選択が、自動制御プログラムからの命令に基づいて実行される(S302)。ここで、プレイヤがコントローラ17を操作することによって、スターティングメンバーの中から対象選手キャラクタ(プレイヤが指揮する選手キャラクタ)が、選択される。
次に、再生モードを設定するための再生モード設定画面が、図3に示すように、テレビジョンモニタ20に表示される。ここでは、たとえば、ハイライトモード、ポイントモード、および全プレイモードが、再生モードとして用意されている。そして、再生モード設定画面において、プレイヤがコントローラ17を操作することにより、ハイライトモード、ポイントモード、および全プレイモードのいずれか1つのモードが、選択される。すると、選択された再生モードが、CPU7に認識される。このようにして、再生モードが設定される(S303)。なお、図3では、ハイライトモードが選択されている状態が、示されている。
続いて、選択された再生モードに基づいて、情報の表示対象となるプレイを複数のプレイの中から選別するための所定の条件が、CPU7に認識される(S304)。たとえば、ハイライトモードが選択された場合、「得点に関係する安打」という条件が、所定の条件として、CPU7に認識される。また、ポイントモードが選択された場合、「得点に関係する安打」という条件、および「得点に関係しない安打」という条件が、所定の条件として、CPU7に認識される。さらに、全プレイモードが選択された場合、「得点に関係する安打」という条件、「得点に関係しない安打」という条件、および「凡打」という条件等が、所定の条件として、CPU7に認識される。従って、表示対象となるプレイの種類は、ハイライトモード、ポイントモード、全プレイモードの順番に多くなっている。つまり、各モードの相違は、表示対象となるプレイの種類の数(種類に関する情報量)に基づくものである。
ここでは、図4に示すように、所定の条件が、条件用の第1フラグF1と条件用の第2フラグF2との組み合わせによって、設定される。たとえば、オン状態の条件用の第1フラグF1(=1)およびオン状態の条件用の第2フラグF2(=1)をCPU7に認識させることにより、「得点に関係する安打」という条件C(=1)が設定される。また、オフ状態の条件用の第1フラグF1(=0)およびオン状態の条件用の第2フラグF2(=1)をCPU7に認識させることにより、「得点に関係しない安打」という条件C(=2)が設定される。さらに、オフ状態の条件用の第1フラグF1(=0)およびオフ状態の条件用の第2フラグF2(=0)をCPU7に認識させることにより、「凡打」という条件C(=3)が設定される。
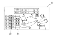
続いて、試合イベントが開始されると(S305)、対象選手キャラクタが登場しているか否かが、CPU7により判断される(S306)。そして、対象選手キャラクタが未登場であった場合(S306でNo)、攻撃側のスターティングメンバーの名前を示す画像(識別子)が、テレビジョンモニタ20に表示される。たとえば、図5に示すように、攻撃側のスターティングメンバーの名前30が、リスト形式で、テレビジョンモニタ20に表示される(S307)。
すると、プレイの自動制御が、自動制御プログラムに基づいて、CPU7により開始される(S308)。
たとえば、投手キャラクタに対しては、球種設定命令、投球コース設定命令、投球開始命令、およびリリース命令等が、CPU7から発行される。また、打者キャラクタに対しては、スイングの目標となる位置(ボールをミートする位置)を指定するための命令、およびスイング開始命令等が、CPU7から発行される。また、野手キャラクタに対しては、移動命令、捕球命令、および送球命令等が、CPU7から発行される。さらに、走者キャラクタに対しては、盗塁命令、および走塁命令等が、CPU7から発行される。このような各種の命令は、自動制御プログラムに基づいて、ゲーム空間における各選手キャラクタに対して指示される。すると、この指示に応じて、選手キャラクタが、ゲーム空間において自動的に動作させられる。
また、自動制御中には、ボールが打者キャラクタにより打ち返されたか否かが、CPU7により実行される(S309)。そして、ボールが打者キャラクタにより打ち返された場合(S309でYes)、打球の軌道を計算する処理が、CPU7により実行される(S310)。すると、この軌道上においてボールを移動させるための命令が、CPU7から発行される。これにより、ゲーム空間においてボールが、自動的に移動させられる(S311)。
なお、ボールが打者キャラクタにより打ち返されなかった場合(S309でNo)、たとえばボールがバットに衝突せず捕手キャラクタに捕球された場合は、打球の軌道を計算する処理は、CPU7により実行されない。この場合、後述するステップ317(S317)の処理が、CPU7により実行される。すなわち、この場合、ボールの経路40、第1表示子41、および第2表示子42は、表示されず、プレイの結果のリストのみが更新される。
ここで、ボールの軌道計算についての説明を、行っておく。
まず、ボールの質量に対応する質量データ、ボールの空気抵抗に対応する空気抵抗データ、バットにより打ち返された瞬間のボールの位置を示す初期位置座標データ、ボールの初速度に対応する初速度データ、およびボールの放出角度に対応する放出角度データが、CPU7に認識される。これらのデータの中の、ボールの質量に対応する質量データ、およびボールの空気抵抗に対応する空気抵抗データは、ゲームプログラムにおいて予め規定されており、RAM12に格納されている。また、これらのデータの中の、バットにより打ち返された瞬間のボールの位置を示す初期位置座標データ、ボールの初速度に対応する初速度データ、およびボールの放出角度に対応する放出角度データは、ボールがバットに衝突したときの位置関係に応じて、所定の値がCPU7により設定される。
ここでは、たとえば、ボールの軌道方程式として、「m(d2r/dt2)+K(dr/dt)=mg」が用いられる。この方程式では、mはボールの質量、rは原点から物体までの距離(ベクトル)、gは重力の加速度(ベクトル)で、その座標成分は(0,0,−g)、Kは空気抵抗係数である。
上記の軌道方程式を1階積分することにより、ボールの速度の方程式が算出され、この方程式を2階積分することにより、ボールの位置の方程式が算出される。なお、積分定数は、上記の各種のデータを積分後の方程式に代入することにより求められる。また、ボールの速度の方程式およびボールの位置の方程式には、ボールの軌道を調節するための調節関数が、付加されている。この調節関数を方程式に付加することにより、落下後のボール(ゴロ状態のボール)の速度や位置が、評価される。
このようにして求められた方程式は、ゲームプログラムでは、離散化された状態で記述されている。そして、この離散化後の方程式を単位時間(dt)ごとに時間進行させる計算を、CPU7に実行させることにより、各時刻における、ボールの移動速度データおよびボールの位置座標データを算出することができる。また、時刻データは、打者キャラクタによりボールが打ち返された時点の時刻を基準として、打者キャラクタによりボールが打ち返された時点の時刻に単位時間を順次加算する処理を、CPU7に実行させることにより、求められる。
なお、ゲーム空間におけるボールの位置情報を記録するために、各時刻のボールの時刻データ、各時刻のボールの位置座標データ、および各時刻のボールの移動速度データは、RAM12に格納される。
続いて、1プレイが終了したか否かが、CPU7により判断される(S312)。そして、1プレイが終了した場合(S312でYes)、このプレイの結果が、所定の条件に一致するか否かを判断する処理が、CPU7により実行される(S313)。
たとえば、再生モードがハイライトモードであった場合、プレイの結果が、「得点に関係する安打」であるか否かが、CPU7により判断される。また、再生モードがポイントモードであった場合、「得点に関係する安打」および「得点に関係しない安打」のいずれか一方であるか否かが、CPU7により判断される。さらに、再生モードが全プレイモードであった場合、「得点に関係する安打」、「得点に関係しない安打」、および「凡打」等のいずれか1つであるか否かが、CPU7により判断される。
より具体的には、終了した1プレイにおいて、得点が入った場合には、得点の獲得を示す得点用のフラグF1’が、CPU7によりオン状態に設定される(F1’=1)。また、安打が発生した場合には、安打の発生を示す安打用のフラグF2’が、CPU7によりオン状態に設定される(F2’=1)。なお、得点用のフラグF1’および安打用のフラグF2’は、デフォルトでは、オフ状態に設定されている(F1’=F2’=0)。
たとえば、「得点に関係する安打」が発生した場合(C=1)、得点用のフラグF1’および安打用のフラグF2’に「1」を割り当てる処理が、CPU7により実行される。また、「得点に関係しない安打」が発生した場合(C=2)、安打用のフラグF2’に「1」を割り当てる処理が、CPU7により実行される。さらに、「凡打」が発生した場合(C=3)、得点用のフラグF1’および安打用のフラグF2’は変更されず、これらのフラグは、デフォルト値すなわち「0」のままである(F1’=F2’=0)。
ここで、条件用の第1フラグF1および条件用の第2フラグF2の組み合わせを(C,F1,F2)と表記し、プレイの結果を(C,F1’,F2’)と表記すると、各条件において(C,F1,F2)と(C,F1’,F2’)とが等しいか否かが、CPU7により判断される。言い換えると、各条件(C=1,2,3)において「F1=F1’」且つ「F2=F2’」であるか否かが、CPU7により判断される。
たとえば、ハイライトモードの場合、「得点に関係する安打」という条件(C=1)において、「F1=F1’」且つ「F2=F2’」であるか否かが、CPU7により判断される。また、ポイントモードの場合、「得点に関係する安打」という条件(C=1)又は「得点に関係しない安打」という条件(C=2)において、「F1=F1’」且つ「F2=F2’」であるか否かが、CPU7により判断される。さらに、再生モードが全プレイモードであった場合、「得点に関係する安打」という条件(C=1)、「得点に関係しない安打」という条件(C=2)、又は「凡打」という条件(C=3)において、「F1=F1’」且つ「F2=F2’」であるか否かが、CPU7により判断される。そして、各モードにおいて条件のいずれか1つに一致した場合に、所定のプレイの結果が検出されたと判断される(S313でYes)。
続いて、所定のプレイの結果が検出された場合(S313でYes)、ゲーム空間においてボールが軌道上で移動した経路40が、テレビジョンモニタ20に表示される(S314)。
たとえば、再生モードがハイライトモードであった場合、プレイの結果が、「得点に関係する安打」であった場合に、ゲーム空間のボールの速度より遅い速度で伸びる経路40が、画像データを用いて、テレビジョンモニタ20に表示される(図5を参照)。また、再生モードがポイントモードであった場合、プレイの結果が、「得点に関係する安打」、および「得点に関係しない安打」のいずれか一方であった場合に、ゲーム空間のボールの速度より遅い速度で伸びる経路40が、画像データを用いて、テレビジョンモニタ20に表示される。さらに、再生モードが全プレイモードであった場合、プレイの結果が、「得点に関係する安打」、「得点に関係しない安打」、および「凡打」等のいずれか1つであった場合に、ゲーム空間のボールの速度より遅い速度で伸びる経路40が、画像データを用いて、テレビジョンモニタ20に表示される。
なお、ボールの経路40は、ゲーム空間における打球の軌道をデフォルメすることにより、テレビジョンモニタ20に表示される。たとえば、打球の軌道は、点線(図5および図6を参照)や実線(図示せず)等を用いて、テレビジョンモニタ20に表示される。具体的には、ゲーム空間におけるボールの軌道の形状と相似になるように、打球の経路40がテレビジョンモニタ20に表示される。より具体的には、ゲーム空間におけるボールの軌跡を所定の倍率で拡大又は縮小する処理をCPU7に実行させることにより、打球の経路40の軌跡が求められる。これにより、この打球の経路40が、テレビジョンモニタ20に表示される。
そして、ゲーム空間のボールの速度より遅い速度で伸びる経路40すべてが、テレビジョンモニタ20に表示されると、プレイの結果を示す第1表示子41が、テレビジョンモニタ20に表示される(S315)。ここでは、たとえば、図6および図7に示すように、「中飛安(センター前ヒット)」および「中飛(センターフライ)」等のような第1表示子41が、経路40の基端側において、テレビジョンモニタ20に表示される。
なお、ここでは、第1表示子41は、簡略的な表現で、テレビジョンモニタ20に表示される。一例として、ライト方向への打球は「右」、センター方向への打球は「中」、レフト方向への打球は「左」と、簡略的に表示される。また、フライの場合は「飛」、ゴロの場合は「ゴロ」と、表示される。さらに、安打は「安」と簡略的に表示され、凡打の場合は、打球の方向だけが示され、文字は表示されない。
すると、プレイの結果の良否を示す第2表示子が、テレビジョンモニタ20に表示される(S316)。たとえば、図6および図7に示すように、プレイの結果が良い結果であった場合は、第2表示子42たとえば丸記号が、経路40の基端側において、テレビジョンモニタ20に表示される。一方で、プレイの結果が悪い結果であった場合は、第2表示子42たとえばX記号が、経路40の基端側において、テレビジョンモニタ20に表示される。なお、ここでは、良いプレイ結果は安打に対応し、悪いプレイ結果は凡打に対応する。
続いて、ボールの経路40、プレイの結果を示す第1表示子41、およびプレイの結果の良否を示す第2表示子が、テレビジョンモニタ20に表示されると、このプレイで打席に立った打者キャラクタのプレイの結果が、この打者キャラクタの識別子に対応付けて、テレビジョンモニタ20に表示される(S317)。具体的には、図5−図7に示すように、攻撃側のスターティングメンバーのリスト30が、テレビジョンモニタ20に表示されている状態において、このプレイで打席に立った打者キャラクタのプレイの結果31が、対応する打者キャラクタの名前(識別子)の横に、表示される。この処理を1プレイごとにCPU7に実行させることにより、攻撃側のスターティングメンバーのプレイの結果が、リスト形式で、テレビジョンモニタ20に表示される。
なお、1プレイが終了していないと判断された場合(S312でNo)、1プレイが終了するまで、CPU7はプレイの状況を監視する。そして、1プレイが終了した場合(S312でYes)に、CPU7は、次のステップ(S313)の処理を実行する。また、所定のプレイの結果が検出されなかった場合(S313でNo)、ステップ317(S317)の処理が、CPU7により再実行される。すなわち、この場合、ボールの経路40、第1表示子41、および第2表示子42は、表示されず、プレイの結果のリストのみが更新される。
続いて、試合イベントが終了したか否かが、CPU7により判断される(S318)。そして、試合イベントが終了した場合(S318でYes)、試合結果のデータやゲーム継続用のデータ等を保存する命令が、CPU7から発行される。すると、これらのデータが、RAM12に格納される(S319)。一方で、試合イベントが終了していない場合(S318でNo)、ステップ306(S306)の処理が、CPU7により再実行される。
続いて、1人対戦モードが終了したか否かが、CPU7により判断される(S320)。たとえば、1人対戦モードが終了するためのボタンが、プレイヤにより操作されたか否かが、CPU7により判断される。ここで、1人対戦モードが終了するためのボタンが、プレイヤより操作された場合(S320でYes)、対戦モード用のデータ等を保存する命令が、CPU7から発行される。すると、これらのデータが、RAM12に格納される(S321)。一方で、1人対戦モードがプレイヤにより終了されなかった場合(S320でNo)、ステップ302(S302)の処理が、CPU7により再実行される。
なお、試合イベントにおいて、プレイヤが操作する対象選手キャラクタが登場した場合(S306でNo)、対戦画面が、図8に示すように、テレビジョンモニタ20に表示される(S330)。この対戦画面ででは、投手キャラクタ、打者キャラクタ、および野手キャラクタが、テレビジョンモニタ20に表示される。
たとえば、対象選手キャラクタが、このプレイで打席に立つ打者キャラクタである場合、プレイヤはコントローラ17を操作することにより、打者キャラクタに対して各種の命令を指示する。たとえば、プレイヤはコントローラ17を操作することにより、ボールをミートする位置を指定するための命令(ミートゾーン35の位置を指定するための命令)、およびスイング開始命令等が、打者キャラクタに対して指示される。一方で、打者キャラクタを除く他の選手キャラクタは、自動制御プログラムに基づいて、CPU7により自動制御される。このように、対象選手キャラクタが登場した場合は、対象選手キャラクタに対する命令はプレイヤにより指示され、その他の選手キャラクタに対する命令は自動制御プログラムに基づいて指示される。
そして、プレイヤが操作する対象選手キャラクタが登場した場合にも、1プレイが終了したか否かが、CPU7により判断される(S331)。そして、1プレイが終了した場合(S331でYes)、ステップ307(S307)の処理が、自動制御プログラムに基づいて、CPU7により開始される。なお、ここで、1プレイが終了していない状態では(S331でNo)、対戦が終了するまで、ステップ330(S330)の処理およびステップ331(S331)の処理が、CPU7により実行される。
上記のように、本実施形態では、所定のプレイが発生した場合にのみ、打球の経路40、プレイの結果41、およびプレイの結果の良否42が、テレビジョンモニタ20に表示されるので、プレイヤは、これら情報40,41,42を容易に視認することができる。また、本発明では、たとえば、重要度の高い条件を、所定の条件として設定することにより、重要なプレイが発生したときにのみ、そのプレイの情報(打球の経路40、プレイの結果41、およびプレイの結果の良否42)を、テレビジョンモニタ20に表示することができる。このため、プレイヤは、重要なプレイが発生したときの情報を、容易に視認することができる。
また、本実施形態では、打球の経路40が、ゲーム空間のボールの速度より遅い速度で伸びる状態が、テレビジョンモニタ20に表示されるようになっているので、プレイヤは、このプレイの結果を、緊張感を持って待つことになる。言い換えると、本実施形態では、プレイの結果を即座にプレイヤに報知するのではなく、敢えてプレイの結果の報知を遅らせることによって、プレイヤがゲームに集中せざるを得ない状況が、作られている。これにより、プレイヤを、飽きさせることなく、ゲームに集中させることができる。
〔他の実施形態〕
(a)前記実施形態では、ゲームプログラムを適用しうるコンピュータの一例としての開発用のビデオゲーム装置を用いた場合の例を示したが、コンピュータは、前記実施形態に限定されず、モニタが別体に構成されたゲーム装置、モニタが一体に構成されたゲーム装置、ゲームプログラムを実行することによってゲーム装置として機能するパーソナルコンピュータやワークステーションなどにも同様に適用することができる。
(b)本発明には、前述したようなゲームを実行するプログラムおよびこのプログラムを記録したコンピュータ読み取り可能な記録媒体も含まれる。この記録媒体としては、カートリッジ以外に、たとえば、コンピュータ読み取り可能なフレキシブルディスク、半導体メモリ、CD−ROM、DVD、MO、ROMカセット、その他のものが挙げられる。
本発明の一実施形態による開発用のゲーム装置の基本構成図。 前記ゲーム装置の一例としての機能ブロック図。 再生モード設定画面を示す図。 プレイを選別するための条件を示すテーブル。 メンバーリスト、打球の経路(途中の状態)、およびプレイ結果の履歴を示す図。 メンバーリスト、打球の経路、第1表示子、第2表示子、およびプレイ結果の履歴を示す図(その1)。 メンバーリスト、打球の経路、第1表示子、第2表示子、およびプレイ結果の履歴を示す図(その2)。 対戦画面を示す図。 野球ゲームの全体概要を説明するためのフロー 野球ゲームにおける特定情報表示システムを示すフロー。 野球ゲームにおける特定情報表示システムを示すフロー。 野球ゲームにおける特定情報表示システムを示すフロー。
符号の説明
1 制御部
3 画像表示部
5 操作入力部
7 CPU
12 RAM
17 コントローラ
20 テレビジョンモニタ
50 モード設定手段
51 条件設定手段
52 識別子表示手段
53 キャラクタ移動手段
54 移動体移動手段
55 プレイ検出手段
56 経路表示手段
57 第1プレイ結果表示手段
58 第2プレイ結果表示手段
59 プレイ履歴表示手段
30 メンバーリスト
31 プレイの結果のリスト
35 ミートゾーン
40 ボールの経路
41 プレイの結果(第1表示子)
42 プレイの結果の良否(第2表示子)
C プレイを選別するための条件を表す記号
F1 条件用の第1フラグ
F2 条件用の第2フラグ
F1’ 得点用のフラグ
F2’ 安打用のフラグ


Claims (8)

  1. 自動進行するゲームを実行可能なコンピュータに、
    移動体の軌道を計算する処理を、制御部に実行させ、前記軌道上において前記移動体を移動させる命令を、制御部に発行させることにより、ゲーム空間において前記移動体を、自動的に移動させる移動体移動機能と、
    キャラクタを制御する命令を、制御部に発行させることにより、ゲーム空間において前記キャラクタを自動的に動作させるキャラクタ移動機能と、
    前記移動体および前記キャラクタが関与するイベントの結果が、所定の条件に一致するか否かを判断する処理を、制御部に実行させることにより、所定の前記イベントの結果を検出するイベント検出機能と、
    所定の前記イベントの結果が検出されたときに、ゲーム空間において前記移動体が前記軌道上で移動した経路を、画像表示部に表示する経路表示機能と、
    を実現するためのゲームプログラム。
  2. 前記経路表示機能では、所定の前記イベントの結果が検出されたときに、ゲーム空間の前記移動体の速度より遅い速度で伸びる前記経路が、画像表示部に表示される、
    請求項1に記載のゲームプログラム。
  3. 前記コンピュータに、
    入力部からの入力信号に基づいて、ゲームを自動進行するときの複数の再生モードの中のいずれか一つのモードを、制御部に認識させることにより、自動進行するゲームにおいてモードを設定するモード設定機能と、
    前記モードに基づいて、ゲームの自動進行中に情報の表示対象となるイベントを選別するための所定の前記条件を、制御部に認識させることにより、所定の前記条件を設定する条件設定機能と、
    をさらに実現するための請求項1又は2のいずれかゲームプログラム。
  4. 前記コンピュータに、
    ゲーム空間において前記移動体が前記軌道上で移動した経路が、画像表示部に表示された後に、前記イベントの結果を示す第1表示子を、画像表示部に表示する第1イベント結果表示機能、
    をさらに実現するための請求項1から3のいずれかに記載のゲームプログラム。
  5. 前記コンピュータに、
    ゲーム空間において前記移動体が前記軌道上で移動した経路が、画像表示部に表示された後に、前記イベントの結果の良否を示す第2表示子を、画像表示部に表示する第2イベント結果表示機能、
    をさらに実現するための請求項1から4のいずれかに記載のゲームプログラム。
  6. 前記コンピュータに、
    自動進行中の前記イベントに関与する前記キャラクタを識別するための識別子を、画像表示部に表示する識別子表示機能と、
    自動進行中の前記イベントの結果の履歴を、自動進行中の前記イベントに関与した前記キャラクタの前記識別子に対応付けて、画像表示部に表示するイベント履歴表示機能と、
    をさらに実現するための請求項1から5のいずれかに記載のゲームプログラム。
  7. 自動進行するゲームを実行可能なゲーム装置であって、
    移動体を制御する命令を、制御部に発行させることにより、ゲーム空間において前記移動体を自動的に移動させる移動体移動手段と、
    キャラクタを制御する命令を、制御部に発行させることにより、ゲーム空間において前記キャラクタを自動的に動作させるキャラクタ移動手段と、
    前記移動体および前記キャラクタが関与するイベントの結果が、所定の条件に一致するか否かを判断する処理を、制御部に実行させることにより、所定の前記イベントの結果を検出するイベント検出手段と、
    所定の前記イベントの結果が検出されたときに、ゲーム空間において前記移動体が移動した経路を、画像表示部に表示する経路表示手段と、
    を備えるゲーム装置。
  8. 自動進行するゲームをコンピュータにより制御可能なゲーム制御方法であって、
    移動体を制御する命令を、制御部に発行させることにより、ゲーム空間において前記移動体を自動的に移動させる移動体移動ステップと、
    キャラクタを制御する命令を、制御部に発行させることにより、ゲーム空間において前記キャラクタを自動的に動作させるキャラクタ移動ステップと、
    前記移動体および前記キャラクタが関与するイベントの結果が、所定の条件に一致するか否かを判断する処理を、制御部に実行させることにより、所定の前記イベントの結果を検出するイベント検出ステップと、
    所定の前記イベントの結果が検出されたときに、ゲーム空間において前記移動体が移動した経路を、画像表示部に表示する経路表示ステップと、
    を備えるゲーム制御方法。


JP2008323225A 2008-12-19 2008-12-19 ゲームプログラム、ゲーム装置、及びゲーム制御方法 Active JP5008646B2 (ja)

Priority Applications (1)

Application Number Priority Date Filing Date Title
JP2008323225A JP5008646B2 (ja) 2008-12-19 2008-12-19 ゲームプログラム、ゲーム装置、及びゲーム制御方法

Applications Claiming Priority (1)

Application Number Priority Date Filing Date Title
JP2008323225A JP5008646B2 (ja) 2008-12-19 2008-12-19 ゲームプログラム、ゲーム装置、及びゲーム制御方法

Publications (2)

Publication Number Publication Date
JP2010142441A true JP2010142441A (ja) 2010-07-01
JP5008646B2 JP5008646B2 (ja) 2012-08-22

Family

ID=42563482

Family Applications (1)

Application Number Title Priority Date Filing Date
JP2008323225A Active JP5008646B2 (ja) 2008-12-19 2008-12-19 ゲームプログラム、ゲーム装置、及びゲーム制御方法

Country Status (1)

Country Link
JP (1) JP5008646B2 (ja)

Cited By (2)

* Cited by examiner, † Cited by third party
Publication number Priority date Publication date Assignee Title
JP2017200641A (ja) * 2017-08-18 2017-11-09 株式会社コナミデジタルエンタテインメント ゲーム制御装置、ゲームシステム、及びプログラム
JP2020044118A (ja) * 2018-09-19 2020-03-26 株式会社バンダイナムコエンターテインメント コンピュータシステム、ゲームシステム及びプログラム

Citations (3)

* Cited by examiner, † Cited by third party
Publication number Priority date Publication date Assignee Title
JP2002282537A (ja) * 2001-03-22 2002-10-02 Square Co Ltd 野球ビデオゲームのプログラムを記録したコンピュータ読み取り可能な記録媒体および野球ビデオゲームプログラムおよびビデオゲーム処理方法およびビデオゲーム装置
JP2004358280A (ja) * 2004-09-28 2004-12-24 Konami Computer Entertainment Studios Inc ビデオゲームのプレイ制御プログラム、ビデオゲームのプレイ制御方法およびビデオゲーム装置
JP2006271752A (ja) * 2005-03-30 2006-10-12 Konami Digital Entertainment:Kk ゲームプログラム、ゲーム装置及びゲーム方法

Patent Citations (3)

* Cited by examiner, † Cited by third party
Publication number Priority date Publication date Assignee Title
JP2002282537A (ja) * 2001-03-22 2002-10-02 Square Co Ltd 野球ビデオゲームのプログラムを記録したコンピュータ読み取り可能な記録媒体および野球ビデオゲームプログラムおよびビデオゲーム処理方法およびビデオゲーム装置
JP2004358280A (ja) * 2004-09-28 2004-12-24 Konami Computer Entertainment Studios Inc ビデオゲームのプレイ制御プログラム、ビデオゲームのプレイ制御方法およびビデオゲーム装置
JP2006271752A (ja) * 2005-03-30 2006-10-12 Konami Digital Entertainment:Kk ゲームプログラム、ゲーム装置及びゲーム方法

Cited By (3)

* Cited by examiner, † Cited by third party
Publication number Priority date Publication date Assignee Title
JP2017200641A (ja) * 2017-08-18 2017-11-09 株式会社コナミデジタルエンタテインメント ゲーム制御装置、ゲームシステム、及びプログラム
JP2020044118A (ja) * 2018-09-19 2020-03-26 株式会社バンダイナムコエンターテインメント コンピュータシステム、ゲームシステム及びプログラム
JP7256619B2 (ja) 2018-09-19 2023-04-12 株式会社バンダイナムコエンターテインメント コンピュータシステム、ゲームシステム及びプログラム

Also Published As

Publication number Publication date
JP5008646B2 (ja) 2012-08-22

Similar Documents

Publication Publication Date Title
US7878890B2 (en) Game program, game device, and game method
US6280323B1 (en) Device, method and storage medium for displaying penalty kick match cursors in a video soccer game
JP2012217604A (ja) ゲーム装置及びゲーム制御プログラム
JP3735358B2 (ja) ビデオゲームプログラム、ビデオゲーム装置及びビデオゲーム方法
JP4536121B2 (ja) ゲームプログラム、ゲーム装置、およびゲーム制御方法
JP2009082188A (ja) ゲームプログラム、ゲーム装置、およびゲーム制御方法
JP2000317137A (ja) 対戦ビデオゲーム装置、対戦ビデオゲーム方法およびビデオゲームプログラムが記録された可読記録媒体
JP2002085827A (ja) ゲーム画面表示方法、記録媒体及びゲーム装置
JP3735359B2 (ja) ビデオゲームプログラム、ビデオゲーム装置及びビデオゲーム方法
JP4320352B2 (ja) ゲーム装置、ゲーム制御プログラム、およびこれを記録した記録媒体
JP4110186B2 (ja) ゲームプログラム、ゲーム装置及びゲーム制御方法
JP5008646B2 (ja) ゲームプログラム、ゲーム装置、及びゲーム制御方法
KR101120951B1 (ko) 게임 프로그램을 기록한 컴퓨터로 읽을 수 있는 매체, 게임 장치 및 게임 제어 방법
JP4191768B2 (ja) ゲームプログラム、ゲーム装置及びゲーム制御方法
WO2007135867A1 (ja) ゲームプログラム、ゲーム装置及びゲーム制御方法
JP2008237654A (ja) ゲームプログラム、ゲーム装置及びゲーム制御方法
JP4482017B2 (ja) ゲームプログラム、ゲーム装置及びゲーム制御方法
JP2007215756A (ja) ゲームプログラム、ゲーム装置及びゲーム方法
JP4191769B2 (ja) ゲームプログラム、ゲーム装置及びゲーム制御方法
JP5044610B2 (ja) ゲームプログラム、ゲーム装置、ゲーム制御方法
JP2010125119A (ja) ゲームプログラム、ゲーム装置、及びゲーム制御方法
JP2007167117A (ja) ゲームプログラム、ゲーム装置及びゲーム制御方法
JP4463294B2 (ja) ゲームプログラム、ゲーム装置及びゲーム制御方法
JP2008142219A (ja) ゲームプログラム、ゲーム装置及びゲーム制御方法
JP3762919B2 (ja) ビデオゲームプログラム、ビデオゲーム装置及びビデオゲーム方法

Legal Events

Date Code Title Description
A131 Notification of reasons for refusal

Free format text: JAPANESE INTERMEDIATE CODE: A131

Effective date: 20111025

A521 Request for written amendment filed

Free format text: JAPANESE INTERMEDIATE CODE: A523

Effective date: 20111222

TRDD Decision of grant or rejection written
A01 Written decision to grant a patent or to grant a registration (utility model)

Free format text: JAPANESE INTERMEDIATE CODE: A01

Effective date: 20120522

A01 Written decision to grant a patent or to grant a registration (utility model)

Free format text: JAPANESE INTERMEDIATE CODE: A01

A61 First payment of annual fees (during grant procedure)

Free format text: JAPANESE INTERMEDIATE CODE: A61

Effective date: 20120529

R150 Certificate of patent or registration of utility model

Ref document number: 5008646

Country of ref document: JP

Free format text: JAPANESE INTERMEDIATE CODE: R150

Free format text: JAPANESE INTERMEDIATE CODE: R150

FPAY Renewal fee payment (event date is renewal date of database)

Free format text: PAYMENT UNTIL: 20150608

Year of fee payment: 3

R250 Receipt of annual fees

Free format text: JAPANESE INTERMEDIATE CODE: R250

R250 Receipt of annual fees

Free format text: JAPANESE INTERMEDIATE CODE: R250

R250 Receipt of annual fees

Free format text: JAPANESE INTERMEDIATE CODE: R250

R250 Receipt of annual fees

Free format text: JAPANESE INTERMEDIATE CODE: R250

R250 Receipt of annual fees

Free format text: JAPANESE INTERMEDIATE CODE: R250

S531 Written request for registration of change of domicile

Free format text: JAPANESE INTERMEDIATE CODE: R313531

R350 Written notification of registration of transfer

Free format text: JAPANESE INTERMEDIATE CODE: R350

R250 Receipt of annual fees

Free format text: JAPANESE INTERMEDIATE CODE: R250

R250 Receipt of annual fees

Free format text: JAPANESE INTERMEDIATE CODE: R250

R250 Receipt of annual fees

Free format text: JAPANESE INTERMEDIATE CODE: R250

R250 Receipt of annual fees

Free format text: JAPANESE INTERMEDIATE CODE: R250

R250 Receipt of annual fees

Free format text: JAPANESE INTERMEDIATE CODE: R250

R250 Receipt of annual fees

Free format text: JAPANESE INTERMEDIATE CODE: R250