JP2010142220A - 釣り用リールの糸止め及び糸止め組立体 - Google Patents
釣り用リールの糸止め及び糸止め組立体 Download PDFInfo
- Publication number
- JP2010142220A JP2010142220A JP2009024437A JP2009024437A JP2010142220A JP 2010142220 A JP2010142220 A JP 2010142220A JP 2009024437 A JP2009024437 A JP 2009024437A JP 2009024437 A JP2009024437 A JP 2009024437A JP 2010142220 A JP2010142220 A JP 2010142220A
- Authority
- JP
- Japan
- Prior art keywords
- reel
- fishing
- fishing line
- head
- thread stopper
- Prior art date
- Legal status (The legal status is an assumption and is not a legal conclusion. Google has not performed a legal analysis and makes no representation as to the accuracy of the status listed.)
- Pending
Links
- 238000009987 spinning Methods 0.000 claims description 18
- 230000002093 peripheral effect Effects 0.000 claims description 15
- 241000251468 Actinopterygii Species 0.000 abstract description 8
- 239000000463 material Substances 0.000 description 5
- 229910000838 Al alloy Inorganic materials 0.000 description 4
- 230000002265 prevention Effects 0.000 description 4
- 238000004804 winding Methods 0.000 description 3
- 238000005266 casting Methods 0.000 description 2
- 229910001369 Brass Inorganic materials 0.000 description 1
- 239000004677 Nylon Substances 0.000 description 1
- 239000010951 brass Substances 0.000 description 1
- 238000004512 die casting Methods 0.000 description 1
- 230000009977 dual effect Effects 0.000 description 1
- 238000000034 method Methods 0.000 description 1
- 238000012986 modification Methods 0.000 description 1
- 230000004048 modification Effects 0.000 description 1
- 229920001778 nylon Polymers 0.000 description 1
- 238000009331 sowing Methods 0.000 description 1
Images
Classifications
-
- A—HUMAN NECESSITIES
- A01—AGRICULTURE; FORESTRY; ANIMAL HUSBANDRY; HUNTING; TRAPPING; FISHING
- A01K—ANIMAL HUSBANDRY; AVICULTURE; APICULTURE; PISCICULTURE; FISHING; REARING OR BREEDING ANIMALS, NOT OTHERWISE PROVIDED FOR; NEW BREEDS OF ANIMALS
- A01K89/00—Reels
- A01K89/01—Reels with pick-up, i.e. with the guiding member rotating and the spool not rotating during normal retrieval of the line
- A01K89/0111—Spool details
-
- A—HUMAN NECESSITIES
- A01—AGRICULTURE; FORESTRY; ANIMAL HUSBANDRY; HUNTING; TRAPPING; FISHING
- A01K—ANIMAL HUSBANDRY; AVICULTURE; APICULTURE; PISCICULTURE; FISHING; REARING OR BREEDING ANIMALS, NOT OTHERWISE PROVIDED FOR; NEW BREEDS OF ANIMALS
- A01K89/00—Reels
- A01K89/01—Reels with pick-up, i.e. with the guiding member rotating and the spool not rotating during normal retrieval of the line
Landscapes
- Life Sciences & Earth Sciences (AREA)
- Environmental Sciences (AREA)
- Animal Husbandry (AREA)
- Biodiversity & Conservation Biology (AREA)
Abstract
【課題】釣り用リールの糸止めにおいて、糸止めがばね部材により付勢されても釣り糸が切断及び損傷されにくくする
【解決手段】糸止め20は、釣り糸を釣り用リールに固定するために備えられている。リンクリップ20は、軸部21と、頭部22とを有する。頭部22は、軸部21に装着され、軸部21は釣り用リールに接続されている。糸止め20は、軸部21に対向する、頭部22の面22bに形成された環状溝22aを備える。環状溝22aは、軸部21と同心円状に配置されている。糸止め20は、コイルばね24と、ばね保持部25とを軸部21に装着することにより釣り用リールに接続されている。コイルばね24とばね保持部25は、軸部21に装着されたスナップリング23によって所定の位置に保持される。
【選択図】図5
【解決手段】糸止め20は、釣り糸を釣り用リールに固定するために備えられている。リンクリップ20は、軸部21と、頭部22とを有する。頭部22は、軸部21に装着され、軸部21は釣り用リールに接続されている。糸止め20は、軸部21に対向する、頭部22の面22bに形成された環状溝22aを備える。環状溝22aは、軸部21と同心円状に配置されている。糸止め20は、コイルばね24と、ばね保持部25とを軸部21に装着することにより釣り用リールに接続されている。コイルばね24とばね保持部25は、軸部21に装着されたスナップリング23によって所定の位置に保持される。
【選択図】図5
Description
本発明は、糸止め、特に、釣り用リールに釣り糸を止めるための糸止め及び糸止め組立体に関する。
一般に、スピニングリール等の釣り用リールは、リール本体と、ハンドルと、ロータと、スプールと、スプールに装着された糸止めとを有する。リール本体は釣り竿に取り付けられる。ハンドルは、リール本体に回転自在に装着される。ロータは、リール本体に回転自在に装着される。スプールは、ロータの前部においてリール本体に装着され、前後移動自在である。釣り糸は、ロータによってガイドされ、スプールの外周面に巻き付けられる。
釣り糸を使用しない場合、通常、釣り糸の端部は、釣り糸がスプールから開放されないように糸止めに固定される。
釣り糸を使用する場合、糸止めは、例えば、魚に撒き餌を与えるために「スポッド」または「スポッドロケット」等の撒き餌カゴをキャスティング毎に確実に略同一領域に着水させる。しかし、実際には、従来の糸止めは、その使用方法に関わらず、時間経過に伴って釣り糸の破損や切断を発生させることが知られている。
例えば、従来の糸止めは面に沿って釣り糸を付勢することが知られている(例えば、特許文献1参照)。これにより、強力な保持力が加えられない限り、釣り糸は係止されない。しかし、保持力が強くなれば、釣り糸を糸止めの頭部の下で付勢しなければならないので、特にナイロン製の釣り糸を係止することはさらに困難になる。結果として、釣り糸がひどく損傷を受ける。
上記問題を克服するために、受け面に段差部が備え、これにより釣り糸が容易に滑り落ちないようになっているものが知られている(例えば、特許文献2参照)。
しかし、段差部の鋭い縁部が、釣り糸をひどく損傷または切断する場合がある。例えば、釣り用リールの表面に対して糸止めの頭部を保持するために、糸止めを付勢する保持ばねが使用されている。
釣り糸は、糸止めの頭部と、釣り用リール表面の段差部との間に保持される。時間経過に伴って、釣り糸は、クリップの頭部と、段差部の鋭い縁部との間に釣り糸を保持するための保持ばねからの力によって磨耗する。この結果、釣り糸の損傷または切断が発生する。
以上を鑑みると、この開示により、釣り用リール用の改良された糸止めの必要性は、当業者にとって明白である。また、この開示により、本発明が上記技術分野における当該必要性及び他の必要性を主張するものであることは、当業者にとって明白である。
本発明の各態様は、従来技術で発生している上記問題を解決する目的で創出されたものであり、本発明の課題は、釣り用リールの糸止めにおいて、糸止めがばね部材により付勢されても釣り糸が切断及び損傷されにくくすることにある。
本発明の一態様によれば、釣り用リール用糸止めが、釣り用リールに釣り糸を止めるために備えられる。糸止めは、軸部と、頭部とを有する。軸部は、釣り用リールに装着される。頭部は、軸部に設けられ、軸部よりも大きい外径を有する。また、頭部は環状溝を有し、環状溝は頭部の軸部に対向する面に形成されている。
この糸止めでは、釣り用リールに軸部が装着されると、頭部と釣り用リールとの間に釣り糸が保持される。このとき、頭部の軸部と対向する面に形成された環状溝に釣り糸が配置される。このため、例えば、釣り糸を糸止めから外すとき及びキャスティング時に釣り糸の糸止めに止められた途中に張力が作用するとき、糸止めが釣り用リールの表面から離反する方向に移動する。したがって、釣り糸が損傷及び切断されにくくなり、頭部と、釣り用リールの表面との間に釣り糸が確実に保持される。
本発明の他の態様によれば、環状溝は軸部と同心円状に配置される。この場合には、頭部が軸部と同芯に配置されているので、環状溝を軸部と同芯に配置できる。
本発明のさらに他の態様によれば、釣り用リールは、スプールに円筒形スカート部を備えたスピニングリールであり、頭部は、スカート部との間で釣り糸を保持する。この場合には、スピニングリールのスプールのスカート部と頭部との間に、損傷及び切断されることなく釣り糸が保持される。
本発明のさらに他の態様によれば、スカート部は、外周面に形成された底が平坦で浅い凹部と、凹部に形成された貫通孔とを有し、軸部は、貫通孔に装着される。この場合には、頭部、環状溝及び凹部との間に、損傷及び切断されることなく釣り糸が保持される。ここでは、凹部で糸止めに係止された釣り糸が損傷しにくくなる。また、凹部を頭部の厚み分だけ凹ますことにより、頭部がスカートの外周面から突出しなくなる。
本発明のさらに他の態様によれば、糸止め組立体は、スピニングリールのスプールに釣り糸を止めるための組立体であって、上記の糸止めと、ばね受け部材と、ばね部材と、を備えている。ばね受け部材は、スカート部の内周面より内周側で軸部に抜け止めされた部材である。ばね部材は、ばね受け部材とスカート部の内周部の貫通孔の周囲との間で配置され、糸止めをスプール中心に向かって付勢する。
この糸止め組立体では、糸止めの軸部が貫通孔に配置され、頭部が凹部に配置される。そして、糸止めはばね部材によりスカート部の内周側に付勢される。この状態で釣り糸を凹部と頭部の間に挟むと、糸止めは、凹部からいったん離れて釣り糸が環状溝に配置されると、ばね部材により付勢されて凹部に向けて移動する。このとき、釣り糸が凹部と環状溝との間で保持されるので、糸止めがばね部材により付勢されても釣り糸が切断及び損傷されにくくすることになる。
釣り糸は、釣り用リールの表面の糸止めに装着されると、損傷及び切断されることなく、頭部と、釣り用リールの表面との間に確実に保持される。
以下、本発明の一実施形態について、図面参照して説明する。この開示により、本発明の一実施形態に関する下記の記載は、例証目的で提供されたものに過ぎず、特許請求の範囲及びそれらの均等物によって定義されるように、本発明を制限するものではないことは、当業者にとって明白である。
図1から図3において、本発明の一実施形態が採用されたスピニングリールが図示されている。スピニングリールは、主に、リール本体2と、ロータ3と、スプール4とを備えている。リール本体2はハンドル1を有し、釣竿に装着される。ロータ3は、リール本体2の前部に回転自在に装着されている。スプール4は、ロータ3の前部に前後移動自在に装着されている。また、スピニングリールは、ロータ駆動機構5と、オシレーティング機構6とを備える。ロータ駆動機構5は、ハンドル1の回転に連動してロータ3を回転駆動させる。オシレーティング機構6は、ロータ3の回転に連動してスプール4を前後に移動させる。
リール本体2は、ロータ駆動機構5と、オシレーティング機構6とを内部に収容する。図1から図3に示すように、リール本体2は、リールボディ8と、第1蓋部材9と、第2蓋部材10と、T字型の竿取付脚11と、第1カバー部材12と、第2カバー部材13とを備えている。リールボディ8は両側に開口を有するフレーム部材である。第1蓋部材9と第2蓋部材10は、リールボディ8の両側を塞ぐために使用される。第1蓋部材9と第2蓋部材10は、アルミニウム合金製であるが、同様の特徴を有する他の材料を同様に使用してもよい。竿取付脚11は、リールボディ8と一体形成されている。第1カバー部材12と第2カバー部材13は、リールボディ8と、第1蓋部材9と、第2蓋部材10とを後方から覆う。
図2に示すように、リールボディ8は、例えばアルミニウム合金製であるが、同様の特徴を有する他の材料を同様に使用してもよい。リールボディ8は、ロータ駆動機構5と、オシレーティング機構6とを収容及び支持するための内部空間8aを有する。図2に示すように、リールボディ8の前面には、円板状の機構支持部8bが形成されている。機構支持部8bには、逆転防止機構50のワンウェイクラッチ51やピニオンギア7等の構成要素が装着されている。
図2に示すように、ロータ3は、ロータボディ35と、ベールアーム34とを有する。ロータボディ35は、ピニオンギア7を介してリール本体2に回転自在に装着されている。ベールアーム34は、揺動自在にロータボディ35に装着されている。ロータボディ35は、アルミニウム合金製であるが、同様の特徴を有する他の材料を同様に使用してもよい。ロータボディ35は、筒状支持部30と、第1ロータアーム31と、第2ロータアーム32とを有する。筒状支持部30は、ピニオンギア7に固定される。第1ロータアーム31と第2ロータアーム32は、支持部30と所定の間隔を隔てて、支持部30の後端の外周面における対向する位置から前方に延びる。支持部30と、第1ロータアーム31と、第2ロータアーム32とが、ロータボディ35を構成する。例えば、支持部30と、第1ロータアーム31と、第2ロータアーム32とは、アルミニウム合金製であるが、同様の特徴を有する他の材料を同様に使用してもよい。支持部30と、第1ロータアーム31と、第2ロータアーム32とは、ダイカスト成形で形成されているが、同様の結果を実現する他の方法を同様に使用してもよい。図1及び2に示すように、第1ロータアーム31の径方向外周側は、第1カバー部材36で覆われており、第2ロータアーム32の径方向外周は第2カバー部材37で覆われている。また、第1ベール支持部材40と第2ベール支持部材42が、ベールアーム34を構成する。第1ベール支持部材40は、第1ロータアーム31の先端部の外周側に揺動自在に装着されており、第2ベール支持部材42は、第2ロータアーム32の先端部の外周側に揺動自在に装着されている。ベールアーム34は、釣り糸をスプール4にガイドし、巻き付けるために備えられている。ベールアーム34は、糸巻取姿勢と、糸巻取姿勢から反転した糸開放姿勢に揺動自在である。
図2に示すように、ロータ3は、逆転防止機構50によって糸開放方向への回転を許可・禁止することが可能である。逆転防止機構50は、リールボディ8の機構支持部8bに装着されたローラ型のワンウェイクラッチ51を有する。ワンウェイクラッチ51は、逆転禁止状態と、逆転許可状態とに切り換え可能である。さらに、逆転防止機構50は、ワンウェイクラッチ51の逆転禁止状態と逆転許可状態とを切り換えるための切換操作部52を有する。切換操作部52は、リールボディ8の機構支持部8bの底部において、揺動自在に支持されている。
図2に示すように、スプール4は浅底溝を有するように形成されており、糸巻胴部4aと、前フランジ部4bと、筒状スカート部4cとを備える。釣り糸は、糸巻胴部4aの外周に巻き付けられる。前フランジ部4bは、糸巻胴部4aの前端に形成されており、糸巻胴部4aよりも僅かに大径である。筒状スカート部4cは、糸巻胴部4aの後端に形成されており、糸巻胴部4aよりも大径である。
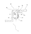
ここで、図4から図7を参照すると、筒状スカート部4cは、貫通孔4eが形成された浅底凹部4dを有する。釣り糸L(図7)をリール本体2に固定するための糸止め20が貫通孔4eに挿入される。糸止め20は黄銅製であるが、同様の特徴を有する他の材料を同様に使用してもよい。図5に示すように、糸止め20は、軸部21と、頭部22とを有する。頭部22は、軸部21の端部と一体形成されているが、軸部21の端部に装着されてもよい。頭部22の外径は、軸部21の直径よりも大径である。頭部22は、軸部21に対向する面22bに形成された環状溝22aを有する。環状溝22aは軸部21と同心円状に配置されている。環状溝22aの外縁部及び頭部22の環状溝22aが形成された面の外縁部は、それぞれフィレット加工(アール面取り加工)されている。
図5及び6に示すように、軸部21は、筒状スカート部4cに接続されており、外周面にスナップリング23を装着するための凹部21aを有する。糸止め20を筒状スカート部4cに接続するために、コイルばね24が軸部21に装着され、リング保持部25と、スナップリング23とによって、所定の位置に保持される。コイルばね24は、糸止め20をスプール4の中心に向かって径方向に付勢するために使用される。糸止め20は、スプール4の中心に向かって径方向に付勢されているので、釣り糸は損傷または切断されることなく、頭部22と、環状溝22aと、筒状スカート部4cの凹部4dとの間に保持される。
以上、本発明の一実施形態について説明したが、本発明は上記実施形態に限定されるものではなく、発明の要旨を逸脱しない範囲で種々の変更が可能である。
<他の実施形態>
前記実施形態では、スピニングリールのスプールのスカート部に設けられた糸止めを例示したが、本発明はこれに限定されない。例えば、スピニングリールのスプールの糸巻き胴部や両軸受リールのスプールの糸巻き胴部やフランジ部に設けられる糸止めにも本発明を適用できる。
前記実施形態では、スピニングリールのスプールのスカート部に設けられた糸止めを例示したが、本発明はこれに限定されない。例えば、スピニングリールのスプールの糸巻き胴部や両軸受リールのスプールの糸巻き胴部やフランジ部に設けられる糸止めにも本発明を適用できる。
ここで使用された方向を示す用語、即ち、「前方」、「後方」、「上方」、「下方」、「垂直」、「水平」、「径方向」、「横方向」は、他の同様の方向を示す表現とともに、本発明に備えられた装置の方向について言及するものである。
したがって、上記用語は、本発明の各態様を記載するために利用されるように、本発明に備えられた装置に関連して解釈すべきである。
本発明を説明するために、特定の実施形態のみが選択されているが、この開示により、特許請求の範囲において定義されるように、本発明の範囲を逸脱しない限りにおいて、様々な変更及び修正を行うことが可能であることは、当業者にとって明白である。さらに、本発明に係る実施形態に関する上記の記載は、例証目的で提供されたものに過ぎず、特許請求の範囲及びそれらの均等物によって定義されるように、本発明を制限するものではない。このように、本発明の範囲は開示された実施例に制限されるものではない。
4 スプール
4c 筒状スカート部
4d 浅底凹部
4e 貫通孔
20 糸止め
21 軸部
22 頭部
22a 環状溝
24 コイルばね(ばね部材の一例)
25 リング保持部(抜け止め部材の一例)
L 釣り糸
4c 筒状スカート部
4d 浅底凹部
4e 貫通孔
20 糸止め
21 軸部
22 頭部
22a 環状溝
24 コイルばね(ばね部材の一例)
25 リング保持部(抜け止め部材の一例)
L 釣り糸
Claims (5)
- 釣り用リールに釣り糸を止めるための釣り用リールの糸止めであって、
前記釣り用リールに装着される軸部と、
前記頭部における軸部と対向する面に形成され、前記釣り糸係止用の環状溝を有し、前記軸部に設けられ、前記軸部より大きい外径を有する頭部と、
を備えた釣り用リールの糸止め。 - 前記頭部は、前記軸部と同芯に形成されている、請求項1に記載の釣り用リールの糸止め。
- 前記釣り用リールは、スプールに円筒形のスカート部を備えたスピニングリールであり、
前記頭部は、前記スカート部との間で前記釣り糸を保持する、請求項2に記載のスピニングリールの糸止め。 - 前記スカート部は、外周面に形成された底が平坦で浅い凹部と、前記凹部に形成された貫通孔とを有し、
前記軸部は、前記貫通孔に装着される、請求項3に記載の釣り用リールの糸止め。 - スピニングリールのスプールに釣り糸を止めるためのスピニングリールの糸止め組立体であって、
請求項4に記載の糸止めと、
前記スカート部の内周面より内周側で前記軸部に抜け止めされたばね受け部材と、
前記ばね受け部材と前記スカート部の内周部の前記貫通孔の周囲との間で配置され、前記糸止めを前記スプールの中心に向かって付勢するばね部材と、
を備えたスピニングリールの糸止め組立体。
Applications Claiming Priority (1)
| Application Number | Priority Date | Filing Date | Title |
|---|---|---|---|
| MYPI20085224 | 2008-12-22 |
Publications (1)
| Publication Number | Publication Date |
|---|---|
| JP2010142220A true JP2010142220A (ja) | 2010-07-01 |
Family
ID=42078827
Family Applications (1)
| Application Number | Title | Priority Date | Filing Date |
|---|---|---|---|
| JP2009024437A Pending JP2010142220A (ja) | 2008-12-22 | 2009-02-05 | 釣り用リールの糸止め及び糸止め組立体 |
Country Status (6)
| Country | Link |
|---|---|
| EP (1) | EP2198706A1 (ja) |
| JP (1) | JP2010142220A (ja) |
| KR (1) | KR20100073994A (ja) |
| CN (1) | CN101755717A (ja) |
| SG (1) | SG162663A1 (ja) |
| TW (1) | TW201032708A (ja) |
Cited By (2)
| Publication number | Priority date | Publication date | Assignee | Title |
|---|---|---|---|---|
| EP2767162A1 (en) | 2013-02-18 | 2014-08-20 | Shimano Components (Malaysia) SDN BHD | Spinning reel line clip and spinning reel spool using the same |
| KR20190080727A (ko) * | 2017-12-28 | 2019-07-08 | 가부시키가이샤 시마노 | 스피닝 릴의 줄 계지구, 및 줄 계지구를 가지는 스피닝 릴의 스풀 |
Families Citing this family (4)
| Publication number | Priority date | Publication date | Assignee | Title |
|---|---|---|---|---|
| AT514425B1 (de) * | 2014-02-18 | 2015-01-15 | Hannes Sommer | Spule zur Verwendung im Angelsport |
| JP6994310B2 (ja) * | 2017-06-07 | 2022-01-14 | 株式会社シマノ | 釣り用リール |
| CN112262828B (zh) * | 2020-11-19 | 2024-11-22 | 许一帆 | 一种可实现缓冲的定位卡线装置 |
| KR102779494B1 (ko) * | 2024-05-31 | 2025-03-12 | 주식회사 모넥스코리아 | 낚시릴의 낚시줄 클립 기구 |
Family Cites Families (5)
| Publication number | Priority date | Publication date | Assignee | Title |
|---|---|---|---|---|
| JPS51104964U (ja) | 1975-02-21 | 1976-08-23 | ||
| FR2565067B1 (fr) * | 1984-06-01 | 1987-03-20 | Mitchell Sports | Dispositif d'accrochage du fil pour moulinet de peche |
| JPS61110766U (ja) | 1984-12-26 | 1986-07-14 | ||
| US4883238A (en) * | 1988-12-23 | 1989-11-28 | The Orvis Company, Inc. | Fly fishing reel with a line retainer |
| JP4926823B2 (ja) * | 2007-05-24 | 2012-05-09 | グローブライド株式会社 | 魚釣用リール |
-
2009
- 2009-02-05 JP JP2009024437A patent/JP2010142220A/ja active Pending
- 2009-11-26 SG SG200907906-2A patent/SG162663A1/en unknown
- 2009-11-30 TW TW098140821A patent/TW201032708A/zh unknown
- 2009-12-10 KR KR1020090122226A patent/KR20100073994A/ko not_active Withdrawn
- 2009-12-18 CN CN200910261612A patent/CN101755717A/zh active Pending
- 2009-12-21 EP EP09180242A patent/EP2198706A1/en not_active Withdrawn
Cited By (6)
| Publication number | Priority date | Publication date | Assignee | Title |
|---|---|---|---|---|
| EP2767162A1 (en) | 2013-02-18 | 2014-08-20 | Shimano Components (Malaysia) SDN BHD | Spinning reel line clip and spinning reel spool using the same |
| KR20140103819A (ko) | 2013-02-18 | 2014-08-27 | 시마노 컴포넌츠 (말레이지아) 에스디엔. 비에이치디. | 스피닝 릴의 줄 계지구 및 그것을 이용한 스피닝 릴의 스풀 |
| JP2014155469A (ja) * | 2013-02-18 | 2014-08-28 | Shimano Components Malaysia Sdn Bhd | スピニングリールの糸係止具及びそれを用いたスピニングリールのスプール |
| KR20190080727A (ko) * | 2017-12-28 | 2019-07-08 | 가부시키가이샤 시마노 | 스피닝 릴의 줄 계지구, 및 줄 계지구를 가지는 스피닝 릴의 스풀 |
| JP2019118270A (ja) * | 2017-12-28 | 2019-07-22 | 株式会社シマノ | スピニングリールの糸係止具、及び糸係止具を有するスピニングリールのスプール |
| KR102662297B1 (ko) | 2017-12-28 | 2024-05-02 | 가부시키가이샤 시마노 | 스피닝 릴의 줄 계지구, 및 줄 계지구를 가지는 스피닝 릴의 스풀 |
Also Published As
| Publication number | Publication date |
|---|---|
| TW201032708A (en) | 2010-09-16 |
| EP2198706A1 (en) | 2010-06-23 |
| CN101755717A (zh) | 2010-06-30 |
| SG162663A1 (en) | 2010-07-29 |
| KR20100073994A (ko) | 2010-07-01 |
Similar Documents
| Publication | Publication Date | Title |
|---|---|---|
| JP2010142220A (ja) | 釣り用リールの糸止め及び糸止め組立体 | |
| JP4926823B2 (ja) | 魚釣用リール | |
| US20090127367A1 (en) | Fishing reel | |
| KR102219552B1 (ko) | 줄 계지구 및 줄 계지구가 장착된 스피닝 릴의 스풀 | |
| JP6200287B2 (ja) | 両軸受リール | |
| EP2767162B1 (en) | Spinning reel line clip and spinning reel spool using the same | |
| JPH07177836A (ja) | 魚釣用スピニングリール | |
| JP2002153178A (ja) | 両軸受リール | |
| JP2018148839A (ja) | ベイトリールおよびベイトリールの回転制御機構に用いられる距離調整部品 | |
| JP2007006710A (ja) | 両軸受リール | |
| CN110731318B (zh) | 钩保持器及钓具用卷线器 | |
| TWI760559B (zh) | 雙軸承捲線器 | |
| JP2011167134A (ja) | スプールを備えた魚釣用リール | |
| KR200395036Y1 (ko) | 이탈방지를 위한 거치대용 브레이크 홀더 | |
| TWI731021B (zh) | 雙軸承捲線器 | |
| US10321670B2 (en) | Dual-bearing reel | |
| JP2959662B2 (ja) | 魚釣用スピニングリール | |
| JP2019118270A (ja) | スピニングリールの糸係止具、及び糸係止具を有するスピニングリールのスプール | |
| TWI630865B (zh) | 單軸承捲線器 | |
| US7350729B2 (en) | Rotor assembly for fishing reels | |
| JP7391062B2 (ja) | 魚釣用スピニングリール | |
| JP3980483B2 (ja) | 固定巻き枠釣りリール | |
| JP5021699B2 (ja) | 魚釣用スピニングリール | |
| JP2018186758A (ja) | 両軸受け型魚釣り用リール | |
| JP6227273B2 (ja) | 片軸受リール |