JP2010141967A - 回転電機 - Google Patents

回転電機 Download PDF

Info

Publication number
JP2010141967A
JP2010141967A JP2008313469A JP2008313469A JP2010141967A JP 2010141967 A JP2010141967 A JP 2010141967A JP 2008313469 A JP2008313469 A JP 2008313469A JP 2008313469 A JP2008313469 A JP 2008313469A JP 2010141967 A JP2010141967 A JP 2010141967A
Authority
JP
Japan
Prior art keywords
coil
connection
wiring
stator
rotating electrical
Prior art date
Legal status (The legal status is an assumption and is not a legal conclusion. Google has not performed a legal analysis and makes no representation as to the accuracy of the status listed.)
Granted
Application number
JP2008313469A
Other languages
English (en)
Other versions
JP5245782B2 (ja
Inventor
Yasuhiro Endo
康浩 遠藤
Eiji Yamada
英治 山田
Hiroaki Urano
広暁 浦野
Kazutaka Tatematsu
和高 立松
Kenji Honda
健二 本多
Yasuaki Tawara
安晃 田原
Akihiro Tanaka
章博 田中
Kenji Harada
健司 原田
Current Assignee (The listed assignees may be inaccurate. Google has not performed a legal analysis and makes no representation or warranty as to the accuracy of the list.)
Toyota Motor Corp
Original Assignee
Toyota Motor Corp
Priority date (The priority date is an assumption and is not a legal conclusion. Google has not performed a legal analysis and makes no representation as to the accuracy of the date listed.)
Filing date
Publication date
Application filed by Toyota Motor Corp filed Critical Toyota Motor Corp
Priority to JP2008313469A priority Critical patent/JP5245782B2/ja
Publication of JP2010141967A publication Critical patent/JP2010141967A/ja
Application granted granted Critical
Publication of JP5245782B2 publication Critical patent/JP5245782B2/ja
Expired - Fee Related legal-status Critical Current
Anticipated expiration legal-status Critical

Links

Images

Classifications

    • YGENERAL TAGGING OF NEW TECHNOLOGICAL DEVELOPMENTS; GENERAL TAGGING OF CROSS-SECTIONAL TECHNOLOGIES SPANNING OVER SEVERAL SECTIONS OF THE IPC; TECHNICAL SUBJECTS COVERED BY FORMER USPC CROSS-REFERENCE ART COLLECTIONS [XRACs] AND DIGESTS
    • Y02TECHNOLOGIES OR APPLICATIONS FOR MITIGATION OR ADAPTATION AGAINST CLIMATE CHANGE
    • Y02TCLIMATE CHANGE MITIGATION TECHNOLOGIES RELATED TO TRANSPORTATION
    • Y02T10/00Road transport of goods or passengers
    • Y02T10/60Other road transportation technologies with climate change mitigation effect
    • Y02T10/64Electric machine technologies in electromobility

Landscapes

  • Windings For Motors And Generators (AREA)
  • Insulation, Fastening Of Motor, Generator Windings (AREA)

Abstract

【課題】回転電機の温度が変動したとしても、コイル同士を接続する接続配線とコイルとの接続状態を良好に維持すると共に、接合強度の低下の抑制が図られた回転電機を提供する。
【解決手段】回転電機は、コイル同士を接続する渡り線154とを備え、渡り線154のうち、コイルに接続される接続部510に対して、該渡り線154の先端部と反対側に隣り合う位置に設けられた配線側応力緩和部500と、コイルを構成するコイル線のうち、渡り線154が接続される接続部510に対して、コイル線の先端部と反対側に隣り合う位置に設けられたコイル側応力緩和部550との少なくとも一方を含む。
【選択図】図4

Description

本発明は、回転電機に関する。
従来から、複数のコイルがステータコアに装着された回転電機が各種提案されている。たとえば、特開2005−160143号公報に記載された回転電機は、コイルが積層平板導体によって構成された回転電機が提案されている。この回転電機においては、各コイルが渡り部材によって接合されている。
また、特開平7−123617号公報に記載された回転電機においては、隣接する界磁コイル同士が接続導体によって接合されている。そして、界磁巻線の接続導体接合部には、界磁巻線の長手方向に長い長方形の凹部が形成されている。接続導体の両端部には、凹部に嵌合する頭部が形成されおり、接続導体はT字状になっている。そして、凹部に上記頭部が挿入されて、隣接する界磁巻線間が接続されている。
さらに、特開平5−300687号公報に記載された回転電機においては、全ての渡り線部をコイルと渡り線部の結合部分よりステータに近い位置に配置している。
特開2005−160143号公報 特開平7−123617号公報 特開平5−300687号公報
一般に、回転電機が駆動すると回転電機の温度が上昇し、回転電機の駆動が停止すると、回転電機の温度は低下する。このため、従来の回転電機においては、接続配線やコイルの温度が変動することで、接続配線およびコイルの端部が膨張したり熱収縮したり、収縮したりすることで、コイルの端部と接続配線との接続状態が悪化したり、接合強度が低下するおそれがある。
本発明は、上記のような課題に鑑みてなされたものであって、その目的は、回転電機の温度が変動したとしても、コイル同士を接続する接続配線とコイルとの接続状態を良好に維持すると共に、接合強度の低下の抑制が図られた回転電機を提供することである。
本発明に係る回転電機は、環状に形成されたステータコア、およびステータコアに装着され、ステータコアの周方向に配列する複数のコイルを含む環状のステータと、コイル同士を接続する接続配線とを備える。そして、上記接続配線のうち、コイルに接続される接続部に対して、該接続配線の先端部と反対側に隣り合う位置に設けられた配線用応力緩和部と、コイルを構成するコイル線のうち、接続配線が接続される接続部に対して、コイル線の先端部と反対側に隣り合う位置に設けられたコイル用応力緩和部との少なくとも一方を含む。さらに、上記配線用応力緩和部は、接続配線のうち、該配線用応力緩和部に対して隣り合う部分より、小さな力で変形可能とされ、コイル用応力緩和部は、コイルを構成するコイル線のうち、該コイル用応力緩和部に対して隣り合う部分より、小さな力で変形可能とされる。
好ましくは、上記接続配線は、ステータの周方向に配列するコイル間に亘って延びると共に、コイルのうち、接続配線が接続される接続部およびその近傍は、ステータの中心軸方向に延びる。好ましくは、上記配線用応力緩和部は、ステータの中心軸方向に延び、ステータの径方向に貫通する配線用切欠部によって規定され、コイル用応力緩和部は、ステータの径方向に貫通し、ステータの周方向に延びるコイル用切欠部によって規定される。好ましくは、上記配線用切欠部は、接続配線の延在方向に間隔をあけて設けられた第1配線用切欠部および第2配線用切欠部を含む。そして、上記第1配線用切欠部の延在方向と第2配線用切欠部の延在方向とが反対方向とされる。さらに、上記コイル用切欠部は、コイル線の延在方向に間隔をあけて設けられた第1コイル用切欠部および第2コイル用切欠部を含み、第1コイル用切欠部の延在方向と第2コイル用切欠部の延在方向とが反対方向とされる。
好ましくは、上記配線用応力緩和部の厚みが、隣り合う部分よりも薄くされた配線用薄肉部とされ、コイル用応力緩和部の厚みが、隣り合う部分より薄くされたコイル用薄肉部とされる。好ましくは、上記配線用応力緩和部は、接続配線のうち、配線用応力緩和部が位置する部分を屈曲させて形成された配線用屈曲部とされる。そして、上記コイル用応力緩和部は、コイル線のうち、コイル用応力緩和部が位置する部分を屈曲させて形成されたコイル用屈曲部とされる。
本発明に係る回転電機は、他の局面では、環状に形成されたステータコア、およびステータコアに装着され、ステータコアの周方向に配列する複数のコイルを含む環状のステータと、コイル同士を接続する接続配線とを備える。そして、上記接続配線のうち、コイルに接続される接続部は、コイルのうち、接続配線が接続される接続部に沿って延びる。
好ましくは、上記コイルのうち、接続配線が接続される接続部は、ステータの中心軸方向に延びる。そして、上記接続配線のうち、コイルの端部に接続される接続部は、コイルの接続部に沿ってステータの中心軸方向に延びる。
好ましくは、上記コイル線は、ステータの中心軸方向に延びる軸方向延在部と、該軸方向延在部の端部からステータの周方向に向けて屈曲し、接続配線が接続される接続部とを含む。そして、上記接続配線は、ステータの中心軸方向に向けて立ち上がる立上り部と、該立上り部の端部から屈曲部に沿って延び、コイルに接続される接続部とを含む。
本発明に係る回転電機は、他の局面では、環状に形成されたステータコア、およびステータコアに装着され、ステータコアの周方向に配列する複数のコイルを含む環状のステータと、コイル同士を接続する接続配線とを備える。そして、上記接続配線のうち、コイルに接続される接続部は、コイルのうち、接続配線が接続される接続部に対して径方向内方側に位置する。好ましくは、上記コイルは、コイル線を巻回して形成され、接続配線は、コイル線を延在させて形成される。好ましくは、上記接続配線のうち、コイルに接続される接続部と、コイルのうち、接続配線が接続される接続部とを挟持して固定する固定部材をさらに備える。
本発明に係る回転電機によれば、回転電機の温度が変動したとしても、接続配線とコイルとの接続状態を良好に維持することができる。
本実施の形態に係る回転電機について、図1から図24を用いて説明する。
なお、以下に説明する実施の形態において、個数、量などに言及する場合、特に記載がある場合を除き、本発明の範囲は必ずしもその個数、量などに限定されない。また、以下の実施の形態において、各々の構成要素は、特に記載がある場合を除き、本発明にとって必ずしも必須のものではない。また、以下に複数の実施の形態が存在する場合、特に記載がある場合を除き、各々の実施の形態の特徴部分を適宜組合わせることは、当初から予定されている。
(実施の形態1)
図1は、本発明の実施の形態1に係る回転電機の概略構成を示す側断面図である。この図1に示すように、回転電機100は、回転中心線Oを中心に回転可能に支持された回転シャフト110と、この回転シャフト110に固設され、回転シャフト110と共に回転可能に設けられたロータ120と、このロータ120の周囲に設けられた環状のステータ140とを備えている。この回転電機100は、典型的には、ハイブリッド車両に搭載され、車輪を駆動する駆動源やエンジン等の動力によって電気を発電する発電機として機能する。さらには、電気自動車等にも搭載可能であり、車輪を駆動する駆動源としても利用される。
ロータ120は、複数の電磁鋼板等を積層して構成されたロータコア125と、ロータコア125に形成された磁石挿入孔126内に挿入された永久磁石123と、ロータコア125の軸方向の端面に設けられたエンドプレート122とを備えている。永久磁石123は、磁石挿入孔126内に充填された樹脂124によって固定されている。
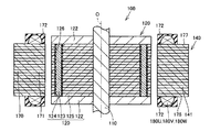
ステータ140は、環状に形成されており、ロータ120の周囲を取り囲むように環状に形成されたステータコア141と、このステータコア141に装着されたU相コイル180U,V相コイル180V,W相コイル180Wとを備えている。このステータ140(ステータコア141)の軸方向端面177,178には、絶縁性のモールド樹脂172が形成されている。このモールド樹脂172は、たとえばBMC(Bulk Molding Compound)、エポキシ樹脂といった熱硬化性樹脂やPPS(Polyphenylene Sulfide)、PBT(Polybutylene Terephthalate)などの熱可塑性樹脂等により構成されている。
図2は、回転中心線O方向から平面視したステータ140の平面図である。なお、この図2においては、モールド樹脂172が省略されている。
この図2に示すように、ステータコア141は、回転中心線Oを中心に環状に複数配列された分割ステータコア175を備えており、各分割ステータコア175には、それぞれ、U相コイル180U、V相コイル180V,W相コイル180Wのいずれかのコイルが装着されている。そして、ステータ140の周方向に沿って、U相コイル180U、V相コイル180V,W相コイル180Wが順次配列しており、各U相コイル180U同士、V相コイル180V同士、W相コイル180W同士は、それぞれ、間隔を隔て配置されている。
ここで、隣り合うU相コイル180U同士は、渡線154Uによって接続されており、V相コイル180V同士は、渡線154Vによって接続され、さらに、W相コイル180W同士は、渡線154Wによって接続されている。
そして、渡線154Uは、1つのU相コイル180U(180U1)の径方向内方側の端部から隣り合う他のU相コイル180U(180U2)に向かうにしたがって、ステータ140の径方向外方側に向けて変位し、他のU相コイル180Uの径方向外方側に接続されている。
また、同様に、渡線154Vも、1つのV相コイル180V(180V1)から隣り合うV相コイル180V(180V2)に向かうにしたがって、ステータ140の径方向外方側に向けて変位し、さらに、154Wも、1つのW相コイル180W(180W1)から他のW相コイル180W(180W2)に向かうに従って、径方向外方側に向けて変位する。
そして、たとえば、渡線154Uのうち、V相コイル180V1上に位置する部分は、渡線154Vよりも径方向外方側に位置する。さらに、W相コイル180W1が位置する部分では、渡線154Uの径方向内方側に、渡線154V,154Wが順次位置することになる。
ここで、ステータ140の径方向内方側に位置するW相コイル180W6の端部と、U相コイル180U6の端部と、V相コイル180V6の端部とをそれぞれ接続することで、中性点を構成する。さらに、ステータ140の径方向外方側に位置するU相コイル180U1の端部と、W相コイル180W1の端部と、V相コイル180V1の端部には、それぞれ、外部配線が接続される。なお、ステータ140の径方向内方側に位置するW相コイル180W6の端部と、U相コイル180U6の端部と、V相コイル180V6の端部とにそれぞれ外部配線を接続し、他方、ステータ140の径方向外方側に位置するU相コイル180U1の端部と、W相コイル180W1の端部と、V相コイル180V1の端部とを互いに接続して中性点を構成してもよい。
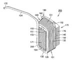
図3は、コイル180と、インシュレータ160とが装着された分割ステータコア175の斜視図である。この図3に示すように、各分割ステータコア175は、ステータ140の周方向延びるヨーク部176と、このヨーク部176から突出するステータティース171とを備えている。
そして、このステータティース171には、PPS(ポリフェニレンサルファイド)樹脂やLCP(液晶ポリマー)樹脂などから形成された絶縁性のインシュレータ160が装着されている。
このインシュレータ160は、ステータティース171を受入れ可能な筒状のティース受入部161と、このティース受入部161の端部に形成され、ヨーク部176の内周面に沿って延び、ヨーク部176の内周面に支持される張出部162とを備えている。ティース受入部161の周面のうち、回転中心線O方向に位置する軸方向端面には、回転中心線O方向に向けて突出する突出部163,164が形成されている。
このように形成されたインシュレータ160には、コイル180が装着されている。この図3中において、端部152に示されるように、コイル180は、延在方向に対して垂直な断面の形状が、方形形状とされたコイル線280を巻回することで構成されている。コイル180は、コイル線280を環状に巻回しつつ、積層することで形成された巻回部151を備えている。そして、コイル線の一方の端部152は、コイル線の積層方向に位置する巻回部151の径方向端面145に設けられており、回転中心線O方向に配列するコイル180の軸方向端面131より回転中心線O方向に突出するように延びている。なお、この端部152は、径方向端面145において、軸方向端面132側から軸方向端面131に向けて延びる引出部150の上端部に位置しており、軸方向端面131より上方に位置している。
そして、コイル線280の積層方向に配列する径方向端面のうち、端部152が位置する径方向端面145と反対側に位置する径方向端面135には、回転中心線O方向に向けて延び、軸方向端面131よりも上方に延びる引出部153が形成されている。そして、この引出部153の上端部には、渡線154が連設されている。さらに、この引出部153の先端部には、他のコイル180の端部152に接続される端部155が形成されている。
このように、各渡線154は、コイル180を形成するコイル線280の一部が延出することで構成されている。ここで、上記のようにコイル180を構成するコイル線は、具体的には、エッジワイズコイル(edgewise・coil)等の平角線が採用されており、断面形状が円形状の従来の一般的なコイル線よりも剛性が高いコイル線が採用されている。そして、コイル線280のうち、渡線154が位置する部分においては、回転中心線O方向の高さの方が、ステータ140の径方向の幅よりも長くなっている。
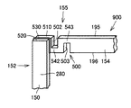
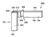
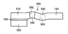
ここで、図4は、渡線154の端部155とコイル180の端部152との接合部900を示す斜視図である。
この図4に示すように、渡線154の終端部には、コイル180の接続部520と接合する接続部510が位置しており、この接続部520に対して、渡線154の先端部と反対側に隣り合う部分には、配線側応力緩和部500が形成されている。
この図4に示す例においては、配線側応力緩和部500は、渡線154の表面のうち、ステータ140の軸方向に配列する上面195および下面196のうち、一方の上面195に形成された凹部501によって規定されている。
この凹部501は、回転中心線O方向(ステータ140の中心軸方向)に延びており、渡線154の下面196から上面195側に向けて延びている。
これにより、凹部501に対して、渡線154の高さ方向に隣り合う部分に位置する
底部541は、渡線154のうち、底部541に対して渡線154の延在方向に隣り合う部分の厚みよりも薄く形成されている。
このため、底部541が位置する部分の剛性は、渡線154のうち、底部541と隣り合う部分の剛性よりも小さくなっている。このため、たとえば、渡線154のうち、底部541が位置する部分は、他の部分よりも小さい力で変形可能となっている。
すなわち、この図4に示す例においては、渡線154のうち、コイル180の接続部520と接合する接続部510に対して、引出部153側から端部155側に向かう渡線154の延在方向後方側に隣り合う部分に、配線側応力緩和部500が形成されている。
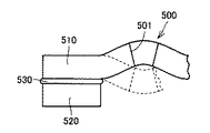
そして、渡線154の接続部510とコイル線280の接続部520と接合された接合部900において渡線154の温度が上昇したときにおける接合部900について、図5を用いて説明する。
図5は、回転電機100の温度が上昇し、渡線154の温度が上昇したときの接合部900の平面図である。
この図5において、渡線154の温度が上昇し始めると、渡線154は熱膨張して渡線154の延在方向に延びる。この際、接合部900において、接続部510と接続部520は、溶接部530によって接合されており、渡線154内の熱応力が上昇する。
この際、渡線154は、ステータ140の径方向外方側に向けて張り出すように変形する。このため、接続部510およびその近傍においては、接続部510を接続部520から引き離すような力が生じる。
そして、所定の温度以上となると、渡線154のうち、配線側応力緩和部500が位置する部分がステータ140の径方向外方側に張り出すように屈曲し始める。
具体的には、底部541は、常温時から高温となると、ステータ140の径方向外方側に向けて変位すると共に、底部541は、ステータ140の径方向外方側に向けて膨出するように湾曲する。
このように底部541が変形することで、渡線154が常温から高温になると、底部541よりも引出部153側に位置する部分の長さが長くなることを許容することができる。このため、当該部分における内部応力を低減することができ、接続部510を接続部520から引き剥がす方向に接続部510に加えられる力は、低減され、接続部510と接続部520との接合状態を良好に維持することができる。
このように、渡線154の熱応力が、渡線154のうち、底部541およびその近傍を変形させることに消費されるため、接続部510と接続部520とを接合する溶接部530に亀裂が生じたり、溶接部530が破損することを抑制することができる。
このように、配線側応力緩和部500は、接続部510に対して引出部153側に位置しているため、渡線154のうち、配線側応力緩和部500より引出部153側に位置する部分における熱応力が配線側応力緩和部500によって緩和させることができ、接続部510と接続部520との接合を維持することができる。
さらに、この回転電機100が搭載される車両が極寒地等に置かれた場合には、回転電機100および渡線154の温度は、低温となる。
このように、渡線154の温度が低下すると、渡線154の長さは短くなるように変形しようとする一方で、接続部510が接続部520に接合されているため、渡線154内には、引っ張り力が生じる。そして、図5の破線に示すように、渡線154の温度が所定温度にまで下がると、底部541がステータ140の径方向内方側に変位すると共に、径方向内方側に張り出すように湾曲する。このように、底部541が変形することで、常温から低温になると、底部541より引出部153側に位置する部分は、ステータ140の径方向内方側に変位する。このため、常温から低温となると、渡線154のうち、配線側応力緩和部500より引出部153側に位置する部分の長さは短くなり、渡線154内の内部応力が低減され、接続部510と接続部520との接合部900に加えられる力も低減される。
すなわち、渡線154の温度が低温となり、渡線154内の内部応力が大きくなると、底部541が変形して、この内部応力の低減を図ることができ、渡線154の温度が高くなったり、低くなったとしても、接続部510と520の接合状態を良好に維持することができる。
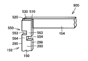
図6は、接合部900の第1変形例を示す接合部900の斜視図である。この図6に示すように、配線側応力緩和部500は、渡線154のうち、接続部510に対して、154の先端部(先端面)と反対側に隣り合う部分に形成され、渡線154の延在方向に間隔を隔てて形成された複数の凹部502,503によって規定してもよい。
たとえば、この図6に示す例においては、渡線154の上面195に形成され、回転中心線O方向に向けて延びる凹部502と、この凹部502に対して接続部510と反対側に位置し、下面196に形成された凹部503とによって、配線側応力緩和部500が規定されている。
なお、この凹部502および凹部503は、ステータ140の径方向に渡線154を貫通している。そして、凹部502の底部542および凹部503の底部543は、渡線154のうち、底部542および底部543に対して隣り合う部分の厚み(上面195から下面196に向かう方向の厚み)よりも薄くなっている。
このように、複数の凹部によって配線側応力緩和部500を規定することで、渡線154の温度が高くなったり、低くなったとしても、渡線154のうち、配線側応力緩和部500が位置する部分が確実に変形し、接続部510と接続部520との接合状態を確実に確保することができる。
ここで、凹部502は、上面195側から下面196側に向けてのびており、凹部503は、上面195側から下面196側に向けて延びており、凹部502の延在方向と凹部503の延在方向とが反対方向となっている。
図7は、図6に示す接合部900において、渡線154の温度が上昇したときの接合部900の状態を示す平面図である。
この図7に示されるように、渡線154の温度が所定温度以上となると、図5に示す接合部900の例と同様に、渡線154のうち、底部542およびその近傍に位置する部分がステータ140の径方向外方側に向けて膨出する。
その一方で、渡線154のうち、底部543およびその近傍に位置する部分は、ステータ140の径方向内方側に向けて湾曲する。
このように配線側応力緩和部500が位置する部分で変形することで、配線側応力緩和部500に対して接続部510と反対側に位置する部分が、初期状態の位置から径方向に大きくずれることを抑制することができる。このため、この渡線154のうち、配線側応力緩和部500より引出部153側に位置する部分が変形したり、屈曲したりすることを抑制することができる。
ここで、渡線154の温度が上昇すると、渡線154のうち、凹部502の両隣に位置する部分は、凹部502から離れるにつれて、上方に傾斜するように変形し易い一方で、凹部503の両隣に位置する部分は、凹部503から離れるにつれて、下方に向けて傾斜するように変形し易くなっている。
このため、図6に示す接合部900においては、回転中心線O方向においても、渡線154のうち、接合部900に対して接続部510と反対側に位置する部分が、回転中心線O方向に大きくずれることを抑制することができる。
図8は、接合部900の第2変形例を示す配線側応力緩和部500の斜視図である。この図8に示す例においては、配線側応力緩和部500は、渡線154の一部を、渡線154の延在方向に対して交差する方向に張り出すように屈曲させた屈曲部507によって構成されている。
この屈曲部507は、接続部510に連設され、接続部510の端部から径方向外方に向けて屈曲する屈曲片部504と、この屈曲片部504の端部から径方向内方に向けて屈曲する屈曲片部505とを備えている。なお、渡線154のうち、
屈曲片部505より、引出部153側に位置する部分は、上記図4と同様に、引出部153に向けて延びている。
図9は、図8に示す接合部900おいて、渡線154の温度が上昇したときの斜視図である。この図9に示すように、渡線154の温度が上昇すると、屈曲部507は、屈曲片部504と屈曲片部505との連設部分の屈曲角度が小さくなるように変形し、屈曲片部504と屈曲片部505とは互いに近接するように変形する。なお、このように、配線側応力緩和部500が変形することで、渡線154のうち、配線側応力緩和部500に対して、接続部510と反対側に位置する部分の長さが長くなることを許容することができ、渡線154内の熱応力を低減することができる。
これに伴い、接続部510が損傷等することを抑制することができ、接続部510と接続部520との接合状態を良好に維持することができる。
図10は、配線側応力緩和部500の第3変形例を示す斜視図である。この図10に示す例においては、配線側応力緩和部500は、渡線154の上面195から上面195に貫通する凹部506によって規定されており、この凹部506は、ステータ140の径方向内方に向けて開口している。
そして、この凹部506に対して、ステータ140の径方向外方側に位置する部分には、凹部506に対して渡線154の延在方向に隣り合う部分よりも、ステータ140の径方向の厚みが薄肉に形成された薄肉底部546が位置している。
このため、この薄肉底部546の剛性は、薄肉底部546に対して隣り合う部分の剛性よりも低く、薄肉底部546は容易に変形可能とされている。
図11は、図10に示された接合部900において、渡線154の温度が上昇したときの斜視図である。この図11において、渡線154の温度が上昇すると、渡線154は延在方向に延びようとする熱応力が生じる。ここで、接続部510は、接続部520に接合されているため、温度が所定温度以上となると、剛性の低い薄肉底部546が変形する。この際、薄肉底部546は、渡線154の延在方向の長さが短くなるように変形する。たとえば、この図11に示す例においては、薄肉底部546が、ステータ140の径方向外方側に膨出するように湾曲する。

このように変形することで、渡線154内の熱応力が低減され、接続部510と接続部520との接合状態を良好に維持することができる。
(実施の形態2)
図12から図19を用いて、本実施の形態2に係る回転電機について説明する。なお、図12から図19に示す構成において、上記図1から図11に示された構成と同一または相当する構成については、同一の符号を付してその説明を省略する。
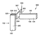
図12は、本発明の実施の形態2に係る回転電機100の接合部900の斜視図である。この図12に示されるように、コイル180の端部152には、コイル側応力緩和部550が形成されている。
この図12に示す例においては、コイル180を構成するコイル線280の端部152は、回転中心線O方向に向けてステータ140の軸方向端面177から突出している。そして、引出部150の上端部に、接続部510と接合する接続部520が位置している。
そして、このコイル180のうち接続部520に対して、接続部520に対して、端部152(引出部150)の突出方向と反対側に隣り合う部分にコイル側応力緩和部550が形成されている。つまり、コイル側応力緩和部550は、接続部520に対して、152の先端部(先端面)と反対側に位置している。
ここで、コイル側応力緩和部550は、端部152の表面のうち、ステータ140の周方向に配列する側面295および側面296のうち、一方の側面295に形成された凹部551によって規定されている。
この凹部551は、側面295側から側面296に向けて延びており、この凹部551に対して隣り合う部分には、底部561が位置している。この底部561は、この底部561に対して、端部152の突出方向に隣り合う部分の厚み(側面295から側面296に向かう方向の厚み)よりも、薄く形成されている。
そして、図13は、図12に示すように、端部152にコイル側応力緩和部550が形成された接合部900において、端部152の温度が上昇したときの正面図である。この図13において、端部152側のコイル線280の温度が上昇すると、接合部900にて、接続部520が固定されているため、コイル線280の熱応力が大きくなる。そして、所定の温度以上となると、底部561は、常温時における位置よりも、ステータ140の周方向であって、凹部551の開口部から底部561に向かう方向に変位すると共に、当該方向に向けて膨出するように変形する。なお、凹部551の開口部は、狭くなるように変形すると共に、凹部551の底壁部の長さは、長くなるように変形することで、底部561の変形が許容されている。
上記のように底部561が変形することで、底部561に対して、巻回部151側に位置する引出部150の長さは、長くなり、当該部分の応力を低減することができる。これにより、接続部520を接続部510から引き離そうとする接続部510に加えられる応力を低減することができ、接続部510と接続部520と接合状態を良好に維持することができる。
このように、引出部150に生じる熱応力は、底部561を変形させることに費やされて、低減されるため、接続部520と接続部510との接合状態を解しようとする力を低減することができ、接続部510と接続部520との接合状態を良好に維持させることができる。
ここで、コイル線280の温度が低下し、引出部150内に引っ張り力が生じた場合には、凹部551の開口部が開くように変形すると共に、底部561が側面295に向けて膨出するように湾曲する。これにより、引出部150のうち、凹部551の両隣に位置する部分の距離が広がる。
これにより、引出部150のうち、凹部551よりも巻回部151側に位置する部分の長さが低減され、引出部150内の内部応力を低減することができ、接続部510と接続部520との間との接合状態を良好に維持することができる。
図14は、本発明の実施の形態2の第1変形例を示す、接合部900の斜視図である。この図14に示すように、コイル側応力緩和部550は、複数の凹部によって規定されている。この図14に示す例においては、側面295に形成された凹部553と、凹部553に対して、端部152の突出方向と反対側に隣り合い、側面296に形成された凹部554とによって規定されている。
凹部553は、側面295から側面296側に向けて延びており、凹部554は、側面296から側面295側に向けて延びており、凹部553と凹部554とは、互いに反対方向に向けて延びている。そして、凹部553に対して隣り合う位置には、底部563が形成されており、凹部554に対して隣り合う位置には、底部564が形成されている。
ここで、底部563および底部564の厚みは、引出部150のうち、コイル側応力緩和部550と隣り合う部分の厚みよりも薄くなっている。このため、この図14に示す例のいても、コイル側応力緩和部550は、引出部150の他の部分よりも剛性が低くなるように形成されている。
図15は、図14に示された接合部900において、端部152の温度が上昇したときの正面図である。この図15に示すように、コイル線280のうち、端部152およびその近傍の温度が上昇すると、接続部520が接続部510に接合されているため、引出部150内の熱応力が上昇する。そして、所定の温度以上となると、底部563は、側面296から膨出するように張り出し、さらに、底部564も側面295から張り出すように張り出すように変形する。
ここで、凹部553の開口部および凹部554の開口部は、いずれも、常温時よりも小さくなるように変形し、各底部563および底部564の変形を許容している。上記のように、底部563および底部564が変形することで、引出部150内の熱応力を低減させることができ、接続部520と接続部510との接合状態を良好に維持させることができる。
ここで、コイル線280の温度が低温となると、凹部553および凹部554の各開口部は開くように変形する。これにより、接続部520と、コイル側応力緩和部550に対して、接続部520と反対側に位置する部分との間の距離が大きくなり、引出部150内の内部応力を低減することができる。これにより、接続部510が接続部520から剥離等することを抑制することができる。
図16は、本発明の実施の形態2の第3変形例を示す、接合部900の斜視図である。この図16に示す例においては、コイル側応力緩和部550は、引出部150のうち、ステータ140の径方向内方側に位置する主表面297に形成され、ステータ140の周方向に配列する側面295から側面296に貫通する凹部555によって規定されている。そして、この凹部555に対して、ステータ140の径方向外方側には、底部565が形成されている。この底部565の厚みは、底部565に対して、引出部150の延在方向に隣り合う部分よりも薄く形成されている。
図17は、図16に示す接合部900において、引出部150の温度が上昇したときの斜視図である。この図17に示すように、引出部150の温度が上昇すると、底部565は、主表面298から張り出すように湾曲する。これに伴い、引出部150のうち、凹部555を挟んで隣り合う部分が互いに近接する。これにより、引出部150内の熱応力が低減され、接続部520と接続部510との接合状態を良好に維持することができる。
ここで、コイル線280の温度が低温となると、接続部520が接続部510に接合されているため、引出部150内には引出部150を縮めるような内部応力が生じる。そして、所定の温度以下となると、凹部555の開口部が開くように変形する。これにより、接続部520と、凹部555に対して、接続部520と反対側に位置する部分との間の距離が大きくなるように変形する。
これにより、引出部150のち、凹部555よりも巻回部151側に位置する部分の長さが短くなり、引出部150内の内部応力を低減することができ、接続部520と接続部510との接合状態を良好に維持することができる。
図18は、本発明の実施の形態2の第4変形例を示す斜視図である。この図18に示すように、引出部150のうち、接続部520に対して、端部152の突出方向と反対側に隣り合う部分に、コイル側応力緩和部550が設けられており、このコイル側応力緩和部550は、屈曲部508によって構成されている。
屈曲部508は、主表面297からステータ140の径方向内方に向けて張り出すように屈曲しており、接続部520に連設された屈曲片部556と、この屈曲片部556に連設され、引出部150のうち、屈曲部508に対して下方に位置する部分に連設された屈曲片部557とを備えている。この屈曲部508の剛性は、この屈曲部508と隣り合う部分の剛性よりも低く、引出部150の延在方向に屈曲しやすくなっている。
図19は、図18に示された接合部900において、引出部150の温度が上昇したときの斜視図である。
この図19において、引出部150の温度が上昇すると、接続部520が接続部510に接合されていることから、引出部150内において、熱応力が上昇する。そして、所定の温度以上となると、屈曲片部556と屈曲片部557とが互いに近接するように変形し、屈曲部508がさらに外方に張り出すように変形する。
このように、屈曲部508が変形することで、引出部150のうち、屈曲部508に対して、隣り合う部分に位置する部分が互いに近接する。このように、引出部150および屈曲部508が変形することで、引出部150内の熱応力を低減することができる。これにより、接続部520と接続部510との接合状態を良好に維持することができる。
ここで、コイル線280の温度が低温となると、屈曲部508の屈曲片部556と屈曲片部557とが互いに離れるように、屈曲部508の開角が大きくなるように変形する。これにより、接続部520と、引出部150のうち、屈曲部508に対して接続部520と反対側に位置する部分とが互いに離れ、引出部150内の内部応力を低減することができ、接続部510と接続部520との接合状態を良好に維持することができる。
(実施の形態3)
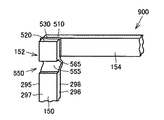
図20を用いて、本発明の実施の形態3に係る回転電機について説明する。なお、図20において、上記図1から図19に示された構成と同一または相当する構成については、同一の符号を付してその説明を省略する場合がある。
図20は、本実施の形態3に係る回転電機の接合部900を示す斜視図である。なお、この図20においては、接合部900をステータ140の径方向外方側から見た斜視図である。この図20に示されるように、接続部510は、接続部520に対して、ステータ140の径方向内方側に配置されている。そして、接続部510のうち、ステータ140の径方向外方側に位置する部分と、接続部520のうち、ステータ140の径方向内方側に位置する部分とが接合されている。そして、接続部520と接続部510とが溶接部530によって接合されている。
ここで、接続部510と接続部520とを接合する際には、接続部520に対してステータ140の径方向内方側に接続部510を配置し、その後、レーザ溶接等で接続部510と接続部520とを接合する。この際、溶接熱によって渡線154の温度が上昇すると、渡線154は、ステータ140の径方向外方に向けて変位しようとする。この際、接続部510のステータ140の径方向外方側には、接続部520が配置されているため、接続部510は、接続部520の表面に圧着され、接続部510と接続部520との接合状態が高まり、接続部510と接続部520とを良好に接合することができる。
(実施の形態4)
図21は、本発明の実施の形態4に係る回転電機の接合部900の斜視図である。この図21に示されるように、渡線154の先端部に形成された接続部510は、引出部150の上端部の接続部520に対して、ステータ140の径方向内方側から接触している。すなわち、接続部510の表面のうち、ステータ140の径方向外方側の主表面と、接続部520の表面のうち、ステータ140の径方向内方側の主表面297とが接合されている。ここで、渡線154は、ステータ140の周方向に延びる周方向延在部610と、この周方向延在部610の先端部から回転中心線O方向に屈曲し、接続部520に沿って延びる接続部510とを備えている。
このように構成された接合部900において、コイル線280の温度が上昇し、渡線154および引出部150の温度が上昇すると、渡線154のうち、周方向延在部610が位置する部分は、接続部510が接続部520に接合されているため、ステータ140の径方向外方側に向けて変位しようとする。この際、周方向延在部610の先端部に連設された接続部510は、接続部520によって、支持される。
このため、周方向延在部610が径方向外方に向けて変形しようとすることで、接続部510と接続部520との接合が解除されることを抑制することができる。
ここで、接続部510は、引出部150の延在方向に沿って延びているため、接続部510および接続部520は、いずれも、温度が上昇することで、回転中心線O方向に延び、いずれも、同一方向に向けて延びようとする。このため、渡線154および引出部150の温度が高くなったとしても、接続部520と接続部510との接合部で、接続部520と接続部510とが剥離するような力が加わり難くなっており、接続部510と接続部520との接合状態を良好に維持することができる。
ここで、接続部510と周方向延在部610との連結部611は、接続部520の側面296と主表面297との稜線部に位置しており、接続部510が接続部520によって支持されている。このため、周方向延在部610が径方向外方に向けて変位しようとすると、渡線154は、連結部611にて容易に屈曲することができる。そして、接続部510と接続部520との接合状態を引き離そうとする力が、接続部510に働き難く、接続部510と接続部520との接合状態を良好に維持することができる。
さらに、渡線154および引出部150と温度が低温となった場合においても、接続部520は、回転中心線O方向に沿って縮むように変形し、さらに、接続部510も、回転中心線O方向に沿って縮むように変形する。このように、接続部510と接続部520との変位方向が一致しているので、渡線154および引出部150の温度が低温となった場合においても、接続部510と接続部520との接合状態を良好に維持することができる。なお、この図21に示す例においても、接続部510は、接続部520に対して、ステータ140の径方向内方側に配置されているので、上記実施の形態3に示す回転電機と同様に、接続部510と接続部520とを溶接する際に、接続部510と接続部520とを良好に接合することができる。
図22は、本発明に係る実施の形態4に係る回転電機の接合部の変形例を示す斜視図である。この図22に示すように、渡線154は、周方向に延びる周方向延在部610と、この周方向延在部610の先端部に連設され、回転中心線O方向に立ち上がる軸方向屈曲部620と、この軸方向屈曲部620の上端部に連設され、ステータ140の周方向に屈曲する周方向屈曲部621とを備えており、この周方向屈曲部621の端部に接続部520が位置している。
引出部150は、回転中心線O方向に延びる軸方向延在部575と、この軸方向延在部575の上端部に設けられ、ステータ140の周方向に屈曲する接続部510とを備えている。そして、接続部510のステータ140の径方向外方側の側面と、接続部520の径方向内方側の側面とが接合されている。
このように構成された接合部900において、コイル線280の温度が上昇すると、150の軸方向延在部575は、回転中心線O方向に向けて変位しようとする一方で、510は、ステータ140の周方向に沿って延びようとする。
その一方で、渡線154においても、周方向延在部610は、ステータ140の径方向外方に向けて変位しようとする一方で、軸方向屈曲部620は、軸方向延在部575と同様に回転中心線O方向に沿って延びる。さらに、接続部520は、接続部510と同様に、ステータ140の周方向に沿って延びようとする。
この結果、接続部520は、接続部510と同様に変位するため、コイル線280の温度が高温となっても、良好に接続部510と接続部520との接合状態を維持することができる。
また、同様に、コイル線280の温度が低温となっても、接続部510と接続部520とは、同様に変位するため、良好に接続部510と接続部520との接合状態を維持することができる。さらに、軸方向屈曲部620と周方向延在部610との接続部が屈曲することで、周方向延在部610が径方向外方側に変位することを許容することができ、渡線154内の熱応力を低減することができる。
(実施の形態5)
図23および図24を用いて、本発明の実施の形態5に係る回転電機について説明する。なお、上記図1から図22に示される構成と同一または相当する構成については、同一の符号を付してその説明を省略する。
図23は、本発明の実施の形態5に係る回転電機の接合部を示す斜視図であり、この図23に示すように、接続部520と溶接部530とを挟持して固定する固定部材800を設けてもよい。この固定部材800によって、渡線154や引出部150の温度が変動しても、接続部510と接続部520との接合状態を良好に維持することができる。図24は、固定部材800の装着工程を示す平面図であり、この、図24に示すように、この固定部材800は、接続部520と接続部510とを接合した後、装着する。
以上のように本発明の実施の形態について説明を行なったが、今回開示された実施の形態はすべての点で例示であって制限的なものではないと考えられるべきである。本発明の範囲は特許請求の範囲によって示され、特許請求の範囲と均等の意味および範囲内でのすべての変更が含まれることが意図される。さらに、上記数値などは、例示であり、上記数値および範囲にかぎられない。
本発明は、回転電機に好適である。
本発明の実施の形態1に係る回転電機の概略構成を示す側断面図である。 回転中心線方向から平面視したステータの平面図である。 コイルと、インシュレータとが装着された分割ステータコアの斜視図である。 渡線の端部とコイルの端部との接合部を示す斜視図である。 回転電機の温度が上昇し、渡線の温度が上昇したときの接合部の平面図である 接合部の第1変形例を示す接合部の斜視図である。 図6に示す接合部において、渡線の温度が上昇したときの接合部の状態を示す平面図である。 接合部の第2変形例を示す配線側応力緩和部の斜視図である。 図8に示す接合部おいて、渡線の温度が上昇したときの斜視図である。 配線側応力緩和部の第3変形例を示す斜視図である。 図10に示された接合部において、渡線の温度が上昇したときの斜視図である。 本発明の実施の形態2に係る回転電機の接合部の斜視図である。 図12に示すように、端部にコイル側応力緩和部が形成された接合部において、端部の温度が上昇したときの正面図である。 本発明の実施の形態2の第1変形例を示す、接合部の斜視図である。 図14に示された接合部において、端部の温度が上昇したときの正面図である。 本発明の実施の形態2の第3変形例を示す、接合部の斜視図である。 図16に示す接合部において、引出部の温度が上昇したときの斜視図である。 本発明の実施の形態2の第4変形例を示す斜視図である。 図18に示された接合部において、引出部の温度が上昇したときの斜視図である 本実施の形態3に係る回転電機の接合部を示す斜視図である。 本発明の実施の形態4に係る回転電機の接合部の斜視図である。 本発明に係る実施の形態4に係る回転電機の接合部の変形例を示す斜視図である。 本発明の実施の形態5に係る回転電機の接合部を示す斜視図である。 固定部材の装着工程を示す平面図である。
符号の説明
100 回転電機、110 回転シャフト、120 ロータ、122 エンドプレート、123 永久磁石、124 樹脂、125 ロータコア、126 磁石挿入孔、131 軸方向端面、132 軸方向端面、135 径方向端面、140 ステータ、141 ステータコア、145 径方向端面、150 引出部、151 巻回部、152 端部、153 引出部、154 各渡線、154 渡線、155 端部、160 インシュレータ、161 ティース受入部、162 張出部、163,164 突出部、171 ステータティース、172 モールド樹脂、175 分割ステータコア、176 ヨーク部、177,178 軸方向端面、180 コイル、195 上面、196 下面、280 コイル線、295 側面、296 側面、297 主表面、298 主表面、500 配線側応力緩和部、501,502,503 凹部、504 屈曲片部、505 屈曲片部、506 凹部、507 屈曲部、508 屈曲部、510 接続部、520 接続部、530 溶接部、541 底部、542 底部、543 底部、546 薄肉底部、550 コイル側応力緩和部、551 凹部、553 凹部、554 凹部、555 凹部、556 屈曲片部、557 屈曲片部、561 底部、563 底部。

Claims (11)

  1. 環状に形成されたステータコア、および前記ステータコアに装着され、前記ステータコアの周方向に配列する複数のコイルを含む環状のステータと、
    前記コイル同士を接続する接続配線とを備え、
    前記接続配線のうち、前記コイルに接続される接続部に対して、該接続配線の先端部と反対側に隣り合う位置に設けられた配線用応力緩和部と、前記コイルを構成するコイル線のうち、前記接続配線が接続される接続部に対して、前記コイル線の先端部と反対側に隣り合う位置に設けられたコイル用応力緩和部との少なくとも一方を含み、
    前記配線用応力緩和部は、前記接続配線のうち、該配線用応力緩和部に対して隣り合う部分より、小さな力で変形可能とされ、
    前記コイル用応力緩和部は、前記コイルを構成するコイル線のうち、該コイル用応力緩和部に対して隣り合う部分より、小さな力で変形可能とされた、回転電機。
  2. 前記接続配線は、前記ステータの周方向に配列する前記コイル間に亘って延びると共に、前記コイルのうち、前記接続配線が接続される接続部およびその近傍は、前記ステータの中心軸方向に延び、
    前記配線用応力緩和部は、前記ステータの中心軸方向に延び、前記ステータの径方向に貫通する配線用切欠部によって規定され、
    前記コイル用応力緩和部は、前記ステータの径方向に貫通し、前記ステータの周方向に延びるコイル用切欠部によって規定された、請求項1に記載の回転電機。
  3. 前記配線用切欠部は、前記接続配線の延在方向に間隔をあけて設けられた第1配線用切欠部および第2配線用切欠部を含み、
    前記第1配線用切欠部の延在方向と前記第2配線用切欠部の延在方向とが反対方向とされ、
    前記コイル用切欠部は、前記コイル線の延在方向に間隔をあけて設けられた第1コイル用切欠部および第2コイル用切欠部を含み、前記第1コイル用切欠部の延在方向と前記第2コイル用切欠部の延在方向とが反対方向とされた、請求項2に記載の回転電機。
  4. 前記配線用応力緩和部の厚みが、隣り合う部分よりも薄くされた配線用薄肉部とされ、
    前記コイル用応力緩和部の厚みが、隣り合う部分より薄くされたコイル用薄肉部とされた、請求項1に記載の回転電機。
  5. 前記配線用応力緩和部は、前記接続配線のうち、前記配線用応力緩和部が位置する部分を屈曲させて形成された配線用屈曲部とされ、
    前記コイル用応力緩和部は、前記コイル線のうち、前記コイル用応力緩和部が位置する部分を屈曲させて形成されたコイル用屈曲部とされた、請求項1に記載の回転電機。
  6. 環状に形成されたステータコア、および前記ステータコアに装着され、前記ステータコアの周方向に配列する複数のコイルを含む環状のステータと、
    前記コイル同士を接続する接続配線とを備え、
    前記接続配線のうち、前記コイルに接続される接続部は、前記コイルのうち、前記接続配線が接続される接続部に沿って延びる、回転電機。
  7. 前記コイルのうち、前記接続配線が接続される接続部は、前記ステータの中心軸方向に延び、
    前記接続配線のうち、前記コイルの端部に接続される接続部は、前記コイルの接続部に沿って前記ステータの中心軸方向に延びる、請求項6に記載の回転電機。
  8. 前記コイル線は、前記ステータの中心軸方向に延びる軸方向延在部と、該軸方向延在部の端部から前記ステータの周方向に向けて屈曲し、前記接続配線が接続される接続部とを含み、
    前記接続配線は、前記ステータの中心軸方向に向けて立ち上がる立上り部と、該立上り部の端部から前記屈曲部に沿って延び、前記コイルに接続される接続部とを含む、請求項6に記載の回転電機。
  9. 環状に形成されたステータコア、および前記ステータコアに装着され、前記ステータコアの周方向に配列する複数のコイルを含む環状のステータと、
    前記コイル同士を接続する接続配線とを備え、
    前記接続配線のうち、前記コイルに接続される接続部は、前記コイルのうち、前記接続配線が接続される接続部に対して前記径方向内方側に位置する、請求項1から請求項8のいずれかに記載の回転電機。
  10. 前記コイルは、コイル線を巻回して形成され、
    前記接続配線は、前記コイル線を延在させて形成された、請求項1から請求項9のいずれかに記載の回転電機。
  11. 前記接続配線のうち、前記コイルに接続される接続部と、前記コイルのうち、前記接続配線が接続される接続部とを挟持して固定する固定部材をさらに備えた、請求項1から請求項10のいずれかに記載の回転電機。
JP2008313469A 2008-12-09 2008-12-09 回転電機 Expired - Fee Related JP5245782B2 (ja)

Priority Applications (1)

Application Number Priority Date Filing Date Title
JP2008313469A JP5245782B2 (ja) 2008-12-09 2008-12-09 回転電機

Applications Claiming Priority (1)

Application Number Priority Date Filing Date Title
JP2008313469A JP5245782B2 (ja) 2008-12-09 2008-12-09 回転電機

Related Child Applications (1)

Application Number Title Priority Date Filing Date
JP2013029204A Division JP5637226B2 (ja) 2013-02-18 2013-02-18 回転電機

Publications (2)

Publication Number Publication Date
JP2010141967A true JP2010141967A (ja) 2010-06-24
JP5245782B2 JP5245782B2 (ja) 2013-07-24

Family

ID=42351591

Family Applications (1)

Application Number Title Priority Date Filing Date
JP2008313469A Expired - Fee Related JP5245782B2 (ja) 2008-12-09 2008-12-09 回転電機

Country Status (1)

Country Link
JP (1) JP5245782B2 (ja)

Cited By (5)

* Cited by examiner, † Cited by third party
Publication number Priority date Publication date Assignee Title
WO2013042478A1 (ja) * 2011-09-22 2013-03-28 日立オートモティブシステムズ株式会社 回転電機および回転電機の製造方法
JP2014007829A (ja) * 2012-06-22 2014-01-16 Aisin Aw Co Ltd ステータおよびステータの製造方法
JP2014204597A (ja) * 2013-04-08 2014-10-27 株式会社デンソー 回転電機の固定子
WO2015145696A1 (ja) * 2014-03-27 2015-10-01 株式会社小松製作所 ステータ及びそれを備えた回転電機
CN111095739A (zh) * 2017-09-22 2020-05-01 爱信艾达株式会社 定子以及定子线圈

Families Citing this family (2)

* Cited by examiner, † Cited by third party
Publication number Priority date Publication date Assignee Title
US20180115211A1 (en) * 2015-03-31 2018-04-26 Mitsubishi Electric Corporation Rotary electric machine
US12308718B2 (en) 2020-06-17 2025-05-20 Panasonic Intellectual Property Management Co., Ltd. Molded coil, stator, and rotary electric machine

Citations (9)

* Cited by examiner, † Cited by third party
Publication number Priority date Publication date Assignee Title
JPS5320401U (ja) * 1976-07-31 1978-02-21
JPS5496713A (en) * 1978-01-17 1979-07-31 Hitachi Ltd Direct current machine
JPS5680643U (ja) * 1979-11-27 1981-06-30
JPH05300687A (ja) * 1992-04-16 1993-11-12 Seiko Epson Corp モータ及びモータの製造方法
JPH07123617A (ja) * 1993-10-27 1995-05-12 Toshiba Fa Syst Eng Kk 回転電機の回転子
JPH0919119A (ja) * 1995-06-28 1997-01-17 Mitsubishi Electric Corp 車両用交流発電機
JP2001268827A (ja) * 2000-03-21 2001-09-28 Toshiba Corp 回転電機の回転子
JP2005160143A (ja) * 2003-11-20 2005-06-16 Toyota Motor Corp 回転電機の固定子
JP2006288017A (ja) * 2005-03-31 2006-10-19 Denso Corp 回転電機用界磁装置

Patent Citations (9)

* Cited by examiner, † Cited by third party
Publication number Priority date Publication date Assignee Title
JPS5320401U (ja) * 1976-07-31 1978-02-21
JPS5496713A (en) * 1978-01-17 1979-07-31 Hitachi Ltd Direct current machine
JPS5680643U (ja) * 1979-11-27 1981-06-30
JPH05300687A (ja) * 1992-04-16 1993-11-12 Seiko Epson Corp モータ及びモータの製造方法
JPH07123617A (ja) * 1993-10-27 1995-05-12 Toshiba Fa Syst Eng Kk 回転電機の回転子
JPH0919119A (ja) * 1995-06-28 1997-01-17 Mitsubishi Electric Corp 車両用交流発電機
JP2001268827A (ja) * 2000-03-21 2001-09-28 Toshiba Corp 回転電機の回転子
JP2005160143A (ja) * 2003-11-20 2005-06-16 Toyota Motor Corp 回転電機の固定子
JP2006288017A (ja) * 2005-03-31 2006-10-19 Denso Corp 回転電機用界磁装置

Cited By (13)

* Cited by examiner, † Cited by third party
Publication number Priority date Publication date Assignee Title
WO2013042478A1 (ja) * 2011-09-22 2013-03-28 日立オートモティブシステムズ株式会社 回転電機および回転電機の製造方法
US10720820B2 (en) 2011-09-22 2020-07-21 Hitachi Automotive Systems, Ltd. Rotating electric machine and method for manufacturing the rotating electric machine
US10236757B2 (en) 2011-09-22 2019-03-19 Hitachi Automotive Systems, Ltd. Rotating electric machine and method for manufacturing the rotating electric machine
US9601977B2 (en) 2011-09-22 2017-03-21 Hitachi Automotive Systems, Ltd. Rotating electric machine and method for manufacturing the rotating electric machine
JP2014007829A (ja) * 2012-06-22 2014-01-16 Aisin Aw Co Ltd ステータおよびステータの製造方法
US10090723B2 (en) 2012-06-22 2018-10-02 Aisin Aw Co., Ltd. Stator and manufacturing method of stator
US9419484B2 (en) 2013-04-08 2016-08-16 Denso Corporation Stator for rotating electric machine
JP2014204597A (ja) * 2013-04-08 2014-10-27 株式会社デンソー 回転電機の固定子
CN105814775A (zh) * 2014-03-27 2016-07-27 株式会社小松制作所 定子以及具有该定子的旋转电机
JPWO2015147105A1 (ja) * 2014-03-27 2017-04-13 株式会社小松製作所 ステータ及びそれを備えた回転電機
WO2015147105A1 (ja) * 2014-03-27 2015-10-01 株式会社小松製作所 ステータ及びそれを備えた回転電機
WO2015145696A1 (ja) * 2014-03-27 2015-10-01 株式会社小松製作所 ステータ及びそれを備えた回転電機
CN111095739A (zh) * 2017-09-22 2020-05-01 爱信艾达株式会社 定子以及定子线圈

Also Published As

Publication number Publication date
JP5245782B2 (ja) 2013-07-24

Similar Documents

Publication Publication Date Title
JP5554383B2 (ja) 回転電機の固定子、及びその固定子の製造方法
JP5245782B2 (ja) 回転電機
JP5309897B2 (ja) 回転電機
KR101080768B1 (ko) 하이브리드 차량용 구동모터의 집중권 코일 결합 구조물
CN101728888B (zh) 用于电机线圈的配线部件
CN103733481B (zh) 旋转电机和旋转电机的制造方法
JP6033582B2 (ja) ステータおよびステータの製造方法
JP6625665B2 (ja) 固定子および回転電機
US20100001609A1 (en) Rotating electric machine
JP5917109B2 (ja) 端部絶縁部材、固定子および回転機
JP2010246269A (ja) インシュレータおよび回転電機
JP5396842B2 (ja) 回転電機と回転電機の製造方法
JP4767579B2 (ja) 電動機の固定子
JP4502041B2 (ja) 回転電機の固定子およびその製造方法
JP2010088142A (ja) インシュレータ及び電機子コア
JP2016116417A (ja) コイル巻回部品、コイル巻回部品の製造方法、ステータ、及び回転電機
JP5637226B2 (ja) 回転電機
JP5245781B2 (ja) 回転電機および回転電機の製造方法
CN106605355A (zh) 旋转电机的定子以及具备该旋转电机的定子的旋转电机
JP2017028831A (ja) 回転電機ステータ
US20220158515A1 (en) Stator
JP2009118636A (ja) 回転電機および回転電機の製造方法
JP2010011569A (ja) ステータ
JP2011217510A (ja) 回転電機の固定子の製造方法
WO2018169089A1 (ja) ステータ

Legal Events

Date Code Title Description
A621 Written request for application examination

Free format text: JAPANESE INTERMEDIATE CODE: A621

Effective date: 20110613

A977 Report on retrieval

Free format text: JAPANESE INTERMEDIATE CODE: A971007

Effective date: 20121212

A131 Notification of reasons for refusal

Free format text: JAPANESE INTERMEDIATE CODE: A131

Effective date: 20121225

A521 Request for written amendment filed

Free format text: JAPANESE INTERMEDIATE CODE: A523

Effective date: 20130218

TRDD Decision of grant or rejection written
A01 Written decision to grant a patent or to grant a registration (utility model)

Free format text: JAPANESE INTERMEDIATE CODE: A01

Effective date: 20130312

A61 First payment of annual fees (during grant procedure)

Free format text: JAPANESE INTERMEDIATE CODE: A61

Effective date: 20130325

R151 Written notification of patent or utility model registration

Ref document number: 5245782

Country of ref document: JP

Free format text: JAPANESE INTERMEDIATE CODE: R151

FPAY Renewal fee payment (event date is renewal date of database)

Free format text: PAYMENT UNTIL: 20160419

Year of fee payment: 3

LAPS Cancellation because of no payment of annual fees