JP2010141024A - 半導体装置の製造方法および半導体装置 - Google Patents

半導体装置の製造方法および半導体装置 Download PDF

Info

Publication number
JP2010141024A
JP2010141024A JP2008314540A JP2008314540A JP2010141024A JP 2010141024 A JP2010141024 A JP 2010141024A JP 2008314540 A JP2008314540 A JP 2008314540A JP 2008314540 A JP2008314540 A JP 2008314540A JP 2010141024 A JP2010141024 A JP 2010141024A
Authority
JP
Japan
Prior art keywords
wiring
inter
semiconductor device
forming
wirings
Prior art date
Legal status (The legal status is an assumption and is not a legal conclusion. Google has not performed a legal analysis and makes no representation as to the accuracy of the status listed.)
Pending
Application number
JP2008314540A
Other languages
English (en)
Other versions
JP2010141024A5 (ja
Inventor
Kazuyuki Omori
和幸 大森
Kazuyoshi Maekawa
和義 前川
Kenichi Mori
健壹 森
Toshiaki Tsutsumi
聡明 堤
Current Assignee (The listed assignees may be inaccurate. Google has not performed a legal analysis and makes no representation or warranty as to the accuracy of the list.)
Renesas Technology Corp
Original Assignee
Renesas Technology Corp
Priority date (The priority date is an assumption and is not a legal conclusion. Google has not performed a legal analysis and makes no representation as to the accuracy of the date listed.)
Filing date
Publication date
Application filed by Renesas Technology Corp filed Critical Renesas Technology Corp
Priority to JP2008314540A priority Critical patent/JP2010141024A/ja
Publication of JP2010141024A publication Critical patent/JP2010141024A/ja
Publication of JP2010141024A5 publication Critical patent/JP2010141024A5/ja
Pending legal-status Critical Current

Links

Images

Classifications

    • HELECTRICITY
    • H01ELECTRIC ELEMENTS
    • H01LSEMICONDUCTOR DEVICES NOT COVERED BY CLASS H10
    • H01L21/00Processes or apparatus adapted for the manufacture or treatment of semiconductor or solid state devices or of parts thereof
    • H01L21/70Manufacture or treatment of devices consisting of a plurality of solid state components formed in or on a common substrate or of parts thereof; Manufacture of integrated circuit devices or of parts thereof
    • H01L21/71Manufacture of specific parts of devices defined in group H01L21/70
    • H01L21/768Applying interconnections to be used for carrying current between separate components within a device comprising conductors and dielectrics
    • H01L21/76801Applying interconnections to be used for carrying current between separate components within a device comprising conductors and dielectrics characterised by the formation and the after-treatment of the dielectrics, e.g. smoothing
    • H01L21/7682Applying interconnections to be used for carrying current between separate components within a device comprising conductors and dielectrics characterised by the formation and the after-treatment of the dielectrics, e.g. smoothing the dielectric comprising air gaps
    • HELECTRICITY
    • H01ELECTRIC ELEMENTS
    • H01LSEMICONDUCTOR DEVICES NOT COVERED BY CLASS H10
    • H01L21/00Processes or apparatus adapted for the manufacture or treatment of semiconductor or solid state devices or of parts thereof
    • H01L21/70Manufacture or treatment of devices consisting of a plurality of solid state components formed in or on a common substrate or of parts thereof; Manufacture of integrated circuit devices or of parts thereof
    • H01L21/71Manufacture of specific parts of devices defined in group H01L21/70
    • H01L21/768Applying interconnections to be used for carrying current between separate components within a device comprising conductors and dielectrics
    • H01L21/76801Applying interconnections to be used for carrying current between separate components within a device comprising conductors and dielectrics characterised by the formation and the after-treatment of the dielectrics, e.g. smoothing
    • H01L21/76829Applying interconnections to be used for carrying current between separate components within a device comprising conductors and dielectrics characterised by the formation and the after-treatment of the dielectrics, e.g. smoothing characterised by the formation of thin functional dielectric layers, e.g. dielectric etch-stop, barrier, capping or liner layers
    • H01L21/76831Applying interconnections to be used for carrying current between separate components within a device comprising conductors and dielectrics characterised by the formation and the after-treatment of the dielectrics, e.g. smoothing characterised by the formation of thin functional dielectric layers, e.g. dielectric etch-stop, barrier, capping or liner layers in via holes or trenches, e.g. non-conductive sidewall liners

Landscapes

  • Engineering & Computer Science (AREA)
  • Physics & Mathematics (AREA)
  • Condensed Matter Physics & Semiconductors (AREA)
  • General Physics & Mathematics (AREA)
  • Manufacturing & Machinery (AREA)
  • Computer Hardware Design (AREA)
  • Microelectronics & Electronic Packaging (AREA)
  • Power Engineering (AREA)
  • Internal Circuitry In Semiconductor Integrated Circuit Devices (AREA)
  • Formation Of Insulating Films (AREA)

Abstract

【課題】エアギャップ部を有し、かつ、高い機械的強度を有する半導体装置およびその製造方法を提供する。
【解決手段】酸素を含有する層間絶縁膜IL1の複数の溝部の側壁を被覆するバリア金属層ALが形成される。複数の溝部を充填するように配線金属層PCが形成される。層間絶縁膜IL1の酸素を熱拡散させることによってバリア金属層ALの少なくとも一部を酸化することで、酸化物バリア層BL1が形成される。配線金属層のうち複数の溝部の外側の部分を除去することによって、第1および第2の配線間領域IW1,IW2と第1〜第3の配線WR1〜WR3とが形成される。第1の配線間領域IW1を覆い、かつ第2の配線間領域IW2上に開口部OPを有するライナー膜LN1が形成される。開口部OPを介したエッチングが行なわれる。
【選択図】図2

Description

本発明は、半導体装置およびその製造方法に関し、特に、エアギャップ部を有する半導体装置およびその製造方法に関するものである。
近年まで、集積回路の高速化は、微細化プロセスを進め、トランジスタのゲート長を縮めることにより達成されてきた。しかし、微細化が進むにつれて集積回路の配線部における遅延が問題となった。この遅延は、配線抵抗(R)と配線間容量(C)の積(RC積)に比例する。微細化が進められると、配線が細くなることによる配線抵抗の増大と、配線間隔が短くなることによる配線間容量の増大とが生じる。130nmノード以降では、配線抵抗の低減のために配線層に銅(Cu)が用いられ、配線間容量の低減のために配線層間に低誘電率膜(low−k膜)が用いられている。しかし32nmノード以降では、さらなる配線間容量の低減のために、配線間に絶縁膜がない部分(エアギャップ部)を有する構造(エアギャップ構造)が検討されている。
エアギャップ部の形成法の1つとして、いわゆる(デュアル)ダマシン法により配線を形成した後に、層間絶縁膜を除去する方法がある。この方法では、まず層間絶縁膜中に配線・ビアとなる箇所が溝や接続孔として形成され、この溝や接続孔が配線材料(Cu)の膜で埋め込まれ、この膜の余分な部分がCMP(Chemical Mechanical Polish)法により取り除かれることでCu配線が形成される。そして層間絶縁膜のエッチングによる除去が行なわれる。この方法では、層間絶縁膜をエッチングする際に、Cu配線をバリア膜で保護する必要がある。
このようにバリア膜を用いるエアギャップ部の形成方法は、たとえば特開2007−48974号公報(特許文献1)に記載されている。この公報によれば、以下の工程が行なわれる。
まず少なくともSiを含む絶縁膜中に配線用の溝が形成される。溝中に、所定の金属元素を含みCuを主成分とする合金膜が埋め込まれる。合金膜上および絶縁膜上に、少なくともSiを含むポーラス膜が形成される。ポーラス膜越しに少なくともO2ガスを含んだエッチングが熱処理と共に行なわれる。絶縁膜が除去されて空洞が形成されると同時に、合金膜の表面上に所定の金属元素とSi元素と上記O2ガスからのO元素との化合物を主成分とするバリア膜が自己整合的に形成される。
特開2007−48974号公報
上記公報の技術によれば、絶縁膜が形成されていた領域の全体が空洞となってしまうため、半導体装置の機械強度が不足してしまうことがあるという問題がある。
本発明は、上記課題を鑑みてなされたものであり、その目的は、エアギャップ部を有し、かつ、高い機械的強度を有する半導体装置およびその製造方法を提供することである。
本発明の一実施の形態における半導体装置の製造方法は、以下の工程を有する。
酸素を含有する層間絶縁膜が半導体基板上に形成される。層間絶縁膜に第1〜第3の溝部が形成される。金属からなり、第1〜第3の溝部の各々の側壁を被覆するバリア金属層が形成される。第1〜第3の溝部を充填するように層間絶縁膜上に、銅を含有する配線金属層が形成される。層間絶縁膜に含有される酸素を熱拡散させることによってバリア金属層の少なくとも一部を酸化することで、金属酸化物からなる酸化物バリア層が形成される。配線金属層のうち第1〜第3の溝部の外側の部分を除去することによって、第1の配線間領域によって互いに分離された第1および第2の配線と、第2の配線間領域によって第2の配線と分離された第3の配線とが形成される。第1〜第3の配線が形成された後に、第1および第2の配線間領域と第1〜第3の配線との上に位置し、かつ第1の配線間領域を覆い、かつ第2の配線間領域上に開口部を有するライナー膜が形成される。開口部を介したエッチングにより層間絶縁膜のうち第2の配線間領域の部分を除去することによって、第2の配線間領域を気体および真空のいずれかによって満たすエアギャップ部が形成され、かつ層間絶縁膜のうち第1の配線間領域の部分が残存される。
本発明の一実施の形態における半導体装置は、半導体基板と、第1〜第3の配線と、酸化物バリア層と、層間絶縁膜と、エアギャップ部とを有する。第1〜第3の配線は、銅を含有し、半導体基板上に設けられている。第1および第2の配線の間は第1の配線間領域によって分離され、第2および第3の配線の間は第2の配線間領域によって分離されている。酸化物バリア層は、金属酸化物からなり、第1および第2の配線間領域と、第1〜第3の配線との界面を隔てている。層間絶縁膜は、酸素を含有し、第1の配線間領域を埋めこんでいる。エアギャップ部は、第2の配線間領域を気体および真空のいずれかによって満たしている。
本実施の形態によれば、開口部を介したエッチングにより層間絶縁膜のうち第2の配線間領域の部分を除去することによって、第2の配線間領域を気体および真空のいずれかによって満たすエアギャップ部が形成され、かつ層間絶縁膜のうち第1の配線間領域の部分が残存される。これにより、配線間容量を低減するためのエアギャップ部を有し、かつ残存された層間絶縁膜によって機械的強度が高められた半導体装置を得ることができる。
以下、本発明の実施の形態について図に基づいて説明する。
(実施の形態1)
図1は、本発明の実施の形態1における半導体装置の構成を概略的に示す部分断面図である。図1を参照して、本実施の形態の半導体装置は、半導体基板ELと、多層配線層WLと、パッシベーション層PLとを有する。半導体基板ELの多層配線層WL側には、トランジスタなどの半導体素子(図示せず)が形成されている。多層配線層WLは半導体基板EL上に形成されている。パッシベーション層PLは多層配線層WL上に形成されている。
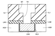
図2は、図1の破線部IIの概略拡大図である。また図3は、図2の破線部IIIの概略拡大図である。主に図2を参照して、多層配線層WLは、複数の配線CAと、下部酸化アルミニウム層BL0と、上部酸化アルミニウム層BL1(酸化物バリア層)と、下部層間絶縁膜IL0と、上部層間絶縁膜IL1(層間絶縁膜)と、下部エアギャップAG0と、上部エアギャップAG1(エアギャップ部)と、下部エアギャップAG0と、上部ライナー膜LN1と、下部ライナー膜LN0とを有する。
複数の配線CAは、銅を含有している。また複数の配線CAの各々は、下部配線CA0(導体部)と、上部配線CA1とを有する。下部配線CA0は、上部配線CA1の半導体基板EL(図1)側の面(図2における上部配線CA1の下面)に接している。上部配線CA1の各々は、第1〜第3の配線WR1〜WR3を含む。
第1および第2の配線WR1,WR2の間は、第1の配線間領域IW1によって分離されている。また第2および第3の配線WR2,WR3の間は、第2の配線間領域IW2によって分離されている。
上部酸化アルミニウム層BL1は、第1および第2の配線間領域IW1,IW2と、配線WR1〜WR3との界面を隔てている。また上部酸化アルミニウム層はアルミニウムの酸化物を含む金属酸化物からなる。上部酸化アルミニウム層BL1の厚さは、たとえば0.5〜10nmである。
上部層間絶縁膜IL1は、第1の配線間領域IW1を埋めこんでいる。また上部層間絶縁膜IL1は、酸素を含有する絶縁材料からなる。この絶縁材料は、たとえばシリカ系絶縁材料であり、より具体的には、たとえばSiO2またはSiOCである。
上部エアギャップAG1は、第2の配線間領域IW2を気体および真空のいずれかによって満たしている。これにより第2の配線間領域IW2の誘電率は、第1の配線間領域IW1の誘電率よりも小さくされている。
上部ライナー膜LN1は、第1および第2の配線間領域IW1,IW2と第1〜第3の配線WR1〜WR3との上に位置している。また上部ライナー膜LN1は、第1の配線間領域IW1を覆っている。また上部ライナー膜LN1は、第2の配線間領域IW2上に開口部OPを有する。上部ライナー膜LN1は、配線CA中のCuの拡散を遮断することができる材料からなる。この材料は、たとえば、SiN、SiCおよびSiCNのいずれかである。
なお下部配線CA0、下部酸化アルミニウム層BL0、下部層間絶縁膜IL0、下部ライナー膜LN0および下部エアギャップAG0のそれぞれの材料は、たとえば上部配線CA1、上部酸化アルミニウム層BL1、上部層間絶縁膜IL1、上部ライナー膜LN1および上部エアギャップAG1のそれぞれの材料と同様のものが用いられている。
次に本実施の形態の半導体装置の製造方法について説明する。図4〜図9のそれぞれは、本発明の実施の形態1における半導体装置の製造方法の第1〜第6工程を、図3の図示範囲において示す概略的な断面図である。
まず、トランジスタなどの半導体素子が形成された半導体基板EL(図1)が準備される。
図4を参照して、半導体基板EL上に、下部配線CA0と、下部酸化アルミニウム層BL0と、下部エアギャップAG0とが形成される。これらの形成方法としては、後述する上部配線CA1と、上部酸化アルミニウム層BL1と、上部エアギャップAG1との形成方法と同様の方法を用いることができる。
次に半導体基板EL上に、下部ライナー膜LN0と、酸素を含有する上部層間絶縁膜IL1との積層膜が形成される。次にこの積層膜に、接続孔THと配線溝WTとを有する溝部が形成される。この溝部は、たとえばドライエッチング法により形成することができる。
図5を参照して、上記溝部の側壁および底面を被覆するアルミニウム層AL(バリア金属層)が形成される。このアルミニウム層AL上に銅シード層CSが形成される。アルミニウム層ALおよび銅シード層CSの各々は、たとえばPVD(Physical Vapor Deposition)法により形成することができる。
図6を参照して、アルミニウム層ALおよび銅シード層CSを介して上記溝部を充填するように、上部層間絶縁膜IL1上に、銅層PC(配線金属層)が形成される。銅層PCの形成は、たとえば純銅めっきにより行なうことができる。
主に図7を参照して、次に熱処理が行なわれる。熱処理の温度は、たとえば100〜500℃である。また熱処理の雰囲気は、たとえば真空または弱い酸化雰囲気である。この熱処理によって、上部層間絶縁膜IL1に含有される酸素が熱拡散される。これによってアルミニウム層AL(図6)の少なくとも一部を酸化することで、上部酸化アルミニウム層BL1が形成される。またこの熱処理によって、アルミニウム層AL(図6)の一部が銅層PC(図6)に拡散されることで、銅層PCから銅・アルミニウム層PCAが形成される。
次に、銅・アルミニウム層PCAおよび上部酸化アルミニウム層BL1のうち上部層間絶縁膜IL1の溝部の外側の部分が、CMP法によって除去される。
主に図8を参照して、上記の除去によって、第3の配線WR3が形成される。また同時に、第1および第2の配線WR1,WR2(図2)が形成される。これら第1〜第3の配線WR1〜WR3(図2)と、第1および第2の配線間領域IW1,IW2(図2)との上に、上部ライナー膜LN1が形成される。
主に図9を参照して、第2の配線間領域IW2上に選択的に、開口部OPが形成される。この際、第1の配線間領域IW1(図2)上には開口部は形成されないため、第1の配線間領域IW1は上部ライナー膜LN1によって覆われたままである。開口部OPの選択的な形成は、たとえばフォトリソグラフィ技術によって行なうことができる。
次に開口部OPを介したエッチングにより上部層間絶縁膜IL1のうち第2の配線間領域IW2の部分が除去される。エッチング方法としては、たとえばウエットエッチング法を用いることができる。このエッチングにより、第2の配線間領域IW2を気体および真空のいずれかによって満たす上部エアギャップAG1(図3)が形成される。このエッチングの際、第1の配線間領域IW1(図2)は上部ライナー膜LN1によって覆われているので、上部層間絶縁膜IL1のうち第1の配線間領域IW1の部分は残存する。
以上により本実施の形態の半導体装置(図1〜図3)が得られる。
本実施の形態によれば、開口部OP(図9)を介したエッチングにより上部層間絶縁膜IL1のうち第2の配線間領域IW2の部分を除去することによって、図2に示すように、第2の配線間領域IW2を気体および真空のいずれかによって満たす上部エアギャップAG1が形成され、かつ上部層間絶縁膜IL1のうち第1の配線間領域IW1の部分が残存される。これにより、第2および第3の配線WR2,WR3の間の配線間容量を低減するための上部エアギャップAG1を有し、かつ第1の配線間領域IW1に位置する上部層間絶縁膜IL1によって機械的強度が高められた半導体装置を得ることができる。
また開口部OPが設けられる位置は任意に選択することができる。よって配線間容量を低減したい領域に選択的に上部エアギャップAG1を形成することができる。
またアルミニウム層AL(図6)のうち、上部配線CA1となる部分(銅層PCの溝内の部分)と下部配線CA0の境界部分に位置していた部分のアルミニウム元素は、図3の領域NBに示すように、ほぼ熱拡散によって消散される。よってこの境界部分における電気抵抗がアルミニウム元素の存在によって増大することを抑制することができる。
また上部酸化アルミニウム層BL1によって、上部エアギャップAG1を形成するためのエッチングにおける第1〜第3の配線WR1〜WR3へのダメージを抑制することができる。
また銅・アルミニウム層PCA(図7)から配線CA(図8)が形成されるので、配線CAはアルミニウムを含有する。これにより純銅からなる配線の信頼性に比して、より高い信頼性が確保される。
上記の説明においては、アルミニウム層AL(図6)が上部層間絶縁膜IL1とのみ反応することで上部酸化アルミニウム層BL1(図7)が形成される例を示したが、これ以外に、以下に説明する変形例が用いられてもよい。
図10は、本発明の実施の形態1の変形例における半導体装置の製造方法の一工程を示す概略的な部分断面図であり、図8の工程に対応する図である。本変形例においては、熱処理条件などを変えることにより、アルミニウム層AL(図6)および下部配線CA0の各々と下部ライナー膜LN0との界面での反応によって、炭化アルミニウム(AlC)層BL2(図10)が形成される。次に、図9と同様の開口部OPが形成される。次に、下部酸化アルミニウム層BL0、上部酸化アルミニウム層BL1、および炭化アルミニウム層BL2によって配線CAへのダメージを抑制しながら、エッチングによって上部層間絶縁膜IL1および下部ライナー膜LN0が除去される。
本変形例によれば、上部層間絶縁膜IL1に加えて下部ライナー膜LN0も除去できるので、配線容量をより一層低減することができる。
(実施の形態2)
図11は、本発明の実施の形態2における半導体装置の構成を、図1の破線部IIに示す図示範囲において概略的に示す部分断面図である。また図12は、図11の破線部XIIの概略拡大図である。図11および図12を参照して、本実施の形態の半導体装置は、上部配線CA1および下部配線CA0からなる配線CA(実施の形態1)の代わりに、上部配線CC1および下部配線CC0からなる配線CCを有する。配線CCは、上部酸化アルミニウム層BL1に含まれる酸化アルミニウムに含有される金属元素であるアルミニウム元素を含有していない。より具体的には、配線CCは、たとえば純銅からなる。
次に本実施の形態の半導体装置の製造方法について説明する。図13〜図16のそれぞれは、本発明の実施の形態2における半導体装置の製造方法の第1〜第4工程を、図12に対応する図示範囲において示す概略的な部分断面図である。
図13を参照して、実施の形態1と同様に、上部層間絶縁膜IL1の溝部の側壁および底面を被覆するアルミニウム層AL(バリア金属層)が形成される。
図14を参照して、次に実施の形態1と同様の熱処理が行なわれる。この熱処理によって、上部層間絶縁膜IL1に含有される酸素が熱拡散される。これによってアルミニウム層AL(図6)の一部を酸化することで、上部酸化アルミニウム層BL1が形成される。次に残存したアルミニウム層ALがエッチングによって除去される。エッチング方法としては、たとえば混酸によるウエットエッチングを用いることができる。
図15を参照して、上記エッチングによって上部層間絶縁膜IL1の溝内から金属アルミニウムが除去される。
図16を参照して、上部酸化アルミニウム層BL1上に銅シード層CSが形成される。次に実施の形態1の図6と同様に、銅シード層CS上に銅層PCが形成される。次に、図8および図9と同様の工程が行なわれることで、本実施の形態の半導体装置が形成される。
なお、上記以外の構成については、上述した実施の形態1の構成とほぼ同じであるため、同一または対応する要素について同一の符号を付し、その説明を繰り返さない。
本実施の形態によれば、銅層PC(図6)形成前に予め上部酸化アルミニウム層BL1が形成されているので、銅層PC形成後に上部酸化アルミニウム層BL1を形成するための熱処理を行なう必要がない。よって最終的に形成される配線CC(図8)にアルミニウム層AL中のアルミニウムが熱拡散されないので、配線CCの銅純度を高めることができる。これにより配線CCの電気抵抗を低減することができる。
(実施の形態3)
図17は、本発明の実施の形態3における半導体装置の製造方法の一工程を概略的に示す部分断面図である。図17を参照して、図4(実施の形態1)と同様に、上部層間絶縁膜IL1に溝部が形成された後、この溝部の側壁および底面を被覆する銅・アルミニウム・シード層CAS(バリア金属層)が形成される。銅・アルミニウム・シード層CASは、銅およびアルミニウムの合金からなり、たとえばPVD(Physical Vapor Deposition)法により形成することができる。この後、実施の形態1における図6(実施の形態1)の銅層PCの形成工程、およびそれ以降の工程と同様の工程が行なわれることで、本実施の形態の半導体装置が形成される。
本実施の形態によれば、実施の形態1におけるアルミニウム層ALおよび銅シード層CSの形成工程(図5)、すなわち1層の薄膜の形成工程を、銅・アルミニウム・シード層CASの形成工程(図17)、すなわち1層の薄膜の形成工程に置き換えることができる。これにより半導体装置の製造工程を簡略化することができる。
なお上記各実施の形態においては、バリア金属層としてアルミニウム層ALまたは銅・アルミニウム・シード層CASが用いられ、かつ酸化物バリア層として上部酸化アルミニウム層BL1が用いられたが、本発明はこれに限定されるものではない。たとえば、アルミニウム、チタン、ルテニウムおよびタンタルの少なくともいずれかの金属を含む金属からなるバリア金属層を用いることで、アルミニウム、チタン、ルテニウムおよびタンタルの少なくともいずれかの酸化物を含む金属酸化物からなる酸化物バリア層が形成されてもよい。
今回開示された実施の形態はすべての点で例示であって制限的なものではないと考えられるべきである。本発明の範囲は上記した説明ではなくて特許請求の範囲によって示され、特許請求の範囲と均等の意味および範囲内でのすべての変更が含まれることが意図される。
本発明は、エアギャップ部を有する半導体装置およびその製造方法に特に有利に適用され得る。
本発明の実施の形態1における半導体装置の構成を概略的に示す部分断面図である。 図1の破線部IIの概略拡大図である。 図3は、図2の破線部IIIの概略拡大図である。 本発明の実施の形態1における半導体装置の製造方法の第1工程を、図3に対応する図示範囲において示す概略的な部分断面図である。 本発明の実施の形態1における半導体装置の製造方法の第2工程を、図3に対応する図示範囲において示す概略的な部分断面図である。 本発明の実施の形態1における半導体装置の製造方法の第3工程を、図3に対応する図示範囲において示す概略的な部分断面図である。 本発明の実施の形態1における半導体装置の製造方法の第4工程を、図3に対応する図示範囲において示す概略的な部分断面図である。 本発明の実施の形態1における半導体装置の製造方法の第5工程を、図3に対応する図示範囲において示す概略的な部分断面図である。 本発明の実施の形態1における半導体装置の製造方法の第6工程を、図3に対応する図示範囲において示す概略的な部分断面図である。 本発明の実施の形態1の変形例における半導体装置の製造方法の一工程を示す概略的な部分断面図であり、図8に対応する工程を示す図である。 本発明の実施の形態2における半導体装置の構成を、図1の破線部IIに示す図示範囲において概略的に示す部分断面図である。 図11の破線部XIIの概略拡大図である。 本発明の実施の形態2における半導体装置の製造方法の第1工程を、図12に対応する図示範囲において示す概略的な部分断面図である。 本発明の実施の形態2における半導体装置の製造方法の第2工程を、図12に対応する図示範囲において示す概略的な部分断面図である。 本発明の実施の形態2における半導体装置の製造方法の第3工程を、図12に対応する図示範囲において示す概略的な部分断面図である。 本発明の実施の形態2における半導体装置の製造方法の第4工程を、図12に対応する図示範囲において示す概略的な部分断面図である。 本発明の実施の形態3における半導体装置の製造方法の一工程を概略的に示す部分断面図である。
符号の説明
AG0 下部エアギャップ、AG1 上部エアギャップ(エアギャップ部)、AL アルミニウム層(バリア金属層)、BL0 下部酸化アルミニウム層、BL1 上部酸化アルミニウム層(酸化物バリア層)、BL2 炭化アルミニウム層、CA 配線、CA0 下部配線(導体部)、CA1 上部配線、CAS 銅・アルミニウム・シード層、CC 配線、CC0 下部配線、CC1 上部配線、CS 銅シード層、EL 半導体基板、IL0 下部層間絶縁膜、IL1 上部層間絶縁膜(層間絶縁膜)、IW1 第1の配線間領域、IW2 第2の配線間領域、LN0 下部ライナー膜、LN1 上部ライナー膜、OP 開口部、PC 銅層(配線金属層)、PCA 銅・アルミニウム層、PL パッシベーション層、TH 接続孔、WL 多層配線層、WR1〜WR3 第1〜第3の配線、WT 配線溝。

Claims (11)

  1. 酸素を含有する層間絶縁膜を半導体基板上に形成する工程と、
    前記層間絶縁膜に第1〜第3の溝部を形成する工程と、
    金属からなり、前記第1〜第3の溝部の各々の側壁を被覆するバリア金属層を形成する工程と、
    前記第1〜第3の溝部を充填するように前記層間絶縁膜上に、銅を含有する配線金属層を形成する工程と、
    前記層間絶縁膜に含有される酸素を熱拡散させることによって前記バリア金属層の少なくとも一部を酸化することで、金属酸化物からなる酸化物バリア層を形成する工程と、
    前記配線金属層のうち前記第1〜第3の溝部の外側の部分を除去することによって、第1の配線間領域によって互いに分離された第1および第2の配線と、第2の配線間領域によって前記第2の配線と分離された第3の配線とを形成する工程と、
    前記第1〜第3の配線を形成する工程の後に、前記第1および第2の配線間領域と前記第1〜第3の配線との上に位置し、かつ前記第1の配線間領域を覆い、かつ前記第2の配線間領域上に開口部を有するライナー膜を形成する工程と、
    前記開口部を介したエッチングにより前記層間絶縁膜のうち前記第2の配線間領域の部分を除去することによって、前記第2の配線間領域を気体および真空のいずれかによって満たすエアギャップ部を形成し、かつ前記層間絶縁膜のうち前記第1の配線間領域の部分を残存させる工程とを備えた、半導体装置の製造方法。
  2. 前記第1〜第3の配線の少なくとも1つは導体部上に形成される、請求項1に記載の半導体装置の製造方法。
  3. 前記金属は、アルミニウム、チタン、ルテニウムおよびタンタルの少なくともいずれかの金属を含む、請求項1または2に記載の半導体装置の製造方法。
  4. 前記配線金属層を形成する工程は、前記酸化物バリア層を形成する工程の前に行なわれる、請求項1〜3のいずれかに記載の半導体装置の製造方法。
  5. 前記バリア金属層は銅を含有する、請求項4に記載の半導体装置の製造方法。
  6. 前記酸化物バリア層を形成する工程は、前記配線金属層を形成する工程の前に行なわれる、請求項1〜3のいずれかに記載の半導体装置の製造方法。
  7. 前記酸化物バリア層を形成する工程の後まで残存した前記バリア金属層を、前記配線金属層を形成する工程の前に除去する工程をさらに備えた、請求項6に記載の半導体装置の製造方法。
  8. 半導体基板と、
    銅を含有し、前記半導体基板上に設けられた第1〜第3の配線とを備え、
    前記第1および第2の配線の間は第1の配線間領域によって分離され、前記第2および第3の配線の間は第2の配線間領域によって分離され、
    金属酸化物からなり、前記第1および第2の配線間領域と、前記第1〜第3の配線との界面を隔てる酸化物バリア層と、
    酸素を含有し、前記第1の配線間領域を埋めこむ層間絶縁膜と、
    前記第2の配線間領域を気体および真空のいずれかによって満たすエアギャップ部とをさらに備えた、半導体装置。
  9. 前記第1〜第3の配線の少なくとも1つの前記半導体基板側の面に接する導体部をさらに備えた、請求項8に記載の半導体装置。
  10. 前記金属酸化物は、アルミニウム、チタン、ルテニウムおよびタンタルの少なくともいずれかの酸化物を含む、請求項8または9に記載の半導体装置。
  11. 前記第1〜第3の配線は、前記金属酸化物に含有される金属元素を含有しない、請求項8〜10のいずれかに記載の半導体装置。
JP2008314540A 2008-12-10 2008-12-10 半導体装置の製造方法および半導体装置 Pending JP2010141024A (ja)

Priority Applications (1)

Application Number Priority Date Filing Date Title
JP2008314540A JP2010141024A (ja) 2008-12-10 2008-12-10 半導体装置の製造方法および半導体装置

Applications Claiming Priority (1)

Application Number Priority Date Filing Date Title
JP2008314540A JP2010141024A (ja) 2008-12-10 2008-12-10 半導体装置の製造方法および半導体装置

Publications (2)

Publication Number Publication Date
JP2010141024A true JP2010141024A (ja) 2010-06-24
JP2010141024A5 JP2010141024A5 (ja) 2012-01-19

Family

ID=42350917

Family Applications (1)

Application Number Title Priority Date Filing Date
JP2008314540A Pending JP2010141024A (ja) 2008-12-10 2008-12-10 半導体装置の製造方法および半導体装置

Country Status (1)

Country Link
JP (1) JP2010141024A (ja)

Cited By (4)

* Cited by examiner, † Cited by third party
Publication number Priority date Publication date Assignee Title
US8779590B2 (en) 2011-06-16 2014-07-15 Kabushiki Kaisha Toshiba Semiconductor device and method of producing the same
US8940632B2 (en) 2013-05-20 2015-01-27 Samsung Electronics Co., Ltd. Semiconductor devices and method of fabricating the same
WO2015130549A3 (en) * 2014-02-28 2015-11-12 Qualcomm Incorporated Selective conductive barrier layer formation
WO2016118634A1 (en) * 2015-01-21 2016-07-28 Qualcomm Incorporated Integrated circuit devices and methods

Citations (3)

* Cited by examiner, † Cited by third party
Publication number Priority date Publication date Assignee Title
US20020016058A1 (en) * 2000-06-15 2002-02-07 Bin Zhao Microelectronic air-gap structures and methods of forming the same
JP2006344703A (ja) * 2005-06-08 2006-12-21 Hitachi Ltd 半導体装置およびその製造方法
JP2007048974A (ja) * 2005-08-10 2007-02-22 Toshiba Corp 半導体装置およびその製造方法

Patent Citations (3)

* Cited by examiner, † Cited by third party
Publication number Priority date Publication date Assignee Title
US20020016058A1 (en) * 2000-06-15 2002-02-07 Bin Zhao Microelectronic air-gap structures and methods of forming the same
JP2006344703A (ja) * 2005-06-08 2006-12-21 Hitachi Ltd 半導体装置およびその製造方法
JP2007048974A (ja) * 2005-08-10 2007-02-22 Toshiba Corp 半導体装置およびその製造方法

Non-Patent Citations (1)

* Cited by examiner, † Cited by third party
Title
T.USUI ET AL.: "Low Resistive and Highly Reliable Cu Dual-Damascene Interconnect Technology Using Self-Formed MnSixO", INTERCONNECT TECHNOLOGY CONFERENCE, 2005. PROCEEDINGS OF THE IEEE 2005 INTERNATIONAL, vol. p.188-190, JPN6013043580, 8 June 2005 (2005-06-08), ISSN: 0002622757 *

Cited By (10)

* Cited by examiner, † Cited by third party
Publication number Priority date Publication date Assignee Title
US8779590B2 (en) 2011-06-16 2014-07-15 Kabushiki Kaisha Toshiba Semiconductor device and method of producing the same
US8940632B2 (en) 2013-05-20 2015-01-27 Samsung Electronics Co., Ltd. Semiconductor devices and method of fabricating the same
WO2015130549A3 (en) * 2014-02-28 2015-11-12 Qualcomm Incorporated Selective conductive barrier layer formation
US9343357B2 (en) 2014-02-28 2016-05-17 Qualcomm Incorporated Selective conductive barrier layer formation
WO2016118634A1 (en) * 2015-01-21 2016-07-28 Qualcomm Incorporated Integrated circuit devices and methods
US9543248B2 (en) 2015-01-21 2017-01-10 Qualcomm Incorporated Integrated circuit devices and methods
US9721891B2 (en) 2015-01-21 2017-08-01 Qualcomm Incorporated Integrated circuit devices and methods
CN107210286A (zh) * 2015-01-21 2017-09-26 高通股份有限公司 集成电路器件和方法
JP2018507546A (ja) * 2015-01-21 2018-03-15 クゥアルコム・インコーポレイテッドQualcomm Incorporated 集積回路デバイスおよび方法
CN107210286B (zh) * 2015-01-21 2020-09-11 高通股份有限公司 集成电路器件和方法

Similar Documents

Publication Publication Date Title
CN102362343B (zh) 包括非常锥形的转变贯孔的半导体装置的金属化系统
CN101231969B (zh) 集成电路结构的形成方法
US20080299763A1 (en) Method for fabricating semiconductor device
US20100051578A1 (en) Method for fabricating an integrated circuit
CN106206412A (zh) 形成半导体器件的互连结构的方法
JP2009194286A (ja) 半導体装置及びその製造方法
JPH10242271A (ja) 半導体装置及びその製造方法
JP5089244B2 (ja) 半導体装置
JP2006019480A (ja) 半導体装置の製造方法
JP5193542B2 (ja) 半導体装置の製造方法
US20070200237A1 (en) Semiconductor device and method of manufacturing the same
EP1610376B1 (en) Semiconductor device
JP2010141024A (ja) 半導体装置の製造方法および半導体装置
JPH10261707A (ja) 半導体装置の製造方法
JP2010123586A (ja) 半導体装置、半導体装置の製造方法
US7737030B2 (en) Method for manufacturing a semiconductor device, and said semiconductor device
CN1862818B (zh) 半导体器件及其制造方法
JP2006324584A (ja) 半導体装置およびその製造方法
JP5047504B2 (ja) ビアキャッピング保護膜を使用する半導体素子のデュアルダマシン配線の製造方法
JP4472286B2 (ja) 変形されたデュアルダマシン工程を利用した半導体素子の金属配線形成方法
JP2009016619A (ja) 半導体装置及びその製造方法
JP2009158657A (ja) 配線構造の製造方法および配線構造
JP5424551B2 (ja) 半導体装置
JP2007220738A (ja) 半導体装置の製造方法
JP2006005010A (ja) 半導体装置及びその製造方法

Legal Events

Date Code Title Description
A711 Notification of change in applicant

Free format text: JAPANESE INTERMEDIATE CODE: A712

Effective date: 20100602

A521 Request for written amendment filed

Free format text: JAPANESE INTERMEDIATE CODE: A523

Effective date: 20111130

A621 Written request for application examination

Free format text: JAPANESE INTERMEDIATE CODE: A621

Effective date: 20111130

A977 Report on retrieval

Free format text: JAPANESE INTERMEDIATE CODE: A971007

Effective date: 20130829

A131 Notification of reasons for refusal

Free format text: JAPANESE INTERMEDIATE CODE: A131

Effective date: 20130903

A02 Decision of refusal

Free format text: JAPANESE INTERMEDIATE CODE: A02

Effective date: 20140128