JP2010101616A - 小火器 - Google Patents

小火器 Download PDF

Info

Publication number
JP2010101616A
JP2010101616A JP2009238854A JP2009238854A JP2010101616A JP 2010101616 A JP2010101616 A JP 2010101616A JP 2009238854 A JP2009238854 A JP 2009238854A JP 2009238854 A JP2009238854 A JP 2009238854A JP 2010101616 A JP2010101616 A JP 2010101616A
Authority
JP
Japan
Prior art keywords
catch
slide
firing
automatic
hammer
Prior art date
Legal status (The legal status is an assumption and is not a legal conclusion. Google has not performed a legal analysis and makes no representation as to the accuracy of the status listed.)
Granted
Application number
JP2009238854A
Other languages
English (en)
Other versions
JP5416541B2 (ja
Inventor
Michael Dubois
ミカエル ドゥボイス
Xavier Robert Paul Gavage
クサビエル ロベルト ポール ガバゲ
Franssen Pascal Marcel Henri Denis
パスカル マルセル ヘンリ デニス フランセン
Current Assignee (The listed assignees may be inaccurate. Google has not performed a legal analysis and makes no representation or warranty as to the accuracy of the list.)
FN Herstal SA
Original Assignee
FN Herstal SA
Priority date (The priority date is an assumption and is not a legal conclusion. Google has not performed a legal analysis and makes no representation as to the accuracy of the date listed.)
Filing date
Publication date
Application filed by FN Herstal SA filed Critical FN Herstal SA
Publication of JP2010101616A publication Critical patent/JP2010101616A/ja
Application granted granted Critical
Publication of JP5416541B2 publication Critical patent/JP5416541B2/ja
Expired - Fee Related legal-status Critical Current
Anticipated expiration legal-status Critical

Links

Images

Classifications

    • FMECHANICAL ENGINEERING; LIGHTING; HEATING; WEAPONS; BLASTING
    • F41WEAPONS
    • F41AFUNCTIONAL FEATURES OR DETAILS COMMON TO BOTH SMALLARMS AND ORDNANCE, e.g. CANNONS; MOUNTINGS FOR SMALLARMS OR ORDNANCE
    • F41A17/00Safety arrangements, e.g. safeties
    • F41A17/16Cook-off prevention, i.e. prevention of spontaneous firing of a cartridge by chamber wall heat
    • FMECHANICAL ENGINEERING; LIGHTING; HEATING; WEAPONS; BLASTING
    • F41WEAPONS
    • F41AFUNCTIONAL FEATURES OR DETAILS COMMON TO BOTH SMALLARMS AND ORDNANCE, e.g. CANNONS; MOUNTINGS FOR SMALLARMS OR ORDNANCE
    • F41A19/00Firing or trigger mechanisms; Cocking mechanisms
    • F41A19/06Mechanical firing mechanisms, e.g. counterrecoil firing, recoil actuated firing mechanisms
    • F41A19/25Mechanical firing mechanisms, e.g. counterrecoil firing, recoil actuated firing mechanisms having only slidably-mounted striker elements, i.e. percussion or firing pins
    • F41A19/27Mechanical firing mechanisms, e.g. counterrecoil firing, recoil actuated firing mechanisms having only slidably-mounted striker elements, i.e. percussion or firing pins the percussion or firing pin being movable relative to the breech-block
    • F41A19/29Mechanical firing mechanisms, e.g. counterrecoil firing, recoil actuated firing mechanisms having only slidably-mounted striker elements, i.e. percussion or firing pins the percussion or firing pin being movable relative to the breech-block propelled by a spring under tension
    • F41A19/30Mechanical firing mechanisms, e.g. counterrecoil firing, recoil actuated firing mechanisms having only slidably-mounted striker elements, i.e. percussion or firing pins the percussion or firing pin being movable relative to the breech-block propelled by a spring under tension in bolt-action guns
    • F41A19/33Arrangements for the selection of automatic or semi-automatic fire
    • FMECHANICAL ENGINEERING; LIGHTING; HEATING; WEAPONS; BLASTING
    • F41WEAPONS
    • F41AFUNCTIONAL FEATURES OR DETAILS COMMON TO BOTH SMALLARMS AND ORDNANCE, e.g. CANNONS; MOUNTINGS FOR SMALLARMS OR ORDNANCE
    • F41A19/00Firing or trigger mechanisms; Cocking mechanisms
    • F41A19/06Mechanical firing mechanisms, e.g. counterrecoil firing, recoil actuated firing mechanisms
    • F41A19/42Mechanical firing mechanisms, e.g. counterrecoil firing, recoil actuated firing mechanisms having at least one hammer
    • F41A19/43Mechanical firing mechanisms, e.g. counterrecoil firing, recoil actuated firing mechanisms having at least one hammer in bolt-action guns
    • F41A19/46Arrangements for the selection of automatic or semi-automatic fire

Landscapes

  • Engineering & Computer Science (AREA)
  • General Engineering & Computer Science (AREA)
  • Portable Nailing Machines And Staplers (AREA)
  • Toys (AREA)
  • Thermotherapy And Cooling Therapy Devices (AREA)
  • Bedding Items (AREA)
  • User Interface Of Digital Computer (AREA)
  • Percussive Tools And Related Accessories (AREA)

Abstract

【課題】自動発砲モードおよび半自動発砲モードの両方を使用でき、自動発砲モードおよび半自動発砲モードの両方においてクローズドボルト発砲モードまたはオープンボルト発砲モードでの作動が可能である自動小火器を提供する。
【解決手段】発砲モードを自動発砲モードから半自動発砲モードに切り替える発砲モードセレクタ6を有する自動小火器。小火器は、小火器をクローズドボルト発砲モードまたはオープンボルト発砲モード、および自動発砲モード並びに半自動発砲モードで作動させることができる選択制御子37付きの発砲機構を備える。
【選択図】図8

Description

本発明は、自動小火器に関する。
小口径の自動小火器の場合、指定された用途に応じて2種類の機構が存在する。具体的には、以下のとおりである。
−クローズドボルトからの発砲機構。この特徴は、(引き金に圧力をかけることによって引き起こされる)発砲前に弾薬筒が薬室内に存在し、作動グループは発砲準備の整った位置にあり、引き金に圧力をかけるだけで発砲機構が解放されて弾薬を撃発させる点である。
−オープンボルト機構。この特徴は、(この場合も引き金に圧力をかけることによって引き起こされる)発砲開始前に弾薬筒が薬室内に存在せず、作動グループは後退位置に保持され、引き金に圧力がかかったときに解放される点である。この機構は、次に弾薬筒を薬室に挿入しロックしてから、発砲機構を解放し、弾薬を撃発させる必要がある。
クローズドボルト方式による発砲のための設計は、主にライフル銃向けに使用される。その理由は、小火器がより高精度になり、第1弾での命中率が高く、環境(砂および塵埃、泥)から汚染されにくいからである。
この設計の主な欠点は、所与の時間内に発砲できる弾薬筒の数が限られることである(発砲条件)。その理由は、一定数の弾薬筒を発砲すると、薬室および銃身がかなり熱くなり、弾薬筒を薬室内に装填したまま発砲を停止すると、自己発火点まで過熱しうるからである。
この弾薬筒内の発射火薬の自己発火は、一般にコックオフと呼ばれている。
この主要な欠点に対応するため、現在ではオープンボルト式発砲用設計が使用されている。この特徴は、発砲前、作動グループ全体が後退位置に保持され、弾薬が薬室内に存在しない点である。
引き金に圧力がかかると、作動グループが解放され、弾薬筒が薬室に送り込まれ、その後に機構の前進の最後に弾薬筒が撃発される。
このオープンボルト式作動原理は、機関銃に通常使用され、弾薬の自己発火の危険性なしに大量の弾薬の発砲を可能にする。
この設計の不具合点は、クローズドボルト位置からの発砲に比べ、小火器の精度が低い点と、発砲の停止時に機構が後退位置にあり、薬室が開放されているため、岩屑、塵埃、または他の環境汚染からの汚染にさらされ、耐付着物性が低い点である。
これらの欠陥を埋め合わせるように設計された小火器も存在する。このような小火器として、主に、クローズドボルト位置からの半自動発砲およびオープンボルト位置からの自動発砲を行うFG−42自動小銃およびジョンソン機関銃が挙げられる。
上記の小火器はこの問題に対する解決策としては不十分である。その理由は、半自動発砲モードにおいては自己発火の危険性が依然として存在し、自動発砲モードで使用した場合、これらの小火器は依然として精度が低く、環境汚染にさらされるからである。
従って、本発明の目的は、上記の不具合点を回避する自動小火器を提供することである。
本発明による自動小火器は、自動発砲モードおよび半自動発砲モードの両方を使用できるように発砲モードセレクタを有し、自動発砲モードおよび半自動発砲モードの両方においてクローズドボルト発砲モードまたはオープンボルト発砲モードでの作動を可能にする選択制御子を有する発砲機構を備えることによって特徴付けられる。
半自動または自動発砲モードの選択は、使用者が簡単に操作できるセレクタを用いて行う。
クローズドボルト発砲モードまたはオープンボルト発砲モードの選択は、銃身に接続された熱アクチュエータを用いて行われることが好ましい。
このアクチュエータは、銃身からの熱によって作動され、弾薬筒が薬室内に長時間留まると弾薬筒が自己発火する危険がある臨界温度レベルに銃身が達する前に、機構をクローズドボルトモードからオープンボルトモードに切り替える。
この方法により、銃身の温度が低いときには小火器の精度および信頼性を高めることができ、さらには弾薬筒の自己発火(コックオフ)の危険を伴わずに大量の弾薬の発砲が可能になる。
本発明は、以下を含む自動小火器に関する。すなわち、
−銃身に接続された熱アクチュエータ、
−熱アクチュエータの動きを制御ロッドに伝達する機構、
−制御ロッド、
−撃鉄と、スライドキャッチと呼ばれるキャッチと、これら2つの部品を同期させる要素とを含む発砲機構。
本発明は、本発明に基づき小火器に適用可能な発砲機構にさらに関する。
本発明による自動小火器によれば自動発砲モードおよび半自動発砲モードの両方を使用でき、自動発砲モードおよび半自動発砲モードの両方においてクローズドボルト発砲モードまたはオープンボルト発砲モードでの操作が可能である。
本発明による自動小火器の側面図である。 図1のF2部分の拡大図である。 図1の小火器の分解斜視図である。 図3のF4部分の発砲機構の分解図である。 図1の小火器のメカニカルアセンブリの、金属板およびフレームを除いた、左側面図である。 図5と同様の、右側面図である。 オープンボルト半自動発砲モードでの静止状態における図6のF7部分の拡大図である。 オープンボルト半自動発砲モードでの静止状態における図5のF8部分の拡大図である。 オープンボルト半自動発砲モードでの静止状態における図6のF9部分の拡大図である。 図2のF10部分の、一部の部品を取り外した状態の、拡大図である。 発砲中の一瞬間における、図8と同様の図である。 発砲中の別の瞬間における、図8と同様の図である。 発砲中のさらに別の瞬間における、図8と同様の図である。 発砲中のさらに別の瞬間における、図8と同様の図である。 オープンボルト自動発砲モードでの停止状態における、図8と同様の図である。 オープンボルト自動発砲モードでの停止状態における、図10と同様の図である。 オープンボルト自動発砲モードでの停止状態における、図11と同様の図である。 クローズドボルト半自動発砲モードでの停止状態における、図8と同様の側面図である。 クローズドボルト半自動発砲モードでの停止状態における、図9と同様の側面図である。 発砲の一瞬間における、図18と同様の図である。 発砲の別の瞬間における、図18と同様の図である。 発砲のさらに別の瞬間における、図18と同様の図である。 クローズドボルト自動発砲モードでの停止状態における、図8と同様の図である。 同じ図であるが、弾丸を発射するときの図である。
明確にするために、本発明による自動小火器の実施形態を、添付図面を参照しながら、例示を目的とした非限定的な例として以下に説明する。
本発明による小火器1は、レシーバ2と、弾薬ローダ3と、銃身4と、引き金5と、使用者が自動発砲モード(Aで示す)、または半自動発砲モード、すなわち単射モード(1で示す)、または安全モード(Sで示す)の間で容易に操作できる3つの位置を有する発砲セレクタ6とを備える。
小火器1は、スライド7をさらに備える。スライド7は、ローダ3の弾薬筒のうちの1つを銃身4の銃身延長部4’内にある薬室に装填できるように、後退位置と前進位置との間で銃身4の軸方向に摺動可能にレシーバに取り付けられる。
スライド7は、スライド7を銃身4の方向に押すリコイルスプリング8を備える。
スライド7は、薬室内の弾薬筒をスライド7の前進位置にロック可能にするためのボルト9と、スライド7を横切ってスライド7の背部に突き出る撃針10と、撃針10を始動させる撃発機構とを備える。
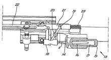
発砲セレクタ6および引き金5は、図4の分解図に示す発砲機構11の一部であり、発砲機構11は伝動システム12によって熱アクチュエータ13に連結されている。熱アクチュエータ13は、図5および図6に示すように、接続リング14によって銃身4に機械的に接続され、銃身4の温度が所定の温度に達するかまたは超えると「クローズドボルト」モードから「オープンボルト」モードに機能を切り替え、銃身の温度が所定の温度未満になるとオープンボルトからクローズドボルトへと逆の切り替えを制御する。
熱アクチュエータ13は、相変化物質を有するアクチュエータであり、図7に示すように、シリンダ15と、シリンダ15の内部で室17を画定するピストン16とを含む。室17は、上記の所定温度に達したときに相変化を起こし、この相変化に伴い体積が10%から20%とかなり変化する材料で満たされる。この相変化は、例えば、固体状態から液体状態への変化であり、この相変化による膨張によりピストン16が図7の矢印Aの方向に移動する。
このピストン16の位置は、伝動システム12を介して発砲機構11に伝達される。伝動システム12は、プッシュロッド18と、軸20上で枢動可能な揺動子19と、制御ロッド22によって発砲機構11に接続されるプッシュロッド21とを含む。
熱アクチュエータの室17内の材料が液体状態から固体状態に変化すると、この液体状態から固体状態への変化に伴い体積がかなり収縮するため、ピストン16はリリーススプリング23によって熱アクチュエータ13のシリンダ15に押し込まれる。
発砲機構11は、撃鉄24を含む。撃鉄24は、発砲装置の一部であり、スプリング26の影響下で撃針10を叩くためにレシーバ2の軸25の周囲を枢動可能である。スプリング26は、スライド7の後退によって作動可能になり、引き金5が押されて枢軸27の周囲を枢動し、撃鉄キャッチ28を作動させると解放される。
発砲機構11は、図8および図9により詳細に示されている。これらの図は、発砲セレクタ6が半自動発砲モードになっている静止位置の小火器を示す。
これらの図は、引き金5が撃鉄キャッチ28を備えることを示す。撃鉄キャッチ28は、引き金5が押されていないときは撃鉄24を作動可能位置に保持し、引き金が押されたときに撃鉄24を解放するように枢軸27によって支持される。
このため、撃鉄24は、撃鉄キャッチ28の前面30に嵌まる肩部29を備える。撃鉄キャッチ28は、その前面30を肩部29の前に保持するリリーススプリング31を備える。
引き金5は、弾丸の発射後、引き金5が解放されるまで撃鉄31を作動可能位置に制止する単射キャッチ32をさらに備える。
この単射キャッチ32は、引き金の枢軸27によって支持され、リリーススプリング33によって上昇位置に保持される。キャッチ32は、フック部34を備える。このフック部34は、撃鉄24側の別のフック部35と連係できる。
発砲モードセレクタ6は、自動モードまたは半自動モードの選択を可能にし、半自動モードにおいては単射キャッチ32を作動させ、自動発砲モードにおいてはこのキャッチ32を作動させないように設計される。このため、セレクタ6の軸の外形は、自動モードにおいては、キャッチ32の回転運動を発砲セレクタ6によって制止することによって、撃鉄32のフック部35がキャッチ32のフック部34にロックされないようにする一方、半自動モードにおいては、単射キャッチ32の回転を阻止せず、引き金が押されたときに単射キャッチ32が枢動してキャッチ32のフック部34および撃鉄24のフック部35を介して撃鉄24を作動可能位置にロック可能にするようになっている。
発砲機構11は、スライドキャッチ36と選択制御子37とをさらに含む。選択制御子37は制御ロッド22を介して熱アクチュエータ13によって制御され、この制御子37の位置に応じて、スライドキャッチ36をスライド7から外れた位置に制止してクローズドボルト位置から弾丸を発射できるようにすることも、あるいはスライドキャッチ36を解放してオープンボルト位置から弾丸を発射できるようにすることもできる。図8に示すように、このスライドキャッチ36がロックされると、スライド7の移動が後退位置で制止される。
スライドキャッチ36は、レシーバ2に取り付けられた軸38の周囲を枢動する解放端を有するL字形の部品である。
制御レバー44に接続されたキャッチスプリング39は、スライドキャッチの上部がスライド7の後部に設けられた凹部40に入ることができるように、スライドキャッチ36を上昇位置に保持する。
選択制御子37は、レシーバ2に取り付けられた軸41の周囲を枢動する揺動子として設計される。
クローズドボルト発砲モードにおいて、この揺動子37は、図18に示すようにスライドキャッチ36の突起42を圧迫することによってスライド7から外れる位置にスライドキャッチ36を制止できる一方、オープンボルト発砲位置では、図8に示すように、揺動子37はスライドキャッチ36の動きを阻止できない。
同期機構43は、撃鉄24とスライドキャッチ36との間に配置され、図示の例では、単射キャッチ32とスライドキャッチ36との間に配置される。
この同期機構は、制御レバー44を含む。制御レバー44は、軸41の周囲を枢動でき、キャッチスプリング39を備える。
制御レバー44の一端は、ヒンジ45によってスライドキャッチ36の一端に連結される。
制御レバー44の他端は、半自動モード用ラチェット47と自動モード用ラチェット48の2つのラチェットを支持する回転軸46を備える。
スプリング49は、半自動ラチェット47を引き金の方向に枢動させ、自動ラチェット48の上端を発砲セレクタ6に接触させて自動ラチェット48を制止する。スプリング49の形状は、半自動モードにおいては、図10に示すように、ラチェット48の底部を引き金5から外し、自動モードにおいては、図16に示すように、この底部を引き金5の後端に載せるようになっている。
半自動ラチェット47は、突耳50を備える。ラチェット47が引き金5を押すと、スライドの保持爪51によって引き起こされた撃鉄24の移動によって引き下げられた単射キャッチ32の回転経路に突耳50が配置される。スライドの保持爪51は、スライド7が後方に移動するとき、単射キャッチ32を介して半自動ラチェット47を引き金5から解放するに十分なだけ撃鉄24を後方に移動させる。
同期機構43は、撃鉄キャッチ28の制止レバー52を含む。制止レバー52は、軸38上で回転するように取り付けられ、フック部53をさらに設けて設計される。
リリーススプリング54は制止レバー52を撃鉄キャッチ28の方向に圧迫し、制止レバー52の突起55を発砲セレクタ6に接触させて制止レバー52を保持する。
制止レバー52は、発砲セレクタ6によって制御される。発砲セレクタ6は、半自動発砲位置においては、制止レバー52を撃鉄キャッチ28から外れた位置に停止させ、自動発砲位置においては、制止レバー52を解放するため、引き金が押されたときにスプリング54の影響下で制止レバー52は撃鉄キャッチ28の後端に引っ掛かる。
オープン/クローズドボルトモード用の選択制御子37は、半径方向に設けられた歯56を備える。歯56は、制止レバー52を撃鉄キャッチ28から解放するために、制止レバー52の歯57に後ろから嵌入できる。
スプリング60の影響下で、跳ね上げおよび閉鎖キャッチ58は、撃鉄24のストップ59に対する影響によって撃鉄24を作動可能位置に制止する。
この閉鎖キャッチ58は、スライド7がその閉鎖運動の終点に達するまでは撃鉄24のロック位置に保持され、スライド7の後端に配置されたエンドストップ61への接続によって解放される。
本小火器の動作および使用方法は、自動または半自動モードの選択によって、および銃身4の温度に基づき熱アクチュエータ13によって制御されるオープンまたはクローズドボルトモードの選択制御子の位置によって変わる。
次の4種類の操作モードが存在する。
−オープンボルトからの発砲/半自動発砲モード、
−オープンボルトからの発砲/自動発砲モード、
−クローズドボルトからの発砲/半自動発砲モード、
−クローズドボルトからの発砲/自動発砲モード。
これらの操作モードのそれぞれの動作について、以下に説明する。
「オープンボルトからの発砲」、半自動発砲モード
静止位置が図8、図9、および図10に示されている。
この発砲モードの特徴は、発砲セレクタ6が間欠モードに位置付けられ、制御ロッド22が小火器の前方側に配置される点である。
熱アクチュエータ13が相変化温度を超える温度に達すると、ピストン16の突出によって制御ロッド22の位置が決まる。
矢印Bによって示されている制御ロッド22の前進により、揺動子37が枢動するため、制止レバー52が解放される。制止レバー52の位置は突起55への発砲セレクタ6の衝突とスプリング54とによって決まるため、制止レバー52は撃鉄キャッチ28をブロックできない。
矢印Bによって示されている制御ロッド22の前進により、揺動子37が枢動するため、スライドキャッチ36もその下降位置から解放される。
半自動ラチェット47は、スプリング49の影響下で引き金5に載り、自動ラチェットは、発砲セレクタ6内の隙間とスプリング49との影響下で、引き金5から解放される。
スライド7は、スライドキャッチ36によって後退位置に保持され、撃鉄24はこの時点ではスライド7によって作動可能位置に保持される。
図11に矢印Cで示されているように、引き金5に圧力がかかると、引き金の前面30が撃鉄24の肩部29から外れ、撃鉄24がスライド7にかかる。
同時に、引き金5の後部が半自動モードのラチェット47を持ち上げる。このラチェット47は、軸41を中心に制御レバー44を傾ける。この傾斜運動により、矢印Dで示されているように、スライドキャッチ36が下降する。この結果、スライド7が解放されるので、スライド7は、リコイルスプリング8の荷重により前方(矢印E)に移動する。
スライド7の前進E中、スライド7に収容されているボルト9はローダから弾薬筒を取り出し、銃身4の銃身延長部4’内の薬室に配置する。この同じ前進E中に、撃鉄24が閉鎖キャッチ58に接続される。
その前進Eを継続しながら、スライド7は、銃身4の銃身延長部4’内でボルト9を回転させ、次に前進Eの最終段階で、図12に示すようにスライド7の後部のエンドストップ61に閉鎖キャッチ57が接触するときに閉鎖キャッチ57を枢動させる。これにより、撃鉄24が解放され、これによって撃鉄24がスプリング26の影響下で矢印Fの方向に跳ね上がるため、薬室内に配置されている弾薬筒を撃発させることができる。
ガスポートにおけるガス取り出しの影響により、スライド7は推進力を受けて後退し、これにより撃鉄24が軸25を中心として矢印Fの反対方向へ枢動する。
図13の説明図によると、スライドの保持爪51が撃鉄24に接続されると、この保持爪51は撃鉄24を低位置に引き下げるので、撃鉄24は単射キャッチ32に突き当たる。これにより、単射キャッチ32は、突耳50に接続されるときに、半自動ラチェット47を枢動させる。
枢動によりこのラチェット47は引き金5から外れるため、制御レバー44が解放される。キャッチスプリング39の推進力により制御レバー44はその軸の周囲を枢動し、スライドキャッチ39を矢印D’によって示されている方向に動かす。
スライド7がレシーバ2内でその路程の終点に達してスライドキャッチ36のレベルに戻ると、キャッチ36によって停止される。
次に、撃鉄24が単射キャッチ32によって低位置に保持される。単射キャッチ32のフック部34は、射手が引き金5に対する圧力を緩めるまで、図14に示すように、撃鉄24のフック部35の後ろに引っ掛かっている。射手が引き金5を解放すると、単射キャッチ32が撃鉄24から外れるので、撃鉄24はスライド7に接触することによって作動可能位置に保持される。
射手が引き金5を解放すると、ラチェット47はスプリング49の推進力により引き金5上の位置に戻る。
「オープンボルトからの発砲」、自動発砲モード
この発砲モードの特徴は、発砲セレクタ6が自動モードに位置付けられ、制御ロッド22が小火器の前方側に配置される点である。
静止位置が図15および図16に示されている。
熱アクチュエータ13が相変化温度を超える温度に達すると、ピストン16の突出Aによって制御ロッド22の位置が決まる。
制御ロッド22は、揺動子37をBによって示されている方向に導く。これにより、スライドキャッチ36の上昇D’が可能になり、さらに制止レバー52が解放される。
制止レバー52は、発砲セレクタ6の軸によって撃鉄キャッチ28から外されなくなるので、制止レバー52はスプリング54の推進力によりその軸38上で傾くことができる。従って、引き金5が押されると、制止レバー52は撃鉄キャッチ28に近付き、前面53に対する作用によって撃鉄キャッチ28を制止する。
静止位置においては、図16に示すように、半自動モードラチェット47は、スプリング49の影響下で引き金5に載っており、自動ラチェット48も、発砲セレクタ6の軸上の支持を介して、引き金5に載っている。
スライド7は、スライドキャッチ36によって後退位置に保持され、撃鉄24は、スライド7との接触によって、作動可能位置に保持される。
図17に示すように引き金5に圧力Cがかかると、引き金5の後部によって自動モードラチェット48が持ち上げられ、制御レバー44を軸41を中心に傾ける。この傾斜運動によりスライドキャッチ36がDの方向に下降する。この結果、スライド7が外れ、次にリコイルスプリング8の推進力により方向Eに前進する。
引き金にかけられた圧力Cにより、キャッチの前面30が撃鉄の肩部29から離れるので、撃鉄24はスライド7に押し当てられ、その後にスライド7が前方に十分に移動すると、撃鉄24のストップ59が閉鎖キャッチ58に接触する。
圧力Cが引き金にかかると、レバー52が動き、そのフック部53によって撃鉄キャッチ28を退去位置に制止するので、引き金5が解放された場合でも撃鉄24は下降可能である。
引き金5が解放されると、発砲は、スライド7を後退位置に制止するスライドキャッチ36の動きによってのみ停止される。
半自動モードでの作動を防ぐために、圧力が引き金5にかかったときに、単射キャッチ32の動きが妨げられる。これは、単射キャッチ32が発砲セレクタ6に突き当たるからである。
スライド7に収容されているボルト9は、弾薬筒をローダ3から取り出して薬室に入れる。スライド7はボルト9を銃身4の銃身延長部4’内で回転させ、次に移動の最終段階で、閉鎖キャッチ58を枢動させる。これにより撃鉄が解放されて弾薬筒を撃発させることができる。
ガスポートのレベルにおけるガス取り出しの影響により、スライド7は推進力を受けて後退し、これによって撃鉄24が軸25の周囲を枢動する。スライドの保持爪51が撃鉄24に接続されると、この保持爪51は撃鉄24を低位置に枢動させる。
自動ラチェット48が発砲セレクタ6の軸への接触によって引き金5に載っているので、制御レバー44はその軸41の周囲を枢動できないため、引き金5に圧力がかかっている限り、スライドキャッチ36を後退位置に保持する。
スライド7がレシーバ2内でその路程の終点に達し、スライドキャッチ36のレベルに戻ったとき、スライド7はこのスライドキャッチ36によって停止されず、射手が引き金5に対する圧力を緩めるまで小火器は発砲し続ける。
「クローズドボルトからの発砲」、半自動発砲モード
この発砲モードの特徴は、発砲セレクタ6が間欠モード「1」に位置付けられ、制御ロッドが小火器1の後部側の位置B’に配置される点である。静止位置が図18および図19に示されている。
制御ロッド22の位置B’は、熱アクチュエータ13が相変化温度未満の温度に達したときにピストン16を後退させるスプリング23の圧力によって決まる。
このスプリング23は、プッシュロッド21を介して、制御ロッド22を後方に移動させる。
制御ロッド22はその後退位置B’において、揺動子37を解放するため、揺動子37がスライドキャッチ36の突起42を押す。突起42に対する揺動子37の作用によって、スライドキャッチ36は制止される。スライドキャッチ36がD方向に枢動することにより、スライドキャッチ36の上昇が防止され、同時に半自動ラチェット47および自動ラチェット48が引き金5から解放される。
揺動子37の歯56がレバー52の歯57の後ろに挿入されることによって、レバー52は揺動子37により撃鉄キャッチ26から外れた状態で保持されるため、撃鉄キャッチ28を制止することができない。
静止位置において、スライド7は、リコイルスプリング8の影響により、前方位置に配置され、撃鉄24は、撃鉄24の肩部29が撃鉄キャッチ28の前面30に接触することによって、撃鉄キャッチ28によって作動可能位置に保持される。閉鎖キャッチ58は、同時に、スライド7のエンドストップにより、撃鉄のストップ59から外れる。
図20に示されているように圧力Cが引き金5にかかると、撃鉄キャッチ28が外れて撃鉄24を解放する。これにより、撃針10に対する衝撃によって弾薬筒の撃発Fが可能になる。
単射キャッチ32は、スプリング33の推進力によって高位置に置かれる。
ガスポートのレベルにおけるガス取り出しの影響により、スライド7は、図21に示すようにスライド7を後退E’させる推進力を受ける。スライド7の後退E’により、撃鉄24が軸25の周囲を枢動し、撃鉄スプリング26を圧縮する。
スライドの保持爪51が撃鉄24に接続されると、この保持爪51は撃鉄24を低位置に枢動させて、撃鉄24のフック部35を単射キャッチ32のフック部34の下に入れる。
スライド7がレシーバ内でその路程の終点に達すると、次の弾薬筒を送り込み、次に図22に示すようにリコイルスプリング8の効果により前方位置で停止する。
次に、撃鉄24は、射手が引き金5に対する圧力を緩めるまで、単射キャッチ32によって低位置の所定位置に保持される。射手が引き金5に対する圧力を緩めると、単射キャッチ32が撃鉄24から外れるため、撃鉄キャッチ28の前面30が撃鉄24の肩部29に当たることによって、撃鉄24は作動可能位置に保持される。
「クローズドボルトからの発砲」、自動発砲モード
この発砲モードの特徴は、発砲セレクタ6が自動モードに位置付けられ、制御ロッド22が小火器1の後部側の位置B’に配置される点である。静止位置が図23に示されている。
制御ロッド22の位置B’は、熱アクチュエータ13が相変化温度未満の温度に達したときにピストン16を後退させるスプリング23の圧力によって決まる。
このスプリング23は、プッシュロッド21を介して、制御ロッド22を後方に移動させる。
制御ロッド22は、その後退位置B’において揺動子37を解放するため、揺動子37は、スプリング39の影響下でスライドキャッチ36を圧迫し、スライドキャッチ36を低位置に保持する。
この揺動子37はスライドキャッチ36の上昇を防止し、制御レバー44を介して、半自動ラチェット47および自動ラチェット48を引き金5から解放する。
揺動子37の歯56が制止レバー52の歯57の後ろに挿入されることによって、揺動子37により制止レバー52が撃鉄キャッチ28から外れた状態で保持されるため、制止レバー52は撃鉄キャッチ28を制止することができない。
スライド7は、リコイルスプリング8の影響下で前方の静止位置に位置付けられ、閉鎖キャッチ58をストップ59から外れた位置に保持する。
撃鉄24は、撃鉄キャッチ28によって作動可能位置に保持される。
図24に示すように圧力Cが引き金5にかかると、撃鉄キャッチ28が外れ、撃鉄24を解放する。これにより、弾薬筒の撃発が可能になる。
単射キャッチ32は、発砲セレクタ6への接続によって、高位置への配置が防止される。これにより、半自動モードでの発砲が防止される。
ガスポートにおけるガス取り出しの影響により、スライド7はスライド7を後退させる推進力を受ける。スライド7の後退により、撃鉄24が軸25の周囲を枢動する。
スライドの保持爪51が撃鉄24に接続されると、この保持爪51が撃鉄24を低位置に枢動させる。これにより、撃鉄24は、スライド7との接触により、作動可能位置に保持される。
スライド7は、レシーバ内でその路程の終点に達すると、次の弾薬筒を送り込み、次にリコイルスプリング8の影響下で前方位置で停止する。その前方位置に到達する前に、スライド7は撃鉄24を解放する。撃鉄24は閉鎖キャッチ58によって停止される。次に、スライド7は、エンドストップ61との接触により、閉鎖キャッチ58を作動させる。これにより、撃鉄24が解放され、次の弾丸の発射が可能になる。
その後、射手が引き金5に対する圧力を緩めるまで、小火器は発砲を継続する。射手が引き金5に対する圧力を緩めると、撃鉄キャッチ28が静止位置に戻り、撃鉄24を作動可能位置に位置付ける。
一般に、上記の各操作モードは、発砲セレクタの軸の形状と、オープンボルトモードからクローズドボルトモードへの切り替え時の選択制御子37の動作とによって可能になる。
第1に、発砲セレクタ6の軸の形状により、以下が可能になる。
−半自動または間欠発砲モード位置においては、
−自動モードラチェット48が引き金5から外れ、
−撃鉄キャッチ28の制止レバー52が撃鉄キャッチ28から外れ、
−単射キャッチ32の回転が阻止されないため、引き金5に圧力がかかっている限り、撃鉄24を作動可能位置に保持できる。
−自動発砲モード位置においては、
−自動モードラチェット48が引き金5に載り、
−引き金5に圧力がかかったときに、撃鉄キャッチ28の制止レバー52が撃鉄キャッチ28を制止でき、
−単射キャッチ32の回転が阻止されるので、単射キャッチ32は撃鉄24を作動可能位置に保持しない。
第2に、選択制御子37により、以下が決まる。
−クローズドボルト発砲位置においては、
−スライドキャッチ36がスライドから外れた位置に制止され、
−撃鉄キャッチ28の自由な動きを可能にするために、制止レバー52が撃鉄キャッチ28から外れる。
−オープンボルト発砲位置においては、
−選択制御子37はスライドキャッチ36の移動を妨げず、
−引き金5が押されたときに撃鉄キャッチ28を制止できるように、選択制御子37は制止レバー52の動きを妨げない。
一般に、本発明は、半自動および自動発砲モードで使用するために撃針10を作動させる撃発機構と、スライド7と、スライド7を後退位置に引き止めるスライドキャッチ36を有するオープンボルトからの発砲用のキャッチ機構と、オープンボルトモードでスライドキャッチ36を作動させる機構と、このキャッチ36の機構と撃発機構との間の同期機構43とを備え、これらの2つの機構間の連係により、選択制御子37の位置に応じて小火器をオープンボルトモードまたはクローズドボルトモードで可逆的に機能させることができる小火器に関する。
本発明は上記の例に限定されるものでは決してなく、本発明の範囲内から逸脱することなく、本小火器および上記のプロセスに対して多数の変更をなしうることは明らかである。
例えば、熱アクチュエータを上記とは別の種類に置き換えることも、あるいは射手がクローズドボルト発砲位置からオープンボルト発砲位置への切り替え、およびこの逆の切り替えを選択できる手動制御システムを本システムに備えることによって、このようなアクチュエータを省くことも考えられる。さらに、例えば、薬室の温度を測定し、この温度が所与のレベルに達したときにオープンボルトモードおよびクローズドボルト間の切り替えを駆動する電子式および機械式システムを設けることも可能である。
撃針10を作動させる撃発機構は、必ずしも撃鉄を備える必要はなく、スプリングのみで作動状態にされ、キャッチによって解放される撃針を設けて設計することもできる。この場合、同期機構は、撃発機構とスライドキャッチとの間に配置されることになる。
4’ 銃身延長部
5 引き金
6 発砲セレクタ
7 スライド
9 ボルト
10 撃針
22 制御ロッド
24 撃鉄
25 軸
26 スプリング
27 枢軸
28 撃鉄キャッチ
29 肩部
30 前面
31 リリーススプリング
32 単射キャッチ
33 リリーススプリング
34 フック部
35 フック部
36 スライドキャッチ
37 選択制御子
38 枢軸
39 キャッチスプリング
40 凹部
41 軸
42 突起
43 同期機構
44 制御レバー
45 ヒンジ
46 回転軸
47 半自動ラチェット
48 自動ラチェット
49 リリーススプリング
50 突耳
51 保持爪
52 制止レバー
53 フック部
54 リリーススプリング
58 跳ね上げおよび閉鎖キャッチ
60 リリーススプリング

Claims (22)

  1. 自動発砲モードから半自動発砲モードに切り替えるための発砲モードセレクタ(6)を有する自動小火器であって、自動発砲モードであるか半自動発砲モードであるかに拘らず、クローズドボルト発砲モードまたはオープンボルト発砲モードでの前記小火器(1)の作動を可能にする選択制御子(37)を含む発砲機構(11)を備えた小火器(1)。
  2. 撃針(10)を作動させて半自動発砲および自動発砲を可能にする撃発機構と、スライド(7)と、前記スライド(7)を後退位置に保持できるスライドキャッチ(36)と、前記スライドキャッチ(36)の作動機構と、選択制御子(37)の位置に応じて前記小火器をクローズドボルトモードまたはオープンボルトモードで可逆的的に作動させるために前記スライドキャッチ(36)または前記スライドキャッチ(36)の前記作動機構と前記撃発機構とを同期させる同期機構(43)とを備える、請求項1に記載の小火器。
  3. 銃身(4)の温度が所定の温度を超えたときは前記クローズドボルトからの発砲から前記オープンボルトからの発砲への切り替えを制御し、前記銃身(4)の前記温度が所定の温度未満になったときは逆に前記オープンボルトからの発砲から前記クローズドボルトからの発砲への切り替えを制御する熱アクチュエータ(13)によって前記選択制御子(37)が作動される、請求項1または2に記載の小火器。
  4. 前記熱アクチュエータ(13)は、前記銃身(4)に取り付けられた、相変化物質を有するアクチュエータであり、前記アクチュエータ(13)は、前記温度において相が変化し、このような相変化に伴い体積が変化する物質で満たされ、前記アクチュエータはロッド(12)を介して前記選択制御子(37)に接続されたピストン(16)を含む、請求項3に記載の小火器。
  5. レシーバ(2)と、ローダ(3)と、薬室を有する銃身(4)と、後退位置と前進位置との間で前記銃身(4)の方向に摺動可能であり、撃針(10)と前記撃針(10)を作動させることができる撃発機構とを備えたスライド(7)であって、前記前進位置で弾薬筒が前記薬室に装填されてロックされるスライド(7)と、引き金(5)であって、前記引き金(5)が作動されるまでは前記撃発機構を作動可能位置に保持し、前記引き金(5)が押されたときに前記撃発機構を解放するためのキャッチ(28)を備えた引き金(5)と、前記引き金(5)が解放されるまでは前記撃発機構(10)を作動可能位置に制止する単射キャッチ(32)と、半自動発砲モードにおいて前記単射キャッチ(32)を作動させ、自動発砲モードにおいてこのキャッチ(32)を作動させないための自動発砲モードまたは半自動発砲モード用のセレクタ(6)と、を備える小火器であって、前記小火器(1)は、スライドキャッチ(36)と選択制御子(37)とを備え、前記スライドキャッチ(36)と前記撃発機構との間に設けられた同期機構(43)を有し、前記選択制御子(37)の位置に応じて、クローズドボルト発砲の場合は前記スライドキャッチ(32)を前記スライド(7)から外れた位置に制止し、オープンボルト発砲の場合は前記スライドキャッチ(36)を解放して、このスライドキャッチ(36)が前記スライド(7)の移動を停止させて後退位置に制止できるようにする小火器。
  6. 前記撃発機構は撃鉄(24)を備え、前記撃鉄(24)は、前記スライド(7)の前記後退によって作動可能状態に置かれるスプリング(26)の推進力によって前記撃針を作動させるために軸(25)の周囲を枢動し、前記引き金は、前記引き金(5)が作動されるまでは前記撃鉄(24)を作動可能位置に保持し、前記引き金(5)が押されたときに前記撃鉄(24)を解放するための撃鉄キャッチ(28)を備え、前記同期機構は前記スライドキャッチ(36)と前記撃鉄(24)との間に配置される、請求項2乃至5の何れか1項に記載の小火器。
  7. 前記同期機構(43)は、半自動モードラチェット(47)を備え、前記半自動モードラチェット(47)は、伝動機構によって前記スライドキャッチ(36)に連結され、オープンボルト発砲モードにおいては、前記引き金(5)の操作によって前記スライドキャッチ(36)を外せるように前記引き金(5)の一端に載り、半自動発砲モードにおいては、前記半自動モードラチェット(47)は、前記スライド(7)の前記後退中に前記撃鉄(24)と連動して前記ラチェット(47)を前記引き金(5)から外すことができ、これにより前記スライドキャッチ(36)が解放されて前記スライド(7)の前記移動を停止させ、キャッチスプリング(39)の影響下で前記スライド(7)を後退位置に制止することができる、請求項2乃至6の何れか1項に記載の小火器。
  8. 前記同期機構(43)の前記伝動機構は、前記レシーバ(2)に取り付けられた軸(41)の周囲を枢動可能な制御レバー(44)を備え、前記制御レバー(44)は前記キャッチスプリング(39)を備え、前記制御レバー(44)の一端は、前記レシーバ(2)の枢軸(38)に取り付けられた前記スライドキャッチ(36)の一端に関着され、前記レバー(44)の他端は、前記半自動ラチェット(47)を支持する回転軸(46)を備え、前記半自動ラチェット(47)は、オープンボルト発砲モードにおいては、前記キャッチスプリング(39)および前記ラチェット(47)のリリーススプリング(49)の影響下で前記引き金(5)に載る、請求項7に記載の小火器。
  9. 前記半自動ラチェット(47)は、前記単射キャッチ(32)を介して前記撃鉄(24)と連動可能である、請求項7または8に記載の小火器。
  10. 前記半自動ラチェット(47)は突耳(50)を備え、前記突耳(50)は、前記ラチェット(47)が前記引き金(5)に載っているときは、前記単射キャッチ(32)の回転経路に位置し、前記スライド(7)は前記スライドの保持爪(51)を備え、前記保持爪(51)は、前記スライド(7)の後退時に、前記半自動ラチェット(47)を前記引き金(5)から外すために、前記単射キャッチ(32)を作動させる方向に前記撃鉄(24)を十分に枢動させる、請求項7乃至9の何れか1項に記載の小火器。
  11. 前記同期機構(43)は自動モードラチェット(48)を備え、前記自動モードラチェット(48)は、伝動機構によって前記スライドキャッチ(36)に連結され、半自動発砲モードにおいてはリリーススプリング(49)によって前記引き金(5)から外れた状態に保持され、自動発砲モードにおいては前記引き金(5)の操作によって前記スライドキャッチ(36)を外せるように自動発砲モードにおける前記発砲セレクタ(6)の動作によって前記引き金(5)の一端に載る、請求項2乃至10の何れか1項に記載の小火器。
  12. 前記伝動機構は前記半自動モードラチェット(47)および前記自動モードラチェット(48)に対して同一であり、これらの2つのラチェット(47、48)は、前記伝動機構の前記制御レバー(44)の一端に取り付けられた回転軸(46)によって支持される、請求項11に記載の小火器。
  13. 前記選択制御子(37)は、揺動子(37)の形状に設計され、オープンボルト発砲モードに対応する位置においては前記スライドキャッチ(36)を前記スライド(7)から外れる位置に制止し、クローズドボルト発砲モードに対応する位置においては前記スライドキャッチ(36)の移動を妨げない、請求項2乃至12の何れか1項に記載の小火器。
  14. 前記選択制御子(37)は前記制御レバー(44)の前記軸(41)上を枢動できるように取り付けられる、請求項13に記載の小火器。
  15. 前記同期機構(43)は、前記撃鉄キャッチ(28)の制止レバー(52)を備え、前記制止レバー(52)は、前記制止レバー(52)を前記撃鉄キャッチ(28)の方向に付勢するリリーススプリング(54)を備え、前記撃鉄キャッチ(28)は前記発砲セレクタ(6)によって制御され、前記発砲セレクタ(6)は、半自動発砲モードにおいては前記撃鉄キャッチ(28)の自由な動きを可能にするために前記制止レバー(52)を前記撃鉄キャッチ(28)から外し、前記自動発砲モードにおいては前記引き金(5)が押されたときに前記撃鉄キャッチ(28)を制止するために前記制止レバー(52)を解放する、請求項2乃至14の何れか1項に記載の小火器。
  16. 前記撃鉄キャッチ(28)の前記制止レバー(52)は、前記スライドキャッチ(36)の前記軸(38)の周囲を枢動可能であり、前記撃鉄キャッチ(28)の後ろに係合可能なフック部(53)を備える、請求項15に記載の小火器。
  17. オープンボルト発砲モードまたはクローズドボルト発砲モード用の前記選択制御子(37)は、クローズドボルト位置においては、前記撃鉄キャッチ(28)の自由な動きを可能にするために、前記撃鉄キャッチ(28)の前記制止レバー(52)を前記撃鉄キャッチ(28)から外れた位置に制止するように設計される、請求項15または16に記載の小火器。
  18. 前記選択制御子(37)は、前記制止レバー(52)の歯(57)の後ろに引っ掛かることができる歯(56)を備える、請求項17に記載の小火器。
  19. 前記発砲セレクタ(6)は、
    −前記半自動発砲モードにおいては、
    −前記自動ラチェット(48)が前記引き金(5)から外れ、
    −前記撃鉄キャッチ(28)の前記制止レバー(52)が前記撃鉄キャッチ(28)から外れ、
    −前記単射キャッチ(32)は、前記引き金(5)が押されている限りは、回転が妨げられず、前記撃鉄(24)を作動可能位置に保持することができ、
    −前記自動発砲モードにおいては、
    −前記自動ラチェット(48)は前記引き金(5)に載り、
    −前記撃鉄キャッチ(28)の前記制止レバー(52)は、前記引き金(5)が押されたときに前記撃鉄キャッチ(28)を制止でき、
    −前記単射キャッチ(32)は回転が妨げられて前記撃鉄(24)を作動可能位置に保持できない、
    ような形状を有する、請求項15または16に記載の小火器。
  20. 前記選択制御子は、
    −前記クローズドボルトからの前記発砲モードにおいては、
    −前記スライドキャッチ(36)は前記スライド(7)から外れた位置に制止され、
    −前記制止レバー(52)は、前記撃鉄キャッチ(28)の自由な動きを可能にするために、前記撃鉄キャッチ(28)から外れ、
    −前記オープンボルトからの前記発砲モードにおいては、
    −前記選択制御子(37)は前記スライドキャッチ(36)の前記動きを妨げず、
    −前記選択制御子(37)は、前記引き金(5)が押されたときに前記撃鉄キャッチ(28)を制止できるように前記制止レバー(52)の前記動きを妨げない、
    ように設計される、請求項15乃至19に記載の小火器。
  21. 前記小火器は、リリーススプリング(60)を備えた傾斜可能な閉鎖キャッチ(58)を備え、前記閉鎖キャッチ(58)は、前記スライド(7)が前記スライド(7)の前記閉鎖運動の前記終点に達していない限り、前記撃鉄(24)を作動可能位置に制止できる、
    請求項1乃至20の何れか1項に記載の小火器。
  22. 請求項1乃至21の何れか1項に記載の小火器(1)に適用可能な発砲機構。
JP2009238854A 2008-10-17 2009-10-16 小火器 Expired - Fee Related JP5416541B2 (ja)

Applications Claiming Priority (2)

Application Number Priority Date Filing Date Title
BE2008/0574 2008-10-17
BE2008/0574A BE1018373A3 (fr) 2008-10-17 2008-10-17 Arme a feu.

Publications (2)

Publication Number Publication Date
JP2010101616A true JP2010101616A (ja) 2010-05-06
JP5416541B2 JP5416541B2 (ja) 2014-02-12

Family

ID=40791515

Family Applications (1)

Application Number Title Priority Date Filing Date
JP2009238854A Expired - Fee Related JP5416541B2 (ja) 2008-10-17 2009-10-16 小火器

Country Status (14)

Country Link
US (1) US8225705B2 (ja)
EP (1) EP2177860B1 (ja)
JP (1) JP5416541B2 (ja)
KR (1) KR101362531B1 (ja)
AT (1) ATE549592T1 (ja)
AU (1) AU2009227826B2 (ja)
BE (1) BE1018373A3 (ja)
BR (1) BRPI0905594B1 (ja)
CA (1) CA2683223C (ja)
ES (1) ES2383728T3 (ja)
IL (1) IL201551A (ja)
SG (1) SG161174A1 (ja)
TW (1) TWI422794B (ja)
ZA (1) ZA200907203B (ja)

Cited By (2)

* Cited by examiner, † Cited by third party
Publication number Priority date Publication date Assignee Title
JP2021513049A (ja) * 2018-02-09 2021-05-20 エフエヌ・ハースタル・エス・ア 小火器の安全装置
JP2021513639A (ja) * 2018-02-09 2021-05-27 エフエヌ・ハースタル・エス・ア 小火器のトリガー機構

Families Citing this family (24)

* Cited by examiner, † Cited by third party
Publication number Priority date Publication date Assignee Title
US8051595B2 (en) 2004-06-16 2011-11-08 Colt Defense, Llc Automatic or semi-automatic rifle
US9459060B2 (en) 2009-10-05 2016-10-04 Colt's Manufacturing Ip Holding Company Llc Modular firearm
WO2011044169A1 (en) 2009-10-05 2011-04-14 Colt Defense Llc Modular automatic or semi-automatic rifle
US8973483B2 (en) 2010-03-25 2015-03-10 Arm West, Llc Gas regulator system
CN102906531B (zh) 2010-03-25 2016-08-03 西部装备有限责任公司 具有多个弹簧的高容量弹匣
US9038525B2 (en) * 2011-01-14 2015-05-26 ArmWest, LLC Firearm
US9488423B2 (en) 2011-01-14 2016-11-08 Arm West, Llc Firearm systems and methods
ES2684086T3 (es) * 2011-01-14 2018-10-01 ArmWest, LLC Arma de fuego
USD670351S1 (en) * 2011-04-02 2012-11-06 Davirg Products, LLC Trigger block
USD699806S1 (en) * 2012-01-16 2014-02-18 Raven Concealment Systems Llc Trigger guard assembly
RU2520700C1 (ru) * 2013-02-07 2014-06-27 Николай Евгеньевич Староверов Автоматическое оружие-5 /варианты/
US9052150B2 (en) * 2013-03-15 2015-06-09 Colt's Manufacturing Company Llc Firearm trigger mechanism, firearm and method of controlling a rate of the firearm
TW201500712A (zh) * 2013-06-21 2015-01-01 Yih Kai Entpr Co Ltd 槍支之擊發單元
US9448019B2 (en) * 2014-01-10 2016-09-20 Machinegunarmory, Llc Integrated slide-carrier and firing block assembly
US9541339B2 (en) 2015-03-26 2017-01-10 American Defense Manufacturing, Llc Ambidextrously operable firearm receiver assembly
US10401102B1 (en) 2015-07-31 2019-09-03 Aaron J. Carroll Firearm conversion device
USD777282S1 (en) * 2015-10-22 2017-01-24 Fn Herstal Sa Machine gun
EP3660440A1 (en) * 2016-01-13 2020-06-03 Bascom, Brian Edward Auto-loading firearm with selectable live fire and training modes
US10488136B2 (en) * 2016-09-23 2019-11-26 ArmWest, LLC Selective fire firearm systems and methods
US10222160B2 (en) 2017-02-03 2019-03-05 Varangian Investments, Llc Trigger assembly apparatus
US10724815B2 (en) 2017-02-03 2020-07-28 Varangian Investments, Llc Trigger assembly
EP3477239A1 (fr) * 2017-10-26 2019-05-01 FN Herstal S.A. Mitrailleuse
US11662170B2 (en) * 2019-10-22 2023-05-30 Bahtiyar Tasyagan Semi-automatic and full automatic working system at PCP air rifles
CN112923789B (zh) * 2021-01-25 2022-09-13 沈阳理工大学 一种枪械开膛待击和闭膛待击转换机构

Citations (5)

* Cited by examiner, † Cited by third party
Publication number Priority date Publication date Assignee Title
US3618455A (en) * 1969-07-25 1971-11-09 Gen Motors Corp Manual open- and closed-bolt weapon fire control with automatic heat responsive override
JPS61180898A (ja) * 1984-10-16 1986-08-13 スタ−ム・ル−ガ−・アンド・カンパニ−・インコ−ポレ−テツド 半自動火器
JPS62217100A (ja) * 1986-03-15 1987-09-24 防衛庁技術研究本部長 銃の制限点射装置
JP2004177249A (ja) * 2002-11-27 2004-06-24 Nippon Thermostat Co Ltd サーモエレメント
JP2008025764A (ja) * 2006-07-24 2008-02-07 Nitta Ind Corp 熱膨張ポリマーワックスアクチュエータ

Family Cites Families (3)

* Cited by examiner, † Cited by third party
Publication number Priority date Publication date Assignee Title
US2858741A (en) * 1956-07-11 1958-11-04 Clarence E Simpson Selective firing control for open and closed bolt positions
US20070051236A1 (en) * 2005-09-06 2007-03-08 Colt Canada Corporation Trigger mechanism for firearms with self-loading actions
US7806039B1 (en) * 2007-07-05 2010-10-05 Lwrc International, Llc Firearm with facility for open-bolt and closed-bolt operation

Patent Citations (5)

* Cited by examiner, † Cited by third party
Publication number Priority date Publication date Assignee Title
US3618455A (en) * 1969-07-25 1971-11-09 Gen Motors Corp Manual open- and closed-bolt weapon fire control with automatic heat responsive override
JPS61180898A (ja) * 1984-10-16 1986-08-13 スタ−ム・ル−ガ−・アンド・カンパニ−・インコ−ポレ−テツド 半自動火器
JPS62217100A (ja) * 1986-03-15 1987-09-24 防衛庁技術研究本部長 銃の制限点射装置
JP2004177249A (ja) * 2002-11-27 2004-06-24 Nippon Thermostat Co Ltd サーモエレメント
JP2008025764A (ja) * 2006-07-24 2008-02-07 Nitta Ind Corp 熱膨張ポリマーワックスアクチュエータ

Cited By (4)

* Cited by examiner, † Cited by third party
Publication number Priority date Publication date Assignee Title
JP2021513049A (ja) * 2018-02-09 2021-05-20 エフエヌ・ハースタル・エス・ア 小火器の安全装置
JP2021513639A (ja) * 2018-02-09 2021-05-27 エフエヌ・ハースタル・エス・ア 小火器のトリガー機構
JP7322040B2 (ja) 2018-02-09 2023-08-07 エフエヌ・ハースタル・エス・ア 小火器の安全装置
JP7448478B2 (ja) 2018-02-09 2024-03-12 エフエヌ・ハースタル・エス・ア 小火器

Also Published As

Publication number Publication date
ZA200907203B (en) 2010-07-28
IL201551A0 (en) 2010-06-16
EP2177860A1 (fr) 2010-04-21
EP2177860B1 (fr) 2012-03-14
US8225705B2 (en) 2012-07-24
CA2683223A1 (en) 2010-04-17
ES2383728T3 (es) 2012-06-25
BRPI0905594B1 (pt) 2019-12-24
TW201024655A (en) 2010-07-01
SG161174A1 (en) 2010-05-27
BRPI0905594A2 (pt) 2011-03-29
CA2683223C (en) 2014-12-16
TWI422794B (zh) 2014-01-11
BE1018373A3 (fr) 2010-09-07
KR20100043026A (ko) 2010-04-27
US20100095833A1 (en) 2010-04-22
JP5416541B2 (ja) 2014-02-12
AU2009227826B2 (en) 2014-09-04
IL201551A (en) 2013-11-28
KR101362531B1 (ko) 2014-02-13
ATE549592T1 (de) 2012-03-15
AU2009227826A1 (en) 2010-05-06

Similar Documents

Publication Publication Date Title
JP5416541B2 (ja) 小火器
JP5932445B2 (ja) エアガンの弾丸発射機構
WO2015157753A1 (en) Fire control system for firearms
EP2019959B1 (en) Locking mechanism of a hand firearm
JPS5828995A (ja) 自動小銃
JP4363656B2 (ja) 射撃訓練用の模擬火器
KR20200128525A (ko) 화기를 위한 방아쇠 장치
CN112923789B (zh) 一种枪械开膛待击和闭膛待击转换机构
FR2562227A1 (fr) Dispositif perfectionne pour effectuer l'amenee de munitions en temps voulu dans des fusils semi-automatiques
US10309736B2 (en) Shell loading system for firearm
KR20200128524A (ko) 화기를 위한 안전장치
RU78562U1 (ru) Ударно-спусковой механизм самозарядного стрелкового оружия
KR100389182B1 (ko) 완전자동식 자동 장전 무기
US1007709A (en) Firearm.
WO2020190502A1 (en) Apparatus to minimize short stroke in a revolver
RU2446373C1 (ru) Устройство подачи патронов для многозарядного огнестрельного оружия
JP2657781B2 (ja) 玩具空気銃
JPH04103994A (ja) 自動てき弾銃
JP2025538621A (ja) 安全なコッキングハンドル
JPH03291497A (ja) 装薬保持装置
JPH07174490A (ja) 遊底式機関砲の遅発安全機構
JPH0587493A (ja) 玩具銃に於ける弾の発射装置

Legal Events

Date Code Title Description
A621 Written request for application examination

Free format text: JAPANESE INTERMEDIATE CODE: A621

Effective date: 20110708

A977 Report on retrieval

Free format text: JAPANESE INTERMEDIATE CODE: A971007

Effective date: 20121206

A131 Notification of reasons for refusal

Free format text: JAPANESE INTERMEDIATE CODE: A131

Effective date: 20130108

A521 Request for written amendment filed

Free format text: JAPANESE INTERMEDIATE CODE: A523

Effective date: 20130405

TRDD Decision of grant or rejection written
A01 Written decision to grant a patent or to grant a registration (utility model)

Free format text: JAPANESE INTERMEDIATE CODE: A01

Effective date: 20131022

A61 First payment of annual fees (during grant procedure)

Free format text: JAPANESE INTERMEDIATE CODE: A61

Effective date: 20131115

R150 Certificate of patent or registration of utility model

Ref document number: 5416541

Country of ref document: JP

Free format text: JAPANESE INTERMEDIATE CODE: R150

R250 Receipt of annual fees

Free format text: JAPANESE INTERMEDIATE CODE: R250

R250 Receipt of annual fees

Free format text: JAPANESE INTERMEDIATE CODE: R250

R250 Receipt of annual fees

Free format text: JAPANESE INTERMEDIATE CODE: R250

R250 Receipt of annual fees

Free format text: JAPANESE INTERMEDIATE CODE: R250

R250 Receipt of annual fees

Free format text: JAPANESE INTERMEDIATE CODE: R250

R250 Receipt of annual fees

Free format text: JAPANESE INTERMEDIATE CODE: R250

LAPS Cancellation because of no payment of annual fees