RU2446373C1 - Устройство подачи патронов для многозарядного огнестрельного оружия - Google Patents
Устройство подачи патронов для многозарядного огнестрельного оружия Download PDFInfo
- Publication number
- RU2446373C1 RU2446373C1 RU2010143259/11A RU2010143259A RU2446373C1 RU 2446373 C1 RU2446373 C1 RU 2446373C1 RU 2010143259/11 A RU2010143259/11 A RU 2010143259/11A RU 2010143259 A RU2010143259 A RU 2010143259A RU 2446373 C1 RU2446373 C1 RU 2446373C1
- Authority
- RU
- Russia
- Prior art keywords
- tray
- trigger
- magazine
- cartridge
- lever
- Prior art date
Links
- 230000000694 effects Effects 0.000 abstract description 2
- 239000000126 substance Substances 0.000 abstract 1
- 230000009471 action Effects 0.000 description 17
- 230000007246 mechanism Effects 0.000 description 9
- 230000000903 blocking effect Effects 0.000 description 2
- 230000003993 interaction Effects 0.000 description 2
- 230000004048 modification Effects 0.000 description 2
- 238000012986 modification Methods 0.000 description 2
- 230000000630 rising effect Effects 0.000 description 2
- 239000002775 capsule Substances 0.000 description 1
- 230000008859 change Effects 0.000 description 1
- 238000000605 extraction Methods 0.000 description 1
- 238000010304 firing Methods 0.000 description 1
- 230000004044 response Effects 0.000 description 1
Images
Landscapes
- Toys (AREA)
Abstract
Изобретение относится к устройству подачи патронов для многозарядного огнестрельного оружия, в частности полуавтоматического или автоматического ружья. В устройстве подачи патронов курок снабжен средством опускания лотка и средством снятия блокировки лотка, выполненными так, что при перемещении курка в положение удара по ударнику средство снятия блокировки лотка обеспечивает снятие блокировки лотка в промежуточном положении, а средство опускания лотка -принудительное опускание лотка в нижнее положение, при котором патрон освобождается из магазина и поступает на лоток. Устраняется опасность «пустой» перезарядки ружья, что обеспечивает стабильность и надежность работы оружия. 6 з.п. ф-лы, 19 ил.
Description
Область техники, к которой относится изобретение
Настоящее изобретение относится к устройству подачи патронов для многозарядного огнестрельного оружия, в частности полуавтоматического или автоматического ружья.
Предшествующий уровень техники
Многозарядное огнестрельное оружие, в частности полуавтоматические или автоматические ружья, имеющие газоотводной механизм, или ружья с коротким или длинным ходом ствола, осуществляющие инерционный принцип работы, или ружья с ручным перезаряжанием (помповым действием), оснащается устройством подачи патронов, подающим очередной патрон из магазина оружия на лоток для подачи в патронник, перед нанесением курком удара по ударнику. Поскольку конструкции ружей и их основные составные части известны специалисту, в настоящем описании раскрывается только устройство подачи патронов из магазина в патронник.
Устройства подачи известны из уровня техники.
В документе US 6742298, 01.06.2004 раскрыта блокировка, предназначенная для устройства подачи патронов ружья с подствольным магазином, в котором лоток, который получает из магазина патрон и подает его затем к патроннику, удерживается посредством блокировки, взаимодействующей с курком, в промежуточном положении, в котором невозможна подача патрона из магазина на лоток. При приведении в действие курка происходит снятие блокировки и освобождение лотка для его перемещения в положение, при котором осуществляется подача патрона из магазина на лоток.
Также в документе US 4601122, 22.07.1986 раскрыто ружье, имеющее подствольный магазин и устройство подачи патронов, содержащее лоток, который получает от магазина патрон и поставляет его к патроннику; рычаг, который, взаимодействуя с лотком, может изменять свое положение - от положения, в котором этот рычаг препятствует выходу патронов из магазина на лоток, на положение, в котором этот рычаг позволяет выход патрона на лоток, для дальнейшей подачи его в патронник.
В современном огнестрельном оружии существует потребность сокращения времени срабатывания ударного механизма и механизма перезарядки, которое в целом желательно свести к минимальному технологически достижимому значению. Вследствие этого, в известных из предшествующего уровня техники конструкциях устройства подачи патронов, часто возникает ситуация, когда лоток, вследствие как собственной инерционности, так и инерционности опускающих его средств, например пружины, не успевает своевременно опуститься в нижнее положение для освобождения патрона в магазине, до момента выстрела.
Особенно часто данная проблема возникает в случае мощных боеприпасов и при высоких скоростях работы затворного механизма оружия.
Если лоток не достигает нижнего положения, то следующий патрон не может поступить на лоток, до того, как лоток под действием затвора, начинает подъем. Следовательно, происходит цикл «пустой» перезарядки ружья, которое оказывается с взведенным курком, закрытым затвором и пустым патронником. В результате работа оружия становится нестабильной и ненадежной.
Сущность изобретения
Задачей настоящего изобретения является создание усовершенствованного устройства подачи патронов для многозарядного огнестрельного оружия с любым типом перезаряжания, в частности ружья полуавтоматического или автоматического типа с подствольным магазином, которое является надежным в работе и предотвращает возникновение цикла «пустой» перезарядки.
Для обеспечения решения этой задачи в устройстве подачи патронов в настоящем изобретении предусмотрено фиксирование лотка в промежуточном положении, освобождение лотка и его опускание в нижнее положение для освобождения патрона в магазине до воздействия курка на ударник и блокировка лотка в этом нижнем положении до подачи патрона из магазина на лоток.
Согласно настоящему изобретению предлагается устройство подачи патронов для многозарядного огнестрельного оружия с любым типом перезаряжания, в частности ружья полуавтоматического или автоматического типа, включающего в себя ствол, патронник в стволе, затвор для открывания и закрывания патронника, ударник в упомянутом затворе, курок для нанесения удара по ударнику и шептало для удержания курка, спусковой крючок для освобождения курка от шептала, а также магазин для размещения запасных патронов, снабженный средством подачи патронов из магазина, при этом устройство содержит лоток для принятия патронов из магазина и подачи к патроннику, рычаг управления подачей патронов из магазина к лотку, блокировку для удержания лотка в промежуточном положении. Настоящее изобретение характеризуется тем, что курок снабжен средством опускания лотка и средством снятия блокировки лотка, выполненными так, что при перемещении курка в положение удара по ударнику средство снятия блокировки лотка обеспечивает снятие блокировки лотка в промежуточном положении, а средство опускания лотка - принудительное опускание лотка в нижнее положение, при котором патрон освобождается из магазина и поступает на лоток, при этом рычаг управления подачей патронов из магазина к лотку при опускании лотка поворачивается из положения, в котором он препятствует поступлению патронов из магазина, в положение, при котором он блокирует лоток в нижнем положении и позволяет патрону из магазина поступать к лотку.
В одном варианте средство опускания лотка представляет собой выступ, выполненный за одно целое с курком.
Также возможно, что средство опускания лотка представляет собой рычаг, установленный с возможностью поворота на оси курка. Рычаг может быть оснащен средствами для геометрического или кинематического взаимодействия с курком и осуществления совместного поворота.
Согласно настоящему изобретению может быть предусмотрено, что упомянутый рычаг выполнен с возможностью взаимодействия с боевой пружиной курка для поворота на оси курка и опускания лотка.
В предпочтительном варианте курок может быть дополнительно оснащен выступом для взаимодействия с упомянутым рычагом и приведения его в первоначальное положение.
Согласно настоящему изобретению средство снятия блокировки лотка представляет собой зуб, выполненный за одно целое с курком и взаимодействующий с геометрическим и силовым замыканием с блокировкой лотка. Для осуществления геометрического и силового замыкания блокировка лотка выполнена в форме, соответствующей форме зуба. Поскольку средства для создания геометрического и силового замыкания элементов в целом известны специалисту, в настоящем описании они дополнительно не поясняются.
Альтернативно, средство снятия блокировки лотка может представлять собой зуб, выполненный за одно целое с упомянутым рычагом и взаимодействующий с геометрическим и силовым замыканием с блокировкой лотка.
За счет предлагаемой конструкции устройства подачи патронов для многозарядного огнестрельного оружия полностью устраняется возникновение цикла «пустой» перезарядки ружья, что обеспечивает надежное использование оружия, при этом лоток гарантированно занимает нижнее положение до момента воздействия курка на ударник, таким образом, инерционность деталей механизма подачи не сказывается на надежность работы подающего механизма.
Детали и преимущества настоящего изобретения станут более очевидными из последующего описания изобретения, представленного ниже со ссылкой на прилагаемые чертежи.
Представленные примеры являются только иллюстрацией, обеспечивающей понимание принципа настоящего изобретения для специалиста, в рамках которого возможны различные модификации, и они не служат для ограничения объема притязаний, который определяется только формулой настоящего изобретения.
ОПИСАНИЕ ЧЕРТЕЖЕЙ
Фиг. 1 - продольный разрез секции ружья с взведенным курком, готовым к выстрелу, с патроном в патроннике и с запасными боеприпасами, размещенными в магазине, в одном варианте выполнения средства опускания лотка;
Фиг. 2 - разрез по линии II-II Фиг. 1;
Фиг. 3 - продольный разрез ружья, в котором лоток находится в промежуточном положении;
Фиг. 4 - продольный разрез ружья, в котором курок наносит удар по ударнику, а лоток находится в нижнем положении и готов к приему нового патрона из магазина;
Фиг. 5 - разрез по линии V-V Фиг. 4;
Фиг. 6 - продольный разрез ружья, в котором оружие находится в положении после выстрела, когда новый патрон уже помещен на лоток;
Фиг. 7 - разрез по линии А-А Фиг. 6;
Фиг. 8 - продольный разрез ружья, при этом лоток находится в верхнем положении для подачи патрона в патронник;
Фиг. 9 - продольный разрез секции ружья с взведенным курком, готовым к выстрелу патроном в патроннике и с запасными боеприпасами, размещенными в магазине, в другом варианте выполнения средства опускания лотка;
Фиг. 10 - разрез по линии II-II Фиг. 9;
Фиг. 11 - продольный разрез ружья, в котором лоток находится в промежуточном положении во втором варианте выполнения средства опускания лотка;
Фиг. 12 - продольный разрез ружья, в котором курок наносит удар по ударнику, а лоток находится в нижнем положении и готов получить новый патрон из магазина;
Фиг. 13 - разрез по линии V-V Фиг. 12;
Фиг. 14 - продольный разрез ружья, в котором оружие находится в положении после выстрела, когда новый патрон уже помещен на лоток;
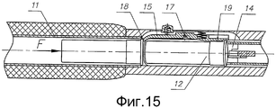
Фиг. 15 - разрез по линии А-А Фиг. 14;
Фиг. 16 - продольный разрез ружья, при этом лоток находится в верхнем положении для подачи патрона в патронник;
Фиг. 17 - продольный разрез секции ружья с взведенным курком, готовым к выстрелу патроном в патроннике и с запасными боеприпасами, размещенными в магазине, в альтернативном варианте выполнения средства снятия блокировки лотка;
Фиг. 18 - продольный разрез секции ружья с взведенным курком, готовым к выстрелу патроном в патроннике и с запасными боеприпасами, размещенными в магазине, в альтернативном варианте выполнения средства опускания лотка;
Фиг. 19 - разрез по линии II-II Фиг. 18.
На сопровождающих фигурах позиции, относящие к одинаковым элементам, имеют общее обозначение.
Так, на фиг. 1-19 позиция 1 относится в целом к ружью, в частности полуавтоматическому ружью с подствольным магазином. Ружье включает в себя ствол 2 с патронником 3, в котором размещен патрон 4, затвор 5 для открытия и закрытия патронника 3, содержащий размещенный в нем ударник 6, курок 7, приводимый в действие пружиной 8 через толкатель 30 курка и предназначенный для удара по ударнику 6, шептало 9 для удержания курка 7 во взведенном положении и спусковой крючок 10, который управляет шепталом 9 для освобождения курка 7.
Под стволом 2 расположен магазин 11 для запасных боеприпасов 12, перемещаемых в направлении стрелки F, например, посредством пружины (не показана), отсек 13 подачи, в котором расположен лоток 14, который служит для получения патрона из магазина и подъема его на линию досылания, когда затвор 5 закончит экстракцию стреляной гильзы патрона 4 и, одновременно, взведет курок 7.
В отсеке 13 подачи, сбоку относительно лотка 14 расположен рычаг 15, который имеет возможность вращения и поперечного перемещения относительно оси 17. Передний конец 18 рычага 15 препятствует движению патрона 12, который находится в магазине, и расположен перед отсеком 13 подачи. Задняя поверхность 19 рычага 15 взаимодействует с поверхностью 20 лотка 14, находящегося в промежуточном положении, при котором патрон 12 не может поступать из магазина 11 на лоток 14. Пружина 16, при опускании лотка 14, служит для перемещения рычага 15 в положение, которое позволяет выход патрона 12 из магазина на лоток 14.
Задняя часть лотка 14, взаимодействует с блокировкой 21 так, что последняя не дает лотку опуститься в нижнее положение, когда блокировка 21 находится в переднем положении. Блокировка 21 расположена на основании ударно-спускового механизма 22 и поджата пружиной 23. Эта пружина служит для возврата блокировки 21 в первоначальное положение.
Как показано, например, на фиг. 1, 9, блокировка 21 имеет зуб 24, который выполнен с возможностью геометрического и силового взаимодействия с зубом 25, расположенным на курке 7. При взаимодействии зубьев 24 и 25 обеспечивается перемещение блокировки 21 в заднее положение и освобождение лотка 14.
Согласно фиг. 1-8 на курке 7 расположен выступ 26, который при срабатывании курка и снятии блокировки лотка обеспечивает опускание лотка 14 из промежуточного положения в нижнее положение до момента воздействия курка 7 на ударник 6. При этом происходит освобождение патрона в магазине и поступление его на лоток 14.
Хотя действие ружья само по себе известно и не нуждается в дополнительном пояснении, следует обратить внимание на то, что прежде чем произойдет выстрел патроном 4, курок 7 во взведенном состоянии удерживается шепталом 9, и затвор 5 расположен в крайнем переднем положении, закрывая патронник 3. Такое положение изображено на фиг. 1 и 2. Блокировка 21 в этом случае находится в переднем положении, то есть под лотком 14, удерживая его в промежуточном положении. В этом положении, поверхность 20 лотка расположена на уровне напротив задней поверхности 19 рычага 15, при этом рычаг 15 находится в таком положении, чтобы передний конец 18 рычага препятствовал движению патрона 12 из магазина 11.
При нажатии на спусковой крючок 10 происходит расцепление шептала 9 с курком 7 и последний под действием пружины 8 и толкателя начинает вращаться вокруг своей оси для удара по ударнику 6. Однако, прежде чем курок ударит по ударнику, как показано на фиг. 3, зуб 25 курка начинает взаимодействие с зубом 24 блокировки 21 и при дальнейшем вращении курка 7 перемещает блокировку 21 к точке, где блокировка освободит лоток 14, а выступ 26 начнет взаимодействие с лотком.
Как показано на фиг.4 и 5, в момент, когда курок 7 нанесет удар по ударнику 6, выступ 26 курка опустит лоток 14 в нижнее положение. В это время, задняя поверхность 19 рычага 15 больше не удерживается поверхностью 20 лотка и рычаг 15 начинает свободно вращаться к внутренней части отсека подачи 13 вокруг оси 17 под действием пружины 16, блокируя задним концом лоток 14 от подъема, передний конец 18 рычага больше не блокирует патрон 12 в магазине, а ударник воспламенит капсюль патрона 4, находящегося в патроннике 3 ствола.
В момент выстрела под действием автоматики перезаряжания затвор 5 начинает перемещаться в заднее положение, экстрагируя стреляную гильзу, и взводит курок. Курок прекратит воздействие на зуб 24 блокировки 21, и та под действием пружины 23 переместится до соприкосновения с лотком. Патрон 12, под действием пружины, перемещается на лоток 14. По мере выхода из магазина патрон воздействует на заднюю поверхность 19 рычага 15, и тот в свою очередь поворачивается в обратном направлении вокруг оси 17 и передним концом 18 блокирует следующий патрон в магазине, а задний конец освобождает лоток - что изображено на фиг. 6 и 7.
Дойдя до заднего положения, затвор 5 под действием возвратного механизма начинает движение в переднее положение, поднимает лоток 14 с находящимся на нем патроном 12 на линию досылания. При этом блокировка 21 под действием пружины 23 занимает переднее положение. Такое положение изображено на фиг. 8.
При дальнейшем движении затвора 5, последний досылает патрон 12 в патронник 3 и запирает канал ствола, лоток 14 опускается до взаимодействия с блокировкой 21 и таким образом возвращает ружье в первоначальное положение, показанное на фиг. 1 и 2.
В варианте выполнения изобретения, показанном на фиг. 9-19, одинаковые элементы обозначены так же, как и на фиг. 1-8. При этом в данном варианте параллельно курку 7 на оси курка расположен рычаг 27, который имеет заднее плечо 29 для взаимодействия с толкателем 30 курка и переднее плечо 28 для взаимодействия с лотком 14.
Основная функция рычага 27 также заключается в обеспечении опускания лотка 14 из промежуточного положения в нижнее положение после освобождения блокировки 21 и до момента действия курка 7 на ударник 6. Как показано на прилагаемых чертежах, прежде чем произойдет выстрел патроном 4, курок 7 во взведенном состоянии удерживается шепталом 9, и затвор 5 расположен в крайнем переднем положении, закрывая патронник 3 (см. фиг. 9 и 10). Блокировка 21 находится в переднем положении, то есть под лотком 14, чтобы удерживать его в промежуточном положении. В этом положении, поверхность 20 лотка расположена напротив задней поверхности 19 рычага 15, при этом рычаг 15 находится в таком положении, чтобы передний конец 13 рычага препятствовал движению патрона 12 из магазина.
При нажатии на спусковой крючок 10 происходит расцепление шептала 9 с курком 7 и последний под действием пружины 8 и толкателя 30 курка начинает вращаться вокруг своей оси для удара по ударнику 6. Однако, прежде чем курок ударит по ударнику, зуб 25 курка начинает взаимодействие с зубом 24 блокировки 21 и при дальнейшем вращении курка 7 перемещает блокировку 21 к точке, где блокировка освободит лоток 14, в этот момент толкатель курка 30, воздействуя на заднее плечо 29 рычага 27, повернет его так, что переднее плечо 28 начнет взаимодействие с лотком (фиг.11).
В момент, когда курок 7 нанесет удар по ударнику 6, толкатель 30 курка повернет рычаг 27, а переднее плечо 28 опустит лоток 14 в нижнее положение. В это время, задняя поверхность 19 рычага 15 больше не удерживается поверхностью 20 лотка и рычаг 15 начинает свободно вращаться задней поверхностью 19 к внутренней части отсека подачи 13 вокруг оси 17 под действием пружины 16, блокируя задним концом лоток 14 от подъема, при этом передний конец 18 рычага больше не блокирует патрон 12 в магазине (фиг. 12 и 13), а ударник воспламенит патрон 4 в патроннике 3 ствола.
В момент выстрела под действием автоматики перезаряжания затвор 5 начинает перемещаться в крайнее заднее положение, экстрагируя стреляную гильзу, и взводит курок 7, последний в свою очередь, воздействуя на толкатель 30 курка, сжимает боевую пружину 8. Курок прекратит воздействие на зуб 24 блокировки 21, и она под действием пружины 23 переместится до соприкосновения с лотком. Патрон 12, под действием пружины, перемещается на лоток 14. По мере выхода из магазина патрон воздействует на заднюю поверхность 19 рычага 15, и тот в свою очередь поворачивается в обратном направлении вокруг оси 17 и передним концом 16 блокирует следующий патрон в магазине, а задний конец рычага освобождает лоток (фиг. 14 и 15). Дойдя до крайнего заднего положения, затвор 5, под действием возвратного механизма, начинает движение в крайнее переднее положение, поднимает лоток 14 с находящимся на нем патроном 12 на линию досылания. Лоток 14, воздействуя на переднее плечо 28, беспрепятственно повернет рычаг 27, поскольку курок 7 до этого момента переместит толкатель 30 курка в первоначальное положение, в котором толкатель 30 курка не взаимодействует с задним плечом 29 рычага 27. При этом блокировка 21 под действием пружины 23 занимает первоначальное положение. Такое положение изображено на фиг. 16.
При дальнейшем движении затвора 5, последний досылает патрон 12 в патронник 3 и запирает канал ствола, лоток 14 опускается до взаимодействия с блокировкой 21 и таким образом возвращает ружье в первоначальное положение, показанное на фиг. 9 и 10.
Настоящее изобретение не ограничивается приведенными выше вариантами и может быть модифицировано специалистами в рамках общей идеи настоящего изобретения. Все такие модификации являются очевидными для специалистов и входят в объем настоящего изобретения. Так, в одном варианте изобретения, показанном на фиг. 17, средство снятия блокировки выполнено в виде расположенного на рычаге 27 зуба 25, взаимодействующего с зубом 24 блокировки 21.
Также возможен вариант, при котором на курке имеется выступ 31, для взаимодействия с задним плечом 29 рычага 27, для принудительного его вращения в первоначальное положение (фиг. 18 и 19). Возможен вариант, когда рычаг 27 подпружинен собственной пружиной для постоянного контакта заднего плеча 29 с толкателем 30 курка.
Настоящее изобретение раскрыто в отношении многозарядного огнестрельного оружия, в частности полуавтоматического или автоматического ружья, но может быть соответствующим образом адаптировано специалистом для другого оружия с обеспечением эффекта, заключающегося в повышении надежности использования оружия и устранении опасности «пустой» перезарядки.
Claims (7)
1. Устройство подачи патронов для многозарядного огнестрельного оружия, в частности ружья полуавтоматического или автоматического типа, включающего в себя ствол, патронник в стволе, затвор для открывания и закрывания патронника, ударник в упомянутом затворе, курок для нанесения удара по ударнику и шептало для удержания курка, спусковой крючок для освобождения курка от шептала, а также магазин для размещения запасных патронов, снабженный средством подачи патронов из магазина, при этом устройство содержит лоток для принятия патронов из магазина и подачи к патроннику, рычаг управления подачей патронов из магазина к лотку, блокировку для удержания лотка в промежуточном положении, характеризующееся тем, что курок снабжен средством опускания лотка и средством снятия блокировки лотка, выполненными так, что при перемещении курка в положение удара по ударнику средство снятия блокировки лотка обеспечивает снятие блокировки лотка в промежуточном положении, а средство опускания лотка - принудительное опускание лотка в нижнее положение, при котором патрон освобождается из магазина и поступает на лоток, при этом рычаг управления подачей патронов из магазина к лотку при опускании лотка поворачивается из положения, в котором он препятствует поступлению патронов из магазина, в положение, при котором он блокирует лоток в нижнем положении и позволяет патрону из магазина поступать к лотку.
2. Устройство по п.1, характеризующееся тем, что средство опускания лотка представляет собой выступ, выполненный за одно целое с курком.
3. Устройство по п.1, характеризующееся тем, что средство опускания лотка представляет собой рычаг, установленный с возможностью поворота на оси курка.
4. Устройство по п.3, характеризующееся тем, что упомянутый рычаг выполнен с возможностью взаимодействия с боевой пружиной курка для поворота на оси курка и опускания лотка.
5. Устройство по п.4, характеризующееся тем, что курок дополнительно оснащен выступом для взаимодействия с рычагом и приведения его в первоначальное положение.
6. Устройство по п.1, характеризующееся тем, что средство снятия блокировки лотка представляет собой зуб, выполненный за одно целое с курком и взаимодействующий с геометрическим и силовым замыканием с блокировкой лотка.
7. Устройство по п.3, характеризующееся тем, что средство снятия блокировки лотка представляет собой зуб, выполненный за одно целое с упомянутым рычагом и взаимодействующий с геометрическим и силовым замыканием с блокировкой лотка.
Priority Applications (3)
| Application Number | Priority Date | Filing Date | Title |
|---|---|---|---|
| RU2010143259/11A RU2446373C1 (ru) | 2010-10-21 | 2010-10-21 | Устройство подачи патронов для многозарядного огнестрельного оружия |
| PCT/RU2011/000823 WO2012053943A2 (ru) | 2010-10-21 | 2011-10-21 | Гладкоствольное огнестрельное оружие |
| FIU20124258U FIU20124258U1 (fi) | 2010-10-21 | 2011-10-21 | Sileäpiippuinen tuliase |
Applications Claiming Priority (1)
| Application Number | Priority Date | Filing Date | Title |
|---|---|---|---|
| RU2010143259/11A RU2446373C1 (ru) | 2010-10-21 | 2010-10-21 | Устройство подачи патронов для многозарядного огнестрельного оружия |
Publications (1)
| Publication Number | Publication Date |
|---|---|
| RU2446373C1 true RU2446373C1 (ru) | 2012-03-27 |
Family
ID=46030930
Family Applications (1)
| Application Number | Title | Priority Date | Filing Date |
|---|---|---|---|
| RU2010143259/11A RU2446373C1 (ru) | 2010-10-21 | 2010-10-21 | Устройство подачи патронов для многозарядного огнестрельного оружия |
Country Status (1)
| Country | Link |
|---|---|
| RU (1) | RU2446373C1 (ru) |
Cited By (1)
| Publication number | Priority date | Publication date | Assignee | Title |
|---|---|---|---|---|
| RU2671596C1 (ru) * | 2016-06-24 | 2018-11-02 | Л унд О Хантинг Груп ГмбХ | Самозарядное ружье |
Citations (4)
| Publication number | Priority date | Publication date | Assignee | Title |
|---|---|---|---|---|
| GB668463A (en) * | 1947-05-13 | 1952-03-19 | Mikkel Maerk | Improvements relating to shot and sporting guns and like fire arms |
| US4601122A (en) * | 1984-03-27 | 1986-07-22 | Fabrica D'armi P.Beretta S.P.A. | Device for the timely feeding of cartridges in semi-automatic rifles |
| RU2116602C1 (ru) * | 1997-05-13 | 1998-07-27 | Игорь Павлович Сотсков | Стрелковое оружие револьвер сотскова |
| US6742298B1 (en) * | 2001-02-20 | 2004-06-01 | Ra Brands, Llc | Carrier locking device |
-
2010
- 2010-10-21 RU RU2010143259/11A patent/RU2446373C1/ru not_active IP Right Cessation
Patent Citations (4)
| Publication number | Priority date | Publication date | Assignee | Title |
|---|---|---|---|---|
| GB668463A (en) * | 1947-05-13 | 1952-03-19 | Mikkel Maerk | Improvements relating to shot and sporting guns and like fire arms |
| US4601122A (en) * | 1984-03-27 | 1986-07-22 | Fabrica D'armi P.Beretta S.P.A. | Device for the timely feeding of cartridges in semi-automatic rifles |
| RU2116602C1 (ru) * | 1997-05-13 | 1998-07-27 | Игорь Павлович Сотсков | Стрелковое оружие револьвер сотскова |
| US6742298B1 (en) * | 2001-02-20 | 2004-06-01 | Ra Brands, Llc | Carrier locking device |
Cited By (1)
| Publication number | Priority date | Publication date | Assignee | Title |
|---|---|---|---|---|
| RU2671596C1 (ru) * | 2016-06-24 | 2018-11-02 | Л унд О Хантинг Груп ГмбХ | Самозарядное ружье |
Similar Documents
| Publication | Publication Date | Title |
|---|---|---|
| RU2750124C2 (ru) | Системы и способы ручного стрелкового оружия с переводчиком огня | |
| US9482480B2 (en) | Bolt hold-open system and method | |
| US7398723B1 (en) | Trigger forward displacement system and method | |
| US9777980B2 (en) | Compact semi-automatic firearm | |
| EP3129739B1 (en) | Fire control system for firearms | |
| US10941994B2 (en) | Cased telescoped ammunition firearm with dual feed | |
| US20090249672A1 (en) | Firearm with an ergonomic reloading control group | |
| US3090148A (en) | Bolt action firearm with charger | |
| CZ2015782A3 (cs) | Samonabíjecí pistole | |
| RU2446373C1 (ru) | Устройство подачи патронов для многозарядного огнестрельного оружия | |
| US10309736B2 (en) | Shell loading system for firearm | |
| EP4004480B1 (en) | Safety mechanism for hammer-operated firearms | |
| US9976824B2 (en) | Rifle loading device | |
| RU2720385C1 (ru) | Самозарядный пистолет | |
| EP1345000A1 (en) | Mechanism for loading and feeding a semi-automatic rifle and its operating method | |
| CZ29030U1 (cs) | Samonabíjecí pistole | |
| WO2012053943A2 (ru) | Гладкоствольное огнестрельное оружие | |
| US1058132A (en) | Firearm. | |
| RU2358222C1 (ru) | Двуствольное многозарядное ружье | |
| RU71750U1 (ru) | Стреляющее устройство с боеприпасами | |
| EP2385335A1 (en) | Recoil operated rifle with improved trigger group | |
| HK1061425A (en) | Mechanism for loading and feeding a semi-automatic rifle and its operating method | |
| CZ18092U1 (cs) | Zkrácený závěrový mechanismus se z vrchu umístěným bicím kladívkem |
Legal Events
| Date | Code | Title | Description |
|---|---|---|---|
| PC41 | Official registration of the transfer of exclusive right |
Effective date: 20150325 |
|
| PC41 | Official registration of the transfer of exclusive right |
Effective date: 20160121 |
|
| MM4A | The patent is invalid due to non-payment of fees |
Effective date: 20171022 |