JP2010101433A - ダンパー装置 - Google Patents

ダンパー装置 Download PDF

Info

Publication number
JP2010101433A
JP2010101433A JP2008273544A JP2008273544A JP2010101433A JP 2010101433 A JP2010101433 A JP 2010101433A JP 2008273544 A JP2008273544 A JP 2008273544A JP 2008273544 A JP2008273544 A JP 2008273544A JP 2010101433 A JP2010101433 A JP 2010101433A
Authority
JP
Japan
Prior art keywords
cylinder
piston
damper device
transmission member
cylinder base
Prior art date
Legal status (The legal status is an assumption and is not a legal conclusion. Google has not performed a legal analysis and makes no representation as to the accuracy of the status listed.)
Granted
Application number
JP2008273544A
Other languages
English (en)
Other versions
JP5133198B2 (ja
Inventor
Keiji Honma
佳嗣 本間
Current Assignee (The listed assignees may be inaccurate. Google has not performed a legal analysis and makes no representation or warranty as to the accuracy of the list.)
Nifco Inc
Original Assignee
Nifco Inc
Priority date (The priority date is an assumption and is not a legal conclusion. Google has not performed a legal analysis and makes no representation as to the accuracy of the date listed.)
Filing date
Publication date
Application filed by Nifco Inc filed Critical Nifco Inc
Priority to JP2008273544A priority Critical patent/JP5133198B2/ja
Priority to KR1020090101196A priority patent/KR20100045398A/ko
Publication of JP2010101433A publication Critical patent/JP2010101433A/ja
Application granted granted Critical
Publication of JP5133198B2 publication Critical patent/JP5133198B2/ja
Expired - Fee Related legal-status Critical Current
Anticipated expiration legal-status Critical

Links

Images

Classifications

    • FMECHANICAL ENGINEERING; LIGHTING; HEATING; WEAPONS; BLASTING
    • F16ENGINEERING ELEMENTS AND UNITS; GENERAL MEASURES FOR PRODUCING AND MAINTAINING EFFECTIVE FUNCTIONING OF MACHINES OR INSTALLATIONS; THERMAL INSULATION IN GENERAL
    • F16FSPRINGS; SHOCK-ABSORBERS; MEANS FOR DAMPING VIBRATION
    • F16F9/00Springs, vibration-dampers, shock-absorbers, or similarly-constructed movement-dampers using a fluid or the equivalent as damping medium
    • F16F9/32Details
    • F16F9/3207Constructional features
    • F16F9/3235Constructional features of cylinders
    • FMECHANICAL ENGINEERING; LIGHTING; HEATING; WEAPONS; BLASTING
    • F16ENGINEERING ELEMENTS AND UNITS; GENERAL MEASURES FOR PRODUCING AND MAINTAINING EFFECTIVE FUNCTIONING OF MACHINES OR INSTALLATIONS; THERMAL INSULATION IN GENERAL
    • F16FSPRINGS; SHOCK-ABSORBERS; MEANS FOR DAMPING VIBRATION
    • F16F9/00Springs, vibration-dampers, shock-absorbers, or similarly-constructed movement-dampers using a fluid or the equivalent as damping medium
    • F16F9/32Details
    • F16F9/3207Constructional features
    • F16F9/3214Constructional features of pistons
    • FMECHANICAL ENGINEERING; LIGHTING; HEATING; WEAPONS; BLASTING
    • F16ENGINEERING ELEMENTS AND UNITS; GENERAL MEASURES FOR PRODUCING AND MAINTAINING EFFECTIVE FUNCTIONING OF MACHINES OR INSTALLATIONS; THERMAL INSULATION IN GENERAL
    • F16FSPRINGS; SHOCK-ABSORBERS; MEANS FOR DAMPING VIBRATION
    • F16F9/00Springs, vibration-dampers, shock-absorbers, or similarly-constructed movement-dampers using a fluid or the equivalent as damping medium
    • F16F9/32Details
    • F16F9/50Special means providing automatic damping adjustment, i.e. self-adjustment of damping by particular sliding movements of a valve element, other than flexions or displacement of valve discs; Special means providing self-adjustment of spring characteristics
    • F16F9/512Means responsive to load action, i.e. static load on the damper or dynamic fluid pressure changes in the damper, e.g. due to changes in velocity
    • F16F9/5126Piston, or piston-like valve elements
    • FMECHANICAL ENGINEERING; LIGHTING; HEATING; WEAPONS; BLASTING
    • F16ENGINEERING ELEMENTS AND UNITS; GENERAL MEASURES FOR PRODUCING AND MAINTAINING EFFECTIVE FUNCTIONING OF MACHINES OR INSTALLATIONS; THERMAL INSULATION IN GENERAL
    • F16FSPRINGS; SHOCK-ABSORBERS; MEANS FOR DAMPING VIBRATION
    • F16F2238/00Type of springs or dampers
    • F16F2238/02Springs
    • F16F2238/026Springs wound- or coil-like
    • FMECHANICAL ENGINEERING; LIGHTING; HEATING; WEAPONS; BLASTING
    • F16ENGINEERING ELEMENTS AND UNITS; GENERAL MEASURES FOR PRODUCING AND MAINTAINING EFFECTIVE FUNCTIONING OF MACHINES OR INSTALLATIONS; THERMAL INSULATION IN GENERAL
    • F16FSPRINGS; SHOCK-ABSORBERS; MEANS FOR DAMPING VIBRATION
    • F16F2238/00Type of springs or dampers
    • F16F2238/04Damper

Landscapes

  • Engineering & Computer Science (AREA)
  • General Engineering & Computer Science (AREA)
  • Mechanical Engineering (AREA)
  • Physics & Mathematics (AREA)
  • Fluid Mechanics (AREA)
  • Fluid-Damping Devices (AREA)

Abstract

【課題】ダンパー装置を、最小の部品点数をもって容易かつ適切に構成できるようにする。
【解決手段】ピストン1をその移動に一定の抵抗を生じさせるように納めたシリンダー2と、このピストンに連結されてこのピストンに作用される前記抵抗を制動力として外部に伝達する伝達部材3とを備えるダンパー装置である。ピストンの入り込みを許容する筒一端とピストンの抜け出しを阻止する筒他端とを備えたシリンダー基材23に、この筒一端側からピストンを収め入れた後、この筒一端側において内向きに塑性変形させたシリンダー基材の一部により、伝達部材の通過を許容し、かつ、ピストンの抜け出しを阻止する抜け止め部22を形成させて前記シリンダーを構成させている。
【選択図】図1

Description

この発明は、ピストンをその移動に一定の抵抗を生じさせるように納めたシリンダーと、このピストンに連結されてこのピストンに作用される前記抵抗を制動力として外部に伝達する伝達部材とを備えてなるダンパー装置の改良に関する。
ピストンをその移動に一定の抵抗を生じさせるように納めたシリンダーと、このピストンに線一端を止着されてシリンダー内から引き出される線条材とを備え、このシリンダーを収納箱に固定し、この線条材の他端をこの収納箱のリッドに固定して、かかるリッドの回動に線条材を介して前記抵抗を制動力として作用させるようにしたダンパー装置がある。(特許文献1参照)
かかるダンパー装置にあっては、シリンダー内にピストンを収めた後、このシリンダーの開放側の端部に線条材の通し孔を備えたキャップを嵌め付けて、シリンダーとピストンとを組み合わせている。
実用新案登録第2557064号公報
この発明が解決しようとする主たる問題点は、この種のダンパー装置を、最小の部品点数をもって容易かつ適切に構成できるようにする点にある。
前記課題を達成するために、この発明にあっては、ダンパー装置を、ピストンをその移動に一定の抵抗を生じさせるように納めたシリンダーと、このピストンに連結されてこのピストンに作用される前記抵抗を制動力として外部に伝達する伝達部材とを備えるダンパー装置であって、
ピストンの入り込みを許容する筒一端とピストンの抜け出しを阻止する筒他端とを備えたシリンダー基材に、この筒一端側からピストンを収め入れた後、この筒一端側において内向きに塑性変形させたシリンダー基材の一部により、伝達部材の通過を許容し、かつ、ピストンの抜け出しを阻止する抜け止め部を形成させて前記シリンダーを構成させているものした。かかるシリンダー基材の筒一端側からピストンに続いて圧縮コイルバネを収め入れた後に抜け止め部を形成させてこの抜け止め部によりこの圧縮コイルバネをシリンダー内に保持しておくこともある。
かかるダンパー装置にあっては、これを構成するピストンとシリンダー、前記バネを含む場合にはさらには圧縮コイルバネを、シリンダー基材内にピストン、さらにはバネとを収めた状態から抜け止め部をこのシリンダー基材に形成させることで組み合わせていることから、最小の部品点数をもってピストンの移動の抵抗を伝達部材を介して制動力として外部に伝達させるダンパー装置を容易かつ適切に構成させることができる。
前記伝達部材を変形可能な線状体として構成さえておくと共に、シリンダー基材の側部にこの伝達部材の補助通過部を形成させておくこともある。この場合さらに、かかる補助通過部を、シリンダー基材の筒一端から筒軸方向に筒他端に至らない長さで延びるスリットとしておくこともある。このようにした場合、シリンダー基材の筒一端を塑性変形させるにあたり、かかる伝達部材を補助通過部から外部に引き出されるようにしておきこのときに邪魔にならないようにしておくことができる。
前記抜け止め部を、窄められたシリンダー基材の筒一端により構成される内端と、シリンダー基材の外面に連続する外端とを備えた管状をなすように構成させておくこともある。この場合さらに、かかる抜け止め部における外端側がその内端側に向かうに連れて抜け止め部の内径を狭める曲面を備えるようにしておくこともある。このようにした場合、シリンダーから引き出され、また、引き込まれる伝達部材は抵抗少なく抜け止め部に接し、かかる伝達部材の移動はスムースになされる。
この発明によれば、ピストンをその移動に一定の抵抗を生じさせるように納めたシリンダーと、このピストンに連結されてこのピストンに作用される前記抵抗を制動力として外部に伝達する伝達部材とを備えてなるダンパー装置を、主としてピストンとシリンダーと伝達部材の三点より、容易かつ適切に構成することができ、したがってまた、この種のダンパー装置を低廉に供給できる特長を有する。
以下、図1〜図7に基づいて、この発明の典型的な実施の形態について説明する。
なお、ここで図1〜図4は実施の形態にかかるダンパー装置の第一例に関し、図5は実施の形態にかかるダンパー装置の第二例に関し、図6および図7は実施の形態にかかるダンパー装置の第三例に関するものとなっている。
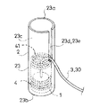
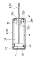
特に、図2は第一例のダンパー装置のシリンダー2を構成するシリンダー基材23に抜け止め部22を形成する前の様子を、また、図4は特にこの抜け止め部22を構成するために用いられる治工具5の要部構成を表している。
この実施の形態にかかるダンパー装置は、ピストン1をその移動に一定の抵抗を生じさせるように納めたシリンダー2と、このピストン1に連結されてこのピストン1に作用される前記抵抗を制動力として外部に伝達する伝達部材3とを備えてなるものであり、ピストンダンパーなどと称される。
かかるダンパー装置は、各種の可動体の移動に制動力を付与させるために用いられる。かかるダンパー装置は、例えば、扉やリッドのように回動される可動体や、引き出しのようにスライド移動される可動体のその移動に制動力を付与するために用いられる。また、かかるダンパー装置は、典型的には、前記可動体を支持する固定体及びかかる可動体のいずれか一方の側に前記伝達部材3を連係させると共に、これらの他方の側に前記ピストン1を固定させることで、かかる可動体の移動に制動力を作用する。
図示の例では、前記ピストン1は、シリンダー2内に最も押し込まれた状態から、前記伝達部材3を介して可動体の移動に追随してシリンダー2の内奥部20から離れる向きに移動し、この移動による抵抗を可動体に作用させるように構成されている。具体的には、図示の例では、シリンダー2の内奥部20から離れる向きにピストン1が移動されると、この内奥部20とピストン1との間の圧力室の圧力が外部の圧力よりも低圧になるようにしてあり、これによりシリンダー2の内奥部20から離れる向きへのピストン1の移動に抵抗を付与するようにしている。図示の例では、かかるピストン1と後述する抜け止め部22との間に圧縮コイルバネ4が収められており、前記内奥部20からピストン1を離れ出させる向きの可動体の移動を止めた後の可動体の逆向きの移動によりピストン1が復動されるときは、かかるバネ4の作用によりこの復動がアシストされるようになっている。
図1〜図5に示される例では、ピストン1は、円筒状をなすシリンダー2の内径に略等しい外径を備えているが、ピストン1の移動時にはその外周部10とシリンダー2の内周面21との間を通じて外部からの圧力室への気体の流入を許容するように構成されている。
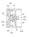
また、図6および図7に示される例では、シリンダー2の内奥部20の中央には、シリンダー2の軸線に沿った貫通孔24が形成されており、ピストン1の移動時にはこの貫通孔24を通じて外部からの圧力室への気体の流入を許容するように構成されている。また、この図6および図7に示される例では、かかるシリンダー2の貫通孔24は、このシリンダー2の内奥部20の外側からかかる貫通孔24に軸部25aを挿通させた栓状体25によって閉塞されている。この栓状体25は、円盤状をなす頭部25bの一面側の中央に前記軸部25aを有している。また、この図6および図7に示される例では、シリンダー2は両端を開放させた円筒体の両端間をその軸線に直交する向きの仕切り壁26で仕切り、この仕切り壁26の一面側を前記内奥部20とすると共に、この仕切り壁26の他面側と前記円筒体の筒一端との間を前記栓状体25の収容部27としている。この収容部27では前記円筒体の側部にその軸線に沿った向きに長く続くガイド孔27aが形成されており、栓状体25はその頭部25bの外縁部に形成された被ガイド部25cをこのガイド孔27aに入れ込ませて、シリンダー2の軸線に沿った向きの移動可能にシリンダー2に支持されている。また、かかる栓状体25の頭部25bと仕切り壁26の他面側との間には圧縮コイルバネ28が介装されており、このバネ28の付勢により栓状体25は前記軸部25aの全体を前記貫通孔24に入り込ませない後退位置に位置づけられ、この後退位置において栓状体25の軸部25aの先端と貫通孔24の圧力室側の孔口24aとの間には間隔が形成されるようになっている。(図7)また、栓状体25の軸部25aの外径は貫通孔24の孔径よりもやや小さくなるようにしてある。シリンダー2の内奥部20から離れる向きにピストン1が移動されると、圧力室が低圧となるため、栓状体25は前記バネ28の付勢に抗して貫通孔24への軸部25aの入り込み寸法を大きくする向きに移動される。気体にも粘性抵抗があるため、このように貫通孔24への軸部25aの入り込み寸法が大きくなればなる程、貫通孔24を通じて圧力室に外部から気体は流入しがたくなり、圧力室と外部との圧力差は大きくなる。これにより、この図6および図7に示される例では、可動体の移動速度、すなわちシリンダー2の内奥部20から離れる向きのピストン1の移動速度が速ければ速いほど、貫通孔24への軸部25aの入り込み寸法を大きくして圧力室と外部との圧力差を大きくし、もってかかるピストン1に対する抵抗つまり可動体への制動力を大きくさせるようになっている。すなわち、この図6および図7に示される例は、いわゆる速度応答型のピストン1ダンパーとなっている。
また、この実施の形態にあっては、前記シリンダー2は、ピストン1の入り込みを許容する筒一端23aとピストン1の抜け出しを阻止する筒他端23bとを備えたシリンダー基材23(図2)に、この筒一端23a側からピストン1を収め入れた後、この筒一端23a側において内向きに塑性変形させたシリンダー基材23の一部により、伝達部材3の通過を許容し、かつ、ピストン1の抜け出しを阻止する抜け止め部22を形成させることで構成されている。
また、この実施の形態にあっては、シリンダー基材23の筒一端23a側からピストン1に続いて前記圧縮コイルバネ4を収め入れた後に抜け止め部22を形成させて、これによりこの圧縮コイルバネ4をシリンダー2内に保持させるようにしている。
図示の例では、かかるシリンダー基材23は、筒一端23aを開放させ、筒他端23bを閉塞させた円筒体として構成されている。そして、図示の例では、かかるシリンダー基材23の筒一端23aから先ずピストン1をこのシリンダー基材23内に収め入れ、次いで、このピストン1にバネ一端40を当接させるようにしてシリンダー基材23内に前記バネ4を収め入れた後に、このように収められたバネ4のバネ他端41よりも外方においてシリンダー基材23の筒一端23a側の一部に前記塑性変形を施して前記抜け止め部22を形成させている。
図1〜図4に示される例ならびに図6および図7に示される例では、シリンダー基材23は合成樹脂から構成されており、このシリンダー基材23の筒一端23aを加熱溶融により変形させることで、前記抜け止め部22を形成させている。このようにする場合、かかる加熱溶融は、例えば、パルスヒート装置などの熱圧着機を用いて行うことができる。図1〜図4に示される例ならびに図6および図7に示される例では、かかる抜け止め部22が、窄められたシリンダー基材23の筒一端23aにより構成される内端22aと、シリンダー基材23の外面23cに連続する外端22bとを備え、シリンダー基材23の内方に入れ込まされてシリンダー基材23の筒他端23b側に向けて突き出す管状をなすように構成されており、かかる抜け止め部22の管状箇所を成形する中央軸部50と、この管状箇所の外端22b側を成形するこの中央軸部50の基部を巡る周回凹部51とを備えてなる治工具5を加熱してシリンダー基材23の筒一端23aに押しつけることで、このような形状の抜け止め部22を形成させるようにしている。(図4)この図1〜図4に示される例ならびに図6および図7に示される例では、伝達部材3は線一端をピストン1に一体に連接させた線状体30として構成されている。この例では、伝達部材3は紐により構成され変形可能となっており、ピストン1における圧力室側と反対の面部の中央に一端を連接させている。かかる紐をピストン1を合成樹脂により成型する際のインサートとすることでかかる紐をピストン1に連接させている。そして、かかる紐は前記バネ4の内側を通って抜け止め部22の管状箇所内よりシリンダー2の外側に導き出されている。また、かかる管状箇所は、前記バネ4のバネ他端41側からこのバネ4内に入り込むように形成され、このバネ他端41はシリンダー2の内側において抜け止め部22の外端22bの内側に接している。
一方、図5に示される例では、シリンダー基材23は金属から構成されている。そして、この図5に示される例では、シリンダー基材23の筒一端23a側の側部を外側から押圧してシリンダー基材23の内側に突き出す突所22dをシリンダー基材23の軸線を巡る向きに隣り合う突所との間に間隔を開けて複数設けることで、抜け止め部22を構成させている。
この実施の形態にかかるダンパー装置によれば、これを構成するピストン1とシリンダー2と圧縮コイルバネ4とを、シリンダー基材23内にピストン1とバネ4とを収めた状態から抜け止め部22をこのシリンダー基材23に形成させることで組み合わせていることから、最小の部品点数をもってピストン1の移動の抵抗を伝達部材3を介して制動力として外部に伝達させるダンパー装置を容易かつ適切に構成させることができる。
また、この実施の形態にあっては、前記のように伝達部材3が変形可能な線状体30として構成されていると共に、シリンダー基材23の側部にこの伝達部材3の補助通過部23dが形成されている。図示の例では、かかる補助通過部23dは、シリンダー基材23の筒一端23aから筒軸方向に筒他端23bに至らない長さで延びるスリット23eとしてある。これにより、この実施の形態にあっては、シリンダー基材23の筒一端23aを塑性変形させるにあたり、かかる伝達部材3を補助通過部23dから外部に引き出されるようにしておきこのときに邪魔にならないようにしておくことができる。例えば、抜け止め部22を前記加熱溶融により形成させる場合には、伝達部材3を合成樹脂製の紐としたときでも、この伝達部材3の溶融を生じさせないようにして、かかる抜け止め部22を形成させることができる。そして、かかる塑性変形により抜け止め部22を形成させた後は、伝達部材3における補助通過部23dから引き出されていた箇所を抜け止め部22を通過させるようにセットし直して、ピストン1に接続された伝達部材3が抜け止め部22を通じて真っ直ぐにダンパー装置の外側に引き出されるようにすることができる。特にこの例では、かかる補助通過部23dが前記のようなシリンダー基材23を筒一端23a側から途中まで割り欠くスリット23eとされていることから、このスリット23eの筒他端23b側の端部から側方に伝達部材3が抜け出すように伝達部材3を位置づけると、この伝達部材3の通されたバネ4をこのスリット23eの筒他端23b側の端部とピストン1との間に圧縮させることができ、(図2)この状態で抜け止め部22の成形ができる。そして、この後、かかるスリット23eの筒一端23a側の端部を通じてピストン1に接続された伝達部材3が抜け止め部22を通じて真っ直ぐにダンパー装置の外側に引き出されるようにすることができ、こうするとバネ4は伸張してそのバネ他端41はシリンダー2の内側において抜け止め部22の外端22bの内側に接する。
また、図1〜図4に示される例ならびに図6および図7に示される例にあっては、抜け止め部22における外端22b側が内端22a側に向かうに連れて抜け止め部22の内径を狭める曲面22cを備えている。図示の例では、抜け止め部22は外端22b側において最も内径が広く、そこからシリンダー2の内側に位置される内端22a側に向けて次第に内径を狭める漏斗管状をなすように構成されている。これにより、シリンダー2から引き出され、また、引き込まれる伝達部材3は抵抗少なく抜け止め部22に接し、かかる伝達部材3の移動はスムースになされる。
第一例にかかるダンパー装置の断面構成図 第一例にかかるダンパー装置のシリンダー2となるシリンダー基材23に抜け止め部22を形成させる前の状態を示した斜視構成図 第一例にかかるダンパー装置の斜視構成図 第一例にかかるダンパー装置のシリンダー2となるシリンダー基材23に抜け止め部22を形成させる方法を示した断面構成図 第二例にかかるダンパー装置の断面構成図 第三例にかかるダンパー装置の断面構成図 同要部拡大断面構成図
符号の説明
1 ピストン
2 シリンダー
22 抜け止め部
23 シリンダー基材
23a 筒一端
23b 筒他端
3 伝達部材

Claims (6)

  1. ピストンをその移動に一定の抵抗を生じさせるように納めたシリンダーと、このピストンに連結されてこのピストンに作用される前記抵抗を制動力として外部に伝達する伝達部材とを備えるダンパー装置であって、
    ピストンの入り込みを許容する筒一端とピストンの抜け出しを阻止する筒他端とを備えたシリンダー基材に、この筒一端側からピストンを収め入れた後、この筒一端側において内向きに塑性変形させたシリンダー基材の一部により、伝達部材の通過を許容し、かつ、ピストンの抜け出しを阻止する抜け止め部を形成させて前記シリンダーを構成させていることを特徴とするダンパー装置。
  2. シリンダー基材の筒一端側からピストンに続いて圧縮コイルバネを収め入れた後に形成される抜け止め部によりこの圧縮コイルバネをシリンダー内に保持してなることを特徴とする請求項1に記載のダンパー装置。
  3. 伝達部材が変形可能な線状体として構成されていると共に、シリンダー基材の側部にこの伝達部材の補助通過部が形成されていることを特徴とする請求項1又は請求項2に記載のダンパー装置。
  4. 補助通過部が、シリンダー基材の筒一端から筒軸方向に延びるスリットとしてあることを特徴とする請求項3に記載のダンパー装置。
  5. 抜け止め部が、窄められたシリンダー基材の筒一端により構成される内端と、シリンダー基材の外面に連続する外端とを備えた管状をなすように構成されていることを特徴とする請求項1又は請求項2に記載のダンパー装置。
  6. 伝達部材が変形可能な線状体として構成されていると共に、抜け止め部における外端側が内端側に向かうに連れて抜け止め部の内径を狭める曲面を備えていることを特徴とする請求項5に記載のダンパー装置。
JP2008273544A 2008-10-23 2008-10-23 ダンパー装置 Expired - Fee Related JP5133198B2 (ja)

Priority Applications (2)

Application Number Priority Date Filing Date Title
JP2008273544A JP5133198B2 (ja) 2008-10-23 2008-10-23 ダンパー装置
KR1020090101196A KR20100045398A (ko) 2008-10-23 2009-10-23 댐퍼장치

Applications Claiming Priority (1)

Application Number Priority Date Filing Date Title
JP2008273544A JP5133198B2 (ja) 2008-10-23 2008-10-23 ダンパー装置

Publications (2)

Publication Number Publication Date
JP2010101433A true JP2010101433A (ja) 2010-05-06
JP5133198B2 JP5133198B2 (ja) 2013-01-30

Family

ID=42273132

Family Applications (1)

Application Number Title Priority Date Filing Date
JP2008273544A Expired - Fee Related JP5133198B2 (ja) 2008-10-23 2008-10-23 ダンパー装置

Country Status (2)

Country Link
JP (1) JP5133198B2 (ja)
KR (1) KR20100045398A (ja)

Citations (3)

* Cited by examiner, † Cited by third party
Publication number Priority date Publication date Assignee Title
JPH0576894U (ja) * 1992-03-25 1993-10-19 加藤発条株式会社 収納箱等のダンパ−装置の構造
JP2001193779A (ja) * 2000-01-07 2001-07-17 Piolax Inc エアダンパー
JP2001271929A (ja) * 2000-03-24 2001-10-05 Tokico Ltd シリンダ装置

Patent Citations (3)

* Cited by examiner, † Cited by third party
Publication number Priority date Publication date Assignee Title
JPH0576894U (ja) * 1992-03-25 1993-10-19 加藤発条株式会社 収納箱等のダンパ−装置の構造
JP2001193779A (ja) * 2000-01-07 2001-07-17 Piolax Inc エアダンパー
JP2001271929A (ja) * 2000-03-24 2001-10-05 Tokico Ltd シリンダ装置

Also Published As

Publication number Publication date
KR20100045398A (ko) 2010-05-03
JP5133198B2 (ja) 2013-01-30

Similar Documents

Publication Publication Date Title
CN101675266B (zh) 阻尼器装置
JP6228504B2 (ja) スクリーン装置およびその製造方法
US9567786B2 (en) Braking device for braking a movement of a first vehicle part and a second vehicle part with respect to each other
KR102236551B1 (ko) 도막 전사구
JP6190526B2 (ja) 緩衝装置
JP5438508B2 (ja) ノイズ吸収装置
JP2011069424A (ja) ダンパー装置
JP5133198B2 (ja) ダンパー装置
JP5526007B2 (ja) ノイズ吸収装置
JP2013116091A (ja) 釣り用糸通し具および携帯用糸通しセット
KR101295009B1 (ko) 차량의 제어 케이블 고정 장치
JP6116860B2 (ja) 筆記具
KR101580913B1 (ko) 튜브밀착형 튜브클립
JP2018001684A (ja) シャープペンシル
JP5758704B2 (ja) 振出式シャープペンシル
JP6603502B2 (ja) 筆記具
JP5774234B2 (ja) 調理器具用ハンドル
JP2011513657A (ja) ピストンシール要素及び、ピストンシール要素を備える減速装置
JP2014144466A (ja) シャフト製造装置
JP6471378B2 (ja) 空気噴出装置
JP5959164B2 (ja) ダンパー装置
KR20110114859A (ko) 반자동 미닫이 도어 시스템
JP2018155197A5 (ja)
JP2020062902A (ja) フューエルリッド装置
JP2011127648A (ja) ダンパー装置

Legal Events

Date Code Title Description
A621 Written request for application examination

Free format text: JAPANESE INTERMEDIATE CODE: A621

Effective date: 20110520

A977 Report on retrieval

Free format text: JAPANESE INTERMEDIATE CODE: A971007

Effective date: 20120223

A131 Notification of reasons for refusal

Free format text: JAPANESE INTERMEDIATE CODE: A131

Effective date: 20120228

A521 Request for written amendment filed

Free format text: JAPANESE INTERMEDIATE CODE: A523

Effective date: 20120416

TRDD Decision of grant or rejection written
A01 Written decision to grant a patent or to grant a registration (utility model)

Free format text: JAPANESE INTERMEDIATE CODE: A01

Effective date: 20121023

A01 Written decision to grant a patent or to grant a registration (utility model)

Free format text: JAPANESE INTERMEDIATE CODE: A01

A61 First payment of annual fees (during grant procedure)

Free format text: JAPANESE INTERMEDIATE CODE: A61

Effective date: 20121107

FPAY Renewal fee payment (event date is renewal date of database)

Free format text: PAYMENT UNTIL: 20151116

Year of fee payment: 3

R150 Certificate of patent or registration of utility model

Ref document number: 5133198

Country of ref document: JP

Free format text: JAPANESE INTERMEDIATE CODE: R150

Free format text: JAPANESE INTERMEDIATE CODE: R150

R250 Receipt of annual fees

Free format text: JAPANESE INTERMEDIATE CODE: R250

R250 Receipt of annual fees

Free format text: JAPANESE INTERMEDIATE CODE: R250

R250 Receipt of annual fees

Free format text: JAPANESE INTERMEDIATE CODE: R250

R250 Receipt of annual fees

Free format text: JAPANESE INTERMEDIATE CODE: R250

LAPS Cancellation because of no payment of annual fees