JP2010100989A - 路面用ペイント塗布装置 - Google Patents

路面用ペイント塗布装置 Download PDF

Info

Publication number
JP2010100989A
JP2010100989A JP2008270437A JP2008270437A JP2010100989A JP 2010100989 A JP2010100989 A JP 2010100989A JP 2008270437 A JP2008270437 A JP 2008270437A JP 2008270437 A JP2008270437 A JP 2008270437A JP 2010100989 A JP2010100989 A JP 2010100989A
Authority
JP
Japan
Prior art keywords
road surface
paint
receiving plate
surface paint
pair
Prior art date
Legal status (The legal status is an assumption and is not a legal conclusion. Google has not performed a legal analysis and makes no representation as to the accuracy of the status listed.)
Granted
Application number
JP2008270437A
Other languages
English (en)
Other versions
JP4982466B2 (ja
Inventor
Toshio Maejima
敏雄 前島
Yokichi Hori
洋吉 堀
Masamitsu Ochiai
正光 落合
Noboru Kawasaki
登 川崎
Current Assignee (The listed assignees may be inaccurate. Google has not performed a legal analysis and makes no representation or warranty as to the accuracy of the list.)
Shingo Kizai KK
Daia Corp
Original Assignee
Shingo Kizai KK
Daia Corp
Priority date (The priority date is an assumption and is not a legal conclusion. Google has not performed a legal analysis and makes no representation as to the accuracy of the date listed.)
Filing date
Publication date
Application filed by Shingo Kizai KK, Daia Corp filed Critical Shingo Kizai KK
Priority to JP2008270437A priority Critical patent/JP4982466B2/ja
Publication of JP2010100989A publication Critical patent/JP2010100989A/ja
Application granted granted Critical
Publication of JP4982466B2 publication Critical patent/JP4982466B2/ja
Active legal-status Critical Current
Anticipated expiration legal-status Critical

Links

Images

Landscapes

  • Road Repair (AREA)

Abstract

【課題】路面に描かれたラインの端部が鮮明となる路面用ペイント塗布装置を提供することにある。
【解決手段】路面用ペイント22のペイント放出装置68への供給が行われる時には、路面用ペイント塗布装置10に備えられた電子制御装置(制御装置)118によってその供給の開始直後に放出される比較的に流量の少ない路面用ペイント22が第1受板110に受け止められ、その後第1受板110が前記開放位置に移動するので路面26に描かれたラインの始端部が鮮明になる。さらに、路面用ペイント22のペイント放出装置68への供給が停止される時には、路面用ペイント塗布装置10に備えられた電子制御装置118によってその供給の停止後に放出される路面用ペイント22が第2受板122に受け止められるので路面26に描かれたラインの終端部が鮮明になる。
【選択図】図12

Description

本発明は、連続回転させられる円筒状回転体に供給された流動性の路面用ペイントを遠心力により路面に向かって放出させることによりその路面上に路面用ペイントをライン状に塗布する路面用ペイント塗布装置に関するものである。
道路標識や区画線、文字などの路面ラインを路面上に描く際には、周知の各材料、例えば石油樹脂、顔料、体質材、骨材、反射材、添加剤等からなる溶融型道路標示材から成る所定のペイントを路面上に塗布してラインを描く路面用ペイント塗布装置が使用されている。このような路面用ペイント塗布装置の一種に、例えば特許文献1および特許文献2に示すように、連続回転する円筒状回転体に供給される流動性の路面用ペイントを遠心力を利用して細粒化し放出口から路面に向かって放出するペイント放出装置を備えてその路面上を走行する車両に設けられ、その車両の走行に伴ってその路面上に路面用ペイントをライン状に塗布するものがある。
上記のような離間式の路面用ペイント塗布装置は、路面用ペイントを飛散させることにより路面に塗布するため、表面の凹凸が大きい透水性舗装道路上などにおいても路面ラインが好適に描かれ得る利点がある。
特開2002−352009号公報 特開2002−352010号公報
しかしながら、上述のような路面用ペイント塗布装置には、前記ペイント放出装置に前記路面用ペイントが供給される流量を調節する流量調節弁が備えられており、上記路面用ペイント塗布装置は、その路面用ペイントがそのペイント放出装置に供給される際その流量調節弁を開いてペイント放出装置に路面用ペイントを供給するため、その流量調節弁が所定開度まで開きそのペイント放出装置に供給される路面用ペイントの流量が一定となるまでの間はそのペイント放出装置から放出されるその路面用ペイントの量が少なくなりその路面用ペイントが路面に塗布されるとその路面用ペイントの厚みが薄くなるので、路面に描かれたラインの始端部が不鮮明となるという問題があった。
さらに、上記流量制御弁を閉じて上記路面用ペイントが上記ペイント放出装置に供給されるのを停止しても、所定時間の間はその流量制御弁の出口や円筒状回転体に付着した流動体ペイントが飛散するので、路面に描かれたラインの終端部が不鮮明となるという問題もあった。
本発明は、以上の事情を背景として為されたものであって、その目的とするところは、路面に描かれたラインの端部が鮮明となる路面用ペイント塗布装置を提供することにある。
かかる目的を達成するための請求項1に係る発明の要旨とするところは、(a) 連続回転する円筒状回転体に供給される流動性の路面用ペイントを遠心力を利用して細粒化し放出口から路面に向かって放出するペイント放出装置を備えてその路面上を走行する車両に設けられ、その車両の走行に伴ってその路面上に路面用ペイントをライン状に塗布する路面用ペイント塗布装置であって、(b) 前記ペイント放出装置の放出口をそれぞれ遮断する一対の第1受板および第2受板と、(c) その一対の第1受板および第2受板を前記放出口と路面との間の放射経路を遮断する遮断位置とその放射経路を開く開放位置との間でそれぞれ移動させる一対の受板駆動装置と、(d) 前記路面用ペイントのペイント放出装置への供給が行われるときは前記第1受板にその供給の開始直後に放出される路面用ペイントを受けさせた後その第1受板をその遮断位置からその開放位置へ移動させるとともに、前記路面用ペイントのペイント放出装置への供給が停止されるときは前記第2受板を前記遮断位置に位置させてその供給の停止後に放出される路面用ペイントを受けさせる制御装置とを含むことにある。
また、請求項2に係る発明の要旨とするところは、請求項1に係る発明において、前記制御装置は、前記路面用ペイントのペイント放出装置への供給が停止されるときは前記第1受板を前記遮断位置に位置させるものである。
また、請求項3に係る発明の要旨とするところは、請求項1または2に係る発明において、前記開放位置に位置する前記第1受板および第2受板の受面に先端から摺接させるための一対の第1板部材および第2板部材と、その一対の第1板部材および第2板部材をそれぞれ突き出すための一対のアクチュエータとを備え、その第1板部材および第2板部材を突き出すことによりその第1受板および第2受板上の受面に受けられた前記路面用ペイントをその第1受板および第2受板上からそれぞれ掻き落とす一対のペイント除去装置を、備えることにある。
また、請求項4に係る発明の要旨とするところは、請求項3に係る発明において、(a) 前記一対のペイント除去装置の一方は、前記第1受板上の前記路面用ペイントを前記ペイント放出装置から路面にライン状に塗布されたライン上に落とすものであり、(b) 前記一対のペイント除去装置の他方は、前記第2受板上の前記路面用ペイントをその他方のペイント除去装置に備えられた前記路面用ペイントを受けて集めるペイント容器に落とすものである。
また、請求項5に係る発明の要旨とするところは、請求項1乃至4のいずれか1に係る発明において、前記第1受板および第2受板には、その第1受板および第2受板上に受けられた前記路面用ペイントの流動性を高めるためにその第1受板および第2受板をそれぞれ加熱する加熱装置が備えられているものである。
また、請求項6に係る発明の要旨とするところは、請求項1乃至5のいずれか1に係る発明において、前記路面用ペイント塗布装置が前記車両の進行方向に対して交差する方向に移動可能な状態でその車両に支持され、前記路面用ペイントが前記ペイント放出装置から路面に放出されるペイント放出位置とその路面用ペイント塗布装置が前記車両内に収納される収納位置とに切り換える位置切換機構を備えることにある。
請求項1に係る発明の路面用ペイント塗布装置には、(b) 前記ペイント放出装置の放出口をそれぞれ遮断する一対の第1受板および第2受板と、(c) その一対の第1受板および第2受板を前記放出口と路面との間の放射経路を遮断する遮断位置とその放射経路を開く開放位置との間でそれぞれ移動させる一対の受板駆動装置と、(d) 前記路面用ペイントのペイント放出装置への供給が行われるときは前記第1受板にその供給の開始直後に放出される路面用ペイントを受けさせた後その第1受板をその遮断位置からその開放位置へ移動させるとともに、前記路面用ペイントのペイント放出装置への供給が停止されるときは前記第2受板を前記遮断位置に位置させてその供給の停止後に放出される路面用ペイントを受けさせる制御装置とが設けられている。このため、前記路面用ペイントのペイント放出装置への供給が行われる時には、前記制御装置によってその供給の開始直後に放出される比較的に流量の少ない期間には前記路面用ペイントが前記第1受板に受け止められ、その後第1受板が前記開放位置に移動するので路面に描かれたラインの始端部が鮮明になる。さらに、前記路面用ペイントのペイント放出装置への供給が停止される時には、前記制御装置によってその供給の停止後に放出される路面用ペイントが前記第2受板に受け止められるので、路面に描かれたラインの終端部が鮮明になる。
また、請求項2に係る発明の路面用ペイント塗布装置によれば、前記制御装置は、前記路面用ペイントのペイント放出装置への供給が停止されるときは、直ちに前記第1受板を前記遮断位置に位置させるものであるため、前記路面用ペイントのペイント放出装置への供給が停止される時には、前記制御装置によってその供給の停止後に放出される路面用ペイントが前記第1受板および第2受板に好適に受け止められる。
また、請求項3に係る発明の路面用ペイント塗布装置には、前記開放位置に位置する前記第1受板および第2受板の受面に先端から摺接させるための一対の第1板部材および第2板部材と、その一対の第1板部材および第2板部材をそれぞれ突き出すための一対のアクチュエータとを備え、その第1板部材および第2板部材を突き出すことによりその第1受板および第2受板上の受面に受けられた前記路面用ペイントをその第1受板および第2受板上からそれぞれ掻き落とす一対のペイント除去装置が、備えられている。このため、その一対のペイント除去装置の前記第1板部材および第2板部材によって前記第1受板および第2受板上に受けた前記路面用ペイントが除去されるので、路面用ペイント塗布装置の連続的な塗布作業が可能となる。
また、請求項4に係る発明の路面用ペイント塗布装置によれば、(a) 前記一対のペイント除去装置の一方は、前記第1受板上の前記路面用ペイントを前記ペイント放出装置から路面にライン状に塗布されたライン上に落とすものであり、(b) 前記一対のペイント除去装置の他方は、前記第2受板上の前記路面用ペイントをその他方のペイント除去装置に備えられた前記路面用ペイントを受けて集めるペイント容器に落とすものであるため、路面に描かれたラインが鮮明なままで路面用ペイント塗布装置の連続的な塗布作業が可能となる。
また、請求項5に係る発明の路面用ペイント塗布装置によれば、前記第1受板および第2受板には、その第1受板および第2受板上に受けられた前記路面用ペイントの流動性を高めるためにその第1受板および第2受板をそれぞれ加熱する加熱装置が備えられているため、前記第1受板および第2受板上の前記路面用ペイントをその第1受板および第2受板上から好適に除去することができる。
また、請求項6に係る発明の路面用ペイント塗布装置によれば、前記路面用ペイント塗布装置が前記車両の進行方向に対して交差する方向に移動可能な状態でその車両に支持され、前記路面用ペイントが前記ペイント放出装置から路面に放出されるペイント放出位置とその路面用ペイント塗布装置が前記車両内に収納される収納位置とに切り換える位置切換機構を備えるため、前記位置切換機構によって前記路面用ペイント塗布装置が前記路面用ペイントを前記ペイント放出装置から路面に放出される状態に容易に移動させることができる。
以下、本発明の一実施例を図面を参照して詳細に説明する。なお、以下の実施例において、図は簡略化されており、それら各部の寸法等は必ずしも正確に描かれていない。
図1は、本発明の一実施例である路面用ペイント塗布装置10が装着された車両12の側面図であり、その車両12は図示されていない原動機と荷台14とを備え運転者によって路面上で走行操作される所謂トラックである。
車両12の荷台14上には、図1に示すように、発電機16と、図示されていないコンプレッサと、LPガスボンベ18と、光をその入射方向に向かって反射させるための小球状ガラスであるビーズを貯留するビーズタンク20と、路面用ペイント22を溶解するための溶解釜24と、溶解された路面用ペイント22をその流動性を保持するために保温する図示されていない保温タンクとが設けられている。上記保温タンクおよび溶解釜24には、LPガスボンベ18から供給されるLPガスを燃焼させる図示されていないガスバーナが熱源として設けられている。
また、車両12の荷台14の下には、図1に示すように、路面用ペイント22の塗布に先立って圧縮空気を用いて路面26上を清掃するためのエアブラシ28と、車両12の走行に伴って路面26上に路面用ペイント22をライン状に塗布する路面用ペイント塗布装置10と、その路面用ペイント塗布装置10に備えられ塗布された直後の路面用ペイント22上に固着するために前記ビーズを吹きつけるビーズガン32と、車両12の走行距離を検出するための走行距離検出装置34とが設けられている。
図2は、路面用ペイント塗布装置10から路面用ペイント22を路面26に塗布すなわち放出するペイント放出位置と路面用ペイント塗布装置10が車両12内に収納される収納位置とに切り換える位置切換機構36を示す図である。また、その位置切換機構36は、路面用ペイント塗布装置10を車両12の進行方向に対して交差する方向であって好適にはその進行方向に対して略直角を成す方向に移動可能な状態で支持するものである。また、図2では路面用ペイント塗布装置10が省かれている。
位置切換機構36は、図2に示すように、荷台14の下面14aに固定される略長方形状の一対の固定板38と、その一対の固定板38に固定され車両12の進行方向に対して略直角を成す方向に伸びる円筒形状の一対のレール部材40の基端部40aおよび中間部40bを支持する一対の支持部材42と、レール部材40の長手方向に直交する方向に平行な軸心回りに回転する一対の回転部材44a(図3および図4を参照)がレール部材40の外周面に支持されることによってそのレール部材40の長手方向への滑らかな移動が可能な一対の移動機構44をそれぞれ有する長手形状の一対の移動フレーム46とを備えている。このため、移動機構44を介して一対の移動フレーム46は1対のレール部材40によって図1に示す荷台14の下側から荷台14の外側まで図2の矢印方向に移動することができる。
また、位置切換機構36は、図2乃至図4に示すように、一対の移動フレーム46に固定される長手形状の一対の固定フレーム48と、路面用ペイント塗布装置10が取り付けられる一対の取付フレーム50と、その一対の取付フレーム50のそれぞれの側面および一対の固定フレーム48のそれぞれの側面に配設される一対の軸部材48a、50aをそれら軸部材48a、50a回りに相対回転可能に一対の固定フレーム48および一対の取付フレーム50をそれら軸部材48a、50aを介して連結する4本の連結部材52と、金属製の複数の環をつなぎ合わされたチェーン54と、一対の取付フレーム50の一方に備えられたチェーン54の一端部に位置する上記金属製の環を掛止する掛止部50bと、一対の移動フレーム46の一方に備えられたチェーン54の他端部乃至中間部に位置するいずれか一つの上記金属製の環を掛止する掛止部46aとを備えている。連結部材52を介して一対の取付フレーム50が移動フレーム46に接近する方向に移動され且つチェーン54の中間部の金属製の環が移動部材46の掛止部46aに掛け止められると、これによって、一対の取付フレーム50を介して路面用ペイント塗布装置10が図3に示す位置に配置される。
図4は、路面用ペイント塗布装置10が図3に示す位置からチェーン54の中間部の金属製の環が移動部材46の掛止部46aから調整によりその路面用ペイント塗布装置10の自重によって一対の取付フレーム50が路面26側に移動すなわち下降した状態を示すものであり、図4に示す路面用ペイント塗布装置10の位置が位置切換機構36の前記ペイント放出位置に相当するものである。また、図4では、路面用ペイント塗布装置10に前記ビーズガン32が取付られている。
路面用ペイント塗布装置10は、車両12内に収納された前記収納位置から位置移動機構36を介して作業者よって車両12の外側に引き出され、作業者が移動フレーム46の掛止部46aに掛け止められたチェーン54を調整することにより前記ペイント放出位置に移動させられるため、位置切換機構36によって作業者はその路面用ペイント塗布装置10をその路面用ペイント塗布装置10から路面用ペイント22が路面26に放出される状態に容易に移動することができる。
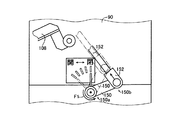
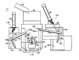
また、路面用ペイント塗布装置10は、図5および図6に示すように、前記保温タンクに設けられた自動開閉扉56および案内樋58を介して流下させられた路面用ペイント22を受けるペイント受部材60と、そのペイント受部材60が受けた流動性の路面用ペイント22を所定量受け入れるホッパ状のペイント貯留容器62と、そのペイント貯留容器62内に貯留された路面用ペイント22の液面を検出するレベルセンサ64と、路面26に塗布されたラインの幅方向の長手形状を備えた放出口66を通してペイント貯留容器62内に貯留された流動性の路面用ペイント22を路面26に向かって放出するペイント放出装置68と、ペイント貯留容器62とペイント放出装置68との間に設けられ、そのペイント貯留容器62内からペイント放出装置68へ供給される路面用ペイント22の流量を調節するためにバルブボデー76とそれに嵌め入れられた回転弁子82とから成る流量調節弁70とを備えている。
図5に示すように、ペイント貯留容器62の下部には車両12の進行方向に略直交する方向に延びる長手状開口72が形成されており、その長手状開口72を囲むようにペイント貯留容器62の下部に固設されたフランジ74が流量調節弁70のバルブボデー76の上面に固定されている。このバルブボデー76には、長手状開口72から下方へ向かって貫通する通路78が設けられており、その通路78の中間にはその通路78内を流動する路面用ペイント22の流通断面積を変化させるために軸方向に延び且つ直径方向に貫通する長手状貫通穴80を備えた円柱状の回転弁子82がその軸まわりの回転可能に嵌め入れられている。すなわち、流量調節弁70は所謂ロータリバルブと同様に構成されている。
また、図5に示すように、バルブボデー76の下面には、ペイント放出装置68の本体84が固定されている。この本体84内には、車両12の進行方向に略直交する方向すなわち長手状貫通穴80或いは回転弁子82の長手方向に平行な状態で水平方向に所定間隔を隔てた1対の円柱状回転体86、88がその軸まわりの回転が可能に設けられており、流量調節弁70を通過した路面用ペイント22がそれら1対の円柱状回転体86、88の間に落下させられるように本体84とバルブボデー76との相対位置が設定されている。
一対の円柱状回転体86、88は、路面用ペイント22を塗布するための塗布ロールとして機能するものであって、それらの円柱状回転体86、88の両方又は、片方はローレットのような多数の凹凸或いは外周歯が外周面に形成された円柱体、或いは多数本の繊維がブラシ状或いは放射状に外周面に植設された円柱体から構成され、本体84の放出口66を通して多数の細粒化された路面用ペイント22が下方すなわち路面26に向かって射出されるようになっている。長手状貫通穴80は、路面26に描くべきラインの幅寸法(例えば150mm程度)と略同等の長手寸法を備えており、また、1対の円柱状回転体86、88および放出口66は、そのラインの幅方向の長手状であって上記長手状貫通穴80よりも十分に大きいが上記ラインの幅寸法に略対応した長さ寸法に設定されている。
図7に示すように、一対の円柱状回転体86、88の両端部は、バルブボデー76および本体84の端面に固定された1対の側板90、92を貫通させられるとともに、その一対の側板90、92それぞれに固設された支持板94、96によりベアリング98を介してそれぞれ支持されている。これにより、一対の円柱状回転体86、88は、その外周面と本体84との間に僅かな隙間が形成された状態で回転可能に支持されている。
また、図7に示すように、一対の円柱状回転体86、88の一端部には、相互に噛み合う1対の歯車86a、88aが固定されるとともに、円柱状回転体86の他端部には、図4に示す駆動エンジン100の出力軸に設けられたプーリ102とともに図4に示す伝動ベルト104が巻き掛けられるプーリ106が固定されており、その駆動エンジン100によって一対の円柱状回転体86、88が図5の矢印に示す回転方向へ比較的高速で回転駆動されるようになっている。これにより、1対の円柱状回転体86、88の間に落下させられた路面用ペイント22は、その一対の円柱状回転体86、88の遠心力を利用し細粒化された状態で本体84の放出口66を通して図5の破線の矢印に沿って路面26に向かって射出される。また、駆動エンジン100は、その駆動エンジン100に備えられた図示されていないエンジン駆動装置が操作されることによって駆動エンジン100が駆動されて出力軸に固定されたプーリ102が回転駆動し、伝動ベルト104およびプーリ106を介して円柱状回転体86、88を回転駆動する。
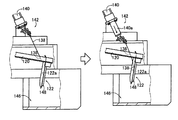
路面用ペイント塗布装置10には、図5および図6に示すように、車両進行方向に直交する方向に平行な第1軸心L1回りに回動可能に基端部108aが一対の側板90,92にそれぞれ支持される一対の第1アーム部材108と、その一対の第1アーム部材108の先端部108bに固定され、一対の第1アーム部材108が第1軸心L1回りに回動することによってペイント放出装置68の放出口66から路面26に向かう路面用ペイント22の放射経路67を遮蔽する略水平な第1遮蔽位置(遮断位置)とその放出口66すなわち放射経路67を開放する第1開放位置(開放位置)との間で移動させられる略長方形状の第1受板110と、圧縮空気を駆動エネルギとして一対の第1アーム部材108を第1軸心L1回りに回動させ第1受板110を上記第1遮断位置と上記第1開放位置とへ移動させる第1受板駆動装置(受板駆動装置)として機能するロータリアクチュエータ112とを有する第1遮断装置114が備えられている。また、ロータリアクチュエータ112は、そのロータリアクチュエータ112に供給される上記圧縮空気の供給路が切り換えられる第1切換制御弁116が路面用ペイント塗布装置10に備えられた電子制御装置(制御装置)118によって制御されることによって一対の第1アーム部材108を介して第1受板110が上記第1遮断位置または上記第1開放位置に移動させられる。
図5および図6の実線で表されている第1受板110の位置は、前記第1開放位置を示し、1点鎖線は前記第1遮断位置を示している。また、一対の側板90,92には、一対の第1アーム部材108の第1軸心L1回りの回動範囲を所定範囲内に拘束する図示されていない一対の第1ストッパー部が備えられており、第1受板110が一対の第1アーム部材108を介して車両進行方向に回動する場合、第1受板110は第1アーム部材108が上記一対の第1ストッパー部の一方に当接されることによって前記第1遮断位置で停止するようになっており、第1受板110が一対の第1アーム部材108を介して車両進行方向と反対方向に回動する場合、第1受板110は第1アーム部材108が上記一対の第1ストッパー部の他方に当接されることによって前記第1開放位置で停止するようになっている。
路面用ペイント塗布装置10には、図5および図6に示すように、車両進行方向に直交する方向に平行な第1軸心L2回りに回動可能に基端部120aが一対の側板90,92にそれぞれ支持される一対の第2アーム部材120と、その一対の第2アーム部材120の先端部120bに固定され、一対の第2アーム部材120が第2軸心L2回りに回動することによってペイント放出装置68の放出口66から路面26に向かう路面用ペイント22の放射経路67を遮蔽する略水平な第2遮蔽位置(遮断位置)とその放出口66すなわち放射経路67を開放する第2開放位置との間で移動させられる矩形状の第2受板122と、圧縮空気を駆動エネルギとして一対の第2アーム部材120を第2軸心L2回りに回動させ第2受板122を上記第2遮断位置と上記第2開放位置とへ移動させる第2受板駆動装置(受板駆動装置)として機能するロータリアクチュエータ124とを有する第2遮断装置126が備えられている。また、ロータリアクチュエータ126は、そのロータリアクチュエータ126に供給される上記圧縮空気の供給路が切り換えられる第2切換制御弁128が電子制御装置118によって制御されることによって一対の第2アーム部材120を介して第2受板122が上記第2遮断位置または上記第2開放位置に移動させられる。
図5および図6の実線で表されている第2受板122の位置は、前記第2開放位置を示し、1点鎖線は前記第2遮断位置を示している。また、一対の側板90,92には、一対の第2アーム部材120の第2軸心L2回りの回動範囲を所定範囲内に拘束する図示されていない一対の第2ストッパー部が備えられており、第2受板122が一対の第2アーム部材120を介して車両進行方向に回動する場合、第2受板122は第2アーム部材120が上記一対の第2ストッパー部の一方に当接されることによって前記第2開放位置で停止するようになっており、第2受板122が一対の第2アーム部材120を介して車両進行方向と反対方向に回動する場合、第2受板122は第2アーム部材120が上記一対の第2ストッパー部の他方に当接されることによって前記第2遮断位置で停止するようになっている。
路面用ペイント塗布装置10には、図6に示すように、前記第1開放位置に位置する第1受板110の受面110aに先端から摺接させるための略長方形状の銅板である第1板部材130と、その第1板部材130が取付られた出力軸132aを第1受面110側に突き出す空圧シリンダ(アクチュエータ)132とを有する第1ペイント除去装置(ペイント除去装置)134が備えられている。また、第1ペイント除去装置134は、空圧シリンダ132に供給される圧縮空気の供給路が切り換えられる第4切換制御弁136が電子制御装置118により制御されることによって、第1受板110が上記第1開放位置である場合に図8に示すように空圧シリンダー132から出力軸132aすなわち第1板部材130を第1受板110側に突き出すことにより第1受板110の受面110aに受けられた路面用ペイント22を第1受板110から掻き落とすものである。
また、路面用ペイント塗布装置10には、図6に示すように、前記第2開放位置に位置する第2受板122の受面122aに先端から摺接させるための略長方形状の銅板である第2板部材138と、その第2板部材138が取付られた出力軸140aを第2受面122側に突き出す空圧シリンダ(アクチュエータ)140とを有する第2ペイント除去装置(ペイント除去装置)142が備えられている。また、第2ペイント除去装置142は、空圧シリンダ140に供給される圧縮空気の供給路が切り換えられる第5切換制御弁144が電子制御装置118により制御されることによって、第2受板122が上記第2開放位置である場合に図9に示すように空圧シリンダー140から出力軸140aすなわち第2板部材138を第2受板122側に突き出すことにより第2受板122の受面122aに受けられた路面用ペイント22を第2受板122から掻き落とすものである。
また、第2ペイント除去装置142には、その第2ペイント除去装置142によって第2受板122から掻き落とされた路面用ペイント22を受けて集めるペイント容器146が備えられている。
第1ペイント除去装置134および第2ペイント除去装置142は、路面用ペイント塗布装置10の作業中に第1受板110および第2受板122に路面用ペイント22が付着しても、第1板部材130および第2板部材138によってその第1受板110および第2受板122上の路面用ペイント22が掻き落とされて除去されるので路面用ペイント塗布装置10の連続的な塗布作業が可能になる。
第1受板110および第2受板122には、それら受面110a,122aに受けられた路面用ペイント22をその流動性が失われない温度すなわち溶解或いは液化させられる温度まで加熱保温して路面用ペイント22が第1受板110および第2受板122に固着させないようにするためのヒータ(加熱装置)148がそれぞれ備えられているため、第1受板110および第2受板122上に付着した路面用ペイント22を第1ペイント除去装置134および第2ペイント除去装置142の第1板部材130、第2板部材138によって容易に第1受板110および第2受板122から除去することができる。
路面用ペイント塗布装置10には、図4および図10に示すように、基端部150aに流量制御弁70の回転弁子82の一端部が固定される長手形状のレバー部材150と、そのレバー部材150の先端部150bに一端部が回転可能に連結される長手形状の回動連結部材152と、その回動連結部材152の他端部が固定される図示されていない出力軸を備える空圧シリンダー154とを有する開閉装置156が備えられている。
開閉装置156は、空圧シリンダ154に供給される圧縮空気の供給路が切り換えられる第3切換制御弁158が電子制御装置118により制御されることによって空圧シリンダ154の出力軸が移動すると、回動連結部材152を介してレバー部材150が図10の実線で示す閉状態から図10の一点鎖線で示す開状態に切り換えられる。また、レバー部材150が上記閉状態から上記開状態に切り換えられることによって流量調節弁70の回転弁子82は、ペイント貯留容器62からペイント放出装置68への路面用ペイント22の供給路が閉じた状態からペイント貯留容器62からペイント放出装置68への路面用ペイント22の供給路が開く状態に切り換えられる。また、電子制御装置118は、図示されてない塗布開始釦が操作されると第3切換制御弁158を制御してレバー部材150を上記閉状態から上記開状態に切り換える。
また、開閉装置156は、レバー部材150の前記開状態において空圧シリンダ154の出力軸と当接してその出力軸の移動を拘束する図示されていないストッパー部材と、そのストッパー部材とその出力軸との当接位置を作業者の操作によって移動させる図示されていない移動機構とを備えており、そのストッパー部材と空圧シリンダ154の出力軸との当接位置が移動させられることによって回動連結部材152を介してレバー部材150が図10で示す一点鎖線の状態から実線の状態の間の位置に移動させることができる。そのため、作業者の判断によってペイント放出装置68から放出される路面用ペイント22の量を変化させることができ、路面26に塗布された路面用ペイント22の厚みを作業者の判断によって調節することができる。
前記走行速度検出装置34は、図11に詳しく示すように、上下フレーム160により回転可能に支持され、その上下フレーム160が下降位置に位置させられているときに路面26に接地して回転させられる回転輪162と、上下フレーム160に固定されたハウジング164内に設けられ、カップリング166を介して回転輪162の車軸168と連結されたロータリエンコーダ170とを備えている。そのロータリエンコーダ170から出力されるパルス信号の周期或いは周波数は、車両12の走行速度Vを表しており、その走行速度Vに基づいて走行距離Mが算出される。
図12は、路面用ペイント塗布装置10に設けられた電子制御装置(制御装置)118の要部を説明する図である。図12において、レベルセンサ64から出力された液面検出信号、走行距離検出装置34から出力された車両12の実際の走行距離Mを表す信号、図示されていない塗布準備釦が操作されたことを表す信号、図示されていない塗布開始釦が操作されたことを表す信号を電子制御装置118にそれぞれ供給されるようになっている。その電子制御装置118はCPU、ROM、RAM、入出力インターフェースなどを備えた所謂マイクロコンピュータであって、CPUはRAMの一時記憶機能を利用しつつ予めROMに記憶されたプログラムに従って入力信号を処理し、ロータリアクチュエータ112、ロータリアクチュエータ124、空圧シリンダ132、空圧シリンダ140、空圧シリンダ154を作動させるための第1切換制御弁116、第2切換制御弁128、第3切換制御弁158、第4切換制御弁144、第5切換制御弁136、自動開閉扉56を制御する。
以上のように構成された本実施例の路面用ペイント塗布装置10においては、塗布作業開始に先立って作業者は、位置切換機構34を介して路面用ペイント塗布装置10を車両12内に収納された前記収納位置から路面用ペイント22がペイント放出装置68から路面26に放出される前記ペイント放出位置へ移動させて、その後、駆動エンジン100に備えられた図示されていないエンジン駆動装置を操作することによって駆動エンジン100を駆動し一対の円柱状回転体86、88を回転駆動する。
そして、図示されていない塗布準備釦が操作されると、電子制御装置118は、自動開閉扉56を制御することにより、前記保温タンク内に貯留されていた路面用ペイント22を案内樋58を介して流下させ、ペイント貯留容器62内において予め設定された一定の液面となるように路面用ペイント22の供給を自動的に制御する。すなわち、レベルセンサ64により予め設定された路面用ペイント22の液面が予め設定された一定の液面に保持されるように前記保温タンクの自動開閉扉56を開閉制御する。これにより、少なくとも塗布作業中においてぺイント貯留容器62内の路面用ペイント22の液面が常時一定に保持される。したがって、上記電子制御装置118は、液面制御装置としても機能している。また、電子制御装置118は、第1切換制御弁116および第2切換制御弁128を制御することによって、ロータリアクチュエータ112およびロータリアクチュエータ124を駆動させて第1受板110を前記第1遮断位置に回動させるとともに、第2受板122を前記第2開放位置に回動させる。さらに、ヒータ148によって第1受板110および第2受板122が路面用ペイント22の溶融温度或いは軟化温度以上の温度に加熱され且つ保持される。
そして、図示されていない塗布開始釦が操作されると、電子制御装置118は、第3切換制御弁158を制御してレバー部材150を前記閉状態から前記開状態に移動させて流量調節弁70を開放させると同時に、第1切換制御弁116を制御してロータリーアクチュエータ112によりそれまで前記第1遮断位置にあった第1受板110を前記第1開放位置へ回動させる。これにより、1対の円柱状回転体86、88の間に落下させられた路面用ペイント22は、細粒化された状態で本体84の放出口66を通して射出されて、その射出の開始直後は第1受板110に受け止められ、その後第1受板110が前記第1開放位置に移動することによって路面26に塗布される。
前記塗布開始釦が操作されて流量調節弁70の回転弁子82の一端部に固定されたレバー部材150が前記閉状態から前記開状態となりペイント放出装置68に供給される路面用ペイント22の流量が一定となるまでの間において、ペイント放出装置68から放出される路面用ペイント22の量は少なくその路面用ペイント22が路面26に塗布されるとその路面用ペイント22の厚みが薄くなるため、第1受板110は、ペイント放出装置68に供給される路面用ペイント22の流量が一定となるまでの間、ペイント放出装置68から放出される路面用ペイント22を受け止めるようにロータリーアクチュエータ112によって前記第1遮断位置から前記第1開放位置に回動するものである。
第1受板110を第1軸心L1回りに回動させるロータリーアクチュエータ112の回動速度は、空圧シリンダー154によるレバー部材150の前記閉状態から前記開状態に切り換えられる時間を考慮して複数個算出された回転速度をそれぞれロータリーアクチュエータ112に適用させて路面用ペイント装置10から路面26に描かれたラインの始端部の鮮明さを検証させて最も良好であるものの回転速度を選定したものである。これにより、路面用ペイント22のペイント放出装置68への供給が行われる時には、電子制御装置118によってその供給の開始直後に放出される比較的に流量の少ない初期期間において路面用ペイント22が第1受板110に受け止められ、その後第1受板110が前記第1開放位置に移動するので路面26に描かれたラインの始端部が鮮明になる。
第1受板110が前記第1開放位置に移動すると、電子制御装置118は第4切換制御弁136を制御して空圧シリンダ132の出力軸132aに取付られた第1板部材130を第1受板110側に突き出すことによって、第1受面110に受け止められた路面用ペイント22は第1受板110から掻き落とされるとともに、その掻き落とされた路面用ペイント22はペイント放出装置68から路面26にライン状に塗布されたライン上に落とされる。
ペイント放出装置68から路面用ペイント22が路面26に放出されている際、作業者は開放装置156に備えられた前記移動機構の前記ストッパー部を移動させることによって、流量調節弁70を介してペイント放出装置68から放出される路面用ペイント22の放出量を調節することができ、路面用ペイント22塗布中に路面26に塗布された路面用ペイント22の厚みが薄い或いは厚い場合にはその時々において作業者の判断によって路面用ペイント22の厚みが調節される。
図示されていない塗布終了釦が操作されるか、或いは路面26に塗布されるラインの距離を設定した設定値が走行距離検出装置34から入力される車両走行距離が同じとなり塗布の終了が判断されると、電子制御装置118は第3切換制御弁158を制御して流量制御弁70を閉じるとともに、第1切換制御弁116を制御してそれまで前記第1開放位置にあった第1受板110を前記第1遮断位置へ回動させると同時に、第2切換制御弁128を制御してそれまで前記第2開放位置にあった第2受板122を前記第2遮断位置へ回動させる。これにより、流量制御弁70を閉じた後でも流量制御弁70の出口や1対の円柱状回転体86、88などに付着した路面用ペイント22がペイント放出装置68から路面26へ向かって放出されることが第1受板110および第2受板122により遮断されるので、路面26上に塗布された路面用ペイント22によって描かれる道路標識、区画線、文字などの路面ラインの終端部がきれいにすなわちシャープに形成される。
その後、路面用ペイント塗布装置10から路面用ペイント22が路面26に塗布するために第2受板122が前記第2開放位置に移動すると、電子制御装置118は第5切換制御弁114を制御して空圧シリンダ140の出力軸140aに取付られた第2板部材138を第2受板122側に突き出すことによって、第2受面122aに受け止められた路面用ペイント22は第2受板122から掻き落とされるとともに、その掻き落とされた路面用ペイント22はペイント容器146に落とされる。
本実施例の路面用ペイント塗布装置10によれば、(b) ペイント放出装置68の放出口66をそれぞれ遮断する一対の第1受板110および第2受板122と、(c) その一対の第1受板110および第2受板122を放出口66と路面26との間の放射経路67を遮断する遮断位置とその放射経路67を開く開放位置との間でそれぞれ移動させる一対のロータリアクチュエータ(受板駆動装置)112,124と、(d) 路面用ペイント22のペイント放出装置68への供給が行われるときは第1受板110にその供給の開始直後に放出される路面用ペイント22を受けさせた後その第1受板110をその遮断位置からその開放位置へ移動させるとともに、路面用ペイント22のペイント放出装置68への供給が停止されるときは第2受板122を前記遮断位置に位置させてその供給の停止後に放出される路面用ペイント22を受けさせる電子制御装置(制御装置)118とを含むため、路面用ペイント22のペイント放出装置68への供給が行われる時には、電子制御装置118によってその供給の開始直後に放出される比較的に流量の少ない路面用ペイント22が第1受板110に受け止められ、その後第1受板110が前記開放位置に移動するので路面26に描かれたラインの始端部が鮮明になる。さらに、路面用ペイント22のペイント放出装置68への供給が停止される時には、電子制御装置118によってその供給の停止後に放出される路面用ペイント22が第2受板122に受け止められるので路面26に描かれたラインの終端部が鮮明になる。
また、実施例の路面用ペイント塗布装置10によれば、電子制御装置118は、路面用ペイント22のペイント放出装置68への供給が停止されるときは第1受板110を前記遮断位置に位置させるものであるため、路面用ペイント22のペイント放出装置68への供給が停止される時には、電子制御装置118によってその供給の停止後に放出される路面用ペイント22が第1受板110および第2受板112に好適に受け止められる。
また、実施例の路面用ペイント塗布装置10によれば、前記開放位置に位置する第1受板110および第2受板122の受面110a,122aに先端から摺接させるための一対の第1板部材130および第2板部材138と、その一対の第1板部材130および第2板部材138をそれぞれ突き出すための一対の空圧シリンダー(アクチュエータ)132,140とを備え、その第1板部材130および第2板部材138を突き出すことによりその第1受板110および第2受板122上の受面110a,122aに受けられた路面用ペイント22をその第1受板110および第2受板122上からそれぞれ掻き落とす一対のペイント除去装置134,142を、備えるため、その一対のペイント除去装置134,142の第1板部材130および第2板部材138によって第1受板110および第2受板122上の路面用ペイント22が除去されるので、路面用ペイント塗布装置10の連続的な塗布作業が可能となる。
また、実施例の路面用ペイント塗布装置10によれば、(a) ペイント除去装置134は、第1受板110上の路面用ペイント22をペイント放出装置68から路面26にライン状に塗布されたライン上に落とすものであり、(b) ペイント除去装置142は、第2受板122上の路面用ペイント22をそのペイント除去装置142に備えられた路面用ペイント22を受けて集めるペイント容器146に落とすものであるため、路面26に描かれたラインが鮮明なままで路面用ペイント塗布装置10の連続的な塗布作業が可能となる。
また、実施例の路面用ペイント塗布装置10によれば、第1受板110および第2受板122には、その第1受板110および第2受板122上に受けられた路面用ペイント22の流動性を高めるためにその第1受板110および第2受板122をそれぞれ加熱するヒータ(加熱装置)148が備えられているため、第1受板110および第2受板122上の路面用ペイント22をその第1受板110および第2受板122上から好適に除去することができる。
また、実施例の路面用ペイント塗布装置10によれば、路面用ペイント塗布装置10が車両12の進行方向に対して交差する方向に移動可能な状態でその車両12に支持され、路面用ペイント22がペイント放出装置68から路面26に放出されるペイント放出位置とその路面用ペイント塗布装置10が車両12内に収納される収納位置とに切り換える位置切換機構36を備えるため、位置切換機構36によって路面用ペイント塗布装置10が路面用ペイント22をペイント放出装置68から路面26に放出される状態に容易に移動させることができる。
以上、本発明の実施例を図面に基づいて詳細に説明したが、これはあくまでも一実施形態であり、本発明は当業者の知識に基づいて種々の変更,改良を加えたその他の態様においても適用される。
例えば、前記の実施例において、電子制御装置118は、図示されていない塗布終了釦が操作されるか、或いは路面26に塗布されるラインの距離を設定した設定値が走行距離検出装置34から入力される車両走行距離が同じとなり塗布の終了が判断されると、第1切換制御弁116および第2切換制御弁128を制御して第1受板および第2受板を遮断位置に回動させたが必ずしも第1受板を上記遮断位置に回動させる必要はない。
また、前記実施例の第1遮断装置114および第2遮断装置126は、第1受板110および第2受板122が略水平な遮断位置と略垂直な開放位置とに回動させられるように構成されていたが、第1受板110および第2受板122が略水平な遮断位置と略水平な開放位置とに平行移動させられるように構成されていてもよい。
その他一々例示はしないが、本発明は当業者の知識に基づいて種々の変更、改良を加えた態様で実施することができる。
本発明の一実施例である路面用ペイント塗布装置およびそれが搭載された車両を示す側面図である。 図1のII-II視断面図である。 図2のIII-III視面図である。 図3の状態からチェーンを調整し路面用ペイント装置が下降した状態であって位置切換機構のペイント放出位置を表す図である。 図7のV-V視断面図である。 図7のVI-VI視面図である。 図4のVII-VII 視断面図である。 第1ペイント除去装置の作動状態を説明する図である。 第2ペイント除去装置の作動状態を説明する図である。 図6の路面用ペイント塗布装置に備えられた開閉装置を説明する図である。 図1の車両に設けられた走行距離検出装置を説明する断面図である。 路面用ペイント塗布装置に設けられた制御装置の構成を説明するブロック線図である。
符号の説明
10:路面用ペイント塗布装置
12:車両
22:路面用ペイント
26:路面
36:位置切換機構
66:放出口
68:ペイント放出装置
110:第1受板
110a:受面
112:ロータリアクチュエータ(受板駆動装置)
118:電子制御装置(制御装置)
122:第2受板
122a:受面
124:ロータリアクチュエータ(受板駆動装置)
130:第1板部材
132:空圧シリンダ(アクチュエータ)
134:第1ペイント除去装置(ペイント除去装置)
138:第2板部材
140:空圧シリンダ(アクチュエータ)
142:第2ペイント除去装置(ペイント除去装置)
146:ペイント容器
148:ヒータ(加熱装置)

Claims (6)

  1. 連続回転する円筒状回転体に供給される流動性の路面用ペイントを遠心力を利用して細粒化し放出口から路面に向かって放出するペイント放出装置を備えて該路面上を走行する車両に設けられ、該車両の走行に伴って該路面上に路面用ペイントをライン状に塗布する路面用ペイント塗布装置であって、
    前記ペイント放出装置の放出口をそれぞれ遮断する一対の第1受板および第2受板と、
    該一対の第1受板および第2受板を前記放出口と路面との間の放射経路を遮断する遮断位置と該放射経路を開く開放位置との間でそれぞれ移動させる一対の受板駆動装置と、
    前記路面用ペイントのペイント放出装置への供給が行われるときは前記第1受板に該供給の開始直後に放出される路面用ペイントを受けさせた後該第1受板を該遮断位置から該開放位置へ移動させるとともに、前記路面用ペイントのペイント放出装置への供給が停止されるときは前記第2受板を前記遮断位置に位置させて該供給の停止後に放出される路面用ペイントを受けさせる制御装置とを含むことを特徴とする路面用ペイント塗布装置。
  2. 前記制御装置は、前記路面用ペイントのペイント放出装置への供給が停止されるときは前記第1受板を前記遮断位置に位置させるものであることを特徴とする請求項1の路面用ペイント塗布装置。
  3. 前記開放位置に位置する前記第1受板および第2受板の受面に先端から摺接させるための一対の第1板部材および第2板部材と、該一対の第1板部材および第2板部材をそれぞれ突き出すための一対のアクチュエータとを備え、該第1板部材および第2板部材を突き出すことにより該第1受板および第2受板上の受面に受けられた前記路面用ペイントを該第1受板および第2受板上からそれぞれ掻き落とす一対のペイント除去装置を、備える請求項1または2の路面用ペイント塗布装置。
  4. 前記一対のペイント除去装置の一方は、前記第1受板上の前記路面用ペイントを前記ペイント放出装置から路面にライン状に塗布されたライン上に落とすものであり、
    前記一対のペイント除去装置の他方は、前記第2受板上の前記路面用ペイントを該他方のペイント除去装置に備えられた前記路面用ペイントを受けて集めるペイント容器に落とすものである請求項3の路面用ペイント塗布装置。
  5. 前記第1受板および第2受板には、該第1受板および第2受板上に受けられた前記路面用ペイントの流動性を高めるために該第1受板および第2受板をそれぞれ加熱する加熱装置が備えられているものである請求項1乃至4のいずれか1の路面用ペイント塗布装置。
  6. 前記路面用ペイント塗布装置が前記車両の進行方向に対して交差する方向に移動可能な状態で該車両に支持され、前記路面用ペイントが前記ペイント放出装置から路面に放出されるペイント放出位置と該路面用ペイント塗布装置が前記車両内に収納される収納位置とに切り換える位置切換機構を備えることを特徴とする請求項1乃至5のいずれか1の路面用ペイント塗布装置。
JP2008270437A 2008-10-21 2008-10-21 路面用ペイント塗布装置 Active JP4982466B2 (ja)

Priority Applications (1)

Application Number Priority Date Filing Date Title
JP2008270437A JP4982466B2 (ja) 2008-10-21 2008-10-21 路面用ペイント塗布装置

Applications Claiming Priority (1)

Application Number Priority Date Filing Date Title
JP2008270437A JP4982466B2 (ja) 2008-10-21 2008-10-21 路面用ペイント塗布装置

Publications (2)

Publication Number Publication Date
JP2010100989A true JP2010100989A (ja) 2010-05-06
JP4982466B2 JP4982466B2 (ja) 2012-07-25

Family

ID=42291863

Family Applications (1)

Application Number Title Priority Date Filing Date
JP2008270437A Active JP4982466B2 (ja) 2008-10-21 2008-10-21 路面用ペイント塗布装置

Country Status (1)

Country Link
JP (1) JP4982466B2 (ja)

Cited By (1)

* Cited by examiner, † Cited by third party
Publication number Priority date Publication date Assignee Title
CN114808650A (zh) * 2022-05-12 2022-07-29 广州隧华智慧交通科技有限公司 一种高耐久性道路标线及其工艺方法和应用

Citations (3)

* Cited by examiner, † Cited by third party
Publication number Priority date Publication date Assignee Title
JP2000192421A (ja) * 1998-12-25 2000-07-11 Shingo Kizai Kk 噴射式道路標示塗布装置
JP2000352010A (ja) * 1999-06-11 2000-12-19 Daia Co Ltd 路面用ペイント塗布装置
JP2001090023A (ja) * 1999-09-24 2001-04-03 Shingo Kizai Kk 噴射式道路標示塗布装置

Patent Citations (3)

* Cited by examiner, † Cited by third party
Publication number Priority date Publication date Assignee Title
JP2000192421A (ja) * 1998-12-25 2000-07-11 Shingo Kizai Kk 噴射式道路標示塗布装置
JP2000352010A (ja) * 1999-06-11 2000-12-19 Daia Co Ltd 路面用ペイント塗布装置
JP2001090023A (ja) * 1999-09-24 2001-04-03 Shingo Kizai Kk 噴射式道路標示塗布装置

Cited By (2)

* Cited by examiner, † Cited by third party
Publication number Priority date Publication date Assignee Title
CN114808650A (zh) * 2022-05-12 2022-07-29 广州隧华智慧交通科技有限公司 一种高耐久性道路标线及其工艺方法和应用
CN114808650B (zh) * 2022-05-12 2023-04-07 广州隧华智慧交通科技有限公司 一种高耐久性道路标线的装置

Also Published As

Publication number Publication date
JP4982466B2 (ja) 2012-07-25

Similar Documents

Publication Publication Date Title
KR100930075B1 (ko) 콤팩트화된 동력식 노면 표시 도색장치
US7448826B2 (en) Modular device for simultaneously spreading cut fibers and binders and a spreading machine
KR102071866B1 (ko) 듀얼구동 제어 및 3축 제어를 이용한 자동 차선도장장치
JP4982466B2 (ja) 路面用ペイント塗布装置
KR101493778B1 (ko) 스프레드 노즐형 차선 시공장치
KR101025280B1 (ko) 선명한 차선 도색구조를 갖는 융착식 스프레이 도색차량
JP5784466B2 (ja) 路面用ペイント塗布装置
KR101054789B1 (ko) 차선표시 시설장비
KR101747370B1 (ko) 융착식 차선 도색장치
KR101509321B1 (ko) 3차원적인 입체 기능성 차선을 시공하기 위한 포장도로의 차선 도색장치
CN103314161B (zh) 带有快速高度调节机构的热塑性塑料模盒
JP2000352010A (ja) 路面用ペイント塗布装置
KR101979191B1 (ko) 이액형 상온 경화형 차선 도색장치
KR102068904B1 (ko) 차량용 레인센서의 테스트장치
US20100209616A1 (en) Electrostatic coating method and electrostatic coating apparatus
JP2004306273A (ja) タイヤ加硫ブラダーの離型剤塗布装置、及びタイヤ加硫ブラダーの離型剤塗布方法
JP2966283B2 (ja) 道路区画線用ペイント塗布装置
JPH0313605A (ja) 路面標示ラインの施工方法及びその装置
JP2012117253A (ja) 路面標示線用ペイント塗布装置
KR200264287Y1 (ko) 수동식 요철형 차선 도색장치
KR102375743B1 (ko) 노면표시 노후 페인트 처리기
US5534060A (en) Spin cup and spin cup drive for applying viscous materials
JP2010188236A (ja) 静電塗装方法
KR102768804B1 (ko) 회전형 스플래터를 이용한 스캐터링 차선 시공장치
JP2010188237A (ja) 静電塗装方法

Legal Events

Date Code Title Description
A977 Report on retrieval

Free format text: JAPANESE INTERMEDIATE CODE: A971007

Effective date: 20101228

A131 Notification of reasons for refusal

Free format text: JAPANESE INTERMEDIATE CODE: A131

Effective date: 20110816

A521 Request for written amendment filed

Free format text: JAPANESE INTERMEDIATE CODE: A523

Effective date: 20111013

TRDD Decision of grant or rejection written
A01 Written decision to grant a patent or to grant a registration (utility model)

Free format text: JAPANESE INTERMEDIATE CODE: A01

Effective date: 20120410

A01 Written decision to grant a patent or to grant a registration (utility model)

Free format text: JAPANESE INTERMEDIATE CODE: A01

A61 First payment of annual fees (during grant procedure)

Free format text: JAPANESE INTERMEDIATE CODE: A61

Effective date: 20120423

FPAY Renewal fee payment (event date is renewal date of database)

Free format text: PAYMENT UNTIL: 20150427

Year of fee payment: 3

R150 Certificate of patent or registration of utility model

Ref document number: 4982466

Country of ref document: JP

Free format text: JAPANESE INTERMEDIATE CODE: R150

Free format text: JAPANESE INTERMEDIATE CODE: R150

R250 Receipt of annual fees

Free format text: JAPANESE INTERMEDIATE CODE: R250

R250 Receipt of annual fees

Free format text: JAPANESE INTERMEDIATE CODE: R250

R250 Receipt of annual fees

Free format text: JAPANESE INTERMEDIATE CODE: R250

R250 Receipt of annual fees

Free format text: JAPANESE INTERMEDIATE CODE: R250

R250 Receipt of annual fees

Free format text: JAPANESE INTERMEDIATE CODE: R250

R250 Receipt of annual fees

Free format text: JAPANESE INTERMEDIATE CODE: R250

R250 Receipt of annual fees

Free format text: JAPANESE INTERMEDIATE CODE: R250

R250 Receipt of annual fees

Free format text: JAPANESE INTERMEDIATE CODE: R250

R250 Receipt of annual fees

Free format text: JAPANESE INTERMEDIATE CODE: R250

R250 Receipt of annual fees

Free format text: JAPANESE INTERMEDIATE CODE: R250

R250 Receipt of annual fees

Free format text: JAPANESE INTERMEDIATE CODE: R250