JP2010096327A - ローラ型ワンウェイクラッチ - Google Patents

ローラ型ワンウェイクラッチ Download PDF

Info

Publication number
JP2010096327A
JP2010096327A JP2008269766A JP2008269766A JP2010096327A JP 2010096327 A JP2010096327 A JP 2010096327A JP 2008269766 A JP2008269766 A JP 2008269766A JP 2008269766 A JP2008269766 A JP 2008269766A JP 2010096327 A JP2010096327 A JP 2010096327A
Authority
JP
Japan
Prior art keywords
outer ring
way clutch
roller
pocket
side plate
Prior art date
Legal status (The legal status is an assumption and is not a legal conclusion. Google has not performed a legal analysis and makes no representation as to the accuracy of the status listed.)
Granted
Application number
JP2008269766A
Other languages
English (en)
Other versions
JP5205211B2 (ja
Inventor
Tomoharu Ando
友春 安藤
Current Assignee (The listed assignees may be inaccurate. Google has not performed a legal analysis and makes no representation or warranty as to the accuracy of the list.)
NSK Warner KK
Original Assignee
NSK Warner KK
Priority date (The priority date is an assumption and is not a legal conclusion. Google has not performed a legal analysis and makes no representation as to the accuracy of the date listed.)
Filing date
Publication date
Application filed by NSK Warner KK filed Critical NSK Warner KK
Priority to JP2008269766A priority Critical patent/JP5205211B2/ja
Priority to US12/581,862 priority patent/US20100096236A1/en
Publication of JP2010096327A publication Critical patent/JP2010096327A/ja
Application granted granted Critical
Publication of JP5205211B2 publication Critical patent/JP5205211B2/ja
Expired - Fee Related legal-status Critical Current
Anticipated expiration legal-status Critical

Links

Images

Classifications

    • FMECHANICAL ENGINEERING; LIGHTING; HEATING; WEAPONS; BLASTING
    • F16ENGINEERING ELEMENTS AND UNITS; GENERAL MEASURES FOR PRODUCING AND MAINTAINING EFFECTIVE FUNCTIONING OF MACHINES OR INSTALLATIONS; THERMAL INSULATION IN GENERAL
    • F16DCOUPLINGS FOR TRANSMITTING ROTATION; CLUTCHES; BRAKES
    • F16D41/00Freewheels or freewheel clutches
    • F16D41/06Freewheels or freewheel clutches with intermediate wedging coupling members between an inner and an outer surface
    • F16D41/064Freewheels or freewheel clutches with intermediate wedging coupling members between an inner and an outer surface the intermediate members wedging by rolling and having a circular cross-section, e.g. balls
    • F16D41/066Freewheels or freewheel clutches with intermediate wedging coupling members between an inner and an outer surface the intermediate members wedging by rolling and having a circular cross-section, e.g. balls all members having the same size and only one of the two surfaces being cylindrical
    • F16D41/067Freewheels or freewheel clutches with intermediate wedging coupling members between an inner and an outer surface the intermediate members wedging by rolling and having a circular cross-section, e.g. balls all members having the same size and only one of the two surfaces being cylindrical and the members being distributed by a separate cage encircling the axis of rotation

Landscapes

  • Engineering & Computer Science (AREA)
  • General Engineering & Computer Science (AREA)
  • Mechanical Engineering (AREA)
  • Rolling Contact Bearings (AREA)
  • One-Way And Automatic Clutches, And Combinations Of Different Clutches (AREA)
  • Pulleys (AREA)

Abstract

【課題】クラッチ内に堆積するゴミを外部に排出できる構成を設けることによって、信頼性の向上したローラ型ワンウェイクラッチを提供する。
【解決手段】ポケット4が形成された外輪1と、外輪1に対して同心状に配置された内輪2と、ポケット4に配置され、外輪1と内輪2との間でトルクを伝達するローラ3と、円筒部と、円筒部から外径方向へ延在するフランジ部17を備え、ローラ3を保持する四辺が囲まれた窓が円筒部に設けられている保持器と、ポケット4内で外輪1とローラ3との間に配置され、ローラ3をカム面12との係合方向に付勢するスプリング5と、外輪1の軸方向端面21に当接するように固定され、内径部にスプライン溝9を有する側板7とを備えるワンウェイクラッチにおいて、側板7には一端が外輪1のポケット4に連通し、他端が側板の外径端に開口する少なくとも一つの溝部25が設けられていることを特徴とするワンウェイクラッチ。
【選択図】図3

Description

本発明は、例えば自動車や産業機械などの駆動装置内でトルク伝達、バックストップ等の部品として使用されるローラ型ワンウェイクラッチに関するものである。
一般に、ローラ型ワンウェイクラッチは、内周にカム面を有する少なくとも一つのポケットが形成された外輪と、外輪と同心に配置されており外周軌道面を有する内輪と、ポケット内に配置されて内輪の外周軌道面と外輪の内周カム面との間でトルクを伝達するローラと、ローラの空転側に接するスプリングなどから成っている。
このような構成において、ローラ型ワンウェイクラッチはローラとカム面とで構成されるカム機構により、外輪に対して内輪を一方向のみに回転するようにしている。すなわち内輪は外輪に対して一方向で空転し、その逆方向でのみカム機構を介して外輪に回転トルクを与える構成になっている。
例えば二輪車用のスタータに使用されているワンウェイクラッチでは、高回転のため振動も激しく、粉塵に対する環境が厳しい条件で使用されるため、ワンウェイクラッチ内には摩耗粉を含んだゴミなどの異物が溜まりやすい。ワンウェイクラッチ内の異物は噛み合い性能にも悪影響を及ぼすため、ワンウェイクラッチとしての信頼性を向上させるためには、速やかに除去できることが好ましい。
一方で、二輪車用のスタータに使用されているローラ型ワンウェイクラッチには、特許文献1に開示のように、エンジンクランク軸等の部材が係合するスプライン溝が内径部に設けられた側板がワンウェイクラッチの外輪にボルトにより取り付けられているものがある。
また、ワンウェイクラッチの性能を向上させるために、部材の潤滑を施すことが挙げられ、例えば特許文献1に開示のように、オイル潤滑を施したものがある。また、オイル潤滑を施さずに乾式状態で使用されるものもある。
この出願の発明に関連する先行技術文献情報としては次のものがある。
特開平5―044615号公報
このように、内径部にスプライン溝の設けられた側板付き二輪車用スタータに使用されるワンウェイクラッチでは、高回転で、振動が激しく、また摩耗粉を含んだゴミなどの異物が溜まりやすい厳しい使用条件下でも噛み合い信頼性が確保でき、且つコスト低減を図ったローラ型ワンウェイクラッチが望まれている。
異物排除のための溝を外輪の軸方向端面に設けることも考えられるが、外輪鍛造時に設ける場合には、外輪の端面仕上げ加工の切削の際に断続切削が必要となり、バリの生成や、工具寿命の低下などの問題が生じる。また、端面切削後に加工する場合には、工数が増え、製品コストが高くなるという問題があった。
そこで本発明ではローラ型ワンウェイクラッチにおいて、ローラ型ワンウェイクラッチ内に堆積した摩耗粉を含んだゴミなどの異物を排出できる構成を設けることによって、信頼性の向上したローラ型ワンウェイクラッチを提供し、また異物を排出できる構成を特別な加工を用いずに設けることによって、コスト低減を実現することを目的としている。
上記目的を達成するため、本発明のローラ型ワンウェイクラッチは、
カム面を有する凹部として形成された少なくとも一つのポケットを内周に備え、軸方向一端面の内径側に段部が設けられている環状の外輪と、
外輪に対して半径方向内径側に離間され、相対回転自在に同心状に配置され、環状の外周軌道面を有する内輪と、
ポケット内に配置されて内輪の外周軌道面と外輪の内周カム面との間でトルクを伝達するローラと、
円筒部と、円筒部から外径方向へ延在し、外輪の段部に嵌合するフランジ部を備え、ローラ径よりも小さい円周方向の窓幅を有すると共に、径方向には貫通しているが、軸方向では両端部とも閉じられている、すなわちローラが着座するように四辺の囲まれたほぼ矩形の窓が円筒部に設けられている、外輪に対して相対回動自在である保持器と、
ポケット内で外輪とローラとの間に配置され、ローラをカム面との係合方向に付勢するスプリングと、
段部が設けられている外輪の軸方向一端面に当接するように固定され、内径部にスプライン溝を有する側板と、から成り、
側板には、一端が外輪のポケットに連通し、他端が前記側板の外径端に開口する少なくとも一つの溝部が設けられていることを特徴としている。
また、本発明のローラ型ワンウェイクラッチは、溝部の一端がポケットの最大径部に連通していることを特徴としている。
また、本発明のローラ型ワンウェイクラッチは、溝部が直線状に延在していることを特徴としている。
また、本発明のローラ型ワンウェイクラッチは、溝部が曲線状に延在していることを特徴としている。
また、本発明のローラ型ワンウェイクラッチは、溝部の一部が平面で構成されていることを特徴としている。
また、本発明のローラ型ワンウェイクラッチは、溝部の一部が曲面で構成されていることを特徴としている。
また、本発明のローラ型ワンウェイクラッチは、溝部がプレス加工により形成されることを特徴としている。
本発明のローラ型ワンウェイクラッチでは、一端が外輪のポケットに連通し、他端が側板の外径端に開口する少なくとも一つの溝部を、段部が設けられている外輪の軸方向一端面に当接する側板の軸方向一端面に形成することにより、外輪回転による遠心力のためにゴミなどの異物は溝部に沿って排出され、異物堆積による保持器の動作阻害の防止や、ローラ、スプリング、内輪や外輪カム面の摩耗の防止が促進され、より信頼性が向上したローラ型ワンウェイクラッチが可能となる。
また、側板にプレス加工のみを行うことによって溝部を形成することができるので、特別な加工コストを必要とせず、コスト低減を図ることができる。
加えて、外輪とエンジンクランク軸間の動力伝達を行うためのスプライン溝を内径部に有する側板と、円周方向ではローラ径より小さい円周方向の窓幅を持ち、径方向には貫通しているが、軸方向では両端部とも閉じられている、すなわちローラが着座するように四辺の囲まれたほぼ矩形の窓とポケットの軸方向片側端部にフランジを持った保持器とによりローラの軸方向及び内径方向への保持器からの脱落を防止している。
また、保持器のフランジを外輪端面内径部に設けられた段部に嵌合し、このフランジ側外輪端面に側板を固定することにより、保持器の脱落を防止している。
また、保持器が外輪に対して相対回転自在であることにより、径方向のローラの脱落を防止するために、保持器の円周方向の窓幅をローラ径より小さくしても、ワンウェイクラッチ作動の際の、噛み合い時のローラの移動、また空転時のローラの移動において保持器がローラの動きを妨害しないため、スムースな噛み合い及び空転が可能となり、また全てのローラの動きに対し、保持器が同期作用を及ぼし、より噛み合い信頼性が向上したローラ型ワンウェイクラッチが可能となる。
以下、添付図面を参照して本発明の実施例を詳細に説明する。なお、各図面を通して同一符号は同一又は対応部分を示すものである。また、以下に説明する実施例は例示として本発明を示しているに過ぎず、その他の変更が可能なことは言うまでもない。
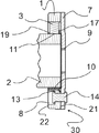
図1は、本発明の一実施例のローラ型ワンウェイクラッチを示す正面図であり、図3は図1の裏側より見た正面図である。また、図2は、図3のA−O−A線に沿った断面図である。
図1乃至図3は、ローラがカム面に噛み合っている状態、すなわちワンウェイクラッチが高負荷の下で噛み合い、ロックしている状態を示している。
図1乃至図3に示すように、ローラ型ワンウェイクラッチ30は、カム面12を有する凹部として形成された複数のポケット4を内周に備えた環状の外輪1と、外輪1に対して半径方向内径側に離間され、相対回転自在に同心状に配置され、環状の外周軌道面11を有する内輪2と、ポケット4内に配置されて内輪2の外周軌道面11と外輪1の内周カム面12との間でトルクを伝達するローラ3と、ポケット4内に配置され、ローラ3をカム面12との係合方向に付勢するスプリング5と、ローラ3を保持する保持器6と、エンジンクランク軸等が係合するスプライン溝9を内径部に有し、外輪1の軸方向端面21に当接するようにリベット14によって外輪1に固定されている側板7とから成っている。保持器6は、外輪1及び内輪2のいずれにも固定されておらず、外輪1及び内輪2に対して相対回動自在となっている。
本実施例においては、外輪1に設けられるポケット4は、円周方向等配に3箇所設けられている。また、側板7をリベット14によって外輪1に固定するために用いられ、軸方向に貫通する穿孔8も円周方向等分に3箇所設けられており、ポケット4と穿孔8とは等間隔で交互に配置されている。もちろん、ポケット4の数は、トルクの大きさに応じて、例えば3乃至6個などの複数個の設定が可能であることは言うまでもない。
図2及び図3に示すように、ローラ3を保持する保持器6は、円筒部10と、円筒部10の軸方向一端部から外径方向へ延在する環状のフランジ部17を備えている。尚、図3では、フランジ部17及び側板7は、ポケット4が見えるように一部破断して示している。
また、保持器6は、ローラ3の数に対応して、窓18を有する。窓18は、径方向には貫通しているが、軸方向では、フランジ部17側も、フランジ部17と対向する端部19側でも閉じられている。円周方向では、ローラ径よりも小さな窓幅となっている。すなわち、ローラ3は、四辺の囲まれたほぼ矩形の窓18内に着座しており、ローラ3の内径方向への脱落を防止できる。窓18とローラ3との関係を示すため、図1においては、図中一番上の窓18は、端部19を破断して示している。
スプリング5の一方の端部、すなわちタブ15は、図1に示すように外輪1の軸方向の端面に係止され、他方の端部、すなわちタブ16は、図3に示すようにローラ3の軸方向の端面と保持器6のフランジ部17との間に挟持されている。このように構成したため、スプリング5自体が外輪1に対して固定状態に支持され、スプリング5の脱落を防止できると同時に、ローラ3の軸方向への脱落を防止できる。
本実施例では、スプリング5はアコーデオンスプリングであるが、コイルスプリングなど、その他の形状のスプリングを用いることも可能である。
図2及び図3に示すように、外輪1の内周面軸方向の縁部に環状の段部13が設けられ、段部13に保持器6のフランジ部17が係合している。保持器6のフランジ部17が段部13に係合し、外輪1の軸方向端面21に当接するように側板7を外輪1に固定することにより、保持器6の脱落を防止できる。
段部13の軸方向深さは、フランジ部17の厚さよりわずかに大きくしてあり、フランジ部17が段部13に係合すると、外輪1の軸方向端面とフランジ部17の軸方向端面との間にはクリアランスが生じる。このため、保持器6が外輪1に対して相対回動自在となり、保持器6の軸方向への抜け止めが可能となる。
図3に示すように、側板7には、ポケット4の数に対応して複数の溝部25が設けられている。溝部25は、所定の周方向幅を有し、側板7の外径端31から内径側にほぼ直線状に延在している。溝部25の内径側の一端、すなわち終端22は、内外径の間であって後述のようにポケット4に連通する位置に位置している。溝部25は、図4及び図6に示すように所定の軸方向深さを有する。
図4は、本発明の一実施例のローラ型ワンウェイクラッチにおける溝部を拡大した、図5のY−Y線に沿った断面図を示している。図5は、図1の裏側より見た正面図であり、図6は本発明の一実施例のローラ型ワンウェイクラッチにおける溝部を拡大した、図5のX−X線に沿った断面図である。
図4及び図6に示すように、溝部25は、外輪1の軸方向端面21に当接する側板7の軸方向一端面に設けられており、終端32がポケット4に連通しており、そこからポケット4の外径方向に延在し、他端は側板7の外径端面31で開口し、外部に連通している。
このような溝部25を設けることによって、外輪1が回転する際、外輪1のポケット4に堆積する摩耗粉やゴミなどの異物が、発生する遠心力のために、終端31でポケット4と連通した溝部25に入り、且つ溝部25に沿って外径方向に移動し、側板7の外径端31からワンウェイクラッチ30の外部に排出される。
本実施例においては、溝部25は各ポケット4に対応して一つずつ設けられているが、所望に応じて複数個設けることが可能であることは言うまでもない。
また、溝部25は、終端32がポケット4内のカム面12の最大径部に連通していることが好ましい。溝部25が最大径部に連通することによって、より効率的に遠心力により外輪1のポケット4の外径部に堆積する摩耗粉やゴミなどの異物が、溝部25に入り、且つ溝部25に沿って移動し、ワンウェイクラッチ30の外部に排出される。
また、実施例では溝部25は直線状に延在するように設けられているが、曲線状に延在するように設けることも可能である。更に、実施例では溝部25は、外輪1の半径方向に放射状に延在しているが、半径方向に対して所定の角度で傾けて形成することもできる。
溝部25の一部は、平面で構成されているが、曲面で構成することも可能である。また、溝部25の底面が外輪1の外径端31に向かって深くなるように、底面にテーパをつけることもできる。
また、溝部25は、プレス加工により形成するが、切削加工で形成することもできる。更に、側板7の鍛造時に同時に形成することもできる。
図1は、本発明の一実施例のローラ型ワンウェイクラッチを示す正面図であり、高負荷で噛み合っている時の状態を示している。 図2は、図3のA−O−A線に沿った断面図である。 図3は、図1の裏側より見た正面図である。 図4は、本発明の一実施例のローラ型ワンウェイクラッチにおける溝部を拡大した、図5のY−Y線に沿った断面図である。 図5は、図1の裏側より見た正面図である。 図6は、本発明の一実施例のローラ型ワンウェイクラッチにおける溝部を拡大した、図5のX−X線に沿った断面図である。
符号の説明
1 外輪
2 内輪
3 ローラ
4 ポケット
5 スプリング
6 保持器
7 側板
8 穿孔
9 スプライン溝
10 保持器の円筒部
11 内輪の外周軌道面
12 カム面
13 段部
14 リベット
15 スプリングのタブ
16 スプリングのタブ
17 保持器のフランジ部
18 保持器の窓
19 保持器の端部
21 外輪の端面
22 外輪の端面
25 溝部
30 ローラ型ワンウェイクラッチ

Claims (7)

  1. 内周にカム面を有する少なくとも一つのポケットが形成され、軸方向一端面の内径側に段部が設けられている外輪と、
    前記外輪に対して半径方向内径側に離間され、相対回転自在に同心状に配置された内輪と、
    前記ポケットに配置され、前記カム面に係合し、前記外輪と前記内輪との間でトルクを伝達するローラと、
    円筒部と、前記円筒部から外径方向へ延在し、前記外輪の前記段部に嵌合するフランジ部を備え、前記ローラの径よりも小さい円周方向の窓幅を有し、前記ローラを保持する窓が前記円筒部に設けられている、前記外輪に対して相対回動自在である保持器と、
    前記ポケット内で前記外輪と前記ローラとの間に配置され、前記ローラを前記カム面との係合方向に付勢するスプリングと、
    前記外輪の前記軸方向一端面に当接するように固定され、内径部にスプライン溝を有する側板と、を備えるワンウェイクラッチにおいて、
    前記側板には、一端が前記外輪の前記ポケットに連通し、他端が前記側板の外径端に開口する少なくとも一つの溝部が設けられていることを特徴とするワンウェイクラッチ。
  2. 前記溝部の前記一端は前記ポケットの最大径部に連通していることを特徴とする請求項1に記載のワンウェイクラッチ。
  3. 前記溝部は直線状に延在していることを特徴とする請求項1または2に記載のワンウェイクラッチ。
  4. 前記溝部は曲線状に延在していることを特徴とする請求項1または2に記載のワンウェイクラッチ。
  5. 前記溝部の一部は平面で構成されていることを特徴とする請求項1乃至4のいずれか1項に記載のワンウェイクラッチ。
  6. 前記溝部の一部は曲面で構成されていることを特徴とする請求項1乃至4のいずれか1項に記載のワンウェイクラッチ。
  7. 前記溝部はプレス加工により形成されることを特徴とする請求項1乃至6のいずれか1項に記載のワンウェイクラッチ。
JP2008269766A 2008-10-20 2008-10-20 ローラ型ワンウェイクラッチ Expired - Fee Related JP5205211B2 (ja)

Priority Applications (2)

Application Number Priority Date Filing Date Title
JP2008269766A JP5205211B2 (ja) 2008-10-20 2008-10-20 ローラ型ワンウェイクラッチ
US12/581,862 US20100096236A1 (en) 2008-10-20 2009-10-19 One-way clutch of roller type

Applications Claiming Priority (1)

Application Number Priority Date Filing Date Title
JP2008269766A JP5205211B2 (ja) 2008-10-20 2008-10-20 ローラ型ワンウェイクラッチ

Publications (2)

Publication Number Publication Date
JP2010096327A true JP2010096327A (ja) 2010-04-30
JP5205211B2 JP5205211B2 (ja) 2013-06-05

Family

ID=42107769

Family Applications (1)

Application Number Title Priority Date Filing Date
JP2008269766A Expired - Fee Related JP5205211B2 (ja) 2008-10-20 2008-10-20 ローラ型ワンウェイクラッチ

Country Status (2)

Country Link
US (1) US20100096236A1 (ja)
JP (1) JP5205211B2 (ja)

Cited By (3)

* Cited by examiner, † Cited by third party
Publication number Priority date Publication date Assignee Title
JP2012007528A (ja) * 2010-06-24 2012-01-12 Nsk Warner Kk ラチェット型ワンウェイクラッチを用いたエンジンスタータ機構
WO2015068318A1 (ja) * 2013-11-08 2015-05-14 Nskワーナー株式会社 ローラ型ワンウェイクラッチ及び側板
JP2020143590A (ja) * 2019-03-05 2020-09-10 本田技研工業株式会社 内燃機関

Families Citing this family (11)

* Cited by examiner, † Cited by third party
Publication number Priority date Publication date Assignee Title
WO2008114468A1 (en) * 2007-03-20 2008-09-25 Nsk-Warner K.K. Roller-type one-way clutch
JP5274050B2 (ja) * 2008-02-27 2013-08-28 Nskワーナー株式会社 ローラ型ワンウェイクラッチ
JP5175139B2 (ja) * 2008-06-06 2013-04-03 Nskワーナー株式会社 二輪車スタータ用のローラ型ワンウェイクラッチ
JP5133191B2 (ja) * 2008-10-03 2013-01-30 Nskワーナー株式会社 ローラ型ワンウェイクラッチ
JP5205207B2 (ja) * 2008-10-16 2013-06-05 Nskワーナー株式会社 ローラ型ワンウェイクラッチ
JP5133201B2 (ja) * 2008-10-28 2013-01-30 Nskワーナー株式会社 ローラ型ワンウェイクラッチ
JP2010106956A (ja) * 2008-10-30 2010-05-13 Nsk Warner Kk ローラ型ワンウェイクラッチ
CN107061543B (zh) * 2017-03-30 2019-07-26 重庆卡滨通用机械有限公司 离心式超越离合器
US10508695B2 (en) 2017-11-30 2019-12-17 Schaeffler Technologies AG & Co. KG Wedge clutch with centrifugal liftoff
US11022186B2 (en) 2018-04-18 2021-06-01 Magna Powertrain, Inc. Selectable one-way coupling with debris containment
CN115076339B (zh) * 2021-11-25 2025-10-03 长城汽车股份有限公司 变速器及其输出轴组件

Citations (7)

* Cited by examiner, † Cited by third party
Publication number Priority date Publication date Assignee Title
JPS6449738U (ja) * 1987-09-22 1989-03-28
JPH02212630A (ja) * 1989-02-10 1990-08-23 Yamaha Motor Co Ltd 一方向クラッチ
JPH0544615A (ja) * 1991-08-13 1993-02-23 Suzuki Motor Corp エンジンのスタータクラツチ機構潤滑装置
JP2001045714A (ja) * 1999-08-03 2001-02-16 Denso Corp 磁石発電機及びその製造方法
JP2003232434A (ja) * 2002-02-07 2003-08-22 Nsk Ltd 一方向クラッチ内蔵型プーリ装置
JP2007064475A (ja) * 2005-08-05 2007-03-15 Exedy Corp 一方向クラッチ
JP2007278426A (ja) * 2006-04-10 2007-10-25 Nsk Warner Kk ローラ型ワンウェイクラッチ

Family Cites Families (5)

* Cited by examiner, † Cited by third party
Publication number Priority date Publication date Assignee Title
US1708215A (en) * 1925-08-27 1929-04-09 Delco Remy Corp Clutch
JPH0749079Y2 (ja) * 1990-03-01 1995-11-13 エヌエスケー・ワーナー株式会社 ワンウェイクラッチの潤滑装置
US5014833A (en) * 1990-06-25 1991-05-14 General Motors Corporation Roller clutch with improved installation
JP2001295866A (ja) * 2000-02-07 2001-10-26 Nsk Warner Kk ワンウェイクラッチ装置
JP2004011838A (ja) * 2002-06-10 2004-01-15 Nsk Warner Kk ワンウェイクラッチを備えたステータ

Patent Citations (7)

* Cited by examiner, † Cited by third party
Publication number Priority date Publication date Assignee Title
JPS6449738U (ja) * 1987-09-22 1989-03-28
JPH02212630A (ja) * 1989-02-10 1990-08-23 Yamaha Motor Co Ltd 一方向クラッチ
JPH0544615A (ja) * 1991-08-13 1993-02-23 Suzuki Motor Corp エンジンのスタータクラツチ機構潤滑装置
JP2001045714A (ja) * 1999-08-03 2001-02-16 Denso Corp 磁石発電機及びその製造方法
JP2003232434A (ja) * 2002-02-07 2003-08-22 Nsk Ltd 一方向クラッチ内蔵型プーリ装置
JP2007064475A (ja) * 2005-08-05 2007-03-15 Exedy Corp 一方向クラッチ
JP2007278426A (ja) * 2006-04-10 2007-10-25 Nsk Warner Kk ローラ型ワンウェイクラッチ

Cited By (6)

* Cited by examiner, † Cited by third party
Publication number Priority date Publication date Assignee Title
JP2012007528A (ja) * 2010-06-24 2012-01-12 Nsk Warner Kk ラチェット型ワンウェイクラッチを用いたエンジンスタータ機構
WO2015068318A1 (ja) * 2013-11-08 2015-05-14 Nskワーナー株式会社 ローラ型ワンウェイクラッチ及び側板
JP2015094376A (ja) * 2013-11-08 2015-05-18 Nskワーナー株式会社 ローラ型ワンウェイクラッチ及び側板
CN105705817A (zh) * 2013-11-08 2016-06-22 Nsk沃纳株式会社 滚子式单向离合器和侧板
US10132368B2 (en) 2013-11-08 2018-11-20 Nsk-Warner K.K. Roller-type one-way clutch and side plate
JP2020143590A (ja) * 2019-03-05 2020-09-10 本田技研工業株式会社 内燃機関

Also Published As

Publication number Publication date
US20100096236A1 (en) 2010-04-22
JP5205211B2 (ja) 2013-06-05

Similar Documents

Publication Publication Date Title
JP5205211B2 (ja) ローラ型ワンウェイクラッチ
JP5133191B2 (ja) ローラ型ワンウェイクラッチ
US7740118B2 (en) Roller-type one-way clutch
JP5118550B2 (ja) 二輪車スタータ用のローラ型ワンウェイクラッチ
JP5133213B2 (ja) ローラ型ワンウェイクラッチ
JP2010106956A (ja) ローラ型ワンウェイクラッチ
EP2527677B1 (en) Roller-type one-way clutch
JP5205207B2 (ja) ローラ型ワンウェイクラッチ
EP3026298A1 (en) Pulley device with embedded unidirectional clutch
JP5175139B2 (ja) 二輪車スタータ用のローラ型ワンウェイクラッチ
JP2009204054A (ja) ローラ型ワンウェイクラッチ
JP5119128B2 (ja) ローラ型ワンウェイクラッチ
JP5133201B2 (ja) ローラ型ワンウェイクラッチ
JP4206021B2 (ja) ワンウェイクラッチ組立体
US6749050B2 (en) One-way clutch built-in type pulley device
JP2004308719A (ja) ワンウェイクラッチ装置
JP2008082186A (ja) エンジン始動用トルク伝達装置
JP2015094376A (ja) ローラ型ワンウェイクラッチ及び側板
JP5335122B2 (ja) 二輪車スタータ用のローラ型ワンウェイクラッチ
US7080721B2 (en) Oneway clutch and mounting structure thereof
JP5259428B2 (ja) ローラ型ワンウェイクラッチ
JP2006077921A (ja) 一方向クラッチ
JP4539150B2 (ja) クラッチ内蔵型プーリ装置
JP4437027B2 (ja) 回転作動型ワンウェイクラッチ
JP4389581B2 (ja) クラッチ内蔵型プーリユニット

Legal Events

Date Code Title Description
A621 Written request for application examination

Free format text: JAPANESE INTERMEDIATE CODE: A621

Effective date: 20110816

A977 Report on retrieval

Free format text: JAPANESE INTERMEDIATE CODE: A971007

Effective date: 20120517

A131 Notification of reasons for refusal

Free format text: JAPANESE INTERMEDIATE CODE: A131

Effective date: 20120521

A521 Request for written amendment filed

Free format text: JAPANESE INTERMEDIATE CODE: A523

Effective date: 20120718

A131 Notification of reasons for refusal

Free format text: JAPANESE INTERMEDIATE CODE: A131

Effective date: 20121025

A521 Request for written amendment filed

Free format text: JAPANESE INTERMEDIATE CODE: A523

Effective date: 20121221

TRDD Decision of grant or rejection written
A01 Written decision to grant a patent or to grant a registration (utility model)

Free format text: JAPANESE INTERMEDIATE CODE: A01

Effective date: 20130205

A61 First payment of annual fees (during grant procedure)

Free format text: JAPANESE INTERMEDIATE CODE: A61

Effective date: 20130218

R150 Certificate of patent or registration of utility model

Free format text: JAPANESE INTERMEDIATE CODE: R150

Ref document number: 5205211

Country of ref document: JP

Free format text: JAPANESE INTERMEDIATE CODE: R150

FPAY Renewal fee payment (event date is renewal date of database)

Free format text: PAYMENT UNTIL: 20160222

Year of fee payment: 3

R250 Receipt of annual fees

Free format text: JAPANESE INTERMEDIATE CODE: R250

R250 Receipt of annual fees

Free format text: JAPANESE INTERMEDIATE CODE: R250

R250 Receipt of annual fees

Free format text: JAPANESE INTERMEDIATE CODE: R250

R250 Receipt of annual fees

Free format text: JAPANESE INTERMEDIATE CODE: R250

R250 Receipt of annual fees

Free format text: JAPANESE INTERMEDIATE CODE: R250

R250 Receipt of annual fees

Free format text: JAPANESE INTERMEDIATE CODE: R250

R250 Receipt of annual fees

Free format text: JAPANESE INTERMEDIATE CODE: R250

R250 Receipt of annual fees

Free format text: JAPANESE INTERMEDIATE CODE: R250

LAPS Cancellation because of no payment of annual fees