JP2010093326A - イメージセンサモジュール - Google Patents

イメージセンサモジュール Download PDF

Info

Publication number
JP2010093326A
JP2010093326A JP2008258270A JP2008258270A JP2010093326A JP 2010093326 A JP2010093326 A JP 2010093326A JP 2008258270 A JP2008258270 A JP 2008258270A JP 2008258270 A JP2008258270 A JP 2008258270A JP 2010093326 A JP2010093326 A JP 2010093326A
Authority
JP
Japan
Prior art keywords
substrate
case
image sensor
sensor module
optical system
Prior art date
Legal status (The legal status is an assumption and is not a legal conclusion. Google has not performed a legal analysis and makes no representation as to the accuracy of the status listed.)
Granted
Application number
JP2008258270A
Other languages
English (en)
Other versions
JP5112242B2 (ja
Inventor
Shinjiro Komizo
慎二郎 小溝
Yasuhiro Nagao
康広 長尾
Current Assignee (The listed assignees may be inaccurate. Google has not performed a legal analysis and makes no representation or warranty as to the accuracy of the list.)
Rohm Co Ltd
Original Assignee
Rohm Co Ltd
Priority date (The priority date is an assumption and is not a legal conclusion. Google has not performed a legal analysis and makes no representation as to the accuracy of the date listed.)
Filing date
Publication date
Application filed by Rohm Co Ltd filed Critical Rohm Co Ltd
Priority to JP2008258270A priority Critical patent/JP5112242B2/ja
Publication of JP2010093326A publication Critical patent/JP2010093326A/ja
Application granted granted Critical
Publication of JP5112242B2 publication Critical patent/JP5112242B2/ja
Expired - Fee Related legal-status Critical Current
Anticipated expiration legal-status Critical

Links

Images

Landscapes

  • Facsimile Heads (AREA)

Abstract

【課題】センサチップを搭載した基板のケースへの装着ずれを抑制できるイメージセンサモジュールを提供すること。
【解決手段】光源と、上記光源から発せられて画像読み取り領域から反射してくる光を集束させる光学系と、上記光学系によって集束された光を受けることにより所定の信号を出力するセンサチップを表面に搭載している、長矩形状の基板2と、上記光学系を収容しているとともに、基板2を装着しているケース1と、を備えるイメージセンサモジュールA1において、基板2は、ケース1に対する基板2の並進移動を阻止するとともに、ケース1に対する基板2の回転移動を許容する固定点kと、ネジを用いた締結部tと、においてケース1に装着されており、ケース1には、上記ネジの締結方向と逆方向yに向かって固定点を中心として基板2の側面21が回転する場合の進行方向の前方に、基板2の回転を停止させるストッパsが形成されている。
【選択図】 図1

Description

本発明は、イメージセンサモジュールに関する。
一般に、イメージセンサモジュールは、原稿に光を照射して、そこから反射する光を受光し、この光を電気信号に変換することにより、原稿の文字や記号等の情報を再現装置に伝達するものである。
図7に、従来のイメージセンサモジュールを示している(たとえば特許文献1参照)。同図に示されたイメージセンサモジュール9Aは、ケース91、基板92、光源93、光学系94、センサチップ95、および、保護ガラス98、を備えている。
ケース91は、紙面に垂直方向に延びる直方体状であり、光学系94および保護ガラス98を収容している。基板92は、紙面に垂直方向に延びる長矩形状である。基板92は、留め金やネジ(ともに図示略)などによって、図中上部からケース91に押し付けられ、固定されている。基板92をケース91に装着しやすくするために、基板92とケース91との間には隙間hがある。光源93は、基板92上に搭載されており、保護ガラス98に置かれた原稿に光を照射するために用いられる。光学系94は、ケース91に支持されており、上記原稿に反射された光を収束させるために用いられる。センサチップ95は、基板92に搭載されている。センサチップ95は、光学系94により収束された光を受光し、この光に対応する信号を出力するために用いられる。
このようなイメージセンサモジュール9Aにおいては、隙間hが存在するため、基板92のケース91への装着位置が、方向zに所望の位置からずれることがある。この場合、基板92に搭載されたセンサチップ95が、光学系94から向かってくる光を十分に受けることができない事態が生じうる。かかる事態は、上記原稿の文字や記号等の情報を正確に再現できないといった不具合を招き、好ましくない。
特開2001−197254号公報
本発明は、上記した事情のもとで考え出されたものであって、センサチップを搭載した基板のケースへの装着ずれを抑制できるイメージセンサモジュールを提供することをその課題とする。
本発明によって提供されるイメージセンサモジュールは、光源と、上記光源から発せられて画像読み取り領域から反射してくる光を集束させる光学系と、上記光学系によって集束された光を受けることにより所定の信号を出力するセンサチップを表面に搭載している、長矩形状の基板と、上記光学系を収容しているとともに、上記基板を装着しているケースと、を備えるイメージセンサモジュールにおいて、上記基板は、上記ケースに対する上記基板の並進移動を阻止するとともに、上記ケースに対する上記基板の回転移動を許容する固定点と、ネジを用いた締結部と、において上記ケースに装着されており、上記ケースには、上記ネジの締結方向と逆方向に向かって上記固定点を中心として上記基板の長手方向の側面が回転する場合の進行方向の前方に、上記基板の回転を停止させるストッパが形成されたことを特徴としている。
発明者らは、上記ネジを締結する場合、上記固定点を中心とし上記逆方向に回転させる力が上記基板に働く、といった知見を得た。上述した構成によれば、上記ネジを締結する際に上記力が上記基板に働いた後、いずれ、上記基板が上記ストッパに当たる。これにより、上記基板が過度に回転してしまうことを抑制できるため、上記基板の装着ずれを軽減できる。
本発明の好ましい実施の形態においては、上記ケースには、上記基板の長手方向に延びるとともに、隙間を隔てて上記側面と対向する壁面を備え、上記ストッパは、上記壁面から上記側面に向かって突出しており、かつ、上記壁面と平行な、上記側面と当接している面を有する。
本発明の好ましい実施の形態においては、上記固定点は、上記基板の中央と上記基板の上記長手方向の一端との間に位置しており、上記基板が上記ストッパと接する部分は、上記基板の中央と上記基板の上記長手方向の他端との間に位置している。このような構成によれば、上記固定点および上記接する部分の2つの点の距離を大きくできる。そのため、上記基板の上記ケースへの装着状態を、より安定したものとすることができる。よって、上記基板の装着ずれをさらに抑制することが可能となる。
本発明の好ましい実施の形態においては、上記センサチップは、上記基板の長手方向に沿って延びる基準線に沿って配置されており、複数の上記締結部は、上記基板の短手方向において上記基準線の両側に位置している。
本発明のその他の特徴および利点は、添付図面を参照して以下に行う詳細な説明によって、より明らかとなろう。
以下、本発明の好ましい実施の形態につき、図面を参照して具体的に説明する。
図1〜3を用いて、本発明の第1実施形態について説明する。
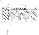
図1は、本発明の第1実施形態にかかるイメージセンサモジュールの平面図である。図2は、図1のII−II線に沿った断面図である。図3は、図1のIII−III線に沿った断面図である。
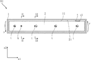
これらの図に示されたイメージセンサモジュールA1は、ケース1、基板2、線状光源ユニット3、光学系4、センサチップ5、ストッパs、および、保護ガラス8を備えている。イメージセンサモジュールA1は、たとえば200mm程度の読み取り幅を有しており、スキャナに用いられるのに適した構成とされている。
ケース1は、方向x1に延びる直方体状であり、たとえば黒色の樹脂により構成されている。ケース1は、線状光源ユニット3および光学系4を収容している。ケース1は、基板2および保護ガラス8を装着している。ケース1は、方向x1に沿って延びる壁面11を有する。壁面11は、隙間を隔てて、基板2の側面21と対向している。
図1によく表れているように、基板2は、方向x1に延びる長矩形状である。基板2は、固定点kと複数の締結部tとにおいて、ケース1に対して固定されている。固定点kは、方向x1において、基板2の中央と図1における基板2の左端との間に位置する。図2によく表れているように、固定点kは、基板2に形成された孔に、ケース1から突出したピンが嵌め込まれた構成とされている。固定点kにおける孔の内径は、上記ピンの外径よりわずかに大きい程度である。そのため、固定点kにより、ケース1に対して基板2が、x1−x2平面において、並進移動をすることが不可能となっている。一方、固定点kを中心として、基板2が、x1−x2平面において、多少の回転移動をすることは許容される。
図1に表れているように、複数の締結部tは、方向x1に沿って配列されている。図3に表れているように、締結部tはそれぞれ、基板2に形成された孔を貫通する雄ネジt1と、ケース1に形成された雌ネジt2とが、締結された構成とされている。これにより、基板2の方向x3への移動が不可能となっている。また、締結部tにおける基板2の孔の内径は、雄ネジt1を締結する作業を容易にするため、雄ネジt1の外径と比較して多少大きい。そのため、上述したように、固定点kを中心として基板2が、x1−x2平面において、多少の回転移動をする可能性がある。なお、雄ネジt1は右ネジである。
線状光源ユニット3は、原稿に向けて方向x1に延びる線状光を照射するための光学部品であり、導光体31、リフレクタ32、および光源基板(図示略)を備えている。線状光源ユニット3は、ケース1と複数箇所において当接している。
導光体31は、たとえばメタクリル酸メチル樹脂 (PMMA)などの透明な樹脂からなり、方向x1に延びる棒状である。上記光源基板は、導光体31の一端面に正対するように設けられている。上記光源基板には、たとえば複数のLEDチップが実装されている。これらのLEDチップからは、たとえば赤色光、緑色光、青色光が発せられる。
導光体31には、ともに方向x1に延びる反射面31aおよび出射面31bが形成されている。反射面31aは、上記一端面に入射した上記LEDチップからの光を、方向x1と直角である方向に反射するための面であり、たとえば方向x1に離散配置された複数の溝が設けられている。出射面31bは、反射面31aから向かってきた光を線状光として出射する面である。リフレクタ32は、たとえば白色樹脂からなり、導光体31を覆っている。
光学系4は、原稿によって反射された線状光をセンサチップ5に集束させる光学部品である。光学系4は、たとえば方向x1に配列された複数の円柱状のレンズが樹脂製のハウジングに保持された構成とされている。光学系4は、ケース1と複数箇所において当接している。
センサチップ5は、基板2の上に、方向x1に沿って一列に配置されている。センサチップ5は、受けた光に応じた起電力を生じ、さらにこの起電力から画素ごとの輝度信号を出力可能に構成されている。センサチップ5が、原稿に反射された光を受光することで、原稿の記載内容を画像データとして読み取ることができる。
図1〜3に表れているように、ストッパsは、直方体形状であり、壁面11から側面21に向かって突出している。図1に表れているように、ストッパsは、固定点kを中心として右ネジである雄ネジt1の締結方向と逆方向に向かって側面21が回転する場合、すなわち、方向yに向かって側面21が回転する場合の進行方向の前方に配置されている。ストッパsは、ケース1と同じ材料から構成されている。図1〜3に表れているように、ストッパsは、壁面11と平行な面s1を備えている。面s1は、側面21と当接している。この面s1と側面21とが当接している部分は、方向x1において、基板2の中央と図1における基板2の右端との間に位置する。
次に、本実施形態にかかるイメージセンサモジュールA1の作用について説明する。
発明者らは、雄ネジt1を締結する場合、方向yに回転させる力が基板2に働く、といった知見を得た。そのため、上述した構成によれば、基板2をケース1に装着するために雄ネジt1を締結する際、基板2が方向yに回転し始めた後、いずれ、基板2がストッパsに当たる。そして、基板2の回転が停止する。このようにして、基板2が壁面11に当たるまで回転してしまうといった不具合をなくすことができる。これにより、基板2の装着ずれを解消できる。
その結果、センサチップ5が光学系4から向かってくる光を十分に受けることができないといった不具合が解消し、イメージセンサモジュールA1の出力分布特性を改善できる。
また、図1で示したように、固定点kは基板2の左寄りに、ストッパsと側面21との接する部分は基板2の右寄りに、それぞれ位置している。そのため、固定点kおよび当該接する部分の2つの距離を大きくできる。そのため、基板2のケース1への装着状態を、より安定したものとすることができる。よって、基板2の装着ずれを、さらに抑制することが可能となる。
図4,5は、本発明の第2実施形態を示している。なお、これらの図において、上記実施形態と同一または類似の要素には、上記実施形態と同一の符号を付している。
図4は、本発明の第2実施形態にかかるイメージセンサモジュールの要部平面図である。図5は、図4のV−V線に沿った断面図である。
図5によく表れているように、イメージセンサモジュールA2は、2つの線状光源ユニット3を備えている。また、複数のセンサチップ5は、基板2の方向x2の中央に、かつ、方向x1(図5では紙面の奥方向)に沿って延びる基準線Lに沿って配置されている。
図4に表れているように、固定点kは、基準線Lと基板2の図中下端との間に位置している。一方、複数の締結部tは、基準線Lと上記下端との間、および、基準線Lと基板2の図中上端との間、に位置している。すなわち、複数の締結部tは、方向x2において基準線Lの両側に位置している。
このような構成によっても、第1実施形態で述べた利点と同様の利点を発揮できる。
本発明の範囲は、上述した実施形態に限定されるものではない。本発明に係るイメージセンサモジュールの各部の具体的な構成は、種々に設計変更自在である。ストッパsの形状は、たとえば、図6(a)〜(c)に示した構成でも構わない。
また、雄ネジt1として左ネジを用いた場合、基板2は、方向yと逆方向に回転すると考えられる。この場合は、ストッパsを、図6(d)のように配置すればよい。
本発明にかかるイメージセンサモジュールの平面図である。 図1のII−II線に沿った断面図である。 図1のIII−III線に沿った断面図である。 本発明の他の実施形態にかかるイメージセンサモジュールの要部平面図である。 図4のV−V線に沿った断面図である。 本発明の他の実施形態にかかるイメージセンサモジュールの要部平面図である。 従来のイメージセンサモジュールである。
符号の説明
A1,A2 イメージセンサモジュール
1 ケース
11 壁面
2 基板
21 側面
3 線状光源ユニット
31 導光体
31a 反射面
31b 出射面
32 リフレクタ
4 光学系
5 センサチップ
8 保護ガラス
s ストッパ
s1 面
k 固定点
t 締結部
t1 雄ネジ
t2 雌ネジ
L 基準線

Claims (4)

  1. 光源と、
    上記光源から発せられて画像読み取り領域から反射してくる光を集束させる光学系と、
    上記光学系によって集束された光を受けることにより所定の信号を出力するセンサチップを表面に搭載している、長矩形状の基板と、
    上記光学系を収容しているとともに、上記基板を装着しているケースと、
    を備えるイメージセンサモジュールにおいて、
    上記基板は、上記ケースに対する上記基板の並進移動を阻止するとともに、上記ケースに対する上記基板の回転移動を許容する固定点と、ネジを用いた締結部と、において上記ケースに装着されており、
    上記ケースには、上記ネジの締結方向と逆方向に向かって上記固定点を中心として上記基板の長手方向の側面が回転する場合の進行方向の前方に、上記基板の回転を停止させるストッパが形成されたことを特徴とする、イメージセンサモジュール。
  2. 上記ケースには、上記基板の長手方向に延びるとともに、隙間を隔てて上記側面と対向する壁面を備え、
    上記ストッパは、上記壁面から上記側面に向かって突出しており、かつ、上記壁面と平行な、上記側面と当接している面を有する、請求項1に記載のイメージセンサモジュール。
  3. 上記固定点は、上記基板の中央と上記基板の上記長手方向の一端との間に位置しており、
    上記基板が上記ストッパと接する部分は、上記基板の中央と上記基板の上記長手方向の他端との間に位置している、請求項1または2に記載のイメージセンサモジュール。
  4. 上記センサチップは、上記基板の長手方向に沿って延びる基準線に沿って配置されており、
    複数の上記締結部は、上記基板の短手方向において上記基準線の両側に位置している、請求項1ないし3のいずれかに記載のイメージセンサモジュール。
JP2008258270A 2008-10-03 2008-10-03 イメージセンサモジュール Expired - Fee Related JP5112242B2 (ja)

Priority Applications (1)

Application Number Priority Date Filing Date Title
JP2008258270A JP5112242B2 (ja) 2008-10-03 2008-10-03 イメージセンサモジュール

Applications Claiming Priority (1)

Application Number Priority Date Filing Date Title
JP2008258270A JP5112242B2 (ja) 2008-10-03 2008-10-03 イメージセンサモジュール

Publications (2)

Publication Number Publication Date
JP2010093326A true JP2010093326A (ja) 2010-04-22
JP5112242B2 JP5112242B2 (ja) 2013-01-09

Family

ID=42255684

Family Applications (1)

Application Number Title Priority Date Filing Date
JP2008258270A Expired - Fee Related JP5112242B2 (ja) 2008-10-03 2008-10-03 イメージセンサモジュール

Country Status (1)

Country Link
JP (1) JP5112242B2 (ja)

Citations (3)

* Cited by examiner, † Cited by third party
Publication number Priority date Publication date Assignee Title
JPH02268562A (ja) * 1989-04-11 1990-11-02 Konica Corp イメージセンサー
JPH07142691A (ja) * 1993-11-16 1995-06-02 Rohm Co Ltd イメージセンサ
JPH08128590A (ja) * 1994-10-31 1996-05-21 Junichiro Kuze 逆ネジ防止用カップラー

Patent Citations (3)

* Cited by examiner, † Cited by third party
Publication number Priority date Publication date Assignee Title
JPH02268562A (ja) * 1989-04-11 1990-11-02 Konica Corp イメージセンサー
JPH07142691A (ja) * 1993-11-16 1995-06-02 Rohm Co Ltd イメージセンサ
JPH08128590A (ja) * 1994-10-31 1996-05-21 Junichiro Kuze 逆ネジ防止用カップラー

Also Published As

Publication number Publication date
JP5112242B2 (ja) 2013-01-09

Similar Documents

Publication Publication Date Title
JP2004266313A (ja) 画像読み取り装置
KR20150084904A (ko) 화상 판독 장치
JP2007292756A (ja) 高性能反射性光学エンコーダ
JP3824357B2 (ja) 光半導体装置
JP4313762B2 (ja) 導光ユニットおよびこれを備えた画像読み取り装置
JP2009150690A (ja) 反射型光学センサ
JP4877048B2 (ja) 導光体および線状光源装置
US7940433B2 (en) Image sensor
JP2006049231A (ja) 車両用標識灯
JP4946603B2 (ja) 導光体および線状光源装置
JP5012790B2 (ja) 照明装置及びそれを用いた画像読取装置
JP5112242B2 (ja) イメージセンサモジュール
JP4999596B2 (ja) 反射型フォトセンサ
JP5161610B2 (ja) イメージセンサモジュール
JP2017076867A (ja) イメージセンサモジュール
JP4205117B2 (ja) 光学式反射型情報読み取りセンサおよび電子機器
JP2009038321A (ja) 反射型フォトセンサ
JP5000535B2 (ja) イメージセンサモジュール
US20080084625A1 (en) Scanning module
TWI507011B (zh) 接觸式影像感測裝置
JP2009165110A (ja) 画像読取装置
JP5249592B2 (ja) イメージセンサモジュールの製造方法およびイメージセンサモジュール
JP5087520B2 (ja) イメージセンサモジュール
JP6247510B2 (ja) イメージセンサモジュール
JP2016015031A (ja) 光学ラインセンサ装置

Legal Events

Date Code Title Description
A621 Written request for application examination

Free format text: JAPANESE INTERMEDIATE CODE: A621

Effective date: 20110921

A977 Report on retrieval

Free format text: JAPANESE INTERMEDIATE CODE: A971007

Effective date: 20120907

TRDD Decision of grant or rejection written
A01 Written decision to grant a patent or to grant a registration (utility model)

Free format text: JAPANESE INTERMEDIATE CODE: A01

Effective date: 20120918

A01 Written decision to grant a patent or to grant a registration (utility model)

Free format text: JAPANESE INTERMEDIATE CODE: A01

A61 First payment of annual fees (during grant procedure)

Free format text: JAPANESE INTERMEDIATE CODE: A61

Effective date: 20121010

FPAY Renewal fee payment (event date is renewal date of database)

Free format text: PAYMENT UNTIL: 20151019

Year of fee payment: 3

R150 Certificate of patent or registration of utility model

Ref document number: 5112242

Country of ref document: JP

Free format text: JAPANESE INTERMEDIATE CODE: R150

Free format text: JAPANESE INTERMEDIATE CODE: R150

R250 Receipt of annual fees

Free format text: JAPANESE INTERMEDIATE CODE: R250

R250 Receipt of annual fees

Free format text: JAPANESE INTERMEDIATE CODE: R250

LAPS Cancellation because of no payment of annual fees