JP2010091550A - 電流センサー - Google Patents

電流センサー Download PDF

Info

Publication number
JP2010091550A
JP2010091550A JP2009144255A JP2009144255A JP2010091550A JP 2010091550 A JP2010091550 A JP 2010091550A JP 2009144255 A JP2009144255 A JP 2009144255A JP 2009144255 A JP2009144255 A JP 2009144255A JP 2010091550 A JP2010091550 A JP 2010091550A
Authority
JP
Japan
Prior art keywords
magnetic
current sensor
magnetic circuit
core
outer frame
Prior art date
Legal status (The legal status is an assumption and is not a legal conclusion. Google has not performed a legal analysis and makes no representation as to the accuracy of the status listed.)
Granted
Application number
JP2009144255A
Other languages
English (en)
Other versions
JP5036764B2 (ja
Inventor
Gerard Lepine
レピーヌ、ジェラルド
Loriol Olivier De
デロリオ、オリヴィエ
Gilles Moret
モレ、ジル
Thierry Chenavard
シナバー、ティエリー
Current Assignee (The listed assignees may be inaccurate. Google has not performed a legal analysis and makes no representation or warranty as to the accuracy of the list.)
Liaisons Electroniques Mecaniques LEM SA
Original Assignee
Liaisons Electroniques Mecaniques LEM SA
Priority date (The priority date is an assumption and is not a legal conclusion. Google has not performed a legal analysis and makes no representation as to the accuracy of the date listed.)
Filing date
Publication date
Application filed by Liaisons Electroniques Mecaniques LEM SA filed Critical Liaisons Electroniques Mecaniques LEM SA
Publication of JP2010091550A publication Critical patent/JP2010091550A/ja
Application granted granted Critical
Publication of JP5036764B2 publication Critical patent/JP5036764B2/ja
Anticipated expiration legal-status Critical
Expired - Lifetime legal-status Critical Current

Links

Images

Classifications

    • GPHYSICS
    • G01MEASURING; TESTING
    • G01RMEASURING ELECTRIC VARIABLES; MEASURING MAGNETIC VARIABLES
    • G01R15/00Details of measuring arrangements of the types provided for in groups G01R17/00 - G01R29/00, G01R33/00 - G01R33/26 or G01R35/00
    • G01R15/14Adaptations providing voltage or current isolation, e.g. for high-voltage or high-current networks
    • G01R15/20Adaptations providing voltage or current isolation, e.g. for high-voltage or high-current networks using galvano-magnetic devices, e.g. Hall-effect devices, i.e. measuring a magnetic field via the interaction between a current and a magnetic field, e.g. magneto resistive or Hall effect devices
    • G01R15/207Constructional details independent of the type of device used
    • GPHYSICS
    • G01MEASURING; TESTING
    • G01RMEASURING ELECTRIC VARIABLES; MEASURING MAGNETIC VARIABLES
    • G01R15/00Details of measuring arrangements of the types provided for in groups G01R17/00 - G01R29/00, G01R33/00 - G01R33/26 or G01R35/00
    • G01R15/14Adaptations providing voltage or current isolation, e.g. for high-voltage or high-current networks
    • G01R15/20Adaptations providing voltage or current isolation, e.g. for high-voltage or high-current networks using galvano-magnetic devices, e.g. Hall-effect devices, i.e. measuring a magnetic field via the interaction between a current and a magnetic field, e.g. magneto resistive or Hall effect devices
    • G01R15/205Adaptations providing voltage or current isolation, e.g. for high-voltage or high-current networks using galvano-magnetic devices, e.g. Hall-effect devices, i.e. measuring a magnetic field via the interaction between a current and a magnetic field, e.g. magneto resistive or Hall effect devices using magneto-resistance devices, e.g. field plates

Landscapes

  • Physics & Mathematics (AREA)
  • General Physics & Mathematics (AREA)
  • Measuring Instrument Details And Bridges, And Automatic Balancing Devices (AREA)
  • Glass Compositions (AREA)
  • Electron Sources, Ion Sources (AREA)
  • Investigating Or Analyzing Materials By The Use Of Electric Means (AREA)
  • Transmission And Conversion Of Sensor Element Output (AREA)
  • Measurement Of Current Or Voltage (AREA)

Abstract

【課題】 構造が堅固で、精度が高く、製造コストが低い電流センサーを提供すること。
【解決手段】電流センサーは、外枠部2と、磁気コア、および、その磁気コアの両端19,20間に形成されたエアギャップ18内に検知セル25を載置した磁界検知器5を備える磁気回路4とを具備する。磁気コア17が、非ラミネート形状磁性材からなる。磁気回路が、さらに、コアのエアギャップの片側端に溶接または接合された非磁性材のブラケット21を備える。
【選択図】 図1a

Description

本発明は、電流センサーに関し、特に、開ループ式電流センサーに関する。
磁気回路を貫通配置された導電体を流れる電流により発生する磁界を測定するための、エアギャップを有する磁気回路と、エアギャップ内に配備されたホール素子とを備える開ループ式電流センサーには、数多くのタイプが存在する。一般的に、磁気回路は、ラミネート状であり、「磁性材」などの磁束を伝導する材料からなる。ホール素子は、プリント回路上の鉛直に実装されたピン形状の端子を備えている。
上記で説明したような従来の開ループ式電流センサーは、精度の高い計測値を得るために、エアギャップの寸法や許容値や、ホール素子の位置を考慮しつつ、ラミネート状磁気回路を製造するコスト、および、特に、ホール素子や磁気回路などの部品を組み立てるコストにより比較的に高価となる。
また、従来の開ループ式電流センサーの別の課題として、例えば、自動車分野において,定精度を失うことなく、各品が衝撃や振動に耐性が必要な場合など、所定の適用例に対しては構造が堅固でないことが挙げられる。また、電流センサーが環境に対して耐性をもち、気密性が必要な場合には、磁気回路やホール素子を樹脂材で保護する。しかしながら、磁気回路、樹脂材、および/または外枠部はそれぞれ、温度および/または湿気に対する膨脹係数が異なるため、磁気回路に対する機械応力が上昇し、その結果、測定精度にばらつきが生まれる。つまり、機械応力に起因するエアギャップの変動により、磁気誘導、ひいては、電流測定における誤差が発生する。
上記の課題を鑑みて、本発明の目的は、構造が堅固で、精度が高く、製造コストが低い電流センサーを提供することにある。
また、構造が比較的単純で、自動化工程に適応できる組立作業にて組立可能な複数の部品で構成される電流センサーを提供することも有益である。
さらに、環境に対する耐性をもち、精度を下げることなく温度変化にも対応できる電流センサーを提供することも有益である。
そして、所定の目的のため、断面積の大きなケーブルや導電体内の電流を測定することが可能な電流センサーを提供することも有益である。
本発明のその他の目的は、請求項1に記載の電流センサーにより達成することができる。
本発明の適用例における電流センサーは、外枠部と、磁気コア、および、その磁気コアの両端の間に形成されたエアギャップ内に検知セルを載置した磁界検知器を備える磁気回路とを具備する。前記のセンサーは、さらに、前記の磁界検知器から出力される測定信号を処理するための外部プロセッサーへセンサーを接続する接続端子をもつ接続部を備える。また、前記のセンサーに、測定する電流を伝送する電気ケーブルなどの導電体が前記の磁気回路を貫通することができるよう、前記の磁気回路の開口に対応する中央孔を設けても構わない。さらに、前記の外枠部は、センサーを電気ケーブルや導電体に固定する目的で、前記の中央孔から伸長する支持壁を備えることも可能である。
本発明の第1の特徴として、前記のセンサーの磁気回路が、前記の磁気コアのエアギャップの片側端に、好ましくは溶接、または、別の接合技法により、堅固に固定されたブラケットを備え、そのブラケットは、磁気コアの磁性材よりも強固な材料で形成されている。前記の磁気コアは、FeNi合金などの非ラミネート形状の軟磁性材で形成することも可能である。前記の磁気回路に、磁気回路の磁気特性を最適にする目的で、ブラケットを溶接または接合した後で、アニール処理を行っても構わない。前記のブラケットは、特に、前記の外枠部を気密状態にするため外枠部にカバーを取り付けるための、超音波による密閉作業または溶接作業に起因する、センサーの使用中や製造中に発生する振動のせいで、前記の磁気回路が外枠部内で回転するのを防止するため、さらに、肩片や下片の形状の回転防止部材を備えることもできる。この結果、前記の磁気検知セルが、前記の磁気回路から過剰な応力を付勢されずにすむことを、保証することができる。
前記のブラケットにより、前記のエアギャップの幅が所定の一定値に維持され、前記の磁気コアとその磁気コアに接触する部品、例えば、外枠部、とのあいだの相対的な熱膨脹に起因する不要な応力や衝撃に対するセンサーの抵抗力が増す。この解決策の結果、前記の磁気コアを形成する磁性材の選択の自由度を大きくでき、かつ、使用する磁性材の量を少なくすることも可能となる。
前記のブラケットを磁気コアに溶接または接合で取り付ける方法は、その溶接や接合工程が自動化でき、前記の磁気コアの切断工程を排除できる点で有益である。
前記のブラケットは、プレス成形された金属シート材で作成しても構わない。
前記の磁気コアは、材料の無駄を増やすことなく、簡単に自動化ができる比較的に単純な工程である切断や折り曲げ作業により形成できる、個体フィラメント形状の磁性材で作成することも可能である。
本発明の別の特徴として、前記の磁界検知器が、プリント回路基板などの支持基板上に表面実装された検知セルを備え、その支持基板には、前記の検知セルのみをエアギャップ内に挿入できるよう、前記の磁気回路のコアの片方の端を受容する切り込み部が形成されている。表面実装装置(SMD)を利用した表面実装操作により、前記の検知セルと支持基板との自動化組立が可能となり、検知セルを支持基板上の所定位置に正確に設置することができ、同時に、エアギャップ内にも正確に設置することができる。前記の切り込み部は、前記の検知セルに対する磁気回路の位置決めのさいの基準面としても作用する。この構成のおかげで、特に、磁界検知器、磁気回路、カバー、外枠部を中心とする様々な部品の、軸方向の取り付け、つまり、磁気回路の中央面にほぼ直交する方向の取り付けが簡単に行える。
前記のカバーの外枠部への超音波による密閉または接合取り付けにより、外枠部内の部品への、熱応力および/または湿気による応力などの、物理的応力による弊害を与えるような外枠部への樹脂の充填の必要がなく、センサーの気密性を高めることができる。さらに、それにより、組立工程を簡略化でき、大量生産をより実現可能にする。
図面に示されているとおり、電流センサー1は、外枠部2と、カバー3と、磁気回路4と、磁界検知器5と、接続端子6とを備える。
前記の外枠部2は、接続部7と、固定部または支持部8と、前記の磁気回路4と磁界検知器5とが配置された凹部10をもつ本体9とで構成されている。カバー3は、本体9の開放側11を閉止できる形状であり、その本体9には、カバー3の補助縁部12を受容する縁部11が備わっている。
前記の本体9には、測定する電流が流れる導電体を貫通配置するための中央開孔13が設けられている。図示の例では、導電体が自動車用バッテリーの電力線などのケーブル線であって、電流センサーから、バッテリーを制御情報およびモニター情報がシステムへ送られる。前記の支持部または固定部8は、磁気回路の中央面にほぼ直角の方向である軸方向へ延びる曲線壁形状に構成され、ケーブル線と固定部8をクランプする把持片により、電流センサーをケーブル線に固定する役目をする。外枠部2の固定部8、本体9、接続部7は、例えば、プラスチック注入型成形により一体形成することも可能である。接続端子6は、軸方向Aにほぼ直角な方向Dに、外枠部に設けられたオリフィスまたは通路14に挿入できる接続片状に形成しても構わない。接続端子6の両端部はピン形状15に構成され、磁界検知器の金属メッキ孔16に締嵌式で挿入可能となっている。それゆえ、接続端子6は、測定信号を処理するための外部プロセッサーへ電流センサーを接続する役目をする。
本実施例における磁気回路4のコアは、その両自由端19、20の間に形成されたエアギャップ18を備える円環状コア17である。好ましくは、コア17は、低ヒステレシスで磁束を伝導できるFeNiなどの固体で非ラミネート状の磁性材からなり、渦電流による損失を最小限にするため、導電性の低いほうがよい。
前記のコア17は、そのほぼ円形の断面形状および非ラミネート形状のため、フィラメント材を所定の長さに切断して形成することが可能となり、そのため、製造工程が比較的に簡単で、材料ロスをなくすることができる。
前記の磁気回路4は、さらに、コア磁性材よりも強固な非磁性材からなるブラケット21を備えている。ブラケット21は、ステンレス鋼板(または、非磁性金属板材)をプレス成形して簡単に製作できる。ブラケット21の固定部22は、エアギャップ18の片方側でコア17を溶接または接合できるようなタブ形状となっている。その溶接または接合の作業中には、コア17の両端19、20を、エアギャップ18の所定幅に対応する厚さをもつ基準シム板に対して押圧する。溶接作業または接合作業の後、磁気コア17の磁気特性が好適となるような温度で、磁気回路をアニール処理する。そのブラケット21の存在により、作業中のエアギャップの寸法を保持できる。
前記のブラケット21は、磁気回路が支持基板に対して回転するのを防止する役目をもつ、凸片23である回転防止部を備える。防止する動作として、凸片23が支持基板26に衝突する。特に、カバーを外枠部に超音波で密閉取り付けするさいの、超音波の接合作業または密閉作業中に、磁気回路が回転する恐れがある。カバーを外枠部に超音波で密閉取り付けすることにより、カバーと外枠部との接合部11、12における気密状態を達成することができる。
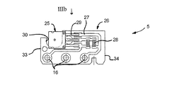
前記の磁界検知器5は、検知セル25と、その検知セルが取り付けられた支持基板26とを備える。支持基板26は、前記の接続部の接続端子6と検知セルとを相互接続する導電パターン27をもつプリント配線基板でよい。その支持基板には、その他の電子部品28も実装されている。特に、検知セル25には、表面実装(SMD)技術を使った接続を可能にする接続タブ片29が設けられている。そのような表面実装技術を使えば、支持基板への検知セルの取り付けを自動化でき、支持基板に対する検知セルの取付精度や位置精度を高めることが可能となる。また支持基板26には、磁気回路の片方の端19を受容するための切り込み部30が設けられており、それにより、検知セル25をエアギャップ17内へ挿入することができる。切り込み部30には位置決め面37、38、39が設けられており、磁界検知器5に対する、特に、検知セル25に対する磁気回路の位置決め用の基準面としての役割を有する。
前記の支持基板26は、磁気コアの中央面にほぼ直角の軸方向に配置され取り付けられている。外枠部2内に磁界検知器5をガイドおよび保持できるよう、外枠部2は軸方向レール31、32を備えており、支持基板26の対向する両端33、34がその中間に挿入保持されている。外枠部2内に磁界検知器5を取り付けた後、外枠部の対応オリフィス14内に接続端子6を接続し、それらのピン15を金属メッキ孔16に圧入する。続いて、磁気回路4とカバー12を外枠部2に軸方向に取り付ければ、電流センサーの組立作業を簡単に行うことができる。
外枠部本体の凹部10の外面とカバー3の内側面には突起35、36がそれぞれ設けられており、カバーと外枠部との間で磁気回路4のコアを確実に保持できるよう、突起35、36は磁気回路のコアに接触するようになっている。前記の超音波式の密閉作業に、接触する突起の表面が、コア17の丸い形状の表面に係合する。そのため、磁気回路を外枠部2に確実に固定することができる。
上記で説明した固定手段の長所の1つが、支持基板26に対応した外枠部2内の所定位置に磁気回路4を確実に設置できることであり、特に、磁気回路の片方の端を切り込み部30に整合させることができる。磁気回路4を、支持基板26の基準面37、38、39に対して、外枠部2の底面の突起35間に配置すれば、磁気回路4は、カバー3の突起36により、外枠部の底面の突起35に対して、軸方向に押圧される。そして、超音波での接合作業または密閉作業に磁気コアに対して接触する突起表面の丸い形状のせいで、軸方向Aや径方向Rを含む全方向に磁気回路4を固定することができる。
さらに、自動工程において、磁気回路のコアのエアギャップの片側へ、ブラケットが接合または密閉取り付けされるため、熱応力や物理応力が働いても、エアギャップの幅をほぼ一定の値に確実に維持することができる。そのため、電流センサーは、ブラケットが存在しない場合のコアの継続的変形を起こすような衝撃力や慣性力に対する耐性をもつ。結果として、磁気回路を、バルク状態などバラで自在に格納および運搬することが可能となる。
しかも、前記のブラケットを利用するため、コア強度に特別の注意を払うことなく、磁気特性を最大にできる材料を使ってコアを係止することが可能となる。
本発明によれば、製造が比較的安価で、材料浪費のない個体(ラミネート状でない)のフィラメント形状のコアの利用が可能となる。また、その磁気コアに対する別途の切断作業の必要なく、自動化できる作業行程により、磁気コアに、ブラケットを簡単に溶着または接合することができる。
本発明による電流センサーの分解斜視図である。 カバーの一部を除去した、本発明による電流センサーの平面図である。 本発明による電流センサーの斜視図である。 図1bのId−Id線に沿った、電流センサーの断面斜視図である。 本発明による電流センサーの、磁気回路と磁気回路のブラケットとを示す図である。 図2aの矢印IIbに示す方向からみた図である。 本発明によるセンサーの磁界検知器の図である。 図3aの矢印IIIbに示す方向からみた図である。

Claims (6)

  1. 電流センサーであって、外枠部(2)と、磁気コア、および、その磁気コアの両端(19、20)間に形成されたエアギャップ(18)内に検知セル(25)を載置した磁界検知器(5)を備える磁気回路(4)とを具備し、前記磁気コア(17)が、非ラミネート形状磁性材からなり、前記磁気回路が、さらに、前記コアのエアギャップの片側端に溶接または接合された非磁性材のブラケット(21)を備えることを特徴とする電流センサー。
  2. 前記ブラケット(21)が、プレス成形された金属シート材からなることを特徴とする請求項1記載の電流センサー。
  3. 前記ブラケットが、回転防止部材(23)を備えることを特徴とする請求項1又は2記載の電流センサー。
  4. 前記磁気回路が、前記ブラケットを溶接した後に、アニール処理されることを特徴とする請求項1〜3のいずれかに記載の電流センサー。
  5. さらに、前記外枠部の凹部内に、前記磁気回路を気密状態に取り囲むよう、前記外枠部に超音波で密閉または接合取り付けされたカバーを具備することを特徴とする請求項1〜4のいずれかに記載の電流センサー。
  6. 前記カバーが、組立工程後に前記外枠部内に配置できるよう、前記磁気回路に対して接触する突起を備えることを特徴とする請求項5記載の電流センサー。
JP2009144255A 2003-02-27 2009-06-17 電流センサー Expired - Lifetime JP5036764B2 (ja)

Applications Claiming Priority (2)

Application Number Priority Date Filing Date Title
EP03004186.7 2003-02-27
EP03004186A EP1452878A1 (fr) 2003-02-27 2003-02-27 Capteur de courant électrique

Related Parent Applications (1)

Application Number Title Priority Date Filing Date
JP2006502358A Division JP4406636B2 (ja) 2003-02-27 2004-01-20 電流センサー

Publications (2)

Publication Number Publication Date
JP2010091550A true JP2010091550A (ja) 2010-04-22
JP5036764B2 JP5036764B2 (ja) 2012-09-26

Family

ID=32748804

Family Applications (2)

Application Number Title Priority Date Filing Date
JP2006502358A Expired - Lifetime JP4406636B2 (ja) 2003-02-27 2004-01-20 電流センサー
JP2009144255A Expired - Lifetime JP5036764B2 (ja) 2003-02-27 2009-06-17 電流センサー

Family Applications Before (1)

Application Number Title Priority Date Filing Date
JP2006502358A Expired - Lifetime JP4406636B2 (ja) 2003-02-27 2004-01-20 電流センサー

Country Status (6)

Country Link
US (2) US7492145B2 (ja)
EP (3) EP1452878A1 (ja)
JP (2) JP4406636B2 (ja)
AT (2) ATE391922T1 (ja)
DE (2) DE602004004636T2 (ja)
WO (1) WO2004077078A1 (ja)

Cited By (1)

* Cited by examiner, † Cited by third party
Publication number Priority date Publication date Assignee Title
JP2017510802A (ja) * 2014-03-24 2017-04-13 レム・インテレクチュアル・プロパティ・エスエイLem Intellectual Property Sa 電流変換器

Families Citing this family (39)

* Cited by examiner, † Cited by third party
Publication number Priority date Publication date Assignee Title
FR2881276B1 (fr) * 2005-01-24 2007-03-09 Valeo Electronique Sys Liaison Dispositif de mesure du courant d'une batterie
EP1965217B1 (en) * 2007-03-02 2012-08-29 Liaisons Electroniques-Mecaniques Lem S.A. High bandwidth open-loop current sensor
JP2009042003A (ja) * 2007-08-07 2009-02-26 Denso Corp 電流センサ
KR101198834B1 (ko) 2007-12-12 2012-11-07 기아자동차주식회사 클램프 일체형 배터리 센서
DE602007010332D1 (de) * 2007-12-18 2010-12-16 Lem Liaisons Electron Mec Stromsensor mit laminiertem Magnetkern
FR2936062B1 (fr) * 2008-09-12 2010-10-01 Electricfil Automotive Capteur de courant en boucle ouverte a large gamme
EP2224461B1 (en) * 2009-02-25 2011-11-30 Liaisons Electroniques-Mecaniques Lem S.A. Magnetic circuit with wound magnetic core
KR101090051B1 (ko) 2009-04-21 2011-12-07 우리산업 주식회사 전류센서의 구조 및 그 제조방법
KR101049052B1 (ko) * 2009-04-21 2011-07-15 우리산업 주식회사 멀티형 전류센서
CN102004179A (zh) * 2009-09-01 2011-04-06 天津市松正电动科技有限公司 用于电动车辆控制器的磁感应电流传感器
JP5452190B2 (ja) * 2009-11-30 2014-03-26 旭化成エレクトロニクス株式会社 電流センサ及びその組立方法
JP5975596B2 (ja) * 2010-08-05 2016-08-23 矢崎総業株式会社 電流センサ構造
DE102010033813A1 (de) * 2010-08-09 2012-02-09 Würth Elektronik Ics Gmbh & Co. Kg Anschluss- und Messvorrichtung für den Anschluss einer Stromversorgung an eine Leiterplatte
DE102010036040A1 (de) 2010-08-31 2012-03-01 Jungheinrich Aktiengesellschaft Strommesseinrichtung, insbesondere in einem Umrichter eines Flurförderzeugs
EP2434583A1 (en) 2010-09-28 2012-03-28 Liaisons Electroniques-Mecaniques Lem S.A. Battery current sensor
JP2013015431A (ja) * 2011-07-05 2013-01-24 Sumitomo Wiring Syst Ltd 電流検出装置
EP2546660A1 (en) * 2011-07-13 2013-01-16 LEM Intellectual Property SA Electrical current sensor with grounded magnetic core
KR200480159Y1 (ko) * 2011-12-28 2016-04-20 한국단자공업 주식회사 전류센서
EP2660611A1 (en) * 2012-04-30 2013-11-06 LEM Intellectual Property SA Electrical current transducer module
DE102012104348A1 (de) 2012-05-21 2013-11-21 Konrad Slanec Berührungsloses, hochgenaues Stromsensorsystem
JP2014035322A (ja) * 2012-08-10 2014-02-24 Tokai Rika Co Ltd コアホルダ及び電流センサ
FR2998059B1 (fr) * 2012-11-15 2014-12-19 Schneider Electric Ind Sas Capteur de courant mixte et procede de montage dudit capteur
CN103941067A (zh) * 2013-01-22 2014-07-23 刘胜 分体式霍尔电流传感器
JP2015001477A (ja) * 2013-06-17 2015-01-05 株式会社オートネットワーク技術研究所 電流センサ及び電気接続箱
US10031166B2 (en) 2013-09-30 2018-07-24 Lynary Enterprises Inc. Electrical current measuring apparatus and method
CN105277769B (zh) * 2014-06-25 2018-12-04 中国科学院空间科学与应用研究中心 一种振动式卫星表面悬浮电位探测装置
JP2016109601A (ja) * 2014-12-09 2016-06-20 株式会社東海理化電機製作所 電流センサ
US10449614B2 (en) 2014-12-18 2019-10-22 Illinois Tool Works Inc. Systems and methods for solid state sensor measurements of welding cables
FR3061365B1 (fr) * 2016-12-27 2019-06-14 Hager-Electro Sas Procede d'assemblage d'un dispositif de distribution d'energie, cellule de mesure associee et ensemble conducteur de phase et cellule de mesure associe
JP6495364B2 (ja) * 2017-03-27 2019-04-03 株式会社タムラ製作所 電流検出器
CN109142837B (zh) * 2018-09-30 2021-08-24 宁波中车时代传感技术有限公司 一种新能源汽车用双量程电流传感器
US10984940B2 (en) * 2018-12-10 2021-04-20 Schweitzer Engineering Laboratories, Inc. Compression housing for a laminate core of an inductive current transformer
US11289857B2 (en) 2019-03-28 2022-03-29 Hewlett Packard Enterprise Development Lp Electrical connector with integrated current sensor
JP7194083B2 (ja) * 2019-07-01 2022-12-21 株式会社タムラ製作所 電子機器及び電流検出器
CN111024997B (zh) * 2019-11-11 2023-05-26 宁波中车时代传感技术有限公司 新能源汽车用电流传感器
DE102020116428A1 (de) * 2020-06-22 2021-12-23 Magnetec Gmbh Sensor, Schutzschalter, Ladekabel und Ladestation
FR3116612B1 (fr) * 2020-11-26 2023-11-10 Valeo Siemens Eautomotive France Sas Dispositif électrique de réception d’un capteur de mesure de champ magnétique
CN118068065A (zh) * 2022-11-22 2024-05-24 苏州力特奥维斯保险丝有限公司 双通道电流传感器
JP2024111960A (ja) * 2023-02-07 2024-08-20 株式会社タムラ製作所 電流検出器

Citations (4)

* Cited by examiner, † Cited by third party
Publication number Priority date Publication date Assignee Title
JPS6312971A (ja) * 1986-07-03 1988-01-20 Tamura Seisakusho Co Ltd 電流検出器
JPS63163174A (ja) * 1986-12-24 1988-07-06 Sumitomo Electric Ind Ltd パイプタイプ型三相ofケ−ブルの零相電流検出方法
JPH01265168A (ja) * 1987-12-11 1989-10-23 Agence Spatiale Europ 電流測定装置
JPH04282461A (ja) * 1991-03-12 1992-10-07 Mitsubishi Electric Corp 電流検出器

Family Cites Families (17)

* Cited by examiner, † Cited by third party
Publication number Priority date Publication date Assignee Title
US4262275A (en) * 1980-03-27 1981-04-14 International Business Machines Corporation Hall effect apparatus for flux concentrator assembly therefor
GB8724087D0 (en) * 1987-10-14 1987-11-18 Westinghouse Brake & Signal Testing circuit arrangement
JPH02150573U (ja) * 1989-05-25 1990-12-26
US5041761A (en) * 1990-09-14 1991-08-20 United Technologies Automotive, Inc. Magnetic automotive lamp current sensor
JPH04252934A (ja) * 1991-01-29 1992-09-08 Sanki Eng Kk 多向流式遠心連続多段抽出装置
JPH05126861A (ja) * 1991-08-05 1993-05-21 Hyogo Nippon Denki Kk 電流センサー
US5221894A (en) * 1992-03-02 1993-06-22 Miller Electric Manufacturing Company Weld current sensor
AU679713B2 (en) * 1993-01-19 1997-07-10 Hydro-Quebec Current surge indicator
US5552700A (en) * 1994-09-30 1996-09-03 Stanley Electric Co., Ltd. Current detecting device with a core having an integrally fixed engaging member
JPH08233865A (ja) * 1995-02-28 1996-09-13 Victor Co Of Japan Ltd 電流検知ユニット
JPH09281152A (ja) * 1996-04-16 1997-10-31 Yazaki Corp 電流センサ装置及び電流センサ装置の組み立て方法
US6545456B1 (en) * 1998-08-12 2003-04-08 Rockwell Automation Technologies, Inc. Hall effect current sensor package for sensing electrical current in an electrical conductor
US6175229B1 (en) * 1999-03-09 2001-01-16 Eaton Corporation Electrical current sensing apparatus
US6424145B1 (en) * 2000-02-29 2002-07-23 Eldec Corporation Inductive proximity sensor for detecting ferromagnetic, non-permeable or magnet targets
JP2002243768A (ja) * 2001-02-21 2002-08-28 Stanley Electric Co Ltd 電流検出装置
JP4507599B2 (ja) * 2001-12-27 2010-07-21 パナソニック株式会社 電流検出器
US6759840B2 (en) * 2002-06-11 2004-07-06 Rockwell Automation Technologies, Inc. Hall effect conductor/core method and apparatus

Patent Citations (4)

* Cited by examiner, † Cited by third party
Publication number Priority date Publication date Assignee Title
JPS6312971A (ja) * 1986-07-03 1988-01-20 Tamura Seisakusho Co Ltd 電流検出器
JPS63163174A (ja) * 1986-12-24 1988-07-06 Sumitomo Electric Ind Ltd パイプタイプ型三相ofケ−ブルの零相電流検出方法
JPH01265168A (ja) * 1987-12-11 1989-10-23 Agence Spatiale Europ 電流測定装置
JPH04282461A (ja) * 1991-03-12 1992-10-07 Mitsubishi Electric Corp 電流検出器

Cited By (2)

* Cited by examiner, † Cited by third party
Publication number Priority date Publication date Assignee Title
JP2017510802A (ja) * 2014-03-24 2017-04-13 レム・インテレクチュアル・プロパティ・エスエイLem Intellectual Property Sa 電流変換器
JP2019207251A (ja) * 2014-03-24 2019-12-05 レム・インテレクチュアル・プロパティ・エスエイLem Intellectual Property Sa 電流変換器

Also Published As

Publication number Publication date
DE602004013053T2 (de) 2009-05-07
EP1767952A1 (fr) 2007-03-28
JP5036764B2 (ja) 2012-09-26
WO2004077078A1 (fr) 2004-09-10
ATE391922T1 (de) 2008-04-15
US7492145B2 (en) 2009-02-17
US20060176047A1 (en) 2006-08-10
US7659709B2 (en) 2010-02-09
DE602004004636T2 (de) 2007-11-08
DE602004013053D1 (de) 2008-05-21
EP1767952B1 (fr) 2008-04-09
ATE353442T1 (de) 2007-02-15
DE602004004636D1 (de) 2007-03-22
EP1597598A1 (fr) 2005-11-23
EP1452878A1 (fr) 2004-09-01
JP4406636B2 (ja) 2010-02-03
EP1597598B1 (fr) 2007-02-07
US20080290857A1 (en) 2008-11-27
JP2006519375A (ja) 2006-08-24

Similar Documents

Publication Publication Date Title
JP5036764B2 (ja) 電流センサー
JP5414333B2 (ja) 電流検出装置の組付け構造
EP2845016B1 (en) Electric current transducer module
EP2381264B1 (en) Structure for assembling current detecting device
US6977498B2 (en) Measurement probe, in particular for an apparatus for measurement of the thickness of thin layers
JP4118990B2 (ja) 圧力センサ
JP2004354254A (ja) 電流センサ
JP2003167009A (ja) 電流検出装置
WO2013114943A1 (ja) 電流検出装置及び磁性体コア
JP2010203910A (ja) 電流センサ及びその製造方法
JP3880176B2 (ja) 圧力センサ
JP5762856B2 (ja) 電流センサ
JP2012163401A (ja) 電流センサ
JP4304482B2 (ja) 圧力センサ
JP7443499B2 (ja) 電流変換器
JP3751528B2 (ja) センサ及び圧力センサ
JP2011047656A (ja) 磁気センサとその製造方法
KR20220123690A (ko) 전자 기기 및 근접 센서
JP2004354312A (ja) 磁気センサ
JP2007192790A (ja) 半導体圧力センサ
JPH11344504A (ja) 加速度センサ
JP2013008846A (ja) センサ
JPH02309258A (ja) 加速度センサ
JP2006084337A (ja) 半導体圧力センサ

Legal Events

Date Code Title Description
A131 Notification of reasons for refusal

Free format text: JAPANESE INTERMEDIATE CODE: A131

Effective date: 20120221

A521 Request for written amendment filed

Free format text: JAPANESE INTERMEDIATE CODE: A523

Effective date: 20120423

TRDD Decision of grant or rejection written
A01 Written decision to grant a patent or to grant a registration (utility model)

Free format text: JAPANESE INTERMEDIATE CODE: A01

Effective date: 20120619

A01 Written decision to grant a patent or to grant a registration (utility model)

Free format text: JAPANESE INTERMEDIATE CODE: A01

A61 First payment of annual fees (during grant procedure)

Free format text: JAPANESE INTERMEDIATE CODE: A61

Effective date: 20120703

FPAY Renewal fee payment (event date is renewal date of database)

Free format text: PAYMENT UNTIL: 20150713

Year of fee payment: 3

R150 Certificate of patent or registration of utility model

Ref document number: 5036764

Country of ref document: JP

Free format text: JAPANESE INTERMEDIATE CODE: R150

Free format text: JAPANESE INTERMEDIATE CODE: R150

R250 Receipt of annual fees

Free format text: JAPANESE INTERMEDIATE CODE: R250

R250 Receipt of annual fees

Free format text: JAPANESE INTERMEDIATE CODE: R250

R250 Receipt of annual fees

Free format text: JAPANESE INTERMEDIATE CODE: R250

R250 Receipt of annual fees

Free format text: JAPANESE INTERMEDIATE CODE: R250

R250 Receipt of annual fees

Free format text: JAPANESE INTERMEDIATE CODE: R250

S531 Written request for registration of change of domicile

Free format text: JAPANESE INTERMEDIATE CODE: R313531

S533 Written request for registration of change of name

Free format text: JAPANESE INTERMEDIATE CODE: R313533

R360 Written notification for declining of transfer of rights

Free format text: JAPANESE INTERMEDIATE CODE: R360

R370 Written measure of declining of transfer procedure

Free format text: JAPANESE INTERMEDIATE CODE: R370

R250 Receipt of annual fees

Free format text: JAPANESE INTERMEDIATE CODE: R250

S531 Written request for registration of change of domicile

Free format text: JAPANESE INTERMEDIATE CODE: R313531

S533 Written request for registration of change of name

Free format text: JAPANESE INTERMEDIATE CODE: R313533

R350 Written notification of registration of transfer

Free format text: JAPANESE INTERMEDIATE CODE: R350

S111 Request for change of ownership or part of ownership

Free format text: JAPANESE INTERMEDIATE CODE: R313113

S531 Written request for registration of change of domicile

Free format text: JAPANESE INTERMEDIATE CODE: R313531

R350 Written notification of registration of transfer

Free format text: JAPANESE INTERMEDIATE CODE: R350

R250 Receipt of annual fees

Free format text: JAPANESE INTERMEDIATE CODE: R250

R250 Receipt of annual fees

Free format text: JAPANESE INTERMEDIATE CODE: R250

R250 Receipt of annual fees

Free format text: JAPANESE INTERMEDIATE CODE: R250

EXPY Cancellation because of completion of term