JP2010090804A - 燃料噴射装置 - Google Patents

燃料噴射装置 Download PDF

Info

Publication number
JP2010090804A
JP2010090804A JP2008261640A JP2008261640A JP2010090804A JP 2010090804 A JP2010090804 A JP 2010090804A JP 2008261640 A JP2008261640 A JP 2008261640A JP 2008261640 A JP2008261640 A JP 2008261640A JP 2010090804 A JP2010090804 A JP 2010090804A
Authority
JP
Japan
Prior art keywords
fuel
pressure
injection
nozzle needle
common rail
Prior art date
Legal status (The legal status is an assumption and is not a legal conclusion. Google has not performed a legal analysis and makes no representation as to the accuracy of the status listed.)
Granted
Application number
JP2008261640A
Other languages
English (en)
Other versions
JP5210791B2 (ja
Inventor
Masaharu Ito
昌晴 伊藤
Yoshiharu Nonoyama
由晴 野々山
Atsushi Kondo
淳 近藤
Current Assignee (The listed assignees may be inaccurate. Google has not performed a legal analysis and makes no representation or warranty as to the accuracy of the list.)
Denso Corp
Soken Inc
Original Assignee
Denso Corp
Nippon Soken Inc
Priority date (The priority date is an assumption and is not a legal conclusion. Google has not performed a legal analysis and makes no representation as to the accuracy of the date listed.)
Filing date
Publication date
Application filed by Denso Corp, Nippon Soken Inc filed Critical Denso Corp
Priority to JP2008261640A priority Critical patent/JP5210791B2/ja
Priority to US12/574,858 priority patent/US20100088006A1/en
Publication of JP2010090804A publication Critical patent/JP2010090804A/ja
Application granted granted Critical
Publication of JP5210791B2 publication Critical patent/JP5210791B2/ja
Expired - Fee Related legal-status Critical Current
Anticipated expiration legal-status Critical

Links

Images

Classifications

    • FMECHANICAL ENGINEERING; LIGHTING; HEATING; WEAPONS; BLASTING
    • F02COMBUSTION ENGINES; HOT-GAS OR COMBUSTION-PRODUCT ENGINE PLANTS
    • F02DCONTROLLING COMBUSTION ENGINES
    • F02D41/00Electrical control of supply of combustible mixture or its constituents
    • F02D41/20Output circuits, e.g. for controlling currents in command coils
    • F02D41/2096Output circuits, e.g. for controlling currents in command coils for controlling piezoelectric injectors
    • FMECHANICAL ENGINEERING; LIGHTING; HEATING; WEAPONS; BLASTING
    • F02COMBUSTION ENGINES; HOT-GAS OR COMBUSTION-PRODUCT ENGINE PLANTS
    • F02DCONTROLLING COMBUSTION ENGINES
    • F02D41/00Electrical control of supply of combustible mixture or its constituents
    • F02D41/30Controlling fuel injection
    • F02D41/38Controlling fuel injection of the high pressure type
    • F02D41/3809Common rail control systems
    • F02D41/3836Controlling the fuel pressure
    • FMECHANICAL ENGINEERING; LIGHTING; HEATING; WEAPONS; BLASTING
    • F02COMBUSTION ENGINES; HOT-GAS OR COMBUSTION-PRODUCT ENGINE PLANTS
    • F02MSUPPLYING COMBUSTION ENGINES IN GENERAL WITH COMBUSTIBLE MIXTURES OR CONSTITUENTS THEREOF
    • F02M65/00Testing fuel-injection apparatus, e.g. testing injection timing ; Cleaning of fuel-injection apparatus
    • F02M65/005Measuring or detecting injection-valve lift, e.g. to determine injection timing
    • FMECHANICAL ENGINEERING; LIGHTING; HEATING; WEAPONS; BLASTING
    • F02COMBUSTION ENGINES; HOT-GAS OR COMBUSTION-PRODUCT ENGINE PLANTS
    • F02DCONTROLLING COMBUSTION ENGINES
    • F02D2200/00Input parameters for engine control
    • F02D2200/02Input parameters for engine control the parameters being related to the engine
    • F02D2200/06Fuel or fuel supply system parameters
    • F02D2200/0602Fuel pressure
    • FMECHANICAL ENGINEERING; LIGHTING; HEATING; WEAPONS; BLASTING
    • F02COMBUSTION ENGINES; HOT-GAS OR COMBUSTION-PRODUCT ENGINE PLANTS
    • F02DCONTROLLING COMBUSTION ENGINES
    • F02D2200/00Input parameters for engine control
    • F02D2200/02Input parameters for engine control the parameters being related to the engine
    • F02D2200/06Fuel or fuel supply system parameters
    • F02D2200/063Lift of the valve needle
    • FMECHANICAL ENGINEERING; LIGHTING; HEATING; WEAPONS; BLASTING
    • F02COMBUSTION ENGINES; HOT-GAS OR COMBUSTION-PRODUCT ENGINE PLANTS
    • F02MSUPPLYING COMBUSTION ENGINES IN GENERAL WITH COMBUSTIBLE MIXTURES OR CONSTITUENTS THEREOF
    • F02M45/00Fuel-injection apparatus characterised by having a cyclic delivery of specific time/pressure or time/quantity relationship
    • F02M45/12Fuel-injection apparatus characterised by having a cyclic delivery of specific time/pressure or time/quantity relationship providing a continuous cyclic delivery with variable pressure
    • FMECHANICAL ENGINEERING; LIGHTING; HEATING; WEAPONS; BLASTING
    • F02COMBUSTION ENGINES; HOT-GAS OR COMBUSTION-PRODUCT ENGINE PLANTS
    • F02MSUPPLYING COMBUSTION ENGINES IN GENERAL WITH COMBUSTIBLE MIXTURES OR CONSTITUENTS THEREOF
    • F02M63/00Other fuel-injection apparatus having pertinent characteristics not provided for in groups F02M39/00 - F02M57/00 or F02M67/00; Details, component parts, or accessories of fuel-injection apparatus, not provided for in, or of interest apart from, the apparatus of groups F02M39/00 - F02M61/00 or F02M67/00; Combination of fuel pump with other devices, e.g. lubricating oil pump
    • F02M63/02Fuel-injection apparatus having several injectors fed by a common pumping element, or having several pumping elements feeding a common injector; Fuel-injection apparatus having provisions for cutting-out pumps, pumping elements, or injectors; Fuel-injection apparatus having provisions for variably interconnecting pumping elements and injectors alternatively
    • F02M63/0225Fuel-injection apparatus having a common rail feeding several injectors ; Means for varying pressure in common rails; Pumps feeding common rails

Landscapes

  • Engineering & Computer Science (AREA)
  • Chemical & Material Sciences (AREA)
  • Combustion & Propulsion (AREA)
  • Mechanical Engineering (AREA)
  • General Engineering & Computer Science (AREA)
  • Electrical Control Of Air Or Fuel Supplied To Internal-Combustion Engine (AREA)
  • Fuel-Injection Apparatus (AREA)

Abstract

【課題】燃料噴射弁に供給される燃料圧力が目標燃料圧力より高いとき、燃料圧力を変更することなく、燃料噴射弁からの燃料噴射を制御する燃料噴射装置を提供する。
【解決手段】比較手段は、内燃機関の運転状態に応じた目標燃料圧力と圧力検出手段の検出した燃料圧力とを比較する(S104)。演算手段は、エンジンの運転状態に応じた目標コモンレール圧に対しコモンレール圧力センサの検出した実際のコモンレール圧が高いとき(S104:YES)、目標コモンレール圧と実際のコモンレール圧との圧力差が大きくなるのに応じて、ノズルニードルのリフト量を小さく算出する(S105)。このため、駆動手段は、演算手段の算出した演算結果に基づく駆動パルスを駆動部に印加し、ノズルボディとノズルニードルとの間の流体通路の開口断面積を小さくする。
【選択図】図4

Description

本発明は、燃料供給ポンプから圧送される燃料をコモンレール内に高圧状態で蓄え、この高圧燃料を燃料噴射弁(以下、「インジェクタ」という)から内燃機関の気筒へ噴射供給する燃料噴射装置に関する。
従来より、コモンレールを備えた燃料噴射装置は、内燃機関の回転数、負荷等による運転状態に基づき、制御目標としてコモンレール内の目標燃料圧力を算出し、燃料供給ポンプからの吐出量を制御している。
このような燃料噴射装置では、例えば、運転者が内燃機関を急減速させるためにアクセルペダルを戻すと、制御目標として算出される燃料噴射量がゼロとなり、インジェクタからの燃料噴射が中止される。その後、運転者がアクセルペダルを踏込み操作し、内燃機関が加速状態に移行すると、そのときの運転状態に応じて燃料噴射量および燃料噴射時期が設定され、インジェクタからの燃料噴射が再開される。
しかし、燃料噴射が再開されるときのコモンレール内の燃料圧力は、急減速に伴う燃料噴射の中止によって減圧されておらず、減速前の目標燃料圧力近傍に保持されている。このため、燃料噴射再開時の目標燃料圧力より実際の燃料圧力が高くなってしまい、インジェクタの噴孔の開放と同時に燃料が短期間で過剰に噴射されるという問題があった。燃料が気筒内に短期間で過剰に噴射されると、内燃機関の燃焼速度が過度に加速することで、内燃機関の燃焼騒音が生じ、さらに、内燃機関を搭載した車両等に加速ショックが発生することがあった。
この問題に対処するため、特許文献1では、コモンレールに減圧調整弁を設け、コモンレール内の燃料圧力を目標燃料圧力に減圧している。
また、特許文献2では、インジェクタのノズルニードルが噴孔を開放する時間よりも短い時間で電磁弁を駆動し、高圧燃料を低圧部位へ逃がすいわゆる空打ち駆動を行うことで、インジェクタに供給される燃料圧力を目標燃料圧力に減圧している。
しかし、コモンレールに減圧調整弁を設けることは、製造コストを増加することになる。また、空打ち駆動は、電磁弁を短時間で素早く駆動させなければならず、駆動回路の限界から駆動電流が不足することがあり、燃料圧力をすばやく減圧することができない虞がある。
特開2004−11448号公報 特開平11−173192号公報
本発明は、燃料噴射弁に供給される燃料圧力が目標燃料圧力より高いとき、燃料圧力を変更することなく、燃料噴射弁からの燃料噴射を制御する燃料噴射装置を提供することにある。
請求項1に記載の発明によると、比較手段は、内燃機関の運転状態に応じた目標燃料圧力と圧力検出手段の検出した実際の燃料圧力とを比較する。演算手段は、目標燃料圧力に対し実際の燃料圧力が高いとき、目標燃料圧力と実際の燃料圧力との圧力差が大きくなるに従って、ノズルニードルのリフト量を小さく算出する。このため、駆動手段は、演算手段の算出した演算結果に基づく駆動パルスを駆動部に印加し、噴孔またはノズルボディとノズルニードルとの間の流体通路の開口断面積を小さくする。これにより、目標燃料圧力より実際の燃料圧力が高いときであっても、燃料噴射弁から噴射される燃料の噴射率を運転状態に適した噴射率にすることができる。この結果、内燃機関の燃焼速度が過度に活発になることを抑制し、内燃機関の燃焼騒音およびこの内燃機関を搭載した車両の加速ショックを抑制することができる。なお、噴射率とは、単位時間当たりの燃料噴射量をいう。
また、コモンレール内の燃料圧力を変更する減圧調整弁を廃止することによって燃料噴射装置の製造工程を簡素とし、製造コストを削減することができる。
さらに、目標燃料圧力より実際の燃料圧力が高いとき、実際の燃料圧力を変更することなく噴射率を適正にすることができるので、燃料噴射装置の応答性を向上することができる。
請求項2に記載の発明によると、演算手段は、目標燃料圧力と実際の燃料圧力との圧力差が大きくなるに従って、ノズルニードルの上昇速度を小さく算出する。このため、制御回路は、演算手段の算出した演算結果に基づき、駆動部に印加する駆動パルスを制御し、噴射初期の噴孔またはノズルボディとノズルニードルとの間の流体通路の開口断面積を小さくする。これにより、噴射初期の噴射率が小さくなるので、噴射初期の燃料の噴霧化を抑制することで、内燃機関の燃焼速度が過度に速くなることを抑制することができる。
請求項3に記載の発明によると、演算手段は、燃料噴射弁から燃料の噴射供給が停止している噴射停止期間を演算し、噴射停止期間が所定時間より短いとき、目標燃料圧力と実際の燃料圧力との圧力差に応じて算出したノズルニードルのリフト量を、内燃機関の運転状態に適した噴射率になる程度に小さくする側へ補正する。噴射停止期間が短いとき、気筒内の温度は、制御目標としての気筒内温度より高くなっている。気筒内の温度が高いと、噴射率に対して燃焼が活発になる。このため、演算手段は、燃焼が過度に活発にならないよう、ノズルニードルのリフト量を小さくする側へ補正する。これにより、噴射率を高精度に制御し、燃料噴射制御の精度を向上することができる。
請求項4に記載の発明によると、演算手段は、噴射停止期間が所定時間より短いとき、内燃機関の運転状態に適した噴射率となるようにノズルニードルの上昇速度を小さくする側へ補正する。このため、燃焼が過度に活発になることを抑制することができる。これにより、噴射率を高精度に制御し、燃料噴射制御の精度を向上することができる。
請求項5に記載の発明によると、演算手段は、目標とする燃料噴射量が所定量より少ないときは、ノズルニードルのリフト量を小さく算出し、目標とする燃料噴射量が所定量より多いときは、相対的にノズルニードルの上昇速度を小さく算出する。噴射期間には一定の制限があるため、燃料噴射量がある一定の所定量よりも多くなると、噴射初期から噴射期間を通して噴射率が大きくなり、内燃機関の燃焼速度が過度に速くなる可能性がある。内燃機関の燃焼速度は、噴射初期の噴射率に関係している。このため、目標とする燃料噴射量が所定量より多いときは、相対的にノズルニードルの上昇速度を小さく算出することで、噴射初期の噴射率を小さくする。これにより、燃料噴射量が多いときであっても、内燃機関の燃焼速度が過度に速くなることを抑制することができる。
以下、本発明の実施形態を図に基づいて説明する。
(第1実施形態)
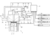
本発明の第1実施形態のディーゼル内燃機関(以下、単に「エンジン」という)の概略構成を図1に示す。エンジン1は、内部に筒状の気筒2を複数有するシリンダブロック3と、このシリンダブロック3の端部に設けられるシリンダヘッド5とを備えている。各気筒2には、ピストン6が往復移動可能に収容されている。各ピストン6は、コネクティングロッド7を介してエンジン1の出力軸である図示しないクランクシャフトに連結されている。
各気筒2のシリンダヘッド5側で、シリンダブロック3の内壁と、シリンダヘッド5のピストン6側の内壁と、ピストン6のシリンダヘッド5側の端部とによって形成される空間は燃焼室8である。シリンダヘッド5には、吸気ポート11および排気ポート12が形成されている。吸気ポート11および排気ポート12は、それぞれ燃焼室8と連通している。吸気管13および排気管14は、それぞれシリンダヘッド5の吸気ポート11および排気ポート12に接続している。このため、吸気管13内の吸気通路15は吸気ポート11を経由して燃焼室8と連通し、排気管14内の排気通路16は排気ポート12を経由して燃焼室8と連通している。吸気通路15には、スロットル弁17が設けられ、燃焼室8に流入する吸入空気量を調節する。
吸気管13と排気管14とにEGR装置18が接続している。EGR装置18に設けられたEGR通路19は、吸気通路15と排気通路16とをバイパスし、排気通路16を流れるEGRガスを吸気通路15へ還流する。EGR装置18には、EGR通路19を開閉するEGR弁20が設けられ、EGRガスの流量を制御している。
燃料ポンプとしての高圧ポンプ21は、制御回路4からの制御指令に従って、燃料タンク22に蓄えられた燃料を図示しない低圧ポンプを経て吸入し、自身の内部で加圧する。そして、高圧ポンプ21は、加圧した高圧燃料を供給配管23を経由し、蓄圧配管であるコモンレール24に吐出する。コモンレール24は高圧ポンプ21から吐出された高圧燃料を貯留する。
シリンダヘッド5には各気筒2に対応させてインジェクタ10が取付けられ、噴孔側の端部を燃焼室8に露出している。各インジェクタ10は、コモンレール24に接続しており、制御回路4によって印加される駆動パルスに従って、コモンレール24から供給される高圧燃料を、燃焼室8に噴射供給する。インジェクタ10の構成については後述する。
エンジン1には、運転状態を検出するための各種センサが設けられている。
コモンレール24には、圧力検出手段としてのコモンレール圧力センサ25が設けられ、コモンレール24内の燃料圧力(以下、「コモンレール圧」という)を検出している。コモンレール圧は、コモンレール24からインジェクタ10に供給される燃料圧力となる。
吸気管13には、吸気温センサ26およびインテークマニホールド内圧センサ27が設けられ、それぞれ、吸気通路15を流れる吸入空気の温度および吸入空気圧を検出している。吸入空気量センサ28は、気筒2内に導入される吸入空気量を検出する。シリンダブロック3に形成される冷却水路には、水温センサ29が設けられ、冷却水の温度を検出している。
クランク角センサ30およびNEセンサ31は、クランクシャフトの近傍に設けられ、クランクシャフトが所定角度回転するごとにパルス信号を出力することでそれぞれクランク角およびエンジン回転数を検出している。アクセル開度センサ32は、図示しないアクセルペダル装置に設けられ、運転者のアクセルペダルの踏込み量を検出している。
制御回路4は、CPU、およびROM、RAM等のメモリを有するマイクロコンピュータによって構成されている。制御回路4には、上述した各種センサの検出した検出信号が入力され、CPUはこれらの検出信号に基づき、ROMに記憶されている制御プログラム、制御マップ等に従って演算処理を行う。RAMは、この演算結果を一時的に記憶する。制御回路4は、この演算処理によってエンジン1の運転状態を検出し、インジェクタ10の駆動部に印加する駆動パルスを制御する。このようにして、制御回路4は、特許請求の範囲の「比較手段」、「演算手段」および「駆動手段」として機能する。
インジェクタ10の構成を図2および図3を参照して説明する。インジェクタ10は、ボディ33、ノズルニードル34および駆動部35等を備えている。
ボディ33は、略円筒状に形成された第1ボディ36、第2ボディ37、第3ボディ38およびノズルボディ39をこの順で接続することで構成されている。第1ボディ36、第2ボディ37、第3ボディ38およびノズルボディ39は、リテーニングナット40の締付けによって結合されている。ボディ33の内部には、コモンレール24から高圧燃料が供給される高圧通路41、この高圧通路41と連通する第1背圧室42、燃料溜り室43および燃料通路44等が形成されている。ノズルボディ39は、燃料通路44を形成する内壁面に弁座45を有し、弁座45の先端にサック室46を形成している(図3参照)。ノズルボディ39の端部には、サック室46の内部と外部を連通する複数の噴孔47が形成されている。
ボディ33の内部には、略円柱状に形成されたノズルニードル34、ニードルストッパ48およびバランスピストン49が噴孔47側からこの順で収容されている。ノズルニードル34、ニードルストッパ48およびバランスピストン49は、それぞれボディ33の内壁に液密に摺接し、軸方向に往復移動可能である。
第1スプリング50は、ニードルストッパ48の反噴孔側に形成される第2背圧室62に収容され、ニードルストッパ48およびノズルニードル34を噴孔47側へ付勢している。バランスピストン49は、第1背圧室42に供給される高圧燃料により噴孔47側へ付勢されている。ノズルニードル34の噴孔47側で円錐状に形成されているシート部51は、弁座45に着座または離座可能である。ノズルニードル34は、燃料通路44とサック室46との間の燃料流れを規制し、噴孔47を開放または閉塞する。
駆動部35は、ピエゾアクチュエータ52およびピエゾピストン53等を備えている。ピエゾアクチュエータ52は、ピエゾ素子を複数積層することにより構成され、第1ボディ36内に形成された低圧室54に収容されている。低圧室54は低圧部位としての燃料タンク22に連通している。低圧室54に供給される低圧燃料は、低圧通路58を経由して第2背圧室62へ供給される。
第2スプリング64は、ピエゾピストン53の噴孔47側に形成された第1圧力室55に収容され、ピエゾピストン53およびピエゾアクチュエータ52を反噴孔側へ付勢している。
ピエゾピストン53の内部には、第1圧力室55と低圧室54とを連通する連通路59が形成されている。連通路59の途中には、低圧室54から第1圧力室55への燃料の流れを許容し、第1圧力室55から低圧室54への燃料の流れを規制する逆止弁60が設けられている。
ピエゾピストン53の噴孔47側に形成される第1圧力室55は、圧力通路56を経由してニードルストッパ48の噴孔側に形成される第2圧力室57と連通している。このため、ピエゾアクチュエータ52が伸長し、ピエゾピストン53が噴孔47側へ移動すると、ニードルストッパ48の噴孔47側の端面に第2圧力室57内の燃料圧力が作用する。
次に、インジェクタ10の作動について説明する。
ピエゾアクチュエータ52に充電がされていないとき、ピエゾアクチュエータ52は収縮している。このとき、第1背圧室42の燃料圧力がバランスピストン49の反噴孔側端部に作用する力(F1)と、第1スプリング50の付勢力(F2)との合力は、燃料溜り室43および燃料通路の燃料圧力がノズルニードル34の噴孔側の面61、62に作用する力(F3)と、第2圧力室57の燃料圧力がニードルストッパ48の噴孔側の端部に作用する力(F4)との合力より大きい。このため、ノズルニードル34のシート部51は、弁座45に着座し、燃料通路44とサック室46との間を閉塞している。これにより、噴孔47からの燃料噴射は停止している。
制御回路4からピエゾアクチュエータ52に駆動パルスが印加され、ピエゾアクチュエータ52に充電が開始されると、ピエゾアクチュエータ52は充電量に伴って軸方向に伸長する。このため、ピエゾピストン53は、噴孔47側へ移動し、第1圧力室55の容積を減少する。第1圧力室55と低圧室54との燃料流れは逆止弁60によって規制されているので、第1圧力室55と圧力通路56を経由して連通する第2圧力室57の燃料圧力が上昇する。第2圧力室57の燃料圧力がニードルストッパ48の噴孔側の端部に作用する力(F4)と、燃料溜り室43および燃料通路の燃料圧力がノズルニードル34の噴孔側の面61、62に作用する力(F3)との合力が、第1背圧室42の燃料圧力がバランスピストン49の反噴孔側端部に作用する力(F1)と、第1スプリング50の付勢力(F2)との合力より大きくなると、ノズルニードル34、ニードルストッパ48およびバランスピストン49は、反噴孔側へ移動する。ノズルニードル34のシート部51が弁座45から離座すると、燃料通路44とサック室46とが連通し、噴孔47から燃料が噴射される。
制御回路4の指令によりピエゾアクチュエータ52の放電が開始されると、ピエゾアクチュエータ52は軸方向に収縮する。このため、第1圧力室55およびこれに連通する第2圧力室57の燃料圧力が低下する。第1背圧室42の燃料圧力がバランスピストン49の反噴孔側端部に作用する力(F1)と、第1スプリング50の付勢力(F2)との合力が、燃料溜り室43および燃料通路44の燃料圧力がノズルニードル34の噴孔側の面61、62に作用する力(F3)と、第2圧力室57の燃料圧力がニードルストッパ48の噴孔側の端部に作用する力(F4)との合力より大きくなると、ノズルニードル34、ニードルストッパ48およびバランスピストン49は、噴孔47側へ移動する。ノズルニードル34のシート部51が弁座45に着座すると、燃料通路44とサック室46との間が閉塞し、噴孔47からの燃料噴射が停止する。
次に本実施形態の噴射制御処理について図4に基づいて説明する。図4に示す噴射制御処理のフローは、エンジンの運転開始時、例えば、運転者が車両のイグニッションキーをONしたときに開始される。或いは、運転者がアクセルペダルの踏込みを一旦中止した後、再度アクセルペダルを踏込んだことをアクセル開度センサ32が検出し、この検出信号が制御回路4に入力されたときに噴射制御処理を開始するようにしても良い。なお、噴射制御処理のフローは、図4に示す一連の処理を実行すると一旦終了するが、再び、処理の先頭から開始される。
噴射制御処理が開始されると、制御回路4は、先ずステップS101(以下「ステップ」を省略し、記号Sで表す)を実行する。S101では、制御回路4は、アクセル開度センサ32から読み込んだアクセル開度およびNEセンサ31から読み込んだエンジンの回転数等をもとに、エンジン1の運転状態から必要とされる燃料噴射量を演算する。
続くS102では、制御回路4は、S101で算出した燃料噴射量およびクランク角センサ30から読み込んだクランク角等をもとに、エンジンの回転に同期するタイミングで燃料噴射を行う基本噴射時期を演算する。制御回路4は、例えば、圧縮行程におけるピストン6の上死点直前で高圧燃料を噴射するように駆動パルスの開始時期を算出する。
次のS103では、制御回路4は、アクセル開度およびエンジンの回転数等をもとに、予めメモリに記憶した制御マップによって、エンジン1の運転状態に応じた制御目標としての目標コモンレール圧を演算する。
続くS104では、制御回路4は比較手段として機能し、コモンレール圧力センサ25から読み込んだ実際のコモンレール圧と、S103で算出した目標コモンレール圧とを比較する。実際のコモンレール圧が目標コモンレール圧より高い場合、比較手段はコモンレール圧に減圧要求があると判定し(S104:YES)、処理をS105へ移行する。実際のコモンレール圧が目標コモンレール圧以下の場合(S104:NO)、処理は終了する。
S105では、制御回路4は演算手段として機能し、ノズルニードル34のニードルリフト量を演算する。演算手段は、目標コモンレール圧と実際のコモンレール圧との圧力差が大きくなるのに応じて、ニードルリフト量を小さく算出する。続くS106では、演算手段は、S105で算出したニードルリフト量およびS101で算出した噴射量に基づいて噴射期間を演算する。次のS107では、演算手段は、S102で算出した基本噴射時期およびS106で算出した噴射期間等をもとに噴射時期を演算する。
制御回路4は駆動手段として機能し、上述した噴射制御処理によって演算手段が算出した演算結果に基づく駆動パルスをインジェクタ10のピエゾアクチュエータ52に印加する。
S104において減圧要求があるとき(S104:YES)、駆動手段は、演算手段がS105〜S107で算出した演算結果に基づき、ピエゾアクチュエータ52に印加する駆動パルスを所定の回数で停止する。このときの、ノズルニードル34の作動を図3に示す。ノズルニードル34は、リフト量の小さい状態で停止している。このとき、シート部42と弁座45との間の開口断面積b(以下、「通路断面積b」という)は、複数の噴孔47の開口断面積aの総和(以下、「噴孔断面積a」という)以下となっている。この状態において、噴孔47から噴射される燃料の噴射率は、コモンレール圧および通路断面積bに相関する。
これに対し、S104において減圧要求がないとき(S104:NO)、駆動手段は、演算手段がS101およびS102で算出した演算結果に基づく駆動パルスをピエゾアクチュエータ52に印加する。このとき、ノズルニードル34のリフトによって、通路断面積bは噴孔断面積aより大きくなる。この状態において、噴射率は、コモンレール圧および噴孔断面積aに相関する。
S104において減圧要求がないときにおける(S104:NO)噴射時間と噴射率との関係を図5に示す。図5では、実際のコモンレール圧が相対的に大きいときの噴射時間と噴射率との関係を実線で示し、実際のコモンレール圧が相対的に小さいときの噴射時間と噴射率との関係を点線で示している。
実際のコモンレール圧が相対的に大きいとき、時刻T0から時刻T2の間では、通路断面積bが大きくなるに従い、噴射率が大きくなる。時刻T2から時刻T3の間では、通路断面積bが噴孔断面積aより大きくなるので、噴射率は、コモンレール圧および噴孔断面積aに相関し、略一定のピーク値R1を推移する。時刻T3から時刻T5の間では、通路断面積bが小さくなるに従い噴射率が小さくなる。これにより、一回の燃料噴射が終了する。
実際のコモンレール圧が相対的に小さいとき、時刻T0から時刻T1の間では、通路断面積bが大きくなるに従い、噴射率が大きくなる。時刻T1から時刻T4の間では、コモンレール圧および噴孔断面積aに相関し、略一定のピーク値R2を推移する。噴孔断面積aが同じであっても、実際のコモンレール圧の違いによって、噴射率のピーク値R2はピーク値R1より小さい値となっている。時刻T4から時刻T5の間では、通路断面積bが小さくなるに従い噴射率が小さくなり、燃料噴射が終了する。
S104において減圧要求があるとき(S104:YES)における噴射時間と噴射率との関係を図6に示す。図6では、比較例として、ニードルリフト量が大きく、通路断面積bが噴孔断面積aより大きくなるときの噴射時間と噴射率との関係を実線で示している。比較例において、時刻T0から時刻T2の間では、通路断面積bが大きくなるに従い、噴射率が一気に大きくなる。時刻T2から時刻T3の間では、通路断面積bが噴孔断面積aより大きくなるので、噴射率は、コモンレール圧および噴孔断面積aに相関し、略一定のピーク値R3を推移する。この噴射率のピーク値R3は、エンジンの運転状態に適合する噴射率より大きい。このため、噴射燃料の噴霧化がよくなり、燃焼が活発になる。時刻T3から時刻T5の間では、通路断面積bが小さくなるに従い噴射率が小さくなる。
これに対して、本実施形態の噴射制御によって、通路断面積bを噴孔断面積aより小さくするようにニードルリフト量を小さくしたときの噴射時間と噴射率との関係を点線で示す。本実施形態では、演算手段は、S105において、目標コモンレール圧と実際のコモンレール圧との圧力差が相対的に小さいとき、通路断面積bと噴孔断面積aとの差が相対的に小さくなるようにニードルリフト量を算出する。一方、目標コモンレール圧と実際のコモンレール圧との圧力差が相対的に大きいとき、通路断面積bと噴孔断面積aとの差が相対的に大きくなるようにニードルリフト量を算出する。時刻T0から時刻T1の間では、ノズルニードル34は、S105において演算手段が算出した所定の位置までリフトし、通路断面積bが大きくなるに従って噴射率が大きくなる。噴射率はエンジンンの運転状態に適合したピーク値R4で維持される。時刻T1から時刻T4の間では、ノズルニードル34は所定の位置で停止したまま通路断面積bが一定に保たれているので、噴射率も一定のピーク値R4を維持している。時刻T4から時刻T5の間では、通路断面積bが小さくなるに従い噴射率が小さくなり、燃料噴射が終了する。
本実施形態では、目標コモンレール圧より実際のコモンレール圧が高いときであっても、噴射率のピーク値R4を、運転状態に適応した値にすることができる。この結果、燃料の噴霧化を抑制することで、燃焼が過度に活発になることを抑制し、エンジンの燃焼騒音およびこのエンジンを搭載した車両の加速ショックを抑制することができる。
また、コモンレール内の燃料圧力を変更する減圧調整弁を廃止することによって製造コストを削減することができる。さらに、実際のコモンレール圧を変更することなく噴射率を適正にすることができるので、燃料噴射装置の応答性を向上することができる。
(第2実施形態)
本発明の第2実施形態の噴射制御処理を、図7に基づいて説明する。図7において、S201〜S204およびS207はそれぞれ第1実施形態のS101〜S104およびS107に相当するので説明を省略する。
S205では、制御回路4は演算手段として機能し、ノズルニードル34のニードル上昇速度を演算する。演算手段は、目標コモンレール圧と実際のコモンレール圧との圧力差が大きくなるのに応じて、ニードル上昇速度を小さくなるように算出する。続くS206では、演算手段は、S205で算出したニードル上昇速度およびS201で算出した噴射量に基づいて噴射期間を演算する。
制御回路4は駆動手段として機能し、演算手段が算出した演算結果に基づく駆動パルスをインジェクタ10のピエゾアクチュエータ52に印加する。
S204において減圧要求があるとき(S204:YES)、駆動手段は、演算手段がS205〜S207で算出した演算結果に基づき、ピエゾアクチュエータ52に印加する駆動パルスの電圧を低下する。このとき、ピエゾアクチュエータの充電速度が遅くなるので、ノズルニードルの上昇速度が小さくなる。このため、通路断面積bは、徐々に大きくなる。
S204において減圧要求があるとき(S204:YES)における噴射時間と噴射率との関係を図8に示す。図8では、比較例として、ニードルリフト速度が大きく、通路断面積bが噴孔断面積aより大きくなるときの噴射時間と噴射率との関係を実線で示している。時刻T0から時刻T1の間では、通路断面積bが大きくなるに従い、噴射率が一気に大きくなる。時刻T1から時刻T2の間では、通路断面積bが噴孔断面積aより大きくなるので、噴射率は、コモンレール圧および噴孔断面積aに相関し、略一定のピーク値R5を推移する。この噴射率のピーク値R5は、エンジンの運転状態に適合する噴射率より大きい。このため、噴射燃料の噴霧化がよくなり、燃焼が活発になる。時刻T2から時刻T3の間では、通路断面積bが小さくなるに従い噴射率が小さくなる。一回の噴射期間中の燃料噴射量は、S201で算出した燃料噴射量より多くなる。
これに対して、本実施形態の噴射制御によって、通路断面積bが徐々に大きくなるようにニードル上昇速度を小さくしたときの噴射時間と噴射率との関係を点線で示す。時刻T0から時刻T2の間では、ノズルニードルは、S205において算出した所定のリフト速度で作動する。通路断面積bが大きくなるに従って噴射率が大きくなる。しかし、噴射率がピーク値R6に到達するまでの時間T0−T2は、実線で記載した比較例の噴射率がピーク値R5に到達するまでの時間T0−T1より長くなっている。時刻T2から時刻T3の間では、通路断面積bが小さくなるに従い噴射率が小さくなり、燃料噴射が終了する。
本実施形態では、目標コモンレール圧より実際のコモンレール圧が高いときであっても、ノズルニードルの上昇速度を小さくすることで、噴射初期の噴射率を小さくすることができる。この結果、噴射初期の燃料の噴霧化を抑制することで、燃焼速度が過度に速くなるのを抑制し、エンジンの燃焼騒音およびこのエンジンを搭載した車両の加速ショックを抑制することができる。
(第3実施形態)
本発明の第3実施形態の噴射制御処理について図9に基づいて説明する。図9において、S301〜S304およびS308はそれぞれ第1実施形態のS101〜S104およびS107に相当するので説明を省略する。
S305では、演算手段は、アクセル開度センサから読み込んだアクセル開度の情報から、インジェクタからの燃料噴射が停止している噴射停止期間を演算する。続くS306では、演算手段は、噴射停止期間が所定時間よりも短いとき、目標コモンレール圧と実際のコモンレール圧との圧力差に応じて算出したニードルリフト量を、エンジンの運転状態に適応した噴射率となるよう、さらに小さく補正する。
S304において減圧要求があるとき(S304:YES)における噴射時間と噴射率との関係を図10に示す。図10では、噴射停止期間が所定時間より長いときの噴射時間と噴射率との関係を実線で示し、噴射停止期間が所定時間より短いときの噴射時間と噴射率との関係を点線で示している。
噴射停止期間が所定時間より長いとき、時刻T0から時刻T1の間では、ノズルニードルは、S306において目標コモンレール圧と実際のコモンレール圧との圧力差に応じて算出した所定の位置までリフトし、通路断面積bが大きくなるに従って噴射率が大きくなる。噴射率は、エンジンの運転状態に適応した噴射率のピーク値R7で維持される。時刻T1から時刻T2の間では、噴射率はピーク値R7を維持している。時刻T2から時刻T3の間では、通路断面積bが小さくなるに従い噴射率が小さくなり、燃料噴射が終了する。S307において算出した時刻T0から時刻T3までの噴射期間により、S101で算出した燃料噴射量が噴射される。
噴射停止期間が所定時間より短いとき、エンジンの回転数が下がっているのに関わらず、気筒内の温度は噴射停止前の気筒内温度が維持されており、制御目標としての気筒内温度より高くなっている。このため、S306において、演算手段は、燃焼が過度に活発にならないよう、目標コモンレール圧と実際のコモンレール圧との圧力差に応じて算出したノニードルリフト量をさらに小さくするように補正する。
時刻T0から時刻T1の間では、ノズルニードルは、S306において算出した所定の位置までリフトし、噴射率は、エンジンンの運転状態に適応したピーク値R8で維持される。時刻T1から時刻T4の間では、噴射率はピーク値R8を維持している。時刻T4から時刻T5の間では、通路断面積bが小さくなるに従い噴射率が小さくなり、燃料噴射が終了する。S307において算出した時刻T0から時刻T5までの噴射期間により、S101で算出した燃料噴射量が噴射される。
本実施形態では、演算手段は、インジェクタから燃料の噴射供給が停止している噴射停止期間を演算し、目標コモンレール圧と実際のコモンレール圧との圧力差に応じて算出したノズルニードルのリフト量を、エンジンの運転状態に適応した噴射率になるように補正する。噴射停止期間が短いと、気筒内の温度は、制御目標としての気筒内温度より高くなり、噴射率に対して燃焼が活発になる。このため、演算手段は、噴射率がエンジンの運転状態に適応するようにノズルニードルのリフト量を補正する。これにより、噴射率を高精度に制御し、燃料噴射制御の精度を向上することができる。
(他の実施形態)
上述した複数の実施形態では、演算手段は、ニードルリフト量またはニードル上昇速度を小さく算出した。しかし、噴射期間には一定の制限があるため、目標とする燃料噴射量がある一定の所定量よりも多くなると、噴射初期から噴射率が大きくなり、内燃機関の燃焼速度が過度に速くなる可能性がある。内燃機関の燃焼速度は、噴射初期の噴射率に関係している。そこで、目標とする燃料噴射量が所定量より少ないときは、ノズルニードルのリフト量を小さく算出することで、噴射期間を通して噴射率を適正にし、一方、目標とする燃料噴射量が所定量より多いときは、相対的にノズルニードルの上昇速度を小さく算出することで、噴射初期の噴射率を小さくしてもよい。
また、上述した第3実施形態では、演算手段は、噴射停止期間に応じてニードルリフト量を補正した。これに対し、噴射停止期間に応じてニードル上昇速度を補正してもよい。
このように、本発明は上記実施形態に限定されるものではなく、その要旨を逸脱しない範囲で、上記複数の実施形態を組み合わせることに加え、種々の実施形態に適用可能である。
本発明の第1実施形態におけるエンジンの概略構成図。 本発明の第1実施形態におけるインジェクタの断面図。 本発明の第1実施形態におけるインジェクタの要部断面図。 本発明の第1実施形態における噴射制御のフロー図。 本発明の第1実施形態における噴射時間と噴射率との関係図。 本発明の第1実施形態における噴射時間と噴射率との関係図。 本発明の第2実施形態における噴射制御のフロー図。 本発明の第2実施形態における噴射時間と噴射率との関係図。 本発明の第3実施形態における噴射制御のフロー図。 本発明の第3実施形態における噴射時間と噴射率との関係図。
符号の説明
1:エンジン(内燃機関)、2:気筒、4:制御回路、10:インジェクタ(燃料噴射弁)、21:高圧ポンプ(燃料ポンプ)、24:コモンレール、25:コモンレール圧力センサ(圧力検出手段)、34:ノズルニードル、35:駆動部、39:ノズルボディ、45:弁座、47:噴孔

Claims (5)

  1. 燃料を吐出する燃料ポンプと、
    前記燃料ポンプから吐出された燃料を貯留するコモンレールと、
    噴孔および弁座を有するノズルボディ、前記ノズルボディ内に収容され前記弁座に離座または着座することで前記噴孔を開放または閉塞するノズルニードル、および、印加される駆動パルスに基づいて前記ノズルニードルを軸方向に往復移動させる駆動部を有し、前記コモンレールから供給される燃料を気筒に噴射供給する燃料噴射弁と、
    前記コモンレール内から前記燃料噴射弁に供給される燃料圧力を検出する圧力検出手段と、
    内燃機関の運転状態に応じた目標燃料圧力と前記圧力検出手段の検出した実際の燃料圧力とを比較する比較手段と、
    前記比較手段の比較結果において、前記目標燃料圧力に対し前記実際の燃料圧力が高いとき、前記目標燃料圧力と前記実際の燃料圧力との圧力差が大きくなるのに応じて、前記ノズルニードルのリフト量を小さく算出する演算手段と、
    前記演算手段の算出した演算結果に基づく駆動パルスを前記駆動部に印加する駆動手段と、を備えることを特徴とする内燃機関の燃料噴射装置。
  2. 請求項1に記載の内燃機関の燃料噴射装置において、前記演算手段は、前記ノズルニードルのリフト量に代えてノズルニードルの上昇速度を算出するものであって、前記目標燃料圧力と前記実際の燃料圧力との圧力差が大きくなるのに応じて、前記ノズルニードルの上昇速度を小さく算出することを特徴とする内燃機関の燃料噴射装置。
  3. 前記演算手段は、前記燃料噴射弁から燃料の噴射供給が停止している噴射停止期間を演算し、前記噴射停止期間が所定時間より短いとき、前記目標燃料圧力と前記実際の燃料圧力との圧力差に応じて算出した前記ノズルニードルのリフト量を、前記内燃機関の運転状態に適した噴射率になる程度に小さくする側へ補正することを特徴とする請求項1に記載の内燃機関の燃料噴射装置。
  4. 前記演算手段は、前記燃料噴射弁から燃料の噴射供給が停止している噴射停止期間を演算し、前記噴射停止期間が所定時間より短いとき、前記目標燃料圧力と前記実際の燃料圧力との圧力差に応じて算出した前記ノズルニードルの上昇速度を、前記内燃機関の運転状態に適した噴射率になる程度に小さくする側へ補正することを特徴とする請求項2に記載の内燃機関の燃料噴射装置。
  5. 前記演算手段は、前記ノズルニードルのリフト量および前記ノズルニードルの上昇速度の少なくともいずれか一方を算出するものであって、目標とする燃料噴射量が所定量より少ないときは、前記ノズルニードルのリフト量を小さく算出し、目標とする燃料噴射量が所定量より多いときは、相対的に前記ノズルニードルの上昇速度を小さく算出することを特徴とする請求項1〜4のいずれか一項に記載の内燃機関の燃料噴射装置。
JP2008261640A 2008-10-08 2008-10-08 燃料噴射装置 Expired - Fee Related JP5210791B2 (ja)

Priority Applications (2)

Application Number Priority Date Filing Date Title
JP2008261640A JP5210791B2 (ja) 2008-10-08 2008-10-08 燃料噴射装置
US12/574,858 US20100088006A1 (en) 2008-10-08 2009-10-07 Fuel injection apparatus

Applications Claiming Priority (1)

Application Number Priority Date Filing Date Title
JP2008261640A JP5210791B2 (ja) 2008-10-08 2008-10-08 燃料噴射装置

Publications (2)

Publication Number Publication Date
JP2010090804A true JP2010090804A (ja) 2010-04-22
JP5210791B2 JP5210791B2 (ja) 2013-06-12

Family

ID=42076417

Family Applications (1)

Application Number Title Priority Date Filing Date
JP2008261640A Expired - Fee Related JP5210791B2 (ja) 2008-10-08 2008-10-08 燃料噴射装置

Country Status (2)

Country Link
US (1) US20100088006A1 (ja)
JP (1) JP5210791B2 (ja)

Cited By (2)

* Cited by examiner, † Cited by third party
Publication number Priority date Publication date Assignee Title
JP2015086718A (ja) * 2013-10-28 2015-05-07 トヨタ自動車株式会社 内燃機関の制御装置
WO2017022161A1 (ja) * 2015-08-03 2017-02-09 株式会社デンソー 噴射制御装置

Families Citing this family (7)

* Cited by examiner, † Cited by third party
Publication number Priority date Publication date Assignee Title
DE102006061659B4 (de) * 2006-12-27 2010-04-08 Continental Automotive Gmbh Verfahren und Vorrichtung zum Steuern einer Brennkraftmaschine
DE102010063380A1 (de) * 2010-12-17 2012-06-21 Robert Bosch Gmbh Verfahren zum Betreiben einer Brennkraftmaschine
DE102012203097B3 (de) * 2012-02-29 2013-04-11 Continental Automotive Gmbh Verfahren und Vorrichtung zum Bestimmen eines Fehlers einer Druckmessung in einem Druckbehälter
SE1350867A2 (sv) * 2013-07-11 2015-04-14 Scania Cv Ab Förfarande vid bränsleinsprutning
FR3024183B1 (fr) * 2014-07-22 2019-07-26 Delphi Technologies Ip Limited Injecteur de carburant
JP6098613B2 (ja) * 2014-10-30 2017-03-22 トヨタ自動車株式会社 内燃機関
DE102015205877A1 (de) * 2015-04-01 2016-10-06 Robert Bosch Gmbh Verfahren zum Ermitteln eines Korrekturwertes für eine Kraftstoffzumessung eines Kraftstoffinjektors

Citations (6)

* Cited by examiner, † Cited by third party
Publication number Priority date Publication date Assignee Title
JPH09317592A (ja) * 1996-05-27 1997-12-09 Nissan Motor Co Ltd ディーゼル機関の燃料噴射制御装置
JPH1122582A (ja) * 1997-07-02 1999-01-26 Toyota Motor Corp 燃料噴射装置
JP2002081358A (ja) * 2000-09-06 2002-03-22 Toyota Motor Corp 燃料噴射装置
JP2004301078A (ja) * 2003-03-31 2004-10-28 Mazda Motor Corp エンジンの始動装置
JP2005105947A (ja) * 2003-09-30 2005-04-21 Toyota Motor Corp 内燃機関の燃料噴射制御装置
JP2006161678A (ja) * 2004-12-07 2006-06-22 Denso Corp 燃料噴射ノズル、燃料噴射弁および燃料噴射装置

Family Cites Families (6)

* Cited by examiner, † Cited by third party
Publication number Priority date Publication date Assignee Title
JPS59538A (ja) * 1982-06-23 1984-01-05 Honda Motor Co Ltd 内燃エンジンの燃料供給制御方法
JP3695046B2 (ja) * 1997-02-07 2005-09-14 いすゞ自動車株式会社 エンジンの燃料噴射方法及びその装置
FR2819022B1 (fr) * 2000-12-28 2006-06-02 Denso Corp Dispositif de commande hydraulique, systeme et procede de commande d'un dispositif actionneur
JP4075603B2 (ja) * 2002-12-18 2008-04-16 いすゞ自動車株式会社 ディーゼルエンジンの燃料噴射量制御装置
JP4343762B2 (ja) * 2004-05-12 2009-10-14 三菱電機株式会社 内燃機関の燃料噴射制御装置
JP2007332783A (ja) * 2006-06-12 2007-12-27 Nissan Motor Co Ltd エンジンの燃料供給方法及びエンジンの燃料供給装置

Patent Citations (6)

* Cited by examiner, † Cited by third party
Publication number Priority date Publication date Assignee Title
JPH09317592A (ja) * 1996-05-27 1997-12-09 Nissan Motor Co Ltd ディーゼル機関の燃料噴射制御装置
JPH1122582A (ja) * 1997-07-02 1999-01-26 Toyota Motor Corp 燃料噴射装置
JP2002081358A (ja) * 2000-09-06 2002-03-22 Toyota Motor Corp 燃料噴射装置
JP2004301078A (ja) * 2003-03-31 2004-10-28 Mazda Motor Corp エンジンの始動装置
JP2005105947A (ja) * 2003-09-30 2005-04-21 Toyota Motor Corp 内燃機関の燃料噴射制御装置
JP2006161678A (ja) * 2004-12-07 2006-06-22 Denso Corp 燃料噴射ノズル、燃料噴射弁および燃料噴射装置

Cited By (2)

* Cited by examiner, † Cited by third party
Publication number Priority date Publication date Assignee Title
JP2015086718A (ja) * 2013-10-28 2015-05-07 トヨタ自動車株式会社 内燃機関の制御装置
WO2017022161A1 (ja) * 2015-08-03 2017-02-09 株式会社デンソー 噴射制御装置

Also Published As

Publication number Publication date
JP5210791B2 (ja) 2013-06-12
US20100088006A1 (en) 2010-04-08

Similar Documents

Publication Publication Date Title
JP5210791B2 (ja) 燃料噴射装置
JP4428201B2 (ja) 蓄圧式燃料噴射装置
JP4595996B2 (ja) 内燃機関の高圧燃料供給装置
US7284539B1 (en) Fuel pressure controller for direct injection internal combustion engine
US8567373B2 (en) Fuel supply apparatus
US20070079809A1 (en) High pressure fuel pump control apparatus for an engine
JP2013113145A (ja) 内燃機関の制御装置
JP2006112371A (ja) 内燃機関の燃料噴射制御装置
JP5482717B2 (ja) 内燃機関の燃料噴射制御装置
JP2011163220A (ja) 燃料供給システムの制御装置
JP2013231362A (ja) 燃料圧力制御装置
JP2013177824A (ja) 燃料噴き放し検出装置
JP4775488B2 (ja) 内燃機関の高圧燃料供給装置
JP2014231746A (ja) 内燃機関の燃料供給装置
JP2007077898A (ja) 燃料噴射制御装置
JP2007177664A (ja) 燃料噴射制御装置
JP4670832B2 (ja) 圧力制御装置及び燃料噴射制御システム
JP7172756B2 (ja) 高圧ポンプの制御装置
JP5589910B2 (ja) エンジン制御装置
JP4075752B2 (ja) 蓄圧式燃料噴射装置
JP4421451B2 (ja) 内燃機関用燃料供給システムの異常検出装置
JP2017145819A (ja) 燃料圧力制御装置
JP2019039409A (ja) 内燃機関の制御装置
JP2021116772A (ja) 内燃機関の燃料圧力制御装置
JP4735621B2 (ja) 噴射量学習装置

Legal Events

Date Code Title Description
A621 Written request for application examination

Free format text: JAPANESE INTERMEDIATE CODE: A621

Effective date: 20110401

A977 Report on retrieval

Free format text: JAPANESE INTERMEDIATE CODE: A971007

Effective date: 20120629

A131 Notification of reasons for refusal

Free format text: JAPANESE INTERMEDIATE CODE: A131

Effective date: 20120703

A521 Request for written amendment filed

Free format text: JAPANESE INTERMEDIATE CODE: A523

Effective date: 20120821

TRDD Decision of grant or rejection written
A01 Written decision to grant a patent or to grant a registration (utility model)

Free format text: JAPANESE INTERMEDIATE CODE: A01

Effective date: 20130201

A61 First payment of annual fees (during grant procedure)

Free format text: JAPANESE INTERMEDIATE CODE: A61

Effective date: 20130225

FPAY Renewal fee payment (event date is renewal date of database)

Free format text: PAYMENT UNTIL: 20160301

Year of fee payment: 3

R150 Certificate of patent or registration of utility model

Free format text: JAPANESE INTERMEDIATE CODE: R150

Ref document number: 5210791

Country of ref document: JP

Free format text: JAPANESE INTERMEDIATE CODE: R150

R250 Receipt of annual fees

Free format text: JAPANESE INTERMEDIATE CODE: R250

R250 Receipt of annual fees

Free format text: JAPANESE INTERMEDIATE CODE: R250

R250 Receipt of annual fees

Free format text: JAPANESE INTERMEDIATE CODE: R250

R250 Receipt of annual fees

Free format text: JAPANESE INTERMEDIATE CODE: R250

R250 Receipt of annual fees

Free format text: JAPANESE INTERMEDIATE CODE: R250

LAPS Cancellation because of no payment of annual fees