JP2010084828A - 動力伝達装置 - Google Patents

動力伝達装置 Download PDF

Info

Publication number
JP2010084828A
JP2010084828A JP2008253076A JP2008253076A JP2010084828A JP 2010084828 A JP2010084828 A JP 2010084828A JP 2008253076 A JP2008253076 A JP 2008253076A JP 2008253076 A JP2008253076 A JP 2008253076A JP 2010084828 A JP2010084828 A JP 2010084828A
Authority
JP
Japan
Prior art keywords
clutch means
drive
torque converter
power transmission
driving force
Prior art date
Legal status (The legal status is an assumption and is not a legal conclusion. Google has not performed a legal analysis and makes no representation as to the accuracy of the status listed.)
Granted
Application number
JP2008253076A
Other languages
English (en)
Other versions
JP5145185B2 (ja
Inventor
Tatsuyuki Ohashi
達之 大橋
Masaji Asatsuki
正司 朝付
Akio Oishi
晃央 大石
Ryohei Chiba
良平 千葉
Jun Ishimura
潤 石村
Keiichi Ishikawa
惠一 石川
Current Assignee (The listed assignees may be inaccurate. Google has not performed a legal analysis and makes no representation or warranty as to the accuracy of the list.)
FCC Co Ltd
Original Assignee
FCC Co Ltd
Priority date (The priority date is an assumption and is not a legal conclusion. Google has not performed a legal analysis and makes no representation as to the accuracy of the date listed.)
Filing date
Publication date
Application filed by FCC Co Ltd filed Critical FCC Co Ltd
Priority to JP2008253076A priority Critical patent/JP5145185B2/ja
Priority to DE112009002276.6T priority patent/DE112009002276B4/de
Priority to PCT/JP2009/003208 priority patent/WO2010038338A1/ja
Priority to CN200980138348.4A priority patent/CN102171492B/zh
Publication of JP2010084828A publication Critical patent/JP2010084828A/ja
Priority to US13/076,219 priority patent/US8245826B2/en
Application granted granted Critical
Publication of JP5145185B2 publication Critical patent/JP5145185B2/ja
Expired - Fee Related legal-status Critical Current
Anticipated expiration legal-status Critical

Links

Images

Classifications

    • FMECHANICAL ENGINEERING; LIGHTING; HEATING; WEAPONS; BLASTING
    • F16ENGINEERING ELEMENTS AND UNITS; GENERAL MEASURES FOR PRODUCING AND MAINTAINING EFFECTIVE FUNCTIONING OF MACHINES OR INSTALLATIONS; THERMAL INSULATION IN GENERAL
    • F16HGEARING
    • F16H45/00Combinations of fluid gearings for conveying rotary motion with couplings or clutches 
    • F16H45/02Combinations of fluid gearings for conveying rotary motion with couplings or clutches  with mechanical clutches for bridging a fluid gearing of the hydrokinetic type
    • FMECHANICAL ENGINEERING; LIGHTING; HEATING; WEAPONS; BLASTING
    • F16ENGINEERING ELEMENTS AND UNITS; GENERAL MEASURES FOR PRODUCING AND MAINTAINING EFFECTIVE FUNCTIONING OF MACHINES OR INSTALLATIONS; THERMAL INSULATION IN GENERAL
    • F16DCOUPLINGS FOR TRANSMITTING ROTATION; CLUTCHES; BRAKES
    • F16D21/00Systems comprising a plurality of actuated clutches
    • F16D21/02Systems comprising a plurality of actuated clutches for interconnecting three or more shafts or other transmission members in different ways
    • F16D21/06Systems comprising a plurality of actuated clutches for interconnecting three or more shafts or other transmission members in different ways at least two driving shafts or two driven shafts being concentric
    • FMECHANICAL ENGINEERING; LIGHTING; HEATING; WEAPONS; BLASTING
    • F16ENGINEERING ELEMENTS AND UNITS; GENERAL MEASURES FOR PRODUCING AND MAINTAINING EFFECTIVE FUNCTIONING OF MACHINES OR INSTALLATIONS; THERMAL INSULATION IN GENERAL
    • F16DCOUPLINGS FOR TRANSMITTING ROTATION; CLUTCHES; BRAKES
    • F16D25/00Fluid-actuated clutches
    • F16D25/06Fluid-actuated clutches in which the fluid actuates a piston incorporated in, i.e. rotating with the clutch
    • F16D25/062Fluid-actuated clutches in which the fluid actuates a piston incorporated in, i.e. rotating with the clutch the clutch having friction surfaces
    • F16D25/063Fluid-actuated clutches in which the fluid actuates a piston incorporated in, i.e. rotating with the clutch the clutch having friction surfaces with clutch members exclusively moving axially
    • F16D25/0635Fluid-actuated clutches in which the fluid actuates a piston incorporated in, i.e. rotating with the clutch the clutch having friction surfaces with clutch members exclusively moving axially with flat friction surfaces, e.g. discs
    • F16D25/0638Fluid-actuated clutches in which the fluid actuates a piston incorporated in, i.e. rotating with the clutch the clutch having friction surfaces with clutch members exclusively moving axially with flat friction surfaces, e.g. discs with more than two discs, e.g. multiple lamellae
    • FMECHANICAL ENGINEERING; LIGHTING; HEATING; WEAPONS; BLASTING
    • F16ENGINEERING ELEMENTS AND UNITS; GENERAL MEASURES FOR PRODUCING AND MAINTAINING EFFECTIVE FUNCTIONING OF MACHINES OR INSTALLATIONS; THERMAL INSULATION IN GENERAL
    • F16DCOUPLINGS FOR TRANSMITTING ROTATION; CLUTCHES; BRAKES
    • F16D25/00Fluid-actuated clutches
    • F16D25/10Clutch systems with a plurality of fluid-actuated clutches
    • FMECHANICAL ENGINEERING; LIGHTING; HEATING; WEAPONS; BLASTING
    • F16ENGINEERING ELEMENTS AND UNITS; GENERAL MEASURES FOR PRODUCING AND MAINTAINING EFFECTIVE FUNCTIONING OF MACHINES OR INSTALLATIONS; THERMAL INSULATION IN GENERAL
    • F16DCOUPLINGS FOR TRANSMITTING ROTATION; CLUTCHES; BRAKES
    • F16D21/00Systems comprising a plurality of actuated clutches
    • F16D21/02Systems comprising a plurality of actuated clutches for interconnecting three or more shafts or other transmission members in different ways
    • F16D21/06Systems comprising a plurality of actuated clutches for interconnecting three or more shafts or other transmission members in different ways at least two driving shafts or two driven shafts being concentric
    • F16D2021/0661Hydraulically actuated multiple lamellae clutches
    • FMECHANICAL ENGINEERING; LIGHTING; HEATING; WEAPONS; BLASTING
    • F16ENGINEERING ELEMENTS AND UNITS; GENERAL MEASURES FOR PRODUCING AND MAINTAINING EFFECTIVE FUNCTIONING OF MACHINES OR INSTALLATIONS; THERMAL INSULATION IN GENERAL
    • F16HGEARING
    • F16H45/00Combinations of fluid gearings for conveying rotary motion with couplings or clutches 
    • F16H2045/002Combinations of fluid gearings for conveying rotary motion with couplings or clutches  comprising a clutch between prime mover and fluid gearing
    • FMECHANICAL ENGINEERING; LIGHTING; HEATING; WEAPONS; BLASTING
    • F16ENGINEERING ELEMENTS AND UNITS; GENERAL MEASURES FOR PRODUCING AND MAINTAINING EFFECTIVE FUNCTIONING OF MACHINES OR INSTALLATIONS; THERMAL INSULATION IN GENERAL
    • F16HGEARING
    • F16H45/00Combinations of fluid gearings for conveying rotary motion with couplings or clutches 
    • F16H2045/005Combinations of fluid gearings for conveying rotary motion with couplings or clutches  comprising a clutch between fluid gearing and the mechanical gearing unit
    • FMECHANICAL ENGINEERING; LIGHTING; HEATING; WEAPONS; BLASTING
    • F16ENGINEERING ELEMENTS AND UNITS; GENERAL MEASURES FOR PRODUCING AND MAINTAINING EFFECTIVE FUNCTIONING OF MACHINES OR INSTALLATIONS; THERMAL INSULATION IN GENERAL
    • F16HGEARING
    • F16H45/00Combinations of fluid gearings for conveying rotary motion with couplings or clutches 
    • F16H45/02Combinations of fluid gearings for conveying rotary motion with couplings or clutches  with mechanical clutches for bridging a fluid gearing of the hydrokinetic type
    • F16H2045/0221Combinations of fluid gearings for conveying rotary motion with couplings or clutches  with mechanical clutches for bridging a fluid gearing of the hydrokinetic type with damping means
    • F16H2045/0252Combinations of fluid gearings for conveying rotary motion with couplings or clutches  with mechanical clutches for bridging a fluid gearing of the hydrokinetic type with damping means having a damper arranged on input side of the lock-up clutch
    • FMECHANICAL ENGINEERING; LIGHTING; HEATING; WEAPONS; BLASTING
    • F16ENGINEERING ELEMENTS AND UNITS; GENERAL MEASURES FOR PRODUCING AND MAINTAINING EFFECTIVE FUNCTIONING OF MACHINES OR INSTALLATIONS; THERMAL INSULATION IN GENERAL
    • F16HGEARING
    • F16H61/00Control functions within control units of change-speed- or reversing-gearings for conveying rotary motion ; Control of exclusively fluid gearing, friction gearing, gearings with endless flexible members or other particular types of gearing
    • F16H61/14Control of torque converter lock-up clutches
    • F16H61/143Control of torque converter lock-up clutches using electric control means

Landscapes

  • Engineering & Computer Science (AREA)
  • General Engineering & Computer Science (AREA)
  • Mechanical Engineering (AREA)
  • Hydraulic Clutches, Magnetic Clutches, Fluid Clutches, And Fluid Joints (AREA)
  • Arrangement Of Transmissions (AREA)

Abstract

【課題】装置の複雑化及び大型化を抑制し、且つ、トルクコンバータのトルク増幅機能により発進性能の向上を図るとともに、定常走行中における動力伝達効率を向上させることができる動力伝達装置を提供する。
【解決手段】トルク増幅機能を有するトルクコンバータ1と、車両の前進時に作動可能とされるとともに、トルクコンバータ1の駆動伝達系を介してエンジンの駆動力を駆動輪に伝達させる第1クラッチ手段3a、及びトルクコンバータ1の駆動伝達系を介さずエンジンの駆動力を駆動輪に伝達させる第2クラッチ手段3bを有するクラッチ手段3と、車両の状態に応じて第1クラッチ手段3a又は第2クラッチ手段3bを任意選択的に作動させ得る選択手段4とを備えたものである。
【選択図】図2

Description

本発明は、車両の駆動源から車輪に至る動力伝達系の途中に配設され、当該駆動源の駆動力を車輪に対して任意選択的に伝達又は遮断可能な動力伝達装置に関するものである。
従来の車両の動力伝達装置(自動変速機)においては、トルクコンバータを具備したもの(所謂トルコンタイプと称される発進方式のもの)と、発進クラッチを具備したもの(所謂発進クラッチタイプと称される発進方式のもの)とが提案されている。このうち、トルコンタイプの発進方式の自動変速機では、発進時においてトルクコンバータが有するトルク増幅機能により発進性能の向上を図ることができる。一方、発進クラッチタイプの発進方式の自動変速機では、例えば定常走行中においてはトルクコンバータの如きスリップがないため動力伝達効率を向上させることができる。
然るに、例えば特許文献1にて開示されているように、トルコンタイプの発進方式の自動変速機において、ロックアップクラッチを付加させたものも提案されるに至っている。かかるロックアップクラッチは、通常、トルクコンバータにおけるタービンと連結されたクラッチピストンを有しており、かかるクラッチピストンがトルコンカバー内周壁に当接した連結位置と、離間した非連結位置との間で移動可能とされ、連結位置のとき、トルコンカバーとタービンとがクラッチピストンを介して直結されるよう構成されたものである。
特開2005−3193号公報
しかしながら、上記従来の動力伝達装置においては、以下の如き問題があった。
トルコンタイプの発進方式の自動変速機では、発進時においてトルクコンバータが有するトルク増幅機能により発進性能の向上を図ることができるという技術的メリットがあるものの、例えば定常走行中においては、トルクコンバータのスリップにより動力伝達効率が低下してしまうという技術的デメリットがあった。
一方、発進クラッチタイプの発進方式の自動変速機では、例えば定常走行中においてはトルクコンバータの如きスリップがないため動力伝達効率を向上させることができるという技術的メリットがあるものの、発進時には、トルクコンバータの如きトルク増幅機能を有さないため、発進性能が低下してしまうという技術的デメリットがあった。尚、発進性能の低下を防止するため変速機の減速レシオを大きくしなければならないという課題がある。
更に、トルコンタイプの発進方式の自動変速機であって、ロックアップクラッチを付加させたものにおいては、連結位置と非連結位置との間を移動可能とされたロックアップクラッチの如き比較的複雑且つ大型な構成をトルクコンバータ内の流体雰囲気中に形成させなければならず、製造コスト及びメンテナンスコストが嵩んでしまうという問題がある。
本発明は、このような事情に鑑みてなされたもので、装置の複雑化及び大型化を抑制し、且つ、トルクコンバータのトルク増幅機能により発進性能の向上を図るとともに、定常走行中における動力伝達効率を向上させることができる動力伝達装置を提供することにある。
請求項1記載の発明は、車両の駆動源から車輪に至る動力伝達系の途中に配設され、当該駆動源の駆動力を車輪に対して任意選択的に伝達又は遮断可能な動力伝達装置において、トルク増幅機能を有するトルクコンバータと、車両の前進時に作動可能とされるとともに、前記トルクコンバータの駆動伝達系を介して前記駆動源の駆動力を前記車輪に伝達させる第1クラッチ手段、及び前記トルクコンバータの駆動伝達系を介さず前記駆動源の駆動力を前記車輪に伝達させる第2クラッチ手段を有するクラッチ手段と、発進時を含む前進時における車両の状態に応じて前記第1クラッチ手段又は第2クラッチ手段を任意選択的に作動させて、前記トルクコンバータの駆動伝達系を介して前記駆動源の駆動力を前記車輪に伝達させ、又は前記トルクコンバータの駆動伝達系を介さず前記駆動源の駆動力を前記車輪に伝達させ得る選択手段とを備えたことを特徴とする。
請求項2記載の発明は、請求項1記載の動力伝達装置において、前記トルクコンバータの駆動伝達系を介して前記駆動源の駆動力で回転可能とされ、前記第1クラッチ手段と連結された第1駆動シャフトと、前記トルクコンバータの駆動伝達系を介さず前記駆動源の駆動力で回転可能とされ、前記第2クラッチ手段と連結された第2駆動シャフトとを具備し、前記第1駆動シャフトと第2駆動シャフトとは同心円状に形成されたことを特徴とする。
請求項3記載の発明は、請求項2記載の動力伝達装置において、前記第2駆動シャフトは、トルク変動を減衰し得るダンパ機構を介して前記駆動源と連結されたことを特徴とする。
請求項4記載の発明は、請求項3記載の動力伝達装置において、前記ダンパ機構は、前記トルクコンバータ内に配設されるとともに、当該トルクコンバータを構成するタービンとダンパ機構とが軸方向でオーバーラップして配設されたことを特徴とする。
請求項5記載の発明は、請求項1〜4の何れか1つに記載の動力伝達装置において、前記選択手段は、車両の状態に応じて前記第1クラッチ手段及び第2クラッチ手段の両方を作動させ、前記トルクコンバータの駆動伝達系を介して伝達される駆動力と、前記トルクコンバータの駆動伝達系を介さず伝達される駆動力とが所定の比率で前記車輪に伝達されることを特徴とする。
請求項6記載の発明は、請求項1〜5の何れか1つに記載の動力伝達装置において、ブレーキの操作により車両が停止状態であるとき、前記第1クラッチ手段及び第2クラッチ手段が作動せず、ニュートラル状態とされることを特徴とする。
請求項7記載の発明は、請求項1〜6の何れか1つに記載の動力伝達装置において、前記クラッチ手段は、同一筐体内に前記第1クラッチ手段、第2クラッチ手段、及び当該第1クラッチ手段及び第2クラッチ手段に対応する2つの油圧ピストンを有するとともに、当該油圧ピストンを作動させる油圧を制御することにより、当該第1クラッチ手段又は第2クラッチ手段を任意選択的に作動可能とされたことを特徴とする。
請求項8記載の発明は、請求項1〜7の何れか1つに記載の動力伝達装置において、前記トルクコンバータの駆動伝達系を介して前記駆動源の駆動力を前記車輪に伝達させる第3クラッチ手段を具備し、前記選択手段は、車両の後進時において専ら第3クラッチ手段を作動させることを特徴とする。
請求項9記載の発明は、請求項1〜8の何れか1つに記載の動力伝達装置において、前記車両の駆動源から車輪に至る動力伝達系の途中であって前記クラッチ手段の第2クラッチ手段と前記車輪との間には、無段変速機が介装されたことを特徴とする。
請求項1の発明によれば、発進時を含む前進時における車両の状態に応じて第1クラッチ手段又は第2クラッチ手段を任意選択的に作動させて、トルクコンバータの駆動伝達系を介して駆動源の駆動力を車輪に伝達させ、又はトルクコンバータの駆動伝達系を介さず駆動源の駆動力を車輪に伝達させ得る選択手段を備えたので、動力伝達装置の複雑化及び大型化を抑制し、且つ、トルクコンバータのトルク増幅機能により発進性能の向上を図るとともに、定常走行中における動力伝達効率を向上させることができる。
請求項2の発明によれば、第1駆動シャフトと第2駆動シャフトとは同心円状に形成されたので、当該第1駆動シャフトと第2駆動シャフトとがそれぞれ延設されたものに比べ、動力伝達装置全体をより小型化することができる。
請求項3の発明によれば、第2駆動シャフトは、トルク変動を減衰し得るダンパ機構を介して駆動源と連結されたので、第2クラッチ手段に伝達される駆動源の振動を減衰させることができる。
請求項4の発明によれば、ダンパ機構は、トルクコンバータ内に配設されるとともに、当該トルクコンバータを構成するタービンとダンパ機構とが軸方向でオーバーラップして配設されたので、トルクコンバータの軸方向の寸法を短くすることができる。
請求項5の発明によれば、選択手段は、車両の状態に応じて第1クラッチ手段及び第2クラッチ手段の両方を作動させ、トルクコンバータの駆動伝達系を介して伝達される駆動力と、トルクコンバータの駆動伝達系を介さず伝達される駆動力とが所定の比率で車輪に伝達されるので、車輪への伝達動力の調整を容易に行わせることができる。
請求項6の発明によれば、ブレーキの操作により車両が停止状態であるとき、第1クラッチ手段及び第2クラッチ手段が作動せず、ニュートラル状態とされるので、燃費を向上させることができる。
請求項7の発明によれば、クラッチ手段は、同一筐体内に前記第1クラッチ手段、第2クラッチ手段、及び当該第1クラッチ手段及び第2クラッチ手段に対応する2つの油圧ピストンを有するとともに、当該油圧ピストンを作動させる油圧を制御することにより、当該第1クラッチ手段又は第2クラッチ手段を任意選択的に作動可能とされたので、動力伝達装置全体を更に簡素化及び小型化することができる。
請求項8の発明によれば、トルクコンバータの駆動伝達系を介して駆動源の駆動力を車輪に伝達させる第3クラッチ手段を具備し、選択手段は、車両の後進時において専ら第3クラッチ手段を作動させるので、頻度が低い後進走行ではトルクコンバータの駆動伝達系を介する駆動伝達系のみとすることにより、動力伝達装置が大型化してしまうのを抑制することができる。
請求項9の発明によれば、車両の駆動源から車輪に至る動力伝達系の途中であってクラッチ手段の第2クラッチ手段と車輪との間には、無段変速機が介装されたので、車両を前進させるクラッチと前記トルクコンバータの駆動伝達系を介さず駆動源の駆動力を車輪に伝達させるクラッチとを第2クラッチ手段にて兼用させることができる。
以下、本発明の実施形態について図面を参照しながら具体的に説明する。
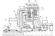
本実施形態に係る動力伝達装置は、自動車(車両)のエンジン(駆動源)による駆動力を車輪(駆動輪)に伝達又は遮断するためのものであり、図1及び図2に示すように、トルクコンバータ1と、クラッチ手段3と、選択手段4と、第1駆動シャフト5と、第2駆動シャフト6と、ダンパ機構7と、第3クラッチ手段8とを主に有している。尚、図1は、本実施形態に係る動力伝達装置の主要部を表す縦断面図であり、図2は、同実施形態に係る動力伝達装置を模式化した模式図を示すものである。
然るに、図2に示すように、車両の駆動源としてのエンジンEから車輪(駆動輪D)に至るまでの動力伝達系の途中に、トルクコンバータ1及びトランスミッション2が配設されており、このうちトランスミッション2には、クラッチ手段3及び第3クラッチ手段8の他、変速機Aが配設されている。尚、同図中、符号11は、エンジンEから延設された入力軸を示しており、符号9は変速機Aまで延設された出力軸9を示している。
トルクコンバータ1は、エンジンEからのトルクを増幅してトランスミッション2に伝達するトルク増幅機能を有して成るもので、当該エンジンEの駆動力が伝達されて軸回りに回転可能とされるとともに液体(作動油)を液密状態で収容したトルコンカバー1a、13と、該トルコンカバー1a側に形成されて当該トルコンカバー1aと共に回転するポンプPと、該ポンプPと対峙しつつトルコンカバー13側で回転可能に配設されたタービンTとを主に具備している。
また、入力軸11は、カバー部材12を介してトルコンカバー13と連結されている。そして、エンジンEの駆動力にて入力軸11が回転し、カバー部材12、トルコンカバー13、1a及びポンプPが回転すると、その回転トルクが液体(作動油)を介してタービンT側にトルク増幅されつつ伝達される。しかして、トルク増幅されてタービンTが回転すると、該タービンTとスプライン嵌合した第1駆動シャフト5が回転し、トランスミッション2に当該トルクが伝達される。ここで、本発明における「トルクコンバータの駆動伝達系」は、上記したトルコンカバー1a、ポンプP及びタービンTが成す駆動伝達系を指すものである。尚、同図中符号10は、ミッションケースを示している。
一方、トルコンカバー13は、コイルスプリングから成るダンパ機構7を介して連結部材14と連結されており、当該連結部材14は、第2駆動シャフト6の外周面とスプライン嵌合している。これにより、エンジンEの駆動力にて入力軸11が回転すると、カバー部材12、トルコンカバー13、連結部材14及び第2駆動シャフト6が回転し、トランスミッション2にエンジンEの駆動トルクが伝達される。而して、第2駆動シャフト6によれば、トルクコンバータ1の駆動伝達系を介さずにトランスミッション2に駆動力を伝達することが可能とされている。
上記の如く、第1駆動シャフト5は、トルクコンバータ1の駆動伝達系を介してエンジンEの駆動力で回転可能とされ、第1クラッチ手段3aと連結されるとともに、第2駆動シャフト6は、トルクコンバータ1の駆動伝達系を介さずエンジンEの駆動力で直接回転可能とされ、第2クラッチ手段3bと連結されている。また、本実施形態においては、第1駆動シャフト5が円筒状部材とされるとともに、その内部に第2駆動シャフト6が回転自在に配設されており、これらの回転軸が同一となるよう構成されている。即ち、当該第1駆動シャフト5と第2駆動シャフト6とは同心円状に形成されているのである。これにより、第1駆動シャフト5は、第2駆動シャフト6の外側にて回転自在とされるとともに、第2駆動シャフト6は、第1駆動シャフト5の内側で回転自在とされており、当該第1駆動シャフト5と第2駆動シャフト6とは、クラッチ手段3による選択的作動により、別個独立に回転可能とされる。
クラッチ手段3は、自動車(車両)の前進時に作動可能とされるとともに、トルクコンバータ1の駆動伝達系を介してエンジンE(駆動源)の駆動力を車輪(駆動輪D)に伝達させる第1クラッチ手段3a、及びトルクコンバータ1の駆動伝達系を介さずエンジンE(駆動源)の駆動力を車輪(駆動輪D)に伝達させる第2クラッチ手段3bを有するものである。第1クラッチ手段3a及び第2クラッチ手段3bには、同図中左右方向に対して摺動自在な複数の駆動側クラッチ板3aa、3ba及び被動側クラッチ板3ba、3bbが形成され、多板クラッチを成している。
然るに、第1クラッチ手段3aにおいては、第1駆動シャフト5と連結されて連動する連動部材15に駆動側クラッチ板3aaが形成されるとともに、筐体17に被動側クラッチ板3abが形成され、これら駆動側クラッチ板3aaと被動側クラッチ板3abとが交互に積層形成されている。これにより、隣り合う駆動側クラッチ板3aaと被動側クラッチ板3abとが圧接又は離間可能となっている。尚、第1クラッチ手段3aが作動して、駆動側クラッチ板3aaと被動側クラッチ板3abとが圧接した状態を図6に示す。
また、第2クラッチ手段3bにおいては、第2駆動シャフト6と連結されて連動する連動部材16に駆動側クラッチ板3baが形成されるとともに、筐体17に被動側クラッチ板3bbが形成され、これら駆動側クラッチ板3baと被動側クラッチ板3bbとが交互に積層形成されている。これにより、隣り合う駆動側クラッチ板3baと被動側クラッチ板3bbとが圧接又は離間可能となっている。尚、第2クラッチ手段3bが作動して、駆動側クラッチ板3baと被動側クラッチ板3bbとが圧接した状態を図7に示す。然るに、ここでいう離間とは、物理的離間に限らず、圧接が解かれた状態のことをいい、圧接状態にて駆動力が伝達されるとともに、離間状態にて当該駆動力の伝達が遮断される。
また、かかるクラッチ手段3は、図3に示すように、同一筐体17内に第1クラッチ手段3a、第2クラッチ手段3b、及び当該第1クラッチ手段3a及び第2クラッチ手段3bに対応する2つの油圧ピストンP1、P2を有するとともに、当該油圧ピストンP1、P2を作動させる油圧を制御することにより、当該第1クラッチ手段3a又は第2クラッチ手段3bを任意選択的に作動可能とされている。
即ち、筐体17と油圧ピストンP1との間の油圧室S1に作動油を注入させることにより、油圧ピストンP1がリターンスプリング3cの付勢力に抗して同図中右側へ移動し、その先端で第1クラッチ手段3aを押圧して、駆動側クラッチ板3aaと被動側クラッチ板3abとを圧接させるよう構成されている。尚、第2クラッチ手段2bにおける駆動側クラッチ板3ba及び被動側クラッチ板3bbは、図4に示すように、それぞれの周縁に凹凸形状が形成されており、その凹部において油圧ピストンP1の先端が挿通されるよう構成されている。
また、油圧ピストンP1と油圧ピストンP2との間の油圧室S2に作動油を注入させることにより、油圧ピストンP2がリターンスプリング3cの付勢力に抗して図3中右側へ移動し、その先端で第2クラッチ手段3bを押圧して、駆動側クラッチ板3baと被動側クラッチ板3bbとを圧接させるよう構成されている。これにより、油圧ピストンP1、P2を作動させる油圧を制御することにより、第1クラッチ手段3a又は第2クラッチ手段3bを任意選択的に作動可能とされている。
クラッチ手段3を構成する筐体17は、ギアG1が形成された連動部材18と連結されており、該ギアG1は、出力軸9に形成されたギアG2と噛み合って構成されている。これにより、第1クラッチ手段3a又は第2クラッチ手段3bにて伝達されたエンジンEの駆動力は、筐体17を介して連動部材18に至り、出力軸9に伝達されるようになっている。
選択手段4は、前進時(発進時を含む)における自動車(車両)の状態(車速や車体の傾斜角度など)に応じて、油圧室S1又はS2に作動油を所定の圧力で注入して油圧ピストンP1、P2を任意選択的に作動させることにより第1クラッチ手段3a又は第2クラッチ手段3bを任意選択的に作動させ、トルクコンバータ1の駆動伝達系を介してエンジンE(駆動源)の駆動力を車輪(駆動輪D)に伝達させ、又はトルクコンバータ1の駆動伝達系を介さずエンジンE(駆動源)の駆動力を車輪(駆動輪D)に伝達させ得るものである。
かかる選択手段4は、例えばエンジンEを制御するためのECU(不図示)内に形成されたもので、本実施形態においては、図5に示す如きテーブル(縦軸がスロットル開度、横軸が車速とされたもの)に基づきクラッチ手段3を作動させるよう構成されている。このテーブルによれば、車速及びスロットル開度に応じて、(a)アイドルニュートラルモード(ブレーキの操作により車両が停止状態であるとき、第1クラッチ手段3a及び第2クラッチ手段3bが作動せず、ニュートラル状態とされるモード)、(b)クリープモード(第1クラッチ手段3aが作動してトルクコンバータ1のクリープ現象を利用し得るモード)、(c)ストールモード(発進時、第1クラッチ手段3aが作動するモード)、(d)ダイレクト発進モード(発進時、第2クラッチ手段3bが作動するモード)、(e)トルク分割発進モード、(f)Dトルコン発進モード(第1クラッチ手段3aが作動するモード)が任意選択され、そのモードに従い第1クラッチ手段3a又は第2クラッチ手段3bを任意選択的に作動させることができる。
ここで、(e)トルク分割発進モードは、第1クラッチ手段3a及び第2クラッチ手段3bの両方を作動させ、トルクコンバータ1の駆動伝達系を介して伝達される駆動力と、トルクコンバータ1の駆動伝達系を介さず伝達される駆動力とが所定の比率で車輪(駆動輪D)に伝達されるモードである。当該伝達される駆動力の比率は、任意設定可能とされている。尚、第1クラッチ手段3a及び第2クラッチ手段3bの両方が作動して、駆動側クラッチ板3aaと被動側クラッチ板3ab、及び駆動側クラッチ板3baと被動側クラッチ板3bbが圧接した状態を図8に示す。
本実施形態によれば、上記の如く車両の状態との対比が可能なテーブルに従い第1クラッチ手段3a又は第2クラッチ手段3bを選択的に作動可能であるので、平地発進、平地走行、下り坂走行において、トルクコンバータ1の駆動伝達系を介さずエンジンE(駆動源)の駆動力を車輪(駆動輪D)に伝達させ、坂道発進、上り坂走行、渋滞時走行において、トルクコンバータ1の駆動伝達系を介してエンジンE(駆動源)の駆動力を車輪(駆動輪D)に伝達させることができる。
一方、第3クラッチ手段8は、多板クラッチから成り、車両の後進時に、トルクコンバータ1の駆動伝達系を介してエンジンE(駆動源)の駆動力を車輪(駆動輪D)に伝達させるためのものである。即ち、車両が具備するシフトレバーを操作してRレンジ(後進)とすると、連動部材15に形成されたギアG3と出力軸9側の連動部材19に形成されたギアG4との間にアイドルギア(不図示)が介在して噛み合い、エンジンEの駆動力が第3クラッチ手段8に至るようになっている。
この第3クラッチ手段8には、第1クラッチ手段3a及び第2クラッチ手段3bと同様、出力軸9と連結されて連動可能な筐体20を有し、当該筐体20内に油圧ピストンP3が形成されるとともに、駆動側クラッチ板8aと被動側クラッチ板8bとが交互に積層形成されている。これにより、油圧ピストンP3の作動により、隣り合う駆動側クラッチ板8aと被動側クラッチ板8bとが圧接又は離間可能となっている。尚、第3クラッチ手段8が作動して、駆動側クラッチ板8aと被動側クラッチ板8bとが圧接した状態を図9に示す。
ここで、本実施形態においては、選択手段4は、車両の後進時において専ら第3クラッチ手段8を作動させるよう構成されている。即ち、車両が具備するシフトレバーを操作してRレンジ(後進)とすると、図5のテーブルで示すように、(g)Rモードとされ、トルクコンバータ1の駆動伝達系を介してエンジンE(駆動源)の駆動力を車輪(駆動輪D)に伝達させるようになっている。
上記実施形態によれば、車両の状態に応じて第1クラッチ手段3a又は第2クラッチ手段3bを任意選択的に作動させて、トルクコンバータ1の駆動伝達系を介してエンジンE(駆動源)の駆動力を車輪(駆動輪D)に伝達させ、又はトルクコンバータの駆動伝達系を介さずエンジンE(駆動源)の駆動力を車輪(駆動輪D)に伝達させ得る選択手段4を備えたので、動力伝達装置の複雑化及び大型化を抑制し、且つ、トルクコンバータ1のトルク増幅機能により発進性能の向上を図るとともに、定常走行中における動力伝達効率を向上させることができる。尚、従来の如きロックアップクラッチを不要とすることができる。
また、第1駆動シャフト5と第2駆動シャフト6とは同心円状に形成されたので、当該第1駆動シャフト5と第2駆動シャフト6とがそれぞれ延設されたもの(2本が併設されたもの)に比べ、動力伝達装置全体をより小型化することができる。更に、第2駆動シャフト6は、トルク変動を減衰し得るダンパ機構7を介してエンジンE(駆動源)と連結されたので、第2クラッチ手段3bに伝達されるエンジンE(駆動源)の振動を減衰させることができる。
然るに、ダンパ機構7は、従来のロックアップ機構の構成を流用したものとしてもよいが、従来のものに対して、例えばコイル径を大きくしたり或いは配設位置を変更することができる。その場合、図15に示すように、ダンパ機構は、トルクコンバータ1内に配設されるとともに、当該トルクコンバータ1を構成するタービンTと軸方向(図1中左右方向)でオーバーラップしたダンパ機構7’とすることができる。このように、タービンTとダンパ機構7’とが軸方向でオーバーラップさせることにより、トルクコンバータ1の軸方向(図1中左右方向)の寸法を短くすることができる。
また更に、選択手段4は、車両の状態に応じて(例えば図5のテーブルにて(e)トルク分割発進モードとされた際)、第1クラッチ手段3a及び第2クラッチ手段3bの両方を作動させ、トルクコンバータ1の駆動伝達系を介して伝達される駆動力と、トルクコンバータ1の駆動伝達系を介さず伝達される駆動力とが所定の比率で車輪(駆動輪D)に伝達されるので、車輪(駆動輪D)への伝達動力の調整を容易に行わせることができる。また、トルクコンバータ1のトルク増幅機能を多く利用する場合と、トルクコンバータ1のスリップを回避して動力伝達効率を向上させる場合とで当該駆動力の比率を変更するのが好ましい。
然るに、ブレーキの操作により車両が停止状態であるとき(例えば図5のテーブルにて(a)アイドルニュートラルモードとされた際)、第1クラッチ手段3a及び第2クラッチ手段3bが作動せず、ニュートラル状態とされるので、燃費を向上させることができる。また、トルクコンバータ1の駆動伝達系を介してエンジンE(駆動源)の駆動力を車輪(駆動輪D)に伝達させる第3クラッチ手段8を具備し、選択手段4は、車両の後進時において専ら第3クラッチ手段8を作動させるので、頻度が低い後進走行ではトルクコンバータ1の駆動伝達系を介する駆動伝達系のみとすることにより、動力伝達装置が大型化してしまうのを抑制することができる。
更に、クラッチ手段3は、同一筐体17内に第1クラッチ手段3a、第2クラッチ手段3b、及び当該第1クラッチ手段3a及び第2クラッチ手段3bに対応する2つの油圧ピストンP1、P2を有するとともに、当該油圧ピストンP1、P2を作動させる油圧を制御することにより、当該第1クラッチ手段3a又は第2クラッチ手段3bを任意選択的に作動可能とされたので、動力伝達装置全体を更に簡素化及び小型化することができる。
ところで、本実施形態における変速機Aは、無段変速機(Continuously Variable Transmission :所謂CVT)から成るものが好ましく、その場合、図14に示すように、車両の駆動源(エンジンE)から車輪(駆動輪D)に至る動力伝達系の途中であってクラッチ手段3の第2クラッチ手段3bと車輪(駆動輪D)との間において、無段変速機24を介装させたものとされる。
かかる無段変速機24は、2つのプーリQ1、Q2と、その間に懸架されたベルトVとを有しており、油圧制御回路23によりプーリQ1、Q2の可動シーブを動作させて互いに独立してベルトV懸架部の径を変化させ、所望の変速を行わせるものである。一方、無段変速機24は、車両におけるブレーキペダルのブレーキスイッチやシフトレバーのポジションセンサ、及びエンジンECU等(何れも不図示)と電気的に接続されて成るCVTECU22を有しており、かかるCVTECU22により油圧制御回路23による制御が成されるよう構成されている。尚、かかる油圧制御回路23により、既述の油圧ピストンP1〜P3が任意作動し得るようになっている。
而して、車両のエンジンE(駆動源)から駆動輪D(車輪)に至る動力伝達系の途中であってクラッチ手段3の第2クラッチ手段3bと駆動輪Dとの間には、無段変速機24が介装されたので、車両を前進させるクラッチとトルクコンバータ1の駆動伝達系を介さずエンジンEの駆動力を駆動輪Dに伝達させるクラッチとを第2クラッチ手段3bにて兼用させることができる。尚、同図中符号Fは、車両が具備するディファレンシャルギアを示している。
以上、本実施形態について説明したが、本発明はこれに限定されるものではなく、例えば選択手段4が図5で示すテーブルに加え、車体の傾斜角度に応じて各モードを設定し得るよう構成してもよい。また、本実施形態においては、第1駆動シャフト5と第2駆動シャフト6とが同心円状に形成されているが、それぞれ別個に併設されたものであってもよい。
更に、本実施形態においては、車両の後進時には専ら第3クラッチ手段8を作動させ、トルクコンバータ1の駆動伝達系を介してエンジンE(駆動源)の駆動力を車輪(駆動輪D)に伝達させているが、例えばトルクコンバータ1の駆動伝達系を介さずエンジンE(駆動源)の駆動力を車輪(駆動輪D)に伝達させ得る第4クラッチ手段を設け、車両の後進時、車両の状態に応じて当該第3クラッチ手段8と第4クラッチ手段とで任意選択可能としてもよい。
また更に、本実施形態においては、油圧ピストンP1を作動させると、第1クラッチ手段3aに加え、第2クラッチ手段3bも作動して駆動力を伝達し得る状態とされるが、例えば図10に示すように、第2クラッチ手段3b側にもストッパ21を設け、当該第2クラッチ手段3b及び第1クラッチ手段3aが互いに独立して作動し得るよう構成してもよい。この場合の第1クラッチ手段3aのみが作動した状態を図11、第2クラッチ手段3bのみが作動した状態を図12、及び両方のクラッチ手段が作動した状態を図13に示す。
尚、本実施形態においては、駆動源がエンジンEとされているが、本発明はこれに限定されず、内燃機関は勿論、例えば電気自動車やハイブリッド車両におけるモータであってもよい。また、本実施形態においては、選択手段4がECU内に形成されているが、例えば別個配設されたマイコン内に形成するものであってもよい。
車両の状態に応じて第1クラッチ手段又は第2クラッチ手段を任意選択的に作動させて、トルクコンバータの駆動伝達系を介して駆動源の駆動力を前記車輪に伝達させ、又はトルクコンバータの駆動伝達系を介さず駆動源の駆動力を前記車輪に伝達させ得る選択手段を備えた動力伝達装置であれば、外観形状や各構成部品の形状が異なるもの或いは他の機能が付加されたものにも適用することができる。
本発明の実施形態に係る動力伝達装置を示す縦断面図 同動力伝達装置を示す模式図 同動力伝達装置におけるクラッチ手段を示す拡大図 図1におけるIV−IV線断面図 同動力伝達装置における選択手段が参照するテーブル 同動力伝達装置におけるクラッチ手段であって、第1クラッチ手段のみ作動した状態を示す拡大図 同動力伝達装置におけるクラッチ手段であって、第2クラッチ手段のみ作動した状態を示す拡大図 同動力伝達装置におけるクラッチ手段であって、第1クラッチ手段及び第2クラッチ手段の両方が作動した状態を示す拡大図 同動力伝達装置における第3クラッチ手段が作動した状態を示す拡大図 本発明の他の実施形態に係るクラッチ手段を示す拡大図 同動力伝達装置におけるクラッチ手段であって、第1クラッチ手段のみ作動した状態を示す拡大図 同動力伝達装置におけるクラッチ手段であって、第2クラッチ手段のみ作動した状態を示す拡大図 同動力伝達装置におけるクラッチ手段であって、第1クラッチ手段及び第2クラッチ手段の両方が作動した状態を示す拡大図 本発明にかかる動力伝達装置におけるミッションAが無段変速機とされた場合を示す模式図 本発明の更に他の実施形態に係る動力伝達装置におけるトルクコンバータ及びその内部のダンパ機構を示す縦断面図
符号の説明
1 トルクコンバータ
2 トランスミッション
3 クラッチ手段
3a 第1クラッチ手段
3b 第2クラッチ手段
4 選択手段
5 第1駆動シャフト
6 第2駆動シャフト
7、7’ ダンパ機構
8 第3クラッチ手段
9 出力軸
10 ミッションケース
11 入力軸
12 カバー部材
13 トルコンカバー
14 連結部材
15、16 連動部材
17 筐体
18、19 連動部材
20 筐体
21 ストッパ
22 CVTECU
23 油圧制御回路
24 無段変速機
E エンジン(駆動源)
A 変速機
D 駆動輪(車輪)
P1〜P3 油圧ピストン

Claims (9)

  1. 車両の駆動源から車輪に至る動力伝達系の途中に配設され、当該駆動源の駆動力を車輪に対して任意選択的に伝達又は遮断可能な動力伝達装置において、
    トルク増幅機能を有するトルクコンバータと、
    車両の前進時に作動可能とされるとともに、前記トルクコンバータの駆動伝達系を介して前記駆動源の駆動力を前記車輪に伝達させる第1クラッチ手段、及び前記トルクコンバータの駆動伝達系を介さず前記駆動源の駆動力を前記車輪に伝達させる第2クラッチ手段を有するクラッチ手段と、
    発進時を含む前進時における車両の状態に応じて前記第1クラッチ手段又は第2クラッチ手段を任意選択的に作動させて、前記トルクコンバータの駆動伝達系を介して前記駆動源の駆動力を前記車輪に伝達させ、又は前記トルクコンバータの駆動伝達系を介さず前記駆動源の駆動力を前記車輪に伝達させ得る選択手段と、
    を備えたことを特徴とする動力伝達装置。
  2. 前記トルクコンバータの駆動伝達系を介して前記駆動源の駆動力で回転可能とされ、前記第1クラッチ手段と連結された第1駆動シャフトと、
    前記トルクコンバータの駆動伝達系を介さず前記駆動源の駆動力で回転可能とされ、前記第2クラッチ手段と連結された第2駆動シャフトと、
    を具備し、前記第1駆動シャフトと第2駆動シャフトとは同心円状に形成されたことを特徴とする請求項1記載の動力伝達装置。
  3. 前記第2駆動シャフトは、トルク変動を減衰し得るダンパ機構を介して前記駆動源と連結されたことを特徴とする請求項2記載の動力伝達装置。
  4. 前記ダンパ機構は、前記トルクコンバータ内に配設されるとともに、当該トルクコンバータを構成するタービンとダンパ機構とが軸方向でオーバーラップして配設されたことを特徴とする請求項3記載の動力伝達装置。
  5. 前記選択手段は、車両の状態に応じて前記第1クラッチ手段及び第2クラッチ手段の両方を作動させ、前記トルクコンバータの駆動伝達系を介して伝達される駆動力と、前記トルクコンバータの駆動伝達系を介さず伝達される駆動力とが所定の比率で前記車輪に伝達されることを特徴とする請求項1〜4の何れか1つに記載の動力伝達装置。
  6. ブレーキの操作により車両が停止状態であるとき、前記第1クラッチ手段及び第2クラッチ手段が作動せず、ニュートラル状態とされることを特徴とする請求項1〜5の何れか1つに記載の動力伝達装置。
  7. 前記クラッチ手段は、同一筐体内に前記第1クラッチ手段、第2クラッチ手段、及び当該第1クラッチ手段及び第2クラッチ手段に対応する2つの油圧ピストンを有するとともに、当該油圧ピストンを作動させる油圧を制御することにより、当該第1クラッチ手段又は第2クラッチ手段を任意選択的に作動可能とされたことを特徴とする請求項1〜6の何れか1つに記載の動力伝達装置。
  8. 前記トルクコンバータの駆動伝達系を介して前記駆動源の駆動力を前記車輪に伝達させる第3クラッチ手段を具備し、前記選択手段は、車両の後進時において専ら第3クラッチ手段を作動させることを特徴とする請求項1〜7の何れか1つに記載の動力伝達装置。
  9. 前記車両の駆動源から車輪に至る動力伝達系の途中であって前記クラッチ手段の第2クラッチ手段と前記車輪との間には、無段変速機が介装されたことを特徴とする請求項1〜8の何れか1つに記載の動力伝達装置。
JP2008253076A 2008-09-30 2008-09-30 動力伝達装置 Expired - Fee Related JP5145185B2 (ja)

Priority Applications (5)

Application Number Priority Date Filing Date Title
JP2008253076A JP5145185B2 (ja) 2008-09-30 2008-09-30 動力伝達装置
DE112009002276.6T DE112009002276B4 (de) 2008-09-30 2009-07-09 Kraftübertragungsvorrichtung
PCT/JP2009/003208 WO2010038338A1 (ja) 2008-09-30 2009-07-09 動力伝達装置
CN200980138348.4A CN102171492B (zh) 2008-09-30 2009-07-09 动力传递设备
US13/076,219 US8245826B2 (en) 2008-09-30 2011-03-30 Power transmitting apparatus

Applications Claiming Priority (1)

Application Number Priority Date Filing Date Title
JP2008253076A JP5145185B2 (ja) 2008-09-30 2008-09-30 動力伝達装置

Publications (2)

Publication Number Publication Date
JP2010084828A true JP2010084828A (ja) 2010-04-15
JP5145185B2 JP5145185B2 (ja) 2013-02-13

Family

ID=42073127

Family Applications (1)

Application Number Title Priority Date Filing Date
JP2008253076A Expired - Fee Related JP5145185B2 (ja) 2008-09-30 2008-09-30 動力伝達装置

Country Status (5)

Country Link
US (1) US8245826B2 (ja)
JP (1) JP5145185B2 (ja)
CN (1) CN102171492B (ja)
DE (1) DE112009002276B4 (ja)
WO (1) WO2010038338A1 (ja)

Cited By (3)

* Cited by examiner, † Cited by third party
Publication number Priority date Publication date Assignee Title
US9623871B2 (en) 2013-01-17 2017-04-18 Kabushiki Kaisha F.C.C. Power transmitting apparatus
JP2017211090A (ja) * 2012-08-14 2017-11-30 株式会社エフ・シー・シー 動力伝達装置
US10443698B2 (en) 2013-03-19 2019-10-15 Kabushiki Kaisha F.C.C. Power transmitting apparatus

Families Citing this family (8)

* Cited by examiner, † Cited by third party
Publication number Priority date Publication date Assignee Title
GB2463911B (en) * 2008-09-30 2012-06-06 Jcb Transmissions Vehicle transmission
JP6130367B2 (ja) * 2012-06-20 2017-05-17 トヨタ自動車株式会社 車両の制御装置
US9194482B2 (en) * 2012-10-02 2015-11-24 Ford Global Technologies, Llc System for supplying fluid to transmission control elements
WO2015160673A1 (en) * 2014-04-17 2015-10-22 Schaeffler Technologies AG & Co. KG Hub assembly for a torque converter and related method
DE102019119036A1 (de) * 2019-07-13 2021-01-14 Schaeffler Technologies AG & Co. KG Fluidisches Betätigungssystem
JP2021116842A (ja) * 2020-01-24 2021-08-10 トヨタ自動車株式会社 車両用動力伝達機構
JP7552275B2 (ja) * 2020-11-13 2024-09-18 マツダ株式会社 自動変速機及び自動変速機の遠心バランス調整方法
US12253115B2 (en) * 2023-05-02 2025-03-18 Dana Belgium N.V. Multi-pack clutch assembly with actuator

Citations (7)

* Cited by examiner, † Cited by third party
Publication number Priority date Publication date Assignee Title
JPS63308266A (ja) * 1987-06-05 1988-12-15 Honda Motor Co Ltd トルクコンバ−タ内蔵ロックアップクラッチの制御装置
JPS6424760U (ja) * 1987-07-31 1989-02-10
JPH11311310A (ja) * 1998-03-23 1999-11-09 Mannesmann Sachs Ag トルクコンバ―タ
JP2001082593A (ja) * 1999-09-10 2001-03-27 Honda Motor Co Ltd 車両用自動変速機
JP2006132627A (ja) * 2004-11-04 2006-05-25 Nissan Motor Co Ltd 自動変速機の制御装置
JP2006161895A (ja) * 2004-12-03 2006-06-22 Exedy Corp 流体式トルク伝達装置
JP2007016833A (ja) * 2005-07-06 2007-01-25 Aisin Aw Co Ltd 流体伝動装置

Family Cites Families (6)

* Cited by examiner, † Cited by third party
Publication number Priority date Publication date Assignee Title
US3442155A (en) * 1966-11-02 1969-05-06 Gen Motors Corp Countershaft transmission
US3463033A (en) * 1968-02-20 1969-08-26 Ford Motor Co Multiple ratio hydrokinetic torque converter transmission with split-torque lock-up clutches in the converter housing
JPS51102772A (ja) * 1975-03-06 1976-09-10 Toyota Motor Co Ltd
US5888161A (en) * 1998-03-19 1999-03-30 Ford Global Technologies, Inc. All wheel drive continuously variable transmission having dual mode operation
JP2005003193A (ja) * 2003-05-16 2005-01-06 Toyota Motor Corp 車両用ロックアップクラッチの制御装置
US7926635B2 (en) * 2006-12-27 2011-04-19 Schaeffler Technologies Gmbh & Co. Kg Piston assembly and a force transfer device, particularly a force transfer device with a piston assembly

Patent Citations (7)

* Cited by examiner, † Cited by third party
Publication number Priority date Publication date Assignee Title
JPS63308266A (ja) * 1987-06-05 1988-12-15 Honda Motor Co Ltd トルクコンバ−タ内蔵ロックアップクラッチの制御装置
JPS6424760U (ja) * 1987-07-31 1989-02-10
JPH11311310A (ja) * 1998-03-23 1999-11-09 Mannesmann Sachs Ag トルクコンバ―タ
JP2001082593A (ja) * 1999-09-10 2001-03-27 Honda Motor Co Ltd 車両用自動変速機
JP2006132627A (ja) * 2004-11-04 2006-05-25 Nissan Motor Co Ltd 自動変速機の制御装置
JP2006161895A (ja) * 2004-12-03 2006-06-22 Exedy Corp 流体式トルク伝達装置
JP2007016833A (ja) * 2005-07-06 2007-01-25 Aisin Aw Co Ltd 流体伝動装置

Cited By (3)

* Cited by examiner, † Cited by third party
Publication number Priority date Publication date Assignee Title
JP2017211090A (ja) * 2012-08-14 2017-11-30 株式会社エフ・シー・シー 動力伝達装置
US9623871B2 (en) 2013-01-17 2017-04-18 Kabushiki Kaisha F.C.C. Power transmitting apparatus
US10443698B2 (en) 2013-03-19 2019-10-15 Kabushiki Kaisha F.C.C. Power transmitting apparatus

Also Published As

Publication number Publication date
CN102171492A (zh) 2011-08-31
CN102171492B (zh) 2014-01-22
DE112009002276T5 (de) 2011-09-29
US8245826B2 (en) 2012-08-21
DE112009002276B4 (de) 2018-09-13
WO2010038338A1 (ja) 2010-04-08
US20110233019A1 (en) 2011-09-29
JP5145185B2 (ja) 2013-02-13

Similar Documents

Publication Publication Date Title
JP5145185B2 (ja) 動力伝達装置
JP5398250B2 (ja) 動力伝達装置
JP5207925B2 (ja) ハイブリッド車両の動力伝達装置
US6997831B2 (en) Vehicular transmission
JP5398317B2 (ja) 動力伝達装置
JP5527873B2 (ja) 動力伝達装置
JP5536329B2 (ja) 動力伝達装置
JP5462800B2 (ja) 動力伝達装置
JP2014129878A (ja) トルクアシストシステム、およびこれを利用した自動化手動変速装置
JP6140842B2 (ja) 静油圧および直接駆動トランスミッション
EP2954226A1 (en) Hydrostatic and direct drive transmission
JP5660733B2 (ja) 動力伝達装置
JP2001050368A (ja) 巻き掛け伝動式無段変速機
JP2017074910A (ja) 自動変速装置
JP2010216613A (ja) 車両用駆動装置
JP6209345B2 (ja) 動力伝達装置
KR100992770B1 (ko) 하이브리드 전기 자동차용 이중 클러치 변속기의 구조
JP2008260532A (ja) 発進クラッチ
JP2005308128A (ja) 動力伝達装置
KR100693618B1 (ko) 자동차용 자동변속기
JP2001233068A (ja) 発進クラッチ
JP2001330115A (ja) 無段変速機の変速制御装置
KR20150049181A (ko) 자동화 수동 변속기의 다단 토크 어시스트 시스템

Legal Events

Date Code Title Description
A521 Request for written amendment filed

Free format text: JAPANESE INTERMEDIATE CODE: A523

Effective date: 20091228

A621 Written request for application examination

Free format text: JAPANESE INTERMEDIATE CODE: A621

Effective date: 20101130

TRDD Decision of grant or rejection written
A01 Written decision to grant a patent or to grant a registration (utility model)

Free format text: JAPANESE INTERMEDIATE CODE: A01

Effective date: 20121115

A01 Written decision to grant a patent or to grant a registration (utility model)

Free format text: JAPANESE INTERMEDIATE CODE: A01

A61 First payment of annual fees (during grant procedure)

Free format text: JAPANESE INTERMEDIATE CODE: A61

Effective date: 20121126

FPAY Renewal fee payment (event date is renewal date of database)

Free format text: PAYMENT UNTIL: 20151130

Year of fee payment: 3

R150 Certificate of patent or registration of utility model

Ref document number: 5145185

Country of ref document: JP

Free format text: JAPANESE INTERMEDIATE CODE: R150

Free format text: JAPANESE INTERMEDIATE CODE: R150

R250 Receipt of annual fees

Free format text: JAPANESE INTERMEDIATE CODE: R250

R250 Receipt of annual fees

Free format text: JAPANESE INTERMEDIATE CODE: R250

R250 Receipt of annual fees

Free format text: JAPANESE INTERMEDIATE CODE: R250

R250 Receipt of annual fees

Free format text: JAPANESE INTERMEDIATE CODE: R250

R250 Receipt of annual fees

Free format text: JAPANESE INTERMEDIATE CODE: R250

R250 Receipt of annual fees

Free format text: JAPANESE INTERMEDIATE CODE: R250

R250 Receipt of annual fees

Free format text: JAPANESE INTERMEDIATE CODE: R250

LAPS Cancellation because of no payment of annual fees