JP2010082630A - ダイカストマシンの移動ダイプレート - Google Patents

ダイカストマシンの移動ダイプレート Download PDF

Info

Publication number
JP2010082630A
JP2010082630A JP2008251299A JP2008251299A JP2010082630A JP 2010082630 A JP2010082630 A JP 2010082630A JP 2008251299 A JP2008251299 A JP 2008251299A JP 2008251299 A JP2008251299 A JP 2008251299A JP 2010082630 A JP2010082630 A JP 2010082630A
Authority
JP
Japan
Prior art keywords
mold
plate
die
back support
die plate
Prior art date
Legal status (The legal status is an assumption and is not a legal conclusion. Google has not performed a legal analysis and makes no representation as to the accuracy of the status listed.)
Granted
Application number
JP2008251299A
Other languages
English (en)
Other versions
JP5555414B2 (ja
Inventor
Akihiro Yamanaka
章弘 山中
Current Assignee (The listed assignees may be inaccurate. Google has not performed a legal analysis and makes no representation or warranty as to the accuracy of the list.)
Toyo Innovex Co Ltd
Original Assignee
Toyo Machinery and Metal Co Ltd
Priority date (The priority date is an assumption and is not a legal conclusion. Google has not performed a legal analysis and makes no representation as to the accuracy of the date listed.)
Filing date
Publication date
Application filed by Toyo Machinery and Metal Co Ltd filed Critical Toyo Machinery and Metal Co Ltd
Priority to JP2008251299A priority Critical patent/JP5555414B2/ja
Publication of JP2010082630A publication Critical patent/JP2010082630A/ja
Application granted granted Critical
Publication of JP5555414B2 publication Critical patent/JP5555414B2/ja
Expired - Fee Related legal-status Critical Current
Anticipated expiration legal-status Critical

Links

Images

Landscapes

  • Moulds For Moulding Plastics Or The Like (AREA)

Abstract

【課題】ダイカストマシンのような高圧トグル機構を有する装置において、減肉軽量化したとしても金型取付板の変形を発生させるようなことのない移動ダイプレートを提供する。
【解決手段】ダイカストマシンMの移動ダイプレート1を(a)金型取付面2a、およびタイバー12が挿通されるタイバーガイド孔4の穿設されたタイバーガイド部3をその四隅に備える金型取付板2と、(b)金型取付板2の背面にて、移動金型K1の外形をカバーするように突設され、一定の幅Wを持ち、その内側が凹設状に凹堀部5となっている略八角形凸畝状のバックサポート部6と、(c)バックサポート部6に設けられた型締め用トグル機構Tのトグルアーム取付部8とで構成することにより上記課題を解決することができる。
【選択図】図4

Description

本発明はダイカストマシンの移動ダイプレートに関するものである。
従来、ダイカストマシンにおいては、鋳込みシリンダ内に供給された溶湯を高圧で射出して型締めされた金型のキャビティ空間に高圧充填し、該キャビティ空間内において溶湯を冷却し、凝固させることによってダイカスト製品を成形するようになっている。
前記金型は固定金型および移動金型からなり、型締装置によって移動金型が装着された移動ダイプレートを進退させ、固定金型に対して移動金型を接離させることによって、型閉、型締および型開を行うことができるようになっている。前記型締装置は、固定金型が取り付けられた固定ダイプレートおよび移動金型が取り付けられた移動ダイプレートを有し、該移動ダイプレートを進退させる型締装置としてトグル機構が移動ダイプレートとエンドフレームとの間に配設され、該トグル機構は、エンドフレームに設けられた型締シリンダよって作動する。
固定ダイプレートには固定金型が取り付けられ、移動ダイプレートには移動金型が取り付けられており、トグル機構を作動させて移動金型を固定金型に押し付け型締めした後、溶湯の射出が行われる。このとき、高圧型締によってトグル機構から強い力を受けた金型のエッジを境にして金型取付板が撓み、甚だしい場合には金型取付面が金型の形に変形してしまうことがある。
そこで、このような金型取付板の撓みや変形を防止するため、金型取付板の厚みをできるだけ厚くして剛性を高めるということが行われていたが、この方法では前記撓みや変形を防止することができるものの、その分だけ重量が大きくなり、この重量に耐えられるように装置強度を高くしなければならなかった。
このため、装置重量が大型化するとともに過重になり、これに加えて昨今の鉄材価格高騰のため、製造コストが大幅に上昇してしまうという問題が起こっている。
このような問題の解決方法の1つとして、特許文献1に記載された移動ダイプレートが提案されている(図8〜12参照)。この移動ダイプレート100は、金型取付板101の板厚を厚くすることなく、金型取付板101の撓みや金型取付面101aの変形を防止するというもので、金型取付面101aを備える金型取付板101と、タイバー107が挿通されたガイド部145と、トグル機構の上・下トグルアーム108、108の軸支用の上・下荷重受け部102、103と、上・下荷重受け部102、103間に架設された荷重受け部連結部材141と、一端が上・下荷重受け部102、103に接続され、他端が上・下荷重受け部102、103よりも前記金型取付板101の中心に接近した位置で該金型取付板101の背面に接続される荷重伝達部材142とで構成されている。これにより、型締時の型締負荷が金型取付板101に加わった場合、該型締負荷が金型取付板101の中心に接近した位置に作用するので曲げモーメントが小さくなり、金型取付板の板厚を厚くしなくても、金型取付板101の撓みや金型取付面101aの変形を防止することができるとしている。
特開2003−89133号公報
上記従来技術によれば、移動ダイプレート100の軽量化は可能であるものの、図8、10〜12に示すように、荷重伝達部材142間に矩形状の大孔143が穿設されているため、ダイカストマシンのような、高温・高圧・高速の射出を行う装置ではこの部分が弱点となり、軽量化した移動ダイプレート100では自身の撓み・変形ひいては金型を変形させるという問題点を解消することができなかった。
本発明はこのような従来の問題点に鑑みて開発されたものである。それゆえに本発明の主たる課題は、ダイカストマシンのような高圧トグル機構を有し、高温・高圧・高速の射出を行う装置において、軽量化したとしても金型取付板の変形を発生させることのない移動ダイプレートを提供することにある。
本発明はダイカストマシンMの移動ダイプレート1に関し、
(a)金型取付面2a、およびタイバー12が挿通されるタイバーガイド孔4の穿設されたタイバーガイド部3をその四隅に備える金型取付板2と、
(b)金型取付板2の背面にて、金型取付板2に取り付けられた移動金型K1の外形をカバーするように設けられ、一定の幅Wを持ち、その内側が凹設状に凹堀部5となっている略八角形凸畝状のバックサポート部6と、
(c)バックサポート部6に設けられた型締め用トグル機構Tのトグルアーム取付部8とで構成されたことを特徴とする。
また、請求項2は請求項1の更なる改良で、タイバーガイド部3とバックサポート部6とが補強リブ7で接続されていることを特徴とする。
本発明の移動ダイプレート1は、金型取付板2、その背面のバックサポート部6、バックサポート部6に設けられた型締め用トグル機構Tのトグルアーム取付部8、およびタイバーガイド部3とバックサポート部6とを接続する補強リブ7とで構成されており、バックサポート部6とトグルアーム取付部8とを主たる負荷担持構造とし、更に補強リブ7によってバックサポート部6とトグルアーム取付部8との一体化を図っている。
型締めによる型締負荷がダイカストマシンMの移動ダイプレート1に加わった時、トグル機構Tからの高圧型締力は、トグルアーム取付部8を介して直接バックサポート部6に加わる。そしてバックサポート部6は金型取付板2に取り付けられた移動金型K1の外形をカバーするため、バックサポート部6に加わった負荷は金型取付板2を介して、直接、移動金型K1に加わることになる。金型取付板2のバックサポート部6以外の部分は直接力が加わる場所ではない。それ故、バックサポート部6とこれに設けられたトグルアーム取付部8との強度を型締力に十分対抗できるだけの強度としておけば、それ以外の部分の肉厚を大幅に減肉したとしても、移動ダイプレート1、更に言えば金型取付板2の撓みや変形を大幅に回避することができる。
加えて、このように移動ダイプレート1全体が大きく減肉されていたとしても、補強リブ7によってバックサポート部6とタイバーガイド部3が一体化されているため、バックサポート部6に高圧型締力が加わった時の該高圧型締力によってタイバーガイド部3の平行度が損なわれるというようなことがない。
以下、本発明の実施形態について図面を参照しながら詳細に説明する。図1は本発明のダイカストマシンの概略平面図、図2はその概略正面図である。図において、土台であるフレーム21上の右端に固定ダイプレート23が固定され、該固定ダイプレート23から所定の距離を置いて左端にトグルサポート34がフレーム21に対してスライド自在に配設されている。そして、前記固定ダイプレート23とトグルサポート34との間に四本のタイバー12が架設されている。
そして前記固定ダイプレート23に対向する移動ダイプレート1が、前記タイバー12にガイドされて固定ダイプレート23に近接離間可能に配設されている。該固定ダイプレート23と移動ダイプレート1との対向面がそれぞれ金型取付面23a、2aとなっており、移動金型K1、固定金型K2がそれぞれ装着できるようになっている。また、前記移動ダイプレート1の背面中央に突設された、後述するバックサポート部6内にエジェクタピンを移動させるためのエジェクタピン駆動装置Eが取り付けられるようになっている。
前記移動ダイプレート1とトグルサポート34との間には、型締装置としてのトグル機構Tが設けられ、前記トグルサポート34の背面には、型締用駆動手段としてのトグル駆動装置30(本実施例では油圧シリンダ)が取り付けられている。トグル駆動装置30は、油圧シリンダ等を駆動源とし、クロスヘッド35を進退させることによって、トグル機構Tを作動させる。
トグル機構Tは前記クロスヘッド35に対して揺動自在に支持された連結レバー36、前記トグルサポート34に対して揺動自在に取り付けられたトグル作動レバー32、および、前記移動ダイプレート1に対して揺動自在に取り付けられたトグルアーム33から成り、前記トグル作動レバー32と連結レバー36との間、および、トグル作動レバー32とトグルアーム33との間がそれぞれリンク結合されている。これにより、前記移動ダイプレート1が固定ダイプレート23方向に前進して型閉した後、トグル機構Tにおいてトグル駆動装置30による推進力にトグル倍率を乗じた型締力を発生させ、該型締力による型締が行われる。勿論、トグル機構Tを使用することなく、トグル駆動装置30で直接型締することもできる。
移動ダイプレート1には、その四隅にそれぞれタイバー12が挿通されるタイバーガイド孔4が形成されており、それぞれのタイバーガイド孔4には、前方と後方にタイバーブッシュ12aがそれぞれ嵌め込まれ、潤滑剤を介して該タイバーブッシュ12aの内周面がタイバー12に沿って摺動して移動ダイプレート1が往復移動する。
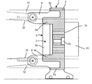
移動ダイプレート1の本体部分で、略矩形の形状を持つ金型取付板2は、金型取付面2aを有しており、この金型取付面2aの中央部分には、例えば、移動金型K1内のキャビティに突出するエジェクタピン(図示せず)が収納されているエジェクタピン駆動装置Eのエジェクタロッドユニット(図示せず)を配設するための貫通孔51が穿設されている。
金型取付板2の厚さは、最低限、移動金型K1が装着するための取付溝2bが凹設され、且つ移動金型K1を保持して変形しない程度で足るが、安全をみてそれよりもやや厚くされている。金型取付板2の背面には、移動金型K1の外形をカバーするとともに、一定の幅Wを有し、その内側が凹設状に凹堀部5となっている略八角形凸畝状のバックサポート部6が設けられている。従って、バックサポート部6に囲まれている部分は略八角形凹設状の凹堀部5が形成されることになる。そしてこの部分にはエジェクタピン駆動装置Eが装着されるようになっている。
バックサポート部6の上・下および両横の凸畝状辺6a〜6dは金型取付板2の上下両側辺に平行に設けられており、凸畝状辺6a〜6dの角部に設けられた傾斜凸畝状辺6e〜6hは本実施例ではやや立った状態(垂直の凸畝状辺6b、6dと成す角度が小さい状態)に形成されている。勿論、移動ダイプレート1の形状に合わせ、バックサポート部6の八角形凸畝状形状はそれに合わせて変形される。したがって、傾斜凸畝状辺6e〜6hは、もっと寝た状態(垂直の凸畝状辺6b、6dと成す角度が大きい状態)にすることもできる。角度としては、垂直の凸畝状辺6b、6dに対して60度〜30度の範囲に設けられる。
そして、この傾斜凸畝状辺6e〜6hに対応する部分に移動金型K1の角部分が位置することになり、水平および垂直の凸畝状辺6a〜6dの部分に金型の上下および両側の辺が位置することになる。勿論、多少のはみ出しは金型取付板2に対して影響が生じない限り許容される。そしてタイバーガイド部3と傾斜凸畝状辺6e〜6hとの間には、両者を接続する補強リブ7がそれぞれ取り付けられている。
前記金型取付板2の背面側上下辺にて上下の水平凸畝状辺6a、6cの外側に平行に辺部補強リブ6i、6jが設けられ、上下の水平凸畝状辺6a、6cを主にして該辺部補強リブ6i、6jにかけてトグルアーム33の軸支用としてのトグルアーム取付部8が後方に突出され、トグルアーム取付部8に掛かる型締力の大半をバックサポート部6が担持できるようになっている。また、本実施例では、トグルアーム取付部8はそれぞれ左右に分かれて形成されているが、単一のものであってもよいし、辺部補強リブ6i、6jを外して上下の水平凸畝状辺6a、6cだけに一体的に設けてもよい。
固定ダイプレート23には、射出スリーブ24を含む溶湯の射出装置Sが装備されている。
次に、本発明装置の動作を説明する。図1に示されるトグル駆動装置30が作動してクロスヘッド35を前進させ、トグル機構Tを作動させる。これにより移動ダイプレート1が前進して移動金型K1が固定金型K2に接合して型閉が行われ、次いで、更なる型締力が作用して型締が行われる。続いて、射出装置Sから溶湯が高圧で射出されて前記金型Kのキャビティ空間に高圧充填され、背圧を掛けつつ溶湯を冷却凝固させ、ダイカスト成形品を成形する。続いてトグル駆動装置30が逆作動してクロスヘッド35を後退させ、移動ダイプレート1を後退させて移動金型K1を固定金型K2から離間させて型開を行い、図示されないエジェクタロッドを前進させてダイカスト成形品を取り出す。以上の動作を繰り返すことによってダイカスト成形品が成形される。
ここで、型締時には、トグル機構Tの上下のトグルアーム33からの推力F1、F2(型締力)が移動ダイプレート1のトグルアーム取付部8に作用するが、この推力(型締力)の大半は、トグルアーム取付部8に一体的に形成されているバックサポート部6の凸畝状辺6a、6cが担持することになり、これに続く他の凸畝状辺6b、6d、6e〜6hがその曲げモーメントを担持し、全体として前記推力F1、F2の大半を担持する。加えて矩形の斜線で示す大から小の移動金型K1の外周の範囲がバックサポート部6の幅Wの格子で示す範囲内に入っているために前記推力F1、F2によって金型取付板2の撓みや変形が回避される。このため、金型取付板2に作用する曲げモーメントが小さくなるので金型取付板2の板厚を厚くしなくても、金型取付板2が撓むことがない。
そしてバックサポート部6は円に近い略八角形状に形成されているため高圧型締力が加わっても捩れることが少なく、圧縮のみならず移動ダイプレート1の捩れなどにも大きな抵抗力を発揮する。
なお、本発明は前記実施の形態に限定されるものではなく、本発明の趣旨に基づいて種々変形させることが可能であり、それらを本発明の範囲から排除するものではない。
本発明の実施例におけるダイカストマシンの平面図 図1の正面図 本発明の実施例における移動ダイプレートの正面図 図3の垂直断面図 図3のX−X断面図 図3のY−Y断面図 図3の断面斜視図 従来例の移動ダイプレートの斜視図 図8の側面図 図8の部分断面図 図9のA−A断面図 図11のB−B断面図
符号の説明
M …ダイカストマシン
K1…金型
W …バックサポート部の幅
T …トグル機構
1 …移動ダイプレート
2 …金型取付板
2a…金型取付面
3 …タイバーガイド部
4 …タイバーガイド孔
5 …凹堀部
6 …バックサポート部
7 …補強リブ
8 …トグルアーム取付部

Claims (2)

  1. (a)金型取付面、およびタイバーが挿通されるタイバーガイド孔の穿設されたタイバーガイド部をその四隅に備える金型取付板と、
    (b)前記金型取付板の背面にて、前記金型取付板に取り付けられた金型の外形をカバーするように設けられ、一定の幅を持ち、その内側が凹設状に凹堀部となっている略八角形凸畝状のバックサポート部と、
    (c)前記バックサポート部に設けられた型締め用トグル機構用のトグルアーム取付部とで構成されたことを特徴とするダイカストマシンの移動ダイプレート。
  2. 前記タイバーガイド部と前記バックサポート部とが補強リブで接続されていることを特徴とする請求項1に記載のダイカストマシンの移動ダイプレート。
JP2008251299A 2008-09-29 2008-09-29 ダイカストマシンの移動ダイプレート Expired - Fee Related JP5555414B2 (ja)

Priority Applications (1)

Application Number Priority Date Filing Date Title
JP2008251299A JP5555414B2 (ja) 2008-09-29 2008-09-29 ダイカストマシンの移動ダイプレート

Applications Claiming Priority (1)

Application Number Priority Date Filing Date Title
JP2008251299A JP5555414B2 (ja) 2008-09-29 2008-09-29 ダイカストマシンの移動ダイプレート

Publications (2)

Publication Number Publication Date
JP2010082630A true JP2010082630A (ja) 2010-04-15
JP5555414B2 JP5555414B2 (ja) 2014-07-23

Family

ID=42247110

Family Applications (1)

Application Number Title Priority Date Filing Date
JP2008251299A Expired - Fee Related JP5555414B2 (ja) 2008-09-29 2008-09-29 ダイカストマシンの移動ダイプレート

Country Status (1)

Country Link
JP (1) JP5555414B2 (ja)

Cited By (5)

* Cited by examiner, † Cited by third party
Publication number Priority date Publication date Assignee Title
CN101983802A (zh) * 2010-11-23 2011-03-09 苏州三基铸造装备股份有限公司 一种新型压铸机动模座板
EP3147097A1 (en) * 2015-09-24 2017-03-29 Sumitomo Heavy Industries, Ltd. Injection molding machine
CN106623849A (zh) * 2016-11-25 2017-05-10 芜湖市容川机电科技股份有限公司 厚件球墨铸铁压铸机模板
CN116568427A (zh) * 2021-03-31 2023-08-08 住友重机械工业株式会社 可动压板
CN116967422A (zh) * 2023-08-07 2023-10-31 安徽永茂泰汽车零部件有限公司 一种汽车零部件近净成型压铸工艺

Citations (2)

* Cited by examiner, † Cited by third party
Publication number Priority date Publication date Assignee Title
JPH0420422U (ja) * 1990-06-08 1992-02-20
JP2003089133A (ja) * 2001-07-13 2003-03-25 Sumitomo Heavy Ind Ltd 射出成形機の可動金型支持装置

Patent Citations (2)

* Cited by examiner, † Cited by third party
Publication number Priority date Publication date Assignee Title
JPH0420422U (ja) * 1990-06-08 1992-02-20
JP2003089133A (ja) * 2001-07-13 2003-03-25 Sumitomo Heavy Ind Ltd 射出成形機の可動金型支持装置

Cited By (5)

* Cited by examiner, † Cited by third party
Publication number Priority date Publication date Assignee Title
CN101983802A (zh) * 2010-11-23 2011-03-09 苏州三基铸造装备股份有限公司 一种新型压铸机动模座板
EP3147097A1 (en) * 2015-09-24 2017-03-29 Sumitomo Heavy Industries, Ltd. Injection molding machine
CN106623849A (zh) * 2016-11-25 2017-05-10 芜湖市容川机电科技股份有限公司 厚件球墨铸铁压铸机模板
CN116568427A (zh) * 2021-03-31 2023-08-08 住友重机械工业株式会社 可动压板
CN116967422A (zh) * 2023-08-07 2023-10-31 安徽永茂泰汽车零部件有限公司 一种汽车零部件近净成型压铸工艺

Also Published As

Publication number Publication date
JP5555414B2 (ja) 2014-07-23

Similar Documents

Publication Publication Date Title
JP5555414B2 (ja) ダイカストマシンの移動ダイプレート
JP4625488B2 (ja) 型盤、型締め装置、射出成形機
US20100109221A1 (en) Jig device
US10710290B2 (en) Mold platen, mold clamping device, injection molding device
JP3655616B2 (ja) 射出成形機
JP2005238831A (ja) 移動金型の支持装置及び型締装置
JP5389779B2 (ja) 金型保持部材及び型締装置
JP3773528B2 (ja) プラスチック成形機、特に射出成形機用の型締め装置
JP2006289738A (ja) 移動ダイの支持装置及び型締装置
JP5554015B2 (ja) 成形用金型
JP6820178B2 (ja) 成形機
JP4335574B2 (ja) 移動ダイの支持装置及び型締装置
JP3910389B2 (ja) 成形機の可動金型支持装置
JP5976567B2 (ja) 射出成形機
CN216325006U (zh) 一种卧式压铸机的局部挤压装置
JP3601326B2 (ja) プレス型
JP6678017B2 (ja) クランプユニットを有する射出成形機
JP3889295B2 (ja) 成形機の型締装置
JPH08267463A (ja) 型締装置の可動盤
JP5976568B2 (ja) 射出成形機
JP6587879B2 (ja) 射出成形機
KR101924029B1 (ko) 다이캐스팅 금형
JP2008529839A (ja) プラスチック加工用射出成形装置
JP7623987B2 (ja) ダイカスト金型
KR100763537B1 (ko) 금형 지지장치, 성형기 및 성형방법

Legal Events

Date Code Title Description
A621 Written request for application examination

Free format text: JAPANESE INTERMEDIATE CODE: A621

Effective date: 20110912

A521 Request for written amendment filed

Free format text: JAPANESE INTERMEDIATE CODE: A523

Effective date: 20120829

A977 Report on retrieval

Free format text: JAPANESE INTERMEDIATE CODE: A971007

Effective date: 20130612

A131 Notification of reasons for refusal

Free format text: JAPANESE INTERMEDIATE CODE: A131

Effective date: 20130618

A521 Request for written amendment filed

Free format text: JAPANESE INTERMEDIATE CODE: A523

Effective date: 20130819

A02 Decision of refusal

Free format text: JAPANESE INTERMEDIATE CODE: A02

Effective date: 20131203

A521 Request for written amendment filed

Free format text: JAPANESE INTERMEDIATE CODE: A523

Effective date: 20140226

A521 Request for written amendment filed

Free format text: JAPANESE INTERMEDIATE CODE: A821

Effective date: 20140228

A911 Transfer to examiner for re-examination before appeal (zenchi)

Free format text: JAPANESE INTERMEDIATE CODE: A911

Effective date: 20140324

TRDD Decision of grant or rejection written
A01 Written decision to grant a patent or to grant a registration (utility model)

Free format text: JAPANESE INTERMEDIATE CODE: A01

Effective date: 20140507

A61 First payment of annual fees (during grant procedure)

Free format text: JAPANESE INTERMEDIATE CODE: A61

Effective date: 20140602

R150 Certificate of patent or registration of utility model

Ref document number: 5555414

Country of ref document: JP

Free format text: JAPANESE INTERMEDIATE CODE: R150

LAPS Cancellation because of no payment of annual fees