JP2010082251A - 遊技機 - Google Patents

遊技機 Download PDF

Info

Publication number
JP2010082251A
JP2010082251A JP2008255469A JP2008255469A JP2010082251A JP 2010082251 A JP2010082251 A JP 2010082251A JP 2008255469 A JP2008255469 A JP 2008255469A JP 2008255469 A JP2008255469 A JP 2008255469A JP 2010082251 A JP2010082251 A JP 2010082251A
Authority
JP
Japan
Prior art keywords
frame
back body
gaming machine
back plate
board
Prior art date
Legal status (The legal status is an assumption and is not a legal conclusion. Google has not performed a legal analysis and makes no representation as to the accuracy of the status listed.)
Granted
Application number
JP2008255469A
Other languages
English (en)
Other versions
JP5152763B2 (ja
Inventor
Norio Mori
教郎 森
Current Assignee (The listed assignees may be inaccurate. Google has not performed a legal analysis and makes no representation or warranty as to the accuracy of the list.)
Sammy Corp
Original Assignee
Sammy Corp
Priority date (The priority date is an assumption and is not a legal conclusion. Google has not performed a legal analysis and makes no representation as to the accuracy of the date listed.)
Filing date
Publication date
Application filed by Sammy Corp filed Critical Sammy Corp
Priority to JP2008255469A priority Critical patent/JP5152763B2/ja
Publication of JP2010082251A publication Critical patent/JP2010082251A/ja
Application granted granted Critical
Publication of JP5152763B2 publication Critical patent/JP5152763B2/ja
Expired - Fee Related legal-status Critical Current
Anticipated expiration legal-status Critical

Links

Images

Landscapes

  • Pinball Game Machines (AREA)

Abstract

【課題】遊技機の背面側に背面体が設置される場合であっても、その背面体を大きく前方に開放することができて遊技機の背面側へのアクセス性を向上させることができると共に、遊技機内部に配置された基板に対する不正行為を有効に防止し得る遊技機を提供すること。
【解決手段】このパチンコ機52は、筐体枠53と、筐体枠53の側縁揺動支持位置において揺動支持された機枠と、筐体枠53の後方に配置され、内側揺動支持位置で筐体枠53に前面開閉可能に揺動支持される背面板55と、背面体55の前面56側に着脱可能に取り付けられる基板ケース57とを有し、背面体55には、係止孔55aが形成され、基板ケース57には、フック部61が形成され、背面体55の前面56側からの操作に基づき、背面体55への基板ケース57の取付けが可能とされると共に背面体55からの基板ケース57の取外しが不可能とされている。
【選択図】図7

Description

本発明は、遊技機に係り、特に、遊技機の周囲を囲む筐体枠の背面を実質的に閉鎖する背面体と、筐体枠に対して前面開閉可能に揺動支持された機枠とを有する遊技機に関する。
パチンコ機等の遊技機では、弾出された遊技媒体(以下、球という。)が遊技盤面上を流下して、その流下の過程で球が遊技盤面上のゲージ(釘ともいう。)や羽根車に衝突しつつ転回して流下方向が変化する。その結果、遊技盤面上に配置された各種入賞口に球が入賞すれば所定の景品球払出しがされ、一方いずれの入賞口にも入賞せずアウト口に球が流入すれば景品球払出しはされない。遊技者は、弾球における自らの技量を発揮して、又は球の流下における偶然性を利用しつつ球の入賞及び景品球払出しを期待し、遊技を楽しむことができる。
従来、このようなパチンコ機は筐体枠によって周囲が囲まれ、その筐体枠内部に収容されるように遊技盤が配置されている。そしてその遊技盤は、筐体枠に対して前面開閉可能に揺動支持された機枠に保持されており、その機枠や遊技盤の裏側に様々な球経路や各種機構部品、回路基板等が取り付けられている。
つまり、遊技を構成し演出する重要な部品である球経路、景品球払出装置や入賞球処理装置等の各種機構部品、それら各種機構部品の動作を制御するための払出制御基板、図柄表示装置等の演出動作を制御するための遊技制御基板や図柄制御基板等が、前方を遊技盤や機枠によって、上下方及び左右側方を筐体枠によって覆われるように構成されている。
しかしながら、パチンコ機の後方、すなわち背面側は覆われておらず、上記の重要部品が略剥き出しの状態となっている。したがって、パチンコ機の背面側は不正アクセスに対して無防備であり、ここから重要部品に対して不正が行われる虞があった。
そこで近年、背面側を背面体(以下、背面板という。)によって覆うことにより、背面側からの重要部品に対する不正アクセスを防止可能なパチンコ機も提案されている。これによれば、パチンコ機の背面が実質的に閉鎖されるので、例えば、隣接するパチンコ機どうしの隙間から背面側にピアノ線を挿入して行う不正遊技等も防止することができる(例えば、特許文献1参照。)。
また、背面側を背面板で覆った上で、筐体枠の内部(内壁)に着脱可能に基板及び基板ケースを取り付ける構成も開示されている(例えば、特許文献2参照。)これによれば、メンテナンスの容易化や正面扉への負荷軽減等を図ることができるとされている。
特開2004−105572号公報 特開2002−200292号公報
ところで、遊技機が備えられる一般的な遊技機島の内部には、球の供給施設や紙幣の搬送設備などが配置されており、これらのメンテナンスを行うために筐体枠を介して遊技機裏側へとアクセスする必要がある。
しかしながら、遊技機の背面側を背面板で覆った場合には、背面板の存在によって遊技機の背面にアクセスすることが困難となり、島内部のメンテナンス作業が煩雑になるという問題があった。
また、上記特許文献2に開示の構成によれば、パチンコ機の正面扉を開くとすぐに基板ケースに到達することができ、しかもその基板ケースを筐体枠から簡単に取り外すことができてしまう。そのため、不正行為者が筐体枠から基板ケースごと基板を取り外し、基板に不正な改造を加えたり基板自体を不正な基板に交換してしまう、という不正行為が比較的容易に行われてしまうという問題がある。
パチンコ機内部には、画像制御基板、電源制御基板等、様々な種類の基板が収容されている。その中には、パチンコ機における遊技全体を制御する遊技制御基板(主基板ともいう)もあるが、この主基板に対して不正改造や不正交換が行われてしまうと、不正行為者に不足の利益が供給され、遊技店(パチンコホール)が不測の不利益を被る虞がある。
本発明は、上記の事情に鑑みて為されたもので、遊技機の背面側に背面体が設置される場合であっても、その背面体を大きく前方に開放することができて遊技機の背面側へのアクセス性を向上させることができると共に、遊技機内部に配置された基板に対する不正行為を有効に防止し得る遊技機を提供することを例示的課題とする。
上記の課題を解決するために、本発明の例示的側面としての遊技機は、遊技機の周囲を囲む第1枠体と、第1枠体の一側縁における側縁揺動支持位置において前面開閉可能に揺動支持された第2枠体と、第1枠体の後方に配置されて遊技機の背面を実質的に閉鎖すると共に、側縁揺動支持位置よりも後方であって、かつ、側縁揺動支持位置よりも遊技機の内側の位置を内側揺動支持位置として、第1枠体に前面開閉可能に揺動支持される背面体と、背面体の前面側に着脱可能に取り付けられる基板ケースと、を有する遊技機であって、背面体には、基板ケースを取り付けるための取付け部が形成され、基板ケースには、取付け部に基板ケースを取り付けるための被取付け部が形成され、背面体の前面側からの操作に基づき、背面体への基板ケースの取付けが可能とされると共に背面体からの基板ケースの取外しが不可能とされることを特徴とする。
本発明に係遊技機では、背面体が第1枠体(例えば、筐体枠。)に対して前面開閉可能に揺動支持されるので、背面体を前面方向に開放させることによって、遊技機の背面体よりも更に後方側へのアクセスを容易に行うことができる。このため、遊技機の最背面に配置される背面体により遊技機の背面側からの不正アクセスの抑制と、球の供給施設や紙幣の搬送設備等のメンテナンス性の向上との両立を実現することができる。
背面体の揺動支持位置(内側揺動支持位置)が第2枠体(例えば、機枠。)の揺動支持位置(側縁揺動支持位置)よりも後方に配置されているため、背面体の左右方向(すなわち、遊技機の幅方向。)の寸法を大きくすることができ、結果として背面体の面積を拡大することができて設計上の自由度やスペース効率が増大する。
第2枠体の側縁揺動支持位置が、第2枠体より前方か又は前後方向における第1枠体内に位置する場合において、背面体の内側揺動支持位置が第2枠体の側縁揺動支持位置と一致又はそれより前方にあると、背面体の前方開放の際にその回転軌跡が外方へと大きく膨らみ、第1枠体の内壁と干渉してしまう虞がある。
しかしながら、本発明においては背面体の内側揺動支持位置が第2枠体の側縁揺動支持位置よりも後方に配置されているため、換言すれば、背面体の内側揺動支持位置が実質的に第1枠体よりも後方に配置されているため、背面体の回転軌跡が外方へと大きく膨らまない。したがって、背面体の左右方向寸法を第1枠体の内壁寸法いっぱいまで大きくしても、その開閉時に第1枠体内壁に干渉する虞が殆どない。結果として、背面体の左右方向寸法を大きくしてその面積を拡大しても、開閉動作を円滑に行うことができる。
更に、背面体の内側揺動支持位置を、第2枠体の側縁揺動支持位置よりも遊技機の内側に配設することによって、第2枠体及び背面体の開放時に、背面体を大きく開放することができ、その後方へのアクセス性を一層向上させることができる。
背面体を開放する際には、事前に第2枠体を開放しておく必要がある。その第2枠体の開放時において、背面体の内側揺動支持位置が第2枠体の側縁揺動支持位置よりも外側に配置されている場合には、背面体の開放角度を大きく取ることができない。しかし、本発明によれば、背面体の内側揺動支持位置が第2枠体の側縁揺動支持位置よりも内側に配置されているので、外側に配置されている場合に比較して、第2枠体の開放角度が同じ場合に背面体の開放角度を大きく取ることができる。
結果として、開放時における第2枠体の背面側と背面体の前面側との干渉の可能性を低減することができる。それにより、背面体の開放角度を大きく取ることができてその後方へのアクセス性を向上させたり、第2枠体の後面側(背面側、又は裏面側ともいう。)、背面体の前面側への部品配置やその大きさの自由度を増大させることができる。
特に、第2枠体の背面側や背面体の前面側には、景品球払出装置や入賞球処理装置等の各種機構部品、それら各種機構部品の動作を制御するための主基板(遊技制御基板)、図柄制御基板、電源基板等が設けられることが多い。このため、第2枠体と背面体との開放時の干渉によるこれらの機構部品や制御基板等の破損の可能性を低減することができる。
更に、背面体の揺動支持位置を、第2枠体の揺動支持位置よりも遊技機内側の位置に配設することによって、背面体の可動範囲を第2枠体の可動範囲よりもコンパクトにすることができる。このため、第2枠体が開放した状態における背面体の回動動作を容易にすることができ、島内部のメンテナンス時における背面体の取扱い負担を軽減することが可能となる。
また、背面体に基板ケースを取り付けるための取付け部が形成され、基板ケースには取付け部に取り付けるための被取付け部が形成され、背面体の前面側からの操作に基づき基板ケースの取付けが可能とされている。したがって、基板ケースの背面体前面側への取付けを簡単な手順で行うことができ、例えば遊技機を工場で組み立てる際の組立て性を向上させたり遊技機のメンテナンス性を向上させたりすることができる。
また、背面体の前面側からの操作に基づく基板ケースの背面体からの取外しは不可能とされているので、例えば、遊技機前面側、すなわち通常使用状態において遊技者がいる側から基板ケースを背面体から取り外すことができないようになっている。したがって、パチンコホール等における不正行為者による基板ケースの取外しを防止することができ、基板ケース内の基板への不正行為を防止することができる。
なお、基板ケース内には、例えば主基板、画像制御基板、電源制御基板等の電子基板が配置されており、それらの基板は一般に基板ケース内に封印されている。したがって、基板ケースを背面板に残したまま、基板だけを基板ケースから取り出すことも不可能又は非常に困難とされている。
ここで、遊技媒体とは、例えばパチンコ機等の遊技機においては、その遊技に用いられる球を意味し、遊技装置体とは、その球が流下するための遊技盤等が該当する。また、「前面」とは遊技装置体がパチンコ機等の遊技機に設置された際に、遊技者側に向いた面であり、前方は遊技盤面から遊技者に向かう方向、すなわち遊技盤裏面から表面に向かう方向を意味する。「背面」はその反対に遊技機の裏側の面であり、後方は遊技盤表面から裏面に向かう方向を意味している。左右方向は、遊技者から遊技機を見たときの幅方向における左右を意味する。更に、「内側」とは第1枠体の中央に向かう方向を示している。
背面体へ基板ケースを取り付けた状態において、取付け部及び被取付け部が、背面体の前面側から見て基板ケースにより遮蔽される位置であってもよい。
取付け部及び被取付け部の位置が、背面体に基板ケースを取り付けた状態において前面側から見たときに基板ケースによって遮蔽され、遊技者や不正行為者から視認できない位置とされている。したがって、不正行為者は基板ケースの取付け部の位置を把握することができず、本発明はより一層基板ケースの不正な取外し行為を有効に防止している。
また、基板ケースにより視覚的に遮蔽されるのみならず、取付け部や被取付け部への前面側からの接触も遮蔽されていれば、更に一層不正防止効果を向上させることができる。例えば、基板ケースと背面体の前面とが略密着状態となるように基板ケースが取り付けられれば、基板ケースと背面体前面との隙間が殆どない状態となり、視覚的に遮蔽されるのみならず取付け部等へ不正にアクセスしようとするピアノ線等の異物も遮蔽される。
背面体の後面側からの操作に基づき、背面体からの基板ケースの取外しが可能とされてもよい。
背面体の後面側からの操作に基づき、背面体からの基板ケースの取外しが可能とされているので、基板や背面体のメンテナンス時に、簡単に基板ケースを背面体から取り外すことができる。前面側からの取外しが不可能とされて、前面側からの不正行為が防止されると共に、後面側からの取外しが可能とされてメンテナンス性の向上が図られているので、不正防止と利便性向上が両立している。なお、基板ケースを取り外す際には、ホール員(パチンコホールの店員)等により背面体と筐体枠とのロックが解除されて背面体が前方に開放され、背面対向面側から取外し操作が行われる。
取付け部が係止孔であり、かつ被取付け部が係止孔に係合可能なフック部であってもよい。
フック部と係止孔との係合により、背面体への基板ケースの取付けが行われるので、ドライバーその他の工具を別途必要とすることなく、簡単に取付けを行うことができる。また、フック部を係止孔から解除することによる基板ケースの取外しの際にも、別途工具を必要としないので、メンテナンス作業の煩雑さを解消することができる。
内側揺動支持位置が、背面体の前面側かつ側縁近傍に配置されていてもよい。
背面体の揺動支持位置が前面側に配置されているので、背面体を略90°に前方開放しても背面体の一部が揺動支持位置より遊技機外側へ突出することがない。したがって、第1枠体のすぐ外側に遊技機島用の柱部材等が設置されている場合でも、それに干渉することなく背面体を大きく開放することができる。
また、背面体の揺動支持位置がその側縁近傍に配置されているので、背面体の前方開放時に実質的に背面体全体が前方へと回転移動し、その一部が後方へと回転移動することがない。したがって、背面体の後方に遊技機島の設置用柱部材等があっても、背面体の開閉動作による干渉を生じることがない。
遊技機が、第1枠体と開放状態における背面体との為す角が所定角度より大きくなるのを不可能又は困難とする角度規制構造を有してもよい。
角度規制構造が、第1枠体と背面体との為す角が所定角度より大きくなるのを不可能又は困難とするので、背面体が不用意かつ必要以上に前方開放してしまうのを防止することができる。その結果、背面体とその前方に位置する第2枠体との不用意な干渉を防止することができる。背面体の前面側と第2枠体の後面側との干渉(衝突)を回避することができるので、背面体、第2枠体又はそれらに取り付けられている構造部品(例えば、映像表示装置や基板ケース等)の破損や汚れを防止することができる。
また、角度規制構造が、第1枠体と開放状態における背面体との為す角が所定角度未満となるのを困難とする機能を更に有していれば、例えば、その為す角を所定角度に停止保持することができ、背面体が不用意に閉鎖方向に移動することも防止できる。メンテナンス作業中の作業員の手を不用意に挟んでしまったりすることが有効に予防できる。
本発明の更なる目的又はその他の特徴は、以下添付図面を参照して説明される好ましい実施の形態によって明らかにされるであろう。
本発明によれば、第1枠体に背面体を設けることによって遊技機に対する不正遊技等を防止することができる。更に、第1枠体に対して背面体を前方に大きく開放させることができるので、遊技機の前面側から背面体の後方へのアクセスを容易とすることができ、遊技機が設置される島内部のメンテナンス性を向上させることが可能となる。
また、背面体の前面側に取り付けた基板ケースが、前面側から取外し不可能とされるので、基板ケースを不正に取り外す不正行為を有効に防止することができる。更に、基板ケースが背面体の後面側から取外し可能とされていれば、有効な不正防止効果とメンテナンス性向上とを両立させることができる。
[実施の形態1]
以下、本発明の実施の形態1について図面を用いて説明する。図1は、本発明の実施の形態1に係る遊技機としてのパチンコ機2の外観を示す外観斜視図である。パチンコ機2は、筐体枠(第1枠体)3、機枠(第2枠体)4、背面板(背面体)5、遊技盤ユニット(遊技装置体)6、前面ガラス(前面透明板)7、装飾枠8、球発射ユニット(発射ユニット、図示せず。)、上皿9を有して概略構成されている。
パチンコ機2は、組合せ式パチンコ機、封入循環式パチンコ機等を含む。また、遊技機としてはパチンコ機の他に、遊技媒体としてコインを使用するパチンコ式スロットマシン機やスロットマシン、各種ゲーム機やアーケードマシン等が概念できる。
筐体枠3は、このパチンコ機2の周囲を囲むための枠体であり、平面視略長方形に構成されている。材料としては、木材が用いられることが多いが、他に樹脂やアルミ等の金属が用いられることもある。筐体枠3は、パチンコ機2の上下面及び左右側面を囲い、前面(すなわち、遊技者側。)から見て左側面側には機枠4及び装飾枠8を揺動支持するためのヒンジ部11が設けられている。また、筐体枠の背面側(すなわち、パチンコ機2の裏面側、遊技機島側。)であって、前面(正面)から見て左側面側には背面板5を揺動支持するためのヒンジ部12(図2、図4参照)が形成されている。
機枠4は、遊技盤ユニット6を保持するための枠体であり、その中央近傍に遊技盤ユニット6を取り付けるための取付け開口が形成されている。取付け開口の周囲に遊技盤ユニット6を着脱可能に取り付けるための取付け部を有し、機枠4は遊技盤ユニット6の周囲を囲むように構成されている。その機枠4は、筐体枠3の前面側に配置されてヒンジ部11において筐体枠3に軸支され、図2に示すように、筐体枠3に対して前面開閉可能に揺動支持されている。機枠4は、樹脂又は金属によって形成され、その裏面側には裏機構盤(図示せず。)が配置される。その裏機構盤には、入賞球を計数して排出処理する入賞球処理装置(図示せず。)、景品球を計数して払い出す景品球払出し装置(図示せず。)等が配置されている。
背面板5は、筐体枠3の後方を略密閉し、パチンコ機2の背面を実質的に閉鎖する板状部材である。背面板5の設置により、パチンコ機2の背面側から行われ得る不正アクセスを効果的に防止することができるようになっている。
背面板5は、前面側が開放された箱体形状を呈しており、前面側内部には、画像制御基板15、パチンコ機2全体の制御を行うための主基板(遊技制御基板)16、電源基板17等が収納されている。背面板5は、正面から見て左側前端部において、ヒンジ部12によって筐体枠3に揺動支持されている。このヒンジ部12を揺動軸として背面板5を回転移動させることによって、図3に示すように、背面板5を筐体枠3の開放開口3aを案内して前面側へと回転させることが可能となっている。
図4は、筐体枠3に対して機枠4と筐体枠3とが揺動支持されたパチンコ機2の平面拡大図である。機枠4は、筐体枠3の前面側に設けられるヒンジ部11の軸G1を揺動支持位置(側縁揺動支持位置)として、図2に示すように、前面開閉可能な構造となっている。ヒンジ部11の軸G1は、図4に示すように、筐体枠3の左端部であって、筐体枠3の少し前方位置に配設され、機枠4の一側縁近傍に位置している。
一方で、背面板5は、筐体枠3の背面側に設けられるヒンジ部12の軸G2を揺動支持位置(内側揺動支持位置)として、図3に示すように、前面開閉可能な構造となっている。ヒンジ部12の軸G2は、図4に示すように、断面Γ状に形成されるヒンジ支持部12aの端部に形成されており、ヒンジ部11の配設位置よりも筐体枠3の背面側であって、さらに、距離L1だけ筐体枠3の内側寄り(正面視で右側寄り、筐体枠の中央方向寄り。)の位置に配設されている。そして、この軸G2の配設位置は、背面板5の側縁近傍に相当している。
一般的なパチンコ機では、機枠のヒンジ部の軸が、筐体枠より前方か又は前後方向において筐体枠内に位置している。したがって、背面板5の軸G2が機枠4の軸G1の位置と一致又はそれより前方にあると、背面板5の前方開放の際にその回転軌跡が外方(すなわち、筐体枠3の幅方向外側であって正面視右側に向かう方向。)に膨らんでしまい、筐体枠3の内壁と干渉する虞がある。
しかしながら、本実施の形態1に示すパチンコ機2では、背面板5の軸G2の位置が機枠4の軸G1の位置よりも後方に配置されているため、換言すれば、背面板5の揺動支持位置が実質的に筐体枠3よりも後方に配置されているため、背面板5の反対側縁5aの回転軌跡が背面板5の開放動作に伴って外方に大きく膨らむことがなく、結果として背面板5の左右寸法を大きくとってもその反対側縁5aと筐体枠3の他側縁内壁3bとの干渉を容易に防止することができる(図5参照)。したがって、背面板5の左右方向寸法を大きくとって配置スペースの自由度を増大しつつ、背面板5の円滑な開閉を実現することができる。
さらに、背面板5の軸G2を、機枠4の軸G1よりもパチンコ機2の内側位置に配設することによって、機枠4及び背面板5の開放時に、背面板5を大きく開放することができ、その後方へのアクセス性を一層向上させることができる。
背面板5を開放する際には、事前に機枠4を開放しておく必要がある。その機枠4の開放時において、背面板5の軸G2の位置が機枠4の軸G1の位置よりも外側に配置されている場合には背面板5の開放角度を大きく取ることができない。しかし、本実施の形態1に示すパチンコ機2によれば、背面板5の軸G2の位置が機枠4の軸G1の位置よりも内側に配置されているので、外側に配置されている場合に比較して、機枠4の開放角度が同じ場合に背面板5の開放角度を大きく取ることができる。
図5は、筐体枠3に対して機枠4を前面側に全開させ、更に背面板5を前方に略90度回転移動させた状態を示している。機枠4の軸G1に比べて背面板5の軸G2は距離L1だけ筐体枠3の内側に配設されており、この配設位置の違いによって背面板5の開放角度を従来よりも大きく取ることができる。
また、結果として、開放時における機枠4の背面側と背面板5の前面側との干渉の可能性を低減することができる。特に、機枠4の背面側には裏機構盤(図示せず。)等が配置され、背面板5の前面側には、主基板16や電源基板17等が設けられるため、これらの設置機器が接触して破損・故障等が生じることを防止でき、さらに、部品配置やその大きさの自由度を増大させることが可能となる。
さらに、背面板5は、背面板5を正面から見て左側前端部(背面体の前面側かつ側縁近傍。)において、ヒンジ部12によって筐体枠3に揺動支持されているため、背面板5の左方には、図4に示すように、筐体枠3の左端部から距離L2の空間が確保されている。
パチンコ機2がパチンコホールに設置される場合、パチンコ機2が設置される遊技機島の設置用の柱部材が、隣接するパチンコ機2との間の位置18に存在する場合がある(図4中の破線参照。)。しかしながら、本実施の形態1に示すパチンコ機2では、筐体枠3の左方に距離L2の空間が確保されるので、この位置18に柱部材があってもこのパチンコ機2を問題なく設置することができる。
また、柱部材が位置18a(図4中の2点鎖線参照。)に存在する場合もあるが、この実施の形態1においては、ヒンジ支持部12aが断面Γ状となっていて位置18aを回避している上に、背面板5のヒンジ部12の軸G2が、背面板5の前面側に配置されているので、背面板を大きく略90°に開放しても背面板5の一部がヒンジ支持部12aに干渉することがない。つまり、柱部材を位置18に設置しても位置18aに設置しても、背面板5を充分に大きく前方開放することができるようになっている。
また、背面板5の軸G2の位置がその側縁近傍に配置されているので、背面板5の前方開放時に実質的に背面板5全体が前方へと回転移動し、その一部が後方へと回転移動することがない。したがって、背面板5の後方に遊技機島用の柱部材等が位置18,18aにあっても、背面板5の開閉動作による干渉を生じることがない。
遊技盤ユニット6は、遊技盤20、レール飾り21、図柄表示装置22を有してユニット構成されている。遊技盤20の前面には、遊技媒体としての球24の流下によって遊技を実現する遊技盤面20aが形成されている。遊技盤面20aには、略円形状に周囲を囲むようにレール飾り21が取り付けられており、このレール飾り21の内側面21aが遊技盤面20aに対して立設することにより遊技領域6bが画定されている。
遊技盤20の遊技領域6bには、多数のゲージ(釘)25、羽根車26、入賞口28、始動入賞口29、大入賞口30、アウト口31、図柄表示装置22等が配置されている。ここで、ゲージ25とは、球24の流下方向を変化させたり球24を誘導するために、遊技領域6b内に植設される釘のことをいう。また、連続的又は集合的に配置される一連の釘の配列をゲージという場合もある。
ゲージ25や羽根車26は、流下してきた球24に衝突して球24の流下方向を変化させるためのものである。入賞口28は、球24の入賞に基づいて所定個数の景品球を払い出すための入賞口である。なお、遊技領域6bには、払出し景品球数が入賞口28の場合と異なる特定入賞口が配置される場合もある。また、球24の入賞し易さを可変とするために、入賞開口を狭めたり広げたりする電動開閉羽根が設けられた電動入賞口が設けられる場合もある。始動入賞口29は、入賞口28の一種ではあるが、球24の入賞に基づき図柄表示装置22の図柄回転を開始させる機能を有している。
大入賞口30は、開閉扉30aによって開閉可能な入賞口である。図柄表示装置22が所定の態様、例えば「7・7・7」等の態様で停止表示した場合に、開閉扉30aが開放して多量の球24が入賞する。そして、それに伴い多量の景品球が払い出されるようになっている。アウト口31は、いずれの入賞口28,29,30にも入賞せず、遊技領域6bの最下端まで流下した球を流入させてパチンコ機2の外部へと排出するためのもので、遊技領域6bの略最下端に配置されている。
図柄表示装置22は、センター飾り22aと液晶表示装置(映像表示装置)22bとを有している。センター飾り22aは、キャラクター等の造形が施された樹脂成形部品で構成されており、遊技領域6b内における遊技を装飾的に演出するためのものである。液晶表示装置22bは、センター飾り22aの中央部分に設けられており、センター飾り22aに設けられたキャラクター等によって液晶表示装置22bの画面周囲が装飾的に囲まれた構造となっている。
液晶表示装置22bは、3桁の数字を変動表示する表示図柄22cとアニメキャラクターによるストーリー表示等の演出表示を行う演出映像22dとを表示するためのものである。その表示図柄22cの変動表示は、球24の動作に基づいて行われる。すなわち、始動入賞口29への球の入賞、又は遊技領域6bに形成された図示しない始動口や始動ゲートへの球の通過等に基づき、表示図柄22cが変動表示されるようになっている。そして、3桁の数字が所定の態様(例えば、当たりに相当する「7・7・7」。)で停止すると、開閉扉30aが開放し、多量の球24が大入賞口30へと入賞するように構成されている。
図示しない球発射装置により球24が遊技領域6b内の上部に向けて発射されると、球24がゲージ25に衝突してその流下方向を変えつつ遊技領域6b内を流下するようになっている。その流下の途中で、あるものは入賞口28に入賞して景品球払出しの契機となり、あるものは始動入賞口29に入賞して図柄表示装置22による図柄変動遊技開始の契機となり、また、あるものはいずれの入賞口28等にも入賞せずにアウト口31からパチンコ機2の外部へと排出される。このように、遊技盤20上を球24が流下する際に、様々な遊技が実現されるようになっている。
なお、本実施の形態1においては、アウト口31の直上に大入賞口30が形成されているが、大入賞口30の形成位置はこれに限定されず、遊技領域6b内のいずれの箇所に形成されていてもよい。また、遊技領域6b内に大入賞口30を形成しなくともよい。
前面ガラス7は、遊技盤20に対して一定距離以上離間して配置された透明板である。前面ガラス7は透明平板ガラスで形成され、遊技盤20との間に球24が流下する流下空間を形成する機能、遊技者が前面ガラス7を通して遊技盤20を視認できるように視認性を確保する機能、遊技者が遊技盤20に不正にアクセス(接触)できないように不正アクセスを防止する機能を発揮する。
前面透明板としてはガラス素材の前面ガラス7の他に、透明アクリル等の樹脂材料を使用するものであってもよい。また、本実施の形態1においては、前面ガラス7が装飾枠8に保持されるが、前面ガラス7が遊技盤20の前面に取り付けられて、遊技盤20と共に機枠4に保持されるように構成されていてもよい。
装飾枠8は、前面ガラス7又はその周囲を囲む装飾部材36を保持するための枠体である。本実施の形態1において、装飾枠8は、前面ガラス7及び装飾部材36の両方を保持している。その装飾枠8は、機枠4の前面側に配置されてヒンジ部11において機枠4と共に筐体枠3に揺動支持され、機枠4に対して前面開閉可能な構造となっている。
装飾枠8は樹脂又は金属によって形成され、その中央部に遊技者が遊技盤20を視認するための透視孔が形成されており、その透視孔を覆うように前面ガラス7が取り付けられている。その前面ガラス7の周囲には、パチンコ機2を装飾するための造形・色彩・ランプが付された装飾部材36が取り付けられ、パチンコ機2の遊技演出に寄与している。
なお、本実施の形態1では、筐体枠3に設けられたヒンジ部11に機枠4及び装飾枠8の両方が揺動支持される構成となっている。しかしながら、機枠4と装飾枠8とがそれぞれ異なるヒンジ部によって揺動支持されていてもよい。例えば、筐体枠3に機枠4を揺動支持するヒンジ部が設けられ、機枠4に装飾枠8を揺動支持する別のヒンジ部が設けられていてもよい。
図示しない球発射ユニットは、球供給装置によって上皿9から発射位置に送り込まれた球24を遊技領域6bの上部に向けて発射(弾球)するためのものである。遊技者は発射ユニットを構成するハンドル10を手で操作することによって、球発射装置による弾球強度を調整する。球発射装置は、例えば発射位置に送り出された球24を遊技領域6bに向けて弾球する発射杆、その発射杆を駆動して弾球往復動を行わせる発射モータ、発射杆を付勢して弾球のための力を発生させる発射バネ等を有してユニット構成され、機枠4に取り付けられている。遊技者は、略円筒形状を呈するハンドル10を手で保持しつつ、円筒周面に沿って強度調整杆10aを回転させることにより、球24の発射強度を調整することが可能となっている。
上皿9は、球24を球発射装置に導くべく貯留するためのもので、下皿9aと共に遊技者の持ち球を貯留する機能を有する。上皿9は、パチンコ機2の前面であって遊技盤20の下方、すなわち装飾枠8の下方部分に配置され、下皿9aは、その上皿9の更に下方に配置されている。本実施の形態1においては、上皿9と下皿9aとを別々に構成しているが、もちろん上皿9と下皿9aとが一体となって1つの球皿が構成されていてもよい。
上皿9は、景品球としてパチンコ機2から払い出された球24を受け取る機能や、その球24を球供給装置(図示せず。)を介して球発射装置に導くべく貯留する機能を有している。遊技終了時には、遊技者が球排出ボタン9bを操作することにより、球24を上皿9から下皿9aへと排出することができるようになっている。
なお、本実施の形態1においては、遊技機としてのパチンコ機2について説明したが、もちろん上述のように、遊技機としてはパチスロ機やスロットマシン、各種ゲーム機やアーケードマシン等が概念できる。ここで、パチスロ機やスロットマシンの場合は、コインが遊技媒体に相当し、回胴体が遊技装置体に相当する。そしてその場合、遊技装置体は筐体枠(第1枠体)内に備えられ、その前面に第2枠体としての前面枠(上記実施の形態1における装飾枠に相当。)が開閉可能に揺動支持されることとなる。
[実施の形態2]
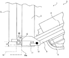
図6は、本発明の実施の形態2に係るパチンコ機52を前方から斜視した外観斜視図であり、図7は、パチンコ機52を後方から斜視した外観斜視図である。図6においては、パチンコ機52内部の説明容易のため、装飾枠、前面ガラス、機枠、遊技盤ユニット等、筐体枠53の前方に配置される構成部品の図示を省略しており、筐体枠53及び背面板55のみを斜め前方から斜視している。なお、本実施の形態2においても、上記実施の形態1と同様に、機枠が筐体枠53に対して側縁揺動支持位置で揺動支持されており、背面板55が筐体枠53に対して内側揺動支持位置で揺動支持されている。そして、機枠及び背面板55共に、筐体枠53に対して前面開閉可能とされているが、これらの構成については実施の形態1と略同様であるので、説明を省略する。
背面板55の前面56には、液晶表示装置70が取り付けられており、その下方には、基板ケース57〜59が取り付けられている。また、基板ケース58の前面側には、基板ケース58と前後に積層されるように基板ケース60が取り付けられている。これらの各基板ケース57〜60の内部には、各々遊技制御基板としての主基板、液晶表示装置70に遊技演出のための映像を表示させる画像制御基板、景品球払出しの制御を行う払出し制御基板、電源の制御及び管理を行う電源制御基板等が各々封印されている。なお、本実施の形態2においては、基板ケース57についてのみ例示的に説明するが、もちろんこの実施の形態2において説明する発明の技術思想は他の基板ケース58〜60にも適用することができる。
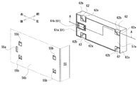
図8は、基板ケース57と背面板55との取付け状態を説明するための分解斜視図であって、前方から斜視したものである。図9は、図8と同様の分解斜視図であって、後方から斜視したものである。なお、この図8及び図9においては、説明の容易のため、基板ケース57及び背面板55のみを図示している。
背面板55には、係止孔(取付け部)55aと4つのガイド部55bとが形成されている。係止孔55aは背面板55の前面56から後面56bへと貫通する貫通孔であり、後述する基板ケース57のフック部(被取付け部)61が係合される孔である。係止孔55aは、前面56に基板ケース57が取り付けられた際に、基板ケース57の取付け面57aによって覆われる位置に配置されており、その取付け状態においては、基板ケース57に遮蔽されて前方から係止孔55aが見えないようになっている。また、基板ケース57の取付け状態においては、取付け面57aと背面板55の前面56とが略密着状態となり、両面の隙間から異物が係止孔55aに到達できないようになっている。
ガイド部55bは、前面56前方に起立してL字状に屈曲した部分であり、本実施の形態2においては、背面板55の一部を切り起こしてガイド部55bを形成している。起立部分と屈曲部分とがガイドレールとして機能し、基板ケース57の前面56への取付けを補助するようになっている。4つのガイド部55bは、略直方体形状とされた基板ケース57の四角に対応する位置に形成され、これらも基板ケース57が前面56に取り付けられると取付け面57aによって遮蔽される位置に配置されている。
基板ケース57の取付け面57aには、フック部61と4つのガイド片62とが配置されている。図10に、図8にA−Aで示す断面で切断した基板ケース57の側方断面図を示す。フック部61は、例えばプラスチック、金属等により形成されており、その基部61aが前後方向に弾性を有するように構成されている。本実施の形態2においては、フック部61は別部品で構成され、基板ケース57に取り付けられている。その基部61aの先端部分には、鉤状部61bが形成されており、この鉤状部61bが係止孔55aに係合することにより基板ケース57が前面56へ取り付けられるようになっている。鉤状部61bの先端部分は、取付け面57aから突出するように配置されている。
ガイド片62は、ガイド部55bに各々対応する4箇所に配置された平板部分である。ガイド片の62の周囲には凹部62aが形成されている。ガイド部55bがこの凹部に62aに入り込み、ガイド部55bが構成するガイドレール部分にガイド片62が嵌入することにより、基板ケース57と背面板55との前後方向における取外しが規制される。
具体的には、基板ケース57の取付け面57aを背面板55の前面56へ向けて、ガイド片62がガイド部55bよりも右側に位置するように基板ケース57を前面56へと当接させる。このとき、フック部61も係止孔55aよりも右側に位置している。フック部61の鉤状部61bは、前面56に当接して前面56からの付勢力を受ける。その付勢力は、基部61aが有する弾性によって吸収されている。
そしてそのまま基板ケース57を左方向へとスライドさせると、4箇所のガイド片62が4箇所のガイド部55bにガイドされながらガイドレール部分に嵌入する。そして、フック部61が係止孔55aの位置に到達すると、前面からの付勢力が解放され、基部61aの弾性によって鉤状部61bが係止孔55aに嵌入する。
図10に示すように、鉤状部61bは、その右側面61cが傾斜の殆どない垂直面(すなわち、前後方向に延びる面)とされている。したがって、いったん鉤状部61bが係止孔55aに嵌入すると、右側面61cと係止孔55aの壁面とが当接して、基板ケースを右方向へとスライドさせることができなくなる。また、鉤状部61bが係止孔55aに嵌入する位置において、基板ケース57を左方向へとスライドさせることも、凹部62aの右壁面62bとガイド部55bとの干渉により不可能とされている。もちろん、基板ケース57を手前(前方)へと取り外すこともガイド部55bとガイド片62との係合により不可能とされている。したがって、いったんフック部61が係止孔55aに係合されると、基板ケース57の背面板55からの取外しは、少なくとも背面板55の前面56側からの操作に基づいてはできないようになっている。
一方、基板ケース57の取付け状態においては、背面板55の後面56b側には、鉤状部61bの先端部分が係止孔55aから見えて触れるように(手で押し込み操作が可能に)なっている。したがって、背面板55の後面56b側から鉤状部61bの先端部分を押し込むと、基部61aの弾性に基づき鉤状部61bと係止孔55aとの係合が簡単に解除される。この係合が解除されると、基板ケース57を右側へとスライドさせることが可能となり、簡単に基板ケース57を背面板55から取り外すことができる。
上記のように、この基板ケース57及び背面板55によれば、背面板55の前面56側からの操作によって、工具を用いることなく簡単に基板ケース57を前面56に取り付けることが可能とされている。また、基板ケース57の取付け部分が前面56側から遮蔽されているので、いったん取り付けられた基板ケース57を前面56側からの操作で取り外すことが不可能とされている。基板ケース57の取付け面57aと背面板55の前面56とが略密着しているので、その隙間に異物が挿入されることも防止されている。
一方、背面板55の後面56b側からの操作によって、工具を用いることなく簡単に基板ケース57を背面板55から取り外すことが可能とされている。したがって、前面56側からの不正アクセスによる基板ケース57の不正な取外し行為を有効に防止すると共に、後面56b側からの簡単な操作による基板ケース57の取外しを可能として、不正防止とメンテナンス性向上との両立を実現している。
以上、本発明の好ましい実施の形態を説明したが、本発明はこれらに限定されるものではなく、その要旨の範囲内で様々な変形や変更が可能である。
例えば、上記実施の形態2においては、係止孔55a、ガイド部55b、フック部61、ガイド片62によって基板ケース57の背面板55への取付け構造を構成したが、もちろん、背面板55の後面56b側からネジ等の締結手段により締結する取付け構造、その他の公知の固定手段により固定する取付け構造を採用してもよい。この場合において、締結手段等が、たとえその一部であっても前面56側から視認できないように遮蔽されていることが望ましい。
例えば、締結手段としてのネジを採用する場合、ネジ頭が後面56b側に位置するので、ネジ軸部分が前面56側から視認できたとしても基板ケース57を容易に取り外すことはできない。しかし、ネジ軸部分も視認不可能とすることにより、不正行為者に取付け構造やその位置さえ把握させないようにすることができ、一層の不正防止効果を得ることができる。
[変形例]
なお、上記実施の形態2に係るパチンコ機52が、背面板55の前方開放角度を規制する角度規制構造76(図11参照)を有していることは更に望ましい。この角度規制構造76は、筐体枠53に対して背面板5が前方へ開放する際の開放角度が、所定角度より大きくなるのを防止又は困難とする構造である。背面板55と筐体枠53との連結部分である軸G2近傍にこの角度規制構造76を採用することにより、背面板55が不用意に前方へ開放してしまうことを防止することができる。
この角度規制構造76の概略構成について、図11を用いて説明する。図11は、本発明の変形例に係るパチンコ機52が備える角度規制構造76を説明するための構造図である。角度規制構造76は、例えば、背面板55の上下の揺動支持軸G2のうち下側の軸G2近傍に配置されている。揺動プレート77は背面板55に固定されており、背面板55と共に揺動回転移動を行う。その揺動プレート77には、嵌合孔77aが形成されており、軸G2が嵌合するようになっている。
揺動プレート77には、規制部71が配置されている。この規制部71の詳細は図示しないが、規制手段としてのボールと付勢手段としてのバネとを有し、バネでボールを下方に付勢する構造を有している。ボールは、揺動プレート77から下方に突出しており、バネ力によって固定プレート78に当接しつつ下方に付勢されるようになっている。
固定プレート78は筐体枠53側に固定されている。固定プレート78の上面を揺動プレート77が摺動しつつ背面板55が揺動回転するように配置されている。固定プレート78には、軸G2が上方に突出するように固定され、そこから半径方向に離れた位置に2つの係合穴72,72bが形成されている。これらの係合穴72,72bは略円形状とされ、ボールの一部が嵌り込む形状とされている。
この係合穴72は、背面板55が前方へ所定角度回転するとボールが嵌合する位置に形成されており、係合穴72bは、更に背面板55が開放してその開放角度が略90°となったときにボールが嵌合する位置に形成されている。したがって、軸G2中心から係合穴72,72b中心までの半径と、嵌合孔77a中心からボール中心までの半径とは略一致している。
背面板55を前方に開放し、その開放角度が所定角度となると、固定プレート78上を摺動していたボールが係合穴72に嵌合する。ボールはバネにより下方に付勢されているので、ボールが係合穴72を乗り越えるためには相応の力が必要となる。したがって、背面板55は、所定角度の開放位置で停止保持され、それ以上の開放や閉鎖方向への移動が困難とされる。
本発明に係る基板ケース57を背面板55から取り外す等のメンテナンスを行っている際には、背面板55と筐体枠53とのロックを解除して、背面板55をある程度前方に開放した状態でメンテナンスを行う必要がある。しかしながら、このパチンコ機52が角度規制構造76を有しており、背面板55が所定の開放角度で停止保持されるので、背面板55の不用意な前後回転移動が防止される。背面板55の前面56側に取り付けられた液晶表示装置70や基板ケース57〜60が機枠に不用意に衝突して破損したりすることが予防され、また、背面板55が不用意に閉鎖して作業員の手が挟まれたりすることも防止される。
なお、所定角度で停止保持されている背面板55に、一層強い力を開放方向に加えれば、ボールが係合穴72を乗り越えて、背面板55を更に開放させることもできる。そして、背面板55が略90°に開放すると、その位置でボールは係合穴72bに嵌合し、再び停止保持されるようになっている。
本発明の実施の形態1に係るパチンコ機を示した外観斜視図である。 本発明の実施の形態1に係るパチンコ機において、機枠が筐体枠に対して前方開放した状態を示した外観斜視図である。 本発明の実施の形態1に係るパチンコ機において、背面板が筐体枠に対して全面開放した状態を示した外観斜視図である。 本発明の実施の形態1に係るパチンコ機の筐体枠における、機枠の軸G1の位置と背面板の軸G2の位置との関係を示した平面拡大図である。 本発明の実施の形態1に係るパチンコ機において機枠及び背面板が開放した状態を示した平面図である。 本発明の実施の形態2に係るパチンコ機の一部構造部品を省略した前方斜視図である。 図6に示すパチンコ機の後方斜視図である。 図6に示すパチンコ機が備える基板ケースと背面板との取付け状態を説明するための分解斜視図であって前方から斜視した図である。 図6に示すパチンコ機が備える基板ケースと背面板との取付け状態を説明するための分解斜視図であって後方から斜視した図である。 図8に示すA−A断面で切断した基板ケースの側方断面図である。 本発明の変形例に係るパチンコ機が備える角度規制構造を説明するための構造図である。
符号の説明
G1:側縁揺動支持位置の軸
G2:内側揺動支持位置の軸
L1,L2:距離
2,52:パチンコ機(遊技機)
3,53:筐体枠(第1枠体)
3a:開放開口
3b:他側縁内壁
4:機枠(第2枠体)
5,55:背面板(背面体)
5a:反対側縁
6:遊技盤ユニット(遊技装置体)
6b:遊技領域
7:前面ガラス(前面透明板)
8:装飾枠
9:上皿
9a:下皿
9b:球排出ボタン
10:ハンドル
10a:強度調整杆
11,12:ヒンジ部
12a:ヒンジ支持部
15:画像制御基板
16:主基板(遊技制御基板)
17:電源基板
18,18a:位置
20:遊技盤
20a:遊技盤面
21:レール飾り
21a:内側面
22:図柄表示装置
22a:センター飾り
22b,70:液晶表示装置(映像表示装置)
22c:表示図柄
22d:演出映像
24:球(遊技媒体)
25:ゲージ(釘)
26:羽根車
28:入賞口
29:始動入賞口
30:大入賞口
30a:開閉扉
31:アウト口
36:装飾部材
55a:係止孔(取付け部)
55b:ガイド部
56:前面
56b:後面
57〜60:基板ケース
57a:取付け面
61フック部(被取付け部)
61a:基部
61b:鉤状部
61c:右側面
62:ガイド片
62a:凹部
62b:右壁面
71:規制部
72,72b:係合穴
76:角度規制構造
77:揺動プレート
77a:嵌合孔
78:固定プレート

Claims (6)

  1. 遊技機の周囲を囲む第1枠体と、
    該第1枠体の一側縁における側縁揺動支持位置において前面開閉可能に揺動支持された第2枠体と、
    前記第1枠体の後方に配置されて前記遊技機の背面を実質的に閉鎖すると共に、前記側縁揺動支持位置よりも後方であって、かつ、該側縁揺動支持位置よりも前記遊技機の内側の位置を内側揺動支持位置として、前記第1枠体に前面開閉可能に揺動支持される背面体と、
    該背面体の前面側に着脱可能に取り付けられる基板ケースと、を有する遊技機であって、
    前記背面体には、前記基板ケースを取り付けるための取付け部が形成され、
    前記基板ケースには、前記取付け部に該基板ケースを取り付けるための被取付け部が形成され、
    前記背面体の前面側からの操作に基づき、該背面体への前記基板ケースの取付けが可能とされると共に該背面体からの前記基板ケースの取外しが不可能とされる遊技機。
  2. 前記背面体へ前記基板ケースを取り付けた状態において、前記取付け部及び前記被取付け部が、該背面体の前面側から見て前記基板ケースにより遮蔽される位置である請求項1に記載の遊技機。
  3. 前記背面体の後面側からの操作に基づき、前記背面体からの前記基板ケースの取外しが可能とされる請求項1又は請求項2に記載の遊技機。
  4. 前記取付け部が係止孔であり、かつ前記被取付け部が該係止孔に係合可能なフック部である請求項1から請求項3のうちいずれか1項に記載の遊技機。
  5. 前記内側揺動支持位置が、前記背面体の前面側かつ側縁近傍に配置されている請求項1から請求項4のうちいずれか1項に記載の遊技機。
  6. 前記第1枠体と開放状態における前記背面体との為す角が所定角度より大きくなるのを不可能又は困難とする角度規制構造を有する請求項1から請求項5のうちいずれか1項に記載の遊技機。
JP2008255469A 2008-09-30 2008-09-30 遊技機 Expired - Fee Related JP5152763B2 (ja)

Priority Applications (1)

Application Number Priority Date Filing Date Title
JP2008255469A JP5152763B2 (ja) 2008-09-30 2008-09-30 遊技機

Applications Claiming Priority (1)

Application Number Priority Date Filing Date Title
JP2008255469A JP5152763B2 (ja) 2008-09-30 2008-09-30 遊技機

Publications (2)

Publication Number Publication Date
JP2010082251A true JP2010082251A (ja) 2010-04-15
JP5152763B2 JP5152763B2 (ja) 2013-02-27

Family

ID=42246791

Family Applications (1)

Application Number Title Priority Date Filing Date
JP2008255469A Expired - Fee Related JP5152763B2 (ja) 2008-09-30 2008-09-30 遊技機

Country Status (1)

Country Link
JP (1) JP5152763B2 (ja)

Citations (7)

* Cited by examiner, † Cited by third party
Publication number Priority date Publication date Assignee Title
JPH07127324A (ja) * 1993-09-09 1995-05-16 Yagi:Kk 扉等開度調整器
JP2001096035A (ja) * 1999-09-29 2001-04-10 Taiyo Elec Co Ltd 遊技機
JP2001190795A (ja) * 2000-01-17 2001-07-17 Aruze Corp 遊技機
JP2003340080A (ja) * 2002-05-31 2003-12-02 Abilit Corp 遊技機
JP2004321365A (ja) * 2003-04-23 2004-11-18 Sanyo Product Co Ltd 遊技機の搬送方法
JP2007167106A (ja) * 2005-12-19 2007-07-05 Sansei R & D:Kk 遊技機
JP2007301342A (ja) * 2006-04-13 2007-11-22 Sanyo Product Co Ltd 遊技機

Patent Citations (7)

* Cited by examiner, † Cited by third party
Publication number Priority date Publication date Assignee Title
JPH07127324A (ja) * 1993-09-09 1995-05-16 Yagi:Kk 扉等開度調整器
JP2001096035A (ja) * 1999-09-29 2001-04-10 Taiyo Elec Co Ltd 遊技機
JP2001190795A (ja) * 2000-01-17 2001-07-17 Aruze Corp 遊技機
JP2003340080A (ja) * 2002-05-31 2003-12-02 Abilit Corp 遊技機
JP2004321365A (ja) * 2003-04-23 2004-11-18 Sanyo Product Co Ltd 遊技機の搬送方法
JP2007167106A (ja) * 2005-12-19 2007-07-05 Sansei R & D:Kk 遊技機
JP2007301342A (ja) * 2006-04-13 2007-11-22 Sanyo Product Co Ltd 遊技機

Also Published As

Publication number Publication date
JP5152763B2 (ja) 2013-02-27

Similar Documents

Publication Publication Date Title
JP5201327B2 (ja) 遊技機
JP5218037B2 (ja) パチンコ遊技機
JP5293922B2 (ja) 遊技機
JP5152763B2 (ja) 遊技機
JP4919417B2 (ja) 枠構造及び遊技機
JP4890301B2 (ja) 遊技機
JP2009017934A (ja) 弾球遊技機
JP5033973B2 (ja) 遊技機
JP2008237270A (ja) 施錠装置及び遊技機
JP2008173304A (ja) 枠体ユニット及び遊技機
JP2009160228A (ja) 遊技機
JP2008194287A (ja) 遊技機
JP7672714B2 (ja) 遊技機
JP7672715B2 (ja) 遊技機
JP7672713B2 (ja) 遊技機
JP5131768B2 (ja) 枠構造
JP2010082250A (ja) 枠構造及び遊技機
JP2008125844A (ja) 前面透明板の取付け構造及び遊技機
JP5831722B2 (ja) 遊技機
JP5545457B2 (ja) 遊技機
JP2008017952A (ja) 遊技機及び遊技機の変動入賞装置
JP5104976B2 (ja) 遊技機
JP2024072696A (ja) 遊技機
JP4784026B2 (ja) 遊技機
JP4124176B2 (ja) 遊技機

Legal Events

Date Code Title Description
A621 Written request for application examination

Free format text: JAPANESE INTERMEDIATE CODE: A621

Effective date: 20110704

A977 Report on retrieval

Free format text: JAPANESE INTERMEDIATE CODE: A971007

Effective date: 20120823

A131 Notification of reasons for refusal

Free format text: JAPANESE INTERMEDIATE CODE: A131

Effective date: 20120828

A521 Written amendment

Free format text: JAPANESE INTERMEDIATE CODE: A523

Effective date: 20121015

TRDD Decision of grant or rejection written
A01 Written decision to grant a patent or to grant a registration (utility model)

Free format text: JAPANESE INTERMEDIATE CODE: A01

Effective date: 20121113

A61 First payment of annual fees (during grant procedure)

Free format text: JAPANESE INTERMEDIATE CODE: A61

Effective date: 20121127

FPAY Renewal fee payment (event date is renewal date of database)

Free format text: PAYMENT UNTIL: 20151214

Year of fee payment: 3

R150 Certificate of patent or registration of utility model

Ref document number: 5152763

Country of ref document: JP

Free format text: JAPANESE INTERMEDIATE CODE: R150

Free format text: JAPANESE INTERMEDIATE CODE: R150

R250 Receipt of annual fees

Free format text: JAPANESE INTERMEDIATE CODE: R250

R250 Receipt of annual fees

Free format text: JAPANESE INTERMEDIATE CODE: R250

R250 Receipt of annual fees

Free format text: JAPANESE INTERMEDIATE CODE: R250

S531 Written request for registration of change of domicile

Free format text: JAPANESE INTERMEDIATE CODE: R313531

R250 Receipt of annual fees

Free format text: JAPANESE INTERMEDIATE CODE: R250

R350 Written notification of registration of transfer

Free format text: JAPANESE INTERMEDIATE CODE: R350

R250 Receipt of annual fees

Free format text: JAPANESE INTERMEDIATE CODE: R250

LAPS Cancellation because of no payment of annual fees