JP2010079003A - 光位相同期ループ回路 - Google Patents

光位相同期ループ回路 Download PDF

Info

Publication number
JP2010079003A
JP2010079003A JP2008248120A JP2008248120A JP2010079003A JP 2010079003 A JP2010079003 A JP 2010079003A JP 2008248120 A JP2008248120 A JP 2008248120A JP 2008248120 A JP2008248120 A JP 2008248120A JP 2010079003 A JP2010079003 A JP 2010079003A
Authority
JP
Japan
Prior art keywords
signal
optical
outputs
receives
optical carrier
Prior art date
Legal status (The legal status is an assumption and is not a legal conclusion. Google has not performed a legal analysis and makes no representation as to the accuracy of the status listed.)
Granted
Application number
JP2008248120A
Other languages
English (en)
Other versions
JP4692601B2 (ja
Inventor
Akihiro Fujii
亮浩 藤井
Current Assignee (The listed assignees may be inaccurate. Google has not performed a legal analysis and makes no representation or warranty as to the accuracy of the list.)
Oki Electric Industry Co Ltd
Original Assignee
Oki Electric Industry Co Ltd
Priority date (The priority date is an assumption and is not a legal conclusion. Google has not performed a legal analysis and makes no representation as to the accuracy of the date listed.)
Filing date
Publication date
Application filed by Oki Electric Industry Co Ltd filed Critical Oki Electric Industry Co Ltd
Priority to JP2008248120A priority Critical patent/JP4692601B2/ja
Priority to US12/457,679 priority patent/US8165476B2/en
Publication of JP2010079003A publication Critical patent/JP2010079003A/ja
Application granted granted Critical
Publication of JP4692601B2 publication Critical patent/JP4692601B2/ja
Expired - Fee Related legal-status Critical Current
Anticipated expiration legal-status Critical

Links

Images

Classifications

    • HELECTRICITY
    • H04ELECTRIC COMMUNICATION TECHNIQUE
    • H04BTRANSMISSION
    • H04B10/00Transmission systems employing electromagnetic waves other than radio-waves, e.g. infrared, visible or ultraviolet light, or employing corpuscular radiation, e.g. quantum communication
    • H04B10/60Receivers
    • H04B10/61Coherent receivers
    • H04B10/63Homodyne, i.e. coherent receivers where the local oscillator is locked in frequency and phase to the carrier signal
    • HELECTRICITY
    • H04ELECTRIC COMMUNICATION TECHNIQUE
    • H04BTRANSMISSION
    • H04B10/00Transmission systems employing electromagnetic waves other than radio-waves, e.g. infrared, visible or ultraviolet light, or employing corpuscular radiation, e.g. quantum communication
    • H04B10/60Receivers

Landscapes

  • Physics & Mathematics (AREA)
  • Electromagnetism (AREA)
  • Engineering & Computer Science (AREA)
  • Computer Networks & Wireless Communication (AREA)
  • Signal Processing (AREA)
  • Optical Communication System (AREA)
  • Optical Modulation, Optical Deflection, Nonlinear Optics, Optical Demodulation, Optical Logic Elements (AREA)

Abstract

【課題】高品質な検波処理が行え、光搬送波の周波数及び位相と、局波光源から供給される参照光搬送波の周波数及び位相とを厳密に同期させることが可能である。
【解決手段】光カプラ12と、光電変換器14と、ループフィルタ16と、VCO 18と、単側波帯変調部36とを具えて構成される。光カプラ、光電変換器、ループフィルタ、VCO、及び単側波帯変調部によってループ回路を形成している。VCOにその出力を基にしたフィードバックループが掛かり、発振周波数Δf Hz近傍を発振周波数レンジとするVCOから出力されるRF信号19の周波数が、ΔfとなるようにVCOが常に制御されている。これによって、再生光搬送波37と入力光搬送波11との同期が実現するとともに、両者の周波数も一致する方向でフィードバックループ回路が動作する。
【選択図】図1

Description

この発明は、光コヒーレント通信のヘテロダイン検波における、局波光の位相と受信光信号の光搬送波の位相との同期を実現する光位相同期ループ回路に関する。
光通信の大容量化に伴い、従来の強度変調(OOK: On Off Keying)方式と比較して大きなS/N比が確保される位相変調方式が注目され、盛んに研究されている。位相変調方式には差動(差分)位相偏移変調(DPSK: Differential Phase Shift Keying)方式と位相偏移変調(PSK: Phase Shift Keying)方式が知られている。
位相変調方式とは、デジタル信号を搬送波の位相に反映することによって通信する方式である。DPSK方式は、光パルス列の1つ前の光パルスの位相を基準にして相対的に次の光パルスの位相を確定させることによって、光パルス列を構成する光パルスのそれぞれの位相に情報を当てはめる位相変調方式である。例えば、光パルスのそれぞれの位相に0とπとの2変数で光パルス列の変調を行って送信信号を生成すれば、2値のDPSK方式の光信号が生成される。一方、PSK方式は、DPSK方式のように光パルスの位相を相対的に確定するのではなく、全ての光パルスに対して同一の基準で光パルスの位相を確定させ、光パルス列を構成する光パルスのそれぞれの位相に情報を当てはめる位相変調方式である。
DPSK方式は、受信信号の正確な位相を決定するために、基準信号のコピーを受信器が持っている必要がないため、通常のPSKよりも実行しやすいが、そのかわり、DPSK方式は復調時に誤りを生じやすい。
一方、PSK方式は、OOK方式で利用される強度変調器を利用して簡便に復調が可能であり、また、復調時の誤りが発生しにくいという特長がある。しかしながら、PSKを実施するには、受信信号の正確な位相を決定するために、基準信号のコピー、すなわち局波光源を受信側に具える必要があり、受信される光信号を伝送するために利用された光搬送波の周波数及び位相と、局波光源の周波数及び位相とを厳密に同期させる必要がある。
位相変調方式は、光の強度を直接変調する方式とは異なり、光信号の元となる光搬送波のコヒーレンス性に着目して、この光搬送波の位相に伝送信号を重畳して伝送する方式である。一般に、伝送信号を重畳する搬送波のコヒーレンス性に着目した通信方式をコヒーレント通信方式と呼ぶこともある。
コヒーレント通信方式における受信方法には、ヘテロダイン検波、ホモダイン検波、及び位相ダイバーシティー等が知られている。このうち、ヘテロダイン検波及びホモダイン検波による受信方式は、受信光信号と厳密に位相同期した光搬送波を生成する局波光源を受信側に設け、この局波光源で生成される光搬送波と受信光信号との干渉によって復調する方式である。
ヘテロダイン検波方式においては、局波光源で生成される光搬送波の周波数と受信信号が重畳された光搬送波の周波数とが若干異なる。そして、局波光源で生成される搬送波と受信光信号との干渉によって発生するビート信号を検出することによって、復調に必要とされる受信光信号の位相状態を検出する。
一方、ホモダイン検波方式においては、局波光源で生成される光搬送波の周波数と受信光信号が重畳された光搬送波の周波数とが等しい。そして、局波光源で生成される光搬送波と受信光信号との干渉によって、復調に必要とされる受信光信号の位相状態を検出する。
ヘテロダイン検波方式及びホモダイン検波方式のいずれの方式においても、受信光信号が重畳された光搬送波と、局波光源で生成される光搬送波とが位相同期されていることが前提とされている。
これまでに、光通信の分野において、光コヒーレント通信方式が多数報告されており、この中で、受信光信号が重畳された光搬送波と、局波光源である局波レーザの周波数同期及び位相同期を実現するために、光位相同期ループ回路技術が利用されている(例えば、特許文献1参照)。
光位相同期ループ回路の動作原理は、基本的に従来の電気回路を用いる位相同期ループ(PLL: Phase Lock Loop)回路の動作原理と共通する。ただし、これまでの報告の多くは、局波レーザを、位相誤差を含んでいる光信号で直接に周波数変調する方式が一般的(例えば、特許文献2参照)であり、そのための装置が大型化し製造コストも高いものであった。また、場合によっては、数十GHzの高速信号を直接周波数変調することが必要である。このため、復調のための装置を構成する電子デバイスには、動作速度の上限があり、数十GHzの高速信号を処理するには困難が伴うことがあった。
最近では、位相変調器を用いて側波帯を発生させてこの側波帯の一部をバンドパスフィルタで抽出する方法や、強度変調を行い片側の側波帯を用いる方法も開示されている(非特許文献1参照)。これらの手法は、局波光源で生成された局波光と一定のオフセットを持つ複数の側波帯のうち一部を抽出することにより、この側波帯のうちの一部と受信光信号とを干渉させ、両者の干渉光の位相差を基準として位相同期を実現する手法である。このため、局波光の全てが有効に利用されることがない。そのため、利用した側波帯を光増幅器等で増幅する必要も生じ、この段階で混入する雑音が受信品質を低下させる原因となる。
更に、従来の上述した光位相同期の手法では、局波光源で生成される局波光と受信光信号の光搬送波とが周波数ゆらぎを有している事が問題となる。すなわち、局波光源で生成される局波光の周波数と受信光信号の光搬送波の周波数が一致していない場合、光位相同期ループ回路が具える周波数引き込みを達成するための帰還制御回路が極めて広い周波数帯域を有していなければならない。
この必要とされる周波数帯域が、帰還制御回路を構成する電子デバイスの動作範囲を超えてしまう場合がある。必要とされる周波数帯域が電子デバイスの動作範囲を超えないためには、受信光信号の光搬送波の周波数と局波光源で生成される局波光の周波数とが極めて安定している必要がある。
特開平7-46191号公報 特開2000-68580号公報 Stefano Camatel, et al., "10 GBIT/S 2-PSK TRANSMISSION AND HOMODYNE COHERENT DETECTION USING COMMERCIAL OPTICAL COMPONENTS", ECOC2003, vol. 3、We.P. 122, pp.800-801.
上述したように、光搬送波の側波帯の一部を抽出し、抽出した側波帯と受信光信号とを干渉させ、両者の干渉光の位相差を基準として位相同期を実現する手法においては、抽出した側波帯を光増幅器等で増幅する必要が生じ、この段階で混入する雑音が、検波処理の品質を低下させる原因となっていた。
また、光位相同期の実現において、局波光源で生成される局波光の周波数と受信光信号の光搬送波の周波数が一致していない場合、帰還制御回路が極めて広い周波数帯域を有していなければならず帰還制御回路を構成する電子デバイスの動作範囲を超えてしまう可能性をはらんでいた。
そこで、この発明は、高品質な検波処理が行え、局波光源で生成される局波光の周波数と受信光信号の光搬送波の周波数が一致していない場合であっても、光信号を伝送するために利用された光搬送波の周波数及び位相と、局波光源から供給される参照光搬送波の周波数及び位相とを厳密に同期させることが可能である光位相同期ループ回路を提供することを目的とする。
また、従来に比較して高速のPSK方式の光信号の復調が実現可能であり、電気処理を介することなくPSK方式の光信号からOOK方式の光信号への変換が可能である光位相同期ループ回路を提供することを目的とする。
従来の方法で行われていた、局波光源で生成された局波光と一定のオフセット周波数を持つ複数の側波帯のうち一部を抽出して利用するのではなく、局波光スペクトルの全てを利用して光位相同期ループ動作を行わせることができれば、高品質な検波処理が行えることに思い至った。これによって、光搬送波の周波数及び位相と、参照光搬送波の周波数及び位相とを厳密に同期させることが可能となり、従来に比較して高速のPSK方式の光信号の復調が実現可能となることに着目した。
また、入力される光搬送波の周波数ゆらぎが大きい場合であっても、この周波数を安定化する機能を付加することによって、光位相同期ループ回路を構成する電圧制御型発振器(VCO: Voltage Controlled Oscillator)の動作に大きな負担をかけることなく、光搬送波の周波数及び位相と局波光源の周波数及び位相とを厳密に同期させることが可能であることに思い至った。これによって、帰還制御回路を構成する電子デバイスの動作範囲に関する制約を受けることがなくなることに着目した。
上述の理念に基づくこの発明の要旨によれば、以下の光位相同期ループ回路が提供される。
この発明の第1光位相同期ループ回路は、光カプラと、光電変換器と、ループフィルタと、VCOと、単側波帯変調部とを具えて構成される。
光カプラは、入力光搬送波と再生光搬送波とが入力されて、入力光搬送波と再生光搬送波の位相差に基づく光ビート波を生成して出力する。光電変換器は、光ビート波が入力されて、光電変換して電気ビート波を生成して出力する。ループフィルタは、電気ビート波が入力されて、当該電気ビート波の時間平均強度に比例するVCO制御信号を生成して出力する。VCOは、VCO制御信号が入力されて、当該VCO制御信号の強度の関数として与えられる周波数のRF(Radio Frequency)信号を生成して出力する。単側波帯変調部は、RF信号と局波光源から出力された参照光搬送波とが入力されて、参照光搬送波を単側波帯変調することにより、参照光搬送波の全エネルギーを再生光搬送波に変換して出力する。
単側波帯変調部は、電気分岐器と、キャパシタと、光分波器と、第1光強度変調器と、移相器と、第2光強度変調器と、光合波器とを具えて構成するのが好適である。
電気分岐器は、RF信号を、第1分岐RF信号と第2分岐RF信号とに分岐する。キャパシタは、第1分岐RF信号が入力されて、当該第1分岐RF信号の位相をπ/2シフトしたπ/2位相シフトRF信号を生成して出力する。光分波器は、参照光搬送波を、第1参照光搬送波と第2参照光搬送波とに分岐する。第1光強度変調器は、π/2位相シフトRF信号と第1参照光搬送波とが入力されて、第1変調光搬送波を生成して出力する。移相器は、第2参照光搬送波が入力されて、当該第2参照光搬送波の位相をπ/2シフトしたπ/2位相シフト参照光搬送波を生成して出力する。第2光強度変調器は、π/2位相シフト参照光搬送波と第2分岐RF信号とが入力されて、第2変調光搬送波を生成して出力する。光合波器は、第1変調光搬送波と第2変調光搬送波とが入力されて、再生光搬送波を生成して出力する。
この発明の第2光位相同期ループ回路は、光カプラと、第1光電変換器と、第2光電変換器と、周波数弁別ループ回路と、第1ループフィルタと、第1 VCOと、第2ループフィルタと、第2 VCOと、RF加算器と、単側波帯変調部とを具えて構成される。
光カプラは、入力光搬送波と再生光搬送波とが入力されて、入力光搬送波と再生光搬送波の位相差に基づく周波数の第1光ビート波及び第2光ビート波を生成して出力する。第1光電変換器は、第1光ビート波が入力されて、光電変換して第1電気ビート波を生成して出力する。第2光電変換器は、第2光ビート波が入力されて、光電変換して第2電気ビート波を生成して出力する。
周波数弁別ループ回路は、第1電気ビート波が入力されて、入力光搬送波の周波数の時間変動の大きさに比例した電圧信号である周波数弁別信号を生成して出力する。第1ループフィルタは、周波数弁別信号が入力されて、当該周波数弁別信号の時間平均強度に比例する第1 VCO制御信号を生成して出力する。第1 VCOは、第1 VCO制御信号が入力されて、当該第1 VCO制御信号の強度の関数として与えられる周波数の第1 RF信号を生成して出力する。第2ループフィルタは、第2電気ビート波が入力されて、当該第2電気ビート波の時間平均強度に比例する第2 VCO制御信号を生成して出力する。第2 VCOは、第2 VCO制御信号が入力されて、当該第2 VCO制御信号の強度の関数として与えられる周波数の第2 RF信号を生成して出力する。RF加算器は、第1 RF信号と第2 RF信号とが入力されて、第1 RF信号と第2 RF信号とを合波して合波RF信号を生成して出力する。
単側波帯変調部は、合波RF信号と、局波光源から出力された参照光搬送波とが入力されて、参照光搬送波を単側波帯変調することにより、参照光搬送波の全エネルギーを再生光搬送波に変換して出力する。
単側波帯変調部は、電気分岐器と、第1キャパシタと、光分波器と、第1光強度変調器と、移相器と、第2光強度変調器と、光合波器とを具えて構成するのが好適である。上述した第1光位相同期ループ回路が具えていた単側波帯変調部と第2光位相同期ループ回路が具える単側波帯変調部とは本質的に同一の構造である。ただし、説明の便宜上、第1光位相同期ループ回路が具えていた単側波帯変調部が具えるキャパシタに相当するキャパシタを、第1キャパシタと表記してある。
電気分岐器は、合波RF信号を、第1分岐RF信号と第2分岐RF信号とに分岐する。第1キャパシタは、第1分岐RF信号が入力されて、当該第1分岐RF信号の位相をπ/2シフトしたπ/2位相シフトRF信号を生成して出力する。光分波器は、参照光搬送波を、第1参照光搬送波と第2参照光搬送波とに分岐する。第1光強度変調器はπ/2位相シフトRF信号と第1参照光搬送波とが入力されて、第1変調光搬送波を生成して出力する。移相器は、第2参照光搬送波が入力されて、当該第2参照光搬送波の位相をπ/2シフトしたπ/2位相シフト参照光搬送波を生成して出力する。第2光強度変調器は、π/2位相シフト参照光搬送波と第2分岐RF信号とが入力されて、第2変調光搬送波を生成して出力する。光合波器は、第1変調光搬送波と第2変調光搬送波とが入力されて、再生光搬送波を生成して出力する。
周波数弁別ループ回路は、第1電気分岐器と、第2キャパシタと、第2電気分岐器と、第1遅延器と、第3電気分岐器と、第2遅延器と、第1積算器と、第2積算器と、搬送波加算器とを具えて構成するのが好適である。
第1電気分岐器は、第1電気ビート波が入力されて、第3電気ビート波と第4電気ビート波とに分岐して出力する。第2キャパシタは、第3電気ビート波が入力されて、当該第3電気ビート波の位相をπ/2シフトしてπ/2位相シフト電気ビート波を生成して出力する。第2電気分岐器はπ/2位相シフト電気ビート波が入力されて、第1電気信号と第2電気信号とに分岐して出力する。第1遅延器は、第1電気信号が入力されて、Δt秒の時間遅延を付加して第3電気信号を生成して出力する。
第3電気分岐器は、第4電気ビート波が入力されて、第4電気信号と第5電気信号とに分岐して出力する。第2遅延器は、第4電気信号が入力されて、Δt秒の時間遅延を付加して第6電気信号を生成して出力する。第1積算器は、第2電気信号と第6電気信号とが入力されて、第2電気信号と第6電気信号との積算信号である第7電気信号を生成して出力する。第2積算器は、第3電気信号と第5電気信号とが入力されて、第3電気信号と第5電気信号との積算信号である第8電気信号を生成して出力する。
搬送波加算器は、第7電気信号と第8電気信号とが入力されて、第7電気信号と第8電気信号とを加算して周波数弁別信号を生成して出力する。
この発明の第3光位相同期ループ回路は、入力光信号分波器と、90度ハイブリッド光カプラと、第1バランス検波器と、第2バランス検波器と、積算器と、ループフィルタと、VCOと、単側波帯変調部と、光電変換器と、クロック信号抽出器と、タイミング調整器と、再生光信号生成部とを具えている。
入力光信号分波器は、光搬送波をPSK変調した入力光信号が入力されて、第1入力光信号と第2入力光信号とに分岐して出力する。90度ハイブリッド光カプラは、第1入力光信号と、再生PSK光信号とが入力されて、第1入力光信号と再生PSK光信号の位相差に基づく第1光ビート波及び第2光ビート波を生成して出力する。第1バランス検波器は、第1光ビート波を入力して、バランス検波して第1復調信号を生成して出力する。
第2バランス検波器は、第2光ビート波を入力して、バランス検波して第2復調信号を生成して出力する。積算器は、第1復調信号と第2復調信号とが入力されて、第1復調信号と第2復調信号との積算信号である光位相差検出信号を生成して出力する。ループフィルタは、光位相差検出信号が入力されて、当該光位相差検出信号の時間平均強度に比例するVCO制御信号を生成して出力する。VCOは、VCO制御信号が入力されて、当該VCO制御信号の強度の関数として与えられる周波数のRF信号を生成して出力する。
単側波帯変調部は、RF信号と局波光源から出力された参照光搬送波とが入力されて、参照光搬送波を単側波帯変調することにより、参照光搬送波の全エネルギーを再生光搬送波に変換して出力する。
単側波帯変調部は、電気分岐器と、キャパシタと、光分波器と、第1光強度変調器と、移相器と、第2光強度変調器と、光合波器とを具えて構成するのが好適である。
電気分岐器は、RF信号を、第1分岐RF信号と第2分岐RF信号とに分岐する。キャパシタは、第1分岐RF信号が入力されて、当該第1分岐RF信号の位相をπ/2シフトしてπ/2位相シフトRF信号を生成して出力する。光分波器は、参照光搬送波を、第1参照光搬送波と第2参照光搬送波とに分岐する。第1光強度変調器は、π/2位相シフトRF信号と第1参照光搬送波とが入力されて、第1変調光搬送波を生成して出力する。
移相器は、第2参照光搬送波が入力されて、当該第2参照光搬送波の位相をπ/2シフトしてπ/2位相シフト参照光搬送波を生成して出力する。第2光強度変調器は、π/2位相シフト参照光搬送波と第2分岐RF信号とが入力されて、第2変調光搬送波を生成して出力する。光合波器は、第1変調光搬送波と第2変調光搬送波とが入力されて、再生光搬送波を生成して出力する。
光電変換器は、第2入力光信号が入力されて、光電変換して入力電気信号を生成して出力する。クロック信号抽出器は、入力電気信号が入力されて、入力電気信号からクロック信号を抽出する。タイミング調整器は、クロック信号が入力されて、クロック信号の遅延時間を調整して出力する。再生光信号生成部は、タイミング調整器から出力されるクロック信号と再生光搬送波とが入力されて、再生PSK光信号を生成して出力する。
この発明の第4光位相同期ループ回路は、入力光信号分波器と、90度ハイブリッド光カプラと、第1バランス検波器と、第2バランス検波器と、積算器と、周波数弁別ループ回路と、第1ループフィルタと、第1 VCOと、第2ループフィルタと、第2 VCOと、RF加算器と、単側波帯変調部と、光電変換器と、クロック信号抽出器と、タイミング調整器と、再生光信号生成部とを具えている。
入力光信号分波器は、光搬送波をPSK変調した入力光信号が入力されて、第1入力光信号と第2入力光信号とに分岐して出力する。90度ハイブリッド光カプラは、第1入力光信号と再生PSK光信号とが入力されて、第1入力光信号と再生PSK光信号の位相差に基づく第1光ビート波及び第2光ビート波を生成して出力する。第1バランス検波器は、第1光ビート波を入力して、バランス検波して第1復調信号を生成して出力する。第2バランス検波器は、第2光ビート波を入力して、バランス検波して第2復調信号を生成して出力する。積算器は、第1復調信号と第2復調信号とが入力れて、第1復調信号と第2復調信号との積算信号である光位相差検出信号を生成して出力する。
周波数弁別ループ回路は、第1復調信号と第2復調信号とが入力されて、入力光信号の周波数の時間変動の大きさに比例した電圧信号である周波数弁別信号を生成して出力する。第1ループフィルタは、周波数弁別信号が入力されて、当該周波数弁別信号の時間平均強度に比例する第1 VCO制御信号を生成して出力する。第1 VCOは、第1 VCO制御信号が入力されて、当該第1 VCO制御信号の強度の関数として与えられる周波数の第1 RF信号を生成して出力する。
第2ループフィルタは、光位相差検出信号が入力されて当該光位相差検出信号の時間平均強度に比例するVCO制御信号を生成して出力する。第2 VCOは、VCO制御信号が入力されて、当該VCO制御信号の強度の関数として与えられる周波数の第2 RF信号を生成して出力する。RF加算器は、第1 RF信号と第2 RF信号とが入力されて、第1 RF信号と第2 RF信号とを合波して合波RF信号を生成して出力する。
単側波帯変調部は、合波RF信号と局波光源から出力された参照光搬送波とが入力されて、参照光搬送波を単側波帯変調することにより、参照光搬送波の全エネルギーを再生光搬送波に変換して出力する。
単側波帯変調部は、電気分岐器と、キャパシタと、光分波器と、第1光強度変調器と、移相器と、第2光強度変調器と、光合波器とを具えて構成するのが好適である。
電気分岐器は、合波RF信号を、第1分岐RF信号と第2分岐RF信号とに分岐する。キャパシタは、第1分岐RF信号が入力されて、当該第1分岐RF信号の位相をπ/2シフトしてπ/2位相シフトRF信号を生成して出力する。光分波器は、参照光搬送波を、第1参照光搬送波と第2参照光搬送波とに分岐する。第1光強度変調器はπ/2位相シフトRF信号と第1参照光搬送波とが入力されて、第1変調光搬送波を生成して出力する。
移相器は、第2参照光搬送波が入力されて、当該第2参照光搬送波の位相をπ/2シフトしてπ/2位相シフト参照光搬送波を生成して出力する。第2光強度変調器は、π/2位相シフト参照光搬送波と第2分岐RF信号とが入力されて、第2変調光搬送波を生成して出力する。光合波器は、第1変調光搬送波と第2変調光搬送波とが入力されて、再生光搬送波を生成して出力する。
光電変換器は、第2入力光信号が入力されて、光電変換して入力電気信号を生成して出力する。クロック信号抽出器は、入力電気信号が入力されて、入力電気信号からクロック信号を抽出する。タイミング調整器は、クロック信号が入力されて、クロック信号の遅延時間を調整して出力する。再生光信号生成部は、タイミング調整器から出力されるクロック信号と再生光搬送波とが入力されて、再生PSK光信号を生成して出力する。
周波数弁別ループ回路は、第1電気分岐器と、第1遅延器と、第2電気分岐器と、第2遅延器と、第1積算器と、第2積算器と、搬送波加算器とを具えて構成するのが好適である。
第1電気分岐器は、第1復調信号が入力されて、第1電気信号と第2電気信号とに分岐して出力する。第1遅延器は、第1電気信号が入力されて、Δt秒の時間遅延を付加して第3電気信号を生成して出力する。第2電気分岐器は、第2復調信号が入力されて、第4電気信号と第5電気信号とに分岐して出力する。第2遅延器は、第4電気信号が入力されて、Δt秒の時間遅延を付加して第6電気信号を生成して出力する。
第1積算器は、第2電気信号と第6電気信号とが入力されて、第2電気信号と第6電気信号との積算信号である第7電気信号を生成して出力する。第2積算器は、第3電気信号と第5電気信号とが入力されて、第3電気信号と第5電気信号との積算信号である第8電気信号を生成して出力する。搬送波加算器は、第7電気信号と第8電気信号とが入力されて、第7電気信号と第8電気信号とを加算して周波数弁別信号を生成して出力する。
この発明の第1〜第4光位相同期ループ回路によって得られる効果の説明において以下の条件を設定する。このような条件を置いても、説明の一般性が失われることはない。
入力光搬送波の周波数をf Hzとし、局波光源から出力される参照光搬送波の周波数を(f-Δf) Hzであるとする。すなわち、一定のオフセット周波数Δf Hzをもつ局波光源を使用するものとして以下説明する。入力光搬送波と再生光搬送波との間で位相同期が確立された状態で、このオフセット周波数Δf Hzに等しい周波数のRF信号を発生するようにVCOの発振周波数を設定する。また、入力搬送波と再生光搬送波または参照光搬送波の偏波面が一致していることを想定する。
単側波帯変調部に入力される参照光搬送波は、周波数が(f-Δf) Hzからf Hzにシフトされて再生光搬送波に変換されて出力される。このとき、参照光搬送波は、周波数がf Hzである光搬送波をオフセット周波数Δf Hzで変調して生成されたものではないので、周波数(f-Δf) Hzと周波数f Hzを中心として対称の位置の周波数(f+Δf) Hzの側波帯成分を有していない。すなわち、参照光搬送波は、単側波帯変調部で単側波帯変調が行われ、参照光搬送波の全エネルギーが再生光搬送波に変換される。
これによって、十分な強度の再生光搬送波を得ることが可能となり、再生光搬送波を、光増幅器等を利用してその強度を増幅する必要がない。従って、再生光搬送波の増幅動作に伴う雑音が混入することがない。従って、高品質な検波処理が行える光位相同期ループ回路を実現することが可能となる。
単側波帯変調部から出力される再生光搬送波と、入力光搬送波とが光カプラに入力されると、両者の位相差が反映された光ビート波が生成される。再生光搬送波と入力光搬送波との位相差に応じて、発振周波数Δf Hz近傍を発振周波数レンジとするVCOから、この位相差を反映する周波数Δf' HzのRF信号が出力される。
参照光搬送波は単側波帯変調部に入力されて、この周波数Δf' Hz分だけ位相シフトした再生光搬送波に変換されて光カプラにフィードバック信号として帰還される。これによって、光位相同期ループ回路が完成する。
位相同期が確立されると、Δf=Δf'の状態となり、再生光搬送波は入力光搬送波と定数分の位相差を持った状態で位相同期される。この再生光搬送波を取り出せば、厳密に入力光搬送波と位相同期している光搬送波を抽出できる。
この発明の第2光位相同期ループ回路は、入力光搬送波の周波数の時間変動の大きさに比例した電圧信号である周波数弁別信号を生成して出力する周波数弁別ループ回路を具えていることが特徴である。周波数弁別ループ回路から出力される周波数弁別信号が第1ループフィルタで時間平均されて第1 VCOに入力される。これによって、周波数の時間変動の大きさに比例した電圧信号と、再生光搬送波と入力光搬送波との位相差に比例した電気信号とがRF加算器で加算されて、この加算されて生成された合波RF信号によって、参照光搬送波が単側波帯変調される構成となる。
このように、周波数弁別ループ回路を付加して、合波RF信号によって参照光搬送波が単側波帯変調される構成とすることにより、第2光位相同期ループ回路は位相同期動作及び周波数同期動作が実現可能である光位相同期ループ回路となる。すなわち、この発明の第2光位相同期ループ回路は、第1 VCOで周波数同期のための動作が行われ、第2 VCOで位相同期のための動作が行われるように、2系等のループ回路からなる構成である。
そのため、受信光信号の光搬送波の周波数にゆらぎが存在して、局波光源で生成される局波光の周波数と受信光信号の光搬送波の周波数が一致していない場合であっても、周波数同期動作は第1 VCOを中心として実行され、位相同期動作は第2 VCOを中心として実行されるので、第1 VCO及び第2 VCOのそれぞれに動作の負荷が分配される。従って、第1 VCO及び第2 VCOのそれぞれに必要とされる周波数帯域幅は、この発明の第1光位相同期ループ回路におけるVCOに必要とされる周波数帯域幅より狭くて済む。すなわち、この発明の第2光位相同期ループ回路によれば、入力光搬送波の周波数にゆらぎが存在しても、入力光搬送波の周波数及び位相と、参照光搬送波の周波数及び位相とを厳密に同期させることが可能となる。
以上説明したこの発明の第1及び第2光位相同期ループ回路は、入力光搬送波の位相を参照光搬送波と同期させることを目的とする光位相同期ループ回路である。入力光搬送波の位相と参照光搬送波の位相との同期が実現すれば、PSK方式の位相変調がなされた入力光信号の光搬送波の位相と参照光搬送波の位相との同期を実現することが可能となる。
この発明の第3及び第4光位相同期ループ回路は、PSK方式の位相変調がなされた入力光信号(以後、単に入力光信号ということもある。)の光搬送波の位相と参照光搬送波の位相との同期を実現する光位相同期ループ回路である。第3光位相同期ループ回路は、上述した第1光位相同期ループ回路に基づいて構成される光位相同期ループ回路である。また、第4光位相同期ループ回路は、上述した第2光位相同期ループ回路に基づいて構成される光位相同期ループ回路である。
この発明の第3光位相同期ループ回路は、90度ハイブリッド光カプラに第1入力光信号と再生PSK光信号とが入力され、90度ハイブリッド光カプラから出力される第1及び第2光ビート波をそれぞれバランス検波して第1及び第2復調信号が出力される構成である。第1復調信号と第2復調信号とが積算器で乗算されて光位相差検出信号が生成されて出力される。
光位相差検出信号は、ループフィルタで時間平均されVCO制御信号が生成されて、このVCO制御信号がVCOに供給される。この過程で、入力光信号の光パルスの時間波形はループフィルタで消滅し、入力光信号の光搬送波の位相と再生光搬送波の位相差に比例する直流成分のみがVCO制御信号として生成される。このVCO制御信号は、上述のこの発明の第1光位相同期ループ回路におけるVCO制御信号と同様である。
第1及び第2光位相同期ループ回路が具える単側波帯変調部の動作は、第3及び第4光位相同期ループ回路においても同様である。また、第2光位相同期ループ回路が具える周波数弁別ループ回路の動作は、第4光位相同期ループ回路においても同様である。
第3光位相同期ループ回路が有効に動作して位相同期が実現されている状態では、入力光信号が復調された第1復調信号と第2復調信号とが生成される。第1復調信号と第2復調信号は、PSK光信号である入力光信号がOOK方式の光信号に変換された信号である。また、第1復調信号と第2復調信号とは互いに相補的な関係にあり、それぞれ正理論及び負理論の符号パターンで構成される強度変調信号である。
この発明の第4光位相同期ループ回路は、上述の第2光位相同期ループ回路と同様、周波数弁別ループ回路が付加されている。これによって、入力光搬送波の周波数にゆらぎが存在しても、入力光搬送波の周波数及び位相と、参照光搬送波の周波数及び位相とを厳密に同期させることが可能となることは、第2光位相同期ループ回路における場合と同様である。
以下、図1〜図8を参照して、この発明の実施の形態につき説明する。なお、各図は、この発明に係る一構成例を図示するものであり、この発明が理解できる程度に各構成要素の配置関係等を概略的に示しているに過ぎず、この発明を図示例に限定するものではない。また、以下の説明において、特定の部品あるいは素子および条件等を用いることがあるが、これら部品あるいは素子および条件等は好適例の一つに過ぎず、したがって、何らこれらに限定されない。また、以下に示す図6を除く各図において、光ファイバ等の光パルス信号の経路を太線で示し、電気信号の経路を細線で示してある。以下の説明において、入力光搬送波と再生光搬送波又は参照光搬送波の偏波面が一致していることを想定する。
<第1光位相同期ループ回路>
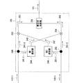
図1を参照して、この発明の実施形態の第1光位相同期ループ回路の構成とその動作原理を説明する。図1は、この発明の実施形態の第1光位相同期ループ回路の概略的ブロック構成図である。
この発明の第1光位相同期ループ回路は、光カプラ12と、光電変換器14と、ループフィルタ16と、VCO 18と、単側波帯変調部36とを具えて構成される。
光カプラ12は、周波数がf Hzである入力光搬送波11と、同じく周波数がf Hzである再生光搬送波45-1とが入力されて、入力光搬送波11と再生光搬送波45-1の位相差に基づく光ビート波13を生成して出力する。光電変換器14は、光ビート波13が入力されて、光電変換して電気ビート波15を生成して出力する。ループフィルタ16は、電気ビート波15が入力されて、当該電気ビート波15の時間平均強度に比例するVCO制御信号17を生成して出力する。
VCO 18は、VCO制御信号17が入力されて、当該VCO制御信号17の強度の関数として与えられる周波数のRF信号19を生成して出力する。VCO 18は、任意に与える定数分の位相差に対してΔf Hz(オフセット周波数ということもある。)に等しい周波数のRF信号を出力するように設定されている。
単側波帯変調部36は、RF信号19と局波光源30から出力された周波数が(f‐Δf) Hzである参照光搬送波31とが入力されて、参照光搬送波31を単側波帯変調することにより、参照光搬送波の全エネルギーを周波数がfに等しい再生光搬送波37に変換して出力する。
単側波帯変調部36は、電気分岐器20と、キャパシタ22と、光分波器32と、第1光強度変調器24と、移相器26と、第2光強度変調器28と、光合波器34とを具えて構成されている。
電気分岐器20は、RF信号19を、第1分岐RF信号21-1と第2分岐RF信号21-2とに分岐する。キャパシタ22は、第1分岐RF信号21-1が入力されて、当該第1分岐RF信号21-1の位相をπ/2シフトしたπ/2位相シフトRF信号23を生成して出力する。
光分波器32は、周波数が(f‐Δf) Hzである参照光搬送波31を、第1参照光搬送波33-1と第2参照光搬送波33-2とに分岐する。第1光強度変調器24はπ/2位相シフトRF信号23と第1参照光搬送波33-1とが入力されて、第1変調光搬送波25を生成して出力する。
移相器26は、第2参照光搬送波33-2が入力されて、当該第2参照光搬送波33-2の位相をπ/2シフトしてπ/2位相シフト参照光搬送波27を生成して出力する。第2光強度変調器28は、π/2位相シフト参照光搬送波27と第2分岐RF信号21-2が入力されて、第2変調光搬送波29を生成して出力する。光合波器34は、第1変調光搬送波25と第2変調光搬送波29が入力されて、再生光搬送波37を生成して出力する。
ここで、時間パラメータをtとして、参照光搬送波31、すなわち、第1参照光搬送波33-1及び第2参照光搬送波33-2がsin{(f‐Δf)t}で表され、RF信号19、すなわち、第1分岐RF信号21-1及び第2分岐RF信号21-2がsin(Δft)で表されるものとして、単側波帯変調部36の働きについて説明する。
第1分岐RF信号21-1は、キャパシタ22に入力されてその位相がπ/2シフトされたπ/2位相シフトRF信号23に変換される。従って、π/2位相シフトRF信号23は、cos(Δft)で表される。また、sin{(f‐Δf)t}で表される第1参照光搬送波33-1は、第1光強度変調器24に入力されてcos(Δft)で表されるπ/2位相シフトRF信号23で強度変調されて第1変調光搬送波25に変換されて出力される。従って、第1変調光搬送波25は、cos(Δft)・sin{(f‐Δf)t}で表される。
一方、sin{(f‐Δf)t}で表される第2参照光搬送波33-2は、移相器26に入力されてその位相がπ/2シフトされてπ/2位相シフト参照光搬送波27に変換されて出力される。従って、π/2位相シフト参照光搬送波27は、cos{(f‐Δf)t}で表される。π/2位相シフト参照光搬送波27は、第2光強度変調器28に入力されてsin(Δft)で表される第2分岐RF信号21-2で強度変調されて第2変調光搬送波29に変換されて出力される。従って、第2変調光搬送波29は、sin(Δft)・cos{(f‐Δf)t}で表される。
光合波器34には、cos(Δft)・sin{(f‐Δf)t}で表される第1変調光搬送波25と、sin(Δft)・cos{(f‐Δf)t}で表される第2変調光搬送波29が入力されて両者が合波されて、再生光搬送波37が生成されて出力される。従って、再生光搬送波37は、cos(Δft)・sin{(f‐Δf)t}+sin(Δft)・cos{(f‐Δf)t}=sin(ft)で表される。
以上説明した様に、単側波帯変調部36には、sin{(f‐Δf)t}で表される参照光搬送波31が入力されて、sin(f・t)で与えられる再生光搬送波37が出力され、しかも、参照光搬送波31の全エネルギーが再生光搬送波37に移されている。すなわち、単側波帯変調部36は、sin(Δft)で表されるRF信号19と、局波光源30から出力されたsin{(f‐Δf)t}で表される参照光搬送波31とが入力されて、参照光搬送波31を単側波帯変調することにより、参照光搬送波の全エネルギーをsin(f・t)で与えられる再生光搬送波37に変換して出力する機能を有している。
この発明の実施形態の第1光位相同期ループ回路は、光カプラ12、光電変換器14、ループフィルタ16、VCO 18、及び単側波帯変調部36によってループ回路を形成している。従って、VCO 18にその出力を基にしたフィードバックループが掛かり、発振周波数Δf Hz近傍を発振周波数レンジとするVCO 18から出力されるRF信号19の周波数が、ΔfとなるようにVCO 18が常に制御されている。これによって、再生光搬送波37と入力光搬送波11との同期が実現するとともに、両者の周波数も一致する方向でフィードバックループ回路が動作する。
<第2光位相同期ループ回路>
図2及び図3を参照して、この発明の実施形態の第2光位相同期ループ回路の構成とその動作原理を説明する。図2はこの発明の実施形態の第2光位相同期ループ回路の概略的ブロック構成図であり、図3はの発明の実施形態の第2光位相同期ループ回路が具える周波数弁別ループ回路の概略的ブロック構成図である。
この発明の第2光位相同期ループ回路は、光カプラ12と、第1光電変換器38と、第2光電変換器50と、周波数弁別ループ回路40と、第1ループフィルタ52と、第1 VCO 56と、第2ループフィルタ54と、第2 VCO 58と、RF加算器60と、単側波帯変調部36とを具えて構成される。
光カプラ12は入力光搬送波11と、再生光搬送波45-1とが入力されて、入力光搬送波11と再生光搬送波45-1の位相差に基づく周波数の第1光ビート波13-1及び第2光ビート波13-2を生成して出力する。第1光電変換器38は、第1光ビート波13-1が入力されて、光電変換して第1電気ビート波39を生成して出力する。第2光電変換器50は、第2光ビート波13-2が入力されて、光電変換して第2電気ビート波51を生成して出力する。
周波数弁別ループ回路40は、第1電気ビート波39が入力されて、入力光搬送波11の周波数の時間変動の大きさに比例した電圧信号である周波数弁別信号41を生成して出力する。第1ループフィルタ52は、周波数弁別信号41が入力されて、当該周波数弁別信号41の時間平均強度に比例する第1 VCO制御信号53を生成して出力する。第1 VCO 56は、第1 VCO制御信号53が入力されて、当該第1 VCO制御信号の強度の関数として与えられる周波数の第1 RF信号57を生成して出力する。
第2ループフィルタ54は、第2電気ビート波51が入力されて、当該第2電気ビート波51の時間平均強度に比例する第2 VCO制御信号55を生成して出力する。第2 VCO 58は、第2 VCO制御信号55が入力されて、当該第2 VCO制御信号の強度の関数として与えられる周波数の第2 RF信号59を生成して出力する。
RF加算器60は、第1 RF信号57と第2 RF信号59とが入力されて、第1 RF信号と第2 RF信号とを合波して合波RF信号61を生成して出力する。単側波帯変調部36は、合波RF信号61と、局波光源30から出力された参照光搬送波31とが入力されて、参照光搬送波31を単側波帯変調することにより、参照光搬送波の全エネルギーを再生光搬送波37に変換して出力する。
ここで、単側波帯変調部36の構成及びその動作については、上述の第1光位相同期ループ回路の説明においてその説明を行ったので、重複する説明を省略する。第1光位相同期ループ回路が具えていた単側波帯変調部において、キャパシタ22とあるとこをを第1キャパシタと読み替えれば、上述の説明はそのまま成立する。
周波数弁別ループ回路40は、第1電気分岐器140と、第2キャパシタ142と、第2電気分岐器148と、第1遅延器144と、第3電気分岐器150と、第2遅延器146と、第1積算器152と、第2積算器154と、搬送波加算器156とを具えて構成されている。
第1電気分岐器140は、第1電気ビート波39が入力されて、第3電気ビート波141-1と第4電気ビート波141-2とに分岐して出力する。第2キャパシタ142は、第3電気ビート波141-1が入力されて、当該第3電気ビート波141-1の位相をπ/2シフトしたπ/2位相シフト電気ビート波143を生成して出力する。
第2電気分岐器148はπ/2位相シフト電気ビート波143が入力されて、第1電気信号148-1と第2電気信号148-2とに分岐して出力する。第1遅延器144は、第1電気信号148-1が入力されて、Δt秒の時間遅延を付加して第3電気信号145を生成して出力する。第3電気分岐器150は、第4電気ビート波141-2が入力されて、第4電気信号151-1と第5電気信号151-2とに分岐して出力する。第2遅延器146は、第4電気信号151-1が入力されて、Δt秒の時間遅延を付加して第6電気信号147を生成して出力する。
第1積算器152は、第2電気信号148-2と第6電気信号147とが入力されて、第2電気信号148-2と第6電気信号147との積算信号である第7電気信号153を生成して出力する。第2積算器154は、第3電気信号145と第5電気信号151-2とが入力されて、第3電気信号145と第5電気信号151-2との積算信号である第8電気信号155を生成して出力する。
搬送波加算器156は、第7電気信号153と第8電気信号155とが入力されて、第7電気信号153と第8電気信号155とを加算して周波数弁別信号41を生成して出力する。周波数弁別信号41は、第1遅延器144及び第2遅延器146によって付加される遅延時間Δt秒間前後の時刻における、第1電気ビート波39の周波数の変動量に比例した強度を持つ信号である。従って、遅延時間Δtを小さく設定するほど細かな第1電気ビート波39の周波数変動量が捕捉されることになり、それだけ周波数弁別ループ回路40の周波数弁別の感度が向上する。
この発明の実施形態の第2光位相同期ループ回路は、周波数弁別ループ回路40、第1ループフィルタ52及び第1 VCO 56を介してRF加算器60に至る周波数同期ループ回路構成部分と、第2ループフィルタ54及び第2 VCO 58を介してRF加算器60に至る位相同期ループ回路構成部分とからなる、光位相同期ループ回路であると見ることができる。
これによって、受信光信号の光搬送波の周波数にゆらぎが存在して、局波光源で生成される局波光の周波数と受信光信号の光搬送波の周波数が一致していない場合であっても、周波数同期動作は第1 VCO 56を中心として実行され、位相同期動作は第2 VCO 58を中心として実行される。すなわち、第1 VCO 56及び第2 VCO 58のそれぞれに必要とされる周波数帯域幅は、狭くて済む。
<第3光位相同期ループ回路>
図4〜図6を参照して、この発明の実施形態の第3光位相同期ループ回路の構成とその動作原理を説明する。図4はこの発明の実施形態の第3光位相同期ループ回路の概略的ブロック構成図であり、図5はこの発明の実施形態の第2光位相同期ループ回路が具える90度ハイブリッド光カプラ、第1及び第2バランス検波器の概略的ブロック構成図であり、図6(A)及び(B)は位相同期が実現された状態で入力光信号が、OOK方式の光信号として復調される動作原理の説明に供する図である。
この発明の第3光位相同期ループ回路は、入力光信号分波器100と、90度ハイブリッド光カプラ70と、第1バランス検波器72と、第2バランス検波器74と、積算器76と、ループフィルタ78と、VCO 82と、単側波帯変調部36と、光電変換器92と、クロック信号抽出器94と、タイミング調整器96と、再生光信号生成部98とを具えている。
入力光信号分波器100は、光搬送波をPSK変調した入力光信号99が入力されて、第1入力光信号101と第2入力光信号103とに分岐して出力する。90度ハイブリッド光カプラ70は、第1入力光信号101と再生PSK光信号105とが入力されて、第1入力光信号101と再生PSK光信号105の位相差に基づく第1光ビート波71-1及び第2光ビート波71-2を生成して出力する。第1バランス検波器72は、第1光ビート波71-1を入力して、バランス検波して第1復調信号73を生成して出力する。第2バランス検波器74は、第2光ビート波71-2を入力して、バランス検波して第2復調信号75を生成して出力する。
積算器76は、第1復調信73と第2復調信号75とが入力れて、第1復調信号73と第2復調信号75との積算信号である光位相差検出信号77を生成して出力する。ループフィルタ78は、光位相差検出信号77が入力されて当該光位相差検出信号77の時間平均強度に比例するVCO制御信号79を生成して出力する。VCO 82は、VCO制御信号79が入力されて、当該VCO制御信号79の強度の関数として与えられる周波数のRF信号83を生成して出力する。
単側波帯変調部36は、RF信号83と、局波光源30から出力された参照光搬送波31とが入力されて、参照光搬送波を単側波帯変調することにより、参照光搬送波の全エネルギーを再生光搬送波37に変換して出力する。
単側波帯変調部36の構成及びその動作は既に説明したので、重複する説明を省略する。
光電変換器92は、第2入力光信号103が入力されて、光電変換して入力電気信号93を生成して出力する。クロック信号抽出器94は、入力電気信号93が入力されて、入力電気信号93からクロック信号95を抽出する。クロック信号抽出器94は、従来周知のクロック信号抽出器を適宜利用することができるので、その構造及び動作の説明を省略する。
タイミング調整器96は、クロック信号95が入力されて、クロック信号の遅延時間を調整してクロック信号97を生成して出力する。再生光信号生成部98は、タイミング調整器96から出力されるクロック信号97と再生光搬送波37とが入力されて、再生PSK光信号105を生成して出力する。
再生光搬送波37は、振幅が一定である連続波光である。すなわち強度が一定であり、その周波数はf Hzであって何らの変調が加えられていない光搬送波である。一方、クロック信号97は、第2入力光信号103を構成する光パルスと、再生光信号生成部98で生成されて出力される再生PSK光信号105を構成する光パルスとを、時間軸上で重なるように、クロック信号95の遅延時間を調整されたクロック信号である。
再生光信号生成部98には、クロック信号97と再生光搬送波37とが入力されて、再生光搬送波37がクロック信号97により変調されることによって、再生PSK光信号105が生成される。再生光信号生成部98は、周知の光強度変調器を適宜利用して構成することができる。
再生光信号生成部98は、強制モード同期半導体レーザを利用して構成することが可能である。例えば、クロック信号97で駆動された強制モード同期半導体レーザに連続波光である再生光搬送波37を注入して、光パルス列を生成させて出力させる。これにより、光搬送波としての位相が同期された再生光搬送波37が、クロック信号97により変調されることによって生成されたこの光パルス列を構成する光パルスは、第1入力光信号101を構成する光パルスと時間軸上で重なる関係となる。
すなわち、第2入力光信号103を構成する光パルスと、再生光信号生成部98で生成されて出力される再生PSK光信号105を構成する光パルスとが時間軸上で重なるように、クロック信号97の位相が調整されているので、再生光搬送波37が、クロック信号97により変調されることによって生成されたこの光パルス列を構成する光パルスは、第1入力光信号101を構成する光パルスと時間軸上で重なる関係となる。
この発明の第3光位相同期ループ回路は、90度ハイブリッド光カプラ70、ループフィルタ78、VCO 82、単側波帯変調部36及び再生光信号生成部98によってループ回路を形成している。従って、VCO 82にその出力を基にしたフィードバックループが掛かり、発振周波数Δf Hz近傍を発振周波数レンジとするVCO 82から出力されるRF信号83の周波数が、ΔfとなるようにVCO 82が常に制御されている。これによって、再生PSK光信号105と第1入力光信号101との同期が実現するとともに、両者の周波数も一致する方向でフィードバックループ回路が動作する。
図5を参照して、90度ハイブリッド光カプラ70の後段に第1バランス検波器72及び第2バランス検波器74を配置して構成されるコスタスループの動作について説明する。
第1入力光信号101と再生PSK光信号105は、90度ハイブリッド光カプラ70に入力される。90度ハイブリッド光カプラ70は、光カプラ70-1、70-2、70-3及び70‐4を具え、互いに90度位相が異なる信号光を生成する。光カプラ70-1から出力される信号光70-1aと信号光70-1bとは互いに90度位相が異なる信号光である。同様に光カプラ70-2から出力される信号光70-2aと信号光70-2b、光カプラ70-3から出力される信号光70-3aと信号光70-3b、及び光カプラ70-4から出力される信号光70-4aと信号光70-4bのそれぞれのペアーについても、互いに90度位相が異なる信号光である。
信号光70-3aと信号光70-3bのペアーが第1光ビート波71-1であり、信号光70-4aと信号光70-4bのペアーが第2光ビート波71-2である。信号光70-3a、信号光70-3b、信号光70-4a、及び信号光70-4bは何れも位相が異なるだけで、何れもPSK光信号である入力光信号がOOK方式の光信号に変換された強度変調信号111である。すなわち、強度変調信号111としては、信号光70-3a、信号光70-3b、信号光70-4a、及び信号光70-4bを採用してもよい。
信号光70-3aと信号光70-3bのペアーは第1バランス検波器72に入力されて、第1復調信号73が生成されて出力される。一方、信号光70-4aと信号光70-4bのペアーは第2バランス検波器74に入力されて、第2復調信号75が生成されて出力される。第1復調信号73と第2復調信号75とは互いに相補的な関係にあり、それぞれ正理論及び負理論の符号パターンで構成される強度変調信号である。
90度ハイブリッド光カプラ70、第1バランス検波器72、及び第2バランス検波器74には周知の素子を適宜利用することが可能である。
図5に示す90度ハイブリッド光カプラ70及びこの後段に配置される第1バランス検波器72及び第2バランス検波器74によれば、0及びπの2値でPSK変調されたPSK光信号である入力光信号がOOK方式の光信号に変換される。
図6(A)及び(B)を参照して入力光信号がOOK方式の光信号として復調される動作原理を説明する。図6(A)は第1入力光信号101の時間波形を示す図であり、図6(B)は入力光信号がOOK方式の光信号に変換された強度変調信号111の時間波形を示す図である。すなわち、何れの図も光搬送波の包絡線の時間変化を示している。図6(A)及び(B)において、横軸は時間を任意スケールで目盛って示してあり、縦軸は光強度を任意スケールで目盛って示してある。
0及びπの2値でPSK変調されたPSK光信号である第1入力光信号101が、この第1入力光信号101と位相同期した再生PSK光信号105と90度ハイブリッド光カプラ70において干渉させると、位相が0である光パルス同士は弱めあい、位相がπである光パルス同士は強めあうことによって、図6(B)に示すように、OOK方式の光信号に変換された強度変調信号111が得られる。
<第4光位相同期ループ回路>
図7及び図8を参照して、この発明の実施形態の第4光位相同期ループ回路の構成とその動作原理を説明する。図7はこの発明の実施形態の第4光位相同期ループ回路の概略的ブロック構成図であり、図8はこの発明の実施形態の第4光位相同期ループ回路が具える周波数弁別ループ回路120の概略的ブロック構成図である。
この発明の第4光位相同期ループ回路は、入力光信号分波器100と、90度ハイブリッド光カプラ70と、第1バランス検波器72と、第2バランス検波器74と、積算器76と、周波数弁別ループ回路120と、第1ループフィルタ52と、第1 VCO 56と、第2ループフィルタ54と、第2 VCO 58と、RF加算器60と、単側波帯変調部36と、光電変換器92と、クロック信号抽出器94と、タイミング調整器96と、再生光信号生成部98とを具えている。
第4光位相同期ループ回路と上述の第3光位相同期ループ回路との相違は、周波数弁別ループ回路120を具えていることにある。それ以外の構成は同一なので、重複する説明を省略する。
90度ハイブリッド光カプラ70から出力される第1復調信号73及び第2復調信号75は、それぞれ電気分岐器112及び114で分岐される。積算器76には、電気分岐器112及び114で分岐された第1復調信号113-2と第2復調信号115-2とが入力れて、第1復調信号113-2と第2復調信号115-2との積算信号である光位相差検出信号77を生成して出力する。
周波数弁別ループ回路120は、電気分岐器112及び114で分岐された第1復調信号113-1と第2復調信号115-1とが入力されて第1入力光信号101の周波数の時間変動の大きさに比例した電圧信号である周波数弁別信号121を生成して出力する。
第1ループフィルタ52は、周波数弁別信号121が入力されて、当該周波数弁別信号121の時間平均強度に比例する第1 VCO制御信号53を生成して出力する。第1 VCO 56は、第1 VCO制御信号53が入力されて、当該第1 VCO制御信号53の強度の関数として与えられる周波数の第1 RF信号57を生成して出力する。
第2ループフィルタ54は、光位相差検出信号77が入力されて当該光位相差検出信号77の時間平均強度に比例する第2 VCO制御信号55を生成して出力する。第2 VCO 58は、第2 VCO制御信号55が入力されて、当該第2 VCO制御信号55の強度の関数として与えられる周波数の第2 RF信号59を生成して出力する。RF加算器60は、第1 RF信号57と第2 RF信号59とが入力されて、第1 RF信号57と第2 RF信号59とを合波して合波RF信号61を生成して出力する。
単側波帯変調部36は、合波RF信号61と、局波光源から出力された参照光搬送波31とが入力されて、参照光搬送波を単側波帯変調することにより、参照光搬送波の全エネルギーを再生光搬送波37に変換して出力する。
光電変換器92と、クロック信号抽出器94と、タイミング調整器96と、再生光信号生成部98とから構成される部分は、上述の第3光位相同期ループ回路における対応する部分と同一であるので、重複する説明を省略する。また、単側波帯変調部36についても、上述の第3光位相同期ループ回路における対応する部分と同一であるので、重複する説明を省略する。
図8を参照して周波数弁別ループ回路120の構成及びその動作について説明する。第1電気分岐器240は、第1復調信号113-1が入力されて、第1電気信号241-1と第2電気信号241-2とに分岐して出力する。第1遅延器244は、第1電気信号241-1が入力されて、Δt秒の時間遅延を付加して第3電気信号245を生成して出力する。第2電気分岐器250は、第2復調信号115-1が入力されて、第4電気信号251-1と第5電気信号251-2とに分岐して出力する。第2遅延器246は、第4電気信号251-1が入力されて、Δt秒の時間遅延を付加して第6電気信号247を生成して出力する。第1積算器252は、第2電気信号241-2と第6電気信号247とが入力されて、第2電気信号241-2と第6電気信号247との積算信号である第7電気信号253を生成して出力する。第2積算器254は、第3電気信号245と第5電気信号251-2とが入力されて、第3電気信号245と第5電気信号251-2との積算信号である第8電気信号255を生成して出力する。搬送波加算器256は、第7電気信号253と第8電気信号255とが入力されて、第7電気信号253と第8電気信号255とを加算して周波数弁別信号121を生成して出力する。
この発明の実施形態の第4光位相同期ループ回路が具える周波数弁別ループ回路120は、90度ハイブリッド光カプラ70から出力される第1光ビート波71-1と第2光ビート波71-2が互いにその光搬送波としての位相がπ/2ずれているので、この発明の実施形態の第2光位相同期ループ回路が具える周波数弁別ループ回路40の第2キャパシタ142に相当するキャパシタを必要としていない。
この発明の第4光位相同期ループ回路は、上述の第2光位相同期ループ回路と同様、周波数弁別ループ回路120が付加されている。これによって、入力光信号101の周波数にゆらぎが存在しても、入力光信号101の周波数及び位相と、再生PSK光信号105の周波数及び位相とを厳密に同期させることが可能となることは、第2光位相同期ループ回路における場合と同様である。
この発明の実施形態の第1光位相同期ループ回路の概略的ブロック構成図である。 この発明の実施形態の第2光位相同期ループ回路の概略的ブロック構成図である。 この発明の実施形態の第2光位相同期ループ回路が具える周波数弁別ループ回路の概略的ブロック構成図である。 この発明の実施形態の第3光位相同期ループ回路の概略的ブロック構成図である。 90度ハイブリッド光カプラ、第1及び第2バランス検波器の概略的ブロック構成図である。 入力光信号がOOK方式の光信号として復調される動作原理の説明に供する図である。 この発明の実施形態の第4光位相同期ループ回路の概略的ブロック構成図である。 この発明の実施形態の第4光位相同期ループ回路が具える周波数弁別ループ回路の概略的ブロック構成図である。
符号の説明
12、70-1、70-2、70-3、70-4:光カプラ
14、92:光電変換器
16、78:ループフィルタ
18、82:電圧制御型発振器(VCO)
20、112、114、140、148、150、240、250:電気分岐器
22:キャパシタ
24:第1光強度変調器
26:移相器
28:第2光強度変調器
30:局波光源
32:光分波器
34:光合波器
36:単側波帯変調部
38:第1光電変換器
40、120:周波数弁別ループ回路
50:第2光電変換器
52:第1ループフィルタ
54:第2ループフィルタ
56:第1電圧制御型発振器(VCO)
58:第2電圧制御型発振器(VCO)
60:RF加算器
70:90度ハイブリッド光カプラ
72:第1バランス検波器
74:第2バランス検波器
76:積算器
94:クロック信号抽出器
96:タイミング調整器
98:再生光信号生成部
100:入力光信号分波器
142:第2キャパシタ
144、244:第1遅延器
146、246:第2遅延器
152、252:第1積算器
154、254:第2積算器
156、256:搬送波加算器

Claims (10)

  1. 入力光搬送波と再生光搬送波とが入力されて、前記入力光搬送波と前記再生光搬送波の位相差に基づく光ビート波を生成して出力する光カプラと、
    前記光ビート波が入力されて、光電変換して電気ビート波を生成して出力する光電変換器と、
    前記電気ビート波が入力されて、当該電気ビート波の時間平均強度に比例する電圧制御型発振器制御信号を生成して出力するループフィルタと、
    前記電圧制御型発振器制御信号が入力されて、当該電圧制御型発振器制御信号の強度の関数として与えられる周波数のRF(Radio Frequency)信号を生成して出力する電圧制御型発振器と、
    前記RF信号と局波光源から出力された参照光搬送波とが入力されて、該参照光搬送波を単側波帯変調することにより、該参照光搬送波の全エネルギーを前記再生光搬送波に変換して出力する単側波帯変調部と
    を具えることを特徴とする光位相同期ループ回路。
  2. 前記単側波帯変調部は、
    前記RF信号を、第1分岐RF信号と第2分岐RF信号とに分岐する電気分岐器と、
    前記第1分岐RF信号が入力されて、当該第1分岐RF信号の位相をπ/2シフトしたπ/2位相シフトRF信号を生成して出力するキャパシタと、
    前記参照光搬送波を、第1参照光搬送波と第2参照光搬送波とに分岐する光分波器と、
    前記π/2位相シフトRF信号と前記第1参照光搬送波とが入力されて、第1変調光搬送波を生成して出力する第1光強度変調器と、
    前記第2参照光搬送波が入力されて、当該第2参照光搬送波の位相をπ/2シフトしたπ/2位相シフト参照光搬送波を生成して出力する移相器と、
    前記π/2位相シフト参照光搬送波と前記第2分岐RF信号とが入力されて、第2変調光搬送波を生成して出力する第2光強度変調器と、
    前記第1変調光搬送波と前記第2変調光搬送波とが入力されて、再生光搬送波を生成して出力する光合波器と
    を具えることを特徴とする請求項1に記載の光位相同期ループ回路。
  3. 入力光搬送波と再生光搬送波とが入力されて、前記入力光搬送波と前記再生光搬送波の位相差に基づく周波数の第1光ビート波及び第2光ビート波を生成して出力する光カプラと、
    前記第1光ビート波が入力されて、光電変換して第1電気ビート波を生成して出力する第1光電変換器と、
    前記第2光ビート波が入力されて、光電変換して第2電気ビート波を生成して出力する第2光電変換器と、
    前記第1電気ビート波が入力されて、前記入力光搬送波の周波数の時間変動の大きさに比例した電圧信号である周波数弁別信号を生成して出力する周波数弁別ループ回路と、
    前記周波数弁別信号が入力されて、当該周波数弁別信号の時間平均強度に比例する第1電圧制御型発振器制御信号を生成して出力する第1ループフィルタと、
    前記第1電圧制御型発振器制御信号が入力されて、当該第1電圧制御型発振器制御信号の強度の関数として与えられる周波数の第1 RF(Radio Frequency)信号を生成して出力する第1電圧制御型発振器と、
    前記第2電気ビート波が入力されて、当該第2電気ビート波の時間平均強度に比例する第2電圧制御型発振器制御信号を生成して出力する第2ループフィルタと、
    前記第2電圧制御型発振器制御信号が入力されて、当該第2電圧制御型発振器制御信号の強度の関数として与えられる周波数の第2 RF信号を生成して出力する第2電圧制御型発振器と、
    前記第1 RF信号と前記第2 RF信号とが入力されて、該第1 RF信号と該第2 RF信号とを合波して合波RF信号を生成して出力するRF加算器と、
    前記合波RF信号と局波光源から出力された参照光搬送波とが入力されて、該参照光搬送波を単側波帯変調することにより、該参照光搬送波の全エネルギーを前記再生光搬送波に変換して出力する単側波帯変調部と
    を具えることを特徴とする光位相同期ループ回路。
  4. 前記単側波帯変調部は、
    前記合波RF信号を、第1分岐RF信号と第2分岐RF信号とに分岐する電気分岐器と、
    前記第1分岐RF信号が入力されて、当該第1分岐RF信号の位相をπ/2シフトしたπ/2位相シフトRF信号を生成して出力する第1キャパシタと、
    前記参照光搬送波を、第1参照光搬送波と第2参照光搬送波とに分岐する光分波器と、
    前記π/2位相シフトRF信号と前記第1参照光搬送波とが入力されて、第1変調光搬送波を生成して出力する第1光強度変調器と、
    前記第2参照光搬送波が入力されて、当該第2参照光搬送波の位相をπ/2シフトしたπ/2位相シフト参照光搬送波を生成して出力する移相器と、
    前記π/2位相シフト参照光搬送波と前記第2分岐RF信号とが入力されて、第2変調光搬送波を生成して出力する第2光強度変調器と、
    前記第1変調光搬送波と前記第2変調光搬送波とが入力されて、再生光搬送波を生成して出力する光合波器と
    を具えることを特徴とする請求項3に記載の光位相同期ループ回路。
  5. 前記周波数弁別ループ回路は、
    前記第1電気ビート波が入力されて、第3電気ビート波と第4電気ビート波とに分岐して出力する第1電気分岐器と、
    前記第3電気ビート波が入力されて、当該第3電気ビート波の位相をπ/2シフトしたπ/2位相シフト電気ビート波を生成して出力する第2キャパシタと、
    前記π/2位相シフト電気ビート波が入力されて、第1電気信号と第2電気信号とに分岐して出力する第2電気分岐器と、
    前記第1電気信号が入力されて、Δt秒の時間遅延を付加して第3電気信号を生成して出力する第1遅延器と、
    前記第4電気ビート波が入力されて、第4電気信号と第5電気信号とに分岐して出力する第3電気分岐器と、
    前記第4電気信号が入力されて、Δt秒の時間遅延を付加して第6電気信号を生成して出力する第2遅延器と、
    前記第2電気信号と前記第6電気信号とが入力されて、該第2電気信号と該第6電気信号との積算信号である第7電気信号を生成して出力する第1積算器と、
    前記第3電気信号と前記第5電気信号とが入力されて、該第3電気信号と該第5電気信号との積算信号である第8電気信号を生成して出力する第2積算器と、
    前記第7電気信号と前記第8電気信号とが入力されて、該第7電気信号と該第8電気信号とを加算して周波数弁別信号を生成して出力する搬送波加算器と
    を具えることを特徴とする請求項3に記載の光位相同期ループ回路。
  6. 光搬送波を位相偏移変調した入力光信号が入力されて、第1入力光信号と第2入力光信号とに分岐して出力する入力光信号分波器と、
    前記第1入力光信号と再生位相偏移変調光信号とが入力されて、該第1入力光信号と該再生位相偏移変調光信号の位相差に基づく第1光ビート波及び第2光ビート波を生成して出力する90度ハイブリッド光カプラと、
    前記第1光ビート波を入力して、バランス検波して第1復調信号を生成して出力する第1バランス検波器と、
    前記第2光ビート波を入力して、バランス検波して第2復調信号を生成して出力する第2バランス検波器と、
    前記第1復調信号と前記第2復調信号とが入力されて、該第1復調信号と該第2復調信号との積算信号である光位相差検出信号を生成して出力する積算器と、
    前記光位相差検出信号が入力されて、当該光位相差検出信号の時間平均強度に比例する電圧制御型発振器制御信号を生成して出力するループフィルタと、
    前記電圧制御型発振器制御信号が入力されて、当該電圧制御型発振器制御信号の強度の関数として与えられる周波数のRF(Radio Frequency)信号を生成して出力する電圧制御型発振器と、
    前記RF信号と局波光源から出力された参照光搬送波とが入力されて、該参照光搬送波を単側波帯変調することにより、該参照光搬送波の全エネルギーを前記再生光搬送波に変換して出力する単側波帯変調部と、
    前記第2入力光信号が入力されて、光電変換して入力電気信号を生成して出力する光電変換器と、
    前記入力電気信号が入力されて、該入力電気信号からクロック信号を抽出するクロック信号抽出器と、
    前記クロック信号が入力されて、該クロック信号の遅延時間を調整して出力するタイミング調整器と、
    該タイミング調整器から出力されるクロック信号と前記再生光搬送波とが入力されて、前記再生位相偏移変調光信号を生成して出力する再生光信号生成部と
    を具えることを特徴とする光位相同期ループ回路。
  7. 前記単側波帯変調部は、
    前記RF信号を、第1分岐RF信号と第2分岐RF信号とに分岐する電気分岐器と、
    前記第1分岐RF信号が入力されて、当該第1分岐RF信号の位相をπ/2シフトしたπ/2位相シフトRF信号を生成して出力するキャパシタと、
    前記参照光搬送波を、第1参照光搬送波と第2参照光搬送波とに分岐する光分波器と、
    前記π/2位相シフトRF信号と前記第1参照光搬送波とが入力されて、第1変調光搬送波を生成して出力する第1光強度変調器と、
    前記第2参照光搬送波が入力されて、当該第2参照光搬送波の位相をπ/2シフトしたπ/2位相シフト参照光搬送波を生成して出力する移相器と、
    前記π/2位相シフト参照光搬送波と前記第2分岐RF信号とが入力されて、第2変調光搬送波を生成して出力する第2光強度変調器と、
    前記第1変調光搬送波と前記第2変調光搬送波とが入力されて、再生光搬送波を生成して出力する光合波器と
    を具えることを特徴とする請求項6に記載の光位相同期ループ回路。
  8. 光搬送波を位相偏移変調した入力光信号が入力されて、第1入力光信号と第2入力光信号とに分岐して出力する入力光信号分波器と、
    前記第1入力光信号と再生位相偏移変調光信号とが入力されて、該第1入力光信号と該再生位相偏移変調光信号の位相差に基づく第1光ビート波及び第2光ビート波を生成して出力する90度ハイブリッド光カプラと、
    前記第1光ビート波を入力して、バランス検波して第1復調信号を生成して出力する第1バランス検波器と、
    前記第2光ビート波を入力して、バランス検波して第2復調信号を生成して出力する第2バランス検波器と、
    前記第1復調信号と前記第2復調信号とが入力されて、該第1復調信号と該第2復調信号との積算信号である光位相差検出信号を生成して出力する積算器と、
    前記第1復調信号と前記第2復調信号とが入力されて、前記入力光信号の周波数の時間変動の大きさに比例した電圧信号である周波数弁別信号を生成して出力する周波数弁別ループ回路と、
    前記周波数弁別信号が入力されて、当該周波数弁別信号の時間平均強度に比例する第1電圧制御型発振器制御信号を生成して出力する第1ループフィルタと、
    前記第1電圧制御型発振器制御信号が入力されて、当該第1電圧制御型発振器制御信号の強度の関数として与えられる周波数の第1 RF(Radio Frequency)信号を生成して出力する第1電圧制御型発振器と、
    前記光位相差検出信号が入力されて、当該光位相差検出信号の時間平均強度に比例する第2電圧制御型発振器制御信号を生成して出力する第2ループフィルタと、
    前記第2電圧制御型発振器制御信号が入力されて、当該電圧制御型発振器制御信号の強度の関数として与えられる周波数の第2 RF信号を生成して出力する第2電圧制御型発振器と、
    前記第1 RF信号と前記第2 RF信号とが入力されて、該第1 RF信号と該第2 RF信号とを合波して合波RF信号を生成して出力するRF加算器と、
    前記合波RF信号と局波光源から出力された参照光搬送波とが入力されて、該参照光搬送波を単側波帯変調することにより、該参照光搬送波の全エネルギーを前記再生光搬送波に変換して出力する単側波帯変調部と、
    前記第2入力光信号が入力されて、光電変換して入力電気信号を生成して出力する光電変換器と、
    前記入力電気信号が入力されて、該入力電気信号からクロック信号を抽出するクロック信号抽出器と、
    前記クロック信号が入力されて、該クロック信号の遅延時間を調整して出力するタイミング調整器と、
    該タイミング調整器から出力されるクロック信号と前記再生光搬送波とが入力されて、前記再生位相偏移変調光信号を生成して出力する再生光信号生成部と
    を具えることを特徴とする光位相同期ループ回路。
  9. 前記単側波帯変調部は、
    前記合波RF信号を、第1分岐RF信号と第2分岐RF信号とに分岐する電気分岐器と、
    前記第1分岐RF信号が入力されて、当該第1分岐RF信号の位相をπ/2シフトしたπ/2位相シフトRF信号を生成して出力するキャパシタと、
    前記参照光搬送波を、第1参照光搬送波と第2参照光搬送波とに分岐する光分波器と、
    前記π/2位相シフトRF信号と前記第1参照光搬送波とが入力されて、第1変調光搬送波を生成して出力する第1光強度変調器と、
    前記第2参照光搬送波が入力されて、当該第2参照光搬送波の位相をπ/2シフトしたπ/2位相シフト参照光搬送波を生成して出力する移相器と、
    前記π/2位相シフト参照光搬送波と前記第2分岐RF信号とが入力されて、第2変調光搬送波を生成して出力する第2光強度変調器と、
    前記第1変調光搬送波と前記第2変調光搬送波とが入力されて、再生光搬送波を生成して出力する光合波器と
    を具えることを特徴とする請求項8に記載の光位相同期ループ回路。
  10. 前記周波数弁別ループ回路は、
    前記第1復調信号が入力されて、第1電気信号と第2電気信号とに分岐して出力する第1電気分岐器と、
    前記第1電気信号が入力されて、Δt秒の時間遅延を付加して第3電気信号を生成して出力する第1遅延器と、
    前記第2復調信号が入力されて、第4電気信号と第5電気信号とに分岐して出力する第2電気分岐器と、
    前記第4電気信号が入力されて、Δt秒の時間遅延を付加して第6電気信号を生成して出力する第2遅延器と、
    前記第2電気信号と前記第6電気信号とが入力されて、該第2電気信号と該第6電気信号との積算信号である第7電気信号を生成して出力する第1積算器と、
    前記第3電気信号と前記第5電気信号とが入力されて、該第3電気信号と該第5電気信号との積算信号である第8電気信号を生成して出力する第2積算器と、
    前記第7電気信号と前記第8電気信号とが入力されて、該第7電気信号と該第8電気信号とを加算して周波数弁別信号を生成して出力する搬送波加算器と
    を具えることを特徴とする請求項8に記載の光位相同期ループ回路。
JP2008248120A 2008-09-26 2008-09-26 光位相同期ループ回路 Expired - Fee Related JP4692601B2 (ja)

Priority Applications (2)

Application Number Priority Date Filing Date Title
JP2008248120A JP4692601B2 (ja) 2008-09-26 2008-09-26 光位相同期ループ回路
US12/457,679 US8165476B2 (en) 2008-09-26 2009-06-18 Optical phase locked loop

Applications Claiming Priority (1)

Application Number Priority Date Filing Date Title
JP2008248120A JP4692601B2 (ja) 2008-09-26 2008-09-26 光位相同期ループ回路

Publications (2)

Publication Number Publication Date
JP2010079003A true JP2010079003A (ja) 2010-04-08
JP4692601B2 JP4692601B2 (ja) 2011-06-01

Family

ID=42057618

Family Applications (1)

Application Number Title Priority Date Filing Date
JP2008248120A Expired - Fee Related JP4692601B2 (ja) 2008-09-26 2008-09-26 光位相同期ループ回路

Country Status (2)

Country Link
US (1) US8165476B2 (ja)
JP (1) JP4692601B2 (ja)

Cited By (3)

* Cited by examiner, † Cited by third party
Publication number Priority date Publication date Assignee Title
JP2011146906A (ja) * 2010-01-14 2011-07-28 Oki Electric Industry Co Ltd コヒーレント時分割多重信号受信装置
JP2019083531A (ja) * 2013-03-12 2019-05-30 シナジー マイクロウェーブ コーポレーションSynergy Microwave Corporation 集積自己注入同期型自己位相同期ループ光電子発振器
WO2019167953A1 (ja) * 2018-03-02 2019-09-06 日本電信電話株式会社 光信号処理装置

Families Citing this family (13)

* Cited by examiner, † Cited by third party
Publication number Priority date Publication date Assignee Title
US8023540B2 (en) 2009-05-26 2011-09-20 Redfern Integrated Optics, Inc. Pair of optically locked semiconductor narrow linewidth external cavity lasers with frequency offset tuning
US8463121B2 (en) * 2009-10-09 2013-06-11 Nec Laboratories America, Inc. Ultra wide-range frequency offset estimation for digital coherent optical receivers
EP2410309B1 (en) * 2010-07-20 2017-06-21 U2t Photonics Ag Method and system for characterizing an optical device
US9097790B2 (en) * 2012-02-02 2015-08-04 The United States Of America As Represented By The Secretary Of The Army Method and apparatus for providing radio frequency photonic filtering
CN107409000B (zh) * 2015-04-10 2019-05-28 华为技术有限公司 一种相干光源频偏估计和补偿的相干接收机、方法和系统
WO2018066001A1 (en) * 2016-10-04 2018-04-12 Mohare Pradnesh Apparatuses and methods for superposition based wave synthesis
US10313021B1 (en) * 2018-01-10 2019-06-04 Ciena Corporation High-efficiency self-resetting integrating optical transceiver
CN111947696B (zh) * 2020-08-14 2021-11-23 重庆大学 矢量光学啁啾链布里渊时域分析系统
CN114640907B (zh) * 2020-12-16 2023-07-07 华为技术有限公司 一种光通信装置和光通信方法
US11923908B2 (en) * 2021-03-19 2024-03-05 The Trustees Of The University Of Pennsylvania Integrated coherent receiver with off PLL bandwidth demodulation
CN113851919B (zh) * 2021-09-22 2022-09-13 中国科学院半导体研究所 扫频电信号生成系统
CN114205003B (zh) * 2021-12-09 2023-10-20 北京邮电大学 一种用于过光纤链路的信号光与本振光频差信号锁定的快慢环结合反馈控制系统与方法
CN114844571B (zh) * 2022-05-06 2023-10-27 武汉邮电科学研究院有限公司 一种模拟相干光通信的载波恢复方法及系统

Citations (6)

* Cited by examiner, † Cited by third party
Publication number Priority date Publication date Assignee Title
JPH07264136A (ja) * 1994-03-16 1995-10-13 Ando Electric Co Ltd 光pll回路
JPH08213967A (ja) * 1995-02-02 1996-08-20 Nippon Telegr & Teleph Corp <Ntt> 光多重アクセス方式
JPH10178394A (ja) * 1996-10-14 1998-06-30 Advantest Corp 光周波数自動追尾方式、光位相同期追尾方式および偏波追尾方式ならびにそれらの方式を用いた光信号検出回路
JP2005006258A (ja) * 2003-06-16 2005-01-06 Oki Electric Ind Co Ltd 光受信装置
JP2007333753A (ja) * 2004-08-30 2007-12-27 Osaka Univ 電気光学ssb光変調器及び光周波数シフタ
JP2009038801A (ja) * 2007-07-31 2009-02-19 Fujitsu Ltd 周波数オフセットモニタリング装置及びコヒーレント光受信機

Family Cites Families (5)

* Cited by examiner, † Cited by third party
Publication number Priority date Publication date Assignee Title
JPH0746191A (ja) 1993-08-02 1995-02-14 Nippon Telegr & Teleph Corp <Ntt> 光位相同期装置
JP3411832B2 (ja) 1998-08-19 2003-06-03 日本電信電話株式会社 光位相同期光源および光周波数同期光源
US7551858B2 (en) * 2001-10-05 2009-06-23 Alcatel-Lucent Canada Inc. Signal identification in optical communications networks
US20040208643A1 (en) * 2002-05-13 2004-10-21 Ar Card Coherent optical receivers
WO2005091532A1 (ja) * 2004-03-22 2005-09-29 Sumitomo Osaka Cement Co., Ltd キャリア残留型信号の生成方法及びその装置

Patent Citations (6)

* Cited by examiner, † Cited by third party
Publication number Priority date Publication date Assignee Title
JPH07264136A (ja) * 1994-03-16 1995-10-13 Ando Electric Co Ltd 光pll回路
JPH08213967A (ja) * 1995-02-02 1996-08-20 Nippon Telegr & Teleph Corp <Ntt> 光多重アクセス方式
JPH10178394A (ja) * 1996-10-14 1998-06-30 Advantest Corp 光周波数自動追尾方式、光位相同期追尾方式および偏波追尾方式ならびにそれらの方式を用いた光信号検出回路
JP2005006258A (ja) * 2003-06-16 2005-01-06 Oki Electric Ind Co Ltd 光受信装置
JP2007333753A (ja) * 2004-08-30 2007-12-27 Osaka Univ 電気光学ssb光変調器及び光周波数シフタ
JP2009038801A (ja) * 2007-07-31 2009-02-19 Fujitsu Ltd 周波数オフセットモニタリング装置及びコヒーレント光受信機

Cited By (6)

* Cited by examiner, † Cited by third party
Publication number Priority date Publication date Assignee Title
JP2011146906A (ja) * 2010-01-14 2011-07-28 Oki Electric Industry Co Ltd コヒーレント時分割多重信号受信装置
JP2019083531A (ja) * 2013-03-12 2019-05-30 シナジー マイクロウェーブ コーポレーションSynergy Microwave Corporation 集積自己注入同期型自己位相同期ループ光電子発振器
WO2019167953A1 (ja) * 2018-03-02 2019-09-06 日本電信電話株式会社 光信号処理装置
JP2019153058A (ja) * 2018-03-02 2019-09-12 日本電信電話株式会社 光信号処理装置
US20200363660A1 (en) * 2018-03-02 2020-11-19 Nippon Telegraph And Telephone Corporation Optical Signal Processing Device
US11982884B2 (en) * 2018-03-02 2024-05-14 Nippon Telegraph And Telephone Corporation Optical signal processing device

Also Published As

Publication number Publication date
US20100080564A1 (en) 2010-04-01
JP4692601B2 (ja) 2011-06-01
US8165476B2 (en) 2012-04-24

Similar Documents

Publication Publication Date Title
JP4692601B2 (ja) 光位相同期ループ回路
JP4911618B2 (ja) コヒーレント光受信装置
JP5601205B2 (ja) 光受信器および光通信システム
US8761600B2 (en) In-band supervisory data modulation
JP4770998B2 (ja) 光ホモダイン受信機の同期回路及び光ホモダイン受信機
CN106716879A (zh) 光学上变频和下变频型光学相位共轭对信号收发电路
JP2019513314A (ja) 元鍵復元装置および方法
CN102714553B (zh) 信号处理方法、光接收机以及光网络系统
JPH0478235A (ja) 直接変調psk伝送システム並びに該システムにおける自動周波数制御方法、復調方法及び位相雑音抑圧方法
JPH01117434A (ja) 4値fsk光通信方式
JP2019054429A (ja) 送信装置、受信装置、送信方法、及び受信方法
JP5598958B2 (ja) 分周型光位相追尾型復調器
US5081712A (en) Method and apparatus for obtaining phase in sensitive and/or polarization-insensitive optical heterodyne receiver for a fsk-modulated transmission signal
JP4821912B2 (ja) 光ホモダイン受信機の同期回路及び光ホモダイン受信機
JP5633876B2 (ja) コヒーレント光時分割多重信号の復調方式
JP5888635B2 (ja) コヒーレント光時分割多重伝送装置
US12166532B2 (en) Optical receiver and optical receiving method
JP4802270B2 (ja) 光位相変調方式における光位相同期方法および光位相同期装置
JP2011146906A (ja) コヒーレント時分割多重信号受信装置
US5060311A (en) Method and apparatus for obtaining phase or polarization insensitive optical heterodyne reception for dpsk or ask-modulated transmission signal
JP6103100B1 (ja) 光信号復調器
JP2014072682A (ja) 光位相同期ループ回路
JP6464888B2 (ja) 直交信号生成器及び光電圧制御発振器、並びに、直交信号生成方法及び光電圧制御発振方法
JP2944040B2 (ja) 光伝送システム
JPH0653906A (ja) コヒーレント光通信用受信機及び送受信機

Legal Events

Date Code Title Description
A131 Notification of reasons for refusal

Free format text: JAPANESE INTERMEDIATE CODE: A131

Effective date: 20100601

A521 Written amendment

Free format text: JAPANESE INTERMEDIATE CODE: A523

Effective date: 20100730

TRDD Decision of grant or rejection written
A01 Written decision to grant a patent or to grant a registration (utility model)

Free format text: JAPANESE INTERMEDIATE CODE: A01

Effective date: 20110125

A01 Written decision to grant a patent or to grant a registration (utility model)

Free format text: JAPANESE INTERMEDIATE CODE: A01

A61 First payment of annual fees (during grant procedure)

Free format text: JAPANESE INTERMEDIATE CODE: A61

Effective date: 20110207

FPAY Renewal fee payment (event date is renewal date of database)

Free format text: PAYMENT UNTIL: 20140304

Year of fee payment: 3

R150 Certificate of patent or registration of utility model

Ref document number: 4692601

Country of ref document: JP

Free format text: JAPANESE INTERMEDIATE CODE: R150

Free format text: JAPANESE INTERMEDIATE CODE: R150

FPAY Renewal fee payment (event date is renewal date of database)

Free format text: PAYMENT UNTIL: 20140304

Year of fee payment: 3

S531 Written request for registration of change of domicile

Free format text: JAPANESE INTERMEDIATE CODE: R313531

FPAY Renewal fee payment (event date is renewal date of database)

Free format text: PAYMENT UNTIL: 20140304

Year of fee payment: 3

R350 Written notification of registration of transfer

Free format text: JAPANESE INTERMEDIATE CODE: R350

LAPS Cancellation because of no payment of annual fees