JP2010076252A - 熱転写シート - Google Patents
熱転写シート Download PDFInfo
- Publication number
- JP2010076252A JP2010076252A JP2008247029A JP2008247029A JP2010076252A JP 2010076252 A JP2010076252 A JP 2010076252A JP 2008247029 A JP2008247029 A JP 2008247029A JP 2008247029 A JP2008247029 A JP 2008247029A JP 2010076252 A JP2010076252 A JP 2010076252A
- Authority
- JP
- Japan
- Prior art keywords
- heat
- parts
- layer
- resistant slipping
- slipping layer
- Prior art date
- Legal status (The legal status is an assumption and is not a legal conclusion. Google has not performed a legal analysis and makes no representation as to the accuracy of the status listed.)
- Granted
Links
Images
Landscapes
- Thermal Transfer Or Thermal Recording In General (AREA)
Abstract
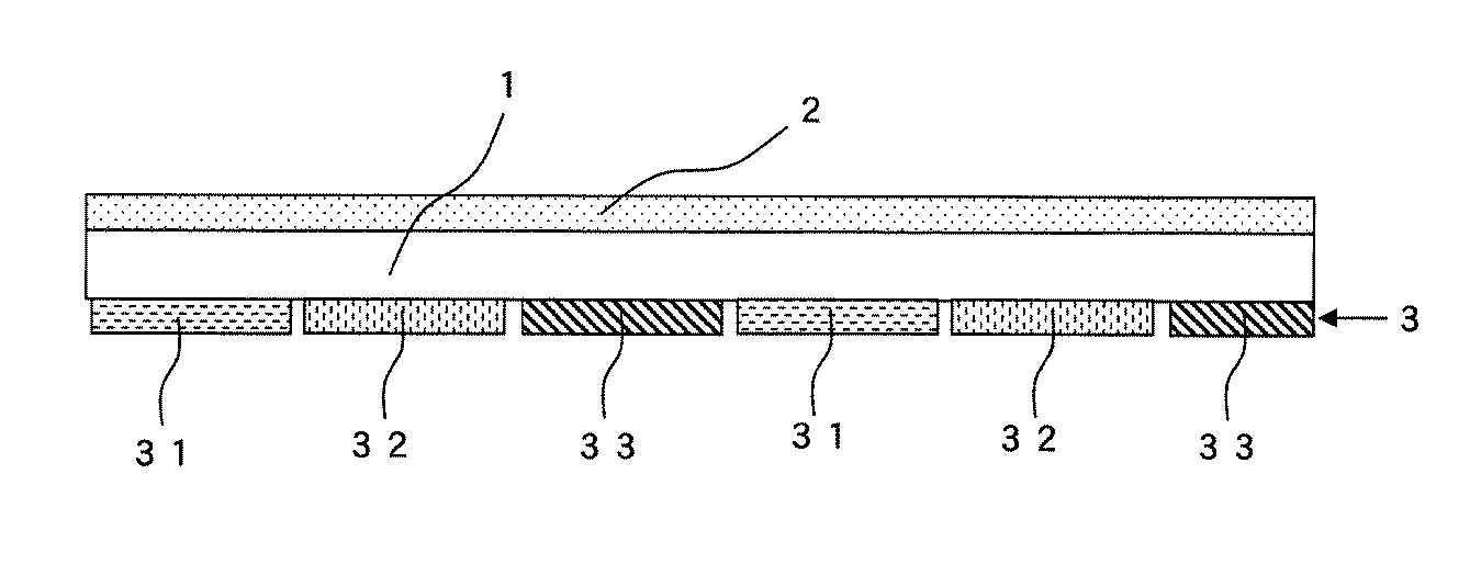
【解決手段】 基材フィルム1の一方の面に熱転写性色材層3を有し、該基材フィルム1の他方の面に耐熱滑性層2が形成されている熱転写シートにおいて、該耐熱滑性層2がポリビニルブチラールとポリイソシアネートを、ポリビニルブチラール10質量部に対し、ポリイソシアネートを2.5〜7質量部の割合で含有し、かつリン酸エステル系界面活性剤を全固形分に対し5〜10%、反応性シリコーンオイルを全固形分に対し3〜5%を含有する耐熱滑性層用組成物の硬化物からなることを特徴とする。
【選択図】 図1
Description
図1に本発明の熱転写シートである一つの実施形態を示す。基材フィルム1の一方の面に、熱転写性色材層3を設け、基材フィルム1の他方の面に、耐熱滑性層2が形成されている。また、図2に本発明の熱転写シートである他の実施形態を示す。基材フィルム1の一方の面に、熱転写性色材層3として、イエロー色材層31、マゼンタ色材層32、シアン色材層33を面順次に繰り返し設け、基材フィルム1の他方の面に、耐熱滑性層2が形成された構成である。
以下に、本発明の熱転写シートを構成する各層について、詳しく説明する。
本発明の熱転写シートを構成する基材フィルム1としては、従来公知のある程度の耐熱性と強度を有するものであればいずれのものでも良く、例えば、0.5〜50μm、好ましくは1.5〜10μm程度の厚さのポリエチレンテレフタレートフィルム、1,4−ポリシクロヘキシレンジメチレンテレフタレートフィルム、ポリエチレンナフタレートフィルム、ポリフェニレンサルファイドフィルム、ポリスチレンフィルム、ポリプロピレンフィルム、ポリサルホンフィルム、アラミドフィルム、ポリカーボネートフィルム、ポリビニルアルコールフィルム、セロハン、酢酸セルロース等のセルロース誘導体、ポリエチレンフィルム、ポリ塩化ビニルフィルム、ナイロンフィルム、ポリイミドフィルム、アイオノマーフィルム等の樹脂フィルムの他に、コンデンサー紙、パラフィン紙等の紙類や不織布等、又は紙や不織布と樹脂との複合体であってもよい。
耐熱滑性層2は、印画時におけるサーマルヘッドの走行性、耐熱性等を向上させる目的で、形成される。本発明では、耐熱滑性層がポリビニルブチラールとポリイソシアネート、またリン酸エステル系界面活性剤、反応性シリコーンオイルを含有する耐熱滑性層用組成物の硬化物から構成される。ポリイソシアネートと反応してバインダー樹脂を形成するポリビニルブチラールは、ポリイソシアネートとの反応基である−OH基を適当な割合で含有するもので、上記の化合物のうち、特に分子量が60,000〜200,000、ガラス転移温度が60〜110℃、含有するビニルアルコール部分の質量が15〜40%であるポリビニルブチラールが好ましい。含有するビニルアルコール部分の質量が15%未満であると、耐熱滑性層のバインダーの架橋密度が低く、耐熱性が低下してくる。また一方で、含有するビニルアルコール部分の質量が40%を越えると、耐熱滑性層の架橋密度が高過ぎて、ポリイソシアネートの添加量が多く必要となり、耐熱滑性層を反応硬化させるために、長期の熱処理(エージング)が必要となってくる。
1)長鎖アルキルリン酸エステル、例えば、炭素数が通常6〜20、好ましくは炭素数12〜18の飽和又は不飽和高級アルコール、例えば、セチルアルコール、ステアリルアルコール、オレイルアルコール等とリン酸とのモノ及び/又はジエステル等、
2)ポリオキシアルキレンアルキルエーテル又はポリオキシアルキレンアルキルアリールエーテル等のリン酸エステル、
3)前記飽和又は不飽和アルコールのアルキレンオキサイド付加物(通常付加モル数1〜8)又は炭素数8〜12のアルキル基を少なくとも1個、好ましくは1〜2個有するアルキルフェノールまたはアルキルナフトール(ノニルフェノール、ドデシルフェノール、ジフェニルフェノール等)のリン酸モノまたはジエステル塩等の非イオン性又は陰イオン性リン酸エステル系界面活性剤が挙げられる。
基材フィルムの耐熱滑性層の設けられている面の他方の面に形成する熱転写性色材層3は、昇華型の熱転写シートである場合には昇華性染料を含む層を形成し、熱溶融型の熱転写シートである場合には顔料などで着色した熱溶融性インキで層を形成する。以下、昇華型の熱転写シートを代表例として詳述するが、本発明は昇華型の熱転写シートのみに限定されるものではない。
C.I.ディスパースブルー24,56,14,301,334,165,19,72,87,287,154,26,354
C.I.ディスパースレッド135,146,59,1,73,60,167
C.I.ディスパースオレンジ149
C.I.ディスパースバイオレット4,13,26,36,56,31
C.I.ソルベントイエロー56,14,16,29
C.I.ソルベントブルー70,35,63,36,50,49,111,105,97,11
C.I.ソルベントレッド135,81,18,25,19,23,24,143,146,182
C.I.ソルベントバイオレット13
C.I.ソルベントブラック3
C.I.ソルベントグリーン3
(実施例1)
厚さ6μmの易接着処理済みポリエチレンテレフタレートフィルム(ダイヤホイルK203E、三菱ポリエステルフィルム(株)製)の基材フィルムの一方の面に、ワイヤーバーコーターを用いて、下記耐熱滑性層用組成物1を固形分換算で0.5g/m2の割合で塗布し、100℃のオーブン内で1分間乾燥処理し、耐熱滑性層を形成した。
・ポリビニルポリビニルブチラール 69.6部
(エスレックBX−1、積水化学工業(株)製)
・ポリイソシアネート 38.7部
(バーノックD750−45、固形分45質量%、大日本インキ化学工業(株)製)
・リン酸エステル系界面活性剤 5.0部
(プライサーフA208N、第一製薬工業(株)製)
・反応性シリコーンオイル 3.0部
(X−22−1821、信越化学工業(株)製、片末端フェノール基変性シリコーンオイル)
・ステアリルリン酸亜鉛(LBT−1830精製、堺化学工業(株)製) 1.0部
・タルク(ミクロエースP−3、日本タルク工業(株)製) 4.0部
・メチルエチルケトン 100.0部
・トルエン 100.0部
上記のポリイソシアネートにおけるポリビニルブチラールに対する割合は、ポリビニルブチラール10質量部に対し、ポリイソシアネートが2.5質量部である。
・C.I.ソルベントブルー63 3.0部
・ポリビニルブチラール樹脂 3.0部
(BX−1、積水化学工業(株)製)
・メチルエチルケトン 41.0部
・トルエン 41.0部
実施例1における耐熱滑性層用組成物1を、下記の耐熱滑性層用組成物2にした他は、実施例1と同様にして、実施例2の熱転写シートを作製した。
<耐熱滑性層用組成物2>
・ポリビニルポリビニルブチラール 50.7部
(エスレックBX−1、積水化学工業(株)製)
・ポリイソシアネート 75.1部
(バーノックD750−45、固形分45質量%、大日本インキ化学工業(株)製)
・リン酸エステル系界面活性剤 7.5部
(プライサーフA208N、第一製薬工業(株)製)
・反応性シリコーンオイル 3.0部
(X−22−1821、信越化学工業(株)製、片末端フェノール基変性シリコーンオイル)
・ステアリルリン酸亜鉛(LBT−1830精製、堺化学工業(株)製) 1.0部
・タルク(ミクロエースP−3、日本タルク工業(株)製) 4.0部
・メチルエチルケトン 100.0部
・トルエン 100.0部
上記のポリイソシアネートにおけるポリビニルブチラールに対する割合は、ポリビニルブチラール10質量部に対し、ポリイソシアネートが6.7質量部である。
実施例1における耐熱滑性層用組成物1を、下記の耐熱滑性層用組成物3にした他は、実施例1と同様にして、実施例3の熱転写シートを作製した。
<耐熱滑性層用組成物3>
・ポリビニルポリビニルブチラール 65.6部
(エスレックBX−1、積水化学工業(株)製)
・ポリイソシアネート 36.4部
(バーノックD750−45、固形分45質量%、大日本インキ化学工業(株)製)
・リン酸エステル系界面活性剤 10.0部
(プライサーフA208N、第一製薬工業(株)製)
・反応性シリコーンオイル 3.0部
(X−22−1821、信越化学工業(株)製、片末端フェノール基変性シリコーンオイル)
・ステアリルリン酸亜鉛(LBT−1830精製、堺化学工業(株)製) 1.0部
・タルク(ミクロエースP−3、日本タルク工業(株)製) 4.0部
・メチルエチルケトン 100.0部
・トルエン 100.0部
上記のポリイソシアネートにおけるポリビニルブチラールに対する割合は、ポリビニルブチラール10質量部に対し、ポリイソシアネートが2.5質量部である。
実施例1における耐熱滑性層用組成物1を、下記の耐熱滑性層用組成物4にした他は、実施例1と同様にして、実施例4の熱転写シートを作製した。
<耐熱滑性層用組成物4>
・ポリビニルポリビニルブチラール 68.0部
(エスレックBX−1、積水化学工業(株)製)
・ポリイソシアネート 37.8部
(バーノックD750−45、固形分45質量%、大日本インキ化学工業(株)製)
・リン酸エステル系界面活性剤 5.0部
(プライサーフA208N、第一製薬工業(株)製)
・反応性シリコーンオイル 5.0部
(X−22−1821、信越化学工業(株)製、片末端フェノール基変性シリコーンオイル)
・ステアリルリン酸亜鉛(LBT−1830精製、堺化学工業(株)製) 1.0部
・タルク(ミクロエースP−3、日本タルク工業(株)製) 4.0部
・メチルエチルケトン 100.0部
・トルエン 100.0部
上記のポリイソシアネートにおけるポリビニルブチラールに対する割合は、ポリビニルブチラール10質量部に対し、ポリイソシアネートが2.5質量部である。
実施例1における耐熱滑性層用組成物1を、下記の耐熱滑性層用組成物5にした他は、実施例1と同様にして、実施例5の熱転写シートを作製した。
<耐熱滑性層用組成物5>
・ポリビニルポリビニルブチラール 69.6部
(エスレックBX−1、積水化学工業(株)製)
・ポリイソシアネート 38.7部
(バーノックD750−45、固形分45質量%、大日本インキ化学工業(株)製)
・リン酸エステル系界面活性剤 5.0部
(プライサーフA208N、第一製薬工業(株)製)
・反応性シリコーンオイル 3.0部
(X−22−173DX、信越化学工業(株)製、片末端エポキシ基変性シリコーンオイル)
・ステアリルリン酸亜鉛(LBT−1830精製、堺化学工業(株)製) 1.0部
・タルク(ミクロエースP−3、日本タルク工業(株)製) 4.0部
・メチルエチルケトン 100.0部
・トルエン 100.0部
上記のポリイソシアネートにおけるポリビニルブチラールに対する割合は、ポリビニルブチラール10質量部に対し、ポリイソシアネートが2.5質量部である。
実施例1における耐熱滑性層用組成物1を、下記の耐熱滑性層用組成物6にした他は、実施例1と同様にして、実施例6の熱転写シートを作製した。
<耐熱滑性層用組成物6>
・ポリビニルポリビニルブチラール 69.6部
(エスレックBX−1、積水化学工業(株)製)
・ポリイソシアネート 38.7部
(バーノックD750−45、固形分45質量%、大日本インキ化学工業(株)製)
・リン酸エステル系界面活性剤 5.0部
(プライサーフA208N、第一製薬工業(株)製)
・反応性シリコーンオイル 3.0部
(X−22−176DX、信越化学工業(株)製、片末端ジオール基変性シリコーンオイル)
・ステアリルリン酸亜鉛(LBT−1830精製、堺化学工業(株)製) 1.0部
・タルク(ミクロエースP−3、日本タルク工業(株)製) 4.0部
・メチルエチルケトン 100.0部
・トルエン 100.0部
上記のポリイソシアネートにおけるポリビニルブチラールに対する割合は、ポリビニルブチラール10質量部に対し、ポリイソシアネートが2.5質量部である。
実施例1における耐熱滑性層用組成物1を、下記の耐熱滑性層用組成物7にした他は、実施例1と同様にして、実施例7の熱転写シートを作製した。
<耐熱滑性層用組成物7>
・ポリビニルポリビニルブチラール 69.6部
(エスレックBX−1、積水化学工業(株)製)
・ポリイソシアネート 38.7部
(バーノックD750−45、固形分45質量%、大日本インキ化学工業(株)製)
・リン酸エステル系界面活性剤 5.0部
(プライサーフA208N、第一製薬工業(株)製)
・反応性シリコーンオイル 3.0部
(X−22−160AS、信越化学工業(株)製、片末端カルビノール基変性シリコーンオイル)
・ステアリルリン酸亜鉛(LBT−1830精製、堺化学工業(株)製) 1.0部
・タルク(ミクロエースP−3、日本タルク工業(株)製) 4.0部
・メチルエチルケトン 100.0部
・トルエン 100.0部
上記のポリイソシアネートにおけるポリビニルブチラールに対する割合は、ポリビニルブチラール10質量部に対し、ポリイソシアネートが2.5質量部である。
実施例1における耐熱滑性層用組成物1を、下記の耐熱滑性層用組成物8にした他は、実施例1と同様にして、比較例1の熱転写シートを作製した。
<耐熱滑性層用組成物8>
・ポリビニルポリビニルブチラール 78.3部
(エスレックBX−1、積水化学工業(株)製)
・ポリイソシアネート 19.3部
(バーノックD750−45、固形分45質量%、大日本インキ化学工業(株)製)
・リン酸エステル系界面活性剤 5.0部
(プライサーフA208N、第一製薬工業(株)製)
・反応性シリコーンオイル 3.0部
(X−22−1821、信越化学工業(株)製、片末端フェノール基変性シリコーンオイル)
・ステアリルリン酸亜鉛(LBT−1830精製、堺化学工業(株)製) 1.0部
・タルク(ミクロエースP−3、日本タルク工業(株)製) 4.0部
・メチルエチルケトン 100.0部
・トルエン 100.0部
上記のポリイソシアネートにおけるポリビニルブチラールに対する割合は、ポリビニルブチラール10質量部に対し、ポリイソシアネートが1.1質量部である。
実施例1における耐熱滑性層用組成物1を、下記の耐熱滑性層用組成物9にした他は、実施例1と同様にして、比較例2の熱転写シートを作製した。
<耐熱滑性層用組成物9>
・ポリビニルポリビニルブチラール 43.5部
(エスレックBX−1、積水化学工業(株)製)
・ポリイソシアネート 96.7部
(バーノックD750−45、固形分45質量%、大日本インキ化学工業(株)製)
・リン酸エステル系界面活性剤 5.0部
(プライサーフA208N、第一製薬工業(株)製)
・反応性シリコーンオイル 3.0部
(X−22−1821、信越化学工業(株)製、片末端フェノール基変性シリコーンオイル)
・ステアリルリン酸亜鉛(LBT−1830精製、堺化学工業(株)製) 1.0部
・タルク(ミクロエースP−3、日本タルク工業(株)製) 4.0部
・メチルエチルケトン 100.0部
・トルエン 100.0部
上記のポリイソシアネートにおけるポリビニルブチラールに対する割合は、ポリビニルブチラール10質量部に対し、ポリイソシアネートが10質量部である。
実施例1における耐熱滑性層用組成物1を、下記の耐熱滑性層用組成物10にした他は、実施例1と同様にして、比較例3の熱転写シートを作製した。
<耐熱滑性層用組成物10>
・ポリビニルポリビニルブチラール 68.8部
(エスレックBX−1、積水化学工業(株)製)
・ポリイソシアネート 38.2部
(バーノックD750−45、固形分45質量%、大日本インキ化学工業(株)製)
・リン酸エステル系界面活性剤 4.0部
(プライサーフA208N、第一製薬工業(株)製)
・反応性シリコーンオイル 5.0部
(X−22−1821、信越化学工業(株)製、片末端フェノール基変性シリコーンオイル)
・ステアリルリン酸亜鉛(LBT−1830精製、堺化学工業(株)製) 1.0部
・タルク(ミクロエースP−3、日本タルク工業(株)製) 4.0部
・メチルエチルケトン 100.0部
・トルエン 100.0部
上記のポリイソシアネートにおけるポリビニルブチラールに対する割合は、ポリビニルブチラール10質量部に対し、ポリイソシアネートが2.5質量部である。
実施例1における耐熱滑性層用組成物1を、下記の耐熱滑性層用組成物11にした他は、実施例1と同様にして、比較例4の熱転写シートを作製した。
<耐熱滑性層用組成物11>
・ポリビニルポリビニルブチラール 62.4部
(エスレックBX−1、積水化学工業(株)製)
・ポリイソシアネート 34.7部
(バーノックD750−45、固形分45質量%、大日本インキ化学工業(株)製)
・リン酸エステル系界面活性剤 12.0部
(プライサーフA208N、第一製薬工業(株)製)
・反応性シリコーンオイル 5.0部
(X−22−1821、信越化学工業(株)製、片末端フェノール基変性シリコーンオイル)
・ステアリルリン酸亜鉛(LBT−1830精製、堺化学工業(株)製) 1.0部
・タルク(ミクロエースP−3、日本タルク工業(株)製) 4.0部
・メチルエチルケトン 100.0部
・トルエン 100.0部
上記のポリイソシアネートにおけるポリビニルブチラールに対する割合は、ポリビニルブチラール10質量部に対し、ポリイソシアネートが2.5質量部である。
実施例1における耐熱滑性層用組成物1を、下記の耐熱滑性層用組成物12にした他は、実施例1と同様にして、比較例5の熱転写シートを作製した。
<耐熱滑性層用組成物12>
・ポリビニルポリビニルブチラール 66.4部
(エスレックBX−1、積水化学工業(株)製)
・ポリイソシアネート 36.9部
(バーノックD750−45、固形分45質量%、大日本インキ化学工業(株)製)
・リン酸エステル系界面活性剤 10.0部
(プライサーフA208N、第一製薬工業(株)製)
・反応性シリコーンオイル 2.0部
(X−22−1821、信越化学工業(株)製、片末端フェノール基変性シリコーンオイル)
・ステアリルリン酸亜鉛(LBT−1830精製、堺化学工業(株)製) 1.0部
・タルク(ミクロエースP−3、日本タルク工業(株)製) 4.0部
・メチルエチルケトン 100.0部
・トルエン 100.0部
上記のポリイソシアネートにおけるポリビニルブチラールに対する割合は、ポリビニルブチラール10質量部に対し、ポリイソシアネートが2.5質量部である。
実施例1における耐熱滑性層用組成物1を、下記の耐熱滑性層用組成物13にした他は、実施例1と同様にして、比較例6の熱転写シートを作製した。
<耐熱滑性層用組成物13>
・ポリビニルポリビニルブチラール 63.2部
(エスレックBX−1、積水化学工業(株)製)
・ポリイソシアネート 35.1部
(バーノックD750−45、固形分45質量%、大日本インキ化学工業(株)製)
・リン酸エステル系界面活性剤 10.0部
(プライサーフA208N、第一製薬工業(株)製)
・反応性シリコーンオイル 6.0部
(X−22−1821、信越化学工業(株)製、片末端フェノール基変性シリコーンオイル)
・ステアリルリン酸亜鉛(LBT−1830精製、堺化学工業(株)製) 1.0部
・タルク(ミクロエースP−3、日本タルク工業(株)製) 4.0部
・メチルエチルケトン 100.0部
・トルエン 100.0部
上記のポリイソシアネートにおけるポリビニルブチラールに対する割合は、ポリビニルブチラール10質量部に対し、ポリイソシアネートが2.5質量部である。
実施例1における耐熱滑性層用組成物1を、下記の耐熱滑性層用組成物14にした他は、実施例1と同様にして、比較例7の熱転写シートを作製した。
<耐熱滑性層用組成物14>
・ポリビニルポリビニルブチラール 69.6部
(エスレックBX−1、積水化学工業(株)製)
・ポリイソシアネート 38.7部
(バーノックD750−45、固形分45質量%、大日本インキ化学工業(株)製)
・リン酸エステル系界面活性剤 5.0部
(プライサーフA208N、第一製薬工業(株)製)
・ジメチルシリコーンオイル 3.0部
(KF965−100、信越化学工業(株)製)
・ステアリルリン酸亜鉛(LBT−1830精製、堺化学工業(株)製) 1.0部
・タルク(ミクロエースP−3、日本タルク工業(株)製) 4.0部
・メチルエチルケトン 100.0部
・トルエン 100.0部
上記のポリイソシアネートにおけるポリビニルブチラールに対する割合は、ポリビニルブチラール10質量部に対し、ポリイソシアネートが2.5質量部である。
評価方法
(キックバック防止性)
5cm×5cmの大きさに切断し、染料転移させた耐熱滑性層面と保護層面を重ね合わせ、定荷重圧縮試験機((株)東洋精機製作所製)を用いて、20kgf/cm2の荷重をかけ、60℃、湿度20%RHの環境下で強制的に染料を再転移させる(転移時間:24時間)。但し、保護層はキャノン(株)製カラーインク/ペーパーセットKP−36IP(商品名)の保護層部分を使用した。但し、耐熱滑性層に染料転移させる条件は、上記の各実施例及び比較例の熱転写シートで、耐熱滑性層面と染料層面を重ね合わせ、上記の荷重条件と同様に、20kgf/cm2の荷重をかけ、60℃、湿度20%RHの環境下で24時間放置して、強制的に染料を転移させた。
○:染料再転移させた保護層の転写物と、染料再転移させていない保護層の転写物の色差ΔE*abが1.5未満である。
×:染料再転移させた保護層の転写物と、染料再転移させていない保護層の転写物の色差ΔE*abが1.5以上である。
京セラ(株)製サーマルヘッドKST−105−13FANを用い、これに4kgWの荷重、印画エネルギー0.10W/dotでベタ(階調値255/255:濃度マックス)と白部(階調値0/255)を印圧30Nで印画し、サーマルヘッドと耐熱滑性層の動摩擦力を測定した。動摩擦力を印圧で割ることにより摩擦係数を求めた。
受像紙はキャノン(株)製カラーインク/ペーパーセットKP−36IP(商品名)を使用し、受像紙幅は7cmとした。
ベタ印画部における摩擦係数(μ255)と白印画時における摩擦係数(μ0)の比をμ255/μ0について、以下の基準に基づき評価した。
○:0.7≦μ255/μ0≦1.2
×:μ255/μ0>1.2又はμ255/μ0<0.7
△:摩擦係数の比は上記の「○」の範囲であるが、サーマルヘッドに印画カスが付着する。
京セラ(株)製サーマルヘッドKST−105−13FANを用い、これに4kgWの荷重、印画エネルギー0.10W/dotでベタ(階調値255/255:濃度マックス)を印圧30Nで印画し、発生するシワの本数をカウントした。但し、受像紙はキャノン(株)製カラーインク/ペーパーセットKP−36IP(商品名)を使用し、受像紙幅は7cmとした。
印画された1画面当たりに発生するシワの本数を目視にて確認し、カウントした。
○:0本
△:1〜5本
×:6本以上
2 耐熱滑性層
3 熱転写性色材層
Claims (3)
- 基材フィルムの一方の面に熱転写性色材層を有し、該基材フィルムの他方の面に耐熱滑性層が形成されている熱転写シートにおいて、該耐熱滑性層がポリビニルブチラールとポリイソシアネートを、ポリビニルブチラール10質量部に対し、ポリイソシアネートを2.5〜7質量部の割合で含有し、かつリン酸エステル系界面活性剤を全固形分に対し5〜10%、反応性シリコーンオイルを全固形分に対し3〜5%を含有する耐熱滑性層用組成物の硬化物からなることを特徴とする熱転写シート。
- 前記の耐熱滑性層は、更に金属石鹸を含有することを特徴とする請求項1に記載の熱転写シート。
- 前記の耐熱滑性層は、更にフィラーを含有することを特徴とする請求項1または2に記載の熱転写シート。
Priority Applications (1)
| Application Number | Priority Date | Filing Date | Title |
|---|---|---|---|
| JP2008247029A JP5181974B2 (ja) | 2008-09-26 | 2008-09-26 | 熱転写シート |
Applications Claiming Priority (1)
| Application Number | Priority Date | Filing Date | Title |
|---|---|---|---|
| JP2008247029A JP5181974B2 (ja) | 2008-09-26 | 2008-09-26 | 熱転写シート |
Publications (2)
| Publication Number | Publication Date |
|---|---|
| JP2010076252A true JP2010076252A (ja) | 2010-04-08 |
| JP5181974B2 JP5181974B2 (ja) | 2013-04-10 |
Family
ID=42207263
Family Applications (1)
| Application Number | Title | Priority Date | Filing Date |
|---|---|---|---|
| JP2008247029A Active JP5181974B2 (ja) | 2008-09-26 | 2008-09-26 | 熱転写シート |
Country Status (1)
| Country | Link |
|---|---|
| JP (1) | JP5181974B2 (ja) |
Cited By (9)
| Publication number | Priority date | Publication date | Assignee | Title |
|---|---|---|---|---|
| JP2012006342A (ja) * | 2010-06-28 | 2012-01-12 | Dainippon Printing Co Ltd | 熱転写シート |
| JP2012061660A (ja) * | 2010-09-15 | 2012-03-29 | Toppan Printing Co Ltd | 感熱転写記録媒体 |
| JP2012152968A (ja) * | 2011-01-25 | 2012-08-16 | Dainippon Printing Co Ltd | 耐熱滑性層形成用組成物、およびそれを用いた熱転写シートの製造方法 |
| JP2012153093A (ja) * | 2011-01-28 | 2012-08-16 | Dainippon Printing Co Ltd | 熱転写シート |
| JP2012206346A (ja) * | 2011-03-29 | 2012-10-25 | Dainippon Printing Co Ltd | 熱転写シート |
| JP2013075488A (ja) * | 2011-09-30 | 2013-04-25 | Dainippon Printing Co Ltd | 熱転写シートの製造方法、及び熱転写シート |
| JP2013203051A (ja) * | 2012-03-29 | 2013-10-07 | Dainippon Printing Co Ltd | 画像形成方法、熱転写シートとサーマルヘッドとの組合せ |
| JP2016093900A (ja) * | 2014-11-12 | 2016-05-26 | 凸版印刷株式会社 | 熱転写シート |
| CN115257208A (zh) * | 2021-12-29 | 2022-11-01 | 山东华滋自动化技术股份有限公司 | 一种低温电热膜的制造方法及制造装置 |
Citations (3)
| Publication number | Priority date | Publication date | Assignee | Title |
|---|---|---|---|---|
| JP2006306017A (ja) * | 2005-03-30 | 2006-11-09 | Dainippon Printing Co Ltd | 熱転写シート |
| JP2008188902A (ja) * | 2007-02-06 | 2008-08-21 | Toppan Printing Co Ltd | 感熱転写記録媒体 |
| JP2008188968A (ja) * | 2007-02-08 | 2008-08-21 | Toppan Printing Co Ltd | 感熱転写記録媒体 |
-
2008
- 2008-09-26 JP JP2008247029A patent/JP5181974B2/ja active Active
Patent Citations (3)
| Publication number | Priority date | Publication date | Assignee | Title |
|---|---|---|---|---|
| JP2006306017A (ja) * | 2005-03-30 | 2006-11-09 | Dainippon Printing Co Ltd | 熱転写シート |
| JP2008188902A (ja) * | 2007-02-06 | 2008-08-21 | Toppan Printing Co Ltd | 感熱転写記録媒体 |
| JP2008188968A (ja) * | 2007-02-08 | 2008-08-21 | Toppan Printing Co Ltd | 感熱転写記録媒体 |
Cited By (10)
| Publication number | Priority date | Publication date | Assignee | Title |
|---|---|---|---|---|
| JP2012006342A (ja) * | 2010-06-28 | 2012-01-12 | Dainippon Printing Co Ltd | 熱転写シート |
| JP2012061660A (ja) * | 2010-09-15 | 2012-03-29 | Toppan Printing Co Ltd | 感熱転写記録媒体 |
| JP2012152968A (ja) * | 2011-01-25 | 2012-08-16 | Dainippon Printing Co Ltd | 耐熱滑性層形成用組成物、およびそれを用いた熱転写シートの製造方法 |
| JP2012153093A (ja) * | 2011-01-28 | 2012-08-16 | Dainippon Printing Co Ltd | 熱転写シート |
| JP2012206346A (ja) * | 2011-03-29 | 2012-10-25 | Dainippon Printing Co Ltd | 熱転写シート |
| JP2013075488A (ja) * | 2011-09-30 | 2013-04-25 | Dainippon Printing Co Ltd | 熱転写シートの製造方法、及び熱転写シート |
| JP2013203051A (ja) * | 2012-03-29 | 2013-10-07 | Dainippon Printing Co Ltd | 画像形成方法、熱転写シートとサーマルヘッドとの組合せ |
| JP2016093900A (ja) * | 2014-11-12 | 2016-05-26 | 凸版印刷株式会社 | 熱転写シート |
| CN115257208A (zh) * | 2021-12-29 | 2022-11-01 | 山东华滋自动化技术股份有限公司 | 一种低温电热膜的制造方法及制造装置 |
| CN115257208B (zh) * | 2021-12-29 | 2023-12-05 | 山东华滋自动化技术股份有限公司 | 一种低温电热膜的制造方法及制造装置 |
Also Published As
| Publication number | Publication date |
|---|---|
| JP5181974B2 (ja) | 2013-04-10 |
Similar Documents
| Publication | Publication Date | Title |
|---|---|---|
| JP5181974B2 (ja) | 熱転写シート | |
| JP5641405B2 (ja) | 熱転写シート | |
| JP2008105371A (ja) | 熱転写シート | |
| EP2902191A1 (en) | Protective layer transfer sheet | |
| JP2012006342A (ja) | 熱転写シート | |
| EP2746057A1 (en) | Thermal transfer sheet | |
| JP5874188B2 (ja) | 画像形成方法 | |
| JP6716955B2 (ja) | 昇華型熱転写シート | |
| JP5870820B2 (ja) | 熱転写シート | |
| JP5471098B2 (ja) | 熱転写シート | |
| US6498123B2 (en) | Thermal transfer sheet | |
| JP5924067B2 (ja) | 熱転写シート | |
| JP5288174B2 (ja) | 熱転写シート | |
| JP2014159138A (ja) | 熱転写シートと熱転写受像シートの組合せ、及び画像形成方法 | |
| JP5839254B2 (ja) | 熱転写シート | |
| JP6834404B2 (ja) | 熱転写記録材料 | |
| JP5413074B2 (ja) | 熱転写シート | |
| JP2010082861A (ja) | 熱転写シート | |
| JP2018171840A (ja) | 熱転写受像シート、熱転写シート、受容層用塗工液、熱転写受像シートの形成方法、及び印画物の形成方法 | |
| JP2015066781A (ja) | 熱転写シートと熱転写受像シートとの組合せ、及び画像形成方法 | |
| JP5810777B2 (ja) | 熱転写シート、及び熱転写シートの製造方法 | |
| JP2012071507A (ja) | 熱転写記録媒体およびその製造方法 | |
| JPH02196692A (ja) | 熱転写シート及び熱転写方法 | |
| JP2025154885A (ja) | 熱転写シートと中間転写媒体との組合せ | |
| JP2018058225A (ja) | 熱転写受像シート、熱転写シート、受容層用塗工液、熱転写受像シートの形成方法、及び印画物の形成方法 |
Legal Events
| Date | Code | Title | Description |
|---|---|---|---|
| A621 | Written request for application examination |
Free format text: JAPANESE INTERMEDIATE CODE: A621 Effective date: 20110707 |
|
| A977 | Report on retrieval |
Free format text: JAPANESE INTERMEDIATE CODE: A971007 Effective date: 20120914 |
|
| A131 | Notification of reasons for refusal |
Free format text: JAPANESE INTERMEDIATE CODE: A131 Effective date: 20120925 |
|
| A521 | Written amendment |
Free format text: JAPANESE INTERMEDIATE CODE: A523 Effective date: 20121121 |
|
| TRDD | Decision of grant or rejection written | ||
| A01 | Written decision to grant a patent or to grant a registration (utility model) |
Free format text: JAPANESE INTERMEDIATE CODE: A01 Effective date: 20121218 |
|
| A61 | First payment of annual fees (during grant procedure) |
Free format text: JAPANESE INTERMEDIATE CODE: A61 Effective date: 20121231 |
|
| R150 | Certificate of patent or registration of utility model |
Ref document number: 5181974 Country of ref document: JP Free format text: JAPANESE INTERMEDIATE CODE: R150 Free format text: JAPANESE INTERMEDIATE CODE: R150 |
|
| FPAY | Renewal fee payment (event date is renewal date of database) |
Free format text: PAYMENT UNTIL: 20160125 Year of fee payment: 3 |
