JP2010075993A - 金属製閉断面部材の製造方法 - Google Patents

金属製閉断面部材の製造方法 Download PDF

Info

Publication number
JP2010075993A
JP2010075993A JP2008253630A JP2008253630A JP2010075993A JP 2010075993 A JP2010075993 A JP 2010075993A JP 2008253630 A JP2008253630 A JP 2008253630A JP 2008253630 A JP2008253630 A JP 2008253630A JP 2010075993 A JP2010075993 A JP 2010075993A
Authority
JP
Japan
Prior art keywords
plate
workpiece
die
convex
surface portion
Prior art date
Legal status (The legal status is an assumption and is not a legal conclusion. Google has not performed a legal analysis and makes no representation as to the accuracy of the status listed.)
Granted
Application number
JP2008253630A
Other languages
English (en)
Other versions
JP4640481B2 (ja
Inventor
Naoko Saito
直子 斉藤
Yasuaki Ishida
恭聡 石田
鉄男 ▲濱▼元
Tetsuo Hamamoto
Current Assignee (The listed assignees may be inaccurate. Google has not performed a legal analysis and makes no representation or warranty as to the accuracy of the list.)
Mazda Motor Corp
Original Assignee
Mazda Motor Corp
Priority date (The priority date is an assumption and is not a legal conclusion. Google has not performed a legal analysis and makes no representation as to the accuracy of the date listed.)
Filing date
Publication date
Application filed by Mazda Motor Corp filed Critical Mazda Motor Corp
Priority to JP2008253630A priority Critical patent/JP4640481B2/ja
Priority to EP09167697.3A priority patent/EP2163324B1/en
Priority to US12/548,044 priority patent/US8365411B2/en
Publication of JP2010075993A publication Critical patent/JP2010075993A/ja
Application granted granted Critical
Publication of JP4640481B2 publication Critical patent/JP4640481B2/ja
Expired - Fee Related legal-status Critical Current
Anticipated expiration legal-status Critical

Links

Images

Classifications

    • BPERFORMING OPERATIONS; TRANSPORTING
    • B21MECHANICAL METAL-WORKING WITHOUT ESSENTIALLY REMOVING MATERIAL; PUNCHING METAL
    • B21DWORKING OR PROCESSING OF SHEET METAL OR METAL TUBES, RODS OR PROFILES WITHOUT ESSENTIALLY REMOVING MATERIAL; PUNCHING METAL
    • B21D5/00Bending sheet metal along straight lines, e.g. to form simple curves
    • B21D5/01Bending sheet metal along straight lines, e.g. to form simple curves between rams and anvils or abutments
    • B21D5/015Bending sheet metal along straight lines, e.g. to form simple curves between rams and anvils or abutments for making tubes
    • BPERFORMING OPERATIONS; TRANSPORTING
    • B21MECHANICAL METAL-WORKING WITHOUT ESSENTIALLY REMOVING MATERIAL; PUNCHING METAL
    • B21DWORKING OR PROCESSING OF SHEET METAL OR METAL TUBES, RODS OR PROFILES WITHOUT ESSENTIALLY REMOVING MATERIAL; PUNCHING METAL
    • B21D47/00Making rigid structural elements or units, e.g. honeycomb structures
    • B21D47/01Making rigid structural elements or units, e.g. honeycomb structures beams or pillars
    • BPERFORMING OPERATIONS; TRANSPORTING
    • B21MECHANICAL METAL-WORKING WITHOUT ESSENTIALLY REMOVING MATERIAL; PUNCHING METAL
    • B21DWORKING OR PROCESSING OF SHEET METAL OR METAL TUBES, RODS OR PROFILES WITHOUT ESSENTIALLY REMOVING MATERIAL; PUNCHING METAL
    • B21D53/00Making other particular articles
    • B21D53/88Making other particular articles other parts for vehicles, e.g. cowlings, mudguards
    • YGENERAL TAGGING OF NEW TECHNOLOGICAL DEVELOPMENTS; GENERAL TAGGING OF CROSS-SECTIONAL TECHNOLOGIES SPANNING OVER SEVERAL SECTIONS OF THE IPC; TECHNICAL SUBJECTS COVERED BY FORMER USPC CROSS-REFERENCE ART COLLECTIONS [XRACs] AND DIGESTS
    • Y10TECHNICAL SUBJECTS COVERED BY FORMER USPC
    • Y10TTECHNICAL SUBJECTS COVERED BY FORMER US CLASSIFICATION
    • Y10T29/00Metal working
    • Y10T29/49Method of mechanical manufacture
    • Y10T29/49616Structural member making
    • Y10T29/49622Vehicular structural member making

Landscapes

  • Engineering & Computer Science (AREA)
  • Mechanical Engineering (AREA)
  • Shaping Metal By Deep-Drawing, Or The Like (AREA)
  • Body Structure For Vehicles (AREA)
  • Bending Of Plates, Rods, And Pipes (AREA)

Abstract

【課題】比較的簡単な方法によって精度良く金属製閉断面部材を製造することができる金属製閉断面部材の製造方法を提供する。
【解決手段】金属製の板状ワークから閉断面状に形成された閉断面部材を製造する金属製閉断面部材の製造方法は、第1の成形型を用い、前記板状ワークW1を凸状にプレス成形する第1のプレス成形工程と、前記第1のプレス成形工程の後に、第2の成形型60を用い、プレス成形された前記板状ワークW1を第2の成形型のダイ61と第2の成形型の中子型65との間に配置した状態で、前記中子型を前記ダイに対して相対的に移動してプレス成形することにより、前記第1のプレス成形工程において成形された前記板状ワークの凸状に成形される凸状頂面部W2の両側の凸状側面部W3、W4をそれぞれ前記板状ワークの内方側へ変位させて閉断面化する第2のプレス成形工程と、を備えている。
【選択図】図12

Description

この発明は、金属製の板状素材(板状ワーク)から閉断面状に形成された閉断面部材を製造する金属製閉断面部材の製造方法に関する。
周知のように、自動車等の車両において車体の基本構造の一部を構成するピラー部材、フロント及びリアのサイドフレーム、ダッシュパネルの前面下部に位置するダッシュクロスメンバ等の車体部材には、車体の強度及び剛性を確保し安全性を高める観点から高強度化及び高剛性化が求められ、しかも、燃費性能向上のために軽量化が求められている。
これらの要請に応えるため、前記のような車体部材は、多くの場合、金属製の閉断面部材として構成されている。このような金属製の閉断面部材の製造方法としては、例えば鋼板などの金属製の板状ワークをプレス加工によりコ字形断面の両端部に外側へ張り出すフランジ部分が一体成形された断面ハット状に形成し、この断面ハット状に形成された2枚の板状ワークのフランジ部分を互いに重ね合わせて閉断面状にし、その後に、フランジ部分を溶接して閉断面部材を製造する方法が一般に知られている。
また、例えば特許文献1には、閉断面部材としての三角形チューブを製造するものであるが、予め所定形状に切断した鋼板の両端部近傍を所定の曲率で曲げる第1曲げ工程と、第1曲げ工程で曲げた鋼板の中央部を所定の曲率で押し曲げる第2曲げ工程と、第2曲げ工程で成形した鋼板の前記中央部を長手方向に対して左右から加圧しつつ、前記両端部を上方から押さえ込んで拘束して突き合わせ、成形する拘束成形工程と、拘束成形工程の後に、除荷せずに前記両端部の突き合わせ部を溶接する溶接工程とを有する三角形チューブの製造方法が開示されている。
特開2000−51932号公報
近年、自動車等の車両においては、燃費性能向上のためにより一層の軽量化が求められており、比較的大きな重量を占める車体部材についてもより一層の軽量化が求められている。このため、金属製の閉断面部材として構成される車体部材については、フランジ部分を設けることなく製造することが望まれている。
前記特許文献1には、フランジ部分を設けることなく閉断面状に形成された三角形チューブの製造方法が記載されているものの、自動車等の車両に用いられる車体部材は複雑な形状を有し、その長手方向に断面形状が複雑に変化し得るので、前記特許文献1に記載される製造方法を適用する場合には、閉断面部材の成形断面と同一形状の切り欠き部を有する複数のプレートを作る必要があり、また、閉断面部材の成形断面と同一形状の切り欠き部を有する複数のプレートに、曲げられた鋼板の中央部を長手方向に対して左右から加圧しつつ両端部を上方から押さえ込んで拘束して成形する際に、ひずみや変形などの成形不良を引き起こす畏れがあるので、精度の高い閉断面部材を製造することはなかなか困難なものとなり得る。
そこで、この発明は、前記技術的課題に鑑みてなされたものであり、金属製の閉断面部材を製造するに際し、比較的簡単な方法によって精度良く金属製閉断面部材を製造することができる金属製閉断面部材の製造方法を提供することを目的とする。
このため、本願の請求項1に係る金属製閉断面部材の製造方法は、金属製の板状ワークから閉断面状に形成された閉断面部材を製造する金属製閉断面部材の製造方法であって、第1の成形型を用い、金属製の板状ワークを第1の成形型のブランクホルダとダイとにより挟持した状態で、第1の成形型のパンチを前記ダイの成形空間内に相対的に移動させることにより、前記板状ワークを前記ダイに対する前記パンチの移動方向に突出させて凸状にプレス成形する第1のプレス成形工程と、前記第1のプレス成形工程の後に、第2の成形型を用い、プレス成形された前記板状ワークを第2の成形型のダイと中子型との間に、前記中子型が前記板状ワークの凸状に突出する方向と反対側に位置するように配置した状態で、前記中子型を前記ダイに対して相対的に移動させ、前記板状ワークの凸状に成形された凸状頂面部を相対的に前記板状ワークの凸状に突出する方向にプレス成形することにより、前記第1のプレス成形工程において成形された前記板状ワークの凸状頂面部の両側の凸状側面部をそれぞれ前記板状ワークの内方側へ変位させて閉断面化する第2のプレス成形工程と、を備えていることを特徴としたものである。
また、本願の請求項2に係る発明は、請求項1に係る発明において、前記第1のプレス成形工程と前記第2のプレス成形工程との間に、プレス成形された前記板状ワークの少なくとも一方の前記凸状側面部の前記凸状頂面部側と反対側の端部を前記板状ワークの内方側へ折り曲げ成形する折り曲げ成形工程をさらに備えていることを特徴としたものである。
更に、本願の請求項3に係る発明は、請求項1又は2に係る発明において、前記第1のプレス成形工程において、第1の成形型のパンチを前記ダイの成形空間内に相対的に移動させることにより、前記板状ワークを前記ダイに対する前記パンチの移動方向に突出させて凸状にプレス成形するとともに、前記板状ワークの凸状に成形される凸状頂面部に、前記板状ワークの凸状に突出する方向と逆方向に突出する凸部を成形し、前記第2のプレス成形工程において、プレス成形された前記板状ワークを第2の成形型のダイに、該ダイに設けられた凹部又は平面部上にプレス成形された前記板状ワークの前記凸部が配置されるように保持した状態で、プレス成形された前記板状ワークの前記凸部を第2の成形型の中子型により前記板状ワークの凸状に突出する方向に前記凹部内又は平面部でプレス成形することにより、前記板状ワークの前記凸部を圧潰してプレス成形面を成形するとともに、前記第1のプレス成形工程において成形された前記板状ワークの凸状頂面部の両側の凸状側面部をそれぞれ前記板状ワークの内方側へ変位させて閉断面化することを特徴としたものである。
また更に、本願の請求項4に係る発明は、請求項3に係る発明において、前記板状ワークの凸状頂面部に設けられる凸部が、断面円弧状又は断面台形状に成形されることを特徴としたものである。
また更に、本願の請求項5に係る発明は、請求項1〜4の何れか一に係る発明において、前記第2のプレス成形工程の後に、前記板状ワークの閉断面化された前記凸状側面部の端部どうしを、前記中子型の前記凸状頂面部をプレスする面部と反対側の面部に押し当てて決め押し成形する決め押し成形工程をさらに備えていることを特徴としたものである。
また更に、本願の請求項6に係る発明は、請求項1〜5の何れか一に係る発明において、前記第2のプレス成形工程の後に、前記板状ワークの閉断面化された前記凸状側面部の端部どうしを溶接する溶接工程をさらに備えていることを特徴としたものである。
また更に、本願の請求項7に係る発明は、請求項1〜6の何れか一に係る発明において、前記第2のプレス成形工程では、前記閉断面部材の断面幅よりも狭い断面幅を有する前記中子型を用いてプレス成形されることを特徴としたものである。
また更に、本願の請求項8に係る発明は、請求項3〜7の何れか一に係る発明において、前記閉断面部材は、前記プレス成形面の両側の側面部の少なくとも何れか一方の側面部の断面長さが前記閉断面部材の長手方向において変化する閉断面部材であり、前記第1のプレス成形工程において、前記凸部が前記板状ワークの長手方向に沿って前記板状ワークの凸状頂面部を分割するように成形されるとともに、前記凸部によって前記凸状頂面部の分割される部分の断面長さが長手方向において変化するように成形され、前記第2のプレス成形工程において、前記第2の成形型のダイに設けられる凹部の側壁部の断面長さが前記凸状頂面部の分割される部分の断面長さの最も短い部分と略同一に設定された前記ダイを用いてプレス成形されることを特徴としたものである。
また更に、本願の請求項9に係る発明は、請求項1に係る発明において、前記第1のプレス成形工程は、前記板状ワークを予め曲げ成形する予備曲げ成形工程であり、前記第2のプレス成形工程は、前記予備曲げ成形工程において曲げ成形された前記板状ワークを第2の成形型の中子型により第2の成形型のダイに設けられた凹部内に押し込み、前記板状ワークの少なくとも一方側の端部が前記中子型の押し込み方向と逆方向に延びるととともに前記凹部の内方側に向かって延びるように前記板状ワークを成形する押し込み成形工程と、前記押し込み成形工程において成形された前記板状ワーク内に前記中子型を保持した状態で、前記板状ワークの前記端部を第2の成形型のパンチにより押圧して曲げ成形し、前記パンチと前記中子型により前記板状ワークの端部どうしを接触させて閉断面状に成形する本曲げ成形工程と、を備え、前記予備曲げ成形工程では、前記板状ワークが第2の成形型のダイに設けられた凹部内に押し込まれた際に前記板状ワークの少なくとも一方の端部が前記中子型の押し込み方向と逆方向に延びるとともに前記凹部の内方側に向かって延びるように曲げ成形されることを特徴としたものである。
また更に、本願の請求項10に係る発明は、請求項9に係る発明において、前記押し込み成形工程では、前記本曲げ成形工程において第2の成形型のパンチを移動させる駆動手段によって第2の成形型の中子型が第2の成形型のダイに設けられた凹部内に移動されることを特徴としたものである。
また更に、本願の請求項11に係る発明は、請求項10に係る発明において、前記押し込み成形工程では、第2の成形型のパンチと第2の成形型の中子型との間にライナー部材を介設した状態で前記中子型が前記凹部内に移動され、前記本曲げ成形工程では、第2の成形型のパンチと第2の成形型の中子型との間から前記ライナー部材が取り外され、前記押し込み成形工程において成形された前記板状ワーク内に前記中子型を保持した状態で、前記板状ワークの前記端部が第2の成形型のパンチにより曲げ成形されることを特徴としたものである。
また更に、本願の請求項12に係る発明は、請求項9〜11の何れか一に係る発明において、前記本曲げ成形工程の後に、前記板状ワークの接触させられた端部どうしを溶接する溶接工程をさらに備えていることを特徴としたものである。
本願の請求項1に係る金属製閉断面部材の製造方法によれば、金属製の板状ワークを第1の成形型のブランクホルダとダイとにより挟持した状態で、第1の成形型のパンチを前記ダイの成形空間内に相対的に移動させることにより、板状ワークを凸状にプレス成形する第1のプレス成形工程と、プレス成形された板状ワークを第2の成形型のダイと中子型との間に配置した状態で、前記中子型を前記ダイに対して相対的に移動させ、前記板状ワークの凸状頂面部をプレス成形することにより、板状ワークの凸状頂面部の両側の凸状側面部をそれぞれ前記板状ワークの内方側へ変位させて閉断面化する第2のプレス成形工程と、を備えていることにより、板状ワークにしわが発生することを防止し、比較的簡単な方法によって精度良く金属製閉断面部材を製造することができる。
また、本願の請求項2に係る発明によれば、第1のプレス成形工程と第2のプレス成形工程との間に、プレス成形された板状ワークの少なくとも一方の凸状側面部の凸状頂面部側と反対側の端部を板状ワークの内方側へ折り曲げ成形する折り曲げ成形工程をさらに備えていることにより、プレス成形された板状ワークを閉断面化させる際に、プレス成形された板状ワークの凸状側面部の内方側への変位を少なくし、より精度良く金属製閉断面部材を製造することができる。
更に、本願の請求項3に係る発明によれば、第1のプレス成形工程において、板状ワークの凸状頂面部に板状ワークの凸状に突出する方向と逆方向に突出する凸部を成形し、第2のプレス成形工程において、板状ワークの凸部をプレス成形することにより、板状ワークの凸部を圧潰してプレス成形面を成形するとともに、板状ワークの凸状頂面部の両側の凸状側面部をそれぞれ板状ワークの内方側へ変位させて閉断面化することにより、成形型などの成形装置を複雑化させることなく、比較的簡単な方法によって前記効果を得ることができる。
また更に、本願の請求項4に係る発明によれば、板状ワークの凸状頂面部に設けられる凸部が断面円弧状又は断面台形状に成形されることにより、凸部を圧潰する際に、凸部に割れなどが発生することを防止することができ、前記効果をより有効に奏することができる。
また更に、本願の請求項5に係る発明によれば、板状ワークの閉断面化された凸状側面部の端部どうしを、中子型の凸状頂面部をプレスする面部と反対側の面部に押し当てて決め押し成形する決め押し成形工程をさらに備えていることにより、プレス成形面と反対側の面についても、比較的簡単な方法によって高い成形精度を得ることができる。
また更に、本願の請求項6に係る発明によれば、板状ワークの閉断面化された凸状側面部の端部どうしを溶接する溶接工程をさらに備えていることにより、閉断面部材の接合強度を高めることができ、より強固な閉断面部材を製造することができる。
また更に、本願の請求項7に係る発明によれば、閉断面部材の断面幅よりも狭い断面幅を有する中子型を用いてプレス成形されることにより、プレス成形された板状ワークの凸状側面部にも閉断面内方側へ向けて突出する凸部を形成する場合においても、閉断面化する際に、凸状側面部に形成された凸部と中子型との干渉を防止することができる。
また更に、本願の請求項8に係る発明によれば、第1のプレス成形工程において、凸部によって凸状頂面部の分割される部分の断面長さが長手方向において変化するように成形され、第2のプレス成形工程において、第2の成形型のダイに設けられる凹部の側壁部の断面長さが凸状頂面部の分割される部分の断面長さの最も短い部分と略同一に設定されたダイを用いてプレス成形されることにより、プレス成形面の両側に形成される側面部の少なくとも何れか一方の側面部の断面長さが長手方向において変化する閉断面部材を製造する場合においても、プレス成形面の両側に形成される側面部を長手方向において略等しいタイミングでプレス成形することができ、プレス成形を安定して行うことができる。
また更に、本願の請求項9に係る発明によれば、第1のプレス成形工程は、板状ワークを予め曲げ成形する予備曲げ成形工程であり、第2のプレス成形工程は、曲げ成形された板状ワークを第2の成形型の中子型により第2の成形型のダイに設けられた凹部内に押し込み、板状ワークの少なくとも一方側の端部が中子型の押し込み方向と逆方向に延びるととともに凹部の内方側に向かって延びるように板状ワークを成形する押し込み成形工程と、板状ワーク内に中子型を保持した状態で、板状ワークの端部を第2の成形型のパンチにより押圧して曲げ成形し、パンチと中子型により板状ワークの端部どうしを接触させて閉断面状に成形する本曲げ成形工程と、を備えていることにより、成形型などの成形装置を複雑化させることなく、比較的簡単な方法によって前記効果を得ることができる。
また更に、本願の請求項10に係る発明によれば、押し込み成形工程では、本曲げ成形工程において第2の成形型のパンチを移動させる駆動手段によって第2の成形型の中子型が第2の成形型のダイに設けられた凹部内に移動されることにより、押し込み成形及び本曲げ成形において板状ワークを移動させる必要がなく、比較的簡単な方法によって押し込み成形を行うことができる。
また更に、本願の請求項11に係る発明によれば、押し込み成形工程では、パンチと中子型との間にライナー部材を介設した状態で中子型が凹部内に移動され、本曲げ成形工程では、パンチと中子型との間からライナー部材が取り外され、板状ワーク内に中子型を保持した状態で、板状ワークの端部がパンチにより曲げ成形されることにより、押し込み成形時にライナー部材によって板状ワークとパンチとの干渉を防止しつつ、前記効果を得ることが可能である。
また更に、本願の請求項12に係る発明によれば、本曲げ成形工程の後に、板状ワークの接触させられた端部どうしを溶接する溶接工程をさらに備えていることにより、閉断面部材の接合強度を高めることができ、より強固な閉断面部材を製造することができる。
以下、本発明の実施形態について、添付図面を参照しながら説明する。なお、以下の説明では、必要に応じて特定の方向や位置を示す用語(例えば、「上」、「下」、「右」、「左」及びそれらの用語を含む別の用語)を用いるが、それらの用語の使用は図面を参照した発明の理解を容易にするためであって、それらの用語の意味によって本発明の技術的範囲が限定されるものではない。
図1は、本実施形態に係る金属製閉断面部材を備えた自動車の車体構造を模式的に示す側面図である。本実施形態に係る金属製閉断面部材の製造方法は、図1に示すように、自動車のサイドボディ10に結合されるフロントサイドフレーム20を、金属製の板状ワークを閉断面状に形成して製造する場合に適用するものであるが、これに限定されるものでなく、サイドボティ10に結合されるリアサイドフレーム30などのその他の車体部材の製造に適用してもよい。さらには、車体部材に限らず、閉断面状に形成されるその他の金属製の閉断面部材の製造に適用することも可能である。
図2は、本実施形態に係る金属製閉断面部材としてのフロントサイドフレームを示す斜視図である。また、図3は、図2におけるY3a−Y3a線及びY3b−Y3b線に沿ったフロントサイドフレームの断面図であり、図3の(a)は、図2におけるY3a−Y3a線に沿ったフロントサイドフレームの断面図、図3の(b)は、図2におけるY3b−Y3b線に沿ったフロントサイドフレームの断面図を示している。
図2に示すように、本実施形態に係る金属製閉断面部材としてのフロントサイドフレーム20は、長手方向に延びるとともに閉断面状に形成される閉断面部材として構成されており、上面部21と、下面部22と、右側面部23と、左側面部24と、上面部21から右側面部23に向かって右斜め下方に傾斜する第1の傾斜側面部25と、上面部21から左側面部24に向かって左斜め下方に傾斜する第2の傾斜側面部26と、下面部22から右側面部23に向かって右斜め上方に傾斜する第3の傾斜側面部27と、下面部22から左側面部24に向かって左斜め上方に傾斜する第4の傾斜側面部28によって中空部29を有する断面八角形状に形成されている。
また、フロントサイドフレーム20は、上面部21と下面部22とが長手方向に沿って平行に成形されるとともに断面長さが略同一に成形されているが、図2に示すように、断面形状は長手方向において変化して成形されている。フロントサイドフレーム20は、図3(a)に示す断面においては、第1の傾斜側面部25及び第3の傾斜側面部27が、図3(b)に示す断面における第1の傾斜側面部25及び第3の傾斜側面部27のそれぞれの断面長さよりも短い断面長さを有するように形成され、右側面部23が、図3(b)に示す断面における右側面部23の断面長さよりも長い断面長さを有するように形成され、第2の傾斜側面部26及び第4の傾斜側面部28が、図3(b)に示す断面における第2の傾斜側面部26及び第4の傾斜側面部28のそれぞれの断面長さよりも長い断面長さを有するように形成され、左側面部24が、図3(b)に示す断面における左側面部24の断面長さよりも短い断面長さを有するように形成されている。また、下面部22に対する第3の傾斜側面部27の傾斜角度及び下面部22に対する第4の傾斜側面部28の傾斜角度はそれぞれ、長手方向に一定の所定の角度で形成されている。フロントサイドフレーム20にはまた、右側面部23及び第1の傾斜側面部25に中空部29の内方側に窪む複数のビード30が形成されている。
次に、このようにして構成される本実施形態に係る金属製閉断面部材としてのフロントサイドフレーム20の製造方法について説明する。
本実施形態では、フロントサイドフレーム20を製造するに際し、先ず、例えば鋼板などの略平板状に形成された金属製の板状素材(板状ワーク)を用意し、この板状ワークを凸状にプレス成形し、具体的にはドロー(絞り)成形し、フロントサイドフレーム20の形状に応じた所定形状に成形する。
図4は、板状ワークをドロー成形するためのドロー成形装置のドロー成形型を示す斜視図であり、図5は、図4におけるY5−Y5線に沿ったドロー成形型の断面図である。なお、図4では、ドロー成形型のダイについてはその下面のみを示し、ドロー成形型のブランクホルダについてはその上面のみを示している。
図4及び図5に示すように、板状ワークをドロー成形するためのドロー成形装置に用いるドロー成形型(第1の成形型)40は、板状ワークW1を保持するためのブランクホルダ41と、ブランクホルダ41の内周面部41aに外周面部42aが嵌め合わせられ、ブランクホルダ41に対して上下方向に移動可能に構成されるパンチ42と、ブランクホルダ41とパンチ42とに対向して配置され、上下方向に移動可能に構成されるダイ45とを備えている。
ドロー成形型40のダイ45には、その下面45aに凹状に窪む凹部45bが設けられ、凹部45b内に板状ワークW1をドロー成形するための成形空間45cが形成されている。ドロー成形型40のダイ45に設けられる凹部45bは、フロントサイドフレーム20の形状に応じて所定形状に形成され、図5に示すように、略平面状に形成される底面部45dと、底面部45dから右斜め下方に傾斜する第1の傾斜壁部45eと、第1の傾斜壁部45eから垂直方向下方に延びる第1の右縦壁部45fと、第1の右縦壁部45fから水平方向右側に延びる右水平部45gと、右水平部45gから略垂直方向下方に延びる第2の右縦壁部45hと、底面部45dから左斜め下方に傾斜する第2の傾斜壁部45iと、第2の傾斜壁部45iから垂直方向下方に延びる第1の左縦壁部45jと、第1の左縦壁部45jから水平方向左側に延びる左水平部45kと、左水平部45kから略垂直方向下方に延びる第2の左縦壁部45lとを備えている。また、ダイ45に設けられる凹部45bの底面部45dには、底面部45dから成形空間45cの内方側に向かって断面円弧状に突出する凸部45mが設けられ、この凸部45mは、図4に示すように、底面部45dにおいて長手方向に設けられている。
一方、ドロー成形型40のパンチ42は、ドロー成形型40のダイ45との間で板状ワークW1を成形するために、フロントサイドフレーム20の形状に応じて所定形状に形成され、図5に示すように、パンチ42の頭部は、略平面状に形成される上面部42dと、上面部42dから右斜め下方に傾斜する第1の傾斜壁部42eと、第1の傾斜壁部42eから垂直方向下方に延びる右縦壁部42fと、右縦壁部42fから水平方向右側に延びる右水平部42gと、上面部42dから左斜め下方に傾斜する第2の傾斜壁部42iと、第2の傾斜壁部42iから垂直方向下方に延びる左縦壁部42jと、左縦壁部42jから水平方向左側に延びる左水平部42kとを備えている。また、パンチ42の上面部42dには、上面部42dから断面円弧状に窪む凹部42mが設けられ、この凹部42mは、上面部42dにおいて長手方向に設けられている。
このようにして構成されるドロー成形型40を備えたドロー成形装置では、ブランクホルダ41とダイ45とにより板状ワークW1を挟持した状態で、パンチ42をダイ45の成形空間45c内に移動させて板状ワークW1をドロー成形することにより、フロントサイドフレーム20の形状に応じて所定形状に板状ワークW1が成形されるようになっている。なお、ドロー成形型40のダイ45には、凹部45bの第2の傾斜壁部45i及び第1の左縦壁部45jにビード30の形状に応じて成形空間45cの内方側に向かって突出するビード形成用突出部(不図示)が形成され、ドロー成形型40のパンチ42には、第2の傾斜壁部42i及び左縦壁部42jにビード30の形状に応じて凹状に窪むビード形成用溝部(不図示)が形成されている。
ドロー成形型40を用いて板状ワークW1をドロー成形する際には、図5に示すように、ブランクホルダ41とダイ45とが離間して配置され、パンチ42の上面部42dがブランクホルダ41の上面41bよりも下方に配置された状態で、板状ワークW1がブランクホルダ41の上面41bに保持される。そして、ドロー成形型40のダイ45が下方へ移動され、ブランクホルダ41とダイ45とにより板状ワークW1の短手方向における両端部が挟持された後に、パンチ42が上方へ移動され、パンチ42がダイ45の成形空間45c内に移動して板状ワークW1がドロー成形される。
図6は、ドロー成形工程を説明するための説明図であり、図6の(a)は、ブランクホルダとダイとにより板状ワークが挟持された後に、パンチが上方へ移動されて板状ワークがドロー成形されている状態を示し、図6の(b)は、パンチがさらに上方へ移動されて板状ワークがさらにドロー成形された状態を示している。
図6(a)に示すように、板状ワークW1がブランクホルダ41とダイ45により挟持された状態で、パンチ42がダイ45の成形空間45c内に移動されることにより、パンチ42の上面部42dによって板状ワークW1が断面台形状にドロー成形される。さらにパンチ42が上方へ移動されると、図6(b)に示すように、板状ワークW1がさらにドロー成形され、パンチ42とダイ45とにより板状ワークW1が所定形状に成形される。
図7は、ドロー成形された板状ワークを示す斜視図であり、図8は、ドロー成形された板状ワークを図7におけるY8−Y8線に沿って示す断面図である。図7及び図8に示すように、ドロー成形された板状ワークW1は、ブランクホルダ41とダイ45とにより挟持された板状ワークW1の短手方向の両端部を除く短手方向の中央部分がダイ45に対するパンチ42の移動方向に突出させられて凸状にプレス成形され、凸状頂面部W2と、凸状頂面部W2の両側に成形される凸状側面部W3、W4とを有している。
ドロー成形された板状ワークW1は、ダイ45に設けられる凹部45bの底面部45dとパンチ42の上面部42dとにより凸状頂面部W2が成形され、凸状頂面部W2には、底面部45dに設けられた凸部45mと上面部42dに設けられた凹部42mとにより板状ワークW1の凸状に突出する方向と逆方向に断面円弧状に突出する凸部W2aが長手方向に設けられている。また、凸状頂面部W2は、図7に示すように、凸部W2aによって凸部W2aの右側に位置する右凸状頂面部W2bと凸部W2aの左側に位置する左凸状頂面部W2cとに分割され、凸状頂面部W2の凸部W2aによって分割される部分W2b、W2cの短手方向における断面長さが長手方向において変化するように成形されている。
凸状頂面部W2の右側には、ダイ45に設けられる凹部45bの第1の傾斜壁部45e、第1の右縦壁部45f、右水平部45g及び第2の右縦壁部45hとパンチ42の第1の傾斜壁部42e、右縦壁部42f、右水平部42g及び外周面部42aとにより凸状側面部W3が成形され、凸状側面部W3は、凹部45bの第1の傾斜壁部45eとパンチ42の第1の傾斜壁部42eとにより成形され凸状頂面部W2、具体的には右凸状頂面部W2bから右斜め下方に傾斜する第1の右凸状側面部W3aと、凹部45bの第1の右縦壁部45fとパンチ42の右縦壁部42fとにより成形され第1の右凸状側面部W3aから垂直方向下方に延びる第2の右凸状側面部W3bと、凹部45bの右水平部45gとパンチ42の右水平部42gとにより成形され第2の右凸状側面部W3bから水平方向右側に延びる第3の右凸状側面部W3cと、凹部45bの第2の右縦壁部45hとパンチ42の外周面部42aとにより成形され第3の右凸状側面部W3cから垂直方向下方に延びる第4の右凸状側面部W3dとを有している。
一方、凸状頂面部W2の左側には、ダイ45に設けられる凹部45bの第2の傾斜壁部45i、第1の左縦壁部45j、左水平部45k及び第2の左縦壁部45lとパンチ42の第2の傾斜壁部42i、左縦壁部42j、左水平部42k及び外周面部42aとにより凸状側面部W4が成形され、凸状側面部W4は、凹部45bの第2の傾斜壁部45iとパンチ42の第2の傾斜壁部42iとにより成形され凸状頂面部W2、具体的には左凸状頂面部W2cから左斜め下方に傾斜する第1の左凸状側面部W4aと、凹部45bの第1の左縦壁部45jとパンチ42の左縦壁部42jとにより成形され第1の左凸状側面部W4aから垂直方向下方に延びる第2の左凸状側面部W4bと、凹部45bの左水平部45kとパンチ42の左水平部42kとにより成形され第2の左凸状側面部W4bから水平方向左側に延びる第3の左凸状側面部W4cと、凹部45bの第2の左縦壁部45lとパンチ42の外周面部42aとにより成形され第3の左凸状側面部W4cから垂直方向下方に延びる第4の左凸状側面部W4dとを有している。
また、ドロー成形された板状ワークW1には、凹部45bの第2の傾斜壁部45i及び第1の左縦壁部45jに形成される前記ビード形成用突出部とパンチ40の第2の傾斜壁部42i及び左縦壁部42jに形成される前記ビード形成用溝部とにより、凸状側面部W4、具体的には第1及び第2の左凸状側面部W4a、W4bにビードW4fが形成される。
なお、凸状頂面部W2に設けられる凸部W2a、右凸状頂面部W2b、左凸状頂面部W2cがそれぞれ、フロントサイドフレーム20の下面部22、第4の傾斜側面部28、第3の傾斜側面部27の形状に応じて成形され、凸状側面部W3の第1の右凸状側面部W3aがフロントサイドフレーム20の左側面部24の形状に応じて成形され、凸状側面部W3の第2の右凸状側面部W3bがフロントサイドフレーム20の第2の傾斜側面部26及び上面部21の形状に応じて成形され、凸状側面部W4の第1の左凸状側面部W4aがフロントサイドフレーム20の右側面部23の形状に応じて成形され、凸状側面部W4の第2の左凸状側面部W4bがフロントサイドフレーム20の第1の傾斜側面部25及び上面部21の形状に応じて成形されている。
板状ワークW1をドロー成形する際には、図6に示すように、板状ワークW1の短手方向の両端部を、ブランクホルダ41とダイ45とにより挟持した状態でドロー成形することにより、ドロー成形された板状ワークW1にしわが発生することが防止されている。
ドロー成形型40を備えたドロー成形装置によって板状ワークW1がドロー成形された後、ドロー成形された板状ワークW1は、図示しないブランキング手段によって、図8に示すブランキングラインL1の下側に位置する部分がブランキングされ、ブランクホルダ41とダイ45とにより挟持される板状ワークW1の短手方向の両端部W5、第3の右凸状側面部W3c、第4の右凸状側面部W3d、第3の左凸状側面部W4c及び第4の左凸状側面部W4dが切り取られる。
次に、ドロー成形された板状ワークW1は、凸状側面部W3、W4の端部、具体的には、図8に示すように、凸状側面部W3の第2の右凸状側面部W3bの凸状頂面部W2側と反対側の端部W3e、及び、凸状側面部W4の第2の左凸状側面部W4bの凸状頂面部W2側と反対側の端部W4eが内方側へ曲げ成形される。図9は、ドロー成形された板状ワークの凸状側面部の端部を曲げ成形するための曲げ成形装置の曲げ成形型を示す断面図である。
図9に示すように、板状ワークW1の凸状側面部W3、W4の端部W3e、W4eを曲げ成形するための曲げ成形装置に用いる曲げ成形型50は、ドロー成形された板状ワークW1を保持するための第1のダイ51と、第1のダイ51の外周面51aに嵌め合わせられる第2のダイ52と、第2のダイ52を支持する第3のダイ53と、第1のダイ51の下方に配置される第4のダイ54と、第1のダイ51に対向して配置され、上下方向に移動可能に構成されるパンチ55を備えている。
曲げ成形型50の第1のダイ51は、図示しない付勢手段によって上方へ付勢され、第4のダイ54と離間した状態で配置されている。第1のダイ51の上面51bは、図9に示すように、その右側部分が、ドロー成形された板状ワークW1の凸状側面部W4、具体的には第2の左凸状側面部W4bの端部W4eを曲げ成形するために、第2の左凸状側面部W4bの曲げ成形すべき端部W4eが第2のダイ52の上方に位置付けられた状態でドロー成形された板状ワークW1を保持するように、凸状頂面部W2及び凸状側面部W4の形状に応じて形成されている。また、第1のダイ51の上面51bの左側部分は、ドロー成形された板状ワークW1の凸状側面部W3、具体的には第2の右凸状側面部W3bの端部W3eを曲げ成形するために、第2の右凸状側面部W3bの曲げ成形すべき端部W3eが第2のダイ52の上方に位置付けられた状態でドロー成形された板状ワークW1を保持するように、凸状頂面部W2及び凸状側面部W3の形状に応じて形成されている。
一方、曲げ成形型50のパンチ55は、第1のダイ51の上面51bの右側部分に保持された、ドロー成形された板状ワークW1を押圧するための右側パンチ55aと、第1のダイ51の上面51bの左側部分に保持された板状ワークW1を押圧するための左側パンチ55bとを備えている。
このようにして構成される曲げ成形型50を備えた曲げ成形装置では、第1のダイ51とパンチ55との間にドロー成形された板状ワークW1を挟んだ状態でパンチ55を下降させることによりパンチ55と第2のダイ52とによって、ドロー成形された板状ワークW1の凸状側面部W3、W4の端部W3e、W4eを曲げ成形することができるようになっている。
曲げ成形型50を用いて、ドロー成形された板状ワークW1の凸状側面部W3、W4の端部W3e、W4eを曲げ成形する際には、図9に示すように、第1のダイ51が前記付勢手段によって上方へ付勢された状態で、ドロー成形された板状ワークW1が、第1の左凸状側面部W4aを下側にして第1のダイ51の上面51bの右側部分に保持される。そして、曲げ成形型50のパンチ55が下方へ移動され、パンチ55と第2のダイ52とにより曲げ成形が行われる。
図10及び図11は、曲げ成形工程を説明するための説明図であり、図10は、パンチが下降してパンチとドロー成形された板状ワークとが接触した状態を示し、図11は、パンチがさらに下降して第1のダイと第4のダイとが接触し、ドロー成形された板状ワークの凸状側面部の端部が曲げ成形された状態を示している。
図10に示すように、第1のダイ51の上面51bにドロー成形された板状ワークW1が保持された状態で、パンチ55が下降されると、パンチ55の右側パンチ55aとドロー成形された板状ワークW1とが接触する。この状態からさらに、パンチ55が下方へ移動されると、パンチ55の右側パンチ55aと第1のダイ51とによりドロー成形された板状ワークW1を挟んだ状態でパンチ55の右側パンチ55aと第2のダイ52とにより凸状側面部W4の第2の右凸状側面部W4bの端部W4eが内方側へ曲げ成形され、図11に示すように、第1のダイ51が第4のダイ54に接触すると、パンチ55の下方への移動が停止され、曲げ成形を終了する。
ドロー成形された板状ワークW1の凸状側面部W4の端部W4eの曲げ成形が終了すると、パンチ55が上方へ移動され、第1のダイ51及び第1のダイ51に保持されたドロー成形された板状ワークW1が上方へ移動されて最初の位置に戻される。そして、図11において二点鎖線で示すように、ドロー成形された板状ワークW1を90度回転させて、ドロー成形された板状ワークW1が、第1の右凸状側面部W3aを下側にして第1のダイ51の上面51bの左側部分に保持され、同様にして、左側パンチ55bと第2のダイ52とにより凸状側面部W3の第2の左凸状側面部W3bの端部W3eが内方側へ曲げ成形される。
このようにして、ドロー成形された板状ワークW1の凸状側面部W3、W4の凸状頂面部W2側と反対側の端部W3e、W4eが内方側へ曲げ成形された後、ドロー成形された板状ワークW1は、凸状頂面部W2、具体的には凸状頂面部W2に設けられた凸部W2aを該凸部W2aの突出方向と反対方向である板状ワークW1の凸状に突出する方向にプレス成形し、凸状頂面部W2の両側の凸状側面部W3、W4をそれぞれ内方側へ変位させて閉断面化させる。
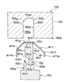
図12は、プレス成形工程を説明するための説明図であり、図12の(a)は、ドロー成形された板状ワークをプレス成形して閉断面化させるためのプレス成形装置のプレス成形型にドロー成形された板状ワークが保持された状態を示し、図12の(b)は、ドロー成形された板状ワークの凸状頂面部の凸部がプレス成形型の中子型によりプレスされている状態を示し、図12の(c)は、ドロー成形された板状ワークの凸状頂面部の凸部がプレス成形型の中子型によりプレス成形され凸状側面部の端部どうしが突き合わせられ閉断面化された状態を示している。なお、図12(b)及び図12(c)では、プレス成形型のパンチを省略して示している。
図12(a)に示すように、ドロー成形された板状ワークW1をプレス成形して閉断面化させるためのプレス成形装置に用いるプレス成形型(第2の成形型)60は、ドロー成形された板状ワークW1を保持するためのダイ61と、ダイ61の上方に配置され、上下方向に移動可能に構成される中子型65と、中子型65の上方に配置され、上下方向に移動可能に構成されるパンチ67とを備えている。
プレス成形型60のダイ61は、図12(a)に示すように、ドロー成形された板状ワークW1の凸状頂面部W2を保持するための上面61aに凹状に窪む凹部62が設けられている。図13は、図12(a)のA部を拡大して示す要部拡大図であり、この図13に示すように、プレス成形型60のダイ61に設けられる凹部62は、底面部62aと、側壁部62b、62c、具体的には図13において右側に位置する右側壁部62bと左側に位置する左側壁部62cとを備え、長手方向に延びている。
プレス成形型60のダイ61に設けられる凹部62の底面部62aは、フロントサイドフレーム20の下面部22の形状に応じて形成されており、ドロー成形された板状ワークW1の凸状頂面部W2に設けられる凸部W2aの断面長さ、すなわち断面円弧長L11と略同一の断面長さL21を有するように形成されている。また、凹部62の側壁部62b及び62cは、長手方向に変化する凸状頂面部W2の断面長さの最も短い断面長さと略同一の断面長さを有するように形成され、具体的には、凹部62の右側壁部62bが、左凸状頂面部W2cの断面長さL12の最も短い断面長さと略同一の断面長さL22を有するように形成され、凹部62の左側壁部62cが、右凸状頂面部W2bの断面長さL13の最も短い断面長さと略同一の断面長さL23を有するように形成され、凹部62の側壁部62b及び62cの底面部62aに対する傾斜角度はそれぞれ、フロントサイドフレーム20の形状に応じて長手方向に一定の所定の角度で形成されている。
プレス成形型60の中子型65は、ドロー成形された板状ワークW1の凸状頂面部W2、より具体的には凸状頂面部W2に設けられた凸部W2aを板状ワークW1の凸状に突出する方向にプレス成形するようにダイ61の上方に配置されている。この中子型65は、ドロー成形された板状ワークW1よりも長手方向に長く形成され、図12(a)に示すように、上面部65aと、下面部65bと、右側面部65cと、左側面部65dと、上面部65aから右側面部65cに向かって右斜め下方に傾斜する第1の傾斜側面部65eと、上面部65aから左側面部65dに向かって左斜め下方に傾斜する第2の傾斜側面部65fと、下面部65bから右側面部65cに向かって右斜め上方に傾斜する第3の傾斜側面部65gと、下面部65bから左側面部65dに向かって左斜め上方に傾斜する第4の傾斜側面部65hとを備えている。中子型65の下面部65b、第3の傾斜側面部65g及び第4の傾斜側面部65hはそれぞれ、フロントサイドフレーム20の下面部22、第3の傾斜側面部27及び第4の傾斜側面部28の形状に応じて形成され、中子型65の上面部65a、第1の傾斜側面部65e及び第2の傾斜側面部65fはそれぞれ、フロントサイドフレーム20の上面部21、第1の傾斜側面部25及び第2の傾斜側面部26の形状に応じて形成されている。
また、プレス成形型60の中子型65は、ドロー成形された板状ワークW1が閉断面化される際に、フロントサイドフレーム20の断面幅よりも狭い断面幅を有するように、具体的には、後述する図12(c)に示すように、中子型65の右側面部65cと左側面部65dとの間の断面幅L31が、フロントサイドフレーム20の右側面部23と左側面部24に対応する、ドロー成形された板状ワークW1の第1の左凸状側面部W4aと第1の右凸状側面部W3aとの間の断面幅L32よりも狭い断面幅を有するように形成されている。なお、中子型65の下面部65bの短手方向の断面幅は、板状ワークW1の凸部W2aの断面長さL11と略同一に設定されている。また、中子型65は、板状ワークW1が閉断面化された後には、閉断面状に形成された閉断面部材の長手方向に抜けるように構成されている。
プレス成形型60のパンチ67は、後述するように、ドロー成形された板状ワークW1の凸状側面部W3、W4の端部W3e、W4eどうしが突き合わせられ閉断面化された後に、突きあわせられた凸状側面部W3、W4の端部W3e、W4eどうしを、中子型65の凸状頂面部W2、より具体的には凸部W2aをプレスする面部(下面部)65bと反対側の面部(上面部)65aに押し当てて決め押し成形するためのパンチであり、中子型65の上方に配置され、上下方向に移動可能に構成されている。
このようにして構成されるプレス成形型60を備えたプレス成形装置では、ドロー成形された板状ワークW1をプレス成形型60のダイ61に、該ダイ61に設けられた凹部62上にドロー成形された板状ワークW1の凸部W2aが配置されるように保持した状態で、ドロー成形された板状ワークW1の凸部W2aがドロー成形型60の中子型65により板状ワークW1の凸状に突出する方向に凹部62内でプレス成形され、ドロー成形された板状ワークW1の凸状頂面部W2の両側の凸状側面部W3、W4をそれぞれ内方側へ変位させて閉断面化させることができるようになっている。
プレス成形型60を用いて、ドロー成形された板状ワークW1の凸部W2aを凹部62内でプレス成形する際には、図12(a)に示すように、ドロー成形された板状ワークW1がプレス成形型60のダイ61に、該ダイ61に設けられた凹部62上にドロー成形された板状ワークW1の凸部W2aがその短手方向における中心軸が略一致するようにして配置され、ドロー成形された板状ワークW1の凸状頂面部W2がダイ61の上面61aに保持される。
ドロー成形された板状ワークW1が、ダイ61に保持されると、中子型65が下方へ移動され、図12(b)に示すように、ドロー成形された板状ワークW1の凸部W2aが中子型65により板状ワークW1の凸状に突出する方向に下方に押圧され、これにより、左凸状頂面部W2c及び凸状側面部W4は、凹部62の右側壁部62bと上面61aとの交点であるダイ61の肩部62eを支点として、ドロー成形された板状ワークW1を閉じる方向に内方側へ変位し、右凸状頂面部W2b及び凸状側面部W3は、凹部62の左側壁部62cと上面61aとの交点であるダイ61の肩部62fを支点として、ドロー成形された板状ワークW1を閉じる方向に内方側へ変位する。
さらに、中子型65が下方へ移動され、ドロー成形された板状ワークW1の凸部W2aが中子型65によりダイ61の凹部62内でプレス成形されると、図12(c)に示すように、凸部W2aが圧潰されパンチ65とダイ61とによってプレス成形面W2dが成形されるとともに、凸状頂面部W2の両側の凸状側面部W3、W4がそれぞれ内方側へさらに変位させられ、凸状側面部W3、W4の端部W3e、W4eどうしが突きあわせられ閉断面化される。
図12では、プレス成形工程を説明するために、図3(a)に示す断面に対応する断面について示しているが、図3(b)に示す断面に対応する断面などのその他の断面についても同時にプレス成形され閉断面化される。図14は、図3(b)に示す断面に対応する断面についてプレス成形工程を説明するための説明図であり、図14の(a)は、ドロー成形された板状ワークの凸状頂面部の凸部がプレス成形型の中子型によりプレスされている状態を示し、図14の(b)は、ドロー成形された板状ワークの凸状頂面部の凸部がプレス成形型の中子型によりプレス成形され凸状側面部の端部どうしが突き合わせられ閉断面化された状態を示している。
図3(b)に示す断面に対応する断面についても、ドロー成形された板状ワークW1が、ダイ61に設けられた凹部62上にドロー成形された板状ワークW1の凸部W2aが配置されるようにダイ61に保持された状態で、中子型65が下方へ移動されると、図14(a)に示すように、ドロー成形された板状ワークW1の凸部W2aが中子型65により板状ワークW1の凸状に突出する方向に下方に押圧され、これにより、左凸状頂面部W2c及び凸状側面部W4は、ダイ61の肩部62eを支点として、ドロー成形された板状ワークW1を閉じる方向に内方側へ変位し、右凸状頂面部W2b及び凸状側面部W3は、ダイ61の肩部62fを支点として、ドロー成形された板状ワークW1を閉じる方向に内方側へ変位する。
中子型65がさらに下方へ移動され、ドロー成形された板状ワークW1の凸部W2aが中子型65によりダイ61の凹部62内でプレス成形されると、図14(b)に示すように、凸部W2aが圧潰されパンチ65とダイ61とによってプレス成形面W2dが成形されるとともに、凸状頂面部W2の両側の凸状側面部W3、W4がそれぞれ内方側へさらに変位させられ、凸状側面部W3、W4の端部W3e、W4eどうしが突きあわせられ閉断面化される。
本実施形態では、凸部W2aによって凸状頂面部W2の分割される部分W2c、W2bの断面長さL12、L13が長手方向において変化するように成形されているが、プレス成形型60のダイ61に設けられる凹部62の側壁部62b、62cの断面長さL22、L23がそれぞれ、凸状頂面部W2の分割される部分W2c、W2bの断面長さL12、L13の最も短い部分と略同一に設定されたダイ61を用いてプレス成形されることにより、プレス成形面W2dの両側に形成される側面部、具体的にはフロントサイドフレーム20の第3の傾斜側面部27及び第4の傾斜側面部28に対応する凸状頂面部W2c、W2bを長手方向において略等しいタイミングでプレス成形することができ、プレス成形を安定して行うことができる。
図12(c)及び図14(b)に示すように、ドロー成形された板状ワークW1の凸部W2aを中子型65により板状ワークW1の凸状に突出する方向に凹部62内にプレス成形することより、凸部W2aを圧潰してプレス成形面W2dを成形するとともに凸状頂面部W2の両側の凸状側面部W3、W4をそれぞれ内方側へ変位させて突き合わせ閉断面化させた後には、突き合わせられた凸状側面部W3、W4の端部W3e、W4eどうしが、中子型65の凸部W2aをプレスする面部65bと反対側の面部65aに押し当てて決め押し成形される。
図15は、決め押し成形工程を説明するための説明図であり、図15の(a)は、決め押し成形前の状態を示し、図15の(b)は、決め押し成形後の状態を示している。ドロー成形された板状ワークW1の突きあわせられた凸状側面部W3、W4の端部W3e、W4eどうしを中子型65に押し当てて決め押し成形する際には、図15(a)に示されるように、中子型65の上方に配置され、上下方向に移動可能に構成されるパンチ67が用いられる。
プレス成形型60のパンチ67が、ドロー成形された板状ワークW1の突き合わせられた凸状側面部W3、W4の端部W3e、W4eどうしを押圧するように下方へ移動されると、図15(b)に示すように、ドロー成形された板状ワークの突き合わせられた凸状側面部W3、W4の端部W3e、W4eどうしが、パンチ67によりプレスされ、中子型65の凸部W2aをプレスする面部65bと反対側の面部65aに押し当てられ決め押し成形され、パンチ67と中子型65とにより、フロントサイドフレーム20の上面部21に対応する面部W6が成形される。
このように、ドロー成形された板状ワークW1の突き合わせられる凸状側面部W3、W4の端部W3e、W4eどうしを、中子型65の凸部W2aをプレスする面部65bと反対側の面部65aに押し当てて決め押し成形する決め押し成形工程をさらに備えていることにより、プレス成形面W2dと反対側の面についても、比較的簡単な方法によって高い成形精度を得ることができる。
ドロー成形された板状ワークW1の突き合わせられる凸状側面部W3、W4の端部W3e、W4eどうしがパンチ67と中子型65により決め押し成形された後には、突き合わせられる凸状側面部の端部どうしが、例えばレーザー溶接などの溶接によって接合され、フランジ部分を設けることなく閉断面状に形成された閉断面部材としてのフロントサイドフレーム20が製造される。
このように、ドロー成形された板状ワークの閉断面化された凸状側面部の端部どうしを溶接する溶接工程をさらに備えていることにより、閉断面部材の接合強度を高めることができ、より強固な閉断面部材を製造することができる。
本実施形態では、ドロー成形によって、板状ワークW1をドロー成形型40のブランクホルダ41とダイ45とにより挟持した状態で、パンチ42をダイ45の成形空間45c内に移動させることにより、板状ワークW1をダイ45に対するパンチ42の移動方向に突出させて凸状にドロー成形するとともに、板状ワークW1の凸状に成形される凸状頂面部W2に、板状ワークW1の凸状に突出する方向と逆方向に突出する凸部W2aを成形しているが、例えば張出し成形などのその他のプレス成形を用いて成形するようにしてもよい。
また、本実施形態では、ドロー成形された板状ワークW1の凸状側面部W3、W4の端部W3e、W4eを曲げ成形した後に閉断面化させているが、曲げ成形することなく閉断面化させるようにすることも可能である。
さらに、本実施形態では、ドロー成形された板状ワークW1の凸部W2aをプレス成形型60の中子型65により板状ワークW1の凸状に突出する方向にプレス成形型60のダイに設けられた凹部62内でプレス成形することで、板状ワークW1の凸状側面部W3、W4の端部W3e、W4eどうしを突き合わせて閉断面化しているが、板状ワークW1の凸状側面部W3、W4の端部W3e、W4eどうしを重ね合わせて閉断面化するようにしてもよい。かかる場合には、溶接工程において、好ましくは、重ね合わせられて閉断面化された板状ワークW1の凸状側面部W3、W4の端部W3e、W4eどうしが重ね溶接や隅肉溶接によって溶接される。
また、本実施形態では、プレス成形型60のダイ61に凹部62が設けられているが、ダイ61に凹部を設けることなく、ダイ61に設けられた平面部上にドロー成形された板状ワークW1の凸部W2aが配置されるように板状ワークW1をダイ61に保持した状態で、板状ワークW1の凸部W2aをプレス成形型60の中子型65により板状ワークW1の凸状に突出する方向にプレス成形型60のダイ61に設けられた平面部でプレス成形することにより、板状ワークW1の凸部W2aを圧潰してプレス成形面を成形するとともに、板状ワークW1の凸状頂面部W2の両側の凸状側面部W3、W4をそれぞれ内方側へ変位させて閉断面化するようにしてもよい。
このように、本実施形態に係る金属製閉断面部材としてのフロントサイドフレーム20の製造方法では、板状ワークW1を第1の成形型40のブランクホルダ41とダイ45とにより挟持した状態で、第1の成形型40のパンチ42をダイ45の成形空間45c内に移動させることにより、板状ワークW1をダイ45に対するパンチ42の移動方向に突出させて凸状にプレス成形する第1のプレス成形工程と、第1のプレス成形工程の後に、プレス成形された板状ワークW1を第2の成形型60のダイ61と中子型65との間に、中子型65が板状ワークW1の凸状に突出する方向と反対側に位置するように配置した状態で、中子型65をダイ61に対して移動させ、板状ワークW1の凸状に成形された凸状頂面部W2を板状ワークW1の凸状に突出する方向にプレス成形することにより、第1のプレス成形工程において成形された板状ワークW1の凸状頂面部W2の両側の凸状側面部W3、W4をそれぞれ板状ワークW1の内方側へ変位させて閉断面化する第2のプレス成形工程と、を備えている。これにより、板状ワークにしわが発生することを防止し、比較的簡単な方法によって精度良く金属製閉断面部材を製造することができる。
また、第1のプレス成形工程において、板状ワークW1の凸状頂面部W2に板状ワークW1の凸状に突出する方向と逆方向に突出する凸部W2aを成形し、第2のプレス成形工程において、板状ワークW1の凸部W2aをプレス成形することにより、板状ワークW1の凸部W2aを圧潰してプレス成形面W2dを成形するとともに、板状ワークW1の凸状頂面部W2の両側の凸状側面部W3、W4をそれぞれ板状ワークW1の内方側へ変位させて閉断面化することにより、成形型などの成形装置を複雑化させることなく、比較的簡単な方法によって前記効果を得ることができる。閉断面部材の断面形状が長手方向において変化する場合においても、閉断面部材の周囲を覆う成形型を用いる必要がなく、比較的簡単な方法によって、金属製の板状ワークから閉断面部材を製造することができる。
本実施形態では、プレス成形された板状ワークW1の凸状頂面部W2に設けられる凸部W2aを断面円弧状に成形し、この凸部W2aをプレス成形することにより、板状ワークW1の凸状頂面部W2の両側の凸状側面部W3、W4をそれぞれ板状ワークW1の内方側へ変位させて閉断面化させているが、プレス成形された板状ワークW1の凸状頂面部W2に設けられる凸部を断面台形状に成形するようにしてもよい。
このように、プレス成形された板状ワークW1の凸状頂面部W2に設けられる凸部W2aが断面円弧状又は断面台形状に成形されることにより、凸部W2aを圧潰する際に、凸部W2aに割れなどが発生することを防止することができ、前記効果をより有効に奏することができる。
更に、プレス成形された板状ワークW1の凸状頂面部W2に設けられる凸部W2aの断面長さが、プレス成形面W2dの断面長さと略同一であることにより、プレス成形面を精度良く成形することができ、前記効果をより有効に奏することができる。
本実施形態では、プレス成形された板状ワークW1の凸状側面部W1側と反対側の端部W3e、W4eが曲げ成形されているが、プレス成形された板状ワークW1の一方の凸状側面部についてのみ、凸状側面部の凸状頂面部側と反対側の端部を内方側へ曲げ加工するようにしてもよい。
このように、第1のプレス成形工程と第2のプレス成形工程との間に、プレス成形された板状ワークW1の少なくとも一方の凸状側面部W3、W4の凸状頂面部W2側と反対側の端部W3e、W4eを内方側へ曲げ成形する曲げ成形工程をさらに備えていることにより、プレス成形された板状ワークを閉断面化させる際に、プレス成形された板状ワークの凸状側面部の内方側への変位を少なくし、より精度良く金属製閉断面部材を製造することができる。
また、プレス成形された板状ワークW1を閉断面化させる際に、フロントサイドフレーム20の断面幅L32よりも狭い断面幅L31を有する中子型65を用いてプレス成形されることにより、プレス成形された板状ワークW1の凸状側面部W3、W4にも閉断面内方側へ向けて突出する凸部を形成する場合においても、閉断面化する際に、凸状側面部に形成された凸部と中子型との干渉を防止することができる。
本実施形態では、プレス成形された板状ワークW1を第2の成形型60のダイ61と中子型65との間に、中子型65が板状ワークW1の凸状に突出する方向と反対側に位置するように配置した状態で、中子型65をダイ61に対して移動させ、板状ワークW1の凸状に成形された凸状頂面部W2を板状ワークW1の凸状に突出する方向にプレス成形することにより、第1のプレス成形工程において成形された板状ワークW1の凸状頂面部W2の両側の凸状側面部W3、W4をそれぞれ板状ワークW1の内方側へ変位させて閉断面化しているが、ダイ61を中子型65に対して相対的に移動させ、第1のプレス成形工程において成形された板状ワークW1の凸状頂面部W2の両側の凸状側面部W3、W4をそれぞれ板状ワークW1の内方側へ変位させて閉断面化するようにしてもよい。
次に、本実施形態に係る金属製閉断面部材の別の製造方法について、図16〜図26を参照して説明する。
図16は、本実施形態に係る金属製閉断面部材としての別のフロントサイドフレームを示す斜視図である。また、図17は、図16におけるY17a−Y17a線及びY17b−Y17b線に沿ったフロントサイドフレームの断面図であり、図17の(a)は、図16におけるY17a−Y17a線に沿ったフロントサイドフレームの断面図、図17の(b)は、図16におけるY17b−Y17b線に沿ったフロントサイドフレームの断面図を示している。
図16に示すように、本実施形態に係る金属製閉断面部材としての別のフロントサイドフレーム120は、ビードが形成されていないこと以外はフロントサイドフレーム20と同様であり、長手方向に延びるとともに閉断面状に形成される閉断面部材として構成されており、上面部121と、下面部122と、右側面部123と、左側面部124と、上面部121から右側面部123に向かって右斜め下方に傾斜する第1の傾斜側面部125と、上面部121から左側面部124に向かって左斜め下方に傾斜する第2の傾斜側面部126と、下面部122から右側面部123に向かって右斜め上方に傾斜する第3の傾斜側面部127と、下面部122から左側面部124に向かって左斜め上方に傾斜する第4の傾斜側面部128によって中空部129を有する断面八角形状に形成されている。
また、フロントサイドフレーム120は、上面部121と下面部122とが長手方向に沿って平行に成形されるとともに断面長さが略同一に成形されているが、図16及び図17に示すように、断面形状は長手方向において変化して成形されている。フロントサイドフレーム120は、図17(a)に示す断面においては、第1の傾斜側面部125及び第3の傾斜側面部127が、図17(b)に示す断面における第1の傾斜側面部125及び第3の傾斜側面部127のそれぞれの断面長さよりも短い断面長さを有するように形成され、右側面部123が、図17(b)に示す断面における右側面部123の断面長さよりも長い断面長さを有するように形成され、第2の傾斜側面部126及び第4の傾斜側面部128が、図17(b)に示す断面における第2の傾斜側面部126及び第4の傾斜側面部128のそれぞれの断面長さよりも長い断面長さを有するように形成され、左側面部124が、図17(b)に示す断面における左側面部124の断面長さよりも短い断面長さを有するように形成されている。
次に、このようにして構成される本実施形態に係る金属製閉断面部材としてのフロントサイドフレーム120の製造方法について説明する。
フロントサイドフレーム120を製造する場合においても、先ず、例えば鋼板などの略平板状に形成された金属製の板状ワークを用意し、板状ワークを凸状にプレス成形し、具体的にはドロー(絞り)成形し、板状ワークを予め曲げ成形する予備曲げ成形工程によって、フロントサイドフレーム120の形状に応じた所定形状に成形する。
図18は、板状ワークをドロー成形するためのドロー成形装置のドロー成形型を示す斜視図であり、図19は、図18におけるY19−Y19線に沿ったドロー成形型の断面図である。なお、図18では、ドロー成形型のダイについてはその下面のみを示し、ドロー成形型のブランクホルダについてはその上面のみを示し、図19では、板状ワークも示している。
図18及び図19に示すように、板状ワークW11をドロー成形するためのドロー成形装置に用いるドロー成形型(第1の成形型)140は、板状ワークW11を保持するためのブランクホルダ141と、ブランクホルダ141の内周面部141aに外周面部142aが嵌め合わせられ、ブランクホルダ141に対して上下方向に移動可能に構成されるパンチ142と、ブランクホルダ141とパンチ142とに対向して配置され、上下方向に移動可能に構成されるダイ145とを備えている。
ドロー成形型140のダイ145には、その下面145aに凹状に窪む凹部145bが設けられ、凹部145b内に板状ワークW11をドロー成形するための成形空間145cが形成されている。ドロー成形型140のダイ145に設けられる凹部145bは、フロントサイドフレーム120の形状に応じて所定形状に形成され、図19に示すように、平面状に形成される底面部145dと、底面部145dから右斜め下方に傾斜する第1の傾斜壁部145eと、第1の傾斜壁部145eから垂直方向下方に延びる第1の右縦壁部145fと、第1の右縦壁部145fから水平方向右側に延びる右水平部145gと、右水平部145gから略垂直方向下方に延びる第2の右縦壁部145hと、底面部145dから左斜め下方に傾斜する第2の傾斜壁部145iと、第2の傾斜壁部145iから垂直方向下方に延びる第1の左縦壁部145jと、第1の左縦壁部145jから水平方向左側に延びる左水平部145kと、左水平部145kから略垂直方向下方に延びる第2の左縦壁部145lとを備えている。
一方、ドロー成形型140のパンチ142は、ドロー成形型140のダイ145との間で板状ワークW11を成形するために、フロントサイドフレーム120の形状に応じて所定形状に形成され、図19に示すように、パンチ142の頭部は、平面状に形成される上面部142dと、上面部142dから右斜め下方に傾斜する第1の傾斜壁部142eと、第1の傾斜壁部142eから垂直方向下方に延びる右縦壁部142fと、右縦壁部142fから水平方向右側に延びる右水平部142gと、上面部142dから左斜め下方に傾斜する第2の傾斜壁部142iと、第2の傾斜壁部142iから垂直方向下方に延びる左縦壁部142jと、左縦壁部142jから水平方向左側に延びる左水平部142kとを備えている。
このようにして構成されるドロー成形型140を備えたドロー成形装置では、ブランクホルダ141とダイ145とにより板状ワークW11を挟持した状態で、パンチ142をダイ145の成形空間145c内に移動させて板状ワークW11をドロー成形することにより、フロントサイドフレーム120の形状に応じて所定形状に板状ワークW11が成形されるようになっている。
ドロー成形型140を用いて板状ワークW11をドロー成形する際には、図19に示すように、ブランクホルダ141とダイ145とが離間して配置され、パンチ142の上面部142dがブランクホルダ141の上面141bよりも下方に配置された状態で、板状ワークW11がブランクホルダ141の上面141bに保持される。そして、ドロー成形型140のダイ145が下方へ移動され、ブランクホルダ141とダイ145とにより板状ワークW11の短手方向における両端部が挟持された後に、パンチ142が上方へ移動され、パンチ142がダイ145の成形空間145c内に移動して板状ワークW11がドロー成形される。
図20は、ドロー成形工程を説明するための説明図であり、図20の(a)は、ブランクホルダとダイとにより板状ワークが挟持された後に、パンチが上方へ移動されて板状ワークがドロー成形されている状態を示し、図20の(b)は、パンチがさらに上方へ移動されて板状ワークがさらにドロー成形された状態を示している。
図20(a)に示すように、板状ワークW11がブランクホルダ141とダイ145により挟持された状態で、パンチ142がダイ145の成形空間145c内に移動されることにより、パンチ142の上面部142dによって板状ワークW11が断面台形状にドロー成形される。さらにパンチ142が上方へ移動されると、図20(b)に示すように、板状ワークW11がさらにドロー成形され、パンチ142とダイ145とにより板状ワークW11が所定形状に成形される。
図21は、ドロー成形された板状ワークを示す斜視図であり、図22は、ドロー成形された板状ワークを図21におけるY22−Y22線に沿って示す断面図である。図21及び図22に示すように、ドロー成形された板状ワークW11は、ブランクホルダ141とダイ145とにより挟持された板状ワークW11の短手方向の両端部を除く短手方向の中央部分がダイ145に対するパンチ142の移動方向に変形させられて凸状にプレス成形され、ダイ145に設けられる凹部145bの底面部145dとパンチ142の上面部142dとにより成形される凸状頂面部W12と、凸状頂面部W12の両側に成形される凸状側面部W13、W14とを有している。
凸状側面部W13は、図22に示すように、ダイ145に設けられる凹部145bの第1の傾斜壁部145e、第1の右縦壁部145f、右水平部145g及び第2の右縦壁部145hとパンチ142の第1の傾斜壁部142e、右縦壁部142f、右水平部142g及び外周面部142aとにより凸状頂面部W12の右側に成形され、凹部145bの第1の傾斜壁部145eとパンチ142の第1の傾斜壁部142eとにより成形され凸状頂面部W12から右斜め下方に傾斜する第1の右凸状側面部W13aと、凹部145bの第1の右縦壁部145fとパンチ142の右縦壁部142fとにより成形され第1の右凸状側面部W13aから垂直方向下方に延びる第2の右凸状側面部W13bと、凹部145bの右水平部145gとパンチ142の右水平部142gとにより成形され第2の右凸状側面部W13bから水平方向右側に延びる第3の右凸状側面部W13cと、凹部145bの第2の右縦壁部145hとパンチ142の外周面部142aとにより成形され第3の右凸状側面部W13cから垂直方向下方に延びる第4の右凸状側面部W13dとを有している。
一方、凸状側面部W14は、図22に示すように、ダイ145に設けられる凹部145bの第2の傾斜壁部145i、第1の左縦壁部145j、左水平部145k及び第2の左縦壁部145lとパンチ142の第2の傾斜壁部142i、左縦壁部142j、左水平部142k及び外周面部142aとにより凸状頂面部W12の左側に成形され、凹部145bの第2の傾斜壁部145iとパンチ142の第2の傾斜壁部142iとにより成形され凸状頂面部W12から左斜め下方に傾斜する第1の左凸状側面部W14aと、凹部145bの第1の左縦壁部145jとパンチ142の左縦壁部142jとにより成形され第1の左凸状側面部W14aから垂直方向下方に延びる第2の左凸状側面部W14bと、凹部145bの左水平部145kとパンチ142の左水平部142kとにより成形され第2の左凸状側面部W14bから水平方向左側に延びる第3の左凸状側面部W14cと、凹部145bの第2の左縦壁部145lとパンチ142の外周面部142aとにより成形され第3の左凸状側面部W14cから垂直方向下方に延びる第4の左凸状側面部W14dとを有している。
なお、凸状頂面部W12は、フロントサイドフレーム120の下面部122、第3の傾斜側面部127及び第4の傾斜側面部128の形状に応じて成形され、凸状側面部W13の第1の右凸状側面部W13aがフロントサイドフレーム120の右側面部124の形状に応じて成形され、凸状側面部W13の第2の右凸状側面部W13bがフロントサイドフレーム120の第2の傾斜側面部126及び上面部121の形状に応じて成形され、凸状側面部W14の第1の左凸状側面部W14aがフロントサイドフレーム120の左側面部123の形状に応じて成形され、凸状側面部W14の第2の左凸状側面部W14bがフロントサイドフレーム120の第1の傾斜側面部125及び上面部121の形状に応じて成形されている。
このように、ドロー成形工程において板状ワークW11をドロー成形する際には、板状ワークW11の短手方向における両端部をドロー成形型140のブランクホルダ141とダイ145とにより挟持した状態で、ドロー成形型140のパンチ142をドロー成形型140のダイ145の成形空間145c内に移動させ、板状ワークW11をドロー成形することにより、板状ワークW11にしわが発生することを防止することができる。
ドロー成形型140を備えたドロー成形装置によって板状ワークW11がドロー成形された後、ドロー成形された板状ワークW11は、図示しないブランキング手段によって、図22に示すブランキングラインL100の下側に位置する部分がブランキングされ、ブランクホルダ141とダイ145とにより挟持される板状ワーク材W11の短手方向における両端部W15、第3の右凸状側面部W13c、第4の右凸状側面部W13d、第3の左凸状側面部W14c及び第4の左凸状側面部W14dが切り取られる。
次に、ドロー成形された板状ワークW11は、板状ワークW11を押し込み成形する押し込み成形工程によって、板状ワークW11の凸状に成形された凸状頂面部W12が板状ワークW1の凸状に突出する方向にプレス成形され、フロントサイドフレーム120の形状に応じた所定形状に成形される。図23は、板状ワークを押し込み成形するための押し込み成形装置の押し込み成形型を示す断面図であり、図24は、前記押し込み成形型を示す斜視図である。なお、図23及び図24では、板状ワークも示している。
図23及び図24に示すように、板状ワークW11を押し込み成形するための押し込み成形装置に用いる押し込み成形型(第2の成形型)150は、中子型151と、中子型151を着脱可能に支持するライナー部材152と、ライナー部材152を着脱可能に支持するとともに、上下方向に移動可能に構成されるパンチ153と、中子型151に対向して配置され、板状ワークW11が中子型151により押し込まれるダイ155とを備えている。
押し込み成形型150の中子型151は、図23に示すように、フロントサイドフレーム120の形状に応じて形成され、フロントサイドフレーム120の下面部122、上面部121、右側面部123、左側面部124、第1の傾斜側面部125、第2の傾斜側面部126、第3の傾斜側面部127及び第4の傾斜側面部128の形状に応じてそれぞれ上面部151a、下面部151b、左側面部151c、右側面部151d、第1の傾斜側面部151e、第2の傾斜側面部151f、第3の傾斜側面部151g、第4の傾斜側面部151hが形成され、中子型151の上面部151aに板状ワークW11の凸状頂面部W12が保持される。
押し込み成形型150の中子型151を支持するライナー部材152は、中子型151の下方に配置され、中子型151の下面部151bの断面長さと略同一の断面長さを有し、断面矩形状に形成されている。また、ライナー部材152は、中子型151と連結するための図示しない中子型用連結ピンを備え、該中子型用連結ピンが中子型151に設けられた連結穴(不図示)に挿入されることにより中子型151と連結され、中子型151を着脱可能に支持することができるようになっている。更に、ライナー部材152は、パンチ153と連結するための図示しないパンチ用連結ピンを備えている。
ライナー部材152を支持するパンチ153は、その頭部に突出部153aが設けられている。突出部153aは、フロントサイトフレーム120の形状に応じて成形される上面部153bと外周部153cとを有し、上面部153bは、フロントサイドフレーム120の上面部121の形状に応じて形成され水平方向に延びる水平部153dと、フロントサイドフレーム120の第2の傾斜側面部126の形状に応じて形成され水平部153dから右斜め上方に傾斜する第1の傾斜壁部153eと、フロントサイドフレーム120の第1の傾斜側面部125の形成に応じて形成され水平部153dから左斜め上方に傾斜する第2の傾斜壁部153fとを有している。
また、パンチ153は、前記パンチ用連結ピンが水平部153dに設けられた連結穴(不図示)に挿入されることにより、ライナー部材152と連結され、ライナー部材152を着脱可能に支持することができるようになっている。これにより、押し込み成形型150では、中子型151がライナー部材152に支持され、ライナー部材152がパンチ153に支持されており、パンチ153を上下方向に移動させる駆動手段(不図示)によって上下方向に移動されるパンチ153の移動に伴って、中子型151及びライナー部材152が上下方向に移動されるようになっている。
一方、押し込み成形型150のダイ155は、その下面155aに板状ワークW11が押し込まれる凹部155bが形成されており、凹部155b内に板状ワークW11を成形するための成形空間155cが形成されている。押し込み成形型150のダイ155に設けられる凹部155bは、図23に示すように、フロントサイドフレーム120の形状に応じて形成され、フロントサイドフレーム120の下面部122の形状に応じて形成される底面部155dと、フロントサイドフレーム120の第4の傾斜側面部128の形状に応じて形成され底面部155dから右斜め下方に傾斜する第1の傾斜壁部155eと、フロントサイドフレーム120の左側面部124の形状に応じて形成され第1の傾斜壁部155eから垂直方向下方に延びる右縦壁部155fと、フロントサイドフレーム120の第3の傾斜側面部127の形状に応じて形成され底面部155dから左斜め下方に傾斜する第2の傾斜壁部155gと、フロントサイドフレーム120の右側面部123の形状に応じて形成され第2の傾斜壁部155gから垂直方向下方に延びる左縦壁部155hとを備えている。
このようにして構成される押し込み成形型150を備えた押し込み成形装置では、板状ワークW11の凸状頂面部W12を中子型151に保持した状態で、中子型151が上方へ移動され、板状ワークW11を中子型151によりダイ155に設けられた凹部155b内に押し込み、板状ワークW11の凸状側面部W13、W14の端部W13e、W14eを中子型151の押し込み方向と逆方向に延びるととともに凹部155bの内方側に向かって延びるように板状ワークW11を成形することができるようになっている。
押し込み成形型150を用いて、板状ワーク材W11を押し込み成形する際には、図23に示すように、板状ワークW11は、凸状頂面部W12を上側にした状態で、中子型151の上面部151aに凸状頂面部W12が保持される。そして、押し込み成形型150のパンチ153が上方へ移動され、これに伴って中子型151が上方へ移動され、中子型151とダイ155とにより板状ワークW11の押し込み成形が行われる。
図25は、押し込み成形工程を説明するための説明図であり、図25の(a)は、板状ワークW11が押し込み成形型のダイに設けられた凹部内に押し込まれる状態を示し、図25の(b)は、板状ワークが押し込み成形型のダイに設けられた凹部内に押し込まれた状態を示している。
板状ワークW11が中子型151に保持された状態で、中子型151が上方へ移動されると、図25(a)に示すように、板状ワークW11の凸状頂面部W12の右側部分が、ダイ155、具体的にはダイ155の右縦壁部155fと下面155aとの交点であるダイ155の肩部155iと中子型151とによって曲げ成形され、凸状側面部W13が板状ワークW11を閉じる方向に内方側に変位する。板状ワークW11の凸状頂面部W12の左側部分についても、ダイ155、具体的にはダイ155の左縦壁部155hと下面155aとの交点であるダイ155の肩部155jと中子型151とによって曲げ成形され、凸状側面部W14が板状ワークW11を閉じる方向に内方側に変位する。
さらに、中子型151が上方へ移動され、板状ワーク材W11が中子型151によりダイ155の凹部155b内に押し込み成形されると、図25(b)に示すように、板状ワークW11が中子型151とダイ155とによって曲げ成形され、凸状頂面部W12の両側の凸状側面部W13、W14が板状ワークW11を閉じる方向に内方側へさらに変位し、これに伴って、板状ワークW11の凸状側面部W13、W14の端部W13e、W14eが中子型151の押し込み方向と逆方向に延びるととともに凹部155bの内方側に向かって延びるように成形される。板状ワークW11が中子型151によりダイ155の凹部155b内に押し込み成形される際には、ライナー部材152は、板状ワークW11の端部W13e、W14eと干渉しないように形成されている。
板状ワーク材W11が中子型151によりダイ155の凹部155b内に押し込み成形されることにより、ダイ155の凹部155bの底面部155dと中子型151の上面部151aとによりフロントサイドフレーム120の下面部122が成形され、ダイ155の凹部155bの第1の傾斜壁部155eと中子型151の第4の傾斜側面部151hとによりフロントサイドフレーム120の第4の傾斜側面部128が成形され、ダイ155の凹部155bの右縦壁部155fと中子型151の右側面部151dとによりフロントサイドフレーム120の左側面部124が成形され、ダイ155の凹部155bの第2の傾斜壁部155gと中子型151の第3の傾斜側面部151gとによりフロントサイドフレーム120の第3の傾斜側面部127が成形され、ダイ155の凹部155bの左縦壁部155hと中子型151の左側面部151cとによりフロントサイドフレーム120の右側面部123が成形される。
なお、板状ワークW11は、ドロー成形工程において、板状ワークW11が押し込み成形型150の中子型151により押し込み成形型150のダイ155に設けられた凹部155b内に押し込まれた際に、板状ワークW11の端部W13e、W14eが押し込み成形型150の中子型151の押し込み方向と逆方向に延びるとともに凹部155bの内方側に向かって延びるように曲げ成形されている。
このようにして、ドロー成形された板状ワークW11を押し込み成形型150の中子型151により押し込み成形型150のダイ155に設けられた凹部155b内に押し込み成形した後には、板状ワークW11内に中子型151を保持した状態で、パンチ153と中子型151により板状ワークW11の端部W13e、W14eどうしを接触させて閉断面状に成形する本曲げ成形工程が行われる。
図26は、本曲げ成形工程を説明するための説明図であり、図26の(a)は、押し込み成形後にライナー部材が取り外された状態を示し、図26の(b)は、パンチが上方へ移動され、パンチにより板状ワークが押圧され曲げ成形されている状態を示し、図26の(c)は、パンチにより板状ワークが押圧され曲げ成形された状態を示している。
板状ワークW11が押し込み成形型150の中子型151により押し込み成形型150のダイ155に設けられる凹部155b内に押し込まれると、押し込み成形された板状ワークW11内に中子型151を保持した状態で、パンチ153が下方へ移動され、図26(a)に示すように、中子型151とパンチ153との間に介設されたライナー部材152が取り外される。
ライナー部材152が取り外されると、パンチ153が再び上方へ移動され、図26(b)に示すように、パンチ155の上面部153bによって、板状ワークW11の中子型151の押し込み方向と逆方向に延びるととともに凹部155bの内方側に向かって延びる端部W13e、W14eが押圧され、板状ワークW11の端部W13e、W14eがさらに板状ワークW11を閉じる方向に内方側に曲げ成形される。
さらに、パンチ153が上方へ移動されると、図26(c)に示すように、板状ワークW11の端部W13e、W14eがパンチ153の上面部153bによってさらに板状ワークW11を閉じる方向に内方側に曲げ成形され、パンチ153と中子型151とにより板状ワークW11の端部W13e、W14eどうしが突き合わせられて接触させられ閉断面状に成形される。なお、中子型151は、板状ワークW11が閉断面化された後に、閉断面状に形成された閉断面部材の長手方向から抜けるように構成されている。
板状ワークW11の端部W13e、W14eがパンチ153の上面部153bによって押圧され曲げ成形されることにより、パンチ153の水平部153dと中子型151の下面部151bとによりフロントサイドフレーム120の上面部122が成形され、パンチ153の第1の傾斜壁部153eと中子型151の第2の傾斜側面部151fとによりフロントサイドフレーム120の第2の傾斜側面部126が成形され、パンチ153の第2の傾斜壁部153fと中子型151の第1の傾斜側面部151eとによりフロントサイドフレーム120の第2の傾斜側面部125が成形される。
板状ワークW11の端部W13e、W14eどうしが突きあわせられ接触させられて閉断面状に成形された後には、突き合わせられ接触させられた板状ワークWの端部W13e、W14eどうしが、例えばレーザー溶接などの溶接によって接合され、フランジ部分を設けることなく閉断面状に形成された閉断面部材としてのフロントサイドフレーム120が製造される。このように、板状ワークW11の突きあわせられ接触させられた端部W13e、W14eどうしを溶接する溶接工程をさらに備えていることにより、閉断面部材の接合強度を高めることができ、より強固な閉断面部材を製造することができる。
本実施形態では、本曲げ成形工程において、押し込み成形工程において成形された板状ワークW11内に中子型151を保持した状態で、板状ワークW11の端部W13e、W14eを押し込み成形型150のパンチ153により押圧して曲げ成形し、押し込み成形型150のパンチ153と押し込み成形型150の中子型151により板状ワークW11の端部W13e、W14eどうしを突きあわせて接触させることにより閉断面状に成形しているが、板状ワークWの端部W13e、W14eを押し込み成形型150のパンチ153により押圧して曲げ成形し、板状ワークW11の端部W13e、W14eどうしを重ね合わせて接触させ、閉断面状に成形するようにしてもよい。かかる場合には、溶接工程において、好ましくは、重ね合わせられ接触させられた板状ワークW11の端部W13e、W14eどうしが重ね溶接や隅肉溶接によって溶接される。
また、本実施形態では、板状ワークW11が押し込み成形型150のダイ155に設けられた凹部155内に押し込まれる際に板状ワークW11の短手方向における両端部W13e、W14eが中子型155の押し込み方向と逆方向に延びるとともに凹部155bの内方側に向かって延びるように成形されているが、押し込み成形時に、板状ワークW11の短手方向における一方の端部のみを押し込み成形型の中子型の押し込み方向と逆方向に延びるとともに凹部の内方側に向かって延びるように成形するようにしてもよい。かかる場合には、本曲げ成形工程において、板状ワークの一方の端部のみが押圧され、板状ワークの端部どうしが接触させられて閉断面状に成形される。
さらに、本実施形態では、予備曲げ成形工程として、ドロー成形工程によって、板状ワークW11が押し込み成形型150のダイ155に設けられた凹部155b内に押し込まれた際に板状ワークW11の端部W13e、W14eが押し込み成形型150の中子型151の押し込み方向と逆方向に延びるとともに凹部155bの内方側に向かって延びるように曲げ成形されているが、例えば張出し成形などのその他のプレス成形を用い、板状ワークをプレス成形型のブランクホルダとダイとにより挟持した状態で、プレス成形型のパンチをプレス成形型のダイの成形空間内に移動させることにより、板状ワークW11をプレス成形するようにしてもよい。かかる場合においても、板状ワークが押し込み成形型の中子型により押し込み成形型のダイに設けられた凹部内に押し込まれた際に板状ワークの少なくとも一方の端部が押し込み成形型の中子型の押し込み方向と逆方向に延びるとともに前記凹部の内方側に向かって延びるように曲げ成形される。
このように、本実施形態に係る金属製閉断面部材としてのフロントサイドフレーム120の製造方法は、板状ワークW11を第1の成形型140のブランクホルダ141とダイ145とにより挟持した状態で、第1の成形型140のパンチ142をダイ145の成形空間145c内に移動させることにより、板状ワークW11をダイ145に対するパンチ142の移動方向に突出させて凸状にプレス成形する第1のプレス成形工程と、第1のプレス成形工程の後に、プレス成形された板状ワークW11を第2の成形型150のダイ155と中子型151との間に、中子型151が板状ワークW11の凸状に突出する方向と反対側に位置するように配置した状態で、中子型151をダイ155に対して移動させ、板状ワークW11の凸状に成形された凸状頂面部W12を板状ワークW11の凸状に突出する方向にプレス成形することにより、第1のプレス成形工程において成形された板状ワークW11の凸状頂面部W12の両側の凸状側面部W13、W14をそれぞれ板状ワークW11の内方側へ変位させて閉断面化する第2のプレス成形工程と、を備えている。これにより、板状ワークにしわが発生することを防止し、比較的簡単な方法によって精度良く金属製閉断面部材を製造することができる。
また、第1のプレス成形工程は、板状ワークW11を予め曲げ成形する予備曲げ成形工程であり、第2のプレス成形工程は、曲げ成形された板状ワークW11を第2の成形型150の中子型151により第2の成形型150のダイ155に設けられた凹部155b内に押し込み、板状ワークW11の少なくとも一方側の端部W13e、W14eが中子型151の押し込み方向と逆方向に延びるととともに凹部155bの内方側に向かって延びるように板状ワークW11を成形する押し込み成形工程と、板状ワークW11内に中子型151を保持した状態で、板状ワークW11の端部W13e、W14eを第2の成形型150のパンチ153により押圧して曲げ成形し、パンチ153と中子型151により板状ワークW11の端部W13e、W14eどうしを接触させて閉断面状に成形する本曲げ成形工程と、を備え、予備曲げ成形工程では、板状ワークW11が押し込み成形型150のダイ155に設けられた凹部155b内に押し込まれた際に板状ワークW11の少なくとも一方の端部W13e、W14eが中子型151の押し込み方向と逆方向に延びるとともに凹部155bの内方側に向かって延びるように曲げ成形される。これにより、長手方向に断面形状が変化する閉断面部材の製造においても、押し込み成形型150の中子型151とダイ155とにより板状ワークW11を押し込み成形し、押し込み成形型150のパンチ153と中子型151とにより板状ワークW11の端部W13e、W14eを曲げ成形することにより、板状ワークW11から精度良く金属製閉断面部材を製造することができる。
更に、押し込み成形工程では、本曲げ成形工程において押し込み成形型150のパンチ153を移動させる駆動手段によって押し込み成形型150の中子型151が押し込み成形型150のダイ155に設けられた凹部155b内に移動されることにより、押し込み成形及び本曲げ成形において板状ワークを移動させる必要がなく、比較的簡単な方法によって押し込み成形を行うことができる。
また、押し込み成形工程では、パンチ153と中子型151との間にライナー部材152を介設した状態で中子型151が凹部155b内に移動され、本曲げ成形工程では、パンチ153と中子型151との間からライナー部材152が取り外され、板状ワークW11内に中子型151を保持した状態で、板状ワークW11の端部W13e、W14eが押し込み成形型150のパンチ153により曲げ成形されることにより、押し込み成形時にライナー部材によって板状ワークとパンチとの干渉を防止しつつ、前記効果を得ることが可能である。
本実施形態では、プレス成形された板状ワークW11を第2の成形型150のダイ155と中子型151との間に、中子型151が板状ワークW11の凸状に突出する方向と反対側に位置するように配置した状態で、中子型151をダイ155に対して移動させ、板状ワークW11の凸状に成形された凸状頂面部W12を板状ワークW11の凸状に突出する方向にプレス成形することにより、第1のプレス成形工程において成形された板状ワークW11の凸状頂面部W12の両側の凸状側面部W13、W14をそれぞれ板状ワークW11の内方側へ変位させて閉断面化しているが、ダイ155を中子型151に対して相対的に移動させ、第1のプレス成形工程において成形された板状ワークW11の凸状頂面部W12の両側の凸状側面部W13、W14をそれぞれ板状ワークW11の内方側へ変位させて閉断面化するようにしてもよい。
以上の説明から明らかなように、本実施形態では、金属製の板状ワークを第1の成形型のブランクホルダとダイとにより挟持した状態で、第1の成形型のパンチを前記ダイの成形空間内に移動させることにより、板状ワークを凸状にプレス成形し、プレス成形された板状ワークを第2の成形型のダイと中子型との間に配置した状態で、前記中子型を前記ダイに対して相対的に移動させ、前記板状ワークの凸状頂面部をプレス成形することにより、板状ワークの凸状頂面部の両側の凸状側面部をそれぞれ前記板状ワークの内方側へ変位させて閉断面化することで、板状ワークにしわが発生することを防止し、比較的簡単な方法によって精度良く金属製閉断面部材を製造することができる。
なお、本実施形態では、金属製の板状ワークを第1の成形型のブランクホルダとダイとにより挟持した状態で、第1の成形型のパンチをダイの成形空間内に移動させて板状ワーク材をプレス成形しているが、パンチを固定した状態で、板状ワークを挟持したブランクホルダとダイとをパンチに対して相対的に移動させてプレス成形するようにしてもよい。
以上のように、本発明は、例示された実施の形態に限定されるものではなく、本発明の要旨を逸脱しない範囲において、種々の改良及び設計上の変更が可能であることは言うまでもない。
本発明は、金属製の板状ワークから閉断面部材を製造する金属製閉断面部材の製造方法に関し、例えばフロントサイドフレームやリアサイドフレームなどの閉断面状に形成される車体部材の製造において有効に適用可能である。
本実施形態に係る金属製閉断面部材を備えた自動車の車体構造を模式的に示す側面図である。 本実施形態に係る金属製閉断面部材としてのフロントサイドフレームを示す斜視図である。 図2におけるY3a−Y3a線及びY3b−Y3b線に沿ったフロントサイドフレームの断面図である。 板状ワークをドロー成形するためのドロー成形装置のドロー成形型を示す斜視図である。 図4におけるY5−Y5線に沿ったドロー成形型の断面図である。 ドロー成形工程を説明するための説明図である。 ドロー成形された板状ワークを示す斜視図である。 ドロー成形された板状ワークを図7におけるY8−Y8線に沿って示す断面図である。 ドロー成形された板状ワークの凸状側面部の端部を曲げ成形するための曲げ成形装置の曲げ成形型を示す断面図である。 曲げ成形工程を説明するための説明図である。 曲げ成形工程を説明するための説明図である。 プレス成形工程を説明するための説明図である。 図12の(a)のA部を拡大して示す要部拡大図である。 図3(b)に示す断面に対応する断面についてプレス成形工程を説明するための説明図である。 決め押し成形工程を説明するための説明図である。 本実施形態に係る金属製閉断面部材としてのフロントサイドフレームを示す斜視図である。 図16におけるY17a−Y17a線及びY17b−Y17b線に沿ったフロントサイドフレームの断面図である。 板状ワークをドロー成形するためのドロー成形装置のドロー成形型を示す斜視図である。 図18におけるY19−Y19線に沿ったドロー成形型の断面図である。 ドロー成形工程を説明するための説明図である。 ドロー成形された板状ワークを示す斜視図である。 ドロー成形された板状ワークを図21におけるY22−Y22線に沿って示す断面図である。 板状ワークを押し込み成形するための押し込み成形装置の押し込み成形型を示す断面図である。 前記押し込み成形型を示す斜視図である。 押し込み成形工程を説明するための説明図である。 本曲げ成形工程を説明するための説明図である。
符号の説明
20、120 フロントサイドフレーム
40、140 ドロー成形型
41、141 ドロー成形型のブランクホルダ
42、142 ドロー成形型のパンチ
45、145 ドロー成形型のダイ
45c、145c ドロー成形型のダイの成形空間
60 プレス成形型
61 プレス成形型のダイ
62 プレス成形型のダイに設けられる凹部
62b、62c プレス成形型のダイに設けられる凹部の側壁部
65 プレス成形型の中子型
65a 中子型の上面部
65b 中子型の下面部
150 押し込み成形型
151 押し込み成形型の中子型
152 ライナー部材
153 押し込み成形型のパンチ
155 押し込み成形型のダイ
155b 押し込み成形型のダイに設けられた凹部
W1、W11 板状ワーク
W2、W12 凸状頂面部
W2a 凸状頂面部に設けられる凸部
W2b 右凸状頂面部
W2c 左凸状頂面部
W2d プレス成形面
W3、W4、W13、W14 凸状側面部
W3e、W4e、W13e、W14e 凸状側面部の凸状頂面部側と反対側の端部

Claims (12)

  1. 金属製の板状ワークから閉断面状に形成された閉断面部材を製造する金属製閉断面部材の製造方法であって、
    第1の成形型を用い、金属製の板状ワークを第1の成形型のブランクホルダとダイとにより挟持した状態で、第1の成形型のパンチを前記ダイの成形空間内に相対的に移動させることにより、前記板状ワークを前記ダイに対する前記パンチの移動方向に突出させて凸状にプレス成形する第1のプレス成形工程と、
    前記第1のプレス成形工程の後に、第2の成形型を用い、プレス成形された前記板状ワークを第2の成形型のダイと中子型との間に、前記中子型が前記板状ワークの凸状に突出する方向と反対側に位置するように配置した状態で、前記中子型を前記ダイに対して相対的に移動させ、前記板状ワークの凸状に成形された凸状頂面部を相対的に前記板状ワークの凸状に突出する方向にプレス成形することにより、前記第1のプレス成形工程において成形された前記板状ワークの凸状頂面部の両側の凸状側面部をそれぞれ前記板状ワークの内方側へ変位させて閉断面化する第2のプレス成形工程と、
    を備えていることを特徴とする金属製閉断面部材の製造方法。
  2. 前記第1のプレス成形工程と前記第2のプレス成形工程との間に、プレス成形された前記板状ワークの少なくとも一方の前記凸状側面部の前記凸状頂面部側と反対側の端部を前記板状ワークの内方側へ折り曲げ成形する折り曲げ成形工程をさらに備えていることを特徴とする請求項1に記載の金属製閉断面部材の製造方法。
  3. 前記第1のプレス成形工程において、第1の成形型のパンチを前記ダイの成形空間内に相対的に移動させることにより、前記板状ワークを前記ダイに対する前記パンチの移動方向に突出させて凸状にプレス成形するとともに、前記板状ワークの凸状に成形される凸状頂面部に、前記板状ワークの凸状に突出する方向と逆方向に突出する凸部を成形し、
    前記第2のプレス成形工程において、プレス成形された前記板状ワークを第2の成形型のダイに、該ダイに設けられた凹部又は平面部上にプレス成形された前記板状ワークの前記凸部が配置されるように保持した状態で、プレス成形された前記板状ワークの前記凸部を第2の成形型の中子型により前記板状ワークの凸状に突出する方向に前記凹部内又は平面部でプレス成形することにより、前記板状ワークの前記凸部を圧潰してプレス成形面を成形するとともに、前記第1のプレス成形工程において成形された前記板状ワークの凸状頂面部の両側の凸状側面部をそれぞれ前記板状ワークの内方側へ変位させて閉断面化する、ことを特徴とする請求項1又は2に記載の金属製閉断面部材の製造方法。
  4. 前記板状ワークの凸状頂面部に設けられる凸部が、断面円弧状又は断面台形状に成形されることを特徴とする請求項3に記載の金属製閉断面部材の製造方法。
  5. 前記第2のプレス成形工程の後に、前記板状ワークの閉断面化された前記凸状側面部の端部どうしを、前記中子型の前記凸状頂面部をプレスする面部と反対側の面部に押し当てて決め押し成形する決め押し成形工程をさらに備えていることを特徴とする請求項1〜4の何れか一に記載の金属製閉断面部材の製造方法。
  6. 前記第2のプレス成形工程の後に、前記板状ワークの閉断面化された前記凸状側面部の端部どうしを溶接する溶接工程をさらに備えていることを特徴とする請求項1〜5の何れか一に記載の金属製閉断面部材の製造方法。
  7. 前記第2のプレス成形工程では、前記閉断面部材の断面幅よりも狭い断面幅を有する前記中子型を用いてプレス成形されることを特徴とする請求項1〜6の何れか一に記載の金属製閉断面部材の製造方法。
  8. 前記閉断面部材は、前記プレス成形面の両側の側面部の少なくとも何れか一方の側面部の断面長さが前記閉断面部材の長手方向において変化する閉断面部材であり、前記第1のプレス成形工程において、前記凸部が前記板状ワークの長手方向に沿って前記板状ワークの凸状頂面部を分割するように成形されるとともに、前記凸部によって前記凸状頂面部の分割される部分の断面長さが長手方向において変化するように成形され、前記第2のプレス成形工程において、前記第2の成形型のダイに設けられる凹部の側壁部の断面長さが前記凸状頂面部の分割される部分の断面長さの最も短い部分と略同一に設定された前記ダイを用いてプレス成形されることを特徴とする請求項3〜7の何れか一に記載の金属製閉断面部材の製造方法。
  9. 前記第1のプレス成形工程は、前記板状ワークを予め曲げ成形する予備曲げ成形工程であり、
    前記第2のプレス成形工程は、前記予備曲げ成形工程において曲げ成形された前記板状ワークを第2の成形型の中子型により第2の成形型のダイに設けられた凹部内に押し込み、前記板状ワークの少なくとも一方側の端部が前記中子型の押し込み方向と逆方向に延びるととともに前記凹部の内方側に向かって延びるように前記板状ワークを成形する押し込み成形工程と、前記押し込み成形工程において成形された前記板状ワーク内に前記中子型を保持した状態で、前記板状ワークの前記端部を第2の成形型のパンチにより押圧して曲げ成形し、前記パンチと前記中子型により前記板状ワークの端部どうしを接触させて閉断面状に成形する本曲げ成形工程と、を備え、
    前記予備曲げ成形工程では、前記板状ワークが第2の成形型のダイに設けられた凹部内に押し込まれた際に前記板状ワークの少なくとも一方の端部が前記中子型の押し込み方向と逆方向に延びるとともに前記凹部の内方側に向かって延びるように曲げ成形される、
    ことを特徴とする請求項1に記載の金属製閉断面部材の製造方法。
  10. 前記押し込み成形工程では、前記本曲げ成形工程において第2の成形型のパンチを移動させる駆動手段によって第2の成形型の中子型が第2の成形型のダイに設けられた凹部内に移動されることを特徴とする請求項9に記載の金属製閉断面部材の製造方法。
  11. 前記押し込み成形工程では、第2の成形型のパンチと第2の成形型の中子型との間にライナー部材を介設した状態で前記中子型が前記凹部内に移動され、
    前記本曲げ成形工程では、第2の成形型のパンチと第2の成形型の中子型との間から前記ライナー部材が取り外され、前記押し込み成形工程において成形された前記板状ワーク内に前記中子型を保持した状態で、前記板状ワークの前記端部が第2の成形型のパンチにより曲げ成形されることを特徴とする請求項10に記載の金属製閉断面部材の製造方法。
  12. 前記本曲げ成形工程の後に、前記板状ワークの接触させられた端部どうしを溶接する溶接工程をさらに備えていることを特徴とする請求項9〜11の何れか一に記載の金属製閉断面部材の製造方法。
JP2008253630A 2008-09-01 2008-09-30 金属製閉断面部材の製造方法 Expired - Fee Related JP4640481B2 (ja)

Priority Applications (3)

Application Number Priority Date Filing Date Title
JP2008253630A JP4640481B2 (ja) 2008-09-01 2008-09-30 金属製閉断面部材の製造方法
EP09167697.3A EP2163324B1 (en) 2008-09-01 2009-08-12 Method of producing metal closed-section member
US12/548,044 US8365411B2 (en) 2008-09-01 2009-08-26 Method of producing metal closed-section member

Applications Claiming Priority (3)

Application Number Priority Date Filing Date Title
JP2008223155 2008-09-01
JP2008223152 2008-09-01
JP2008253630A JP4640481B2 (ja) 2008-09-01 2008-09-30 金属製閉断面部材の製造方法

Related Child Applications (1)

Application Number Title Priority Date Filing Date
JP2010201602A Division JP2011005552A (ja) 2008-09-01 2010-09-09 金属製閉断面部材の製造方法

Publications (2)

Publication Number Publication Date
JP2010075993A true JP2010075993A (ja) 2010-04-08
JP4640481B2 JP4640481B2 (ja) 2011-03-02

Family

ID=41549886

Family Applications (1)

Application Number Title Priority Date Filing Date
JP2008253630A Expired - Fee Related JP4640481B2 (ja) 2008-09-01 2008-09-30 金属製閉断面部材の製造方法

Country Status (3)

Country Link
US (1) US8365411B2 (ja)
EP (1) EP2163324B1 (ja)
JP (1) JP4640481B2 (ja)

Cited By (3)

* Cited by examiner, † Cited by third party
Publication number Priority date Publication date Assignee Title
JP2011230527A (ja) * 2010-04-23 2011-11-17 Honda Motor Co Ltd 多角形断面フレーム
TWI480110B (zh) * 2012-04-13 2015-04-11 Jfe Steel Corp 閉斷面構造部品的製造方法及裝置
WO2018168957A1 (ja) * 2017-03-15 2018-09-20 新日鐵住金株式会社 焼き入れ部材の製造方法及び焼き入れ部材

Families Citing this family (11)

* Cited by examiner, † Cited by third party
Publication number Priority date Publication date Assignee Title
JP5390152B2 (ja) * 2008-09-25 2014-01-15 Jfeスチール株式会社 閉構造部材の製造方法、プレス成形装置及び閉構造部材
KR101579028B1 (ko) * 2012-04-13 2015-12-18 제이에프이 스틸 가부시키가이샤 폐단면 구조 부품의 제조 방법 및 장치
JP5966617B2 (ja) * 2012-05-28 2016-08-10 Jfeスチール株式会社 閉断面構造体の成形方法及び閉断面構造体の成形装置
JP5454619B2 (ja) 2012-05-28 2014-03-26 Jfeスチール株式会社 閉断面構造体の成形方法及び閉断面構造体の成形装置
CN106457940B (zh) * 2014-03-27 2019-05-14 株式会社万 车辆用臂构件的制造方法及车辆用臂构件
RU2654403C2 (ru) * 2014-04-09 2018-05-17 Ниппон Стил Энд Сумитомо Метал Корпорейшн Образованное штамповкой изделие, автомобильный конструктивный элемент, включающий в себя изделие, способ изготовления и устройство для изготовления образованного штамповкой изделия
CN109844441B (zh) * 2016-10-14 2021-06-08 达纳加拿大公司 具有带有保持夹的旁通密封件的换热器
EP4094859A4 (en) * 2020-01-20 2023-06-28 Sumitomo Heavy Industries, Ltd. Flanged member
FR3112091B1 (fr) * 2020-07-02 2022-09-30 Latecoere Procédé de fabrication d'une poutre à section fermée
CN114453518B (zh) * 2021-12-27 2023-06-30 鹤壁天淇汽车模具有限公司 一种口字型封闭汽车覆盖件模具制造方法
EP4621129A1 (de) * 2024-03-18 2025-09-24 Meiser Straßenausstattung GmbH Kastenprofil für ein fahrzeugrückhaltesystem und verfahren zur herstellung des kastenprofils

Citations (9)

* Cited by examiner, † Cited by third party
Publication number Priority date Publication date Assignee Title
JPS4923251Y1 (ja) * 1970-08-07 1974-06-22
JPS5114165A (en) * 1974-07-25 1976-02-04 Yutaka Kozai Kogyo Kk Shikakukeikokanno seizohoho
JPS63278614A (ja) * 1987-05-08 1988-11-16 Kanto Auto Works Ltd 不定形中空断面部材のプレス加工方法
JPH01100614U (ja) * 1987-12-22 1989-07-06
JPH0890095A (ja) * 1994-09-26 1996-04-09 Honda Motor Co Ltd プレス成形方法および金型
JPH09276934A (ja) * 1996-04-18 1997-10-28 Nichinan Kinzoku Kogyo Kk 金属板のプレス加工方法およびそれに用いる金型
JPH09308923A (ja) * 1996-05-17 1997-12-02 Press Kogyo Kk 板部材の拡幅成形法
JPH1058040A (ja) * 1996-08-26 1998-03-03 Toyota Motor Corp 中空断面部材のプレス成形方法
JP2003311329A (ja) * 2002-04-25 2003-11-05 Toyota Motor Corp 巻き断面プレス用金型、巻き断面プレス方法及び巻き断面プレス成形品

Family Cites Families (19)

* Cited by examiner, † Cited by third party
Publication number Priority date Publication date Assignee Title
US1344105A (en) * 1915-06-12 1920-06-22 Durand Steel Locker Company Art of forming tubes
US1330782A (en) * 1918-09-05 1920-02-17 Brown William Milton Method of and apparatus for making ferrules
US1879077A (en) * 1929-03-07 1932-09-27 Carlsen Carl Method of and means for forming pipe blanks
US1879078A (en) * 1930-04-04 1932-09-27 Carlsen Carl Method of and means for forming tubular articles
US2115441A (en) * 1937-02-01 1938-04-26 Trailer Company Of America Method of forming tubular structures from sheet metal
US2889866A (en) * 1954-06-11 1959-06-09 W B W Tool Company Apparatus for forming tubular sleeves
US3638465A (en) * 1969-03-10 1972-02-01 Flangeklamp Corp Method of forming a structural element
US4395900A (en) * 1979-03-02 1983-08-02 Saurenman Phillip E Stiff metal ring and process for making it
US5058269A (en) * 1990-08-30 1991-10-22 May Fabricating Company, Inc. Method of forming rectangular metal tubes
JPH07299520A (ja) 1994-05-06 1995-11-14 Toyota Tekko Kk 円筒部品の製造方法および装置
JP3838787B2 (ja) 1998-08-07 2006-10-25 株式会社小松製作所 三角形チューブの製造方法及びその成形金型
JP2000079415A (ja) 1998-09-02 2000-03-21 Akito Asai プレス加工装置およびプレス加工方法
JP3613702B2 (ja) * 1999-09-21 2005-01-26 トヨタ自動車株式会社 閉断面を有する構造部材、その製造装置およびその製造方法
CN100469482C (zh) * 2000-02-04 2009-03-18 株式会社理光 管、制管方法和设备
WO2002064284A1 (fr) 2001-02-14 2002-08-22 Futaba Industrial Co.,Ltd. Tube flexible de pare-chocs mince a profil ferme en forme globale de b realise par un procede de formage a la presse a emboutissage profond et procede de fabrication d'un tel tube
US6976531B2 (en) * 2003-10-22 2005-12-20 Dana Canada Corporation Heat exchanger, method of forming a sleeve which may be used in the heat exchanger, and a sleeve formed by the method
WO2006056046A2 (en) * 2004-11-23 2006-06-01 Magna International Inc. Method for forming a bumper beam for a motor vehicle
JP4582630B2 (ja) 2004-12-10 2010-11-17 日新製鋼株式会社 衝撃吸収特性に優れた構造用部材のプレス成形方法
US7325435B2 (en) * 2005-11-15 2008-02-05 Noble International, Ltd. Method of manufacturing, apparatus and resulting irregular shaped cross section tubes

Patent Citations (9)

* Cited by examiner, † Cited by third party
Publication number Priority date Publication date Assignee Title
JPS4923251Y1 (ja) * 1970-08-07 1974-06-22
JPS5114165A (en) * 1974-07-25 1976-02-04 Yutaka Kozai Kogyo Kk Shikakukeikokanno seizohoho
JPS63278614A (ja) * 1987-05-08 1988-11-16 Kanto Auto Works Ltd 不定形中空断面部材のプレス加工方法
JPH01100614U (ja) * 1987-12-22 1989-07-06
JPH0890095A (ja) * 1994-09-26 1996-04-09 Honda Motor Co Ltd プレス成形方法および金型
JPH09276934A (ja) * 1996-04-18 1997-10-28 Nichinan Kinzoku Kogyo Kk 金属板のプレス加工方法およびそれに用いる金型
JPH09308923A (ja) * 1996-05-17 1997-12-02 Press Kogyo Kk 板部材の拡幅成形法
JPH1058040A (ja) * 1996-08-26 1998-03-03 Toyota Motor Corp 中空断面部材のプレス成形方法
JP2003311329A (ja) * 2002-04-25 2003-11-05 Toyota Motor Corp 巻き断面プレス用金型、巻き断面プレス方法及び巻き断面プレス成形品

Cited By (7)

* Cited by examiner, † Cited by third party
Publication number Priority date Publication date Assignee Title
JP2011230527A (ja) * 2010-04-23 2011-11-17 Honda Motor Co Ltd 多角形断面フレーム
TWI480110B (zh) * 2012-04-13 2015-04-11 Jfe Steel Corp 閉斷面構造部品的製造方法及裝置
WO2018168957A1 (ja) * 2017-03-15 2018-09-20 新日鐵住金株式会社 焼き入れ部材の製造方法及び焼き入れ部材
JP6447788B1 (ja) * 2017-03-15 2019-01-09 新日鐵住金株式会社 焼き入れ部材の製造方法及び焼き入れ部材
CN110114161A (zh) * 2017-03-15 2019-08-09 日本制铁株式会社 淬火构件的制造方法及淬火构件
US10751778B2 (en) 2017-03-15 2020-08-25 Nippon Steel Corporation Method of manufacturing a quenched member and quenched member
CN110114161B (zh) * 2017-03-15 2021-03-23 日本制铁株式会社 淬火构件的制造方法及淬火构件

Also Published As

Publication number Publication date
EP2163324B1 (en) 2018-04-11
JP4640481B2 (ja) 2011-03-02
EP2163324A1 (en) 2010-03-17
US20100218375A1 (en) 2010-09-02
US8365411B2 (en) 2013-02-05

Similar Documents

Publication Publication Date Title
JP4640481B2 (ja) 金属製閉断面部材の製造方法
CN105188980B (zh) 冲压成形部件的制造方法以及冲压成形装置
CN102164692B (zh) 封闭结构构件的制造方法、冲压成形装置和封闭结构构件
CN102164691B (zh) 封闭结构构件的制造方法、冲压成形装置和封闭结构构件
CN107683185B (zh) 冲压成型品、冲压成型方法以及冲压成型装置
JP5835768B2 (ja) フレーム部品の製造方法
JP2012091179A (ja) 亜鉛めっき鋼板製部品のレーザ重ね溶接方法
US20190185070A1 (en) Automobile body press-molded component and method for producing same
US20130091919A1 (en) Method for Producing Hollow Profiles Having a Longitudinal Flange
EP3031544A1 (en) Press-molded product, method for producing press-molded product, and device for producing press-molded product
JP2010201459A (ja) 金属製閉断面部材の製造方法
JP2010234412A (ja) 金属製閉断面部材の製造方法
JP2011016154A (ja) 金属製閉断面部材の製造方法
WO2011033949A1 (ja) フロントピラーの構造、フロントピラー構成部材の製造方法及びフロントピラーの製造方法
JP2007029966A (ja) 部分オーバーラップ成形法
JP5795143B2 (ja) 閉断面構造の成形方法、及び閉断面構造成形用の成形装置
JP2010162596A (ja) 金属製閉断面部材の製造方法
JP2011005552A (ja) 金属製閉断面部材の製造方法
JP2011016161A (ja) 金属製閉断面部材の製造方法
JP2010149170A (ja) 金属製閉断面部材の製造方法
JP6665612B2 (ja) プレス成形品の製造方法及びプレス装置
JP2010188352A (ja) 金属製閉断面部材の製造方法
JP2016203256A (ja) プレス成形品の製造方法、プレス成形品及びプレス装置
JP2022129059A (ja) 車両用構造部材
JP2010284668A (ja) 金属製閉断面部材の製造方法及び製造装置

Legal Events

Date Code Title Description
A621 Written request for application examination

Free format text: JAPANESE INTERMEDIATE CODE: A621

Effective date: 20100329

A977 Report on retrieval

Free format text: JAPANESE INTERMEDIATE CODE: A971007

Effective date: 20100702

A131 Notification of reasons for refusal

Free format text: JAPANESE INTERMEDIATE CODE: A131

Effective date: 20100713

A521 Request for written amendment filed

Free format text: JAPANESE INTERMEDIATE CODE: A523

Effective date: 20100909

TRDD Decision of grant or rejection written
A01 Written decision to grant a patent or to grant a registration (utility model)

Free format text: JAPANESE INTERMEDIATE CODE: A01

Effective date: 20101102

A01 Written decision to grant a patent or to grant a registration (utility model)

Free format text: JAPANESE INTERMEDIATE CODE: A01

A61 First payment of annual fees (during grant procedure)

Free format text: JAPANESE INTERMEDIATE CODE: A61

Effective date: 20101115

R150 Certificate of patent or registration of utility model

Ref document number: 4640481

Country of ref document: JP

Free format text: JAPANESE INTERMEDIATE CODE: R150

Free format text: JAPANESE INTERMEDIATE CODE: R150

FPAY Renewal fee payment (event date is renewal date of database)

Free format text: PAYMENT UNTIL: 20131210

Year of fee payment: 3

LAPS Cancellation because of no payment of annual fees