JP2010075244A - 遊技盤ユニット - Google Patents

遊技盤ユニット Download PDF

Info

Publication number
JP2010075244A
JP2010075244A JP2008244052A JP2008244052A JP2010075244A JP 2010075244 A JP2010075244 A JP 2010075244A JP 2008244052 A JP2008244052 A JP 2008244052A JP 2008244052 A JP2008244052 A JP 2008244052A JP 2010075244 A JP2010075244 A JP 2010075244A
Authority
JP
Japan
Prior art keywords
ball
opening
game
small
sphere
Prior art date
Legal status (The legal status is an assumption and is not a legal conclusion. Google has not performed a legal analysis and makes no representation as to the accuracy of the status listed.)
Granted
Application number
JP2008244052A
Other languages
English (en)
Other versions
JP5327847B2 (ja
Inventor
Tomoyoshi Nose
朝義 野瀬
Current Assignee (The listed assignees may be inaccurate. Google has not performed a legal analysis and makes no representation or warranty as to the accuracy of the list.)
Sammy Corp
Original Assignee
Sammy Corp
Priority date (The priority date is an assumption and is not a legal conclusion. Google has not performed a legal analysis and makes no representation as to the accuracy of the date listed.)
Filing date
Publication date
Application filed by Sammy Corp filed Critical Sammy Corp
Priority to JP2008244052A priority Critical patent/JP5327847B2/ja
Publication of JP2010075244A publication Critical patent/JP2010075244A/ja
Application granted granted Critical
Publication of JP5327847B2 publication Critical patent/JP5327847B2/ja
Expired - Fee Related legal-status Critical Current
Anticipated expiration legal-status Critical

Links

Images

Landscapes

  • Pinball Game Machines (AREA)

Abstract

【課題】遊技機枠によらず遊技盤ユニットにおいて、正規の遊技球より小径の小球を用いる不正行為を抑制することができる遊技盤ユニットを提供すること。
【解決手段】この遊技盤ユニットは、遊技領域が形成される遊技盤5と、遊技領域16を流下する遊技球23が流下可能な流入口31aと、流入口31aに流入した遊技球23が導かれる球通路31dと、球通路31dに設けられた開口部31eと、を備え、開口部31eは、遊技球23の直径より小さい幅の開口寸法であり、遊技球23を通過させずに開口寸法以下の小球41を通過させるように形成されている。
【選択図】図4

Description

本発明は、遊技盤ユニットに係り、特に正規の遊技球より小径の小球を使用した不正行為を防止する機能を有する遊技盤ユニットに関する。
パチンコ機においては、弾球された遊技球が遊技領域(遊技盤面上又はその近傍に形成された領域であって、遊技球の流下による遊技や演出を実現するための領域。)を流下して、その流下の過程で遊技球が遊技領域内の遊技釘(ゲージともいう。)や風車に衝突しつつ転回して流下方向が変化する。その結果、遊技領域上に配置された各種入賞口に遊技球が入賞すれば所定の景品球払出しがされ、一方いずれの入賞口にも入賞せずアウト口に遊技球が流入すれば景品球払出しはされない。遊技者は、弾球における自らの技量を発揮して、又は遊技球の流下における偶然性を利用しつつ遊技球の入賞及び景品球払出しを期待し、遊技を楽しむのである。
パチンコ機に使用される遊技球は、所定の規格に基づいて定められた寸法とされている。また、パチンコ機においては、遊技球の規格に基づいて各種入賞口等が設計されており、正規の遊技球を用いて遊技を行うことにより、遊技球の偶発性を利用した遊技が遊技機設計者の意図通りに実現されるように構成されている。そのため、例えば遊技球と直径の異なる球体によって遊技が行われると、入賞口に入球し易くなったり又は入球し難くなったりして、遊技者及び設計者の期待通りの遊技が実現されず、公平な遊技が実現されないおそれがある。
このような問題を解決するために、特許文献1には、遊技球より小径の小球を排除する分球装置を有するパチンコ機が記載されている。この分球装置は、遊技球を球発射装置に導くための球通路に設けられている。正規の遊技球より小径の小球を落下させる開口部が球通路に形成されており、球通路を通過する過程で小球を落下させて、正規の遊技球から小球を分別する装置である。
特開平1−34476号公報
特許文献1の分球装置は、遊技球を発射装置に導くための球通路に設けられており、この球通路はパチンコ機の遊技機枠に設けられている。したがって、分球装置を有する遊技機枠において遊技が実現されることにより、不正行為につながる小球を分球装置によって選別することができる。一般的に、パチンコ機の機種の入替えをする際は、遊技機枠を含めたパチンコ機全体の交換ではなく、遊技盤ユニットのみの交換が行われることが多い。しかしながら、もともと遊技機枠に分球装置が設けられていない遊技機においては、遊技盤ユニットを交換した場合においても小球による不正行為を防止することができない。このような場合において、小球による不正行為を防止するためには、遊技機枠ごと交換する必要があり、交換コストの上昇を招いてしまうという問題があった。
本発明は、上記の事情に鑑みて為されたものであり、遊技機枠によらず遊技盤ユニットにおいて、正規の遊技球より小径の小球を用いる不正行為を抑制することができる遊技盤ユニットを提供することを例示的課題とする。
上記の課題を解決するために、本発明の例示的側面としての遊技盤ユニットは、遊技領域が形成される遊技盤と、遊技領域を流下する遊技球が流下可能な流入口と、流入口に流入した遊技球が導かれる球通路と、球通路に設けられた開口部と、を備える遊技盤ユニットであって、開口部は、遊技球の直径より小さい幅の開口寸法であり、遊技球を通過させずに開口寸法以下の小球を通過させるように形成されている。
遊技盤ユニットは遊技領域を流下する遊技球が流入可能な流入口を有しており、この流入口に流入した遊技球は球通路に導かれる。球通路には、遊技球の直径より小さい幅の開口寸法である開口部が形成されている。開口部は、遊技球を通過させずに開口寸法以下の直径の小球を通過させるように形成されている。遊技球は、開口部を通過せずに球通路内に留まる。しかし、遊技球より小径であり且つ開口寸法以下の直径の小球は、開口部を通過して球通路外に導かれる。したがって、遊技球より小径の小球を正規の遊技球から選別して分離することができる。
この遊技盤ユニットを用いて遊技を行うことにより、小球を選別して分離することができ、小球を利用した不正行為を防止することが可能となる。この遊技盤ユニットを遊技機に適用することにより、遊技盤ユニットの交換という簡単な交換作業だけで、いままで不正防止機能を持たなかった遊技機を、不正防止機能を有する遊技機に変身させることができる。また、不正防止機能の付与についての交換コストを低減させることができる。
流入口は、遊技領域を流下する遊技球が入球可能に構成されていれば良く、常に流入口が開放され遊技球が流入可能に構成されていてもよいし、遊技球の流入が容易な状態と遊技球の流入が困難な状態とを繰り返し実現する開閉部材が設けられ、遊技球が流入可能な状態と流入不可能な状態とを繰り返すように構成されていてもよい。
流入口は、遊技領域又はその近傍に配置され、遊技領域を流下する遊技球が流入可能な部材であり、具体的には、例えば遊技媒体の流入が特別遊技の抽選の契機となるとともに、一定数の遊技媒体の払出しの契機となる始動入賞口、始動入賞口への流入による特別遊技の抽選結果が大当たりとなった際に大当たり遊技を実行する大入賞口、遊技媒体の流入が一定数の遊技媒体の払出しの契機となる一般入賞口、遊技領域を流下していずれの入賞口等にも流入しなかった球が流入するアウト口を例示することができる。
始動入賞口等の入賞口によって小球の分離機能を実現することにより、使用される小球の全てを選別するのでなく、入賞(つまり遊技者の利益)に直接寄与する不正行為のみを選択的に防止することができる。また、アウト口によって小球の分離機能を実現することにより、使用される全ての小球を選別することが可能となる。
球通路は、流入口に流入した遊技球が導かれ、この遊技球が通過できる空間を有するものであればよい。また、遊技球が通過できる空間は、遊技球の通過方向において四方が囲まれていてもよいし、必ずしも四方が画定された空間でなくてもよく、遊技球が通過できる全ての空間を球通路としてみなすことが可能である。
開口部は、球通路に設けられ、遊技球の直径より小さい幅の開口寸法の開口であり、開口部を介して開口寸法以下の直径の小球を球通路外に導くように構成される。開口部は、正規の遊技球を通過させずに、遊技球より小径の小球を通過させるような開口を有していればよく、その形状は限定されない。例えば、球通路における球の通過方向に沿った間隙として、その間隙幅を遊技球の直径より小さい幅の開口寸法とする構成を例示できる。この構成によれば、開口部としての間隙が球通路における遊技球の通過方向に沿っているため、球通路内を通過させる過程で小球を球通路外に排出することができる。
また、遊技盤ユニットは、開口部を通過した小球が導かれる小球路と、小球路に導かれた小球を収容する回収部と、を更に備えることが望ましい。開口部を通過した小球を小球路に導き、この小球路に導かれた球を回収部に収容することにより、遊技球と選別して分離した小球を集めて回収して小球を遊技機の外部に排出すること等により、不正行為につながる小球の更なる使用を防ぐことが可能となる。なお、小球路は、小球が通過できる空間を有するものであればよく、その構成は限定されない。
更に遊技盤ユニットは、開口部を通過した小球を検出するセンサと、センサによる小球の検出に基づきエラー報知を行う報知手段と、を更に備えることが望ましい。開口部を通過した小球を検出するセンサを設けることにより、不正行為につながる小球が使用されたことを検出することができる。また、小球の検出によりエラー報知を行う報知手段を設けることにより、不正行為を周囲に報知することができるため、不正行為の早期発見により不正行為による被害の拡大を抑制することが可能となる。
なお、報知手段は、小球が検出されたことを周囲等に報知できるものであればよく、例えば、スピーカを用いた音声による報知や、画像表示装置を用いた映像による報知や、外部出力端子を介して遊技機外部へのエラー信号の出力による報知を例示できる。
また、小球の検出によるエラー報知と併せて、小球の検出に基づいて遊技を停止したり、景品球の払出しを停止したり不正行為者の利益につながる処理を停止する構成を設けてもよい。小球を使用した不正行為者の利益につながる処理を停止することにより、不正行為による被害の拡大を更に抑制することができる。
更に遊技盤ユニットは、開口部の開口寸法を変更する開口寸法変更手段を更に備えることが望ましい。開口寸法変更手段を設けることにより、開口寸法を変更して分離対象とする小球のサイズを変更することができる。
小球は遊技球より小径であり、小球を用いて遊技が行われると入賞口に入賞し易くなる等、正規の遊技球とは異なる挙動により不正に利益が得られるおそれがある。この小球を用いることによる効果は、入賞口の配置等遊技盤の構成によって異なるものである。例えば、遊技球の直径よりわずかに小径の小球を用いることによって不正に利益が得られる可能性が高い場合には、開口寸法を遊技球の直径よりわずかに小さい幅として、わずかに小径の小球も排除することにより小球による不正行為を確実に防止する。すなわち、開口寸法変更手段によって適宜開口寸法を変更して、遊技盤の構成等に応じて不正行為につながる小球を適宜排除することが可能となる。
なお、開口寸法変更手段は、開口寸法を変更できる構成であれば良く、種々の構成を採用することができる。例えば、開口部に対してスライド可能なスライド部として、スライド部を移動可能に構成する。スライド部の移動方向に沿って目盛りを設けておき、スライド部を適宜目盛りに合わせて移動させ、所定の場所においてネジ等の固定部材によって固定する。この構成により、開口部の一部を塞いだり開放したりして、開口寸法を変更させることができる。また、開口部の幅を大きく形成しておき、その開口部を複数の蓋部によって部分的に塞いだり開放することにより、開放する開口寸法を変更する構成を例示できる。
更に、開口寸法変更手段による開口寸法の変更は、開口寸法を大きくしたり小さくしたりすることだけでなく、開口部を塞ぐこと(開口寸法をゼロとすること)を含む。遊技盤の構成等によって小球による不正行為のおそれが少ない場合は、開口部を設けずに流入口から流入した遊技球が全て同じ通路を通過するように構成してもよい。不正行為につながる行為を必要に応じて防止することが可能となる。
また遊技盤ユニットは、流入口から流入した遊技球を受ける球受け部を更に備え、球受け部から球通路に遊技球が導かれることが望ましい。流入口から流入した遊技球を球受け部によって受け、球受け部によって受けた遊技球が球通路に導かれるように構成することにより、球通路に導かれる遊技球の勢いを低下させ、球通路内における遊技球の軌道を安定させることができる。
例えば、球通路における遊技球の挙動が不安定であると、球通路における遊技球の通過軌跡が一定でなく、球通路に形成された開口部に対して遊技球が安定して通過しない可能性がある。開口部に対して遊技球が安定した軌跡で通過しないと、開口寸法以下の直径の小球であっても開口部を通過せず、遊技球と分離されないおそれがある。しかし、球受け部を設けることにより、流入口に流入した遊技球が直接球通路に導かれず、一旦球受け部によって受けた後に導かれるため、球通路を通過する遊技球の軌道を安定させ、小球の分離精度を向上させることができる。
本発明の更なる目的又はその他の特徴は、以下添付図面を参照して説明される好ましい実施の形態によって明らかにされるであろう。
本発明に係る遊技盤ユニットを用いて遊技を行うことにより、遊技領域を流下する遊技球に紛れて遊技球より小径の小球が混入した際に、小球を遊技球と分離して小球を用いた不正行為を抑制することが可能となる。また、不正対策が十分でない遊技機でもこの遊技盤ユニットに交換するだけで不正対策が万全になり、遊技者に対して公平な遊技を提供し、ホールに対して不正行為による被害を抑制することが可能となる。遊技盤ユニットを交換することのみで不正対策を行うことができるため、遊技機枠を含めた遊技機全体を交換する場合に比べて交換コストを低減することができる。
以下、本発明の実施の形態について図面を用いて説明する。図1は、本発明の実施の形態に係る遊技機としてのパチンコ機2の正面図である。このパチンコ機2は、遊技機枠3、遊技盤ユニット5、前面ガラス(前面透明板)10、発射ユニット(不図示)、貯留皿14を有している。発射ユニットは、1個ずつ遊技球23を遊技盤ユニット5に構成される遊技領域16に向けて発射可能である。遊技球の直径は11(制度誤差は±0.01とする)mmであり、それより小さい球を小球とする。また、説明の便宜上、遊技球と小球を総称して球体とする。本実施の形態は、小球と遊技球とが混入した球体による遊技がなされた場合において小球を分離するものである。
パチンコ機は、アレンジボール機、雀球機等の組合せ式パチンコ機、いわゆるデジパチタイプ(1種タイプ)やハネモノタイプ(2種タイプ)のパチンコ機等のあらゆるパチンコ機が概念できるが、本実施の形態においては、デジパチ遊技(1種遊技、図柄変動遊技ともいう。)とハネモノ遊技(2種遊技、役物遊技ともいう。)の両方の遊技を実現するいわゆる1種2種タイプのパチンコ機について例示説明する。なお、図柄変動遊技及び役物遊技については後述する。
パチンコ機2の遊技機枠3は、後述する遊技盤ユニット5を保持するためのもので、このパチンコ機2の周囲及び前方又はそれに加えて後方を囲むように構成される。遊技機枠3の内部には、遊技盤ユニット5の他にも各種電子基板や遊技媒体用の経路等各種機構部品が配置され、遊技機枠3によって周囲側面及び前面又はそれに加えて後方からのパチンコ機2内部への不正アクセスが防止されるようになっている。
例えば、パチンコ機2の周囲を囲む筐体枠4、その内側にヒンジ部(揺動支持部)22によって前方開閉可能に揺動支持されて遊技盤ユニット5を保持する機枠9、機枠9の前方にヒンジ部22によって前方開閉可能に揺動支持されて前面ガラス10とその周囲を装飾する装飾部材32とを保持する装飾枠12とを有して遊技機枠3が構成される。なお、前面ガラス10は、遊技機枠3内部に保持された遊技盤6を前方から遊技者が視認することができるようにするための透明部材である。
前面ガラス10は、遊技盤6に対して一定距離以上離間して配置された透明板である。前面ガラス10は透明平板ガラスで形成されて装飾枠12の裏面側に保持され、遊技盤6との間に遊技球23が流下する流下空間を形成する機能、遊技者が前面ガラス10を通して遊技盤6を視認できるように視認性を確保する機能、遊技者が遊技盤6に不正にアクセス(接触)できないように不正アクセスを防止する機能、を発揮する。
貯留皿14は、遊技者の持ち球を貯留するためにパチンコ機2の前面に配置された皿部材であって、本実施の形態においては上皿14aと下皿14bとを有している。上皿14aは、球排出ボタン14cを有して遊技盤6の下方、すなわち装飾枠12の下方部分に配置され、下皿14bは、その上皿14aの更に下方に配置されている。
発射ユニットは、球供給装置(不図示)によって貯留皿14の一部としての上皿14aから発射位置に送り出された遊技球23を遊技領域16の上部に向けて発射(弾球)するためのものである。発射ユニットは、例えば発射位置の遊技球23を弾球する発射杆、その発射杆を駆動する発射モータ、発射杆を付勢して弾球力を発生させる発射バネ等を有してユニット構成され、機枠9に取り付けられている。その発射ユニットによる球発射のため、遊技者の操作に基づいて球発射のオンオフ及びその発射強度調整を実現する発射ハンドル15がパチンコ機2の前面下方に設けられている。
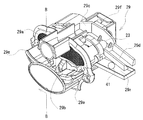
遊技盤ユニット5は、表面側の略中央にセンター役物7が配置された遊技盤6と、そのセンター役物7の一部に配置された2種大入賞口(第2の大入賞口)8とを有しており、その遊技盤6には多数のゲージ(遊技釘)27も配置されている。
遊技盤6は、その表面側に遊技球23の流下による遊技を実現するための遊技領域16を構成するための盤状部材であり、遊技盤6を前方から遊技者にとって視認可能となるように遊技機枠3(本実施の形態においては、遊技機枠3の一部としての機枠9。)に保持されている。その遊技盤6の表面には略円形状に周囲を囲むようにレール飾り26が取り付けられており、レール飾り26の内周面(内側面)26aが遊技盤に対して立設するように配置されている。そして、レール飾り26の内側面26aによって画定され、内側面26aに面した略円形状の領域が遊技領域16となっている。
ゲージ27は、遊技領域16を流下する遊技球23と衝突してその流下方向を変更させる流下変更部材であり、多数が遊技領域16内に配置されている。また、遊技領域16には、普通入賞口28、中央始動口(第1の始動口及び第2の始動口)29、中央大入賞口(第1の大入賞口)31、2種大入賞口(第2の大入賞口)8等の入球部材及びアウト口38が配置されている。更に、遊技領域16には、通過ゲート33、風車34等が配置されており、流下する遊技球23が各入球部材に流入したり、通過ゲート33を通過したり、風車34を回転させたりすることによって、遊技球23による流下遊技を楽しむことができるようになっている。
センター役物7は、図柄変動遊技(1種遊技)や役物遊技(2種遊技)を実現するものである。センター役物7の中央部には、図柄表示装置7aが配置されるとともに、この図柄表示装置7aの表示画面(映像表示面)7bを露出させるための表示開口部7dが形成されている。センター役物7の表示開口部7dの下方には、遊技球23が転動可能なステージ7eと、2種大入賞口8と、が設けられている。ステージ7eは、2種大入賞口8より手前側(遊技者から近い側)に配置されている。ステージ7eと2種大入賞口8との間には、各領域を区画するための透明なプレート部材21が設けられている。2種大入賞口8について詳細は後述する。センター役物7の表示開口部7dの上方には、本パチンコ機2のテーマとなっているキャラクターをモチーフにした可動役物7fと、本パチンコ機2の機種名を表記した看板役物7gと、が設けられており、装飾的な演出効果を発揮するようになっている。
図柄表示装置7aは、例えば、液晶表示装置・有機ELディスプレイ・LED等により構成されて遊技者が遊技盤6の表面側から視認可能となるように配置され、その表示画面7b上に映像表示を行うものである。この表示画面7b上には、例えば、3桁の数字又は文字等により構成される表示図柄7cが回転又は停止するように映像として表示される。また、例えば、キャラクター等によるストーリー仕立ての映像としての演出映像も表示画面7b上に表示されるようになっている。
センター役物7は、遊技領域16の略中央に位置しており、その上部右側の一部が球通路37の下側壁面を構成している。そして、発射された遊技球23の勢いが比較的強く球通路37を通過すると、センター役物7の右側部分の遊技領域(右側領域)16bへと至ることができるようになっている。
発射された遊技球23の勢いが比較的弱く、この球通路37を通過しない場合には、遊技球23はセンター役物7の左側部分の遊技領域(左側領域)16aを流下する。図示しない球発射装置により遊技球23が発射されると、遊技球23はレール飾り26の内周面26aに沿いつつ進行して遊技領域16内の上部に至る。その後、遊技球23は、複数の通過軌跡に沿って移動し、あるものはレール飾り26の内周面26aに沿って右側領域16bに移動し、あるものはゲージ27に衝突しつつ遊技領域16内を下方に流下し、あるものは普通入賞口28に流入して一定数の景品球払出しの契機となり、あるものはいずれの入球装置にも流入せずに遊技領域16内最下部に位置するアウト口38に流入してアウト球としてパチンコ機2の外部側へと排出される。
図柄変動遊技中に遊技球23が左側領域16aを流下し、中央始動口29の上流入口29aに流入すると、その流入に起因して図柄表示装置7aの表示図柄7cが回転表示(第1の特別遊技の抽選)を開始し、その表示図柄7cが所定の図柄(例えば、「7・7・7」。)で停止表示すれば、図柄変動遊技における大当り(第1の特別遊技。以下、図柄変動大当りという。)が発生する。そして、中央大入賞口31が開放して多量の入賞球を受け入れ、多量の景品球が貯留皿14へと払い出されるようになっている。
一方、球通路37を通過した遊技球23は、右側領域16bを流下し、あるものは通過ゲート33を通過する。その通過ゲート33の通過に起因して状態変更抽選手段(不図示)による抽選が行われ、その抽選結果が当たりの場合に、中央始動口29の下流入口29bが一定時間開放する。この中央始動口29の下流入口29bは、閉鎖状態では遊技球23の流入が不可能とされているが、その開放中に流入すると、それに起因して2種大入賞口8が所定時間開放して大当たり遊技が発生する(即ち、第2特別遊技の第1段階)。その開放時間中に、更に後続の遊技球23が2種大入賞口8のV入賞口35に入賞すれば、中央大入賞口31の開放により大当たり遊技の継続(即ち、第2特別遊技の第2段階)を楽しむことができるようになっている。
次いで、2種大入賞口8、中央始動口29、中央大入賞口31、及びアウト口38における小球の分離機能について詳細に説明する。まず、図2及び図3に基づいて2種大入賞口8について説明する。図2は、2種大入賞口部分の拡大図である。図2においては、2種大入賞口8の説明のためにプレート部材21等一部を省略している。2種大入賞口8は、球体を入球可能に開口された流入口8aと、流入口8aの流入可能な状態と流入不可能な状態を実現する羽根部材(動作部材)8bと、を有する。羽根部材8bは、中心を軸として回転方向に移動することにより、2種大入賞口8の流入口8aを開放した入球可能な状態と流入口8aを塞ぐ入球不可能な状態とを実現する。
2種大入賞口8の流入口8aから入球した球体は、その通過方向における下流側に配置されたクルーン部材8cを通過する。クルーン部材8cは、筒状で上下に貫通する中空部を有し、中空部を通過する過程で遊技球23が減速される。クルーン部材8cは、流入口8aから流入した遊技球23を受ける球受け部として機能している。クルーン部材8cの通過方向における下流側には、正面視にて左下方に遊技球23を導く球通路としての水平通路8dが配置されている。水平通路8dには、開口部8eが形成されている。図3は、図2における水平通路8d部分のA−A断面を模式的に示す断面図である。
水平通路8dの底面は、正面側に向かって下降するように傾斜しており、球体の通過方向に沿って開口部8eが形成されている。開口部8eの幅は、遊技球23の直径である11mmより小さい10mmである。直径10mm以下の小球41は、水平通路8dを通過する過程で開口部8eを通過して落下する。水平通路8dの下方には、水平通路8dに沿って小球路8fが設けられている。小球路8fの底面は、背面側に向かって下降するように傾斜しており、正面視にて左下端に小球路8fの出口が設けられている。小球路8fの出口から流出した小球41は、後述する小球回収部に導かれる。すなわち、遊技球23より小径でありかつ開口部8eの幅以下の小球41は、水平通路8dの開口部8eから小球路8f内に流入し、小球路8fから小球回収部に導かれる。
一方、遊技球23は、水平通路8dの開口部8eを通過せず、水平通路8dを左下方に移動する。水平通路8dの通路出口は、手前側に開口している。水平通路8dを通過した遊技球23は、その手前側に配置された案内部材としての揺動部材8gに供給される。揺動部材8gは、回転抽選体8nに向かって球が移動するのを困難とする状態と、移動が困難された後の球が回転抽選体8nに向かって移動するのを容易とする状態と、を繰り返し実現して、水平通路8dから供給された遊技球23を回転抽選体8nに向けて移動させる。回転抽選体8nは、遊技球23が入球可能な6箇所の抽選入球口8pを有しており、そのうち1つの抽選入球口8pがV入賞口35である。回転抽選体8nは、予め定められた周期で絶えず回転駆動しており、遊技球23がタイミング良く移動してV入賞口35に進入すると大当りが継続する。このように2種大入賞口8内に遊技球23と小球41が紛れて流入しても、2種大入賞口8内を通通させる過程で遊技球23と小球41を分離して、小球41を使用することによる不正行為を防止することができる。
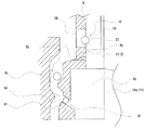
次いで、図4及び図5に基づいて中央大入賞口31における小球の分離機能について詳細に説明する。図4は、中央大入賞口31の正面視における中央部分の断面図である。中央大入賞口31は、遊技領域16を流下する球体が流入可能な流入口31aと、流入口31aの流入可能な状態と流入不可能な状態を実現する扉部材31bと、流入口31aの前面に配置された前カバー31cと、流入口31aに流入した球体が導かれる球通路31dと、球通路31dにおける背面側の壁面に形成された開口部31eと、開口部31eの開口寸法を変更する開口寸法変更部としてのスライド部31fと、開口部31eを通過した小球41が導かれる小球路31gと、小球路31gにおける小球41の通過を検出するセンサ31hと、を有する。
図柄変動遊技における大当りの発生等に起因して扉部材31bが駆動して流入口31aを開放することにより、遊技領域16を流下する球体が中央大入賞口31に入球可能となる。遊技領域16を流下する球体は、前カバー31cによって流入口31a側に導かれ、流入口31aを開放した扉部材31bに衝突し、流入口31a内に導かれる。流入口31aに流入する球体は、扉部材31bに衝突することによってその勢いが弱まるように構成されており、扉部材31bは球受け部として機能している。流入口31aから流入した球体は、球通路31dに導かれる。球通路31dは、左右方向に沿って配置されており、正面視における左端部には球通路出口31kが設けられている。
球通路31dの背面側の壁面には、開口部31eが形成されている。開口部31eは、球通路31dの底面とスライド部31fの間の隙間であり、その高さ寸法は遊技球23の直径より小さい10mmであり、左右方向に沿って球通路31d全体に形成されている。球通路31dに流入した球体は、その勢いにより背面側の壁面に衝突する。このとき、球体の直径が開口部31eの高さ(10mm)以下の場合は、球体が開口部31eを通過して小球路31gに流入する。一方、球体の直径が開口部31eの高さより大きい場合は、球体が開口部31eを通過せず、球通路出口31kを通過する。球通路出口31kを通過した遊技球は、図示しないセンサによって検出され、正規の遊技球として景品球の払い出しの契機として処理される。
小球路31gに流入した球体は、正規の遊技球23より小さい小球41であり、不正な球体として処理される。小球路31gに小球41が流入すると、センサ31hによって検出され、図示しない制御手段によってエラー処理がなされる。本実施の形態におけるエラー処理は、図柄表示装置7aによるエラー表示、スピーカ(図示せず)による警告音、ホールコンピュータへのエラー信号送信、及びパチンコ機2における遊技制御の停止処理である。このような構成によれば、流入した球体から不正行為につながる小球41を分離することができる。更に、小球41の検出によってエラー処理を行うことにより、不正行為による被害の拡大を防止することができる。
また、中央大入賞口31のスライド部31fは、上下方向にスライド可能に構成されており、開口部31eの開口寸法を変更することができる。スライド部31fは、複数の穴部が形成されており、その穴部と対向する位置の遊技盤6にも凹部が形成されている。スライド部31fをスライド移動して、遊技盤6の凹部と穴部とにピンを貫通させることにより、種々の位置でスライド部31fを固定することができる。スライド部31fの高さ位置を変更することにより、適宜に開口部の開口寸法を変更することができ、分離の対象とする小球の寸法を変更することが可能となる。
更に、図5は、スライド部31fを下方に移動して開口部31eを塞いだ状態を示した図である。スライド部31fの移動によって開口部31eを設けたり、開口部31eを塞いだりすることができる。例えば、小球41を使用しても不正に利益を得るおそれがないパチンコ機では、小球を用いた不正行為がなされるおそれが少ないため、スライド部31fを最下端の位置として開口部31eを塞ぎ、小球の分離機能を設けないことも可能となる。
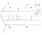
次いで、図6から図8に基づいて、中央始動口29における小球の分離機能について詳細に説明する。図6から図8は、遊技盤6に取り付けられていない状態の中央始動口29を示した図である。図6は、中央始動口29を右上方から見た斜視図である。図7は、中央始動口29の平面図であり、図8は、図6に示すB−B断面図である。中央始動口29は、上下に重なって配置された上流入口29a及び下流入口29bと、上流入口29aに流入した球体が導かれる上球通路29cと、上球通路29cに形成された開口部29dと、下流入口29bへの球体の流入を容易な状態と困難な状態とを実現する羽根部材29eと、羽根部材29eを駆動する駆動源としてのソレノイド29fと、を有する。
上流入口29aは、第1の特別遊技の抽選の契機となる入球口であり、遊技領域16を流下する球体が常に流入可能に設けられている。上流入口29aの下方には、上流入口29aに流入した球体と衝突して球体を減速させるとともに、その球体を背面側に導く球受け部としての突起29gが設けられている。上流入口29aに流入した球体は、突起29gに衝突することにより勢いが弱まりつつ、背面側に配置された上球通路(球通路)29cに向かう。上球通路29cは、略直角に屈曲しており、上球通路29c内の球体は、背面側に向かった後、右側に向かって通過する。
上球通路29cの底面には、遊技球23の直径より小さい幅(10mm)の開口部29dが形成されている。開口部29dは、上球通路29cの球体の通過方向に沿って設けられており、通過方向における開口部の側方は上方に向かって広がるように傾斜している。この傾斜により、通過する球体が上球通路29cの中央部分を通過して、球体の通過軌跡が安定する。球体が中央部分を通過することにより、開口部29dの幅以下の直径の小球41を確実に開口部29dに導き、遊技球23と分離することができる。
例えば、球体の通過軌跡が一定でなく上球通路29cの側方を球体が通過する場合は、中央に配置された開口部29dの開口幅以下の直径の球体であっても開口部29dに導かれず、開口部29dを通過しないおそれがある。しかし、傾斜に沿って通過する球体を開口部29dに沿って移動させることにより、開口部29dの開口幅以下の直径の小球41を確実に分離することができる。
球体のうち遊技球23は、開口部29dを通過しないため、上球通路29cを通過して上球通路29cの出口から流出する。上球通路29cから流出した遊技球23は、図示しないセンサを通過して正規の遊技球として、第1の特別遊技の抽選の契機となる。一方、小球41は、上球通路29cを移動する過程で開口部29dを通過して落下する。上球通路29cの下方には、小球路29rが配置されている。小球路29rに落下した小球41は、後述する小球回収部に導かれる。このように上流入口29aに流入した球体は、遊技球と小球が分離され、正規の遊技球23のみセンサによって検出されるように構成されている。
下流入口29bは、通過ゲート33の通過に起因した状態変更抽選手段による抽選が当たりの場合に、ソレノイド29fによって羽根部材29eが駆動されて一定時間開放する。下流入口29bは、2種大入賞口8の開口契機となる入球口である。下流入口29bに流入した遊技球23は、羽根部材29eに沿って正面視における中央に移動した後、背面側に設けられた下球通路29hに導かれる。下球通路29hには、球体の通過を検出する第1センサ29kが配置されている。第1センサ29kにより下流入口29bに球体が流入したことが検出される。
下球通路29hにおける球体の通過方向の下流には、開口部29nと第2センサ29pとが配置されている。開口部29nは、遊技球23の直径より小径(10mm)に形成されており、直径10mm以下の小球41が通過可能に構成されている。球体のうち小球41は開口部29nを通過して、小球路29mに流入する。一方、遊技球23は、開口部29nを通過せず、下球通路29h内を移動して、第2センサ29pによって検出される。正規の遊技球は、第1センサ29kと第2センサ29pによって連続して検出される。しかし、小球41は、第2センサ29pによって検出されず、第1センサ29kによる検出のみとなる。
制御手段は、第1センサ29k及び第2センサ29pによる検出に基づいて、正規の遊技球23の入球として入球処理する。そして、第1センサ29kのみの検出に基づいて、不正な小球41の入球としてエラー処理を行う。このように、下球通路29hを通過する球体の検出のみによっても、正規の遊技球23の入球及び不正な小球41の入球をそれぞれ検出することができる。特に、小球41の通過を検出するセンサを小球路に配置するスペースがない場合に好適である。このように構成された中央始動口29によれば、上流入口29a及び下流入口29bに入球した球体を遊技球23と小球41とに各々分離して処理することができる。
次いで、遊技領域16の最下部に位置するアウト口38における小球の分離機能ついて詳細に説明する。図9は、パチンコ機2の背面側から見たアウト口部分の拡大斜視図であり、図10は、図9に示すC−C断面を模式的に示した断面図である。なお、図9及び図10においては、説明のために払い出し制御基板ケース、及び賞球通路等一部を省略している。アウト口38は、遊技盤6を前後方向において貫通して形成されている。遊技盤6の表面側には、遊技領域16が形成され、遊技盤6の裏面側には、機枠9が配置され球処理通路等が設けられている。
アウト口38に流入した球体は、遊技盤6の裏面側に導かれる。アウト口38の下方の機枠9には、アウト口38から流入した球体を受ける球受け部9aと、球受け部9aによって受けた球体及び各種入球部材に入球した遊技球23が導かれる集合通路9bと、集合通路9bより背面側に設けられ集合通路9bから球体が流下する球通路としての整流通路9cと、集合通路9bの下方に配置された小球回収部(回収部)9eと、が設けられている。
球受け部9aは、背面側に向かって下降するように傾斜しており、アウト口38に流入した球体の勢いを弱めつつ、集合通路9bに向けて球体を導く。集合通路9bは、その上方に中央入賞口29等入球部材における遊技球23の球出口が配置されており、各入球部材に入球して正規の遊技球として処理された遊技球23が落下して導かれるとともに、アウト口38に流入した球体が導かれるように構成されている。集合通路9bの底面は、背面側に向けて下降しており、集合通路9b内の球体は更に背面側に配置された整流通路9cに導かれる。整流通路9cは、複数の屈曲部を有し、球体を通過させる過程において球体を1球ずつ整列できるように構成されている。
整流通路9cには、遊技球23が通過不可能で小球41が通過可能な開口部9dが形成されている。整流通路9cに導かれた球体のうち小球41は、開口部9dから小球路9fに流入し、小球路9fを通過して小球回収部9eに導かれる。一方、遊技球23は、開口部9dを通過せず、整流通路9cを通過して、図示しない遊技島設備に導かれホール内を循環する。各入球部材に入球した遊技球23は、入球部材において小球41を分離されて、正規の遊技球23として球処理がされた後、整流通路9cに導かれて再度小球41を分離される。すなわち、各入球部材に流入した遊技球23は、小球41の分離処理が2回なされる。したがって、球体の勢い等によって間違って小球41が遊技球23として処理されても再度小球23を分離するため、選別の間違いが少なくなり、小球41の選別精度が向上する。
また、整流通路9cにおいて分離された小球41は、各入球部材において遊技球23として誤処理がなされたことが考えられる。よって、図示しないセンサによって小球41が分離されたことを検出するとともに、この検出に基づいて遊技の停止、景品球の払い出しの停止、及び当否抽選結果の無効制御を行う。このように構成することにより、小球41による不正行為による被害を少なくすることが可能となる。
なお、本実施の形態では、回収部としての小球回収部9eを遊技機枠に設けているが、この構成に限られず、遊技盤ユニット5に回収部を設けてもよい。例えば、遊技盤ユニット5を構成する遊技盤6の背面に回収部を配置し、各入球部材によって遊技球23と分離された小球41を収容するように構成してもよい。
このように本実施の形態によれば、正規の遊技球23に紛れて遊技球23より小径の小球41が使用されても、遊技領域16における球体の流下による遊技が実行される過程で小球41を選別して分離することができ、小球41による不正行為を防止することができる。また、分離された小球41は小球回収部9eに回収することができるため、不正行為につながる小球41が正規の遊技球23と混在することがなく、確実に小球41を回収することが可能となる。
以上、本発明の好ましい実施の形態を説明したが、本発明はこれらに限定されるものではなく、その要旨の範囲内で様々な変形や変更が可能である。例えば、本実施の形態では、開口部の開口寸法を10mmとして直径10mm以下の小球を分離するように構成したが、開口寸法変更手段によって開口寸法を適宜変更してもよいし、異なる開口寸法の開口部としてもよく、実施態様に応じて適宜異ならせることが可能となる。
更に、本実施の形態では、流入口に流入した球を球受け部で受けた後、開口部が設けられた球通路に導くように構成したが、変形例を概念することができる。図11及び図12に基づいて、実施の形態における中央始動口29の変形例1である第2始動口30について詳細に説明する。なお、中央始動口29と同様の構成については説明を省略する。第2始動口30は中央始動口29と異なり、球受け部としての突起を備えず、上流入口の直下に開口部が配置されている。
図11は、第2始動口30の右上方から見た斜視図、図12は、図11におけるD−D断面図である。第2始動口30は、遊技領域16を流下する球体が流入可能な上流入口30a及び下流入口30bと、上流入口30aの直下に配置された開口部30cと、この開口部30cが形成され、上流入口30aに流入した球体が導かれる上球通路30dと、開口部30cを通過した小球41が流入する小球路30gと、を有する。なお、下流入口30b及び下流入口30bに流入した球体の処理は、中央始動口と同様の構成である。
上流入口30aに流入した球体は、上球通路30dに導かれ、上流入口30aの直下に形成された開口部30cと当接する。開口部30cは、遊技球23の直径より小径(10mm)の穴である。直径10mm以下の小球41は、開口部30cを通過して上球通路30dの下方に配置された小球路30gに落下する。一方、遊技球23は、開口部30cに当接するが開口部30cを通過せず、開口部30cの傾斜に沿って上球通路30d内を背面側に移動する。
上球通路30d及び小球路30gには、各々を通過する球体を検出するための第1センサ30e及び第2センサ30fが配置されている。第1センサ30eによって上球通路30dを通過する遊技球23が検出され、第2センサ30fによって小球路30gを通過する小球41が検出される。第1センサ30e及び第2センサ30fによる検出に基づいて、制御手段による遊技球23としての球処理及び小球41としてのエラー処理がなされる。このように第2始動口30は、遊技球23の上球通路30dと小球41の小球路30gとを重ねて配置するため、配置スペースを有効に活用することができる。
ただし、第2始動口30は、上流入口30aの直下に開口部30cが配置されており、上流入口30aに流入した球体が勢いよく開口部30cに当接する。球受け部を有する入球構成に比べて、配置スペースを有効に利用できる反面、開口部30cと接する球体の勢いが強くなることが多く、球体の軌跡が安定せずに小球41を確実に開口部30cに導けないおそれがある。これに対して中央始動口29は、球受け部によって球体の勢いを弱めることができるため、球体の軌跡を安定させて小球の分離精度を向上させることが可能となる。すなわち、流入口の位置及び球受け部の配置は、他の部品の配置態様等に応じて適宜選択することが望ましい。
次いで、図13及び図14に基づいて開口寸法変更手段の変形例について詳細に説明する。図13は、変形例2に係る入球部材における開口寸法変更手段部分の拡大平面図である。図14は、変形例3に係る入球部材における開口寸法変更手段部分の拡大平面図である。まず、変形例2に係る開口寸法変更手段について説明する。変形例2に係る入球部材42は、球体が通過可能な球通路42aと、球通路42aに形成された開口部42bと、開口部42bの開口寸法を変更する開口寸法変更手段としてのスライド板42cと、スライド板42cの移動量を調整するための目盛りが形成された目盛り板42dと、スライド板42cを適宜の位置で固定するネジ部42eと、を有する。
スライド板42cは、X方向にスライド移動可能に構成されており、スライド板42cが移動することにより、開口部42bの幅寸法Dが変化する。スライド板42cの側方には、目盛りが形成された目盛り板42dが配置されており、この目盛りにスライド板42cの端部を合わせることにより、開口部42bの幅寸法Dを所定の寸法に設定できる。スライド板42cを適宜の位置に移動した後、ネジ部42eによって固定することにより、スライド板42cを適宜の位置で固定し、所定の開口寸法とすることができる。
次いで、変形例3に係る開口寸法変更手段について説明する。変形例3に係る入球部材43は、球体が通過可能な球通路43aと、球通路43aに形成された開口部43bと、開口部43bの開口寸法を変更する開口寸法変更手段としての複数の蓋部材43cと、を有する。
開口部43bの幅寸法Dは、遊技球23の直径より大きく形成されており、蓋部材43cによって一部を塞ぐことにより、遊技球23の直径より小さく、かつ小球41の直径より大きくなるように設定される。本変形例では、3枚の蓋部材43cを用いて、この蓋部材43cの配置を適宜変更することにより、開口部43bの開口幅Dを大きくしたり小さくしたり変更できるように構成されている。このように、変形例2及び変形例3に係る開口寸法変更手段を有する入球部材によっても、開口部の寸法を適宜変更し、選別の対象となる小球の寸法を異ならせることが可能となる。
本発明の実施の形態に係るパチンコ機の正面図である。 2種第大入賞口分を拡大した正面図である。 図2に示す水平通路部分のA−A断面を模式的に示した断面図である。 中央大入賞口の正面視における中央部分の断面図である(開口部あり)。 図1に示すパチンコ機の中央大入賞口31の正面視における中央部分の断面図である(開口部なし)。 中央始動口を右上方から見た斜視図である。 中央始動口の平面図である。 図6に示す中央始動口のB−B断面図である。 遊技機の背面側から見たアウト口部分の拡大斜視図である。 図9に示すC−C断面を模式的に示した断面図である。 変形例1に係る開閉始動口を右上方から見た斜視図である。 図11に示す開閉始動口のD−D断面図である。 変形例2に係る開口寸法変更手段を示す平面図である。 変形例3に係る開口寸法変更手段を示す平面図である。
符号の説明
2:パチンコ機(遊技機)
3:遊技機枠
4:筐体枠(遊技機枠の一部)
5:遊技盤ユニット
6:遊技盤
7:センター役物
7a:図柄表示装置
7b:表示画面(映像表示面)
7c:表示図柄
7d:表示開口部
7e:ステージ
7f:可動役物
7g:看板役物
8:2種大入賞口(第2の大入賞口)
8a:流入口
8b:羽根部材
8c:クルーン部材(球受け部)
8d:水平通路(球通路)
8e:開口部
8f:小球路
8g:揺動部材
8n:回転抽選体
8p:抽選入球口
9:機枠(遊技機枠の一部)
9a:球受け部
9b:集合通路
9c:整流通路
9d:開口部
9e:小球回収部(回収部)
9f:小球路
10:前面ガラス(前面透明板)
12:装飾枠(遊技機枠の一部)
14:貯留皿
14a:上皿
14b:下皿
14c:球排出ボタン
15:発射ハンドル
16:遊技領域
16a:左側領域
16b:右側領域
21:プレート部材
22:ヒンジ部(揺動支持部)
23:球(遊技媒体)
26:レール飾り
26a:内側面(内周面)
27:ゲージ(遊技釘)
28:普通入賞口(流入口)
29:中央始動口(第1の始動口、第2の始動口)
29a:上流入口
29b:下流入口
29c:上球通路
29d:開口部
29e:羽根部材
29f:ソレノイド
29g:突起
29h:下球通路
29k:第1センサ
29m:小球路
29n:開口部
29p:第2センサ
29r:小球路
30:第2始動口
30a:上流入口
30b:下流入口
30c:開口部
30d:上球通路
30e:第1センサ
30f:第2センサ
30g:小球路
31:中央大入賞口(第1の大入賞口)
31a:流入口
31b:扉部材(球受け部)
31c:前カバー
31d:球通路
31e:開口部
31f:スライド部
31g:小球路
31h:センサ
31k:球通路出口
32:装飾部材
33:通過ゲート
34:風車
35:V入賞口
37:球通路
38:アウト口
41:小球
42:入球部材
42a:球通路
42b:開口部
42c:スライド板
42d:目盛り板
42e:ネジ部
43:入球部材
43a:球通路
43b:開口部
43c:蓋部材

Claims (4)

  1. 遊技領域が形成される遊技盤と、
    該遊技領域を流下する遊技球が流下可能な流入口と、
    該流入口に流入した前記遊技球が導かれる球通路と、
    該球通路に設けられた開口部と、を備える遊技盤ユニットであって、
    前記開口部は、前記遊技球の直径より小さい幅の開口寸法であり、前記遊技球を通過させずに前記開口寸法以下の小球を通過させるように形成されている、遊技盤ユニット。
  2. 前記開口部を通過した前記小球が導かれる小球路と、
    該小球路に導かれた該小球を収容する回収部と、を更に備える、請求項1に記載の遊技盤ユニット。
  3. 前記開口部を通過した前記小球を検出するセンサと、
    該センサによる前記小球の検出に基づきエラー報知を行う報知手段と、を更に備える請求項1又は請求項2に記載の遊技盤ユニット。
  4. 前記開口部の前記開口寸法を変更する開口寸法変更手段を更に備える、請求項1から請求項3のいずれかに記載の遊技盤ユニット。
JP2008244052A 2008-09-24 2008-09-24 遊技盤ユニット Expired - Fee Related JP5327847B2 (ja)

Priority Applications (1)

Application Number Priority Date Filing Date Title
JP2008244052A JP5327847B2 (ja) 2008-09-24 2008-09-24 遊技盤ユニット

Applications Claiming Priority (1)

Application Number Priority Date Filing Date Title
JP2008244052A JP5327847B2 (ja) 2008-09-24 2008-09-24 遊技盤ユニット

Publications (2)

Publication Number Publication Date
JP2010075244A true JP2010075244A (ja) 2010-04-08
JP5327847B2 JP5327847B2 (ja) 2013-10-30

Family

ID=42206447

Family Applications (1)

Application Number Title Priority Date Filing Date
JP2008244052A Expired - Fee Related JP5327847B2 (ja) 2008-09-24 2008-09-24 遊技盤ユニット

Country Status (1)

Country Link
JP (1) JP5327847B2 (ja)

Cited By (11)

* Cited by examiner, † Cited by third party
Publication number Priority date Publication date Assignee Title
JP2012005748A (ja) * 2010-06-28 2012-01-12 Heiwa Corp 遊技機
JP2012100877A (ja) * 2010-11-10 2012-05-31 Takeya Co Ltd 遊技機
JP2013226171A (ja) * 2012-04-24 2013-11-07 Heiwa Corp 遊技機
JP2018140112A (ja) * 2017-02-28 2018-09-13 株式会社三洋物産 遊技機
JP2018140115A (ja) * 2017-02-28 2018-09-13 株式会社三洋物産 遊技機
JP2018140114A (ja) * 2017-02-28 2018-09-13 株式会社三洋物産 遊技機
JP2018140113A (ja) * 2017-02-28 2018-09-13 株式会社三洋物産 遊技機
JP2019188190A (ja) * 2016-09-30 2019-10-31 株式会社三洋物産 遊技機
JP2019217397A (ja) * 2016-09-30 2019-12-26 株式会社三洋物産 遊技機
JP2020195812A (ja) * 2016-09-30 2020-12-10 株式会社三洋物産 遊技機
JP2021181025A (ja) * 2017-07-14 2021-11-25 株式会社三洋物産 遊技機

Citations (2)

* Cited by examiner, † Cited by third party
Publication number Priority date Publication date Assignee Title
JPS62166883U (ja) * 1986-04-11 1987-10-23
JP2003340073A (ja) * 2002-05-24 2003-12-02 Aruze Corp 遊技機

Patent Citations (2)

* Cited by examiner, † Cited by third party
Publication number Priority date Publication date Assignee Title
JPS62166883U (ja) * 1986-04-11 1987-10-23
JP2003340073A (ja) * 2002-05-24 2003-12-02 Aruze Corp 遊技機

Cited By (13)

* Cited by examiner, † Cited by third party
Publication number Priority date Publication date Assignee Title
JP2012005748A (ja) * 2010-06-28 2012-01-12 Heiwa Corp 遊技機
JP2012100877A (ja) * 2010-11-10 2012-05-31 Takeya Co Ltd 遊技機
JP2013226171A (ja) * 2012-04-24 2013-11-07 Heiwa Corp 遊技機
JP2019188190A (ja) * 2016-09-30 2019-10-31 株式会社三洋物産 遊技機
JP7024832B2 (ja) 2016-09-30 2022-02-24 株式会社三洋物産 遊技機
JP2020195812A (ja) * 2016-09-30 2020-12-10 株式会社三洋物産 遊技機
JP2019217397A (ja) * 2016-09-30 2019-12-26 株式会社三洋物産 遊技機
JP2018140112A (ja) * 2017-02-28 2018-09-13 株式会社三洋物産 遊技機
JP2018140113A (ja) * 2017-02-28 2018-09-13 株式会社三洋物産 遊技機
JP2018140114A (ja) * 2017-02-28 2018-09-13 株式会社三洋物産 遊技機
JP2018140115A (ja) * 2017-02-28 2018-09-13 株式会社三洋物産 遊技機
JP2021181025A (ja) * 2017-07-14 2021-11-25 株式会社三洋物産 遊技機
JP7264193B2 (ja) 2017-07-14 2023-04-25 株式会社三洋物産 遊技機

Also Published As

Publication number Publication date
JP5327847B2 (ja) 2013-10-30

Similar Documents

Publication Publication Date Title
JP5327847B2 (ja) 遊技盤ユニット
JP2009240495A (ja) 遊技盤ユニット、及び遊技機
JP5365801B2 (ja) 遊技台
JP2009240496A (ja) 遊技盤ユニット、及び遊技機
JP2011067496A (ja) 遊技台
JP2012147895A (ja) 遊技機の遊技領域構造
JP2012045091A (ja) 入賞通路構造
JP2010148950A (ja) 弾球遊技機
JP2016034437A (ja) 弾球遊技機
JP5547892B2 (ja) 遊技機
JP5283284B2 (ja) 球流路ユニット及び遊技機
JP5721215B2 (ja) 弾球遊技機
JP2016016141A (ja) 弾球遊技機
JP2011098036A (ja) 遊技盤ユニット
JP2012147996A (ja) 遊技機用の流入ユニット及び遊技機
JP2008229057A (ja) 流下方向変更部材及び遊技機
JP4393304B2 (ja) 弾球遊技機
JP6031013B2 (ja) 遊技機
JP5574437B2 (ja) 遊技機
JP2010253022A (ja) パチンコ遊技機
JP2009297214A (ja) 遊技役物、及び遊技機
JP2006051099A (ja) 弾球遊技機
JP2009195515A (ja) 弾球遊技機
JP2009297226A (ja) 遊技役物、及び遊技機
JP2018166973A (ja) 遊技機

Legal Events

Date Code Title Description
A621 Written request for application examination

Free format text: JAPANESE INTERMEDIATE CODE: A621

Effective date: 20110704

A131 Notification of reasons for refusal

Free format text: JAPANESE INTERMEDIATE CODE: A131

Effective date: 20120626

A521 Written amendment

Free format text: JAPANESE INTERMEDIATE CODE: A523

Effective date: 20120727

TRDD Decision of grant or rejection written
A01 Written decision to grant a patent or to grant a registration (utility model)

Free format text: JAPANESE INTERMEDIATE CODE: A01

Effective date: 20130702

A61 First payment of annual fees (during grant procedure)

Free format text: JAPANESE INTERMEDIATE CODE: A61

Effective date: 20130718

R150 Certificate of patent or registration of utility model

Free format text: JAPANESE INTERMEDIATE CODE: R150

R250 Receipt of annual fees

Free format text: JAPANESE INTERMEDIATE CODE: R250

LAPS Cancellation because of no payment of annual fees