JP2010074845A - 印刷装置を有する手持ち式携帯電話装置 - Google Patents
印刷装置を有する手持ち式携帯電話装置 Download PDFInfo
- Publication number
- JP2010074845A JP2010074845A JP2009265583A JP2009265583A JP2010074845A JP 2010074845 A JP2010074845 A JP 2010074845A JP 2009265583 A JP2009265583 A JP 2009265583A JP 2009265583 A JP2009265583 A JP 2009265583A JP 2010074845 A JP2010074845 A JP 2010074845A
- Authority
- JP
- Japan
- Prior art keywords
- mobile phone
- phone device
- print head
- ink
- printing
- Prior art date
- Legal status (The legal status is an assumption and is not a legal conclusion. Google has not performed a legal analysis and makes no representation as to the accuracy of the status listed.)
- Granted
Links
Images
Classifications
-
- B—PERFORMING OPERATIONS; TRANSPORTING
- B41—PRINTING; LINING MACHINES; TYPEWRITERS; STAMPS
- B41J—TYPEWRITERS; SELECTIVE PRINTING MECHANISMS, i.e. MECHANISMS PRINTING OTHERWISE THAN FROM A FORME; CORRECTION OF TYPOGRAPHICAL ERRORS
- B41J3/00—Typewriters or selective printing or marking mechanisms characterised by the purpose for which they are constructed
- B41J3/44—Typewriters or selective printing mechanisms having dual functions or combined with, or coupled to, apparatus performing other functions
- B41J3/445—Printers integrated in other types of apparatus, e.g. printers integrated in cameras
-
- B—PERFORMING OPERATIONS; TRANSPORTING
- B41—PRINTING; LINING MACHINES; TYPEWRITERS; STAMPS
- B41J—TYPEWRITERS; SELECTIVE PRINTING MECHANISMS, i.e. MECHANISMS PRINTING OTHERWISE THAN FROM A FORME; CORRECTION OF TYPOGRAPHICAL ERRORS
- B41J13/00—Devices or arrangements of selective printing mechanisms, e.g. ink-jet printers or thermal printers, specially adapted for supporting or handling copy material in short lengths, e.g. sheets
-
- B—PERFORMING OPERATIONS; TRANSPORTING
- B41—PRINTING; LINING MACHINES; TYPEWRITERS; STAMPS
- B41J—TYPEWRITERS; SELECTIVE PRINTING MECHANISMS, i.e. MECHANISMS PRINTING OTHERWISE THAN FROM A FORME; CORRECTION OF TYPOGRAPHICAL ERRORS
- B41J2/00—Typewriters or selective printing mechanisms characterised by the printing or marking process for which they are designed
- B41J2/005—Typewriters or selective printing mechanisms characterised by the printing or marking process for which they are designed characterised by bringing liquid or particles selectively into contact with a printing material
- B41J2/01—Ink jet
-
- B—PERFORMING OPERATIONS; TRANSPORTING
- B41—PRINTING; LINING MACHINES; TYPEWRITERS; STAMPS
- B41J—TYPEWRITERS; SELECTIVE PRINTING MECHANISMS, i.e. MECHANISMS PRINTING OTHERWISE THAN FROM A FORME; CORRECTION OF TYPOGRAPHICAL ERRORS
- B41J3/00—Typewriters or selective printing or marking mechanisms characterised by the purpose for which they are constructed
- B41J3/36—Typewriters or selective printing or marking mechanisms characterised by the purpose for which they are constructed for portability, i.e. hand-held printers or laptop printers
-
- G—PHYSICS
- G03—PHOTOGRAPHY; CINEMATOGRAPHY; ANALOGOUS TECHNIQUES USING WAVES OTHER THAN OPTICAL WAVES; ELECTROGRAPHY; HOLOGRAPHY
- G03B—APPARATUS OR ARRANGEMENTS FOR TAKING PHOTOGRAPHS OR FOR PROJECTING OR VIEWING THEM; APPARATUS OR ARRANGEMENTS EMPLOYING ANALOGOUS TECHNIQUES USING WAVES OTHER THAN OPTICAL WAVES; ACCESSORIES THEREFOR
- G03B17/00—Details of cameras or camera bodies; Accessories therefor
- G03B17/48—Details of cameras or camera bodies; Accessories therefor adapted for combination with other photographic or optical apparatus
-
- G—PHYSICS
- G03—PHOTOGRAPHY; CINEMATOGRAPHY; ANALOGOUS TECHNIQUES USING WAVES OTHER THAN OPTICAL WAVES; ELECTROGRAPHY; HOLOGRAPHY
- G03B—APPARATUS OR ARRANGEMENTS FOR TAKING PHOTOGRAPHS OR FOR PROJECTING OR VIEWING THEM; APPARATUS OR ARRANGEMENTS EMPLOYING ANALOGOUS TECHNIQUES USING WAVES OTHER THAN OPTICAL WAVES; ACCESSORIES THEREFOR
- G03B29/00—Combinations of cameras, projectors or photographic printing apparatus with non-photographic non-optical apparatus, e.g. clocks or weapons; Cameras having the shape of other objects
-
- G—PHYSICS
- G06—COMPUTING OR CALCULATING; COUNTING
- G06F—ELECTRIC DIGITAL DATA PROCESSING
- G06F1/00—Details not covered by groups G06F3/00 - G06F13/00 and G06F21/00
- G06F1/16—Constructional details or arrangements
- G06F1/1613—Constructional details or arrangements for portable computers
- G06F1/1626—Constructional details or arrangements for portable computers with a single-body enclosure integrating a flat display, e.g. Personal Digital Assistants [PDAs]
-
- G—PHYSICS
- G06—COMPUTING OR CALCULATING; COUNTING
- G06F—ELECTRIC DIGITAL DATA PROCESSING
- G06F1/00—Details not covered by groups G06F3/00 - G06F13/00 and G06F21/00
- G06F1/16—Constructional details or arrangements
- G06F1/1613—Constructional details or arrangements for portable computers
- G06F1/1632—External expansion units, e.g. docking stations
-
- G—PHYSICS
- G06—COMPUTING OR CALCULATING; COUNTING
- G06F—ELECTRIC DIGITAL DATA PROCESSING
- G06F1/00—Details not covered by groups G06F3/00 - G06F13/00 and G06F21/00
- G06F1/16—Constructional details or arrangements
- G06F1/1613—Constructional details or arrangements for portable computers
- G06F1/1633—Constructional details or arrangements of portable computers not specific to the type of enclosures covered by groups G06F1/1615 - G06F1/1626
- G06F1/1684—Constructional details or arrangements related to integrated I/O peripherals not covered by groups G06F1/1635 - G06F1/1675
- G06F1/1696—Constructional details or arrangements related to integrated I/O peripherals not covered by groups G06F1/1635 - G06F1/1675 the I/O peripheral being a printing or scanning device
-
- H—ELECTRICITY
- H04—ELECTRIC COMMUNICATION TECHNIQUE
- H04M—TELEPHONIC COMMUNICATION
- H04M1/00—Substation equipment, e.g. for use by subscribers
- H04M1/02—Constructional features of telephone sets
- H04M1/21—Combinations with auxiliary equipment, e.g. with clocks or memoranda pads
-
- H—ELECTRICITY
- H04—ELECTRIC COMMUNICATION TECHNIQUE
- H04N—PICTORIAL COMMUNICATION, e.g. TELEVISION
- H04N1/00—Scanning, transmission or reproduction of documents or the like, e.g. facsimile transmission; Details thereof
- H04N1/00127—Connection or combination of a still picture apparatus with another apparatus, e.g. for storage, processing or transmission of still picture signals or of information associated with a still picture
- H04N1/00347—Connection or combination of a still picture apparatus with another apparatus, e.g. for storage, processing or transmission of still picture signals or of information associated with a still picture with another still picture apparatus, e.g. hybrid still picture apparatus
-
- H—ELECTRICITY
- H04—ELECTRIC COMMUNICATION TECHNIQUE
- H04M—TELEPHONIC COMMUNICATION
- H04M1/00—Substation equipment, e.g. for use by subscribers
- H04M1/72—Mobile telephones; Cordless telephones, i.e. devices for establishing wireless links to base stations without route selection
- H04M1/724—User interfaces specially adapted for cordless or mobile telephones
-
- H—ELECTRICITY
- H04—ELECTRIC COMMUNICATION TECHNIQUE
- H04N—PICTORIAL COMMUNICATION, e.g. TELEVISION
- H04N2101/00—Still video cameras
-
- H—ELECTRICITY
- H04—ELECTRIC COMMUNICATION TECHNIQUE
- H04N—PICTORIAL COMMUNICATION, e.g. TELEVISION
- H04N2201/00—Indexing scheme relating to scanning, transmission or reproduction of documents or the like, and to details thereof
- H04N2201/0077—Types of the still picture apparatus
- H04N2201/0082—Image hardcopy reproducer
-
- H—ELECTRICITY
- H04—ELECTRIC COMMUNICATION TECHNIQUE
- H04N—PICTORIAL COMMUNICATION, e.g. TELEVISION
- H04N2201/00—Indexing scheme relating to scanning, transmission or reproduction of documents or the like, and to details thereof
- H04N2201/0077—Types of the still picture apparatus
- H04N2201/0084—Digital still camera
Landscapes
- Engineering & Computer Science (AREA)
- Theoretical Computer Science (AREA)
- Physics & Mathematics (AREA)
- General Physics & Mathematics (AREA)
- Computer Hardware Design (AREA)
- Human Computer Interaction (AREA)
- General Engineering & Computer Science (AREA)
- Signal Processing (AREA)
- Multimedia (AREA)
- Accessory Devices And Overall Control Thereof (AREA)
- Ink Jet (AREA)
- Printers Characterized By Their Purpose (AREA)
- Telephone Function (AREA)
- Cameras Adapted For Combination With Other Photographic Or Optical Apparatuses (AREA)
- Sheets, Magazines, And Separation Thereof (AREA)
- Handling Of Sheets (AREA)
- Handling Of Cut Paper (AREA)
- Handling Of Continuous Sheets Of Paper (AREA)
- Studio Devices (AREA)
- Mobile Radio Communication Systems (AREA)
- Telephone Set Structure (AREA)
Abstract
【解決手段】一体型の内蔵印刷機構を備える手持ち式携帯電話装置1は、信号を送受信するためのアンテナ部4、送受信信号を印刷可能な形態に処理するための処理手段と、カード30上に処理信号を印刷出力するための処理手段に取り付けられる印刷ヘッドおよびインク供給モジュール16と、電話装置1の外部の供給源からカード30上に処理信号の情報を印刷するための印刷ヘッド17に受け取られるカード30を供給する印刷媒体供給装置20とを備える。
【選択図】 図62
Description
信号を送受信するための携帯電話ユニットと、
前記送受信信号を印刷可能な形態に処理するための処理手段と、
印刷媒体上に前記処理信号を印刷出力するための前記処理手段に取り付けられる、印刷ヘッドおよびインク分配ユニット組立品と、
前記電話装置の外部の供給源から印刷媒体上に前記処理信号の情報を印刷するための前記印刷ヘッドに受け取られる印刷媒体を供給する印刷媒体供給手段と、から構成される。
印刷ヘッドは、印刷媒体幅の単体ユニットから構成でき、半導体製造技術によって形成してもよい。
注出口を有する印刷媒体収納領域と、
前記印刷機能付き電話を支持し、その上の印刷媒体注入口を印刷媒体収納領域の注出口と位置合わせする印刷機能付き電話受け台と、
所定量の印刷媒体を、注出口を介して、また前記電話に備えられた関連の印刷媒体供給手段と噛み合う印刷機能付き電話印刷媒体注入口に排紙するよう動作可能な供給排出装置機構と、を含む。
好ましくは、排紙機構は、1枚のカードあるいはシート用紙を選択、およびそれに接面して、注出口を介して送り出すよう動作可能な滑動子から構成される。
本発明の好ましい電話ユニットは、PHS方式の電話装置であるが、本発明は、送信信号を印刷可能な形態に処理できる限り、あらゆる通信装置を利用するあらゆる種類の携帯電話に等しく適用可能である。他の適切な電話方式および/あるいは通信装置の例は、GSM、CDMA、衛星電話装置、およびGPRSおよびWCDMAを含む第3世代のインターネット接続された携帯電話(3G)装置を含む。
本発明の第1および第2の態様の好ましい実施例は、補充可能な印刷ロール紙上に、要求に応じてステッカを印刷できるステッカ印刷カメラから構成される。添付の図に示す「ステッカカム」1は、外部正面蓋型枠2、内蔵副構造および背面型枠3、ステッカおよびインクカートリッジ型枠4、および外部背面蓋5によって画成される多部構成のハウジングを有する。
本発明による第3の態様の好ましい形態において、小型プリンタを設けるが、この小型プリンタを、名刺大の用紙上に印刷するよう構成し、PCMCIAタイプIIIカード(PCMCIA(パーソナルコンピュータメモリカード国際協会)によって、標準寸法85.6mm×54mm、厚さ10.5mmのタイプIIIカードを有するいわゆるPCカード用にパラメータを設定している)の大きさに納まるように大きさを決める。しかしながら、下記で説明するPCMCIAインターフェイスプラグによって、PCMCIAスロットを有する直結インターフェイスを組み込む一方で、本発明に基づき製造したプリンタの寸法を大きくし、例えば6インチ(15.2センチメートル)×4インチ(10.2センチメートル)の写真寸法の用紙に印刷することもできることは理解されよう。
一般的に、用紙カートリッジ5は、用紙積層8を上部から抑えるよう配設される一対の一体型ばね板7を組み込んでいる金属蓋6を有し、用紙をより低い位置へ、下方向(図16に示す方向)へ力を加え、次に積層の最下部の用紙を、正面型枠9下に供給してもよい。
蓋3下に位置するページ幅のプリンタ12は、13および14で示すような一連のインク流路貯留容器を含むが、黒インク用の大容量の付加的な貯留容器に加えて、各インク色に1つの貯留容器を備える。貯留容器は、印刷ヘッド付近に形成される。この印刷ヘッドはチップ製造技術によって形成され、CMOSおよびMEMS技術を取り入れた印刷ヘッド30にインク供給する、15、16、17、および18で示すような大きさに徐々に減少していく供給流路を有するが、このCMOSおよびMEMS技術は、オーストラリア仮特許出願番号第PP6534号、出願日1998年10月16日、本出願人に譲渡され、本明細書中に相互参照のため引用する、表題「マイクロ機械装置および方法(IJ46a)」の中で開示されているものと同様である。
この種の持ち運び式プリンタは、要求に応じて非常に小型で持ち運び可能な装置から名刺を印刷することを含む、多くの異なる適用例を有するが、この装置は、相互接続ケーブルあるいは他の装置を用いることなく、ラップトップあるいはノートブック型コンピュータのPCカードスロットと直接繋ぐことができる。このプリンタの拡大型のものは、これもPCMCIAインターフェイスプラグを備えるが、同様の方法でより大きい材料を印刷する、例えば6インチ(15.2センチメートル)×4インチ(10.2センチメートル)サイズの写真、あるいは他の同様な材料の印刷に用いることができる。
本発明の好ましい形態において、この小型プリンタを、名刺大の用紙上に印刷するよう構成し、PCMCIAタイプIIIカード(PCMCIA(パーソナルコンピュータメモリカード国際協会)によって、標準寸法85.6mm×54mm、厚さ10.5mmのタイプIIIカードを有するいわゆるPCカードのためのパラメータが設定されている)の大きさに納まるよう寸法を決定する。しかしながら、下記で説明するPCMCIAインターフェイスプラグによって、PCMCIAスロットを有する直結インターフェイスを組み込む一方で、本発明に基づき製造したプリンタの寸法を大きくし、例えば6インチ(15.2センチメートル)×4インチ(10.2センチメートル)の写真寸法の用紙に印刷することもできることは理解されよう。
一般的に、用紙カートリッジ5は、用紙積層8を上部から抑えるよう配設される一対の一体型ばね板7を組み込んでいる金属蓋6を有し、用紙をより低い位置へ、下方向(図20に示す方向)へ力を加え、次に積層の最下部の用紙を、正面型枠9下に供給してもよい。
蓋3の下に位置するページ幅のプリンタ12は、13および14で示すような一連のインク流路貯留容器を含むが、黒インク用の大容量の追加的な貯留容器に加えて、各インク色に1つの貯留容器を備える。貯留容器は、印刷ヘッド付近に形成され、この印刷ヘッドは、チップ製造技術によって形成され、CMOSおよびMEMS技術を組み込んでいる印刷ヘッド30にインク供給する、15、16、17、および18で示すような大きさに徐々に減少していく供給流路を有するが、このCMOSおよびMEMS技術は、オーストラリア仮特許出願番号第PP6534号、出願日1998年10月16日、本出願人に譲渡され、本明細書中に相互参照のため引用する、表題「マイクロ機械装置および方法(IJ46a)」の中で開示されているものと同様である。
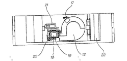
プリンタユニットをカメラ装置内に係止し、図22および23に示すような完全なカメラユニットを設ける。このカメラユニットは、プリンタユニット蓋3を備えるプリンタユニットを収容するようにしたカメラ本体25から構成され、その供給口スロット21は、ハウジングから突き出ている。
上記で述べたように、用紙カートリッジ5は、図25において明らかにわかるように、用紙を補充するために、プリンタユニットから取り外すことができる。
図28において、装置の動作部を概略的に図示しているが、この装置は、通信母線によって相互接続され、カメラレンズによって高解像度画像を取り込むCMOS画像検出器(CCD)37を含む。処理ユニット38によって、画像を処理し、その画像をプリンタ制御チップ39に供給するが、このチップは、着脱式プリンタユニットに位置し、次に印刷ヘッド40を制御して、画像41を生成する。記憶装置42を、カメラユニット内で中間記憶装置として利用するが、このカメラユニットも、画像がプリンタユニットに送信される前に、画像を編集するための制御装置を含んでもよい。
図32に、柔軟性のあるPCB13および14を含むプリンタユニットの内部配列をいくつか示すが、このPCB13および14によって、その後のPCB15から、PCディスクドライブベイの標準規格インターフェイスと連結可能な標準規格コネクタ16、および印刷ヘッドに、各々電子回路を接続する。
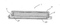
図52において最もよくわかるように、用紙およびインク印刷ロールカートリッジ51は、従来の35mmカメラフィルムに似た形状であり、設置時、電話容器50の正面左側面に形成される、対応するプリンタ供給口スロット62と位置合わせされる用紙供給口61を有する。しかしながら、カートリッジ51は充分に長く、好ましくは、写真印刷の従来の大きさである各々100mm×150mmの36枚に対して充分な画像用印刷媒体およびインクを含む。印刷ヘッドおよびインク供給器ユニット組立品21を、65で識別する母体型枠部の後ろに配置する。
Claims (16)
- 一体型の内蔵印刷機構を備える手持ち式携帯電話装置であって、
信号を送受信するための携帯電話ユニットと、
前記送受信信号を印刷可能な形態に処理するための処理手段と、
印刷媒体上に前記処理信号を印刷出力するための前記処理手段に取り付けられる印刷ヘッドおよびインク分配ユニット組立品と、
前記電話装置の外部の供給源から印刷媒体上に前記処理信号の情報を印刷するための前記印刷ヘッドに受け取られる印刷媒体を供給する印刷媒体供給手段と、を含むことを特徴とする携帯電話装置。 - 請求項1に記載の携帯電話装置であって、
印刷媒体は、紙あるいはカード用紙の形態で用いられるように構成されていることを特徴とする携帯電話装置。 - 請求項1に記載の携帯電話装置であって、
印刷ヘッドは、前記印刷媒体の幅を有する単一の印刷ヘッドユニットから構成されていることを特徴とする装置。 - 請求項1に記載の携帯電話装置であって、
印刷ヘッドは、半導体製造技術によって形成されることを特徴とする携帯電話装置。 - 請求項1に記載の携帯電話装置であって、
前記印刷ヘッドおよびインク分配ユニット組立品は、前記携帯電話装置から取り外し可能であることを特徴とする携帯電話装置。 - 請求項1に記載の携帯電話装置であって、
前記印刷ヘッドは、フルカラーの印刷ヘッドであり、またインク分配ユニット組立品には、一連のインク供給貯留容器が含まれ、前記印刷ヘッドの前記各色に個別の色を供給することを特徴とする携帯電話装置。 - 請求項1に記載の携帯電話装置であって、
前記印刷ヘッドは、インクジェット印刷ヘッドであることを特徴とする携帯電話装置。 - 請求項7に記載の携帯電話装置であって、
前記印刷ヘッドは、MEMS処理技術によって製造される印刷ヘッドであることを特徴とする携帯電話装置。 - 請求項7に記載の携帯電話装置であって、
前記印刷ヘッドは、インク射出ノズル装置の配列から構成され、各ノズル装置に取り付けられる対応するサーマルベンド駆動装置を始動することによって、インクを射出することを特徴とする携帯電話装置。 - 請求項9に記載の携帯電話装置であって、
前記駆動装置は、サーマルベンド駆動装置であることを特徴とする携帯電話装置。 - 請求項2に記載の携帯電話装置であって、
前記カードは名刺の大きさであることを特徴とする携帯電話装置。 - 請求項1に記載の携帯電話装置であって、
前記印刷ヘッドと接続されている前記インク分配ユニットには、一連の取り付けインク供給貯留容器が含まれ、前記貯留容器の第1容器は他の容器より大きいことを特徴とする携帯電話装置。 - 請求項1に記載の携帯電話装置であって、
前記印刷ヘッドおよびインク分配モジュールには、認証手段が含まれることを特徴とする携帯電話装置。 - 請求項13に記載の携帯電話装置であって、
認証手段は、認証チップであることを特徴とする携帯電話装置。 - 請求項1に記載の携帯電話装置であって、
カメラ装置を備えることを特徴とする携帯電話装置。 - 請求項15に記載の携帯電話装置であって、
カメラ装置は、ビデオ撮影装置としても動作することができることを特徴とする携帯電話装置。
Applications Claiming Priority (12)
| Application Number | Priority Date | Filing Date | Title |
|---|---|---|---|
| AUPP7021A AUPP702198A0 (en) | 1998-11-09 | 1998-11-09 | Image creation method and apparatus (ART79) |
| AUPP7027A AUPP702798A0 (en) | 1998-11-09 | 1998-11-09 | Image creation method and apparatus (ART70) |
| AUPP7026 | 1998-11-09 | ||
| AUPP7020 | 1998-11-09 | ||
| AUPP7026A AUPP702698A0 (en) | 1998-11-09 | 1998-11-09 | Image creation method and apparatus(ART78) |
| AUPP7027 | 1998-11-09 | ||
| AUPP7021 | 1998-11-09 | ||
| AUPP7019A AUPP701998A0 (en) | 1998-11-09 | 1998-11-09 | Image creation method and apparatus (ART74) |
| AUPP7017A AUPP701798A0 (en) | 1998-11-09 | 1998-11-09 | Image creation method and apparatus (ART75) |
| AUPP7019 | 1998-11-09 | ||
| AUPP7020A AUPP702098A0 (en) | 1998-11-09 | 1998-11-09 | Image creation method and apparatus (ART73) |
| AUPP7017 | 1998-11-09 |
Related Parent Applications (1)
| Application Number | Title | Priority Date | Filing Date |
|---|---|---|---|
| JP2000581504A Division JP4673976B2 (ja) | 1998-11-09 | 1999-11-09 | 手持ち式ステッカ印刷デジタルカメラ装置 |
Publications (2)
| Publication Number | Publication Date |
|---|---|
| JP2010074845A true JP2010074845A (ja) | 2010-04-02 |
| JP4782224B2 JP4782224B2 (ja) | 2011-09-28 |
Family
ID=27542971
Family Applications (6)
| Application Number | Title | Priority Date | Filing Date |
|---|---|---|---|
| JP2000581504A Expired - Fee Related JP4673976B2 (ja) | 1998-11-09 | 1999-11-09 | 手持ち式ステッカ印刷デジタルカメラ装置 |
| JP2009265583A Expired - Fee Related JP4782224B2 (ja) | 1998-11-09 | 2009-11-20 | 印刷装置を有する手持ち式携帯電話装置 |
| JP2009265584A Expired - Fee Related JP4658220B2 (ja) | 1998-11-09 | 2009-11-20 | デジタル印刷装置用カートリッジ |
| JP2009265581A Expired - Fee Related JP4658219B2 (ja) | 1998-11-09 | 2009-11-20 | パーソナルコンピュータ型のディスクドライブベイ用プリンタユニット |
| JP2009265582A Expired - Fee Related JP4654311B2 (ja) | 1998-11-09 | 2009-11-20 | 印刷装置および供給用の印刷媒体を有する手持ち式携帯電話装置 |
| JP2009265580A Expired - Fee Related JP4654310B2 (ja) | 1998-11-09 | 2009-11-20 | 印刷装置用カートリッジ |
Family Applications Before (1)
| Application Number | Title | Priority Date | Filing Date |
|---|---|---|---|
| JP2000581504A Expired - Fee Related JP4673976B2 (ja) | 1998-11-09 | 1999-11-09 | 手持ち式ステッカ印刷デジタルカメラ装置 |
Family Applications After (4)
| Application Number | Title | Priority Date | Filing Date |
|---|---|---|---|
| JP2009265584A Expired - Fee Related JP4658220B2 (ja) | 1998-11-09 | 2009-11-20 | デジタル印刷装置用カートリッジ |
| JP2009265581A Expired - Fee Related JP4658219B2 (ja) | 1998-11-09 | 2009-11-20 | パーソナルコンピュータ型のディスクドライブベイ用プリンタユニット |
| JP2009265582A Expired - Fee Related JP4654311B2 (ja) | 1998-11-09 | 2009-11-20 | 印刷装置および供給用の印刷媒体を有する手持ち式携帯電話装置 |
| JP2009265580A Expired - Fee Related JP4654310B2 (ja) | 1998-11-09 | 2009-11-20 | 印刷装置用カートリッジ |
Country Status (10)
| Country | Link |
|---|---|
| EP (1) | EP1129388A4 (ja) |
| JP (6) | JP4673976B2 (ja) |
| KR (7) | KR20040101464A (ja) |
| CN (8) | CN1550881A (ja) |
| AU (4) | AU768978B2 (ja) |
| BR (1) | BR9915168A (ja) |
| CA (1) | CA2347168A1 (ja) |
| ID (1) | ID29171A (ja) |
| IL (13) | IL162280A0 (ja) |
| WO (1) | WO2000028379A1 (ja) |
Families Citing this family (57)
| Publication number | Priority date | Publication date | Assignee | Title |
|---|---|---|---|---|
| US6769128B1 (en) | 1995-06-07 | 2004-07-27 | United Video Properties, Inc. | Electronic television program guide schedule system and method with data feed access |
| US6786420B1 (en) | 1997-07-15 | 2004-09-07 | Silverbrook Research Pty. Ltd. | Data distribution mechanism in the form of ink dots on cards |
| US6618117B2 (en) | 1997-07-12 | 2003-09-09 | Silverbrook Research Pty Ltd | Image sensing apparatus including a microcontroller |
| US6948794B2 (en) | 1997-07-15 | 2005-09-27 | Silverbrook Reserach Pty Ltd | Printhead re-capping assembly for a print and demand digital camera system |
| US6986613B2 (en) | 1997-07-15 | 2006-01-17 | Silverbrook Research Pty Ltd | Keyboard |
| US6879341B1 (en) | 1997-07-15 | 2005-04-12 | Silverbrook Research Pty Ltd | Digital camera system containing a VLIW vector processor |
| US6624848B1 (en) | 1997-07-15 | 2003-09-23 | Silverbrook Research Pty Ltd | Cascading image modification using multiple digital cameras incorporating image processing |
| US6690419B1 (en) | 1997-07-15 | 2004-02-10 | Silverbrook Research Pty Ltd | Utilising eye detection methods for image processing in a digital image camera |
| US7110024B1 (en) | 1997-07-15 | 2006-09-19 | Silverbrook Research Pty Ltd | Digital camera system having motion deblurring means |
| US6641315B2 (en) | 1997-07-15 | 2003-11-04 | Silverbrook Research Pty Ltd | Keyboard |
| JP4062577B2 (ja) | 1997-07-21 | 2008-03-19 | ジェムスター ディベロプメント コーポレイション | 表示及び記録制御インタフェースのためのシステム及び方法 |
| US6508546B2 (en) * | 1998-10-16 | 2003-01-21 | Silverbrook Research Pty Ltd | Ink supply arrangement for a portable ink jet printer |
| US6733116B1 (en) | 1998-10-16 | 2004-05-11 | Silverbrook Research Pty Ltd | Ink jet printer with print roll and printhead assemblies |
| CN1867068A (zh) | 1998-07-14 | 2006-11-22 | 联合视频制品公司 | 交互式电视节目导视系统及其方法 |
| US6898762B2 (en) | 1998-08-21 | 2005-05-24 | United Video Properties, Inc. | Client-server electronic program guide |
| AUPP702098A0 (en) | 1998-11-09 | 1998-12-03 | Silverbrook Research Pty Ltd | Image creation method and apparatus (ART73) |
| US7154580B2 (en) | 1998-11-09 | 2006-12-26 | Silverbrook Research Pty Ltd | Image recordal and generation apparatus |
| US7014307B2 (en) | 1998-11-09 | 2006-03-21 | Silverbrook Research Pty Ltd | Printing unit for an image recordal and generation apparatus |
| US6906778B2 (en) | 1998-11-09 | 2005-06-14 | Silverbrook Research Pty Ltd | Image recordal and generation apparatus |
| AUPQ056099A0 (en) | 1999-05-25 | 1999-06-17 | Silverbrook Research Pty Ltd | A method and apparatus (pprint01) |
| US7407257B2 (en) | 1999-05-25 | 2008-08-05 | Silverbrook Research Pty Ltd | Mobile device including a force transfer mechanism |
| KR20130066712A (ko) | 2000-10-11 | 2013-06-20 | 유나이티드 비디오 프로퍼티즈, 인크. | 매체 콘텐츠 배달 시스템 및 방법 |
| AUPR182400A0 (en) * | 2000-11-30 | 2001-01-04 | Silverbrook Research Pty. Ltd. | An apparatus (ap27) |
| AU2002214851B2 (en) * | 2000-12-21 | 2004-07-22 | Silverbrook Research Pty Ltd | Digital photo album with internal printer |
| CN1319748C (zh) * | 2000-12-29 | 2007-06-06 | 西尔弗布鲁克研究有限公司 | 带有墨水及打印介质供应装置的打印盒 |
| AUPR256601A0 (en) | 2001-01-17 | 2001-02-08 | Silverbrook Research Pty. Ltd. | An apparatus (AP29) |
| AUPR256401A0 (en) * | 2001-01-17 | 2001-02-08 | Silverbrook Research Pty. Ltd. | An apparatus (AP17) |
| AUPR256301A0 (en) | 2001-01-17 | 2001-02-08 | Silverbrook Research Pty. Ltd. | An apparatus (AP15) |
| KR20140126420A (ko) | 2001-02-21 | 2014-10-30 | 유나이티드 비디오 프로퍼티즈, 인크. | 개인용 비디오 녹화 특징을 갖는 대화식 프로그램 가이드를 위한 시스템 및 방법 |
| JP4532767B2 (ja) * | 2001-03-21 | 2010-08-25 | キヤノン株式会社 | メディアパックおよびインクジェット記録装置 |
| US6648533B2 (en) | 2001-06-29 | 2003-11-18 | Hewlett-Packard Development Company, L.P. | Label-making inkjet printer |
| AU2005202922B2 (en) * | 2001-08-31 | 2006-10-19 | Zamtec Limited | A printhead assembly for an ink jet printer |
| AU2006252321B2 (en) * | 2001-08-31 | 2007-06-14 | Zamtec Limited | An ink jet printer with print medium and ink cartridge |
| US20030086109A1 (en) * | 2001-11-08 | 2003-05-08 | Fitch Catherine Jo | Printer help apparatus and method |
| AUPS047802A0 (en) * | 2002-02-13 | 2002-03-07 | Silverbrook Research Pty. Ltd. | Methods and systems (AP69) |
| AUPS047702A0 (en) | 2002-02-13 | 2002-03-07 | Silverbrook Research Pty. Ltd. | Methods and systems (ap68) |
| AUPS049202A0 (en) | 2002-02-13 | 2002-03-07 | Silverbrook Research Pty. Ltd. | Methods and systems (ap52) |
| US7431427B2 (en) | 2002-06-13 | 2008-10-07 | Silverbrook Research Pty Ltd | Ink supply arrangement with improved ink flows |
| JP2004117995A (ja) * | 2002-09-27 | 2004-04-15 | Nec Mobiling Ltd | カメラ付携帯電話機を用いた画像印刷システム |
| US7493646B2 (en) | 2003-01-30 | 2009-02-17 | United Video Properties, Inc. | Interactive television systems with digital video recording and adjustable reminders |
| US7801888B2 (en) | 2007-03-09 | 2010-09-21 | Microsoft Corporation | Media content search results ranked by popularity |
| US10063934B2 (en) | 2008-11-25 | 2018-08-28 | Rovi Technologies Corporation | Reducing unicast session duration with restart TV |
| US9166714B2 (en) | 2009-09-11 | 2015-10-20 | Veveo, Inc. | Method of and system for presenting enriched video viewing analytics |
| US9014546B2 (en) | 2009-09-23 | 2015-04-21 | Rovi Guides, Inc. | Systems and methods for automatically detecting users within detection regions of media devices |
| ITUD20110072A1 (it) * | 2011-05-13 | 2012-11-14 | Giacomo Battiston | Dispositivo per la riproduzione di immagini o motivi grafici in genere su superfici, e relativo procedimento |
| US9225853B2 (en) * | 2011-08-17 | 2015-12-29 | Empire Technology Development Llc | Visual images processed on portions of folded substrate |
| US8805418B2 (en) | 2011-12-23 | 2014-08-12 | United Video Properties, Inc. | Methods and systems for performing actions based on location-based rules |
| CN102658732A (zh) * | 2012-05-31 | 2012-09-12 | 广州市宝比塑料制品有限公司 | 打印机 |
| JP7014531B2 (ja) * | 2017-06-21 | 2022-02-01 | 富士通コンポーネント株式会社 | 印刷装置 |
| JP7322268B2 (ja) * | 2017-12-22 | 2023-08-07 | 富士通コンポーネント株式会社 | 記録紙カセット |
| JP7044539B2 (ja) * | 2017-12-22 | 2022-03-30 | 富士通コンポーネント株式会社 | 記録紙カセット |
| JP7244608B2 (ja) * | 2017-12-22 | 2023-03-22 | 富士通コンポーネント株式会社 | 記録紙カセット |
| JP7148251B2 (ja) * | 2018-03-23 | 2022-10-05 | 富士通コンポーネント株式会社 | 記録紙カセット及びプリンタ装置 |
| JP1634604S (ja) * | 2018-09-03 | 2019-06-24 | テープ印字機 | |
| JP7188059B2 (ja) * | 2018-12-21 | 2022-12-13 | ブラザー工業株式会社 | 印刷装置 |
| CN111580364B (zh) * | 2020-06-01 | 2025-02-28 | 珠海天威飞马打印耗材有限公司 | 碳粉容器 |
| CN113438241B (zh) * | 2021-06-25 | 2024-02-13 | 佳缘科技股份有限公司 | 一种数据传输方法及系统 |
Citations (10)
| Publication number | Priority date | Publication date | Assignee | Title |
|---|---|---|---|---|
| JPH0314879A (ja) * | 1989-06-13 | 1991-01-23 | Seiko Epson Corp | コーティング用組成物 |
| JPH04200184A (ja) * | 1990-11-29 | 1992-07-21 | Minolta Camera Co Ltd | スチルビデオカメラシステム |
| JPH05330150A (ja) * | 1992-06-03 | 1993-12-14 | Matsushita Electric Ind Co Ltd | 印刷装置 |
| JPH06149051A (ja) * | 1992-11-08 | 1994-05-27 | Ricoh Co Ltd | 現像剤収容器、プロセスカートリッジ、該容器又は該カートリッジの再利用判定装置及び画像形成装置 |
| JPH07108688A (ja) * | 1993-08-19 | 1995-04-25 | Canon Inc | インクタンクカートリッジおよび該インクタンクカートリッジが装着されるインクジェット装置 |
| JPH08118653A (ja) * | 1994-10-17 | 1996-05-14 | Xerox Corp | 平面化した厚膜層を有する超小型電気機械的ダイモジュール |
| JPH09116843A (ja) * | 1995-10-20 | 1997-05-02 | Canon Inc | プリンター付撮影装置 |
| JPH1065780A (ja) * | 1996-08-22 | 1998-03-06 | Hitachi Ltd | テレビ電話機能付きの携帯電話機 |
| JPH10112855A (ja) * | 1996-10-07 | 1998-04-28 | Kinya Matsumoto | 携帯用画像及び音声自動送信装置 |
| JPH10164538A (ja) * | 1996-11-28 | 1998-06-19 | Fumiaki Kitazawa | Icチップ料金カードが利用できる、ccd画像素子における色々なテレビカメラのデジタル画像処理によるテレビ携帯電話機。 |
Family Cites Families (51)
| Publication number | Priority date | Publication date | Assignee | Title |
|---|---|---|---|---|
| JPS5739387Y2 (ja) * | 1977-01-05 | 1982-08-30 | ||
| JPS60204361A (ja) * | 1984-03-30 | 1985-10-15 | Canon Inc | インクジエツト記録装置のインクタンク |
| JPH0230543A (ja) * | 1988-07-21 | 1990-01-31 | Seiko Epson Corp | インクジェットヘッド |
| US4904100A (en) * | 1988-12-05 | 1990-02-27 | Eastman Kodak Company | Cartridge and printer system for using roll print media |
| JPH041051A (ja) * | 1989-02-22 | 1992-01-06 | Ricoh Co Ltd | インクジェット記録装置 |
| JPH02302181A (ja) * | 1989-05-17 | 1990-12-14 | Minolta Camera Co Ltd | プリンタ付カメラ |
| US5020926A (en) * | 1990-06-08 | 1991-06-04 | Sejus Corporation | Printer mounting arrangement |
| JPH04105113A (ja) * | 1990-08-24 | 1992-04-07 | Brother Ind Ltd | 入力装置 |
| US5493409A (en) * | 1990-11-29 | 1996-02-20 | Minolta Camera Kabushiki Kaisha | Still video camera having a printer capable of printing a photographed image in a plurality of printing modes |
| JP2571162B2 (ja) * | 1991-03-15 | 1997-01-16 | 松下電器産業株式会社 | 携帯電話装置 |
| JPH0516377A (ja) * | 1991-07-08 | 1993-01-26 | Seiko Epson Corp | インクカートリツジ |
| GB2256519A (en) * | 1991-06-08 | 1992-12-09 | Nationwide Lotteries Limited | Lottery/gaming apparatus and methods |
| JP2799092B2 (ja) * | 1991-09-03 | 1998-09-17 | 富士写真フイルム株式会社 | プリンタ付きカメラとそのカートリッジ |
| US5625669A (en) * | 1991-09-27 | 1997-04-29 | Telemac Cellular Corporation | Mobile phone with internal call accounting controls |
| KR940003112B1 (ko) * | 1991-10-25 | 1994-04-13 | 삼성전자 주식회사 | 전자사진방식을 이용한 기기에 사용되는 카세트 |
| ES2106316T3 (es) * | 1991-11-22 | 1997-11-01 | Engineered Data Products Inc | Aparato para generar etiquetas. |
| JPH05201081A (ja) * | 1992-01-27 | 1993-08-10 | Canon Inc | シート給送装置及び前記シート給送装置を用いた記録装置 |
| JPH0637944A (ja) * | 1992-07-16 | 1994-02-10 | Canon Inc | ファクシミリ装置 |
| US5595447A (en) * | 1992-10-13 | 1997-01-21 | Seiko Epson Corporation | Tape cartridge and printing device having print medium cartridge |
| JP3158750B2 (ja) * | 1992-12-17 | 2001-04-23 | カシオ計算機株式会社 | 印字装置 |
| JPH07219689A (ja) * | 1994-01-31 | 1995-08-18 | Hitachi Ltd | プリンタおよびこれを用いるシステム |
| JPH082754A (ja) * | 1994-06-22 | 1996-01-09 | Matsushita Graphic Commun Syst Inc | インクジェット記録装置 |
| JP3486478B2 (ja) * | 1994-07-06 | 2004-01-13 | キヤノン株式会社 | 画像形成装置及びその制御方法 |
| JP3536370B2 (ja) * | 1994-09-28 | 2004-06-07 | ブラザー工業株式会社 | 印字テープ作成用カセットケースと印字テープ作成装置 |
| EP0710561B1 (en) * | 1994-11-07 | 2002-04-10 | Canon Aptex Inc. | Printer and ink cartridge to be employed in the same |
| US5494698A (en) * | 1994-11-07 | 1996-02-27 | Xerox Corporation | Teflon filled resinoid dicing blades for fabricating silicon die modules |
| JPH08185541A (ja) * | 1994-12-28 | 1996-07-16 | Casio Comput Co Ltd | プリンタ付き画像制御装置 |
| US5719936A (en) * | 1995-03-07 | 1998-02-17 | Siemens Aktiengesellschaft | Communication device for mobile operation having a telephone and notebook with display |
| US5631681A (en) * | 1995-03-29 | 1997-05-20 | Hewlett-Packard Company | Ink replenishing system and method for ink-jet printers |
| AUPN234695A0 (en) * | 1995-04-12 | 1995-05-04 | Eastman Kodak Company | Heater structure for monolithic lift print heads |
| US5900896A (en) * | 1995-04-27 | 1999-05-04 | Hewlett-Packard Company | Ink cartridge adapters |
| US5664013A (en) * | 1995-06-07 | 1997-09-02 | Compaq Computer Corporation | Embedded notepad system for a cellular telephone |
| KR970000595A (ko) * | 1995-06-13 | 1997-01-21 | 구자홍 | 잉크 제트 (ink jet) 프린터의 헤드 갭 (head gap) 조정장치 |
| WO1997004353A1 (en) * | 1995-07-14 | 1997-02-06 | Chumbley Gregory R | Postage and photo vending apparatus |
| JPH0936941A (ja) * | 1995-07-24 | 1997-02-07 | Mitsubishi Electric Corp | 携帯電話装置 |
| CN2241563Y (zh) * | 1995-08-25 | 1996-12-04 | 张迎霄 | 打印式卡片机 |
| JP3715695B2 (ja) * | 1995-08-29 | 2005-11-09 | キヤノン株式会社 | 複合カメラ |
| JPH09123474A (ja) * | 1995-09-05 | 1997-05-13 | Xerox Corp | 補充可能なインクジェットカートリッジ |
| JPH09113990A (ja) * | 1995-10-17 | 1997-05-02 | Fuji Photo Film Co Ltd | 証明写真装置 |
| JPH09135316A (ja) * | 1995-11-09 | 1997-05-20 | Canon Inc | 画像処理装置及び方法 |
| US5634169A (en) * | 1996-02-16 | 1997-05-27 | Lexmark International, Inc. | Multiple function encoder wheel for cartridges utilized in an electrophotographic output device |
| JPH09267487A (ja) * | 1996-04-03 | 1997-10-14 | Canon Inc | 記録ヘッド用インクタンク、記録ヘッドカートリッジ及びその記録ヘッドを用いた記録装置 |
| EP0846389A1 (en) * | 1996-06-25 | 1998-06-10 | Casio Computer Co., Ltd. | Printing apparatus and printing system |
| US5784959A (en) * | 1996-07-09 | 1998-07-28 | Larios; Frank N. | Hand-held printer and method for adhesive tape |
| JPH1058758A (ja) * | 1996-08-20 | 1998-03-03 | Brother Ind Ltd | 走査式プリンタ |
| JPH10126728A (ja) * | 1996-10-22 | 1998-05-15 | Taito Corp | 2ショットなどの画像プリントを出力するアミューズメント装置 |
| US5757388A (en) * | 1996-12-16 | 1998-05-26 | Eastman Kodak Company | Electronic camera and integral ink jet printer |
| JP3664202B2 (ja) * | 1997-02-24 | 2005-06-22 | 富士写真フイルム株式会社 | カラー感熱プリンタ |
| US6459495B1 (en) | 1997-07-15 | 2002-10-01 | Silverbrook Research Pty Ltd | Dot center tracking in optical storage systems using ink dots |
| SG126696A1 (en) | 1997-07-15 | 2006-11-29 | Silverbrook Res Pty Ltd | Printhead ink supply system |
| JP2584965Y2 (ja) * | 1997-09-29 | 1998-11-11 | セイコーエプソン株式会社 | テーププリンタ |
-
1999
- 1999-11-09 CN CNA2004100472102A patent/CN1550881A/zh active Pending
- 1999-11-09 CN CN2004100472085A patent/CN1550879B/zh not_active Expired - Fee Related
- 1999-11-09 CN CN200410094607A patent/CN100587590C/zh not_active Expired - Fee Related
- 1999-11-09 KR KR10-2004-7016332A patent/KR20040101464A/ko not_active Ceased
- 1999-11-09 KR KR1020017005869A patent/KR100698369B1/ko not_active Expired - Fee Related
- 1999-11-09 CN CNB2004100472117A patent/CN100526978C/zh not_active Expired - Fee Related
- 1999-11-09 KR KR10-2004-7016329A patent/KR20040102088A/ko not_active Ceased
- 1999-11-09 AU AU15337/00A patent/AU768978B2/en not_active Ceased
- 1999-11-09 JP JP2000581504A patent/JP4673976B2/ja not_active Expired - Fee Related
- 1999-11-09 CN CNB200410047209XA patent/CN100436132C/zh not_active Expired - Fee Related
- 1999-11-09 CA CA002347168A patent/CA2347168A1/en not_active Abandoned
- 1999-11-09 IL IL16228099A patent/IL162280A0/xx unknown
- 1999-11-09 CN CN2004100472070A patent/CN1550878B/zh not_active Expired - Fee Related
- 1999-11-09 EP EP99957715A patent/EP1129388A4/en not_active Withdrawn
- 1999-11-09 IL IL14271599A patent/IL142715A/xx not_active IP Right Cessation
- 1999-11-09 ID IDW00200101034A patent/ID29171A/id unknown
- 1999-11-09 WO PCT/AU1999/000985 patent/WO2000028379A1/en not_active Ceased
- 1999-11-09 IL IL16227799A patent/IL162277A0/xx unknown
- 1999-11-09 KR KR10-2004-7016331A patent/KR20040097350A/ko not_active Ceased
- 1999-11-09 IL IL16227899A patent/IL162278A0/xx active IP Right Grant
- 1999-11-09 KR KR10-2004-7016327A patent/KR20040101462A/ko not_active Ceased
- 1999-11-09 IL IL16228299A patent/IL162282A0/xx active IP Right Grant
- 1999-11-09 KR KR1020047016328A patent/KR100636627B1/ko not_active Expired - Fee Related
- 1999-11-09 KR KR1020047016326A patent/KR100699251B1/ko not_active Expired - Fee Related
- 1999-11-09 BR BR9915168-5A patent/BR9915168A/pt not_active Application Discontinuation
- 1999-11-09 IL IL16228199A patent/IL162281A0/xx active IP Right Grant
- 1999-11-09 IL IL16227999A patent/IL162279A0/xx active IP Right Grant
- 1999-11-09 CN CNB998130834A patent/CN1184529C/zh not_active Expired - Fee Related
- 1999-11-09 CN CNB2004100472121A patent/CN100478778C/zh not_active Expired - Fee Related
-
2004
- 2004-02-11 AU AU2004200510A patent/AU2004200510B2/en not_active Ceased
- 2004-02-11 AU AU2004200514A patent/AU2004200514B2/en not_active Ceased
- 2004-02-11 AU AU2004200517A patent/AU2004200517B2/en not_active Ceased
- 2004-06-01 IL IL162282A patent/IL162282A/en not_active IP Right Cessation
- 2004-06-01 IL IL162279A patent/IL162279A/en not_active IP Right Cessation
- 2004-06-01 IL IL162278A patent/IL162278A/en not_active IP Right Cessation
- 2004-06-01 IL IL162281A patent/IL162281A/en not_active IP Right Cessation
- 2004-06-01 IL IL162277A patent/IL162277A/en not_active IP Right Cessation
- 2004-06-01 IL IL162280A patent/IL162280A/en not_active IP Right Cessation
-
2009
- 2009-11-20 JP JP2009265583A patent/JP4782224B2/ja not_active Expired - Fee Related
- 2009-11-20 JP JP2009265584A patent/JP4658220B2/ja not_active Expired - Fee Related
- 2009-11-20 JP JP2009265581A patent/JP4658219B2/ja not_active Expired - Fee Related
- 2009-11-20 JP JP2009265582A patent/JP4654311B2/ja not_active Expired - Fee Related
- 2009-11-20 JP JP2009265580A patent/JP4654310B2/ja not_active Expired - Fee Related
Patent Citations (10)
| Publication number | Priority date | Publication date | Assignee | Title |
|---|---|---|---|---|
| JPH0314879A (ja) * | 1989-06-13 | 1991-01-23 | Seiko Epson Corp | コーティング用組成物 |
| JPH04200184A (ja) * | 1990-11-29 | 1992-07-21 | Minolta Camera Co Ltd | スチルビデオカメラシステム |
| JPH05330150A (ja) * | 1992-06-03 | 1993-12-14 | Matsushita Electric Ind Co Ltd | 印刷装置 |
| JPH06149051A (ja) * | 1992-11-08 | 1994-05-27 | Ricoh Co Ltd | 現像剤収容器、プロセスカートリッジ、該容器又は該カートリッジの再利用判定装置及び画像形成装置 |
| JPH07108688A (ja) * | 1993-08-19 | 1995-04-25 | Canon Inc | インクタンクカートリッジおよび該インクタンクカートリッジが装着されるインクジェット装置 |
| JPH08118653A (ja) * | 1994-10-17 | 1996-05-14 | Xerox Corp | 平面化した厚膜層を有する超小型電気機械的ダイモジュール |
| JPH09116843A (ja) * | 1995-10-20 | 1997-05-02 | Canon Inc | プリンター付撮影装置 |
| JPH1065780A (ja) * | 1996-08-22 | 1998-03-06 | Hitachi Ltd | テレビ電話機能付きの携帯電話機 |
| JPH10112855A (ja) * | 1996-10-07 | 1998-04-28 | Kinya Matsumoto | 携帯用画像及び音声自動送信装置 |
| JPH10164538A (ja) * | 1996-11-28 | 1998-06-19 | Fumiaki Kitazawa | Icチップ料金カードが利用できる、ccd画像素子における色々なテレビカメラのデジタル画像処理によるテレビ携帯電話機。 |
Also Published As
Similar Documents
| Publication | Publication Date | Title |
|---|---|---|
| JP4654311B2 (ja) | 印刷装置および供給用の印刷媒体を有する手持ち式携帯電話装置 | |
| WO2000072259A1 (en) | Effects module for compact printer system | |
| RU2352989C2 (ru) | Картридж носителей печати с выполненным за одно целое механизмом перемещения носителей печати | |
| AU2004200512B2 (en) | A printer unit for a computer disk drive bay |
Legal Events
| Date | Code | Title | Description |
|---|---|---|---|
| A131 | Notification of reasons for refusal |
Free format text: JAPANESE INTERMEDIATE CODE: A131 Effective date: 20110308 |
|
| A521 | Request for written amendment filed |
Free format text: JAPANESE INTERMEDIATE CODE: A523 Effective date: 20110530 |
|
| TRDD | Decision of grant or rejection written | ||
| A01 | Written decision to grant a patent or to grant a registration (utility model) |
Free format text: JAPANESE INTERMEDIATE CODE: A01 Effective date: 20110621 |
|
| A01 | Written decision to grant a patent or to grant a registration (utility model) |
Free format text: JAPANESE INTERMEDIATE CODE: A01 |
|
| A61 | First payment of annual fees (during grant procedure) |
Free format text: JAPANESE INTERMEDIATE CODE: A61 Effective date: 20110706 |
|
| FPAY | Renewal fee payment (event date is renewal date of database) |
Free format text: PAYMENT UNTIL: 20140715 Year of fee payment: 3 |
|
| R150 | Certificate of patent or registration of utility model |
Free format text: JAPANESE INTERMEDIATE CODE: R150 |
|
| R350 | Written notification of registration of transfer |
Free format text: JAPANESE INTERMEDIATE CODE: R350 |
|
| R350 | Written notification of registration of transfer |
Free format text: JAPANESE INTERMEDIATE CODE: R350 |
|
| LAPS | Cancellation because of no payment of annual fees |
