JP2010072026A - 画像形成装置 - Google Patents

画像形成装置 Download PDF

Info

Publication number
JP2010072026A
JP2010072026A JP2008236103A JP2008236103A JP2010072026A JP 2010072026 A JP2010072026 A JP 2010072026A JP 2008236103 A JP2008236103 A JP 2008236103A JP 2008236103 A JP2008236103 A JP 2008236103A JP 2010072026 A JP2010072026 A JP 2010072026A
Authority
JP
Japan
Prior art keywords
detection
adhesion amount
toner
amount control
difference
Prior art date
Legal status (The legal status is an assumption and is not a legal conclusion. Google has not performed a legal analysis and makes no representation as to the accuracy of the status listed.)
Granted
Application number
JP2008236103A
Other languages
English (en)
Other versions
JP4877299B2 (ja
Inventor
Takashi Harashima
隆 原島
Osamu Yamada
修 山田
Current Assignee (The listed assignees may be inaccurate. Google has not performed a legal analysis and makes no representation or warranty as to the accuracy of the list.)
Konica Minolta Business Technologies Inc
Original Assignee
Konica Minolta Business Technologies Inc
Priority date (The priority date is an assumption and is not a legal conclusion. Google has not performed a legal analysis and makes no representation as to the accuracy of the date listed.)
Filing date
Publication date
Application filed by Konica Minolta Business Technologies Inc filed Critical Konica Minolta Business Technologies Inc
Priority to JP2008236103A priority Critical patent/JP4877299B2/ja
Publication of JP2010072026A publication Critical patent/JP2010072026A/ja
Application granted granted Critical
Publication of JP4877299B2 publication Critical patent/JP4877299B2/ja
Expired - Fee Related legal-status Critical Current
Anticipated expiration legal-status Critical

Links

Images

Landscapes

  • Developing For Electrophotography (AREA)
  • Exposure Or Original Feeding In Electrophotography (AREA)
  • Control Or Security For Electrophotography (AREA)

Abstract

【課題】低コスト化及び装置の小型化を図ることができるとともに、目標付着量を実現するための現像バイアスを、精度良く決定することができる、画像形成装置を、提供すること。
【解決手段】2回目以降の付着量制御の前に作動して、その後に実行する予定の付着量制御手段を事前に制御する、事前制御手段を、備えている。該事前制御手段は、前回の付着量制御によって決定された現像バイアスによって、中間転写ベルト5上に検出用トナーパターン9Xを1個だけ形成し、パターン9Xについての光学式トナーセンサ9による事前制御用検出値を、目標検出値と比較して、その差異を求め、その差異に基づいて、付着量制御において形成する検出用トナーパターンの個数を種々設定する。
【選択図】図12

Description

本発明は、付着量制御手段及び/又はレーザー光量制御手段を備えた、画像形成装置に、関するものである。
画像形成装置において、像担持体上に形成されるトナーパターンの、トナー付着量及びライン幅は、同一の現像条件・露光条件の下であっても、環境・耐久等の外乱によって変化する。そのため、画像形成装置は、形成される画像の濃度を安定化させるための付着量制御を行付着量制御手段、及び/又は、形成される画像のライン幅を安定化させるためのレーザー光量制御を行うレーザー光量制御手段を、備えている。これらの制御手段は、例えば、電源投入時、スリープ復帰時、又は所定の印刷枚数に達した時に、作動する。更に、画像形成装置は、像担持体上に形成された検出用トナーパターンのトナー付着量を検出する、トナー付着量検出手段も、備えている。
そして、付着量制御手段及びレーザー光量制御手段は、いずれも、像担持体上に検出用トナーパターンを形成し、そのパターンについての上記トナー付着量検出手段による検出値に基づいて、所定の制御を行うようになっている。そして、検出用トナーパターンは、検出が終わると、廃トナーとして、廃トナーボックスに捨てられる。
ところで、近年、画像形成装置においては、ユーザーから、装置の小型化及び低コスト化が要求されている。装置の小型化の方策としては、廃トナーボックスの容量を小さくすることが提案されている。また、低コスト化の方策としては、トナー消費量を少なくすることが提案されている。
特開2006−163286号公報 特開2006−201613号公報 特開2002−31922号公報 特開2001−75319号公報 特開2004−69803号公報 特開平7−104535号公報
しかるに、従来の画像形成装置では、付着量制御手段及びレーザー光量制御手段をそれぞれ実行する際に、常に所定個数(例えば4個)の検出用トナーパターンを形成していた。
例えば、特許文献1の装置では、形成される画像の濃度の簡易測定の結果が、前回の付着量制御の結果から所定値以上離れている場合のみに、付着量制御手段が実行されるが、その際、常に所定個数の検出用トナーパターンが形成されている。
しかしながら、前回の付着量制御の時から現像特性が殆ど変わっていない場合には、検出用トナーパターンの個数は少なくてよいので、上記所定個数では多すぎることがある。その場合には、検出用トナーパターンが無駄となり、無駄な廃トナーが増える。
また、逆に、前回の付着量制御の時から現像特性が大きく変わっている場合には、検出用トナーパターンの個数は多いほど好ましいので、上記所定個数では足りないことがある。その場合には、付着量制御の精度が悪くなる。
このような問題は、レーザー光量制御においても、同様に生じる。
本発明は、上記のような問題点を解決するためになされたものである。
本発明者は、検出用トナーパターンの個数を必要に応じて決定することによって、無駄な廃トナーを低減すること、及び、制御の精度の悪化を防止すること、を考えた。
本願の第1発明は、
形成される画像の濃度を安定化させるための付着量制御を行う、付着量制御手段と、
像担持体上に形成された検出用トナーパターンのトナー付着量を検出する、トナー付着量検出手段と、
を備えており、
上記付着量制御手段が、像担持体上に検出用トナーパターンを形成し、該パターンについての上記トナー付着量検出手段による検出値に基づいて、目標付着量を示す目標検出値を実現するための現像バイアスを決定するように、構成されている、
画像形成装置において、
2回目以降の付着量制御の前に作動して、その後に実行する予定の上記付着量制御手段を事前に制御する、事前制御手段を、備えており、
上記事前制御手段は、
前回の付着量制御によって決定された現像バイアスによって、像担持体上に検出用トナーパターンを1個形成し、該パターンについての上記トナー付着量検出手段による事前制御用検出値を、上記目標検出値と比較して、その差異を求め、
上記差異が許容範囲内である場合には、上記付着量制御手段の実行を「不要」と決定して、上記付着量制御手段の実行を省略するとともに、前回の付着量制御の結果をそのまま更新し、
上記差異が上記許容範囲外である場合には、上記差異が上記許容範囲を包含する所定範囲内にあるか否かを判断し、上記差異が上記所定範囲内である場合には、検出用トナーパターンの個数を上記付着量制御手段において初期設定された個数より少なく設定し、上記差異が上記所定範囲外である場合には、上記差異の絶対値が大きいほど、検出用トナーパターンの個数を多く設定する、
ように構成されている、ことを特徴としている。
本願の第2発明は、
形成される画像のライン幅を安定化させるためのレーザー光量制御を行う、レーザー光量制御手段と、
像担持体上に形成された検出用トナーパターンのトナー付着量を検出する、トナー付着量検出手段と、
を備えており、
上記レーザー光量制御手段が、像担持体上に検出用トナーパターンを形成し、該パターンについての上記トナー付着量検出手段による検出値に基づいて、目標ライン幅を示す目標検出値を実現するためのレーザー光量を決定するように、構成されている、
画像形成装置において、
2回目以降のレーザー光量制御の前に作動して、その後に実行する予定の上記レーザー光量制御手段を事前に制御する、事前制御手段を、備えており、
上記事前制御手段は、
前回のレーザー光量制御によって決定されたレーザー光量によって、像担持体上に検出用トナーパターンを1個形成し、該パターンについての上記トナー付着量検出手段による事前制御用検出値を、上記目標検出値と比較して、その差異を求め、
上記差異が許容範囲内である場合には、上記レーザー光量制御手段の実行を「不要」と決定して、上記レーザー光量制御手段の実行を省略するとともに、前回のレーザー光量制御の結果をそのまま更新し、
上記差異が上記許容範囲外である場合には、上記差異が上記許容範囲を包含する所定範囲内にあるか否かを判断し、上記差異が上記所定範囲内である場合には、検出用トナーパターンの個数を上記レーザー光量制御手段において初期設定された個数より少なく設定し、上記差異が上記所定範囲外である場合には、上記差異の絶対値が大きいほど、検出用トナーパターンの個数を多く設定する、
ように構成されている、ことを特徴としている。
上記第1発明によれば、次のような効果を発揮できる。
(1)事前制御用検出値と目標検出値との差異が許容範囲内である場合には、付着量制御手段の実行を省略するので、検出用トナーパターンの形成を省略できる。したがって、トナー消費量を低減でき、それによって、低コスト化を図ることができ、また、廃トナー量を低減して廃トナーボックスの容量を小さくでき、それによって、装置の小型化を図ることができる。
(2)上記差異が所定範囲内である場合には、検出用トナーパターンの個数を付着量制御手段において初期設定された個数より少なく設定するので、トナー消費量すなわち廃トナー量を低減できる。したがって、上記(1)と同様の効果を発揮できる。
(3)上記差異が所定範囲外である場合には、上記差異の絶対値が大きいほど、検出用トナーパターンの個数を多く設定するので、現像特性の変化が大きくても、変化後の現像特性を精度良く得ることができる。したがって、目標付着量を実現するための現像バイアスを、精度良く決定することができる。
したがって、上記第1発明によれば、低コスト化及び装置の小型化を図ることができるとともに、目標付着量を実現するための現像バイアスを、精度良く決定することができる。
上記第2発明によれば、次のような効果を発揮できる。
(1)事前制御用検出値と目標検出値との差異が許容範囲内である場合には、レーザー光量制御手段の実行を省略するので、検出用トナーパターンの形成を省略できる。したがって、トナー消費量を低減でき、それによって、低コスト化を図ることができ、また、廃トナー量を低減して廃トナーボックスの容量を小さくでき、それによって、装置の小型化を図ることができる。
(2)上記差異が所定範囲内である場合には、検出用トナーパターンの個数をレーザー光量制御手段において初期設定された個数より少なく設定するので、トナー消費量すなわち廃トナー量を低減できる。したがって、上記(1)と同様の効果を発揮できる。
(3)上記差異が所定範囲外である場合には、上記差異の絶対値が大きいほど、検出用トナーパターンの個数を多く設定するので、光量特性の変化が大きくても、変化後の光量特性を精度良く得ることができる。したがって、目標ライン幅を実現するためのレーザー光量を、精度良く決定することができる。
したがって、上記第2発明によれば、低コスト化及び装置の小型化を図ることができるとともに、目標ライン幅を実現するためのレーザー光量を、精度良く決定することができる。
[画像形成装置の全体構成]
図1は、本発明の一実施形態の画像形成装置の概略構成を示す断面模式図である。この画像形成装置100は、電子写真式装置であり、具体的には、タンデム式のカラーレーザープリンタである。この装置100は、4個の画像形成部1〜4、中間転写ベルト5、及び定着装置6を、備えている。
中間転写ベルト5は、4個のローラ71、72、73、74に掛け渡されており、図において反時計方向(矢印X方向)に回転駆動されるように、設けられており、像担持体として機能する。ローラ71には、2次転写ローラ81が対向して配置されている。ローラ73には、中間転写ベルト5上の残留トナー等を除去するためのクリーナ82が、対向して配置されている。定着装置6は、2次転写ローラ81の上方に配置されている。
ローラ73とローラ71との間には、中間転写ベルト5に沿って且つ矢印X方向に向けて、イエロー画像形成部1、マゼンタ画像形成部2、シアン画像形成部3、及びブラック画像形成部4が、この順に配置されている。
画像形成部1〜4の各々は、ドラム型の感光体11を備えている。感光体11の周囲には、帯電装置12、露光装置13、現像装置14、1次転写ローラ15、及びクリーナ16が、この順で配置されている。クリーナ16は、感光体11上の残留トナー等を除去する。中間転写ベルト5は、1次転写ローラ15と感光体11との間を通っている。
画像形成部1〜4の各々においては、帯電装置12によって、感光体11の表面が帯電され、露光装置13によって、画像データに基づいた潜像が感光体11の表面に形成され、現像装置14によって、現像バイアスが現像ローラ141に印加されて、感光体11の表面の潜像がトナーによって現像される。
そして、画像形成装置100は、トナー付着量検出手段として機能する光学式トナーセンサ9と、形成される画像の濃度を安定化させるための付着量制御を行う、付着量制御手段と、2回目以降の付着量制御の前に作動して、その後に実行する予定の付着量制御手段を事前に制御する、事前制御手段と、を備えている。
光学式トナーセンサ9は、中間転写ベルト5に対向して配置されており、中間転写ベルト5上に形成された検出用トナーパターンのトナー付着量を検出する。図2は、光学式トナーセンサ9の出力特性を示しており、(A)はトナー付着量と出力値との関係を示し、(B)は検出用トナーパターンの隠蔽率と出力値との関係を示している。図2からわかるように、光学式トナーセンサ9は、中間転写ベルト5がトナーによって隠蔽された状態を検出する。
検出用トナーパターンは、付着量制御が終わると、廃トナーとして、クリーナ82で掻き取られ、廃トナーボックス83に捨てられる。
なお、本発明の画像形成装置の構成は、本実施形態の上記構成に限定されない。
[付着量制御手段]
付着量制御手段は、中間転写ベルト5上に付着量制御用の検出用トナーパターンを形成し、該パターンについての光学式トナーセンサ9による検出値(付着量制御用検出値)に基づいて、目標付着量を示す目標検出値を実現するための現像バイアスを決定するように、構成されている。
詳しく説明すると、次のとおりである。
図3において、横軸は、現像ローラ141に印加される現像バイアスを示し、縦軸は、中間転写ベルト5上のトナー付着量を示している。図3における線A1は、現像バイアスとトナー付着量との関係、すなわち現像特性を、示している。
ところで、現像特性は、同一の現像バイアスの下においても、環境・耐久等の外乱によって変化する。図4に示されるように、現像特性A1が現像特性A2のように変化すると、現像バイアスの決定値においては、トナー付着量が多くなり、その結果、出力される画像濃度が高くなる。図5に示されるように、現像特性A1が現像特性A3のように変化すると、現像バイアスの決定値においては、トナー付着量が少なくなり、その結果、出力される画像濃度が低くなる。
出力される画像濃度を安定させるためには、適正なタイミングで付着量制御を行い、それによって、中間転写ベルト5上に常に所定のトナー付着量が存在するように、現像バイアスを決定する必要がある。そのために、付着量制御手段が実行される。
付着量制御手段が実行されると、次のような制御が行われる。
(1)まず、図6に示されるように、4個の検出用トナーパターン9A、9B、9C、9Dが中間転写ベルト5上に形成される。これらの検出用トナーパターン9A、9B、9C、9Dは、各々異なる現像バイアスで形成されたベタパターンである。
(2)次に、図7に示されるように、検出用トナーパターン9A、9B、9C、9Dの各々のトナー付着量が、光学式トナーセンサ9による検出値から求められる。図7において、横軸は現像バイアスを示し、縦軸はトナー付着量を示している。
(3)次に、図8に示されるように、検出用トナーパターン9A、9B、9C、9Dの各々の検出値すなわちトナー付着量に基づいて、直線を引くことによって、現像特性A4が求められる。
なお、現像特性A4は、具体的には、次のようにして求められる。
例えば、検出用トナーパターン9A、9B、9C、9Dの各々の現像バイアスがVa、Vb、Vc、Vdであり、検出用トナーパターン9A、9B、9C、9Dの各々の検出値すなわちトナー付着量がMa、Mb、Mc、Mdであるとする。
(3-1)まず、現像特性を示す直線の傾き(特性傾きSt)を、算出する。
(3-1-1)初めに、隣り合う検出点の間の傾きを計算する。
すなわち、パターン9Aの検出点とパターン9Bの検出点との間の傾きSba、パターン9Bの検出点とパターン9Cの検出点との間の傾きScb、パターン9Cの検出点とパターン9Dの検出点との間の傾きSdcを、それぞれ、次のように計算する。
Sba=(Mb−Ma)/(Vb−Va)
Scb=(Mc−Mb)/(Vc−Vb)
Sdc=(Md−Mc)/(Vd−Vc)
(3-1-2)次に、上記3つの傾きSba、Scb、Sdcが閾値Sx以上か否かを判定する。
(3-1-3)そして、閾値Sx以上の傾きだけを選び、その平均を求める。得られた平均値が、上記特性傾きStである。
ここでは、上記3つの傾きSba、Scb、Sdcが、全て、閾値Sx以上であるとする。その場合、上記特性傾きStは、(Sba+Scb+Sdc)/3である。
仮に、上記2つの傾きScb及びSdcだけが、閾値Sx以上である場合には、上記特性傾きStは、(Scb+Sdc)/2である。
(3-2)次に、現像特性A4を示す直線を表す式を求める。
4つのパターン9A、9B、9C、9Dの各々の検出点の中から、目標付着量Mtに最も近い検出点を求める。ここでは、パターン9Dの検出点が目標付着量Mtに最も近いので、直線はパターン9Dの検出点(Vd,Md)を通ることとする。
したがって、現像特性A4を示す直線は、検出点(Vd,Md)を通り、且つ、上記特性傾きStの傾きを有することとなる。よって、その直線を表す式は、縦軸をMとし、横軸をVとすると、次のようになる。
M=St×(V−Vd)+Md……式(I)
(4)そして、目標とする検出値(目標検出値)すなわち目標とする所定のトナー付着量(目標付着量)を得るための現像バイアスが、現像特性A4に基づいて決定される。
具体的には、目標付着量をMtとし、目標付着量Mtを得るための現像バイアスをVtとすると、Vtは、上記式(I)に基づいて、次のようになる。
Vt={(Mt−Md)/St}+Vd
したがって、図9に示されるように、現像特性A1が現像特性A2のように変化すると、付着量制御によって、現像特性A1の場合よりも低い値の現像バイアスが決定され、また、図10に示されるように、現像特性A1が現像特性A3のように変化すると、付着量制御によって、現像特性A1の場合よりも高い値の現像バイアスが決定される。
以上のように、付着量制御手段が実行されると、中間転写ベルト5上に常に所定のトナー付着量(目標付着量)が存在することとなるので、出力される画像の濃度が安定する。
[事前制御手段]
事前制御手段は、上記付着量制御手段の実行の要否を決定し、「不要」の場合には、上記付着量制御手段の実行を省略するとともに、前回の付着量制御の結果をそのまま更新し、「要」の場合には、上記付着量制御手段を実行させるとともに、上記付着量制御手段において形成する検出用トナーパターンの個数を決定するように、構成されている。その詳細は、後述する。
[画像形成装置の作動]
本実施形態の画像形成装置の作動について説明する。図11は、作動のフローチャートを示している。なお、既に1回以上の付着量制御が行われているものとする。
まず、付着量制御を行うタイミングか否かが判断される(ステップ(以下、「S」と記載する)1)。そして、行うタイミングであると判断された場合には、既に1回以上の付着量制御が行われているので、事前制御手段が実行され、以下に示される処理が行われる(S2〜S17)。なお、行うタイミングではないと判断された場合には、事前制御手段及び付着量制御手段は実行されない。
(A)事前制御手段の作動
(1)まず、前回の付着量制御によって決定された現像バイアスによって、図12に示されるように、中間転写ベルト5上に、付着量制御用の1個の検出用トナーパターン9Xが形成される(S2)。
(2)次に、上記パターン9Xのトナー付着量が光学式トナーセンサ9により検出される(S3)。
(3)次に、上記パターン9Xについての光学式トナーセンサ9による検出値(事前制御用検出値(付着量Mo))が、目標検出値(目標付着量Mt)と比較されて、差異Δmが求められる(S4)。すなわち、Δm=Mo−Mt。差異Δmが求められると、Δmの大きさに基づいて、以下に示される処理が行われる(S5〜S17)。図13は、Δmの大きさと、付着量制御手段の場合分けされた作動と、の関係を示している。なお、図13において、dは、画像濃度の許容幅を示す値である。
(4)まず、Δmが許容範囲(−d〜+d)内か否かが判断される(S5)。−d<Δm<+dの場合は、付着量制御手段は実行されず、前回の付着量制御の結果がそのまま更新される。一方、Δmが上記許容範囲外である場合は、S6へ進む。
すなわち、S5において、Δmが上記許容範囲内にあると判断された場合には、付着量制御手段の実行が「不要」と決定される。
(5)S6では、Δmが第1所定範囲(+d〜+3d)内か否かが判断される。+d≦Δm<+3dの場合は、付着量制御手段において形成する検出用トナーパターンの個数が2個に設定され(S7)、S18へ進む。S18において、付着量制御手段は、場合[1]に基づいて作動する。一方、Δmが上記第1所定範囲外である場合は、S8へ進む。
(6)S8では、Δmが第2所定範囲(−3d〜−d)内か否かが判断される。−3d<Δm≦−dの場合は、付着量制御手段において形成する検出用トナーパターンの個数が2個に設定され(S9)、S18へ進む。S18において、付着量制御手段は、場合[2]に基づいて作動する。一方、Δmが上記第2所定範囲外である場合は、S10へ進む。
すなわち、S6〜S9において、Δmが所定範囲(−3d〜+3d)内にあると判断された場合には、付着量制御手段において形成する検出用トナーパターンの個数が、初期設定された個数である4個より、少なく設定される。
(7)S10では、Δmが+3d〜+5dの範囲内か否かが判断される。+3d≦Δm<+5dの場合は、付着量制御手段において形成する検出用トナーパターンの個数が4個に設定され(S11)、S18へ進む。S18において、付着量制御手段は、場合[3]に基づいて作動する。一方、Δmが上記範囲外の場合は、S12へ進む。
(8)S12では、Δmが−5d〜−3dの範囲内か否かが判断される。−5d<Δm≦−3dの場合は、付着量制御手段において形成する検出用トナーパターンの個数が4個に設定され(S13)、S18へ進む。S18において、付着量制御手段は、場合[4]に基づいて作動する。一方、Δmが上記範囲外の場合は、S14へ進む。
(9)S14では、Δmが+5d以上か否かが判断される。+5d≦Δmの場合は、付着量制御手段において形成する検出用トナーパターンの個数が6個に設定され(S15)、S18へ進む。S18において、付着量制御手段は、場合[5]に基づいて作動する。一方、Δmが+5d以上ではない場合は、S16へ進む。
(10)S16では、Δmが−5d以下か否かが判断される。Δm≦−5dの場合は、付着量制御手段において形成する検出用トナーパターンの個数が6個に設定され(S17)、S18へ進む。S18において、付着量制御手段は、場合[6]に基づいて作動する。
すなわち、S10〜S17においては、Δmの絶対値が大きいほど、付着量制御手段において形成する検出用トナーパターンの個数が多く設定される。
(B)付着量制御手段の作動
(場合[1])
形成する検出用トナーパターンの個数は、2個である。
・1個目のパターンを形成する現像バイアスV11は、前回の付着量制御の現像特性A1においてトナー付着量が「Mt−4d」となる値に設定する。なお、「Mt」は目標付着量である。
・2個目のパターンを形成する現像バイアスV12は、「Vt0」に設定する。なお、「Vt0」は、前回の付着量制御によって決定された現像バイアスである。
・V11は、次のようにして求める。
V11={(Mt−4d−Mt)/St0}+Vt0=Vt0−4d/St0
なお、「St0」は、前回の付着量制御において算出された特性傾きである。
・これにより、図14に示される現像特性A41が求められ、目標付着量Mtを得るための現像バイアスVtが求められる。
・この場合では、Δmが正であり、すなわち、MoがMtより大きいので、VtがVt0より低くなることが予測できる。したがって、V11をVt0より低く設定している。これにより、現像特性A41の精度を向上でき、Vtの精度を向上できる。
(場合[2])
形成する検出用トナーパターンの個数は、2個である。
・1個目のパターンを形成する現像バイアスV21は、「Vt0」に設定する。
・2個目のパターンを形成する現像バイアスV22は、前回の付着量制御の現像特性A1においてトナー付着量が「Mt+4d」となる値に設定する。
・V22は、次のようにして求める。
V22={(Mt+4d−Mt)/St0}+Vt0=Vt0+4d/St0
・これにより、図15に示される現像特性A42が求められ、目標付着量Mtを得るための現像バイアスVtが求められる。
・この場合では、Δmが負であり、すなわち、MoがMtより小さいので、VtがVt0より高くなることが予測できる。したがって、V22をVt0より高く設定している。これにより、現像特性A42の精度を向上でき、Vtの精度を向上できる。
(場合[3])
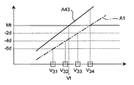
形成する検出用トナーパターンの個数は、4個である。
・1個目のパターンを形成する現像バイアスV31は、前回の付着量制御の現像特性A1においてトナー付着量が「Mt−6d」となる値に設定する。
・2個目のパターンを形成する現像バイアスV32は、前回の付着量制御の現像特性A1においてトナー付着量が「Mt−4d」となる値に設定する。
・3個目のパターンを形成する現像バイアスV33は、前回の付着量制御の現像特性A1においてトナー付着量が「Mt−2d」となる値に設定する。
・4個目のパターンを形成する現像バイアスV34は、「Vt0」に設定する。
・V31、V32、V33は、それぞれ、次のようにして求める。
V31={(Mt−6d−Mt)/St0}+Vt0=Vt0−6d/St0
V32={(Mt−4d−Mt)/St0}+Vt0=Vt0−4d/St0
V33={(Mt−2d−Mt)/St0}+Vt0=Vt0−2d/St0
・これにより、図16に示される現像特性A43が求められ、目標付着量Mtを得るための現像バイアスVtが求められる。
・この場合では、Δmが正であり、すなわち、MoがMtより大きいので、VtがVt0より低くなることが予測できる。したがって、V31、V32、V33の全てを、Vt0より低く設定している。これにより、現像特性A43の精度を向上でき、Vtの精度を向上できる。
(場合[4])
形成する検出用トナーパターンの個数は、4個である。
・1個目のパターンを形成する現像バイアスV41は、前回の付着量制御の現像特性A1においてトナー付着量が「Mt−4d」となる値に設定する。
・2個目のパターンを形成する現像バイアスV42は、前回の付着量制御の現像特性A1においてトナー付着量が「Mt−2d」となる値に設定する。
・3個目のパターンを形成する現像バイアスV43は、「Vt0」に設定する。
・4個目のパターンを形成する現像バイアスV44は、前回の付着量制御の現像特性A1においてトナー付着量が「Mt+2d」となる値に設定する。

・V41、V42、V44は、それぞれ、次のようにして求める。
V41={(Mt−4d−Mt)/St0}+Vt0=Vt0−4d/St0
V42={(Mt−2d−Mt)/St0}+Vt0=Vt0−2d/St0
V44={(Mt+2d−Mt)/St0}+Vt0=Vt0+2d/St0
・これにより、図17に示される現像特性A44が求められ、目標付着量Mtを得るための現像バイアスVtが求められる。
・この場合では、Δmが負であり、すなわち、MoがMtより小さいので、VtがVt0より高くなることが予測できる。したがって、V44を、Vt0より高く設定している。これにより、現像特性A44の精度を向上でき、Vtの精度を向上できる。
(場合[5])
形成する検出用トナーパターンの個数は、6個である。
・1個目のパターンを形成する現像バイアスV51は、前回の付着量制御の現像特性A1においてトナー付着量が「Mt−10d」となる値に設定する。
・2個目のパターンを形成する現像バイアスV52は、前回の付着量制御の現像特性A1においてトナー付着量が「Mt−8d」となる値に設定する。
・3個目のパターンを形成する現像バイアスV53は、前回の付着量制御の現像特性A1においてトナー付着量が「Mt−6d」となる値に設定する。
・4個目のパターンを形成する現像バイアスV54は、前回の付着量制御の現像特性A1においてトナー付着量が「Mt−4d」となる値に設定する。
・5個目のパターンを形成する現像バイアスV55は、前回の付着量制御の現像特性A1においてトナー付着量が「Mt−2d」となる値に設定する。
・6個目のパターンを形成する現像バイアスV56は、「Vt0」に設定する。
・V51、V52、V53、V54、V55は、それぞれ、次のようにして求める。
V51={(Mt−10d−Mt)/St0}+Vt0=Vt0−10d/St0
V52={(Mt−8d−Mt)/St0}+Vt0=Vt0−8d/St0
V53={(Mt−6d−Mt)/St0}+Vt0=Vt0−6d/St0
V54={(Mt−4d−Mt)/St0}+Vt0=Vt0−4d/St0
V55={(Mt−2d−Mt)/St0}+Vt0=Vt0−2d/St0
・これにより、図18に示される現像特性A45が求められ、目標付着量Mtを得るための現像バイアスVtが求められる。
・この場合では、Δmが正であり、すなわち、MoがMtより大きいので、VtがVt0より低くなることが予測できる。したがって、V51、V52、V53、V54、V55の全てを、Vt0より低く設定している。これにより、現像特性A45の精度を向上でき、Vtの精度を向上できる。
(場合[6])
形成する検出用トナーパターンの個数は、6個である。
・1個目のパターンを形成する現像バイアスV61は、前回の付着量制御の現像特性A1においてトナー付着量が「Mt−4d」となる値に設定する。
・2個目のパターンを形成する現像バイアスV62は、前回の付着量制御の現像特性A1においてトナー付着量が「Mt−2d」となる値に設定する。
・3個目のパターンを形成する現像バイアスV63は、「Vt0」に設定する。
・4個目のパターンを形成する現像バイアスV64は、前回の付着量制御の現像特性A1においてトナー付着量が「Mt+2d」となる値に設定する。
・5個目のパターンを形成する現像バイアスV65は、前回の付着量制御の現像特性A1においてトナー付着量が「Mt+4d」となる値に設定する。
・6個目のパターンを形成する現像バイアスV66は、前回の付着量制御の現像特性A1においてトナー付着量が「Mt+6d」となる値に設定する。
・V61、V62、V64、V65、V66は、それぞれ、次のようにして求める。
V61={(Mt−4d−Mt)/St0}+Vt0=Vt0−4d/St0
V62={(Mt−2d−Mt)/St0}+Vt0=Vt0−2d/St0
V64={(Mt+2d−Mt)/St0}+Vt0=Vt0+2d/St0
V65={(Mt+4d−Mt)/St0}+Vt0=Vt0+4d/St0
V66={(Mt+6d−Mt)/St0}+Vt0=Vt0+6d/St0
・これにより、図19に示される現像特性A46が求められ、目標付着量Mtを得るための現像バイアスVtが求められる。
・この場合では、Δmが負であり、すなわち、MoがMtより小さいので、VtがVt0より高くなることが予測できる。したがって、V65、V66を、Vt0より高く設定している。これにより、現像特性A46の精度を向上でき、Vtの精度を向上できる。
[効果]
以上のように、本実施形態によれば、次のような効果を発揮できる。
(1)差異Δmが許容範囲(−d〜+d)内である場合には、付着量制御手段の実行を省略するので、検出用トナーパターンの形成を省略できる。したがって、トナー消費量を低減でき、それによって、低コスト化を図ることができ、また、廃トナー量を低減して廃トナーボックスの容量を小さくでき、それによって、装置の小型化を図ることができる。
(2)差異Δmが所定範囲(−3d〜+3d)内である場合には、検出用トナーパターンの個数を付着量制御手段において初期設定された個数より少なく設定するので、トナー消費量すなわち廃トナー量を低減できる。したがって、上記(1)と同様の効果を発揮できる。
(3)差異Δmが所定範囲(−3d〜+3d)外である場合には、差異Δmの絶対値が大きいほど、検出用トナーパターンの個数を多く設定するので、現像特性の変化が大きくても、変化後の現像特性(A43〜A46)を精度良く得ることができる。したがって、目標付着量Mtを実現するための現像バイアスVtを、精度良く決定することができる。
したがって、本実施形態によれば、低コスト化及び装置の小型化を図ることができるとともに、目標付着量を実現するための現像バイアスを、精度良く決定することができる。
しかも、次のような効果を発揮できる。
(4)事前制御用検出値(付着量Mo)が目標検出値(目標付着量Mt)より大きい場合には、目標付着量Mtを実現するための現像バイアスVtが、前回の付着量制御によって決定された現像バイアスVt0より、低くなることが予測できるので、付着量制御において形成する少なくとも1個の検出用トナーパターンの現像バイアスを、Vt0より低く設定している。したがって、付着量制御で求められる現像特性の精度を向上でき、それ故に、現像バイアスVtの精度を向上できる。
(5)事前制御用検出値(付着量Mo)が目標検出値(目標付着量Mt)より小さい場合には、目標付着量Mtを実現するための現像バイアスVtが、前回の付着量制御によって決定された現像バイアスVt0より、高くなることが予測できるので、付着量制御において形成する少なくとも1個の検出用トナーパターンの現像バイアスを、Vt0より高く設定している。したがって、付着量制御で求められる現像特性の精度を向上でき、それ故に、現像バイアスVtの精度を向上できる。
[変形構造]
(1)本発明は、上述したような、付着量制御手段を備えた画像形成装置だけでなく、レーザー光量制御手段を備えた画像形成装置にも、同様に適用できる。
具体的には、上述の説明において、「付着量制御」を「レーザー光量制御」に、また、「現像バイアス」を「レーザー光量」に、また、「(トナー)付着量」を「ライン幅」に、それぞれ、置き換えれば、本発明の、レーザー光量制御手段を備えた画像形成装置の、実施形態が成立する。なお、その実施形態では、例えば、検出用トナーパターン9A、9B、9C、9Dに代えて、図20に示される検出用トナーパターン9E、9F、9G、9Hを形成し、また、検出用トナーパターン9Xに代えて、図21に示される検出用トナーパターン9Yを形成する。
(2)形成する検出用トナーパターンの個数は、上記実施形態では、2個、4個、6個を採用しているが、本発明では、上記趣旨を逸脱しない限り、これらの個数に限定されない。
(3)上記実施形態では、場合[1]〜[6]を採用しているが、本発明では、上記趣旨を逸脱しない限り、これらの場合に限定されない。
(4)本発明の画像形成装置は、フルカラーの複写機、プリンタ、ファクシミリ機、又はこれら複合機等に、適用できる。
(5)上記実施形態では、像担持体として中間転写ベルトを用いているが、本発明では、像担持体として、感光体ベルト、感光体ドラム、又は中間転写ドラムを、用いてもよい。
本発明の画像形成装置は、低コスト化及び装置の小型化を図ることができるとともに、目標付着量を実現するための現像バイアスを、精度良く決定することができるので、産業上の利用価値が大である。
本実施形態の、付着量制御手段を備えた画像形成装置の、概略構成を示す断面模式図である。 光学式トナーセンサの出力特性を示す図である。 現像バイアスとトナー付着量との関係(現像特性)を示す図である。 トナー付着量が多くなるよう現像特性が変化する場合を示す図である。 トナー付着量が少なくなるよう現像特性が変化する場合を示す図である。 付着量制御において形成された検出用トナーパターンを示す図である。 付着量制御における現像バイアスとトナー付着量との関係を示す図である。 付着量制御で求められた現像特性を示す図である。 低い値の現像バイアスが決定される場合の、現像特性の変化を示す図である。 高い値の現像バイアスが決定される場合の、現像特性の変化を示す図である。 本実施形態の画像形成装置の作動を示すフローチャートである。 事前制御手段によって形成された検出用トナーパターンを示す図である。 Δmの大きさと、付着量制御手段の場合分けされた作動と、の関係を示す図である。 場合[1]において求められる現像特性を示す図である。 場合[2]において求められる現像特性を示す図である。 場合[3]において求められる現像特性を示す図である。 場合[4]において求められる現像特性を示す図である。 場合[5]において求められる現像特性を示す図である。 場合[6]において求められる現像特性を示す図である。 レーザー光量制御手段を備えた画像形成装置の作動における、レーザー光量制御において形成された検出用トナーパターンを、示す図である。 レーザー光量制御手段を備えた画像形成装置の作動における、事前制御手段によって形成された検出用トナーパターンを、示す図である。
符号の説明
5 中間転写ベルト(像担持体) 9 光学式トナーセンサ 9A、9B、9C、9D (付着量制御用の)検出用トナーパターン 9X (事前制御用の)検出用トナーパターン 9E、9F、9G、9H (レーザー光量制御用の)検出用トナーパターン 9Y (事前制御用の)検出用トナーパターン 100 画像形成装置

Claims (6)

  1. 形成される画像の濃度を安定化させるための付着量制御を行う、付着量制御手段と、
    像担持体上に形成された検出用トナーパターンのトナー付着量を検出する、トナー付着量検出手段と、
    を備えており、
    上記付着量制御手段が、像担持体上に検出用トナーパターンを形成し、該パターンについての上記トナー付着量検出手段による検出値に基づいて、目標付着量を示す目標検出値を実現するための現像バイアスを決定するように、構成されている、
    画像形成装置において、
    2回目以降の付着量制御の前に作動して、その後に実行する予定の上記付着量制御手段を事前に制御する、事前制御手段を、備えており、
    上記事前制御手段は、
    前回の付着量制御によって決定された現像バイアスによって、像担持体上に検出用トナーパターンを1個形成し、該パターンについての上記トナー付着量検出手段による事前制御用検出値を、上記目標検出値と比較して、その差異を求め、
    上記差異が許容範囲内である場合には、上記付着量制御手段の実行を「不要」と決定して、上記付着量制御手段の実行を省略するとともに、前回の付着量制御の結果をそのまま更新し、
    上記差異が上記許容範囲外である場合には、上記差異が上記許容範囲を包含する所定範囲内にあるか否かを判断し、上記差異が上記所定範囲内である場合には、検出用トナーパターンの個数を上記付着量制御手段において初期設定された個数より少なく設定し、上記差異が上記所定範囲外である場合には、上記差異の絶対値が大きいほど、検出用トナーパターンの個数を多く設定する、
    ように構成されている、ことを特徴とする、画像形成装置。
  2. 上記付着量制御手段は、上記事前制御用検出値が上記目標検出値より小さい場合には、検出用トナーパターンの少なくとも1個を、前回の付着量制御によって決定された現像バイアスより大きい現像バイアスによって、形成し、上記事前制御用検出値が上記目標検出値より大きい場合には、検出用トナーパターンの少なくとも1個を、前回の付着量制御によって決定された現像バイアスより小さい現像バイアスによって、形成するように、構成されている、請求項1記載の画像形成装置。
  3. 上記付着量制御手段において初期設定された、検出用トナーパターンの個数は、4個であり、
    上記許容範囲が、上記目標検出値から±dの範囲であり、
    上記所定範囲が、上記目標検出値から±3dの範囲であり、
    上記差異が上記所定範囲内である場合に設定される、検出用トナーパターンの個数は、2個であり、
    上記差異の絶対値が3d〜5dの範囲の場合に設定される、検出用トナーパターンの個数は、4個であり、
    上記差異の絶対値が5dより大きい場合に設定される、検出用トナーパターンの個数は、6個であり、
    上記dは、画像濃度の許容幅を示す値である、
    請求項1記載の画像形成装置。
  4. 形成される画像のライン幅を安定化させるためのレーザー光量制御を行う、レーザー光量制御手段と、
    像担持体上に形成された検出用トナーパターンのトナー付着量を検出する、トナー付着量検出手段と、
    を備えており、
    上記レーザー光量制御手段が、像担持体上に検出用トナーパターンを形成し、該パターンについての上記トナー付着量検出手段による検出値に基づいて、目標ライン幅を示す目標検出値を実現するためのレーザー光量を決定するように、構成されている、
    画像形成装置において、
    2回目以降のレーザー光量制御の前に作動して、その後に実行する予定の上記レーザー光量制御手段を事前に制御する、事前制御手段を、備えており、
    上記事前制御手段は、
    前回のレーザー光量制御によって決定されたレーザー光量によって、像担持体上に検出用トナーパターンを1個形成し、該パターンについての上記トナー付着量検出手段による事前制御用検出値を、上記目標検出値と比較して、その差異を求め、
    上記差異が許容範囲内である場合には、上記レーザー光量制御手段の実行を「不要」と決定して、上記レーザー光量制御手段の実行を省略するとともに、前回のレーザー光量制御の結果をそのまま更新し、
    上記差異が上記許容範囲外である場合には、上記差異が上記許容範囲を包含する所定範囲内にあるか否かを判断し、上記差異が上記所定範囲内である場合には、検出用トナーパターンの個数を上記レーザー光量制御手段において初期設定された個数より少なく設定し、上記差異が上記所定範囲外である場合には、上記差異の絶対値が大きいほど、検出用トナーパターンの個数を多く設定する、
    ように構成されている、ことを特徴とする、画像形成装置。
  5. 上記レーザー光量制御手段は、上記事前制御用検出値が上記目標検出値より小さい場合には、検出用トナーパターンの少なくとも1個を、前回のレーザー光量制御によって決定されたレーザー光量より大きいレーザー光量によって、形成し、上記事前制御用検出値が上記目標検出値より大きい場合には、検出用トナーパターンの少なくとも1個を、前回のレーザー光量制御によって決定されたレーザー光量より小さいレーザー光量によって、形成するように、構成されている、請求項4記載の画像形成装置。
  6. 上記レーザー光量制御手段において初期設定された、検出用トナーパターンの個数は、4個であり、
    上記許容範囲が、上記目標検出値から±dの範囲であり、
    上記所定範囲が、上記目標検出値から±3dの範囲であり、
    上記差異が上記所定範囲内である場合に設定される、検出用トナーパターンの個数は、2個であり、
    上記差異の絶対値が3d〜5dの範囲の場合に設定される、検出用トナーパターンの個数は、4個であり、
    上記差異の絶対値が5dより大きい場合に設定される、検出用トナーパターンの個数は、6個であり、
    上記dは、画像濃度の許容幅を示す値である、
    請求項4記載の画像形成装置。
JP2008236103A 2008-09-16 2008-09-16 画像形成装置 Expired - Fee Related JP4877299B2 (ja)

Priority Applications (1)

Application Number Priority Date Filing Date Title
JP2008236103A JP4877299B2 (ja) 2008-09-16 2008-09-16 画像形成装置

Applications Claiming Priority (1)

Application Number Priority Date Filing Date Title
JP2008236103A JP4877299B2 (ja) 2008-09-16 2008-09-16 画像形成装置

Publications (2)

Publication Number Publication Date
JP2010072026A true JP2010072026A (ja) 2010-04-02
JP4877299B2 JP4877299B2 (ja) 2012-02-15

Family

ID=42203915

Family Applications (1)

Application Number Title Priority Date Filing Date
JP2008236103A Expired - Fee Related JP4877299B2 (ja) 2008-09-16 2008-09-16 画像形成装置

Country Status (1)

Country Link
JP (1) JP4877299B2 (ja)

Cited By (1)

* Cited by examiner, † Cited by third party
Publication number Priority date Publication date Assignee Title
JP2014203008A (ja) * 2013-04-09 2014-10-27 コニカミノルタ株式会社 画像形成装置及びレーザーパワーの調整方法

Citations (7)

* Cited by examiner, † Cited by third party
Publication number Priority date Publication date Assignee Title
JPH08286566A (ja) * 1995-04-15 1996-11-01 Fuji Xerox Co Ltd 画像形成装置及びその画像色ずれ調整方法
JPH11338217A (ja) * 1998-05-22 1999-12-10 Canon Inc 画像形成装置
JP2002031922A (ja) * 2001-06-06 2002-01-31 Seiko Epson Corp 画像形成装置および画像形成方法
JP2004198805A (ja) * 2002-12-19 2004-07-15 Fuji Xerox Co Ltd 画像形成装置
JP2006026936A (ja) * 2004-07-12 2006-02-02 Canon Inc 画像形成装置および方法
JP2006201613A (ja) * 2005-01-21 2006-08-03 Canon Inc 画像形成装置およびその制御方法
JP2010002744A (ja) * 2008-06-20 2010-01-07 Konica Minolta Business Technologies Inc 画像形成装置および準備動作実行方法

Patent Citations (7)

* Cited by examiner, † Cited by third party
Publication number Priority date Publication date Assignee Title
JPH08286566A (ja) * 1995-04-15 1996-11-01 Fuji Xerox Co Ltd 画像形成装置及びその画像色ずれ調整方法
JPH11338217A (ja) * 1998-05-22 1999-12-10 Canon Inc 画像形成装置
JP2002031922A (ja) * 2001-06-06 2002-01-31 Seiko Epson Corp 画像形成装置および画像形成方法
JP2004198805A (ja) * 2002-12-19 2004-07-15 Fuji Xerox Co Ltd 画像形成装置
JP2006026936A (ja) * 2004-07-12 2006-02-02 Canon Inc 画像形成装置および方法
JP2006201613A (ja) * 2005-01-21 2006-08-03 Canon Inc 画像形成装置およびその制御方法
JP2010002744A (ja) * 2008-06-20 2010-01-07 Konica Minolta Business Technologies Inc 画像形成装置および準備動作実行方法

Cited By (1)

* Cited by examiner, † Cited by third party
Publication number Priority date Publication date Assignee Title
JP2014203008A (ja) * 2013-04-09 2014-10-27 コニカミノルタ株式会社 画像形成装置及びレーザーパワーの調整方法

Also Published As

Publication number Publication date
JP4877299B2 (ja) 2012-02-15

Similar Documents

Publication Publication Date Title
JP6264643B2 (ja) 画像形成装置
US9599946B2 (en) Image forming apparatus
US20110318065A1 (en) Apparatus and method of color shift correction, and medium storing color shift correction program
JP5870645B2 (ja) 画像形成装置及び階調補正用トナー像形成方法
JP5206181B2 (ja) 画像形成装置
JP2017126050A (ja) 画像形成装置
JP2004029217A (ja) 画像形成装置の書き込み補正方法及び画像形成装置
JP2007132987A (ja) 画像形成装置及びカブリ制御方法
JP4877299B2 (ja) 画像形成装置
US8837966B2 (en) Control apparatus and method, image forming apparatus and system, and computer readable medium
JP2008175966A (ja) タンデム型カラー画像形成装置
JP2006119504A (ja) 画像形成装置
JP4280725B2 (ja) 画像形成装置及びその制御方法
JP2004085710A (ja) 画像形成装置
JP5770146B2 (ja) 画像形成装置及び画像形成方法
JP4865305B2 (ja) 画像形成プロセス制御装置及びこれを備えた画像形成装置
JP5253825B2 (ja) 画像形成装置
JP4731961B2 (ja) 画像形成装置
JP2007249086A (ja) 画像形成装置、画像形成装置の制御方法、プログラムおよび記録媒体
JP2016109752A (ja) 画像形成装置
JP6554988B2 (ja) 画像形成装置
JP6395585B2 (ja) 画像形成装置及びその制御方法
JP6127021B2 (ja) 現像装置およびこれを備える画像形成装置
US10551785B2 (en) Image forming apparatus and image forming apparatus control program
JP2009163116A (ja) 画像形成装置

Legal Events

Date Code Title Description
RD04 Notification of resignation of power of attorney

Free format text: JAPANESE INTERMEDIATE CODE: A7424

Effective date: 20091228

A131 Notification of reasons for refusal

Free format text: JAPANESE INTERMEDIATE CODE: A131

Effective date: 20110830

A521 Written amendment

Free format text: JAPANESE INTERMEDIATE CODE: A523

Effective date: 20111007

TRDD Decision of grant or rejection written
A01 Written decision to grant a patent or to grant a registration (utility model)

Free format text: JAPANESE INTERMEDIATE CODE: A01

Effective date: 20111101

A01 Written decision to grant a patent or to grant a registration (utility model)

Free format text: JAPANESE INTERMEDIATE CODE: A01

A61 First payment of annual fees (during grant procedure)

Free format text: JAPANESE INTERMEDIATE CODE: A61

Effective date: 20111114

R150 Certificate of patent or registration of utility model

Ref document number: 4877299

Country of ref document: JP

Free format text: JAPANESE INTERMEDIATE CODE: R150

Free format text: JAPANESE INTERMEDIATE CODE: R150

FPAY Renewal fee payment (event date is renewal date of database)

Free format text: PAYMENT UNTIL: 20141209

Year of fee payment: 3

S111 Request for change of ownership or part of ownership

Free format text: JAPANESE INTERMEDIATE CODE: R313111

R350 Written notification of registration of transfer

Free format text: JAPANESE INTERMEDIATE CODE: R350

LAPS Cancellation because of no payment of annual fees