JP2010071224A - 内燃機関の燃料供給装置 - Google Patents

内燃機関の燃料供給装置 Download PDF

Info

Publication number
JP2010071224A
JP2010071224A JP2008240820A JP2008240820A JP2010071224A JP 2010071224 A JP2010071224 A JP 2010071224A JP 2008240820 A JP2008240820 A JP 2008240820A JP 2008240820 A JP2008240820 A JP 2008240820A JP 2010071224 A JP2010071224 A JP 2010071224A
Authority
JP
Japan
Prior art keywords
pressure
fuel
feed pressure
fuel pump
low
Prior art date
Legal status (The legal status is an assumption and is not a legal conclusion. Google has not performed a legal analysis and makes no representation as to the accuracy of the status listed.)
Granted
Application number
JP2008240820A
Other languages
English (en)
Other versions
JP4661930B2 (ja
Inventor
Susumu Kojima
進 小島
Tomojiro Sugimoto
知士郎 杉本
Current Assignee (The listed assignees may be inaccurate. Google has not performed a legal analysis and makes no representation or warranty as to the accuracy of the list.)
Toyota Motor Corp
Original Assignee
Toyota Motor Corp
Priority date (The priority date is an assumption and is not a legal conclusion. Google has not performed a legal analysis and makes no representation as to the accuracy of the date listed.)
Filing date
Publication date
Application filed by Toyota Motor Corp filed Critical Toyota Motor Corp
Priority to JP2008240820A priority Critical patent/JP4661930B2/ja
Priority to CN2009801369665A priority patent/CN102159821A/zh
Priority to EP09736474A priority patent/EP2337937A2/en
Priority to US13/119,872 priority patent/US20110162622A1/en
Priority to PCT/IB2009/006880 priority patent/WO2010032121A2/en
Publication of JP2010071224A publication Critical patent/JP2010071224A/ja
Application granted granted Critical
Publication of JP4661930B2 publication Critical patent/JP4661930B2/ja
Expired - Fee Related legal-status Critical Current
Anticipated expiration legal-status Critical

Links

Images

Classifications

    • FMECHANICAL ENGINEERING; LIGHTING; HEATING; WEAPONS; BLASTING
    • F02COMBUSTION ENGINES; HOT-GAS OR COMBUSTION-PRODUCT ENGINE PLANTS
    • F02DCONTROLLING COMBUSTION ENGINES
    • F02D41/00Electrical control of supply of combustible mixture or its constituents
    • F02D41/30Controlling fuel injection
    • F02D41/3082Control of electrical fuel pumps
    • FMECHANICAL ENGINEERING; LIGHTING; HEATING; WEAPONS; BLASTING
    • F02COMBUSTION ENGINES; HOT-GAS OR COMBUSTION-PRODUCT ENGINE PLANTS
    • F02DCONTROLLING COMBUSTION ENGINES
    • F02D41/00Electrical control of supply of combustible mixture or its constituents
    • F02D41/02Circuit arrangements for generating control signals
    • F02D41/04Introducing corrections for particular operating conditions
    • F02D41/06Introducing corrections for particular operating conditions for engine starting or warming up
    • F02D41/062Introducing corrections for particular operating conditions for engine starting or warming up for starting
    • FMECHANICAL ENGINEERING; LIGHTING; HEATING; WEAPONS; BLASTING
    • F02COMBUSTION ENGINES; HOT-GAS OR COMBUSTION-PRODUCT ENGINE PLANTS
    • F02DCONTROLLING COMBUSTION ENGINES
    • F02D41/00Electrical control of supply of combustible mixture or its constituents
    • F02D41/24Electrical control of supply of combustible mixture or its constituents characterised by the use of digital means
    • F02D41/2406Electrical control of supply of combustible mixture or its constituents characterised by the use of digital means using essentially read only memories
    • F02D41/2425Particular ways of programming the data
    • F02D41/2429Methods of calibrating or learning
    • F02D41/2441Methods of calibrating or learning characterised by the learning conditions
    • F02D41/2448Prohibition of learning
    • FMECHANICAL ENGINEERING; LIGHTING; HEATING; WEAPONS; BLASTING
    • F02COMBUSTION ENGINES; HOT-GAS OR COMBUSTION-PRODUCT ENGINE PLANTS
    • F02MSUPPLYING COMBUSTION ENGINES IN GENERAL WITH COMBUSTIBLE MIXTURES OR CONSTITUENTS THEREOF
    • F02M37/00Apparatus or systems for feeding liquid fuel from storage containers to carburettors or fuel-injection apparatus; Arrangements for purifying liquid fuel specially adapted for, or arranged on, internal-combustion engines
    • F02M37/04Feeding by means of driven pumps
    • F02M37/08Feeding by means of driven pumps electrically driven
    • F02M37/10Feeding by means of driven pumps electrically driven submerged in fuel, e.g. in reservoir
    • FMECHANICAL ENGINEERING; LIGHTING; HEATING; WEAPONS; BLASTING
    • F02COMBUSTION ENGINES; HOT-GAS OR COMBUSTION-PRODUCT ENGINE PLANTS
    • F02MSUPPLYING COMBUSTION ENGINES IN GENERAL WITH COMBUSTIBLE MIXTURES OR CONSTITUENTS THEREOF
    • F02M63/00Other fuel-injection apparatus having pertinent characteristics not provided for in groups F02M39/00 - F02M57/00 or F02M67/00; Details, component parts, or accessories of fuel-injection apparatus, not provided for in, or of interest apart from, the apparatus of groups F02M39/00 - F02M61/00 or F02M67/00; Combination of fuel pump with other devices, e.g. lubricating oil pump
    • F02M63/02Fuel-injection apparatus having several injectors fed by a common pumping element, or having several pumping elements feeding a common injector; Fuel-injection apparatus having provisions for cutting-out pumps, pumping elements, or injectors; Fuel-injection apparatus having provisions for variably interconnecting pumping elements and injectors alternatively
    • F02M63/0225Fuel-injection apparatus having a common rail feeding several injectors ; Means for varying pressure in common rails; Pumps feeding common rails
    • F02M63/023Means for varying pressure in common rails
    • F02M63/0235Means for varying pressure in common rails by bleeding fuel pressure
    • F02M63/025Means for varying pressure in common rails by bleeding fuel pressure from the common rail
    • FMECHANICAL ENGINEERING; LIGHTING; HEATING; WEAPONS; BLASTING
    • F02COMBUSTION ENGINES; HOT-GAS OR COMBUSTION-PRODUCT ENGINE PLANTS
    • F02DCONTROLLING COMBUSTION ENGINES
    • F02D2200/00Input parameters for engine control
    • F02D2200/02Input parameters for engine control the parameters being related to the engine
    • F02D2200/06Fuel or fuel supply system parameters
    • F02D2200/0602Fuel pressure
    • FMECHANICAL ENGINEERING; LIGHTING; HEATING; WEAPONS; BLASTING
    • F02COMBUSTION ENGINES; HOT-GAS OR COMBUSTION-PRODUCT ENGINE PLANTS
    • F02DCONTROLLING COMBUSTION ENGINES
    • F02D2250/00Engine control related to specific problems or objectives
    • F02D2250/31Control of the fuel pressure
    • FMECHANICAL ENGINEERING; LIGHTING; HEATING; WEAPONS; BLASTING
    • F02COMBUSTION ENGINES; HOT-GAS OR COMBUSTION-PRODUCT ENGINE PLANTS
    • F02DCONTROLLING COMBUSTION ENGINES
    • F02D41/00Electrical control of supply of combustible mixture or its constituents
    • F02D41/30Controlling fuel injection
    • F02D41/38Controlling fuel injection of the high pressure type
    • F02D41/3809Common rail control systems
    • F02D41/3836Controlling the fuel pressure
    • F02D41/3845Controlling the fuel pressure by controlling the flow into the common rail, e.g. the amount of fuel pumped
    • FMECHANICAL ENGINEERING; LIGHTING; HEATING; WEAPONS; BLASTING
    • F02COMBUSTION ENGINES; HOT-GAS OR COMBUSTION-PRODUCT ENGINE PLANTS
    • F02MSUPPLYING COMBUSTION ENGINES IN GENERAL WITH COMBUSTIBLE MIXTURES OR CONSTITUENTS THEREOF
    • F02M59/00Pumps specially adapted for fuel-injection and not provided for in groups F02M39/00 -F02M57/00, e.g. rotary cylinder-block type of pumps
    • F02M59/20Varying fuel delivery in quantity or timing
    • F02M59/36Varying fuel delivery in quantity or timing by variably-timed valves controlling fuel passages to pumping elements or overflow passages
    • F02M59/366Valves being actuated electrically

Landscapes

  • Engineering & Computer Science (AREA)
  • Chemical & Material Sciences (AREA)
  • Combustion & Propulsion (AREA)
  • Mechanical Engineering (AREA)
  • General Engineering & Computer Science (AREA)
  • Electrical Control Of Air Or Fuel Supplied To Internal-Combustion Engine (AREA)
  • Fuel-Injection Apparatus (AREA)
  • Combined Controls Of Internal Combustion Engines (AREA)

Abstract

【課題】内燃機関の運転中に低圧燃料ポンプを常時稼働させる場合に比べて低圧燃料ポンプの消費電力を低減することができる内燃機関の燃料供給装置を提供する。
【解決手段】燃料供給装置は低圧燃料ポンプ6が高圧燃料ポンプ7へ燃料を送る際のフィード圧の不足を要因とした高圧燃料ポンプ7の吐出不良を回避できるように、低圧燃料ポンプ6を制御する低圧ポンプ制御部42を備えている。低圧ポンプ制御部42は、フィード圧がゲージ圧にして0であっても上記吐出不良を回避できる場合には、停止信号Sgを実行部53に送って低圧燃料ポンプ6を停止させる。
【選択図】図2

Description

本発明は、内燃機関にて駆動される高圧燃料ポンプに対して、電動式の低圧燃料ポンプを利用して燃料を送り、高圧燃料ポンプにて加圧された燃料を内燃機関に供給する内燃機関の燃料供給装置に関する。
内燃機関の燃料供給装置として、高圧燃料ポンプが燃料過剰供給状態にある場合に、低圧燃料ポンプの吐出量制御における目標燃圧を通常範囲よりも低下させるものが知られている(特許文献1)。また、高圧燃料ポンプの要求燃料量に対して低圧燃料ポンプの吐出量が不足する場合、低圧燃料ポンプと高圧燃料ポンプとの間に設けられた低圧レギュレータの設定値を低下させて低圧燃料ポンプの負荷を低減する燃料供給装置も知られている(特許文献2)。その他、本発明に関連する先行技術文献として特許文献3及び4が存在する。
特開2005−307931号公報 特開平11−210582号公報 特開平11−182371号公報 特開平9−184460号公報
特許文献1又は2の燃料供給装置のように、低圧燃料ポンプ及び高圧燃料ポンプ間の燃圧であるフィード圧を運転状態に応じて変更することにより、低圧燃料ポンプの負荷を低減することができる。しかしながら、これらの装置は、内燃機関の運転中に低圧燃料ポンプが常時稼働しているため内燃機関が運転している間に低圧燃料ポンプによる電力消費が続く。従って、これらの装置には低圧燃料ポンプの電力消費を更に低減するための改善の余地があると言える。
そこで、本発明は、内燃機関の運転中に低圧燃料ポンプを常時稼働させる場合に比べて低圧燃料ポンプの消費電力を低減することができる内燃機関の燃料供給装置を提供することを目的とする。
本発明の内燃機関の燃料供給装置は、内燃機関にて駆動される高圧燃料ポンプに対して、電動式の低圧燃料ポンプを利用して燃料を送り、前記高圧燃料ポンプにて加圧された燃料を前記内燃機関に供給する内燃機関の燃料供給装置において、前記低圧燃料ポンプが前記高圧燃料ポンプへ燃料を送る際のフィード圧の不足を要因とした前記高圧燃料ポンプの吐出不良を回避できるように、前記低圧燃料ポンプを制御する低圧ポンプ制御手段を備え、前記低圧ポンプ制御手段は、前記フィード圧がゲージ圧にして0であっても前記吐出不良を回避できる場合には前記低圧燃料ポンプを停止させるものである(請求項1)。
この燃料供給装置によれば、高圧燃料ポンプの吐出不良を回避できるように低圧燃料ポンプが制御されるため、高圧燃料ポンプの吐出不良を回避できる限度までフィード圧を下げることができる。従って、低圧燃料ポンプの消費電力を高圧燃料ポンプの吐出不良を招くことなく限界まで低減できる。しかも、低圧燃料ポンプのフィード圧がゲージ圧にして0であっても高圧燃料ポンプの吐出不良を回避できる場合には低圧燃料ポンプが停止されるから、内燃機関の運転中に低圧燃料ポンプを常時稼働させる場合と比べて低圧燃料ポンプの消費電力をより低減することができる。
本発明の燃料供給装置の一態様において、燃料の飽和蒸気圧と前記高圧燃料ポンプの燃料吸引時の圧力損失との和に基づいて前記吐出不良を回避できる要求フィード圧を算出するフィード圧算出手段を更に備え、前記低圧ポンプ制御手段は、前記フィード圧算出手段が算出した前記要求フィード圧によって燃料が前記高圧燃料ポンプへ送られるように前記低圧燃料ポンプを制御してもよい(請求項2)。高圧燃料ポンプの吐出不良はその内部で燃料が沸騰(蒸発)してベーパーが発生することにより引き起こされる。こうした燃料の沸騰は高圧燃料ポンプ内の圧力が燃料温度に対応した飽和蒸気圧未満になると発生する。高圧燃料ポンプ内の圧力は低圧燃料ポンプによるフィード圧から、高圧燃料ポンプによる燃料吸引時の圧力損失を減算した値に相当する。この態様によれば、飽和蒸気圧と圧力損失との和に基づいて高圧燃料ポンプの吐出不良を回避できる要求フィード圧が算出されるため、例えばその要求フィード圧を飽和蒸気圧と圧力損失との和と同一、又は燃料の性状や圧力損失のばらつきを考慮して定められたその和よりも大きい値とすることにより、低圧燃料ポンプの消費電力を抑えつつ高圧燃料ポンプの吐出不良を回避できる。
この態様において、前記低圧ポンプ制御手段は、前記フィード圧算出手段が算出した前記要求フィード圧が大気圧以下の場合に前記低圧燃料ポンプを停止させてもよい(請求項3)。この場合には、要求フィード圧が大気圧以下の場合に低圧燃料ポンプが停止するため、低圧燃料ポンプの駆動期間をより短縮できる。
要求フィード圧は燃料の飽和蒸気圧と高圧ポンプの燃料吸引時の圧力損失との和に基づいて算出されるが、演算誤差や燃料の性状のばらつき等の種々の要因が存在するため、高圧燃料ポンプの吐出不良を回避できる適正値から要求フィード圧がずれる可能性がある。そこで、以下の態様のように要求フィード圧を補正することができる。
即ち、前記高圧燃料ポンプには、前記内燃機関に供給する燃料の燃圧を調整可能な調整手段が設けられており、実際の燃圧と標準値との偏差が低減するように、前記偏差に応じた制御量を前記調整手段に与えることにより前記調整手段を制御する高圧ポンプ制御手段と、前記高圧ポンプ制御手段が前記調整手段に与える前記制御量に基づいて前記フィード圧算出手段が算出した前記要求フィード圧を補正するフィード圧補正手段と、を更に備えてもよい(請求項4)。仮に、要求フィード圧が適正値からずれることにより高圧燃料ポンプの吐出不良が生じた場合には、その適正値からのずれが高圧燃料ポンプ下流の燃圧の標準値からのずれとして現れるため調整手段に与えられる制御量が変化する。この態様によれば、要求フィード圧の補正がこうした制御量に基づいて行われるため、圧力センサ等の実際のフィード圧を検出する手段を設けることなく要求フィード圧を補正できる。そのため、部品点数の増加を伴うことなく低圧燃料ポンプの正確な制御を実現できる。
要求フィード圧の補正方法としては種々の方法が考えられるが、例えば、前記フィード圧補正手段は、前記制御量が所定値以上になった場合に前記要求フィード圧を増加方向に補正してもよい(請求項5)。制御量が所定値以上になった場合は、高圧燃料ポンプ下流の燃圧が不足していることになるので、フィード圧が不足側にずれていることが分かる。この態様によれば、制御量が所定値以上になった場合に要求フィード圧が増加方向に補正されるのでフィード圧の不足側のずれを解消することができる。また、前記フィード圧補正手段は、前記制御量が所定範囲内に維持されることを条件として前記要求フィード圧を減少方向に徐々に補正してもよい(請求項6)。このような補正を行うことによって、要求フィード圧を可能な限り低くできるので低圧燃料ポンプの消費電力の低減効果が向上する。
こうした要求フィード圧の補正結果を学習させて、以後の要求フィード圧の算出に反映させることも可能である。例えば、前記飽和蒸気圧に相関する前記内燃機関の機関温度と、前記圧力損失に相関する機関回転数とのそれぞれを変数として前記要求フィード圧を与えるフィード圧特定手段を記憶する記憶手段と、前記フィード圧補正手段による補正後の前記要求フィード圧を前記機関温度及び前記機関回転数に関連づけて記憶し、その記憶内容に基づいて前記フィード圧特定手段が与える前記要求フィード圧を修正する学習処理を行う学習手段と、を更に備え、前記フィード圧算出手段は、前記機関温度及び前記機関回転数のそれぞれを取得するとともに前記フィード圧特定手段を利用して前記要求フィード圧を算出してもよい(請求項7)。
燃料の飽和蒸気圧の温度特性は燃料の性状によって変化する。例えば、季節に応じて燃料メーカが燃料成分を調整することが一般的である。こうした調整では、夏場は高温再始動性を改善する目的で燃料の飽和蒸気圧が低くなるように調整してベーパーの発生を抑制する一方で、冬場は低温始動性を改善する目的で燃料の飽和蒸気圧が高くなるように調整して燃料の気化性を高めている。このような事情から、要求フィード圧の算出をフィード圧特定手段に基づいて行う場合、燃料の飽和蒸気圧に相関する機関温度、圧力損失に相関する機関回転数、及び要求フィード圧の三者の対応関係が固定されていると、要求フィード圧の補正量が拡大して制御が不安定になるおそれがある。この態様によれば、学習処理を行うことにより要求フィード圧の補正結果がフィード圧特定手段に反映されるので、要求フィード圧の補正量の拡大を抑えることができ要求フィード圧の制御性が向上する。
ここで、フィード圧特定手段について説明する。飽和蒸気圧は燃料温度に依存する物理量であるため、燃料温度が与えられれば燃料の飽和蒸気圧は一意的に定められる。燃料温度は冷却水温や潤滑油温に代表される機関温度と略等価と見ることができるため、機関温度を燃料温度とみなしても特段の支障はない。特に、燃料温度が機関温度を上回ることは殆どないため、機関温度を燃料温度とみなした場合には余裕代が発生し安全側に働く。一方、高圧燃料ポンプの圧力損失は、ポンプ入口面積に反比例し、燃料のポンプへの流入速度に比例する。燃料の流入速度は燃料ポンプの駆動速度で決まる。駆動速度は機関回転数と比例し、ポンプ入口面積は固定値であるから、機関回転数に基づいて駆動速度を求めることにより高圧燃料ポンプの吸引時の圧力損失を算出できる。以上のような考え方に基づいて、フィード圧特定手段は、要求フィード圧を与えるための変数として飽和蒸気圧の代りに機関温度を、圧力損失の代りに機関回転数をそれぞれ用いて、これらと要求フィード圧との対応関係を定めているので、機関温度及び機関回転数のそれぞれを取得した上でフィード圧特定手段を利用することにより飽和蒸気圧と圧力損失との和に基づいた要求フィード圧を算出することが可能になる。
学習処理の実行又は禁止の条件は適宜定めることができる。例えば、前記機関温度の変化が所定範囲を超えて大きい場合に前記学習手段による前記学習処理を中止させる中止手段を更に備えてもよい(請求項8)。例えば、始動後暖機完了前の期間のように、機関温度の変化が大きい場合には機関温度と燃料温度との相関性が低くなる。そのため、このような場合に学習処理を実行すると却って実態からずれた学習が行われるおそれがある。この態様によれば、機関温度の変化が大きい場合には学習処理が中止されるため、こうした弊害を回避することができる。
また、前記機関回転数の変化が所定範囲を超えて大きい場合に、前記フィード圧補正手段による前記要求フィード圧の補正と、前記学習手段による前記学習処理とをそれぞれ中止させる中止手段を更に備えてもよい(請求項9)。例えば、加減速時のように、機関回転数の変化が大きい場合は、高圧燃料ポンプの調整手段に与える制御量の変化が大きくなる。従って、このような場合には、調整手段に与える制御量に基づく補正が不安定になる可能性がある。この態様によれば、機関回転数の変化が所定範囲を超えて大きい場合に要求フィード圧の補正と学習処理のそれぞれが禁止されるため、フィード圧の制御精度を良好な状態に維持することができる。
内燃機関の始動時のエミッションを低減するため、始動時に高圧燃料ポンプ下流の燃圧を速やかに上昇して高燃圧で燃料を供給する要請がある。こうした操作は一般に始動昇圧と呼ばれている。そこで、前記内燃機関の始動時に前記高圧燃料ポンプによる燃圧を速やかに上昇させる必要性がある場合に、前記低圧燃料ポンプが前記高圧燃料ポンプへ始動時に燃料を送る際の始動時フィード圧を上限値に設定する一方で、前記必要性がない場合に前記始動時フィード圧を前記内燃機関の機関温度に基づいて設定する始動時設定手段を更に備え、前記低圧ポンプ制御手段は、前記内燃機関の始動時に前記始動時設定手段が設定した前記始動時フィード圧によって燃料が前記高圧燃料ポンプへ送られるように前記低圧燃料ポンプを制御してもよい(請求項10)。これにより、始動時における燃圧を速やかに上昇させることができるため、始動時のエミッションを低減することができる。
始動時における速やかな燃圧の上昇を行う必要性がない場合には、機関温度に基づいて始動時フィード圧が設定される。例えば、前記始動時設定手段は、前記必要性がない場合、前記機関温度が常温領域の上限値よりも高くなるほど大きな値となるように、前記機関温度が前記常温領域の下限値よりも低くなるほど大きな値となるように、前記始動時フィード圧を設定してもよい(請求項11)。この態様によれば、機関温度が常温領域よりも低い場合には始動時フィード圧が高く設定されるため、燃料の気化促進と燃料流量の確保を十分に行うことができる。そして、機関温度が常温領域よりも高い場合には始動時フィード圧が高く設定されるため、燃料のベーパーの発生を抑制することができる。前記機関温度が前記常温領域内にある場合には前記始動時フィード圧を一定値に設定してもよい(請求項12)。
以上説明したように、本発明の燃料供給装置によれば、高圧燃料ポンプの吐出不良を回避できるように低圧燃料ポンプが制御されるため、高圧燃料ポンプの吐出不良を回避できる限度までフィード圧を下げることができる。従って、低圧燃料ポンプの消費電力を高圧燃料ポンプの吐出不良を招くことなく限界まで低減できる。しかも、低圧燃料ポンプのフィード圧がゲージ圧にして0であっても高圧燃料ポンプの吐出不良を回避できる場合には低圧燃料ポンプが停止されるから、内燃機関の運転中に低圧燃料ポンプを常時稼働させる場合と比べて低圧燃料ポンプの消費電力をより低減することができる。
(第1の形態)
図1は本発明の一形態に係る燃料供給装置が適用された内燃機関の燃料供給系を模式的に示している。内燃機関1は不図示の車両に走行用動力源として搭載される。内燃機関1は直列4気筒型で筒内直接噴射型の火花点火内燃機関として構成されている。燃料供給装置2は内燃機関1の気筒毎に設けられた燃料噴射弁3を備えていて、各燃料噴射弁3は先端部を気筒内に臨ませるようにして不図示のシリンダヘッドに取り付けられている。
各燃料噴射弁3による燃料供給を行うため、燃料供給装置2は燃料であるガソリンが貯留された燃料タンク5から燃料を汲み上げる低圧燃料ポンプ6と、気筒内に供給する燃料の圧力(燃圧)を高圧化する高圧燃料ポンプ7と、高圧燃料ポンプ7から吐出された燃料を各燃料噴射弁3へ分配するデリバリパイプ8とを備えている。高圧燃料ポンプ7には低圧燃料ポンプ6の利用によって燃料が送られ、高圧燃料ポンプ7にて加圧された燃料はデリバリパイプ8を介して内燃機関1の気筒毎に分配される。
低圧燃料ポンプ6と高圧燃料ポンプ7とは低圧通路9によって結ばれており、その低圧通路9には燃料を濾過するフィルタ10と、ポンプ駆動に伴う燃料の脈動を減衰させるパルセーションダンパ11とがそれぞれ取り付けられている。低圧通路9には低圧燃料ポンプ6の下流から分岐する分岐通路12が接続されており、その分岐通路12には低圧通路9内の圧力が所定の上限値を超えることを防止するプレッシャーレギュレータ13が設けられている。高圧燃料ポンプ7とデリバリパイプ8とは高圧通路14にて結ばれている。
デリバリーパイプ8には余剰燃料を燃料タンク5に戻すリターン通路15が接続されている。リターン通路15にはリリーフバルブ16が取り付けられていて、そのリリーフバルブ16は燃圧が上限値を超えた場合にリターン通路15を開通させる。これにより、余剰燃料は燃料タンク5に戻される。リターン通路15は高圧燃料ポンプ7とも通じており、高圧燃料ポンプ7の余剰燃料もリターン通路15を介して燃料タンク5に戻される。
低圧燃料ポンプ6は燃料タンク5内に取り付けられている。低圧燃料ポンプ6は、その内部構造の図示を略したが、直流電動モータとそのモータにて駆動されるインペラーとを備えた周知の回転型電動式ポンプとして構成されている。
高圧燃料ポンプ7は内燃機関1のカムシャフト17から取り出した動力にて駆動される周知のプランジャ式ポンプとして構成されている。高圧燃料ポンプ7はポンプハウジング18に形成された吸入口18a及び吐出口18bを有しており、吸入口18aには低圧通路9が吐出口18bには高圧通路14がそれぞれ接続されている。ポンプハウジング18にはプランジャ20が往復自在に収容されるプランジャ室18cが形成されいて、このプランジャ室18cは吸入口18a及び吐出口18bのそれぞれと連通している。吸入口18aには電磁駆動式の吸入弁20が設けられており、吐出口18bには燃料の逆流を防止するチェックバルブ21が設けられている。高圧燃料ポンプ7には、カムシャフト17の回転をプランジャ20の往復運動に変換するプランジャ駆動装置23が設けられており、この駆動装置23はカムシャフト17に形成されたポンプ駆動カム24と、プランジャ20に連結されたカムフォロア25と、カムフォロア25をポンプ駆動カム24に押し付けるリターンスプリング26とを備えている。
高圧燃料ポンプ7は、内燃機関1の運転によりカムシャフト17が回転するとプランジャ20がプランジャ室18c内を往復運動する。プランジャ20の往復運動に合わせて吸入弁20の開閉動作が制御されることにより吐出量を調整することができる。吸入弁20はソレノイド27にて駆動される。ソレノイド27への通電が停止された場合に吸入口18aが開かれるように、吸入弁20には開弁スプリング28が取り付けられている。高圧燃料ポンプ7の圧縮行程中における吸入弁20の閉弁期間を増減させることにより、ポンプ下流の燃圧を変化させることができる。従って、図示の吸入弁20は本発明に係る調整手段に相当する。
低圧燃料ポンプ6及び高圧燃料ポンプ7のそれぞれの動作はエンジンコントロールユニット(ECU)30にて制御される。周知のように、ECU30は各種センサの出力情報を取得し、燃料噴射量や点火時期等の運転パラメータを演算し、各燃料噴射弁3や不図示の点火プラグ等の制御対象を動作させるコンピュータとして構成されている。図示を省略したが、ECU30には主演算装置として機能するマイクロプロセッサ及びその動作に必要な記憶装置等の周辺装置が内蔵されている。ECU30に接続される各種センサは多岐に亘るため本発明に関連するもののみを図示する。本発明に関連するセンサとしては、デリバリパイプ8内の圧力(燃圧)に応じた信号を出力する燃圧センサ31、内燃機関1の回転速度(機関回転数)に応じた信号を出力するクランク角センサ32及び内燃機関1内を循環する冷却水の温度(冷却水温)に応じた信号を出力する水温センサ33が設けられている。
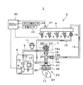
図2は燃料供給装置2の制御系の機能ブロック図を示している。図示するように、ECU30は、高圧燃料ポンプ7を制御する高圧ポンプ制御部41と、低圧燃料ポンプ6を制御する低圧ポンプ制御部42と、これらの制御部41、42で使用される各種情報を読み書きできる記憶部43とを有している。
高圧ポンプ制御部41は燃圧センサ31から実際の燃圧Prを取得し、比較部45にて燃圧Prと標準値Psとの偏差δを算出し、その偏差δを駆動デューティ算出部46に送る。燃圧の標準値Psは標準値算出部47にて算出される。標準値算出部47は記憶部43に記憶されている現在の燃料噴射量Qを読み出して、その燃料噴射量Qに基づいて標準値Psを算出する。なお、燃料噴射量Qは機関回転数や負荷率等の各種物理量に基づいて別途演算される。駆動デューティ演算部46は偏差δに応じた制御量である駆動デューティDuを算出し、その駆動デューティDuを実行部48及び低圧ポンプ制御部42のそれぞれに送る。実行部48は駆動デューティDuで吸入弁20のソレノイド27に通電する。これにより、高圧燃料ポンプ7(の吸入弁20)は偏差δが低減する方向に制御されて、燃圧は運転状態に見合った標準値に落ち着く。
低圧ポンプ制御部42はクランク角センサ32から機関回転数Neを、水温センサ33から冷却水温Twをそれぞれ取得し、要求フィード圧算出部50にて機関回転数Ne及び冷却水温Twに基づいて要求フィード圧Pdを算出する。要求フィード圧算出部50はその要求フィード圧Pdを補正部51に送る。要求フィード圧Pdは高圧燃料ポンプ7による吐出不良を回避できる値となるように要求フィード圧算出部50にて算出される。要求フィード圧算出部50は記憶部43に記憶されているフィード圧算出マップM1を読み出して、このマップM1を用いて要求フィード圧Pdを算出する。データ構造の図示を省略したが、フィード圧算出マップM1は冷却水温Twと機関回転数Neとのそれぞれを変数として要求フィード圧Pdを与えるように構成されている。高圧燃料ポンプ7の吐出不良はその内部(プランジャ室18c)で燃料が沸騰してベーパーが発生することにより引き起こされる。こうした燃料の沸騰は高圧燃料ポンプ7内の圧力が燃料温度に対応した飽和蒸気圧未満になると発生する。
図3は、燃料の飽和蒸気圧線図に要求フィード圧算出部50が算出した要求フィード圧Pdを重ね合わせた図であり、燃料の飽和蒸気圧Pvと要求フィード圧Pdとの関係が示されている。この図から明らかなように、要求フィード圧Pdは、燃料の飽和蒸気圧Pvに沿って燃料温度Tfに対して同傾向で変化しており、各燃料温度Tfで飽和蒸気圧Pvよりも高い値を示している。要求フィード圧Pdと飽和蒸気圧Pvとの差は、高圧燃料ポンプ7の燃料吸引時の圧力損失Lに相当している。高圧燃料ポンプ7内の圧力は、低圧燃料ポンプ6によるフィード圧から高圧燃料ポンプ7による燃料吸引時の圧力損失を減算した値である。従って、図3の要求フィード圧Pdで燃料が高圧燃料ポンプ7へ送られていれば、高圧燃料ポンプ7内の圧力は飽和蒸気圧Pvを下回ることがない。そのため、高圧燃料ポンプ7のプランジャ室18cで燃料が沸騰することなく、ベーパーの発生もないので高圧燃料ポンプ7の吐出不良を回避することができる。図3に明示されているように、要求フィード圧Pdには大気圧を下回る場合がある。即ち、フィード圧算出マップM1には、ゲージ圧で負となる値も要求フィード圧Pdとして定義されている。要求フィード圧Pdがゲージ圧で負となる範囲Rnにおいては、実際のフィード圧がゲージ圧にして0であっても高圧燃料ポンプ7の吐出不良を回避できる。
飽和蒸気圧は燃料温度に依存する物理量であるため、燃料温度が与えられれば飽和蒸気圧は一意的に定められる。燃料温度は冷却水温と略等価と見ることができるため、冷却水温を燃料温度とみなしても特段の支障はない。特に、燃料温度が冷却水温を上回ることは殆どないため、冷却水温を燃料温度とみなした場合には余裕代が発生し安全側に働く。高圧燃料ポンプ7の圧力損失は、ポンプ入口面積に反比例し、燃料のポンプへの流入速度に比例する。燃料の流入速度は燃料ポンプの駆動速度で決まる。駆動速度は機関回転数と比例し、ポンプ入口面積は固定値であるから、機関回転数に基づいて駆動速度を求めることにより高圧燃料ポンプの吸引時の圧力損失を算出できる。このように、冷却水温Twは燃料の飽和蒸気圧Pvに相関し、機関回転数Neは高圧燃料ポンプ7の燃料吸引時の圧力損失Lに相関する。従って、フィード圧算出マップM1は要求フィード圧Pdを与えるための変数として飽和蒸気圧Pvの代りに冷却水温Twを、圧力損失Lの代りに機関回転数Neをそれぞれ用いて、これらと要求フィード圧Pdとの対応関係が定められている。フィード圧算出マップM1に記述される各物理量の対応関係は予め実機を用いて実験的に調査することもできるし、所定の演算モデルを利用したシミュレーションにより調査することもできる。具体的には、フィード圧算出マップM1は、飽和蒸気圧Pvと圧力損失Lとの和(図3参照)と同一値の要求フィード圧Pdを与えるように構成されている。これにより、低圧燃料ポンプ6の消費電力を抑えつつ高圧燃料ポンプ7の吐出不良を回避できる。なお、燃料の性状や圧力損失のばらつきを考慮して、飽和蒸気圧Pvと圧力損失Lとの和よりも数%大きな値が要求フィード圧Pdとして与えられるようにフィード圧算出マップM1を構成することも可能である。
図2に示すように、補正部51は、高圧ポンプ制御部41から受け取った駆動デューティDuと記憶部43に保持された所定値Thとを比較し、駆動デューティDuが所定値Th以上になった場合に要求フィード圧Pdを増加方向に補正し、補正後の要求フィード圧Pdを要求電力変換部52へ送る。所定値Thは燃料噴射量Qの関数として定義されている。既述のように、要求フィード圧算出部50はフィード圧算出マップM1に基づいて要求フィード圧Pdを算出しているが、演算誤差や燃料の性状のばらつき等の種々の要因が存在するため、高圧燃料ポンプ7の吐出不良を回避できる適正値から要求フィード圧Pdがずれる可能性がある。仮に、要求フィード圧Pdが適正値からずれることにより高圧燃料ポンプ7の吐出不良が生じた場合には、その適正値からのずれが高圧燃料ポンプ7下流の燃圧の標準値Psからのずれとして現れる。そのため、吸入弁20のソレノイド27に与えられる駆動デューティDuが変化する。駆動デューティDuが増加した場合は燃圧が不足していることになるので要求フィード圧Pdが不足側にずれていることが分かる。
補正部51は駆動デューティDuの増加の程度を所定値Thにて評価し、所定値Th以上になった場合に要求フィード圧Pdを増加方向に補正しているため要求フィード圧Pdの不足側のずれを解消できる。これにより、高圧燃料ポンプ7の吐出不良が顕在化する前に要求フィード圧Pdを適正値に回復できる。駆動デューティDuが所定値Th未満の場合は、高圧燃料ポンプ7の吐出不良が発生する心配がないので、補正部51は要求フィード圧Pdの補正を行わずにこれを要求電力変換部52へ送る。このように、要求フィード圧Pdの補正が高圧燃料ポンプ7の駆動デューティDuに基づいて行われるため、圧力センサ等の実際のフィード圧を検出する手段を設けることなく要求フィード圧Pdを補正できる。そのため、部品点数の増加を伴うことなく低圧燃料ポンプ6の正確な制御を実現できる。なお、補正部51が行う補正方法としては、上記とは異なる方法を採用することもできる。即ち、補正部51は、駆動デューティDuが予め記憶部43に保持した所定範囲内に維持されることを条件として要求フィード圧Pdを減少方向に徐々に補正することもできる。このような補正を行うことによって、要求フィード圧Pdを可能な限り低くできるので低圧燃料ポンプ6の消費電力をより低減できる。この補正は、補正部51が行う上記の補正とともに同時に実施することも可能である。
要求電力変換部52は、補正部51から送られた要求フィード圧Pdを要求電力Wdに変換して、その要求電力Wdを実行部53に送る。要求電力Wdは低圧燃料ポンプ6による要求フィード圧Pdの実現に必要な供給電力である。要求電力変換部52は記憶部43に予め保持された、要求フィード圧Pdを変数として要求電力Wdを与える変換マップM2を読み出して、その変換マップM2を検索することにより要求フィード圧Pdを要求電力Wdに変換する。要求電力変換部52は、要求フィード圧Pdがゲージ圧にして0以下である場合はそれを要求電力Wdに変換することなくポンプ停止信号Sgを実行部53に送る。
実行部53は要求電力Wd相当の電力を低圧燃料ポンプ6(の直流モータ)に供給する。これにより、低圧燃料ポンプ6が駆動されて要求フィード圧Pdを実現することができる。また、実行部53は、要求電力変換部52から停止信号Sgを受け取った場合、低圧燃料ポンプ6への電力供給を中断して低圧燃料ポンプ6を停止させる。これにより、要求フィード圧Pdが大気圧以下の場合に低圧燃料ポンプ6が停止するため、低圧燃料ポンプ6の駆動期間を短縮できる。
本形態によれば、ECU30の低圧ポンプ制御部42により、高圧燃料ポンプ7の吐出不良を回避できるように低圧燃料ポンプ6が制御されるため、高圧燃料ポンプ7の吐出不良を回避できる限度までフィード圧を下げることができる。従って、低圧燃料ポンプ6の消費電力を高圧燃料ポンプ7の吐出不良を招くことなく限界まで低減できる。しかも、低圧燃料ポンプ6のフィード圧がゲージ圧にして0であっても高圧燃料ポンプ7の吐出不良を回避できる場合には低圧燃料ポンプ6が停止されるから、内燃機関1の運転中に低圧燃料ポンプ6を常時稼働させる場合と比べて低圧燃料ポンプ6の消費電力をより低減することができる。
本形態においては、ECU30の低圧ポンプ制御部42が本発明に係る低圧ポンプ制御手段に、高圧ポンプ制御部41が本発明に係る高圧ポンプ制御手段に、要求フィード圧算出部50が本発明に係るフィード圧算出手段に、補正部51が本発明に係るフィード圧補正手段に、それぞれ相当する。
(第2の形態)
次に、本発明の燃料供給装置の第2の形態を図4を参照しながら説明する。なお、第2の形態の物理的構成は第1の形態と共通であるから重複する説明を省略する。第2の形態は、要求フィード圧の補正後にフィード圧算出マップM1の内容を修正する学習処理を行う点に特徴を有している。図4は、第2の形態に係る燃料供給装置2の制御系の機能ブロック図を示している。この図において、第1の形態と共通の構成には同一の参照符号が付されている。なお、特に断らない限り、同一の参照符号が付された構成は第1の形態の構成と同一機能を持つ。
図4に示すように、ECU30は、要求フィード圧Pdの補正結果をフィード圧算出マップM1に反映させる学習部55を有している。本形態の補正部51は補正後の要求フィード圧Pdを要求電力変換部52に送るとともに学習部55にも送る。学習部55は補正部51から得た要求フィード圧Pdを、クランク角センサ32及び水温センサ33から得た機関回転数Ne及び冷却水温Twに関連付けて記憶する。その一方で、学習部55は記憶部43からフィード圧算出マップM1を読み出し、記憶した機関回転数Ne及び冷却水温Twに基づいてフィード圧算出マップM1を検索し、その検索により得られた要求フィード圧Pdを補正後の要求フィード圧Pdに書き換える。これにより、フィード圧算出マップM1の内容が修正される。そして、学習部55は修正後のフィード圧算出マップM1を記憶部43に記憶させる。学習部55はこうした学習処理を行うことにより、本発明に係る学習手段として機能する。これにより、要求フィード圧Pdの補正結果がフィード圧算出マップM1に反映されるので、補正部51による要求フィード圧Pdの補正量の拡大を抑えることができ制御性が向上する。仮に、こうした学習処理を行わない場合には、燃料の性状変化に対して補正部51による補正が追い付かなかったり、補正量が拡大して制御が不安定になるおそれがある。例えば、季節に応じて燃料メーカが燃料成分を調整することが一般的であるが、こうした調整では、夏場は高温再始動性を改善する目的で燃料の飽和蒸気圧が低くなるように調整してベーパーの発生を抑制する一方で、冬場は低温始動性を改善する目的で燃料の飽和蒸気圧が高くなるように調整して燃料の気化性を高めている。学習部55が行う学習処理はこうした事情に柔軟に対応することができる。
ECU30は、補正部51による要求フィード圧Pdの補正及び学習部55による学習処理の少なくともいずれか一方を所定の条件で中止させる中止部56を更に備えている。例えば、内燃機関1の始動後暖機完了前の期間のように、冷却水温Twの変化が大きい場合には冷却水温Twと燃料温度との相関性が低くなる。そのため、このような場合に学習処理を実行すると却って実態からずれた学習が行われるおそれがある。そこで、中止部56は冷却水温Twを水温センサ33から取得し、その変化が記憶部43から読み出した所定範囲R1を超えて大きい場合は学習部55に対して中止指令を送る。その中止指令を受けた学習部55は上述した学習処理を直ちに中止する。これにより、冷却水温Twの変化が大きい場合に学習処理が中止されるため、こうした弊害を回避することができる。
また、加減速時のように、機関回転数Neの変化が大きい場合は、高圧燃料ポンプ7の吸入弁20に与える駆動デューティDuの変化が大きくなる。従って、このような場合には、補正部51が行う駆動デューティDuに基づく補正が不安定になる可能性がある。そこで、中止部56は機関回転数Neをクランク角センサ32から取得し、その機関回転数Neの変化が記憶部43から読み出した所定範囲R2を超えて大きい場合には補正部51及び学習部55のそれぞれに中止指令を送る。その中止指令を受けた補正部51は要求フィード圧Pdの補正を、中止指令を受けた学習部55は学習処理を、それぞれ直ちに中止する。これにより、機関回転数Neの変化が大きい場合に要求フィード圧Pdの補正と学習処理のそれぞれが禁止されるため、フィード圧の制御精度を良好な状態に維持することができる。
本形態において、フィード圧算出マップM1が本発明に係るフィード圧特定手段に、フィード圧算出マップM1を記憶する記憶部43が本発明に係る記憶手段に、それぞれ相当する。また、ECU30の学習部55が本発明に係る学習手段に、中止部56が本発明に係る中止手段にそれぞれ相当する。
(第3の形態)
次に、本発明の燃料供給装置の第3の形態を図5〜図7を参照しながら説明する。なお、第3の形態の物理的構成は第1の形態と共通であるから重複する説明を省略する。第3の形態は、内燃機関1の始動時と始動後とで制御内容を切り替える点に特徴を有している。図5は、ECU30の低圧ポンプ制御部42が行う第3の形態に係る制御ルーチンの一例を示したフローチャートであり、図6は図5でサブルーチンとして定義された始動時制御の制御ルーチンを示している。
図5に示すように、ステップS1では、内燃機関1が始動後であるか否かを判定する。この始動後判定は機関回転数Neをクランク角センサ32から取得し、機関回転数Neが所定の始動判定閾値を超えているか否かにより行われる。始動後である場合はステップS2に進んで通常制御を行い、始動後でない場合つまり始動時である場合はステップS3に進んで始動時制御を実行する。ステップS2の通常制御は上述した第1又は第2の形態に係る制御のことである(図2及び図4参照)。
図6の始動時制御は、まずステップS31において各種パラメータを取得する。ここで取得するパラメータは、いわゆる始動昇圧の要否判断に影響を与える冷却水温や排気系の触媒温度である。始動昇圧は始動時のエミッション低減のため内燃機関の始動時に高圧燃料ポンプ下流の燃圧を速やかに上昇させて高燃圧で燃料を供給する周知の操作である。続くステップS32では、取得したパラメータに基づいて始動昇圧の要否を判断し、始動昇圧が必要な場合はステップS33に進み、始動昇圧が不要の場合はステップS34に進む。
ステップS33では、低圧燃料ポンプ6が高圧燃料ポンプ7へ始動時に燃料を送る際の始動時フィード圧Pfsを上限値に設定する。この上限値は低圧燃料ポンプ6の能力の限界に対応する。一方、ステップS34では、始動時フィード圧Pfsを冷却水温Twに基づいて設定する。ここでの始動時フィード圧Pfsの設定はECU30に保持された図7に示す始動時フィード圧算出マップMsを検索することにより実現される。図示するように、算出マップMsは冷却水温Twを変数として始動時フィード圧Pfsを与えるように構成されている。マップMsが与える始動時フィード圧Pfsの値は、冷却水温Twがその常温領域Raの上限値よりも高くなるほど大きな値となるように、冷却水温Twが常温領域Raの下限値よりも低くなるほど大きな値となるように設定されている。そして、常温領域Ra内では始動時フィード圧Pfsは一定値に設定されている。冷却水温Twが常温領域Raよりも低い場合には始動時フィード圧Pfsが高く設定されるため、燃料の気化促進と燃料流量の確保を十分に行うことができる。また、冷却水温Twが常温領域Raよりも高い場合には始動時フィード圧が高く設定されるため、燃料のベーパーの発生を抑制することができる。
ステップS35では、ステップS33又はステップS34で設定した始動時フィード圧Pfsを低圧燃料ポンプ6へ供給する供給電力に変換し、続くステップS36においてその供給電力を低圧燃料ポンプ6(の直流モータ)へ与えることにより、必要な始動時フィード圧Pfsを確保することができる。
第3の形態によれば、始動昇圧が必要な場合に始動時の燃圧を速やかに上昇させることができるため、始動時のエミッションを低減することができる。第3の形態において、ECU30が図6に示した制御ルーチンを実行することにより、ECU30は本発明に係る始動時設定手段として、低圧ポンプ制御手段として、それぞれ機能する。
本発明は、上述した各形態に限定されず、種々の形態にて実施できる。上記各形態は内燃機関への燃料供給を行うことを前提にしているが、燃料供給が中止される場合、例えば、減速時における燃料噴射カット時や燃圧低減時などのように高圧燃料ポンプによる燃料噴射弁への圧送が中止される場合には低圧燃料ポンプを停止させてもよい。この場合は低圧ポンプによって高圧燃料ポンプへ燃料を送る必要がないためである。これにより余分な電力消費を抑えることができる。
また、上記各形態では、要求フィード圧Pdの補正を高圧燃料ポンプ7の駆動デューティDuに基づいて行っているがこの形態に限定されない。例えば、低圧通路に圧力センサを設け、そのセンサから実際のフィード圧を検出し、そのフィード圧と目標値との偏差が減少するように要求フィード圧Pdをフィードバック補正することも可能である。
上記各形態では、要求フィード圧Pdを算出ないし補正してから、その圧力値を低圧燃料ポンプ6に与える電力値に変換しているが本発明はこの形態に限定されない。例えば、こうした変換プロセスを省略できるように、機関回転数Neや冷却水温Tw等の各種パラメータを変数として、適正な要求フィード圧Pdを実現できる供給電力を与えるマップを準備し、そのマップから直接的に必要な供給電力を算出することもできる。こうすることにより、圧力から電力への変換処理が不要になるのでECU30内の処理を簡素化できる。第3の形態における始動時フィード圧Pfsの取り扱いについても同様に変更できる。
上記各形態では、機関温度として冷却水温Twを用いたが、機関温度としては潤滑油温を用いることもできる。
本発明の一形態に係る燃料供給装置が適用された内燃機関の燃料供給系を模式的に示した図。 図1に示した燃料供給装置の制御系の機能ブロック図。 燃料の飽和蒸気圧Pvと要求フィード圧Pdとの関係が示された図。 第2の形態に係る燃料供給装置の制御系の機能ブロック図。 第3の形態に係る制御ルーチンの一例を示したフローチャート。 図5でサブルーチンとして定義された始動時制御の制御ルーチンを示したフローチャート。 始動時フィード圧算出マップの一例を示したフローチャート。
符号の説明
1 内燃機関
6 低圧燃料ポンプ
7 高圧燃料ポンプ
20 吸入弁(調整手段)
30 ECU(始動時設定手段、低圧ポンプ制御手段)
41 高圧ポンプ制御部(高圧ポンプ制御手段)
42 低圧ポンプ制御部(低圧ポンプ制御手段)
50 要求フィード圧算出部(フィード圧算出手段)
51 補正部(フィード圧補正手段)
55 学習部(学習手段)
56 中止部(中止手段)
Du 駆動デューティ(制御量)
M1 フィード圧算出マップ(フィード圧特定手段)

Claims (12)

  1. 内燃機関にて駆動される高圧燃料ポンプに対して、電動式の低圧燃料ポンプを利用して燃料を送り、前記高圧燃料ポンプにて加圧された燃料を前記内燃機関に供給する内燃機関の燃料供給装置において、
    前記低圧燃料ポンプが前記高圧燃料ポンプへ燃料を送る際のフィード圧の不足を要因とした前記高圧燃料ポンプの吐出不良を回避できるように、前記低圧燃料ポンプを制御する低圧ポンプ制御手段を備え、
    前記低圧ポンプ制御手段は、前記フィード圧がゲージ圧にして0であっても前記吐出不良を回避できる場合には前記低圧燃料ポンプを停止させることを特徴とする内燃機関の燃料供給装置。
  2. 燃料の飽和蒸気圧と前記高圧燃料ポンプの燃料吸引時の圧力損失との和に基づいて前記吐出不良を回避できる要求フィード圧を算出するフィード圧算出手段を更に備え、
    前記低圧ポンプ制御手段は、前記フィード圧算出手段が算出した前記要求フィード圧によって燃料が前記高圧燃料ポンプへ送られるように前記低圧燃料ポンプを制御する請求項1に記載の燃料供給装置。
  3. 前記低圧ポンプ制御手段は、前記フィード圧算出手段が算出した前記要求フィード圧が大気圧以下の場合に前記低圧燃料ポンプを停止させる請求項2に記載の燃料供給装置。
  4. 前記高圧燃料ポンプには、前記内燃機関に供給する燃料の燃圧を調整可能な調整手段が設けられており、
    実際の燃圧と標準値との偏差が低減するように、前記偏差に応じた制御量を前記調整手段に与えることにより前記調整手段を制御する高圧ポンプ制御手段と、前記高圧ポンプ制御手段が前記調整手段に与える前記制御量に基づいて前記フィード圧算出手段が算出した前記要求フィード圧を補正するフィード圧補正手段と、を更に備える請求項2又は3に記載の燃料供給装置。
  5. 前記フィード圧補正手段は、前記制御量が所定値以上になった場合に前記要求フィード圧を増加方向に補正する請求項4に記載の燃料供給装置。
  6. 前記フィード圧補正手段は、前記制御量が所定範囲内に維持されることを条件として前記要求フィード圧を減少方向に徐々に補正する請求項4又は5に記載の燃料供給装置。
  7. 前記飽和蒸気圧に相関する前記内燃機関の機関温度と、前記圧力損失に相関する機関回転数とのそれぞれを変数として前記要求フィード圧を与えるフィード圧特定手段を記憶する記憶手段と、前記フィード圧補正手段による補正後の前記要求フィード圧を前記機関温度及び前記機関回転数に関連づけて記憶し、その記憶内容に基づいて前記フィード圧特定手段が与える前記要求フィード圧を修正する学習処理を行う学習手段と、を更に備え、
    前記フィード圧算出手段は、前記機関温度及び前記機関回転数のそれぞれを取得するとともに前記フィード圧特定手段を利用して前記要求フィード圧を算出する請求項4〜6のいずれか一項に記載の燃料供給装置。
  8. 前記機関温度の変化が所定範囲を超えて大きい場合に前記学習手段による前記学習処理を中止させる中止手段を更に備える請求項7に記載の燃料供給装置。
  9. 前記機関回転数の変化が所定範囲を超えて大きい場合に、前記フィード圧補正手段による前記要求フィード圧の補正と、前記学習手段による前記学習処理とをそれぞれ中止させる中止手段を更に備える請求項7に記載の燃料供給装置。
  10. 前記内燃機関の始動時に前記高圧燃料ポンプによる燃圧を速やかに上昇させる必要性がある場合に、前記低圧燃料ポンプが前記高圧燃料ポンプへ始動時に燃料を送る際の始動時フィード圧を上限値に設定する一方で、前記必要性がない場合に前記始動時フィード圧を前記内燃機関の機関温度に基づいて設定する始動時設定手段を更に備え、
    前記低圧ポンプ制御手段は、前記内燃機関の始動時に前記始動時設定手段が設定した前記始動時フィード圧によって燃料が前記高圧燃料ポンプへ送られるように前記低圧燃料ポンプを制御する請求項1に記載の燃料供給装置。
  11. 前記始動時設定手段は、前記必要性がない場合、前記機関温度が常温領域の上限値よりも高くなるほど大きな値となるように、前記機関温度が前記常温領域の下限値よりも低くなるほど大きな値となるように、前記始動時フィード圧を設定する請求項10に記載の燃料供給装置。
  12. 前記始動時設定手段は、前記機関温度が前記常温領域内にある場合には前記始動時フィード圧を一定値に設定する請求項11に記載の燃料供給装置。
JP2008240820A 2008-09-19 2008-09-19 内燃機関の燃料供給装置 Expired - Fee Related JP4661930B2 (ja)

Priority Applications (5)

Application Number Priority Date Filing Date Title
JP2008240820A JP4661930B2 (ja) 2008-09-19 2008-09-19 内燃機関の燃料供給装置
CN2009801369665A CN102159821A (zh) 2008-09-19 2009-09-18 用于内燃发动机的燃料供给装置和燃料供给方法
EP09736474A EP2337937A2 (en) 2008-09-19 2009-09-18 Low pressure feed pump control for a high pressure common rail fuel injection system
US13/119,872 US20110162622A1 (en) 2008-09-19 2009-09-18 Fuel supply apparatus and fuel supply method for internal combustion engine
PCT/IB2009/006880 WO2010032121A2 (en) 2008-09-19 2009-09-18 Fuel supply apparatus and fuel supply method for internal combustion engine

Applications Claiming Priority (1)

Application Number Priority Date Filing Date Title
JP2008240820A JP4661930B2 (ja) 2008-09-19 2008-09-19 内燃機関の燃料供給装置

Publications (2)

Publication Number Publication Date
JP2010071224A true JP2010071224A (ja) 2010-04-02
JP4661930B2 JP4661930B2 (ja) 2011-03-30

Family

ID=41508448

Family Applications (1)

Application Number Title Priority Date Filing Date
JP2008240820A Expired - Fee Related JP4661930B2 (ja) 2008-09-19 2008-09-19 内燃機関の燃料供給装置

Country Status (5)

Country Link
US (1) US20110162622A1 (ja)
EP (1) EP2337937A2 (ja)
JP (1) JP4661930B2 (ja)
CN (1) CN102159821A (ja)
WO (1) WO2010032121A2 (ja)

Cited By (12)

* Cited by examiner, † Cited by third party
Publication number Priority date Publication date Assignee Title
WO2012056534A1 (ja) * 2010-10-27 2012-05-03 トヨタ自動車株式会社 内燃機関の燃料噴射制御システム
WO2012098648A1 (ja) * 2011-01-18 2012-07-26 トヨタ自動車株式会社 内燃機関の燃料噴射制御システム
WO2012147186A1 (ja) 2011-04-27 2012-11-01 トヨタ自動車株式会社 内燃機関の燃料噴射制御システム
WO2013005284A1 (ja) 2011-07-01 2013-01-10 トヨタ自動車株式会社 内燃機関の燃料噴射制御システム
WO2013046359A1 (ja) 2011-09-28 2013-04-04 トヨタ自動車株式会社 内燃機関の燃料噴射制御システム
JP2013064391A (ja) * 2011-09-20 2013-04-11 Toyota Motor Corp 内燃機関の燃料噴射制御システム
JP2013072389A (ja) * 2011-09-28 2013-04-22 Toyota Motor Corp 内燃機関の燃料噴射制御システム
JP2013147944A (ja) * 2012-01-17 2013-08-01 Toyota Motor Corp 内燃機関の燃料噴射制御システム
JPWO2013046359A1 (ja) * 2011-09-28 2015-03-26 トヨタ自動車株式会社 内燃機関の燃料噴射制御システム
JP2016188609A (ja) * 2015-03-30 2016-11-04 マツダ株式会社 燃料飽和蒸気圧検出装置及びこの検出装置を用いた燃料圧力制御装置
CN106194527A (zh) * 2015-05-27 2016-12-07 丰田自动车株式会社 用于车辆的控制装置
US9617960B2 (en) 2010-12-08 2017-04-11 Toyota Jidosha Kabushiki Kaisha Fuel supply apparatus for internal combustion engine

Families Citing this family (18)

* Cited by examiner, † Cited by third party
Publication number Priority date Publication date Assignee Title
DE102007050297A1 (de) * 2007-10-22 2009-04-23 Robert Bosch Gmbh Verfahren zur Steuerung eines Kraftstoffeinspritzsystems einer Brennkraftmaschine
US8483932B2 (en) * 2009-10-30 2013-07-09 Ford Global Technologies, Llc Fuel delivery system control strategy
DE102010027789A1 (de) * 2010-04-15 2011-10-20 Ford Global Technologies, Llc Kraftstoffeinspritzsystem zum schnellen Druckaufbau bei erneutem Start des Verbrennungsmotors mit Stopp-Start-System
KR101241594B1 (ko) * 2010-12-01 2013-03-11 기아자동차주식회사 Gdi엔진의 연료공급시스템 및 그 제어방법
EP2765294A4 (en) * 2011-10-06 2017-06-28 Toyota Jidosha Kabushiki Kaisha Control device of internal combustion engine
KR101305600B1 (ko) * 2011-11-29 2013-09-09 기아자동차주식회사 하이드로-카본 연료공급유닛
DE102012204758B4 (de) * 2012-03-26 2021-06-10 Robert Bosch Gmbh Verfahren und Steuergerät zum Start eines Ottomotors
DE102013220697B4 (de) * 2013-10-14 2018-05-30 Continental Automotive Gmbh Kraftstoffpumpe eines Kraftfahrzeuges und Verfahren zum Betrieb einer Kraftstoffpumpe
US9303583B2 (en) * 2014-01-14 2016-04-05 Ford Global Technologies, Llc Robust direct injection fuel pump system
US9435286B2 (en) * 2014-02-03 2016-09-06 Denso International America, Inc. Method to reduce fuel system power consumption
JP6160600B2 (ja) * 2014-11-25 2017-07-12 トヨタ自動車株式会社 車両の制御装置
DE102014225920B4 (de) 2014-12-15 2017-05-11 Continental Automotive Gmbh Verfahren zum Betrieb eines Dieselmotors
JP6784251B2 (ja) 2017-09-25 2020-11-11 トヨタ自動車株式会社 内燃機関の燃料噴射制御装置
JP7120132B2 (ja) * 2019-04-10 2022-08-17 トヨタ自動車株式会社 内燃機関の制御装置
JP7115399B2 (ja) 2019-04-10 2022-08-09 トヨタ自動車株式会社 内燃機関の制御装置
JP7054712B2 (ja) * 2020-01-29 2022-04-14 本田技研工業株式会社 内燃機関の燃料圧力制御装置
JP7294236B2 (ja) * 2020-05-21 2023-06-20 トヨタ自動車株式会社 燃料供給装置の制御装置
JP7334680B2 (ja) * 2020-06-09 2023-08-29 トヨタ自動車株式会社 燃料供給システムの制御装置

Citations (7)

* Cited by examiner, † Cited by third party
Publication number Priority date Publication date Assignee Title
JPH11107829A (ja) * 1997-10-06 1999-04-20 Denso Corp 内燃機関の空燃比制御装置
JPH11182371A (ja) * 1997-12-19 1999-07-06 Unisia Jecs Corp 内燃機関の燃料供給装置
JP2002061529A (ja) * 2000-08-18 2002-02-28 Hitachi Ltd 内燃機関の燃料供給装置
JP2002242793A (ja) * 2001-02-19 2002-08-28 Hitachi Ltd 燃料供給装置を備えた内燃機関の制御装置
JP2005042584A (ja) * 2003-07-25 2005-02-17 Toyota Motor Corp 液化ガスエンジンの燃料供給装置
JP2007224812A (ja) * 2006-02-23 2007-09-06 Denso Corp 燃料噴射装置
JP2008014264A (ja) * 2006-07-07 2008-01-24 Denso Corp ディーゼル機関用燃料噴射制御装置

Family Cites Families (12)

* Cited by examiner, † Cited by third party
Publication number Priority date Publication date Assignee Title
DE19539885A1 (de) * 1995-05-26 1996-11-28 Bosch Gmbh Robert Kraftstoffversorgungsanlage und Verfahren zum Betreiben einer Brennkraftmaschine
JPH09151823A (ja) * 1995-11-28 1997-06-10 Denso Corp 燃料供給装置
DE19700738C1 (de) * 1997-01-11 1998-04-16 Daimler Benz Ag Verfahren zur Regelung der Einspritzmengen von Injektoren einer kraftstoffeinspritzenden Brennkraftmaschine
DE19951410A1 (de) * 1999-10-26 2001-05-10 Bosch Gmbh Robert Verfahren und Vorrichtung zur Variation eines von einer Niederdruckpumpe erzeugten und an einer Hochdruckpumpe anliegenden Vordrucks
DE10005589A1 (de) * 2000-02-09 2001-08-16 Bayerische Motoren Werke Ag Kraftstoffversorgungsanlage für eine Brennkraftmaschine
DE10162989C1 (de) * 2001-12-20 2003-10-09 Siemens Ag Schaltungsanordnung zum Regeln einer regelbaren Kraftstoffpumpe, Verfahren zum Regeln einer Förderleistung und Verfahren zum Überprüfen der Funktionsfähigkeit einer regelbaren Kraftstoffpumpe
US7207319B2 (en) * 2004-03-11 2007-04-24 Denso Corporation Fuel injection system having electric low-pressure pump
DE102004062613B4 (de) * 2004-12-24 2014-02-20 Volkswagen Ag Verfahren und Vorrichtung zur Kraftstoffversorgung von Verbrennungsmotoren
DE102007058229A1 (de) * 2007-12-04 2009-06-10 Robert Bosch Gmbh Verfahren zur Steuerung eines Kraftstoffeinspritzsystems einer Brennkraftmaschine mit Start-Stopp-Funktion
US7640916B2 (en) * 2008-01-29 2010-01-05 Ford Global Technologies, Llc Lift pump system for a direct injection fuel system
JP5103519B2 (ja) * 2008-03-19 2012-12-19 ボッシュ株式会社 圧力センサ故障診断方法及びコモンレール式燃料噴射制御装置
DE102008041612B4 (de) * 2008-08-27 2023-08-17 Robert Bosch Gmbh Verfahren und Vorrichtung zur Ansteuerung einer Dosiereinrichtung

Patent Citations (7)

* Cited by examiner, † Cited by third party
Publication number Priority date Publication date Assignee Title
JPH11107829A (ja) * 1997-10-06 1999-04-20 Denso Corp 内燃機関の空燃比制御装置
JPH11182371A (ja) * 1997-12-19 1999-07-06 Unisia Jecs Corp 内燃機関の燃料供給装置
JP2002061529A (ja) * 2000-08-18 2002-02-28 Hitachi Ltd 内燃機関の燃料供給装置
JP2002242793A (ja) * 2001-02-19 2002-08-28 Hitachi Ltd 燃料供給装置を備えた内燃機関の制御装置
JP2005042584A (ja) * 2003-07-25 2005-02-17 Toyota Motor Corp 液化ガスエンジンの燃料供給装置
JP2007224812A (ja) * 2006-02-23 2007-09-06 Denso Corp 燃料噴射装置
JP2008014264A (ja) * 2006-07-07 2008-01-24 Denso Corp ディーゼル機関用燃料噴射制御装置

Cited By (23)

* Cited by examiner, † Cited by third party
Publication number Priority date Publication date Assignee Title
US9074550B2 (en) 2010-10-27 2015-07-07 Toyota Jidosha Kabushiki Kaisha Fuel injection control system for internal combustion engine
JPWO2012056534A1 (ja) * 2010-10-27 2014-03-20 トヨタ自動車株式会社 内燃機関の燃料噴射制御システム
WO2012056534A1 (ja) * 2010-10-27 2012-05-03 トヨタ自動車株式会社 内燃機関の燃料噴射制御システム
US9617960B2 (en) 2010-12-08 2017-04-11 Toyota Jidosha Kabushiki Kaisha Fuel supply apparatus for internal combustion engine
CN103328806A (zh) * 2011-01-18 2013-09-25 丰田自动车株式会社 内燃机的燃料喷射控制系统
WO2012098648A1 (ja) * 2011-01-18 2012-07-26 トヨタ自動車株式会社 内燃機関の燃料噴射制御システム
DE112011104735B4 (de) 2011-01-18 2018-05-09 Toyota Jidosha Kabushiki Kaisha Kraftstoffeinspritzsteuersystem für eine Brennkraftmaschine
US9194353B2 (en) 2011-01-18 2015-11-24 Toyota Jidosha Kabushiki Kaisha Fuel injection control system for internal combustion engine
JPWO2012098648A1 (ja) * 2011-01-18 2014-06-09 トヨタ自動車株式会社 内燃機関の燃料噴射制御システム
CN103502622A (zh) * 2011-04-27 2014-01-08 丰田自动车株式会社 内燃机的燃料喷射控制系统
US8820299B2 (en) 2011-04-27 2014-09-02 Toyota Jidosha Kabushiki Kaisha Fuel injection control system for internal combustion engine
WO2012147186A1 (ja) 2011-04-27 2012-11-01 トヨタ自動車株式会社 内燃機関の燃料噴射制御システム
JP5288049B2 (ja) * 2011-04-27 2013-09-11 トヨタ自動車株式会社 内燃機関の燃料噴射制御システム
US9188077B2 (en) 2011-07-01 2015-11-17 Toyota Jidosha Kabushiki Kaisha Fuel injection control system for internal combustion engine
WO2013005284A1 (ja) 2011-07-01 2013-01-10 トヨタ自動車株式会社 内燃機関の燃料噴射制御システム
JP2013064391A (ja) * 2011-09-20 2013-04-11 Toyota Motor Corp 内燃機関の燃料噴射制御システム
JPWO2013046359A1 (ja) * 2011-09-28 2015-03-26 トヨタ自動車株式会社 内燃機関の燃料噴射制御システム
JP2013072389A (ja) * 2011-09-28 2013-04-22 Toyota Motor Corp 内燃機関の燃料噴射制御システム
WO2013046359A1 (ja) 2011-09-28 2013-04-04 トヨタ自動車株式会社 内燃機関の燃料噴射制御システム
JP2013147944A (ja) * 2012-01-17 2013-08-01 Toyota Motor Corp 内燃機関の燃料噴射制御システム
JP2016188609A (ja) * 2015-03-30 2016-11-04 マツダ株式会社 燃料飽和蒸気圧検出装置及びこの検出装置を用いた燃料圧力制御装置
CN106194527A (zh) * 2015-05-27 2016-12-07 丰田自动车株式会社 用于车辆的控制装置
CN106194527B (zh) * 2015-05-27 2019-05-21 丰田自动车株式会社 用于车辆的控制装置

Also Published As

Publication number Publication date
JP4661930B2 (ja) 2011-03-30
WO2010032121A3 (en) 2010-05-27
CN102159821A (zh) 2011-08-17
EP2337937A2 (en) 2011-06-29
WO2010032121A2 (en) 2010-03-25
US20110162622A1 (en) 2011-07-07

Similar Documents

Publication Publication Date Title
JP4661930B2 (ja) 内燃機関の燃料供給装置
JP5056729B2 (ja) 内燃機関の燃料供給装置
JP5267446B2 (ja) 内燃機関の燃料供給装置
JP4081819B2 (ja) 燃料噴射システム
JP5234431B2 (ja) 筒内噴射式内燃機関の燃圧制御装置
CN101235756B (zh) 燃料喷射压力控制器
US7284539B1 (en) Fuel pressure controller for direct injection internal combustion engine
JP4428160B2 (ja) 内燃機関の燃料噴射制御装置
US7066149B1 (en) Internal combustion engine fuel pressure control apparatus
JP4333549B2 (ja) 内燃機関の燃料噴射制御装置
JP4023020B2 (ja) 高圧燃料噴射系の燃料圧制御装置
JP2013113145A (ja) 内燃機関の制御装置
JP2010106732A (ja) 筒内噴射式の内燃機関の制御装置
JP2011163220A (ja) 燃料供給システムの制御装置
JP2013231362A (ja) 燃料圧力制御装置
JP6146274B2 (ja) 内燃機関の制御装置
JP2010196472A (ja) 内燃機関の燃料供給制御装置
JP5045640B2 (ja) 筒内噴射式内燃機関の燃料噴射制御装置
JP2009221906A (ja) 筒内噴射式内燃機関の低圧ポンプ制御装置
JP2010216370A (ja) 燃料供給制御装置
JP2014231746A (ja) 内燃機関の燃料供給装置
JP4228799B2 (ja) ノック判定装置付き内燃機関
JP4075567B2 (ja) 内燃機関の燃料供給装置
JP4281825B2 (ja) 高圧燃料噴射系の燃料圧制御装置
JP2007224785A (ja) 燃料供給装置

Legal Events

Date Code Title Description
A977 Report on retrieval

Free format text: JAPANESE INTERMEDIATE CODE: A971007

Effective date: 20100716

A131 Notification of reasons for refusal

Free format text: JAPANESE INTERMEDIATE CODE: A131

Effective date: 20100727

A521 Request for written amendment filed

Free format text: JAPANESE INTERMEDIATE CODE: A523

Effective date: 20100924

TRDD Decision of grant or rejection written
A01 Written decision to grant a patent or to grant a registration (utility model)

Free format text: JAPANESE INTERMEDIATE CODE: A01

Effective date: 20101207

A01 Written decision to grant a patent or to grant a registration (utility model)

Free format text: JAPANESE INTERMEDIATE CODE: A01

A61 First payment of annual fees (during grant procedure)

Free format text: JAPANESE INTERMEDIATE CODE: A61

Effective date: 20101220

R151 Written notification of patent or utility model registration

Ref document number: 4661930

Country of ref document: JP

Free format text: JAPANESE INTERMEDIATE CODE: R151

FPAY Renewal fee payment (event date is renewal date of database)

Free format text: PAYMENT UNTIL: 20140114

Year of fee payment: 3

LAPS Cancellation because of no payment of annual fees