JP2010070917A - 開口部装置 - Google Patents

開口部装置 Download PDF

Info

Publication number
JP2010070917A
JP2010070917A JP2008236629A JP2008236629A JP2010070917A JP 2010070917 A JP2010070917 A JP 2010070917A JP 2008236629 A JP2008236629 A JP 2008236629A JP 2008236629 A JP2008236629 A JP 2008236629A JP 2010070917 A JP2010070917 A JP 2010070917A
Authority
JP
Japan
Prior art keywords
piece
frame
hollow portion
opening device
lower horizontal
Prior art date
Legal status (The legal status is an assumption and is not a legal conclusion. Google has not performed a legal analysis and makes no representation as to the accuracy of the status listed.)
Granted
Application number
JP2008236629A
Other languages
English (en)
Other versions
JP5341441B2 (ja
Inventor
Tadayuki Shibano
忠行 芝野
Current Assignee (The listed assignees may be inaccurate. Google has not performed a legal analysis and makes no representation or warranty as to the accuracy of the list.)
Tostem Corp
Original Assignee
Tostem Corp
Priority date (The priority date is an assumption and is not a legal conclusion. Google has not performed a legal analysis and makes no representation as to the accuracy of the date listed.)
Filing date
Publication date
Application filed by Tostem Corp filed Critical Tostem Corp
Priority to JP2008236629A priority Critical patent/JP5341441B2/ja
Publication of JP2010070917A publication Critical patent/JP2010070917A/ja
Application granted granted Critical
Publication of JP5341441B2 publication Critical patent/JP5341441B2/ja
Active legal-status Critical Current
Anticipated expiration legal-status Critical

Links

Images

Landscapes

  • Specific Sealing Or Ventilating Devices For Doors And Windows (AREA)
  • Door And Window Frames Mounted To Openings (AREA)

Abstract

【課題】排水性の確保に優れる開口部装置を提供する。
【解決手段】建物開口部の4辺に沿って設けられ、2本の縦枠30、40と上横枠50と下横枠60とを枠状に組み合わせることにより形成される枠体2、及び枠体内に配置される引戸式の障子10、20を備える開口部装置1であって、下横枠は、該下横枠の長手方向に直交する断面において中空部Cを有し、該中空部を形成する少なくとも1片80が着脱可能に形成されるとともに、該着脱可能である片には、貫通孔81a、81a、81aが設けられ、中空部を形成する他の片のうち少なくとも1片には、貫通孔が設けられるとともに該貫通孔に弁75が配置されていることを特徴とする。
【選択図】図4

Description

本発明は、建物開口部に備えられるいわゆるサッシである開口部装置に関し、詳しくは、メンテナンス性に優れる排水構造を備える開口部装置に関する。
住宅等の建物開口部に配置される引戸式の開口部装置は、開口部に沿って配置される枠体と、該枠体内に具備されて引戸式に開閉する障子とを備えている。このとき、障子はその下端部に戸車を有し、該戸車が枠体の下枠に立設されたレール上に載置されることにより戸車が該レール上を転動して円滑な障子の開閉ができるように構成されている。
枠体の下枠は、雨水や結露水を適切に室外側に排水するために全体として見込方向(開口部装置が建物に配置されたときの室内外方向)室外側に向けて低くなるように傾斜が設けられている。しかしながらレール間に溜まった水は水位がレールの高さを越えた部分のみ排水され、それ以下の水はレール間に溜まったままである。また、近年におけるバリアフリーの構造の要請により下枠上面側を平らに構成する必要が生じており、下枠に傾斜を設けることができないことも多くなってきた。
そこで例えば特許文献1にはレール間の下枠底部に孔を形成し、排水を下枠中空部に導入するとともに、該下枠中空部の室外側面に孔及び弁を配置して排水することのできる開口部装置(サッシ)が開示されている。
特許第3067616号公報
特許文献1に記載の開口部装置では、レール間に入った水を排水することができる。しかしながらここに流入する水は、開口部装置が配置される位置を考慮するとゴミ等の異物を含む場合が多く、これが下枠中空部に流入して堆積してしまう場合があった。これにより弁が詰まってしまい、適切に排水することができない場合があった。当該中空部のゴミを除去するためには例えば弁を一度取り除く等、非常に手間のかかるものであった。
そこで本発明は、かかる問題点に鑑み、排水性の確保に優れる開口部装置を提供することを課題とする。
以下、本発明について説明する。なお、本発明の理解を容易にするために添付図面の参照符号を括弧書きにて付記するが、それにより本発明が図示の形態に限定されるものではない。
請求項1に記載の発明は、建物開口部の4辺に沿って設けられ、2本の縦枠(30、40)と上横枠(50)と下横枠(60)とを枠状に組み合わせることにより形成される枠体(2)、及び枠体内に配置される引戸式の障子(10、20)を備える開口部装置(1)であって、下横枠は、該下横枠の長手方向に直交する断面において中空部(C)を有し、該中空部を形成する少なくとも1片(80)が着脱可能に形成されるとともに、該着脱可能である片には、貫通孔(81a、81a、81a)が設けられ、中空部を形成する他の片のうち少なくとも1片(62)には、貫通孔が設けられるとともに該貫通孔に弁(75)が配置されていることを特徴とする開口部装置を提供することにより前記課題を解決する。
請求項2に記載の発明は、請求項1に記載の開口部装置(1)の下横枠(60)は、障子(10、20)を載置するレール(70、71)を備え、中空部(C)の着脱可能である片(80)は、建物開口部に取り付けられたときに最も室外側に配置されるレール(70)より室内側となる位置に設けられることを特徴とする。
請求項3に記載の発明は、請求項1又は2に記載の開口部装置(1)の中空部(C)の見付方向外側にさらに他の中空部(D)が設けられ、中空部と他の中空部と連通されており、他の中空部を形成する少なくとも1片には貫通孔が設けられるとともに該貫通孔に弁(75)が配置されていることを特徴とする。
ここで、「見付方向」とは全体として平板状である開口部装置の平板面に沿った方向を意味し、「見付方向内側」が開口部装置の中央に近付く方向、「見付方向外側」がこれとは反対の方向を意味する。なお、全体として平板状である開口部装置の厚さ方向を意味するものとして「見込方向」と記載することがある。以下同様である。
本発明によれば、排水のための中空部に堆積した異物を容易に除去することができ、排水性の確保に優れる開口部装置を提供することができる。
本発明のこのような作用及び利得は、次に説明する発明を実施するための最良の形態から明らかにされる。
以下本発明を図面に示す実施形態に基づき説明する。ただし本発明は当該実施形態に限定されるものではない。
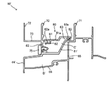
図1は1つの実施形態に係る開口部装置1を模式的に示した正面図である。図2は開口部装置1の水平断面図、図3は同垂直断面図である。図1は、開口部装置1が建物に取り付けられたときに室外視となる側からの正面図である。図2では、開口部装置1が建物に取り付けられたときに室外側となる側が紙面上、室内側となる側が紙面下となる方向で表されている。図3も同様に開口部装置1が建物に取り付けられたときに室外側となる側が紙面左、室内側となる側が紙面右となる方向で表されている。以下、図1〜図3及び適宜示す図を参照しつつ開口部装置1について説明する。
開口部装置1は、いわゆる引戸式の開口部装置であり、建物開口部の4辺の縁に沿って備えられる枠体2と、該枠体2の内側に配置される内障子10と、外障子20とを備えている。
枠体2は、建物開口部の4辺に沿って設けられる長尺の型材である縦枠30、40、上横枠50、及び下横枠60が枠状に組み合わされて形成されている。縦枠30、40の断面形状は図2に、上横枠50、下横枠60の断面形状は図3に表されている。また、図4には、図3のうち下横枠60に注目した図を示した。
縦枠30、40は図2に示した断面において見込方向に延在する片31、41を有し、該片31、41の見付方向内側面から立設する係止片32、42を備えている。係止片32、42は、内障子10、外障子20の閉鎖の姿勢で、戸先框12、22に差し込まれて水密気密を図るための部材である。さらに、片31、41の見付方向外側面には、該片31、41に立設された取付片33、43が設けられ、これにより縦枠30、40を建物躯体に取り付ける。
上横枠50は建物開口部上縁に沿って配置される枠材で、図3に示した断面において見込方向に延在する片51を有し、該片51見付方向内側面から垂下する並列された2つのガイド52、53を備えている。ガイド52、53は内障子10、外障子20の上框14、24の内側にまで差し込まれるように配置され、内障子10、外障子20の引戸式の移動をガイドすることができる。さらに、片51の見付方向外側面には、該片51に立設された取付片54が設けられ、これにより上横枠50を建物躯体に取り付ける。
下横枠60は建物開口部下縁に沿って配置される枠材である。図4には、図3に示した断面図の下横枠60に注目する(図4(a))とともに、ここに配置されるフタ部材80の着脱を説明するための図を示した(図4(b))。また、図5には、下横枠60を図4(a)にAで示した方向(室外側)から見た図を示し、図6には、下横枠60を図4(a)にBで示した方向(見下ろす方向)から見た図を示した。さらに、図7は、下横枠60に備えられるフタ材80の斜視図である。図3〜図7を参照しつつ下横枠60について説明する。
図4(a)からわかるように、下横枠60は見付方向内外に並列する中空部C、及び他の中空部D(以下、単に「中空部D」と記載することがある。)を備えている。
中空部Cは、片61、62、63及び着脱可能な片としてのフタ材80で囲まれて形成されている。片61は数か所において折り曲げられて段状となっているが全体として見込方向に延在する片で、中空部Cの底面を形成している。また、図4、図6からわかるように、片61には所定の間隔を有して貫通孔61a、61aが設けられている。ここで貫通孔61a、61aの径は特に限定されるものではなく、適切な排水性を得ることができれば適宜設定することができる。また本実施形態では貫通孔61a、61aは2つであるが、貫通孔の数もこれに限定されることなく、上記径との関係で多く設定してもよいし、1つであってもよい。
片62は片61から見付方向内側に立設する片である。図4、図5からわかるように片62には、排水弁75が取り付けられている。図4、図5では1つの排水弁75のみが記載されているが、下横枠60の長手方向に所定の間隔を有して当該排水弁75が並列されている。排水弁75はいわゆる一方弁であり、中空部C側から室外側(図4(a)の紙面左側)へは排水することができるが、逆はできない弁である。これにより室外側からの水や害虫の侵入を防止することができる。また、片62の先端部には見込方向室内側(図4(a)の右側)に突出する係合突起62aが設けられている。
片63は片61の見付方向内側面で、片62よりも見込方向室内側に立設された片である。片63の上端は該上端のみ若干大きく形成され被係合部63aとされている。
フタ材80は、片62と片63とを渡すように着脱可能に設けられた片としての部材である。図4(b)には、フタ材80が離脱した場面を示した。具体的にはフタ材80は、図4、図7からわかるように所定の断面を有して長手方向に延在する長尺部材であり、基板81、係合片82、83を備えている。基板81は一部屈折して形成されているが、全体として板状の部材であり、長手方向に所定の間隔を有して貫通孔81a、81a、81aが設けられている。ここで貫通孔81a、81a、81aの径は特に限定されるものではなく、適切な排水性を得ることができれば適宜設定することができる。また本実施形態では貫通孔81a、81a、81aは3つであるが、貫通孔の数もこれに限定されることなく、上記径との関係で多く設定してもよいし、2つ、又は1つであってもよい。
係合片82は、基板81の幅方向(図4(b)に表れるフタ材80の左右方向)一端側で一方の面側に配置される断面形状L字状の片で、基板81の端部とによりコ字状を形成している。一方、係合片83は、基板81の幅方向他端側が折り返されるように設けられている。
このように形成されたフタ材80は、係合片82と、基板81端部とにより形成されたコ字状部に片62の係合突起62aが差し込まれ、一方、係合片83の折り返しが片63の被係合部63aに係合することにより装着される。また、これを離脱させることによりフタ材80を取り外すことができる。
中空部Dは、片61、64、65及び片66で囲まれて形成されている。片61は上記した中空部Cと共通の片であり、貫通孔61a、61aにより、中空部Cと中空部Dとは連通している。
片64は片61の見込方向室外側端部から垂下するように設けられた片である。図4、図5からわかるように片64には、排水弁76が取り付けられている。図4、図5では1つの排水弁76のみが記載されているが、下横枠60の長手方向左右に所定の間隔を有して当該排水弁76が並列されている。排水弁76はいわゆる一方弁であり、中空部D側から室外側(図4(a)の紙面左側)へは排水することができるが、逆はできない弁である。これにより室外側からの水や害虫の侵入を防止することができる。
片65は片61の見込方向室内側端部から垂下するように設けられた片である。また、片66は、片64と片65とを渡すように設けられている。
さらに下横枠60は、中空部Cの片62を見付方向内側に延長する方向にレール70、及び片61の見込方向室内側端部から見付方向内側に立設するようにレール71を備えている。レール70、71は後述するように内障子10、外障子20の戸車16、26がこの上を転動するように載置される。また、レール70の片62との連結部からは見込方向室外側に延在する片73が設けられ、該片73の室外側端部からは網戸用レール72が立設されている。
従って、レール70とレール71との間の底部に中空部C、さらにその下に中空部Dが配置される。
また、図6にXで示した距離、すなわちフタ材80の貫通孔81aと片61の貫通孔61aとの距離は特に限定されるものではなく、適宜設定することができる。しかしその中でも後述するように、貫通孔81a、81a、81aを通って片61上面に到達した水が該片61を伝って貫通孔61a、61aから落下する経過を考慮すれば、片61上で水に含まれる比較的大きなゴミ、異物等を片61の面で留めるため、Xは0より大きいことが好ましい。
図1〜図3に戻り開口部装置1に備えられる他の構成について説明する。外障子20は、ガラスにより形成された面材であるガラスパネル21、戸先框22、外召し合わせ框23、上横框24、下横框25を備えている。ここで外障子20は枠体2の内側を見付方向に引戸式に移動させることができるいわゆる引戸である。本実施形態のガラスパネル21は、図2、図3に表れているように、複層ガラスであり2枚の平行に配置されたガラス面材が備えられている。
戸先框22はガラスパネル21の4辺のうち戸先側に配置される辺に沿って具備される縦框であり、図2に示したような所定の断面を有して長手方向(図2の紙面奥/手前方向)に延在する。また、外召し合わせ框23は、ガラスパネル21の戸先と対向する縦縁の1つに沿って設けられ、召し合わせ部分となる縦框であり、やはり図2に示したような所定の断面を有して長手方向(図2の紙面奥/手前方向)に延在する。
上横框24はガラスパネル21の上縁に沿って配置される框、下横框25はガラスパネル21の下縁に沿って配置される框である。上横框24、及び下横框25も図3に示した所定の断面を有して長手方向(図3の紙面奥/手前方向)に延在する。ここで、上横框24は上方に開口した凹部を備え、下横框25は内側に戸車26を具備している。これにより、後述するように外障子20は引戸式の可動障子として、スライド可能に枠体2内側を移動することができる。
内障子10は、ガラスパネル11、戸先框12、内召し合わせ框13、上横框14、及び下横框15を有している。ここで内障子10は枠体2の内側を見付方向に引戸式に移動させることができるいわゆる引戸である。ガラスパネル11は、図2、図3に表れているように、複層ガラスであり2枚の平行に配置されたガラス面材が備えられている。戸先框12はガラスパネル11の戸先側縁に沿って配置される長尺部材で、図2に示した断面を有している。内召し合わせ框13は、ガラスパネル11の戸先と対向する縦縁に沿って設けられ、召し合わせ部分となる縦框である。上横框14、及び下横框15はガラスパネル11の上下縁のそれぞれに沿って配置される長尺の型材である。ここで、上横框14は上方に開口した凹部を備え、下横框15は内側に戸車16を具備している。これにより、後述するように内障子10は引戸式の可動障子として、スライド可能に枠体2内側を移動することができる。
さらに開口部装置1には通常の開口部装置に備えられる部材を備えてもよい。これには例えば施錠装置や網戸を挙げることができる。また、上記した縦枠30、40、上横枠50、下横枠60、戸先框12、22、外召し合わせ框23、内召し合わせ框13、上横框14、24、下横框15、25の断面形状は本発明の要旨を変更するものでなければ、変更することができ建物等に合わせて適宜その詳細を決めることができる。
以上のような各構成は例えば次のように組み合わされて開口部装置1とされる。すなわち外障子20の枠体2への取り付けは、図3からわかるように上横框24の凹部の内側に上横枠50のガイド52を挿入する。そして下横框25の戸車26を下横枠60のレール70に乗せるように配置する。これにより外障子20は枠体2内を引戸式に移動することができるようになる。
一方、内障子10の枠体2への取り付けは、図3からわかるように上横框14の凹部の内側に上横枠50のガイド53を挿入する。そして下横框15の戸車16を下横枠60のレール71に乗せるように配置する。これにより内障子10は枠体2内を引戸式に移動することができるようになる。
以上のような開口部装置1が建物開口部に備えられたときに、雨水や結露水は以下に説明するように適切に室外に排出される。図6、及び図8を参照しつつ排水経路について説明する。レール70とレール71との間に達した雨水や結露水等の水は、図8の矢印Eで示したようにフタ材80の貫通孔81a、81a、81aを通り片61の上面に落下する。そしてその大部分は図8に矢印Fで示したように排水弁75から屋外に排出される。排水弁75で排水されなかった水は、図6に矢印Gで示したように片61の上面を伝わって貫通孔61a、61aに達する。このとき、片61の面との摩擦により該片61表面に水に含まれるゴミ等を留めておくことができ、貫通孔61a、61aに達する水は大きなゴミ等をほとんど含まないものとなっている。
そして、貫通孔61a、61aに達した水は図8に矢印Hで示したように該貫通孔61a、61aを貫通して中空部Dに達し、矢印Jで示したように排水弁76から排水される。
ここで、雨水や結露水に含まれ、及び開口部装置に付着しこれら水により流されてきたゴミや異物等のうち比較的大きなものは中空部Cに堆積する。開口部装置1では、中空部Cの上部に配置されているフタ材80を図4(b)に示したように下横枠60から取り外すことができるので、堆積したゴミや異物等を容易に除去することができる。これにより容易に適切な排水を確保することができ、排水性の確保に優れる開口部装置を提供することが可能となる。
図9には変形例に係る開口部装置のうち下横枠60’の断面を示した。これは下横枠60の断面を表した図4(a)に相当する図である。当該変形例に係る開口部装置では下横枠60’以外の構成は上記した開口部装置1と共通するので、ここでは説明を省略する。また、下横枠60’においても下横枠60と共通する部分については、同じ符号を付した。
下横枠60’には、下横枠60の片61に相当する片61’に貫通孔が設けられていない。従って下横枠60の中空部C、Dに相当する中空部C’、D’間で水の流通がなく、中空部D’へは水が流れない構成となっている。これにともない、中空部D’の片64’には排水弁が設けられていない。
かかる下横枠60’では、全ての排水が中空部C’に設けられた排水弁75により行われる。排水能力を確保することができれば、中空部C’のみで排水がおこなわれる構成であっても本発明の開口部装置とすることが可能である。これによっても、中空部C’の上部に配置されているフタ材80を下横枠60’から取り外すことができるので、堆積したゴミや異物等を容易に除去することができ、容易に排水を確保することが可能となるからである。
以上、現時点において最も実践的であり、かつ好ましいと思われる実施形態に関連して本発明を説明したが、本発明は、本願明細書中に開示された実施形態に限定されるものではなく、請求の範囲及び明細書全体から読み取れる発明の要旨或いは思想に反しない範囲で適宜変更可能であり、そのような変更を伴う開口部装置もまた本発明の技術的範囲に包含されるものとして理解されなければならない。
1つの実施形態に係る開口部装置の正面図である。 開口部装置の水平断面図である。 開口部装置の垂直断面図である。 開口部装置の垂直断面図のうち下横枠に注目して示した図である。 図4にAで示した矢印の方向から見た図である。 図4にBで示した矢印の方向から見た図である。 フタ材の斜視図である。 排水経路を説明するための図である。 変形例に係る開口部装置の下横枠の断面図である。
符号の説明
1 開口部装置
2 枠体
10 内障子(障子)
11 ガラスパネル
12 戸先框
13 内召し合わせ框
14 上横框
15 下横框
16 戸車
20 外障子(障子)
21 ガラスパネル
22 戸先框
23 外召し合わせ框
24 上横框
25 下横框
26 戸車
30 縦枠
31 片
32 係止片
33 取付片
50 上横枠
51 片
52、53 ガイド
60 下横枠
61 片
61a 貫通孔
62 片
62a 係合突起
63 片
63a 被係合部
64 片
65 片
66 片
70 レール
71 レール
72 網戸用レール
73 片
75 排水弁(弁)
76 排水弁(弁)
80 フタ材(着脱可能な片)
81 基板
81a 貫通孔
82 係合片
83 係合片
C、C’ 中空部
D、D’ 中空部(他の中空部)

Claims (3)

  1. 建物開口部の4辺に沿って設けられ、2本の縦枠と上横枠と下横枠とを枠状に組み合わせることにより形成される枠体、及び前記枠体内に配置される引戸式の障子を備える開口部装置であって、
    前記下横枠は、該下横枠の長手方向に直交する断面において中空部を有し、該中空部を形成する少なくとも1片が着脱可能に形成されるとともに、該着脱可能である片には貫通孔が設けられ、前記中空部を形成する他の片のうち少なくとも1片には、貫通孔が設けられるとともに該貫通孔に弁が配置されていることを特徴とする開口部装置。
  2. 前記下横枠は、前記障子を載置するレールを備え、
    前記中空部の前記着脱可能である片は、前記建物開口部に取り付けられたときに最も室外側に配置される前記レールより室内側となる位置に設けられることを特徴とする請求項1に記載の開口部装置。
  3. 前記中空部の見付方向外側にさらに他の中空部が設けられ、前記中空部と前記他の中空部とは連通されており、前記他の中空部を形成する少なくとも1片には貫通孔が設けられるとともに該貫通孔に弁が配置されていることを特徴とする請求項1又は2に記載の開口部装置。
JP2008236629A 2008-09-16 2008-09-16 開口部装置 Active JP5341441B2 (ja)

Priority Applications (1)

Application Number Priority Date Filing Date Title
JP2008236629A JP5341441B2 (ja) 2008-09-16 2008-09-16 開口部装置

Applications Claiming Priority (1)

Application Number Priority Date Filing Date Title
JP2008236629A JP5341441B2 (ja) 2008-09-16 2008-09-16 開口部装置

Publications (2)

Publication Number Publication Date
JP2010070917A true JP2010070917A (ja) 2010-04-02
JP5341441B2 JP5341441B2 (ja) 2013-11-13

Family

ID=42202960

Family Applications (1)

Application Number Title Priority Date Filing Date
JP2008236629A Active JP5341441B2 (ja) 2008-09-16 2008-09-16 開口部装置

Country Status (1)

Country Link
JP (1) JP5341441B2 (ja)

Cited By (3)

* Cited by examiner, † Cited by third party
Publication number Priority date Publication date Assignee Title
WO2013081337A1 (en) * 2011-12-02 2013-06-06 Lg Hausys, Ltd. Sliding system window having drain hole cap for high-rise building
GB2499840A (en) * 2012-03-02 2013-09-04 M I Products Cov Llp A sliding window or patio door assembly having a lower sill member with seal
GB2502050A (en) * 2012-05-08 2013-11-20 Kelmar Ltd Frame for flood door with non-return drainage valve

Citations (3)

* Cited by examiner, † Cited by third party
Publication number Priority date Publication date Assignee Title
JPH09203273A (ja) * 1995-11-22 1997-08-05 Ykk Architect Prod Kk スライディングサッシの下枠構造
JP2005105566A (ja) * 2003-09-29 2005-04-21 Sekisui House Ltd 複合サッシの下枠
JP2007016516A (ja) * 2005-07-08 2007-01-25 Ykk Ap株式会社 建具および建具の施工方法

Patent Citations (3)

* Cited by examiner, † Cited by third party
Publication number Priority date Publication date Assignee Title
JPH09203273A (ja) * 1995-11-22 1997-08-05 Ykk Architect Prod Kk スライディングサッシの下枠構造
JP2005105566A (ja) * 2003-09-29 2005-04-21 Sekisui House Ltd 複合サッシの下枠
JP2007016516A (ja) * 2005-07-08 2007-01-25 Ykk Ap株式会社 建具および建具の施工方法

Cited By (4)

* Cited by examiner, † Cited by third party
Publication number Priority date Publication date Assignee Title
WO2013081337A1 (en) * 2011-12-02 2013-06-06 Lg Hausys, Ltd. Sliding system window having drain hole cap for high-rise building
CN104011314A (zh) * 2011-12-02 2014-08-27 乐金华奥斯株式会社 用于高层建筑物的具有排水孔盖的滑动系统窗
GB2499840A (en) * 2012-03-02 2013-09-04 M I Products Cov Llp A sliding window or patio door assembly having a lower sill member with seal
GB2502050A (en) * 2012-05-08 2013-11-20 Kelmar Ltd Frame for flood door with non-return drainage valve

Also Published As

Publication number Publication date
JP5341441B2 (ja) 2013-11-13

Similar Documents

Publication Publication Date Title
JP2012519246A (ja) 組立て容易な窓戸設備
KR101242606B1 (ko) 물막이를 구비한 미서기창의 창틀프레임
KR20130006089U (ko) 분할식 이중 창호
JP5341441B2 (ja) 開口部装置
US20080190030A1 (en) Prefabricated Windows and Doors System
JP2010150875A (ja) 建具
JP4621277B2 (ja) 防雨ルーバー
JP2007321351A (ja) 二重サッシ
JP5132953B2 (ja) 建具、及び、止水部材
JP4268121B2 (ja) 建具
KR102132265B1 (ko) 배수와 스토퍼 기능을 갖는 사출물을 사용하여 기밀성과 방풍성을 향상시킨 창틀프레임의 배수구조
JP6043170B2 (ja) 開口部装置
JP2007016516A (ja) 建具および建具の施工方法
JP2019527784A (ja) 引き違い建具
JP2011006951A (ja) 浴室出入口用建具
JP2010070918A (ja) 開口部装置
JP2011030462A (ja) シート定着装置
JP4771341B2 (ja) ドア用下枠フラットサッシ構造
JP4198659B2 (ja) サッシ窓
KR200368318Y1 (ko) 창틀 커버
JP2006097255A (ja) サッシ窓
JP5571368B2 (ja) 排水部品および建具
TWM419815U (en) Drain structure of aluminum window and water gate thereof
JP3928453B2 (ja) サッシ窓の嵌殺し障子の排水装置
KR200402974Y1 (ko) 조립식 창호 장치

Legal Events

Date Code Title Description
RD01 Notification of change of attorney

Free format text: JAPANESE INTERMEDIATE CODE: A7421

Effective date: 20101101

A621 Written request for application examination

Free format text: JAPANESE INTERMEDIATE CODE: A621

Effective date: 20110316

A977 Report on retrieval

Free format text: JAPANESE INTERMEDIATE CODE: A971007

Effective date: 20120626

A131 Notification of reasons for refusal

Free format text: JAPANESE INTERMEDIATE CODE: A131

Effective date: 20120904

A521 Written amendment

Free format text: JAPANESE INTERMEDIATE CODE: A523

Effective date: 20121105

TRDD Decision of grant or rejection written
A01 Written decision to grant a patent or to grant a registration (utility model)

Free format text: JAPANESE INTERMEDIATE CODE: A01

Effective date: 20130709

A61 First payment of annual fees (during grant procedure)

Free format text: JAPANESE INTERMEDIATE CODE: A61

Effective date: 20130808

R150 Certificate of patent or registration of utility model

Ref document number: 5341441

Country of ref document: JP

Free format text: JAPANESE INTERMEDIATE CODE: R150

Free format text: JAPANESE INTERMEDIATE CODE: R150

S111 Request for change of ownership or part of ownership

Free format text: JAPANESE INTERMEDIATE CODE: R313111

R350 Written notification of registration of transfer

Free format text: JAPANESE INTERMEDIATE CODE: R350